EP3009564B2 - Stopfmaschine zum verdichten der schotterbettung eines gleises - Google Patents

Stopfmaschine zum verdichten der schotterbettung eines gleises Download PDF

Info

Publication number
EP3009564B2
EP3009564B2 EP15189328.6A EP15189328A EP3009564B2 EP 3009564 B2 EP3009564 B2 EP 3009564B2 EP 15189328 A EP15189328 A EP 15189328A EP 3009564 B2 EP3009564 B2 EP 3009564B2
Authority
EP
European Patent Office
Prior art keywords
lifting
aligning device
main
tamping machine
additional
Prior art date
Legal status (The legal status is an assumption and is not a legal conclusion. Google has not performed a legal analysis and makes no representation as to the accuracy of the status listed.)
Active
Application number
EP15189328.6A
Other languages
English (en)
French (fr)
Other versions
EP3009564A1 (de
EP3009564B1 (de
Inventor
Bernhard Lichtberger
Current Assignee (The listed assignees may be inaccurate. Google has not performed a legal analysis and makes no representation or warranty as to the accuracy of the list.)
HP3 Real GmbH
Original Assignee
HP3 Real GmbH
Priority date (The priority date is an assumption and is not a legal conclusion. Google has not performed a legal analysis and makes no representation as to the accuracy of the date listed.)
Filing date
Publication date
Family has litigation
First worldwide family litigation filed litigation Critical https://patents.darts-ip.com/?family=54292735&utm_source=google_patent&utm_medium=platform_link&utm_campaign=public_patent_search&patent=EP3009564(B2) "Global patent litigation dataset” by Darts-ip is licensed under a Creative Commons Attribution 4.0 International License.
Application filed by HP3 Real GmbH filed Critical HP3 Real GmbH
Publication of EP3009564A1 publication Critical patent/EP3009564A1/de
Application granted granted Critical
Publication of EP3009564B1 publication Critical patent/EP3009564B1/de
Publication of EP3009564B2 publication Critical patent/EP3009564B2/de
Active legal-status Critical Current
Anticipated expiration legal-status Critical

Links

Images

Classifications

    • EFIXED CONSTRUCTIONS
    • E01CONSTRUCTION OF ROADS, RAILWAYS, OR BRIDGES
    • E01BPERMANENT WAY; PERMANENT-WAY TOOLS; MACHINES FOR MAKING RAILWAYS OF ALL KINDS
    • E01B27/00Placing, renewing, working, cleaning, or taking-up the ballast, with or without concurrent work on the track; Devices therefor; Packing sleepers
    • E01B27/12Packing sleepers, with or without concurrent work on the track; Compacting track-carrying ballast
    • E01B27/13Packing sleepers, with or without concurrent work on the track
    • E01B27/16Sleeper-tamping machines
    • E01B27/17Sleeper-tamping machines combined with means for lifting, levelling or slewing the track
    • EFIXED CONSTRUCTIONS
    • E01CONSTRUCTION OF ROADS, RAILWAYS, OR BRIDGES
    • E01BPERMANENT WAY; PERMANENT-WAY TOOLS; MACHINES FOR MAKING RAILWAYS OF ALL KINDS
    • E01B2203/00Devices for working the railway-superstructure
    • E01B2203/10Track-lifting or-lining devices or methods
    • EFIXED CONSTRUCTIONS
    • E01CONSTRUCTION OF ROADS, RAILWAYS, OR BRIDGES
    • E01BPERMANENT WAY; PERMANENT-WAY TOOLS; MACHINES FOR MAKING RAILWAYS OF ALL KINDS
    • E01B2203/00Devices for working the railway-superstructure
    • E01B2203/12Tamping devices
    • E01B2203/125Tamping devices adapted for switches or crossings

Definitions

  • the invention relates to a tamping machine for compacting the ballast bedding of a track with two rails, with tamping units for tamping under the track, with a main lifting device with lifting cylinders and roller tongs for leveling and straightening the two rails, arranged between drives, preferably in front of the tamping units of the track and with an additional lifting device for leveling and straightening a track branching off from the track in the area of a switch.
  • the additional lifting device is used to lift a track branching off from the main track in a switch.
  • Track tamping machines are machines that correct the position of tracks and switches. For this purpose, measuring systems are used that measure the actual track height and actual position of the track direction as well as the actual elevation of the track during work and compare them with specified target values. With the help of a lifting and straightening device, the track grid is raised and laterally aligned until the difference between the specified target position and the actual position is zero. This geometric position is fixed by compressing the ballast under the sleepers with the help of a tamping unit. The track grating is lifted and straightened using appropriate hydraulic lifting and straightening cylinders with proportional or servo controls. Turnouts have a continuous track and a branching track as a special feature.
  • Another mobile track tamping machine with a device for lifting and straightening a track is from the AT 356 165 A known, with which all track components in switch areas can be recorded.
  • the lifting tool can be used to selectively grasp the head or foot of the rail or a component of the main track or the branch track.
  • a lifting tool grips a rail of the main track and the other lifting tool grips a rail of the branch track instead of the other rail of the main track.
  • the invention is thus based on the object of specifying a tamping machine with which a switch can be lifted practically torsion-free with simple means. An uncontrolled lifting of the branching turnout line by additional lifting devices should be avoided.
  • the additional lifting straightening device comprises a telescopic support arm, which has a rail mount with guide roller and roller tongs at one end and which is rotatably mounted on the main lifting straightening device at the other end about an axis parallel to the tamping machine's longitudinal axis, with adjustment of the pivot angle of the support arm with respect to the main lifting device, a lifting drive is provided.
  • the support arms of the additional lifting device are not hinged directly to the machine frame, away from the main lifting points of application, as provided in the prior art, but are mechanically connected directly to the main lifting device, whereby the additional lifting device is designed to be pivotable about the tamping machine's longitudinal axis, practically as a single-armed, telescopic lever . Since the additional lifting device is mechanically connected to the main lifting device, a controlled, even and torsion-free lifting can take place.
  • the two lifting points of the main lifting device on the main track as well as the lifting point of the additional lifting device in the branch track must lie in one plane in order to prevent twisting of the turnout or an imprecise geometric placement of the same. This can be done with the lifting drive of the additional lifting device, which lifts the branch track into the level of the main track. Main and branch tracks are thus set up together on one level with the lifting drives of the main and additional lifting devices.
  • Another advantage of the invention is that the support arm lies horizontally parallel to the level of the switch and thus the guide roller of the additional lifting device is normally placed on the branching rail in the switch and the force application point of the roller tongs of the additional lifting device is optimally located, which prevents the roller tong from slipping during operation can.
  • the additional lifting device preferably comprises two telescopic support arms, one being assigned to a track branching off to the right in the area of a switch from the track and the other being assignable to a track branching off to the left of the track in the area of a switch. This means that branch tracks can be lifted to the right from the main track in the same way as branch tracks from the main track to the left.
  • the lifting drives assigned to the main lifting device and the lifting drives assigned to the additional lifting device are displaceable in the tamping machine longitudinal direction via a displacement drive, the lifting drives being mounted on a common slide and displaceable with it in the tamping machine longitudinal direction.
  • the additional lifting device can be shifted along with the main lifting device in the longitudinal direction of the track, so that this shifting device can also be used to select a more favorable point of application for the roller tong (e.g. because a shock at the current point in the junction prevents the roller tong from closing).
  • a displacement sensor is assigned to the displacement drive of the main lifting device and the additional lifting device, if the main lifting device and thus the additional lifting device is assigned a second shifting drive and if the main lifting device is synchronized with the shifting drive by means of a control or regulation system can be displaced in the longitudinal direction of the tamping machine, which always ensures optimal vertical power transmission and undesirable force components in the longitudinal direction of the track can be avoided.
  • the pivot points of the lifting drives on the main frame are shifted synchronously.
  • a distance sensor is provided to determine the height difference between the main lifting device and the support arm of the additional lifting device, the support arm with the associated lifting drive being displaceable into the main lifting plane of the main lifting device. With the aid of the distance sensor, the height difference between the main lifting device and the support arm of the additional lifting device is measured. As a result, the pivot position of the support arm relative to the main lifting device can be controlled and the support arm can be controlled into the common lifting plane.
  • the guide roller and roller tongs preferably engage the telescopic support arm via a joint with a vertical pivot axis, whereby a rotary drive can also be provided with which the guide roller and roller tongs can be adjusted around the pivot axis in order to avoid jamming and excessive wear.
  • a tamping machine 2 ( Fig. 1 ) has a tamping unit 11 and a main lifting device 4 with lifting cylinders 17, with roller tongs 24 and an integrated additional lifting device 3 with lifting cylinder 16 for leveling and straightening a track 13 and a track 31 branching off from track 13 in the area of a switch.
  • the additional lifting device 3 comprises a telescopic support arm 10, 20, which at one end has a rail mount with guide roller 21 and roller tongs 22 and which is mounted on the main lifting device 4 so as to be rotatable about an axis 28 parallel to the tamping machine's longitudinal axis, whereby the pivoting angle of the support arm 10, 20 is adjusted a lifting drive 16 is provided opposite the main lifting device 4.
  • the support arm 10 is freely pivotable on a frame of the main lifting device 4 and the pivot angle of the supporting arm 10, 20 relative to the main lifting device 4 or its frame can be adjusted with the lifting drive 16.
  • the auxiliary lifting device 3 comprises two Telescopic support arms 10, 20, one being assigned to a track 31 branching off to the right in the area of a switch from track 13 and the other being assignable to a track 31 branching off to the left in the area of a switch from track 13.
  • the main lifting device 4 can be moved in the longitudinal direction 8 of the track together with the additional lifting device 3 via a displacement drive 14 with integrated path measurement.
  • the turnout tamping machine 2 can be moved on the track 13 via drives 12.
  • the working direction of the switch tamping machine is indicated by 6. 5 shows the displacement device of the articulation points of the lifting drives 16, 17 which are displaced in the longitudinal direction synchronously with the displacement 8 of the main lifting unit 4.
  • the path 8 of the displacement device 14 measured with an integrated displacement measurement 14 is specified as a setpoint value for the displacement device 5 of the articulation points of the lifting drives 16, 17.
  • the displacement device 5 ( Fig. 2 ) for the lifting drives of the main lifting unit 17 and the additional lifting unit 16 consists of the guide 18 and the displacement drive 8, as well as an integrated displacement measuring device 35.
  • the displacement device 5 is connected to the frame 27 of the tamping machine 2.
  • FIG. 3 shows schematically a switch with a dashed representation of the frame outlines 27 of the tamping machine 2 in the working direction 6.
  • the auxiliary lifting device with the extended support arm 20 and the lifting tool is directly linked to the main lifting unit 4.
  • FIG. 7 shows the great distance between an additional lifting device 9 from the prior art and the lifting tools of the main lifting device 4.
  • 31 shows the branching line, 33 the long sleepers and 32 the continuous main line of the switch.
  • the additional lifting device 3 is hinged 28 directly to the main lifting unit 4.
  • the guide roller 21 is placed on the rail 13 via the extendable support arm 20 and carried along with it, with the aid of the roller tongs 22 and the additional lifting drive 16 the branching line is lifted with it.
  • the main lifting device 4 is connected to the continuous rail and lifted by means of its lifting tools, the roller tongs 24 or the lifting hook 25.
  • the outline of the machine frame 27 of the track tamping machine 2 is indicated schematically in the picture.
  • Fig. 5 shows the embodiment according to the invention of the auxiliary lifting device 3, 10 integrated in the main lifting device 4 and the extended support arm 20.
  • a distance sensor 34 measures the height difference between the main lifting device 4 and the support arm 10 of the additional lifting device 3.
  • the additional lifting device 3 is guided via the guide roller 21 on the branching track 31; the roller tong drive 30 closes the roller tong 22.
  • 28 shows the pivot point of the left-facing auxiliary elevator.
  • the main lifting device 4 is guided over the guide straightening roller 26.
  • the main lifting device 4 has a lifting roller, the roller tongs 24, and a lifting hook 25.
  • the support arm of the additional lifting device 3 is lifted via the lifting drive 16.
  • the lifting device of the additional lifting device 3 can be adjusted tangentially to the course of the rail via a rotary drive 29 and the swivel joint 23.
  • Fig. 6 shows the main lifting device 4 with the integrated auxiliary lifting device 3 in a side view.
  • the figure shows the main lifting drive 17 and the additional lifting drives 16.

Landscapes

  • Engineering & Computer Science (AREA)
  • Architecture (AREA)
  • Civil Engineering (AREA)
  • Structural Engineering (AREA)
  • Machines For Laying And Maintaining Railways (AREA)

Description

  • Die Erfindung bezieht sich auf eine Stopfmaschine zum Verdichten der Schotterbettung eines Gleises mit zwei Schienen, mit Stopfaggregaten zum Unterstopfen des Gleises, mit einer zwischen Laufwerken, in Arbeitsrichtung vorzugsweise vor den Stopfaggregaten, angeordneten Hauptheberichteinrichtung mit Hebezylindern und mit Rollzangen zum Nivellieren und Richten der zwei Schienen des Gleises und mit einer Zusatzheberichteinrichtung zum Nivellieren und Richten eines vom Gleis abzweigenden Gleises im Bereich einer Weiche. Die Zusatzhebeeinrichtung dient zum Anheben eines vom Hauptgleis abzweigenden Gleisstranges in einer Weiche.
  • Eine derartige Stopfmaschine ist aus der RU 2338823 C bekannt. Gleisstopfmaschinen sind Maschinen welche die Gleislage von Gleisen und Weichen berichtigen. Dazu werden Messsysteme benutzt die die Gleishöhen-Istlage und die Gleisrichtungs-Istlage sowie die Überhöhungs-Istlage des Gleises während der Arbeit messen und mit vorgegebenen Sollwerten vergleichen. Mit Hilfe einer Hebe-Richteinrichtung wird der Gleisrost solange angehoben und seitlich ausgerichtet bis die Differenz zwischen vorgegebener Soll-Lage und Ist-Lage Null ist. Diese geometrische Lage wird durch Verdichten des Schotters unter den Schwellen mit Hilfe eines Stopfaggregates fixiert. Das Heben und Richten des Gleisrostes erfolgt dabei über entsprechende hydraulische Hebe- und Richtzylinder mit Proportional- oder Servosteuerung. Weichen weisen als Besonderheit ein durchgehendes Gleis und ein abzweigendes Gleis auf. Übliche Weichenstopf- oder Universalmaschinen weisen ein Zusatzhebeaggregat auf, welches an einem dritten Punkt der Weiche im abzweigenden Gleis mithebt. EP 0 314 854 B1 zeigt eine Ausführung bei der diese Zusatzhebeeinrichtung über einen quer ausfahrbaren Tragarm mit Seilrolle und Seilzug und Gleiszange positioniert wird. DE 43 07 862 A1 zeigt eine andere übliche Ausführung dieser Zusatzhebeeinrichtung mit einem Tragarm, Rollzange und Führungsrolle. Allen diesen Ausführungen ist gemeinsam, dass die Position dieser Zusatzhebeeinrichtung in Arbeitsrichtung deutlich vor der Haupthebeeinrichtung liegt und dass diese am Maschinenrahmen entfernt von der Haupthebeeinrichtung befestigt ist. Damit ergibt sich das Problem, dass die Zusatzhebeeinrichtung die Weiche beim Heben verwindend beansprucht und dass die ebene Lage der Weiche durch das Unterstopfen nicht gegeben ist. Zudem gibt es Weichen bei der die Langschwellen unterteilt sind. Die Langschwellenteile werden bei diesen Weichen gelenkig Abstand haltend miteinander verbunden. Bei dieser Art von Weichen ergibt sich ein unkontrolliertes Anheben des abzweigenden Weichenstranges durch Zusatzhebeeinrichtungen der oben geschilderten Art. Um dies zur vermeiden wurde in EP 1 162 310 B1 eine verbindende, teleskopisch in Maschinenquerrichtung verlängerbare mechanische Messvorrichtung mit Messwertgeber erfunden. EP 1 143 069 B1 zeigt eine ähnliche Ausführung bei der die mechanische Vorrichtung durch eine Laserebene mit Rundumlaser und Empfangseinrichtung auf der Zusatzhebeeinrichtung ersetzt wurde. Hebeantriebe sowie Verschiebeantriebe werden bei Gleisstopfmaschinen häufig über Hydraulikzylinder ausgeführt. Bekannt sind Ausführungsarten bei denen die Wegmessung in den Hydraulikzylinder integriert ist.
  • Eine weitere fahrbare Gleisstopfmaschine mit einer Vorrichtung zum Heben und Richten eines Gleises ist aus der AT 356 165 A bekannt, mit der auch alle Gleisbauteile in Weichenbereichen erfaßt werden können. Dies wird dadurch erreicht, daß mit dem Hebewerkzeug ein wahlweises Erfassen des Schienenkopfes bzw. -fußes oder eines Bauteiles des Hauptgleises oder des Abzweiggleises möglich ist. Insbesondere greift im Bereich einer Weiche also ein Hebewerkzeug eine Schiene des Hauptgleises und das andere Hebewerkzeug anstelle der anderen Schiene des Hauptgleises eine Schiene des Abzweiggleises. Der Erfindung liegt somit die Aufgabe zugrunde, eine Stopfmaschine anzugeben, mit der eine Weiche mit einfachen Mitteln praktisch verwindungsfrei gehoben werden kann. Ein unkontrolliertes Anheben des abzweigenden Weichenstranges durch Zusatzhebeeinrichtungen soll vermieden werden.
  • Die Erfindung löst die gestellte Aufgabe durch eine Stopfmaschine nach dem Anspruch 1, wobei die Zusatzheberichteinrichtung einen teleskopierbaren Tragarm umfasst, der einerends eine Schienenaufnahme mit Führungsrolle und Rollzange aufweist und der andernends um eine zur Stopfmaschinenlängsachse parallele Achse drehbar an der Hauptheberichteinrichtung gelagert ist, wobei zur Einstellung des Schwenkwinkels des Tragarms gegenüber der Hauptheberichteinrichtung ein Hebeantrieb vorgesehen ist.
  • Die Tragarme der Zusatzhebeeinrichtung sind erfindungsgemäß nicht, wie im Stand der Technik vorgesehen direkt am Maschinenrahmen, entfernt von den Haupthebeangriffspunkten, angelenkt, sondern mechanisch direkt mit der Haupthebeeinrichtung verbunden, wobei die Zusatzhebeeinrichtung um die Stopfmaschinenlängsachse schwenkbar, praktisch als einarmiger, teleskopierbarer Hebel, ausgeführt wird. Da die Zusatzhebeeinrichtung mit der Haupthebeeinrichtung mechanisch verbunden ist, kann eine kontrollierte, gleichmäßige und verwindungsfreie Anhebung erfolgen. Die zwei Hebeangriffspunkte der Hauptheberichteinrichtung am Stammgleis sowie der Hebeangriffspunkt der Zusatzheberichteinrichtung im Abzweiggleis müssen in einer Ebene liegen, um eine Verwindung der Weiche oder eine ungenaue geometrische Ablage derselben zu verhindern. Dies kann mit dem Hebeantrieb der Zusatzheberichteinrichtung bewerkstelligt werden, der das Abzweiggleis in die Ebene des Stammgleises hebt. Stamm- und Abzweiggleis werden somit gemeinsam in einer Ebene mit den Hebeantrieben von Haupt- und Zusatzheberichteinrichtung eingerichtet.
  • Da sich die Zusatzhebeeinrichtung in unmittelbarer Nähe der Hebeangriffspunkte der Haupthebeeinrichtung befindet wird eine Verwindung der Weiche beim Heben verhindert. Ein weiterer Vorteil der Erfindung ist, dass der Tragarm horizontal parallel zur Weichenebene liegt und damit die Führungsrolle der Zusatzhebeeinrichtung normal auf die abzweigende Schiene in der Weiche aufsetzt und der Kraftangriffspunkt der Rollzange der Zusatzhebeeinrichtung somit optimal liegt, womit ein Abrutschen der Rollzange im Betrieb vermieden werden kann.
  • Die Zusatzheberichteinrichtung umfasst vorzugsweise zwei teleskopierbare Tragarme, wobei einer in Arbeitsrichtung gesehen einem im Bereich einer Weiche vom Gleis rechts abzweigenden Gleis und der andere einem im Bereich einer Weiche vom Gleis links abzweigenden Gleis zuordenbar ist. Damit können Abzweiggleise vom Stammgleis nach rechts gleichermaßen wie Abzweiggleise vom Stammgleis nach links gehoben werden.
  • Erfindungsgemäß sind der Hauptheberichteinrichtung zugeordnete Hebeantriebe und der Zusatzheberichteinrichtung zugeordnete Hebeantriebe über einen Verschiebeantrieb in Stopfmaschinenlängsrichtung verschiebbar, wobei die Hebeantriebe auf einem gemeinsamen Schlitten gelagert und mit diesem in Stopfmaschinenlängsrichtung verschiebbar sind. So kann die Zusatzhebeeinrichtung mit der Hauptheberichteinrichtung in Gleislängsrichtung mitverschoben werden, wodurch diese Verschiebeeinrichtung auch dazu benutzt werden kann einen günstigeren Angriffspunkt der Rollzange zu wählen (weil z.B. ein Stoß an der aktuellen Stelle im Abzweig ein Schließen der Rollzange verhindert). In diesem Zusammenhang ist es zudem von Vorteil, wenn dem Verschiebeantrieb der Hauptheberichteinrichtung und der Zusatzheberichteinrichtung ein Wegsensor zugeordnet ist, wenn der Hauptheberichteinrichtung und damit der Zusatzheberichteinrichtung ein zweiter Verschiebeantrieb zugeordnet ist und wenn die Hauptheberichteinrichtung mit dem Verschiebeantrieb, mittels einer Steuer- oder Regelanlage, synchron in Stopfmaschinenlängsrichtung verlagerbar sind, womit immer eine optimale vertikale Kraftübertragung gewährleistet ist und unerwünschten Kraftkomponenten in Gleislängsrichtung vermieden werden können.
  • Um eine Krafteinleitung in Gleislängsrichtung auf die Tragarme der Zusatzhebeeinrichtung, durch eine Schrägstellung der Hebeantriebe bei Verschiebung des Haupthebeaggregates in Gleislängsrichtung, zu vermeiden werden die Anlenkpunkte der Hebeantriebe am Hauptrahmen synchron mit verschoben. Zur Bestimmung der Höhendifferenz zwischen der Hauptheberichteinrichtung und dem Tragarm der Zusatzheberichteinrichtung ist ein Distanzsensor vorgesehen, wobei der Tragarm mit dem zugeordneten Hebeantrieb in die Haupthebeebene der Hauptheberichteinrichtung verlagerbar ist. Mit Hilfe des Distanzsensors wird die Höhendifferenz zwischen Haupthebeeinrichtung und Tragarm der Zusatzhebeeinrichtung gemessen. Dadurch kann die Schwenklage des Tragarms gegenüber der Haupthebeeinrichtung kontrolliert und der Tragarm in die gemeinsame Hebeebene gesteuert werden.
  • Führungsrolle und Rollzange greifen vorzugsweise über ein Gelenk mit vertikaler Schwenkachse am teleskopierbaren Tragarm an, wobei zudem ein Drehantrieb vorgesehen sein kann, mit dem Führungsrolle und Rollzange um die Schwenkachse einstellbar sind, um Klemmungen und übermäßigen Verschleiß zu vermeiden.
  • In der Zeichnung ist der Erfindungsgegenstand beispielsweise dargestellt. Es zeigen
  • Fig. 1
    eine gleisfahrbare Gleisstopfmaschine mit einer Arbeitskabine, zwei Laufwerken, einem Stopfaggregat, einer Hebe-Richteinrichtung, einer Zusatzhebeeinrichtung, einer Verschiebeeinrichtung der Hebe-Richteinrichtung und einer Verschiebeeinrichtung für die Anlenkpunkte der Hebeantriebe in Seitenansicht,
    Fig. 2
    eine vergrößerte Ansicht der Verschiebeeinrichtung der Anlenkpunkte der Hebeantriebe aus Fig. 1,
    Fig. 3
    eine schematisch dargestellte Weiche in Draufsicht mit der Position der erfindungsgemäßen Hebeeinrichtungen und der Lage einer aus dem Stand der Technik bekannten Zusatzhebeeinrichtung,
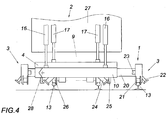
    Fig. 4
    die Zusatzhebeeinrichtung in Ansicht,
    Fig. 5
    eine vergrößertes Detail der Ansicht aus Fig. 4 und
    Fig. 6
    die Hauptheberichteinrichtung mit der angebauten Zusatzhebeeinrichtung in Seitenansicht.
  • Eine Stopfmaschine 2 (Fig. 1) weist ein Stopfaggregat 11 und eine Hauptheberichteinrichtung 4 mit Hebezylindern 17, mit Rollzangen 24 und eine integrierte Zusatzhebeeinrichtung 3 mit Hebezylinder 16 zum Nivellieren und Richten eines Gleises 13 und eines vom Gleis 13 abzweigenden Gleises 31 im Bereich einer Weiche auf. Die Zusatzheberichteinrichtung 3 umfasst einen teleskopierbaren Tragarm 10, 20, der einerends eine Schienenaufnahme mit Führungsrolle 21 und Rollzange 22 aufweist und der andernends um eine zur Stopfmaschinenlängsachse parallele Achse 28 drehbar an der Hauptheberichteinrichtung 4 gelagert ist, wobei zur Einstellung des Schwenkwinkels des Tragarms 10, 20 gegenüber der Hauptheberichteinrichtung 4 ein Hebeantrieb 16 vorgesehen ist. Insbesondere ist der Tragarm 10 an einem Rahmen der Hauptheberichteinrichtung 4 frei schwenkbar gelagert und ist der Schwenkwinkel des Tragarms 10, 20 gegenüber der Hauptheberichteinrichtung 4 bzw. deren Rahmen, mit dem Hebeantrieb 16 einstellbar.
  • 7 deutet schematisch den Abstand zwischen der Position einer konventionellen Zusatzhebeeinrichtung gemäß des Standes der Technik und der Hauptheberichteinrichtung 4 an.
  • Die Zusatzheberichteinrichtung 3 umfasst zwei teleskopierbare Tragarme 10, 20, wobei einer in Arbeitsrichtung 6 gesehen einem im Bereich einer Weiche vom Gleis 13 rechts abzweigenden Gleis 31 und der andere einem im Bereich einer Weiche vom Gleis 13 links abzweigenden Gleis 31 zuordenbar ist.
  • Die Hauptheberichteinrichtung 4 kann zusammen mit der Zusatzheberichteinrichtung 3 über einen Verschiebeantrieb 14 mit integrierter Wegmessung in Gleislängsrichtung 8 verschoben werden. Die Weichenstopfmaschine 2 ist über Laufwerke 12 auf dem Gleis 13 verfahrbar. Die Arbeitsrichtung der Weichenstopfmaschine ist durch 6 angegeben. 5 zeigt die Verschiebeinrichtung der Anlenkpunkte der Hebeantriebe 16, 17 die synchron mit der Verschiebung 8 des Haupthebeaggregates 4 in Längsrichtung verschoben werden. Dazu wird der mit einer integrierten Wegmessung 14 gemessene Weg 8 der Verschiebeeinrichtung 14 als Sollwert der Verschiebeeinrichtung 5 der Anlenkpunkte der Hebeantriebe 16, 17 vorgegeben.
  • Die Verschiebeeinrichtung 5 (Fig. 2) für die Hebeantriebe des Haupthebeaggrega-tes 17 und des Zusatzhebeaggregates 16 besteht aus der Führung 18 und dem Verschiebeantrieb 8, sowie einer integrierten Verschiebewegmesseinrichtung 35. Die Verschiebeeinrichtung 5 ist mit dem Rahmen 27 der Stopfmaschine 2 verbun-den.
  • Fig. 3 zeigt schematisch eine Weiche mit strichlierter Darstellung der Rahmenum-risse 27 der Stopfmaschine 2 in Arbeitsrichtung 6. Am Haupthebeaggregat 4 direkt angelenkt ist die Zusatzhebeeinrichtung mit ausgeschobenem Tragarm 20 und dem Hebewerkzeug. 7 zeigt die große Distanz die zwischen einer Zusatzhebeeinrichtung 9 aus dem Stand der Technik und den Hebewerkzeugen der Haupthebeeinrichtung 4 liegt. 31 zeigt den abzweigenden Strang, 33 die Langschwellen und 32 den durchgehenden Hauptstrang der Weiche.
  • Die Zusatzhebeeinrichtung 3, ist gelenkig 28 direkt mit dem Haupthebeaggregat 4 verbunden. Über den ausfahrbaren Tragarm 20 wird die Führungsrolle 21 auf der Schiene 13 aufgesetzt und mitgeführt, mit Hilfe der Rollzange 22 und dem Zusatzhebeantrieb 16 wird der abzweigende Strang mitgehoben. Über die Hebeantriebe 17 wird die Haupthebeeinrichtung 4 mittels ihrer Hebewerkzeuge, der Rollzange 24 oder dem Hebehaken 25 mit der durchgehenden Schiene verbunden und gehoben. Im Bild angedeutet ist schematisch der Umriss des Maschinenrahmens 27 der Gleisstopfmaschine 2.
  • Fig. 5 zeigt die erfindungsgemäße Ausführung der in die Haupthebeeinrichtung 4 integrierten Zusatzhebeeinrichtung 3, 10 und dem ausgefahrenen Tragarm 20. Über einen Distanzsensor 34 wird die Höhendifferenz zwischen Haupthebeeinrichtung 4 und Tragarm 10 der Zusatzhebeeinrichtung 3 gemessen. Die Zusatzhebeeinrichtung 3 wird über die Führungsrolle 21 auf dem abzweigenden Gleis 31 geführt, über den Rollzangenantrieb 30 wird die Rollzange 22 geschlossen. 28 zeigt den Drehpunkt der nach links gerichteten Zusatzhebeeinrichtung. Die Haupthebeeinrichtung 4 wird über die Führungs-Richtrolle 26 geführt. Die Haupthebeeinrichtung 4 verfügt über eine Heberolle, die Rollzange 24, und einen Hebehaken 25. Der Tragarm der Zusatzhebeeinrichtung 3 wird über den Hebeantrieb 16 gehoben. Über einen Drehantrieb 29 und das Drehgelenk 23 kann die Hebevorrichtung der Zusatzhebeeinrichtung 3 tangential zum Verlauf der Schiene eingestellt werden.
  • Fig. 6 zeigt die Haupthebeeinrichtung 4 mit der integrierten Zusatzhebeeinrichtung 3 in der Seitenansicht. Die Abbildung zeigt den Haupthebeantrieb 17 und die Zusatzhebeantriebe 16.

Claims (5)

  1. Stopfmaschine (2) zum Verdichten der Schotterbettung eines Gleises (13) mit zwei Schienen, mit Stopfaggregaten (11) zum Unterstopfen des Gleises (13), mit einer zwischen Laufwerken (12), in Arbeitsrichtung (6) vorzugsweise vor den Stopfaggregaten (11), angeordneten Hauptheberichteinrichtung (4) mit Hebezylindern (17) und mit Rollzangen (24) zum Nivellieren und Richten der zwei Schienen des Gleises (13) und mit einer Zusatzheberichteinrichtung (3) zum Nivellieren und Richten eines vom Gleis (13) abzweigenden Gleises (31) im Bereich einer Weiche, wobei die Zusatzheberichteinrichtung (3) einen teleskopierbaren Tragarm (10, 20) umfasst, der einerends eine Schienenaufnahme, insbesondere mit Führungsrolle (21) und Rollzange (22), aufweist und der andernends um eine zur Stopfmaschinenlängsachse parallele Achse (28) drehbar an der Hauptheberichteinrichtung (4) gelagert ist, und wobei zur Einstellung des Schwenkwinkels des Tragarms (10, 20) gegenüber der Hauptheberichteinrichtung (4) ein Hebeantrieb (16) vorgesehen ist, dadurch gekennzeichnet, dass der Hauptheberichteinrichtung (4) zugeordnete Hebeantriebe (17) und der Zusatzheberichteinrichtung (3) zugeordnete Hebeantriebe (16) über einen Verschiebeantrieb (5) in Stopfmaschinenlängsrichtung (8) verschiebbar sind, wobei die Hebeantriebe (16, 17) auf einem gemeinsamen Schlitten gelagert und mit diesem in Stopfmaschinenlängsrichtung (8) verschiebbar sind.
  2. Stopfmaschine nach Anspruch 1, dadurch gekennzeichnet, dass die Zusatzheberichteinrichtung (3) zwei teleskopierbare Tragarme (10, 20) umfasst, wobei einer in Arbeitsrichtung (6) gesehen einem im Bereich einer Weiche vom Gleis (13) rechts abzweigenden Gleis (31) und der andere einem im Bereich einer Weiche vom Gleis (13) links abzweigenden Gleis (31) zuordenbar ist.
  3. Stopfmaschine nach Anspruch 1, dadurch gekennzeichnet, dass dem Verschiebeantrieb (5) der Hauptheberichteinrichtung (4) und der Zusatzheberichteinrichtung (3) ein Wegsensor (35) zugeordnet ist, dass der Hauptheberichteinrichtung (4) und damit der Zusatzheberichteinrichtung (3) ein zweiter Verschiebeantrieb (14) zugeordnet ist und dass die Hauptheberichteinrichtung (4) mit dem Verschiebeantrieb (5) und mit dem Verschiebeantrieb (14) synchron in Stopfmaschinenlängsrichtung (8) verlagerbar sind.
  4. Stopfmaschine nach einem der Ansprüche 1 bis 3, dadurch gekennzeichnet, dass zur Bestimmung der Höhendifferenz zwischen Hauptheberichteinrichtung (4) und dem Tragarm (10) der Zusatzheberichteinrichtung (3) ein Distanzsensor (34) vorgesehen ist und dass der Tragarm (10) mit dem zugeordneten Hebeantrieb (16) in die Haupthebeebene der Hauptheberichteinrichtung (4) verlagerbar ist.
  5. Stopfmaschine nach einem der Ansprüche 1 bis 4, dadurch gekennzeichnet, dass Führungsrolle (21) und Rollzange (22) über ein Gelenk (23) mit vertikaler Schwenkachse am teleskopierbaren Tragarm (20) angreifen und dass ein Drehantrieb (29) vorgesehen ist, mit dem Führungsrolle (21) und Rollzange (22) um die Schwenkachse einstellbar sind.
EP15189328.6A 2014-10-14 2015-10-12 Stopfmaschine zum verdichten der schotterbettung eines gleises Active EP3009564B2 (de)

Applications Claiming Priority (1)

Application Number Priority Date Filing Date Title
ATA50733/2014A AT516358B1 (de) 2014-10-14 2014-10-14 Stopfmaschine zum Verdichten der Schotterbettung eines Gleises

Publications (3)

Publication Number Publication Date
EP3009564A1 EP3009564A1 (de) 2016-04-20
EP3009564B1 EP3009564B1 (de) 2017-08-16
EP3009564B2 true EP3009564B2 (de) 2020-11-11

Family

ID=54292735

Family Applications (1)

Application Number Title Priority Date Filing Date
EP15189328.6A Active EP3009564B2 (de) 2014-10-14 2015-10-12 Stopfmaschine zum verdichten der schotterbettung eines gleises

Country Status (4)

Country Link
EP (1) EP3009564B2 (de)
AT (1) AT516358B1 (de)
ES (1) ES2647599T5 (de)
NO (1) NO3009564T3 (de)

Families Citing this family (5)

* Cited by examiner, † Cited by third party
Publication number Priority date Publication date Assignee Title
AT520824B1 (de) * 2018-05-24 2019-08-15 Plasser & Theurer Export Von Bahnbaumaschinen Gmbh Verfahren und Maschine zum Unterstopfen eines Gleises im Bereich einer Weiche
CN110453549A (zh) * 2019-08-21 2019-11-15 长沙瀚鹏电子技术有限公司 一种铁路道岔捣固车自动作业实现方法和装置
CN111101405B (zh) * 2020-02-18 2024-08-30 泉州市劲力工程机械有限公司 一种应用于铁路碴石捣固多功能机中的导向轨轮机构
CN112482350B (zh) * 2020-10-28 2022-01-21 国网山东省电力公司菏泽市定陶区供电公司 一种电力施工用夯实装置
AT525020B1 (de) * 2021-05-11 2023-01-15 Hp3 Real Gmbh Stopfmaschine zum Verdichten der Schotterbettung eines Gleises

Citations (4)

* Cited by examiner, † Cited by third party
Publication number Priority date Publication date Assignee Title
AT387607B (de) 1987-07-08 1989-02-27 Plasser Bahnbaumasch Franz Fahrbare gleisstopf-, hebe- und richtmaschine fuer den weichen- und kreuzungsbereich
AT3739U2 (de) 2000-04-07 2000-07-25 Plasser Bahnbaumasch Franz Stopfmaschine
RU2338823C2 (ru) 2006-10-06 2008-11-20 Открытое акционерное общество Калужский завод "Ремпутьмаш" Выправочно-подбивочно-рихтовочная машина
AT508755A4 (de) 2010-03-01 2011-04-15 Plasser Bahnbaumasch Franz Stopfmaschine mit einer zusatzhebeeinrichtung

Family Cites Families (5)

* Cited by examiner, † Cited by third party
Publication number Priority date Publication date Assignee Title
DE2505482A1 (de) * 1975-02-10 1976-08-19 Wilhelm Spoeckner Hebevorrichtung fuer weichen
AT356165B (de) * 1978-05-11 1980-04-10 Plasser Bahnbaumasch Franz Gleisstopfmaschine mit gleishebe- und seiten- richtvorrichtung, insbesondere fuer weichen- bereiche
DE3772390D1 (de) 1987-11-05 1991-09-26 Plasser Bahnbaumasch Franz Fahrbare gleisstopf-, hebe- und richtmaschine zum heben und bzw. oder seitwaertsverschieben eines gleises im weichen- und kreuzungsbereich.
CZ379392A3 (en) * 1992-03-25 1993-11-17 Plasser Bahnbaumasch Franz Track packing machine
AT3877U3 (de) 2000-06-09 2001-03-26 Plasser Bahnbaumasch Franz Stopfmaschine

Patent Citations (4)

* Cited by examiner, † Cited by third party
Publication number Priority date Publication date Assignee Title
AT387607B (de) 1987-07-08 1989-02-27 Plasser Bahnbaumasch Franz Fahrbare gleisstopf-, hebe- und richtmaschine fuer den weichen- und kreuzungsbereich
AT3739U2 (de) 2000-04-07 2000-07-25 Plasser Bahnbaumasch Franz Stopfmaschine
RU2338823C2 (ru) 2006-10-06 2008-11-20 Открытое акционерное общество Калужский завод "Ремпутьмаш" Выправочно-подбивочно-рихтовочная машина
AT508755A4 (de) 2010-03-01 2011-04-15 Plasser Bahnbaumasch Franz Stopfmaschine mit einer zusatzhebeeinrichtung

Also Published As

Publication number Publication date
EP3009564A1 (de) 2016-04-20
ES2647599T3 (es) 2017-12-22
NO3009564T3 (de) 2018-01-13
AT516358A1 (de) 2016-04-15
ES2647599T5 (es) 2021-08-11
AT516358B1 (de) 2017-01-15
EP3009564B1 (de) 2017-08-16

Similar Documents

Publication Publication Date Title
DE2928474C2 (de)
EP3009564B2 (de) Stopfmaschine zum verdichten der schotterbettung eines gleises
EP3303703B1 (de) Stopfmaschine zum verdichten der schotterbettung eines gleises
EP3204557B2 (de) Gleisstopfmaschine zum verdichten der schotterbettung eines gleises
AT391502B (de) Fahrbare gleisstopf-, hebe- und richtmaschine zum heben und bzw. oder seitwaertsverschieben eines gleises im weichen- und kreuzungsbereich
DE3313207C2 (de)
EP0584055B1 (de) Gleisstopfmaschine zum Unterstopfen von Weichen und Kreuzungen eines Gleises
DE2853529C2 (de) Fahrbare Gleisstopfmaschine mit einer Vorrichtung zum Anheben und bzw. oder Seitenrichten des Gleises
EP2286030B1 (de) Stopfmaschine
AT525020B1 (de) Stopfmaschine zum Verdichten der Schotterbettung eines Gleises
DD283435A5 (de) Fahrbare gleisstopf-, hebe- und richtmaschine
CH665860A5 (de) Fahrbare gleisstopf-nivellier- und richtmaschine.
EP0455179A2 (de) Gleisstopfmaschine mit in Gleisquerrichtung verstellbaren Stopfeinheiten
DE3110832C2 (de) Fahrbare Gleisbaumaschine mit einer Gleislage-Korrekturvorrichtung
DE2737778A1 (de) Gleisstopfmaschine, insbesondere zum unterstopfen von gleis-weichen
EP1162310B1 (de) Stopfmaschine
DE2649797C2 (de) Gleiswartungsmaschine für das Nivellieren und Richten von Weichen und Kreuzungen
DE3425637C2 (de)
DE3122647C2 (de)
EP1736602A1 (de) Schweissmaschine zum Verschweissen von Schienen eines Gleises
DE1708652B2 (de) Anhebevorrichtung fuer eine einzelne schiene eines eisenbahngleises
DE1708652C3 (de) Anhebevorrichtung für eine einzelne Schiene eines Eisenbahngleises
EP2318252B1 (de) Fahrzeug mit einer arbeitsbühne
DD252404A5 (de) Maschinenanordnung und verfahren zum plastischen biegen der enden von verschweissten bzw. nichtverschweissten schienen im bereich der schienenstoesse verlegter gleise

Legal Events

Date Code Title Description
PUAI Public reference made under article 153(3) epc to a published international application that has entered the european phase

Free format text: ORIGINAL CODE: 0009012

AK Designated contracting states

Kind code of ref document: A1

Designated state(s): AL AT BE BG CH CY CZ DE DK EE ES FI FR GB GR HR HU IE IS IT LI LT LU LV MC MK MT NL NO PL PT RO RS SE SI SK SM TR

AX Request for extension of the european patent

Extension state: BA ME

17P Request for examination filed

Effective date: 20161019

RBV Designated contracting states (corrected)

Designated state(s): AL AT BE BG CH CY CZ DE DK EE ES FI FR GB GR HR HU IE IS IT LI LT LU LV MC MK MT NL NO PL PT RO RS SE SI SK SM TR

RAP1 Party data changed (applicant data changed or rights of an application transferred)

Owner name: HP3 REAL GMBH

GRAP Despatch of communication of intention to grant a patent

Free format text: ORIGINAL CODE: EPIDOSNIGR1

STAA Information on the status of an ep patent application or granted ep patent

Free format text: STATUS: GRANT OF PATENT IS INTENDED

INTG Intention to grant announced

Effective date: 20170504

GRAS Grant fee paid

Free format text: ORIGINAL CODE: EPIDOSNIGR3

GRAA (expected) grant

Free format text: ORIGINAL CODE: 0009210

STAA Information on the status of an ep patent application or granted ep patent

Free format text: STATUS: THE PATENT HAS BEEN GRANTED

AK Designated contracting states

Kind code of ref document: B1

Designated state(s): AL AT BE BG CH CY CZ DE DK EE ES FI FR GB GR HR HU IE IS IT LI LT LU LV MC MK MT NL NO PL PT RO RS SE SI SK SM TR

REG Reference to a national code

Ref country code: GB

Ref legal event code: FG4D

Free format text: NOT ENGLISH

REG Reference to a national code

Ref country code: CH

Ref legal event code: EP

REG Reference to a national code

Ref country code: IE

Ref legal event code: FG4D

Free format text: LANGUAGE OF EP DOCUMENT: GERMAN

REG Reference to a national code

Ref country code: AT

Ref legal event code: REF

Ref document number: 919157

Country of ref document: AT

Kind code of ref document: T

Effective date: 20170915

REG Reference to a national code

Ref country code: DE

Ref legal event code: R096

Ref document number: 502015001681

Country of ref document: DE

REG Reference to a national code

Ref country code: CH

Ref legal event code: NV

Representative=s name: E. BLUM AND CO. AG PATENT- UND MARKENANWAELTE , CH

Ref country code: FR

Ref legal event code: PLFP

Year of fee payment: 3

REG Reference to a national code

Ref country code: SE

Ref legal event code: TRGR

REG Reference to a national code

Ref country code: NL

Ref legal event code: MP

Effective date: 20170816

REG Reference to a national code

Ref country code: ES

Ref legal event code: FG2A

Ref document number: 2647599

Country of ref document: ES

Kind code of ref document: T3

Effective date: 20171222

REG Reference to a national code

Ref country code: LT

Ref legal event code: MG4D

REG Reference to a national code

Ref country code: NO

Ref legal event code: T2

Effective date: 20170816

PG25 Lapsed in a contracting state [announced via postgrant information from national office to epo]

Ref country code: LT

Free format text: LAPSE BECAUSE OF FAILURE TO SUBMIT A TRANSLATION OF THE DESCRIPTION OR TO PAY THE FEE WITHIN THE PRESCRIBED TIME-LIMIT

Effective date: 20170816

Ref country code: NL

Free format text: LAPSE BECAUSE OF FAILURE TO SUBMIT A TRANSLATION OF THE DESCRIPTION OR TO PAY THE FEE WITHIN THE PRESCRIBED TIME-LIMIT

Effective date: 20170816

PG25 Lapsed in a contracting state [announced via postgrant information from national office to epo]

Ref country code: GR

Free format text: LAPSE BECAUSE OF FAILURE TO SUBMIT A TRANSLATION OF THE DESCRIPTION OR TO PAY THE FEE WITHIN THE PRESCRIBED TIME-LIMIT

Effective date: 20171117

Ref country code: LV

Free format text: LAPSE BECAUSE OF FAILURE TO SUBMIT A TRANSLATION OF THE DESCRIPTION OR TO PAY THE FEE WITHIN THE PRESCRIBED TIME-LIMIT

Effective date: 20170816

Ref country code: IS

Free format text: LAPSE BECAUSE OF FAILURE TO SUBMIT A TRANSLATION OF THE DESCRIPTION OR TO PAY THE FEE WITHIN THE PRESCRIBED TIME-LIMIT

Effective date: 20171216

Ref country code: BG

Free format text: LAPSE BECAUSE OF FAILURE TO SUBMIT A TRANSLATION OF THE DESCRIPTION OR TO PAY THE FEE WITHIN THE PRESCRIBED TIME-LIMIT

Effective date: 20171116

Ref country code: RS

Free format text: LAPSE BECAUSE OF FAILURE TO SUBMIT A TRANSLATION OF THE DESCRIPTION OR TO PAY THE FEE WITHIN THE PRESCRIBED TIME-LIMIT

Effective date: 20170816

Ref country code: PL

Free format text: LAPSE BECAUSE OF FAILURE TO SUBMIT A TRANSLATION OF THE DESCRIPTION OR TO PAY THE FEE WITHIN THE PRESCRIBED TIME-LIMIT

Effective date: 20170816

PG25 Lapsed in a contracting state [announced via postgrant information from national office to epo]

Ref country code: RO

Free format text: LAPSE BECAUSE OF FAILURE TO SUBMIT A TRANSLATION OF THE DESCRIPTION OR TO PAY THE FEE WITHIN THE PRESCRIBED TIME-LIMIT

Effective date: 20170816

Ref country code: CZ

Free format text: LAPSE BECAUSE OF FAILURE TO SUBMIT A TRANSLATION OF THE DESCRIPTION OR TO PAY THE FEE WITHIN THE PRESCRIBED TIME-LIMIT

Effective date: 20170816

Ref country code: DK

Free format text: LAPSE BECAUSE OF FAILURE TO SUBMIT A TRANSLATION OF THE DESCRIPTION OR TO PAY THE FEE WITHIN THE PRESCRIBED TIME-LIMIT

Effective date: 20170816

REG Reference to a national code

Ref country code: DE

Ref legal event code: R026

Ref document number: 502015001681

Country of ref document: DE

PLBI Opposition filed

Free format text: ORIGINAL CODE: 0009260

PG25 Lapsed in a contracting state [announced via postgrant information from national office to epo]

Ref country code: SM

Free format text: LAPSE BECAUSE OF FAILURE TO SUBMIT A TRANSLATION OF THE DESCRIPTION OR TO PAY THE FEE WITHIN THE PRESCRIBED TIME-LIMIT

Effective date: 20170816

Ref country code: EE

Free format text: LAPSE BECAUSE OF FAILURE TO SUBMIT A TRANSLATION OF THE DESCRIPTION OR TO PAY THE FEE WITHIN THE PRESCRIBED TIME-LIMIT

Effective date: 20170816

Ref country code: SK

Free format text: LAPSE BECAUSE OF FAILURE TO SUBMIT A TRANSLATION OF THE DESCRIPTION OR TO PAY THE FEE WITHIN THE PRESCRIBED TIME-LIMIT

Effective date: 20170816

Ref country code: MC

Free format text: LAPSE BECAUSE OF FAILURE TO SUBMIT A TRANSLATION OF THE DESCRIPTION OR TO PAY THE FEE WITHIN THE PRESCRIBED TIME-LIMIT

Effective date: 20170816

PLAX Notice of opposition and request to file observation + time limit sent

Free format text: ORIGINAL CODE: EPIDOSNOBS2

26 Opposition filed

Opponent name: PLASSER & THEURER, EXPORT VON BAHNBAUMASCHINEN, GE

Effective date: 20180511

REG Reference to a national code

Ref country code: IE

Ref legal event code: MM4A

PG25 Lapsed in a contracting state [announced via postgrant information from national office to epo]

Ref country code: LU

Free format text: LAPSE BECAUSE OF NON-PAYMENT OF DUE FEES

Effective date: 20171012

REG Reference to a national code

Ref country code: BE

Ref legal event code: MM

Effective date: 20171031

PG25 Lapsed in a contracting state [announced via postgrant information from national office to epo]

Ref country code: BE

Free format text: LAPSE BECAUSE OF NON-PAYMENT OF DUE FEES

Effective date: 20171031

Ref country code: SI

Free format text: LAPSE BECAUSE OF FAILURE TO SUBMIT A TRANSLATION OF THE DESCRIPTION OR TO PAY THE FEE WITHIN THE PRESCRIBED TIME-LIMIT

Effective date: 20170816

PG25 Lapsed in a contracting state [announced via postgrant information from national office to epo]

Ref country code: MT

Free format text: LAPSE BECAUSE OF FAILURE TO SUBMIT A TRANSLATION OF THE DESCRIPTION OR TO PAY THE FEE WITHIN THE PRESCRIBED TIME-LIMIT

Effective date: 20170816

PLBB Reply of patent proprietor to notice(s) of opposition received

Free format text: ORIGINAL CODE: EPIDOSNOBS3

REG Reference to a national code

Ref country code: FR

Ref legal event code: PLFP

Year of fee payment: 4

PG25 Lapsed in a contracting state [announced via postgrant information from national office to epo]

Ref country code: IE

Free format text: LAPSE BECAUSE OF NON-PAYMENT OF DUE FEES

Effective date: 20171012

PG25 Lapsed in a contracting state [announced via postgrant information from national office to epo]

Ref country code: HU

Free format text: LAPSE BECAUSE OF FAILURE TO SUBMIT A TRANSLATION OF THE DESCRIPTION OR TO PAY THE FEE WITHIN THE PRESCRIBED TIME-LIMIT; INVALID AB INITIO

Effective date: 20151012

PG25 Lapsed in a contracting state [announced via postgrant information from national office to epo]

Ref country code: CY

Free format text: LAPSE BECAUSE OF FAILURE TO SUBMIT A TRANSLATION OF THE DESCRIPTION OR TO PAY THE FEE WITHIN THE PRESCRIBED TIME-LIMIT

Effective date: 20170816

PG25 Lapsed in a contracting state [announced via postgrant information from national office to epo]

Ref country code: MK

Free format text: LAPSE BECAUSE OF FAILURE TO SUBMIT A TRANSLATION OF THE DESCRIPTION OR TO PAY THE FEE WITHIN THE PRESCRIBED TIME-LIMIT

Effective date: 20170816

PG25 Lapsed in a contracting state [announced via postgrant information from national office to epo]

Ref country code: TR

Free format text: LAPSE BECAUSE OF FAILURE TO SUBMIT A TRANSLATION OF THE DESCRIPTION OR TO PAY THE FEE WITHIN THE PRESCRIBED TIME-LIMIT

Effective date: 20170816

PG25 Lapsed in a contracting state [announced via postgrant information from national office to epo]

Ref country code: PT

Free format text: LAPSE BECAUSE OF FAILURE TO SUBMIT A TRANSLATION OF THE DESCRIPTION OR TO PAY THE FEE WITHIN THE PRESCRIBED TIME-LIMIT

Effective date: 20170816

PG25 Lapsed in a contracting state [announced via postgrant information from national office to epo]

Ref country code: HR

Free format text: LAPSE BECAUSE OF FAILURE TO SUBMIT A TRANSLATION OF THE DESCRIPTION OR TO PAY THE FEE WITHIN THE PRESCRIBED TIME-LIMIT

Effective date: 20170816

PG25 Lapsed in a contracting state [announced via postgrant information from national office to epo]

Ref country code: AL

Free format text: LAPSE BECAUSE OF FAILURE TO SUBMIT A TRANSLATION OF THE DESCRIPTION OR TO PAY THE FEE WITHIN THE PRESCRIBED TIME-LIMIT

Effective date: 20170816

PUAH Patent maintained in amended form

Free format text: ORIGINAL CODE: 0009272

STAA Information on the status of an ep patent application or granted ep patent

Free format text: STATUS: PATENT MAINTAINED AS AMENDED

REG Reference to a national code

Ref country code: CH

Ref legal event code: AELC

27A Patent maintained in amended form

Effective date: 20201111

AK Designated contracting states

Kind code of ref document: B2

Designated state(s): AL AT BE BG CH CY CZ DE DK EE ES FI FR GB GR HR HU IE IS IT LI LT LU LV MC MK MT NL NO PL PT RO RS SE SI SK SM TR

REG Reference to a national code

Ref country code: DE

Ref legal event code: R102

Ref document number: 502015001681

Country of ref document: DE

REG Reference to a national code

Ref country code: SE

Ref legal event code: RPEO

REG Reference to a national code

Ref country code: NO

Ref legal event code: TB2

REG Reference to a national code

Ref country code: ES

Ref legal event code: DC2A

Ref document number: 2647599

Country of ref document: ES

Kind code of ref document: T5

Effective date: 20210811

REG Reference to a national code

Ref country code: AT

Ref legal event code: MM01

Ref document number: 919157

Country of ref document: AT

Kind code of ref document: T

Effective date: 20201012

PG25 Lapsed in a contracting state [announced via postgrant information from national office to epo]

Ref country code: AT

Free format text: LAPSE BECAUSE OF NON-PAYMENT OF DUE FEES

Effective date: 20201012

P01 Opt-out of the competence of the unified patent court (upc) registered

Effective date: 20230428

REG Reference to a national code

Ref country code: CH

Ref legal event code: U11

Free format text: ST27 STATUS EVENT CODE: U-0-0-U10-U11 (AS PROVIDED BY THE NATIONAL OFFICE)

Effective date: 20251101

PGFP Annual fee paid to national office [announced via postgrant information from national office to epo]

Ref country code: DE

Payment date: 20251014

Year of fee payment: 11

PGFP Annual fee paid to national office [announced via postgrant information from national office to epo]

Ref country code: GB

Payment date: 20251021

Year of fee payment: 11

PGFP Annual fee paid to national office [announced via postgrant information from national office to epo]

Ref country code: NO

Payment date: 20251022

Year of fee payment: 11

PGFP Annual fee paid to national office [announced via postgrant information from national office to epo]

Ref country code: FI

Payment date: 20251024

Year of fee payment: 11

Ref country code: IT

Payment date: 20251022

Year of fee payment: 11

PGFP Annual fee paid to national office [announced via postgrant information from national office to epo]

Ref country code: FR

Payment date: 20251027

Year of fee payment: 11

PGFP Annual fee paid to national office [announced via postgrant information from national office to epo]

Ref country code: CH

Payment date: 20251101

Year of fee payment: 11

Ref country code: SE

Payment date: 20251024

Year of fee payment: 11

PGFP Annual fee paid to national office [announced via postgrant information from national office to epo]

Ref country code: ES

Payment date: 20251118

Year of fee payment: 11