EP2472042A2 - Türbeschlagseinrichtung - Google Patents

Türbeschlagseinrichtung Download PDF

Info

Publication number
EP2472042A2
EP2472042A2 EP12000046A EP12000046A EP2472042A2 EP 2472042 A2 EP2472042 A2 EP 2472042A2 EP 12000046 A EP12000046 A EP 12000046A EP 12000046 A EP12000046 A EP 12000046A EP 2472042 A2 EP2472042 A2 EP 2472042A2
Authority
EP
European Patent Office
Prior art keywords
door
door leaf
mounting plate
leaf
designed
Prior art date
Legal status (The legal status is an assumption and is not a legal conclusion. Google has not performed a legal analysis and makes no representation as to the accuracy of the status listed.)
Granted
Application number
EP12000046A
Other languages
English (en)
French (fr)
Other versions
EP2472042A3 (de
EP2472042B1 (de
Inventor
Gerhard Gutmann
Karl Heinz Kästle
Rudolf Schnekenburger
Ulrich Rotenhagen
Current Assignee (The listed assignees may be inaccurate. Google has not performed a legal analysis and makes no representation or warranty as to the accuracy of the list.)
Assa Abloy Sicherheitstechnik GmbH
Original Assignee
Assa Abloy Sicherheitstechnik GmbH
Priority date (The priority date is an assumption and is not a legal conclusion. Google has not performed a legal analysis and makes no representation as to the accuracy of the date listed.)
Filing date
Publication date
Family has litigation
First worldwide family litigation filed litigation Critical https://patents.darts-ip.com/?family=45491378&utm_source=google_patent&utm_medium=platform_link&utm_campaign=public_patent_search&patent=EP2472042(A2) "Global patent litigation dataset” by Darts-ip is licensed under a Creative Commons Attribution 4.0 International License.
Application filed by Assa Abloy Sicherheitstechnik GmbH filed Critical Assa Abloy Sicherheitstechnik GmbH
Publication of EP2472042A2 publication Critical patent/EP2472042A2/de
Publication of EP2472042A3 publication Critical patent/EP2472042A3/de
Application granted granted Critical
Publication of EP2472042B1 publication Critical patent/EP2472042B1/de
Active legal-status Critical Current
Anticipated expiration legal-status Critical

Links

Images

Classifications

    • EFIXED CONSTRUCTIONS
    • E05LOCKS; KEYS; WINDOW OR DOOR FITTINGS; SAFES
    • E05FDEVICES FOR MOVING WINGS INTO OPEN OR CLOSED POSITION; CHECKS FOR WINGS; WING FITTINGS NOT OTHERWISE PROVIDED FOR, CONCERNED WITH THE FUNCTIONING OF THE WING
    • E05F3/00Closers or openers with braking devices, e.g. checks; Construction of pneumatic or liquid braking devices
    • E05F3/22Additional arrangements for closers, e.g. for holding the wing in opened or other position
    • EFIXED CONSTRUCTIONS
    • E05LOCKS; KEYS; WINDOW OR DOOR FITTINGS; SAFES
    • E05BLOCKS; ACCESSORIES THEREFOR; HANDCUFFS
    • E05B47/00Operating or controlling locks or other fastening devices by electric or magnetic means
    • E05B47/0046Electric or magnetic means in the striker or on the frame; Operating or controlling the striker plate
    • E05B47/0047Striker rotating about an axis parallel to the wing edge
    • EFIXED CONSTRUCTIONS
    • E05LOCKS; KEYS; WINDOW OR DOOR FITTINGS; SAFES
    • E05CBOLTS OR FASTENING DEVICES FOR WINGS, SPECIALLY FOR DOORS OR WINDOWS
    • E05C19/00Other devices specially designed for securing wings, e.g. with suction cups
    • E05C19/16Devices holding the wing by magnetic or electromagnetic attraction
    • E05C19/166Devices holding the wing by magnetic or electromagnetic attraction electromagnetic
    • EFIXED CONSTRUCTIONS
    • E05LOCKS; KEYS; WINDOW OR DOOR FITTINGS; SAFES
    • E05FDEVICES FOR MOVING WINGS INTO OPEN OR CLOSED POSITION; CHECKS FOR WINGS; WING FITTINGS NOT OTHERWISE PROVIDED FOR, CONCERNED WITH THE FUNCTIONING OF THE WING
    • E05F3/00Closers or openers with braking devices, e.g. checks; Construction of pneumatic or liquid braking devices
    • E05F3/22Additional arrangements for closers, e.g. for holding the wing in opened or other position
    • E05F3/227Additional arrangements for closers, e.g. for holding the wing in opened or other position mounted at the top of wings, e.g. details related to closer housings, covers, end caps or rails therefor
    • EFIXED CONSTRUCTIONS
    • E05LOCKS; KEYS; WINDOW OR DOOR FITTINGS; SAFES
    • E05BLOCKS; ACCESSORIES THEREFOR; HANDCUFFS
    • E05B9/00Lock casings or latch-mechanism casings ; Fastening locks or fasteners or parts thereof to the wing
    • E05B9/08Fastening locks or fasteners or parts thereof, e.g. the casings of latch-bolt locks or cylinder locks to the wing
    • EFIXED CONSTRUCTIONS
    • E05LOCKS; KEYS; WINDOW OR DOOR FITTINGS; SAFES
    • E05CBOLTS OR FASTENING DEVICES FOR WINGS, SPECIALLY FOR DOORS OR WINDOWS
    • E05C1/00Fastening devices with bolts moving rectilinearly
    • E05C1/004Fastening devices with bolts moving rectilinearly parallel to the surface on which the fastener is mounted
    • EFIXED CONSTRUCTIONS
    • E05LOCKS; KEYS; WINDOW OR DOOR FITTINGS; SAFES
    • E05CBOLTS OR FASTENING DEVICES FOR WINGS, SPECIALLY FOR DOORS OR WINDOWS
    • E05C1/00Fastening devices with bolts moving rectilinearly
    • E05C1/08Fastening devices with bolts moving rectilinearly with latching action
    • EFIXED CONSTRUCTIONS
    • E05LOCKS; KEYS; WINDOW OR DOOR FITTINGS; SAFES
    • E05FDEVICES FOR MOVING WINGS INTO OPEN OR CLOSED POSITION; CHECKS FOR WINGS; WING FITTINGS NOT OTHERWISE PROVIDED FOR, CONCERNED WITH THE FUNCTIONING OF THE WING
    • E05F1/00Closers or openers for wings, not otherwise provided for in this subclass
    • E05F1/002Closers or openers for wings, not otherwise provided for in this subclass controlled by automatically acting means
    • E05F1/006Closers or openers for wings, not otherwise provided for in this subclass controlled by automatically acting means by emergency conditions, e.g. fire
    • EFIXED CONSTRUCTIONS
    • E05LOCKS; KEYS; WINDOW OR DOOR FITTINGS; SAFES
    • E05YINDEXING SCHEME ASSOCIATED WITH SUBCLASSES E05D AND E05F, RELATING TO CONSTRUCTION ELEMENTS, ELECTRIC CONTROL, POWER SUPPLY, POWER SIGNAL OR TRANSMISSION, USER INTERFACES, MOUNTING OR COUPLING, DETAILS, ACCESSORIES, AUXILIARY OPERATIONS NOT OTHERWISE PROVIDED FOR, APPLICATION THEREOF
    • E05Y2201/00Constructional elements; Accessories therefor
    • E05Y2201/20Brakes; Disengaging means; Holders; Stops; Valves; Accessories therefor
    • E05Y2201/218Holders
    • E05Y2201/22Locks
    • EFIXED CONSTRUCTIONS
    • E05LOCKS; KEYS; WINDOW OR DOOR FITTINGS; SAFES
    • E05YINDEXING SCHEME ASSOCIATED WITH SUBCLASSES E05D AND E05F, RELATING TO CONSTRUCTION ELEMENTS, ELECTRIC CONTROL, POWER SUPPLY, POWER SIGNAL OR TRANSMISSION, USER INTERFACES, MOUNTING OR COUPLING, DETAILS, ACCESSORIES, AUXILIARY OPERATIONS NOT OTHERWISE PROVIDED FOR, APPLICATION THEREOF
    • E05Y2201/00Constructional elements; Accessories therefor
    • E05Y2201/20Brakes; Disengaging means; Holders; Stops; Valves; Accessories therefor
    • E05Y2201/23Actuation thereof
    • E05Y2201/246Actuation thereof by auxiliary motors, magnets, springs or weights
    • EFIXED CONSTRUCTIONS
    • E05LOCKS; KEYS; WINDOW OR DOOR FITTINGS; SAFES
    • E05YINDEXING SCHEME ASSOCIATED WITH SUBCLASSES E05D AND E05F, RELATING TO CONSTRUCTION ELEMENTS, ELECTRIC CONTROL, POWER SUPPLY, POWER SIGNAL OR TRANSMISSION, USER INTERFACES, MOUNTING OR COUPLING, DETAILS, ACCESSORIES, AUXILIARY OPERATIONS NOT OTHERWISE PROVIDED FOR, APPLICATION THEREOF
    • E05Y2201/00Constructional elements; Accessories therefor
    • E05Y2201/40Motors; Magnets; Springs; Weights; Accessories therefor
    • E05Y2201/46Magnets
    • E05Y2201/462Electromagnets
    • EFIXED CONSTRUCTIONS
    • E05LOCKS; KEYS; WINDOW OR DOOR FITTINGS; SAFES
    • E05YINDEXING SCHEME ASSOCIATED WITH SUBCLASSES E05D AND E05F, RELATING TO CONSTRUCTION ELEMENTS, ELECTRIC CONTROL, POWER SUPPLY, POWER SIGNAL OR TRANSMISSION, USER INTERFACES, MOUNTING OR COUPLING, DETAILS, ACCESSORIES, AUXILIARY OPERATIONS NOT OTHERWISE PROVIDED FOR, APPLICATION THEREOF
    • E05Y2600/00Mounting or coupling arrangements for elements provided for in this subclass
    • E05Y2600/60Mounting or coupling members; Accessories therefor
    • E05Y2600/626Plates or brackets
    • EFIXED CONSTRUCTIONS
    • E05LOCKS; KEYS; WINDOW OR DOOR FITTINGS; SAFES
    • E05YINDEXING SCHEME ASSOCIATED WITH SUBCLASSES E05D AND E05F, RELATING TO CONSTRUCTION ELEMENTS, ELECTRIC CONTROL, POWER SUPPLY, POWER SIGNAL OR TRANSMISSION, USER INTERFACES, MOUNTING OR COUPLING, DETAILS, ACCESSORIES, AUXILIARY OPERATIONS NOT OTHERWISE PROVIDED FOR, APPLICATION THEREOF
    • E05Y2900/00Application of doors, windows, wings or fittings thereof
    • E05Y2900/10Application of doors, windows, wings or fittings thereof for buildings or parts thereof
    • E05Y2900/13Type of wing
    • E05Y2900/132Doors

Definitions

  • the invention relates to a door fitting device having the features of the preamble of patent claim 1.
  • doors are known with such door fittings, e.g. Escape door installations in which the door is equipped with a sliding arm door closer and an electro-magnet.
  • the housing of the Gleitarmtsch sandwichesers is mounted on the door leaf.
  • the slide rail of Gleitarminnate is mounted on the fixed door frame.
  • the electro-magnet is mounted on the fixed door frame in the area away from the door, which interacts with a pressure plate mounted on the door leaf side.
  • embodiments are also known in which instead of the electric-holding magnet, an electric solenoid is used and instead of the adhesive plate a wing-mounted hook bolt cooperates with the electric lifting magnet.
  • the invention has for its object to further develop a door fitting of the type mentioned so that a simplified assembly and reliable arrangement of the hardware components is obtained on the door.
  • the door fitting comprises a door drive, preferably designed as a door closer with closing spring, with a drive housing with stored output shaft and a force transmitting linkage with sliding arm and slide rail, the sliding arm coupled with its one end to the output shaft and with its other end via a slider in the slide rail is guided, wherein the drive housing is resting on the door leaf and the slide rail resting on the stationary door frame mountable.
  • the door fitting device further comprises an electrically switchable in blocking position and release position locking means and cooperating with the locking counter-device, wherein the locking device on the stationary door frame and the counter device is mounted on the door resting,
  • the slide rail has a force transmitting sliding rail body at least with a first chamber and the slider is guided at least in this first chamber.
  • This force-transmitting slide rail body can be designed as a profile body with one or more profile chambers or as a body produced by casting with one or more chambers.
  • the arresting device is arranged outside the movement path of the slider in the first chamber and / or in a second chamber of the slide rail body which is parallel to the first chamber.
  • the locking device is arranged in a common force transmitted to the slide rail unit. This unit can advantageously be mounted resting on the stationary door frame. It may be provided for this purpose that the slide rail and the locking device are arranged on a common force transmitting carrier or mounting plate or are connected via another rigid connection means transmitting force to each other.
  • the counter-device may preferably have a mechanical stop device cooperating with the locking device.
  • This mechanical stop device can be immovably connected to the door leaf. But it can also be movably mounted relative to the door resiliently position adjustable on the door, for example as be formed resilient latch.
  • the counter-device can also be positionally adjustable by an actuating device, for example as a hand-operated or motor-operated latch.
  • the counter-device can also be made lockable via a lock.
  • the drive housing and the counterpart device form a unit which can be mounted on the door leaf by connecting the drive housing and the counterpart device to one another by a common mounting plate or another rigid connection device.
  • the electrically switchable locking device is designed as an electrically switchable door opener, preferably escape door opener, with an electrically releasable or lockable door opener trap.
  • the counter-device arranged on the door leaf preferably has a resilient latch which cooperates with the door-opener latch and which can be pushed over when the door leaf is closed.
  • the electrically switchable locking device is designed as an electro-magnet.
  • the mounted on the door counter-device can then be designed as a counter-plate, which adheres to the electro-magnet only in the closed position of the door leaf, when the electro-magnet is switched to the blocking position.
  • the electro-magnet can also be provided an electric solenoid, wherein the counter-device is then preferably designed as a hook bolt.
  • the electrically switchable locking device is designed as an electric motor lock.
  • the counter-device arranged on the door leaf can preferably be designed as a latch which can be actuated via a handle or via a lock and which cooperates with the electric-motor lock.
  • the counter-device can also be designed as a rigid locking plate or the like, which cooperates with an electrically actuated latch of the electric motor lock.
  • the slide receiving the locking means is elongated beyond the path of movement of the slider of the force transmitting link in the closing direction as compared to a conventional slide to receive the locking means in this extension portion.
  • the arranged on the door counter-device is in an upper region of the door leaf, preferably vertically aligned with the locking device, in particular partially vertically overlapping with this, arranged.
  • the position of the counter-device is arranged on the door leaf near the door-distal vertical closing edge of the door leaf in the upper region of the door leaf.
  • the counter-device which can be arranged on the door leaf can be arranged in an upper region of the door leaf near a door edge remote from the door leaf.
  • can be arranged on the door leaf Drive housing can be arranged in an upper region of the door leaf near the door near vertical edge of the door leaf.
  • Preferred embodiments provide that the housing of the door drive and the counter-device are arranged on a common mounting plate for mounting on the door leaf.
  • This common mounting plate may be formed as a one-piece mounting plate but also as a multi-part assembled mounting plate. It preferably has a first section on which the door drive, preferably the housing of the door drive is mounted.
  • the common mounting plate further includes a second portion on which the counterpart device is mounted.
  • the common mounting plate in the first section threaded holes for screw fastening the door drive and in the second section threaded holes for screw mounting the counter device or any other, preferably force transmitting component is preferably screw fastening the door drive and in the second section threaded holes for screw mounting the counter device or any other, preferably force transmitting component.
  • the common mounting plate can be fixed in an area of the predetermined hole arrangement, eg standard hole pattern on the door leaf.
  • the mounting plate can in this case be screwed over the threaded holes in the first section of the mounting plate by means of fastening screws on the door leaf.
  • the common mounting plate is at least partially glued to the door leaf. It can be provided that the common mounting plate is connected with its first portion with the door via screwing and / or gluing and is connected to its second portion but only by gluing to the door leaf.
  • the mounting plate in its second section over Screw connection is connected to the door leaf. It is also possible that they are connected both with their first section and with their second section via screwing to the door leaf.
  • the common mounting plate is stiffened and / or preformed and / or prestressed in such a way that when the common mounting plate is mounted on the door leaf via a fastening device exclusively in the area of its first section, the common mounting plate in the region of its second section or punctiform or linearly rests on the surface of the door leaf or is arranged at a minimum distance from the surface of the door leaf.
  • the stiffening of the common mounting plate is formed by the common mounting plate has stiffening ribs and / or profile with a cross section in the form of an L, U, T or E or with a cross section in shape another multi-legged configuration is formed.
  • the stiffening can also be achieved by corresponding longitudinal ribs and / or a continuously reinforced plate thickness of the mounting plate.
  • preforming and / or preformed common mounting plate can be provided that the preforming and / or bias of the common mounting plate is formed such that the common mounting plate curved in the uninstalled position and / or angled and in the mounted position preferably flat or preferably essentially resiliently on the surface of the door leaf is formed lying on.
  • the mounting plate rests in its concrete position permanently under tensile load on the door leaf. There is bending on the mounting plate.
  • the common mounting plate has at its second portion a region encompassing the door leaf or is connected to a component encompassing the door leaf.
  • All of these embodiments of the common mounting plate in which at most in the first section a ringbefestrien is provided for mounting the common mounting plate on the door, are preferably on fire doors, fire doors or escape route doors used in which an assembly of power transmitting components only in the standard hole pattern on the door allowed is.
  • the door device is designed as escape door device and arranged to the slide electrically switchable locking device is designed as escape door opener.
  • the door fitting is designed for a single-leaf door or for a two-leaf door.
  • the door fitting device according to the invention with the features, as discussed above, can be mounted on a door which has at least one door wing designed as a stop pivoting leaf which is rotatably mounted in a stationary door frame via tapes.
  • the door 1 is designed as a stop swivel wing with the door axis A. It is driven via a Gleitarmesch professioner 5 in the closing direction.
  • the Gleitarmesch professioner 5 has a door closer housing 5 g, which is mounted on the door leaf 1.
  • a conventional door closer mechanism can be mounted, that is, a closing spring, which cooperates with a closer in the door closer housing 5g closer shaft 5w.
  • a hydraulic piston-cylinder device may be connected, which is also in the Door closer housing 5g is added.
  • the closer shaft 5w is rotatably connected to a power transmitting sliding arm 5k.
  • the free end of the slide arm 5k has a trained as a roller or sliding block slider 5kg, which is guided linearly displaceable in a mounted on the door frame 3 slide 5s.
  • the Gleitarmtsch deviser 5 is designed as a resting door closer.
  • the door closer housing 5g is mounted resting on the door leaf 1 in the upper door near area in the position of the standard hole pattern provided in the door leaf with the interposition of a mounting plate 10.
  • the mounting plate 10 has a Mosachsenfernen section on which a resilient latch 6 is mounted, which cooperates with an electrically switchable door opener 7, which is mounted in the stationary door frame mounted on the mounted slide 5s, in a position the lock latch 6 from above over here (see Figures 3 and 4 ).
  • the resilient latch 6 may also be provided a hook latch device.
  • the door opener 7 is designed as escape door opener, for example with a structure as in DE 42 29 239 C1 described. The door opener 7 is received in the slide rail 5s outside the range of movement of the slider of the slide arm 5k, in a position located beyond the movement path of the slider, away from the end position occupied by the slider in the closed position of the door ,
  • the slide rail 5s is in the in the Figures 3 and 4 illustrated case formed as a profile body having an upper profile chamber and a lower profile chamber.
  • the other profile chamber is open at the bottom and takes as a guide to the slider of the sliding arm 5k.
  • the upper profile chamber is designed to receive further components of the Gleitarmtsch consumers, For example, for an electrical locking device, which cooperates with the slider of the sliding arm 5k to hold the slider in an open position to stop, for the purpose of determining the door leaf in an open position.
  • the door opener 7 is accommodated in the upper and lower profile chambers, in an extension section of the slide rail outside the movement path of the slider.
  • the slide has in the in the Figures 3 and 4 Case shown still a cover 5a, which is plugged as a cover housing on the profile body of the slide 5s to optically cover the profile body over its entire length.
  • the electric door opener 7 is controlled by a terminal 8 which is fixedly installed in the wall adjacent to the vertical bar of the fixed door frame 2.
  • the terminal 8 has an electrical control device with a emergency button 8a. Furthermore, the terminal has a key switch 8b.
  • the mounting plate 10, on which the door closer housing 5g is mounted is extended towards the plate side remote from conventional mounting plates. In this extension section, the resilient latch 6 is mounted.
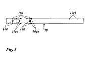
  • the mounting plate 10 has mounting holes 10 a, which are aligned with the standard hole in the upper near-door area of the door leaf 1 and 1 mounting screws for mounting on the door, which are screwed to secure the mounting plate 10 on the door 1 in the standard holes of the door leaf.
  • the mounting plate on separate threaded holes 10ga, in which the mounting screws of the door closer housing 5g are screwed to fasten the door closer housing on the mounting plate.
  • the mounting plate 10 is screwed in the illustrated case in its door near section, in which the bores are formed for the attachment of the door closer housing, in the standard boreholes with the door leaf.
  • the mounting plate 10 is glued in the extension portion with the door leaf. The bond may be formed to extend only in the off-plate portion of the mounting plate on which the latch is mounted.
  • the adhesive connection can also extend into other portions of the mounting plate, even down to the door near the area in which the mounting of the mounting plate is done by screwing in the standard drilling pattern of the door leaf.
  • adhesive attachment on the door and a screw fastening may be provided to secure the mounting plate in the region of the extension portion on the door leaf.
  • the position of the door opener 7 relative to the position of the latch 6 may be designed adjustable. It can be provided that in the direction of the door width of the door opener 7 in the slide 5s is adjustable. In Door opening direction, ie in the direction perpendicular to the door opening, an adjustment of the position of the latch 6 may be provided by shims during assembly of the latch. Additionally or alternatively, a door opener trap adjustment, eg with Aufschraub published, preferably as in DE 10 2004 037 827 A1 described, or with eccentric, preferably as in EP 0 841 474 A1 described, be provided.
  • an electromechanical or electro-hydraulic Gleitarmtantrieb be provided, via which the door is driven both to open or to close.
  • the Gleitarmtantrieb is mounted in the same way as the Gleitarmcschtechnik 5 with its drive housing on the door leaf 1 via the mounting plate 10. Its drive shaft is connected to the guided in the slide 5s sliding arm 5k.
  • an electromotive lock is mounted instead of the electrically switchable door opener 7 in the slide rail 5s.
  • the latch bolt 6 is mounted on the door, on the extension portion of the mounting plate 10 in this case, a strike plate into which engages an electromotive bolt of the arranged in the slide electromotive lock in the closed position of the door.
  • an electro-adhesive magnet is arranged on the door frame side instead of the electric door opener mounted in the slide rail 5s. It is preferably mounted in a housing in which the slide rail 5s is arranged. This housing thus forms a Common housing for the slide rail and for the electro-magnet.
  • the electromagnet is in the same position as the electric strike in the FIGS. 1 to 4 assembled. It cooperates with a counter plate, which is mounted on the wing side instead of the resilient latch 6. This in the closed position with the magnet cooperating counter-plate is in the same way as the latch in the FIGS. 1 to 4 mounted on the extension portion of the mounting plate 10.
  • the door device shown in the figures is, as mentioned above, an escape door lock.
  • the door leaf In the normal operating state of the escape door device, the door leaf is closed, ie the door leaf is in the closed position as in the FIGS. 1 to 4 shown.
  • the arranged in the slide electric door opener 7 is connected in the blocking position. Detected in the locked position door latch holds the engaging with her lock latch 6 in her facing away from the door vertical vertical stop surface in abutment, as in FIG. 4 shown.
  • the electric door opener 7 is switched by pressing the emergency button in its release position. The door opener trap is thus released, so that the lock latch 6 is no longer locked by the door opener latch of the door opener and the door 1 can be opened.
  • the manually swung in the opening direction door leaf is automatically closed again from its open position under the action of the door closer by the closing spring, which is stretched when the door is opened.
  • the resilient latch 6 is over their facing the door slope on the door latch latch or a suppressed with the door opener housing or another frame-fixed stop when the door 1 enters the closed position.
  • the door opener which is in the blocking position in the normal operating state holds then again on the locked door latch trap the door in its closed position.
  • the housing of the door drive 5 and the counter-device 6 are summarized as overlying common unit, wherein the mounting plate 10 connects these two components as a force-transmitting.
  • the mounting plate 10 connects these two components as a force-transmitting.
  • the components are also combined on the frame side to form a unit, namely the slide rail 5s and the locking device 7.
  • the locking device 7 is received in the slide 5s supporting in a chamber of the slide.
  • the slide rail and the locking device are mounted only on a common carrier plate or common mounting plate, which summarizes the slide rail and the locking device to a frame-side unit in a force-transmitting manner. Also in this frame-side unit even more components can be added.

Landscapes

  • Physics & Mathematics (AREA)
  • Electromagnetism (AREA)
  • Engineering & Computer Science (AREA)
  • Mechanical Engineering (AREA)
  • Power-Operated Mechanisms For Wings (AREA)
  • Wing Frames And Configurations (AREA)

Abstract

Beschrieben wird eine Türbeschlagseinrichtung für eine Tür mit mindestens einem als Anschlag-Schwenkflügel ausgebildeten Türflügel (1). Die Türbeschlagseinrichtung umfasst:
a) einen Türantrieb (5) mit Antriebsgehäuse (5g) aufliegend montiert auf dem Türflügel (1) und mit einem Kraft übertragenden Gestänge mit Gleitarm und Gleitschiene (5s) aufliegend montiert auf dem ortsfesten Türrahmen (2); und
b) eine elektrisch in Sperrstellung und Freigabestellung schaltbare Arretiereinrichtung (7) und eine mit der Arretiereinrichtung (7) zusammenwirkende Gegeneinrichtung (6),
wobei die Arretiereinrichtung (7) auf dem ortsfesten Türrahmen (2) und d ie Gegeneinrichtung(6) aufliegend auf dem Türflügel (1) montierbar ist.
Wesentlich ist, dass die Arretiereinrichtung (7) und die Gleitschiene (5s) eine aufliegende Baueinheit auf dem ortsfesten Türrahmen (2) bilden und dass das Antriebsgehäuse 5g und die mit der Arretiereinrichtung (7) zusammenwirkende Gegeneinrichtung (6) aufliegend auf dem Türflügel (1) angeordnet sind.

Description

  • Die Erfindung betrifft eine Türbeschlagseinrichtung mit den Merkmalen des Oberbegriffs des Patentanspruchs 1.
  • Aus der Praxis sind Türen mit solchen Türbeschlagseinrichtungen bekannt, z.B. Fluchttüreinrichtungen, bei denen die Tür mit einem Gleitarmtürschließer und einem Elektro-Haftmagneten ausgestattet ist. Das Gehäuse des Gleitarmtürschließers ist auf dem Türflügel montiert. Die Gleitschiene der Gleitarmeinrichtung ist auf dem ortsfesten Türrahmen montiert. Auf dem ortsfesten Türrahmen im türachsenfernen Bereich ist der Elektro-Haftmagnet montiert, der mit einer türflügelseitig montierten Haftplatte zusammenwirkt. Ferner sind auch Ausführungen bekannt, bei denen anstelle des Elektro-Haftmagneten ein Elektro-Hubmagnet eingesetzt wird und anstelle der Haftplatte ein flügelseitig montierter Hakenriegel mit dem Elektro-Hubmagneten zusammenwirkt.
  • Diese bekannten mehrkomponentigen Türbeschlagseinrichtungen weisen wegen des Montageaufwands der einzelnen Komponenten Montagenachteile auf. Ferner ergeben sich optische Nachteile mit der Vielzahl der einzelnen Komponenten.
  • Der Erfindung liegt die Aufgabe zugrunde, eine Türbeschlagseinrichtung der eingangs genannten Art so weiterzuentwickeln, dass eine vereinfachte Montage und betriebssichere Anordnung der Beschlagskomponenten an der Tür erhalten wird.
  • Die Aufgabe wird mit dem Gegenstand des Patentanspruchs 1 gelöst.
  • Es handelt sich hierbei um eine Türbeschlagseinrichtung für eine Tür mit mindestens einem als Anschlag-Schwenkflügel ausgebildeten Türflügel, der über Bänder drehbar in einem ortsfesten Türrahmen gelagert ist, vorzugsweise Fluchttürbeschlagseinrichtung und/oder Brand-, Feuer- und/oder Rauchschutztürbeschlagseinrichtung. Die Türbeschlagseinrichtung umfasst einen Türantrieb, vorzugsweise als Türschließer mit Schließerfeder ausgebildet, mit einem Antriebsgehäuse mit darin gelagerter Abtriebswelle und einem Kraft übertragenden Gestänge mit Gleitarm und Gleitschiene, wobei der Gleitarm mit seinem einen Ende mit der Abtriebswelle koppelbar und mit seinem anderen Ende über einen Gleiter in der Gleitschiene geführt ist, wobei das Antriebsgehäuse aufliegend auf dem Türflügel und die Gleitschiene aufliegend auf dem ortsfesten Türrahmen montierbar ist. Die Türbeschlagseinrichtung umfasst ferner eine elektrisch in Sperrstellung und Freigabestellung schaltbare Arretiereinrichtung und eine mit der Arretiereinrichtung zusammenwirkende Gegeneinrichtung, wobei die Arretiereinrichtung auf dem ortsfesten Türrahmen und die Gegeneinrichtung aufliegend auf dem Türflügel montierbar ist,
  • Wesentlich ist dabei, dass die Gleitschiene einen Kraft übertragenden Gleitschienenkörper mindestens mit einer ersten Kammer aufweist und der Gleiter mindestens in dieser ersten Kammer geführt ist. Dieser Kraft übertragende Gleitschienenkörper kann als Profilkörper mit einer oder mehreren Profilkammern oder auch als im Gussverfahren hergestellter Körper mit einer oder mehreren Kammern ausgebildet sein. Wesentlich bei der erfindungsgemäßen Lösung ist ferner, dass die Arretiereinrichtung außerhalb des Bewegungswegs des Gleiters in der ersten Kammer und/oder in einer zu der ersten Kammer parallelen zweiten Kammer des Gleitschienenkörpers angeordnet ist. Alternativ oder zusätzlich zu der Anordnung der Arretiereinrichtung in der ersten oder zweiten Kammer des Gleitschienenkörpers ist es auch möglich, dass die Arretiereinrichtung in einer mit der Gleitschiene gemeinsamen Kraft übertragenden Baueinheit angeordnet ist. Diese Baueinheit kann vorteilhaft aufliegend auf dem ortsfesten Türrahmen montierbar sein. Es kann hierzu vorgesehen sein, dass die Gleitschiene und die Arretiereinrichtung auf einer gemeinsamen Kraft übertragenden Träger- oder Montageplatte angeordnet sind oder über eine anderweitige starre Verbindungseinrichtung Kraft übertragend miteinander verbunden sind.
  • Wesentlich ist, dass die erfindungsgemäße Lösung vorsieht, dass die derart montierte Arretiereinrichtung in der Schließstellung des Türflügels mit der auf dem Türflügel aufliegend montierbaren Gegeneinrichtung zusammenwirkt, um den Türflügel in der Schließstellung zu halten, wenn die Arretiereinrichtung in Sperrstellung geschaltet ist. Die Gegeneinrichtung kann vorzugsweise eine mit der Arretiereinrichtung zusammenwirkende mechanische Anschlageinrichtung aufweisen. Diese mechanische Anschlageinrichtung kann mit dem Türflügel unbewegbar verbunden sein. Sie kann aber auch bewegbar relativ zum Türflügel federnd positionsverstellbar auf dem Türflügel gelagert sein, z.B. als federnde Schlossfalle ausgebildet sein. Die Gegeneinrichtung kann aber auch durch eine Betätigungseinrichtung positionsverstellbar sein, z.B. als Hand betätigter oder motorisch betätigter Riegel. Die Gegeneinrichtung kann auch über ein Schloss sperrbar ausgebildet sein.
  • Bei bevorzugten Ausführungen kann vorgesehen sein, dass das Antriebsgehäuse und die Gegeneinrichtung eine auf dem Türflügel aufliegend montierbare Baueinheit bildet, indem das Antriebsgehäuse und die Gegeneinrichtung durch eine gemeinsame Montageplatte oder eine andere starre Verbindungseinrichtung miteinander verbunden sind.
  • Was die Ausgestaltung der elektrisch schaltbaren Arretiereinrichtung betrifft, sind unterschiedliche Ausführungen möglich. Beispielsweise sind Ausführungen möglich, bei denen die elektrisch schaltbare Arretiereinrichtung als elektrisch schaltbarer Türöffner, vorzugsweise Fluchttüröffner, mit einer elektrisch freigebbaren oder sperrbaren Türöffnerfalle ausgebildet ist. Vorzugsweise weist hierbei die auf dem Türflügel angeordnete Gegeneinrichtung eine mit der Türöffnerfalle zusammenwirkende federnde Schlossfalle auf, die beim Schließen des Türflügels überdrückbar ist.
  • Es sind auch Ausführungen vorgesehen, bei denen die elektrisch schaltbare Arretiereinrichtung als Elektro-Haftmagnet ausgebildet ist. Die auf dem Türflügel gelagerte Gegeneinrichtung kann dann als Gegenplatte ausgebildet sein, die nur in der Schließstellung des Türflügels, wenn der Elektro-Haftmagnet in Sperrstellung geschaltet ist, an dem Elektro-Haftmagneten haftet. Anstelle des Elektro-Haftmagneten kann auch ein Elektro-Hubmagnet vorgesehen sein, wobei die Gegeneinrichtung dann vorzugsweise als Hakenriegel ausgebildet ist.
  • Ferner sind Ausführungen vorgesehen, bei denen die elektrisch schaltbare Arretiereinrichtung als Elektromotor-Schloss ausgebildet ist. In diesem Fall kann die auf dem Türflügel angeordnete Gegeneinrichtung vorzugsweise als ein über eine Handhabe oder über ein Schloss betätigbarer Riegel ausgebildet sein, der mit dem Elektromotor-Schloss zusammenwirkt. Die Gegeneinrichtung kann aber auch als ein starres Schließblech oder dergleichen ausgebildet sein, das mit einem elektrisch betätigbaren Riegel des Elektromotor-Schlosses zusammenwirkt.
  • Was die Anordnung der Arretiereinrichtung am ortsfesten Türrahmen und die Anordnung der mit der Arretiereinrichtung zusammenwirkenden Gegeneinrichtung am Türflügel betrifft, ist eine möglichst fluchtende Anordnung erforderlich, um ein einwandfreies Zusammenwirken zu ermöglichen. Bei bevorzugten Ausführungen ist die Gleitschiene, die die Arretiereinrichtung aufnimmt, über den Bewegungsweg des Gleiters des Kraft übertragenden Gestänges in Schließrichtung hinaus im Vergleich zu einer herkömmlichen Gleitschiene verlängert ausgebildet, um in diesem Verlängerungsbereich die Arretiereinrichtung aufzunehmen. Die auf dem Türflügel angeordnete Gegeneinrichtung ist in einem oberen Bereich des Türflügels, vorzugsweise vertikal fluchtend mit der Arretiereinrichtung, insbesondere zum Teil vertikal überlappend mit dieser, angeordnet. Bei bevorzugten Ausführungen ist die Position der Gegeneinrichtung am Türflügel nahe der türachsenfernen vertikalen Schließkante des Türflügels im oberen Bereich des Türflügels angeordnet. Dies bedeutet, dass bei bevorzugten Ausführungen der erfindungsgemäßen Türbeschlagseinrichtung vorgesehen ist, dass die auf dem Türflügel anordenbare Gegeneinrichtung in einem oberen Bereich des Türflügels nahe einer türachsenfernen Kante des Türflügels anordenbar ist. Hierbei ist vorzugsweise vorgesehen, dass das auf dem Türflügel anordenbare Antriebsgehäuse in einem oberen Bereich des Türflügels nahe der türachsennahen vertikalen Kante des Türflügels anordenbar ist.
  • Bevorzugte Ausführungen sehen vor, dass das Gehäuse des Türantriebs und die Gegeneinrichtung auf einer zur Montage am Türflügel gemeinsame Montageplatte angeordnet sind. Diese gemeinsame Montageplatte kann als einstückige Montageplatte aber auch als mehrteilig zusammengesetzte Montageplatte ausgebildet sein. Sie weist vorzugsweise einen ersten Abschnitt auf, auf dem der Türantrieb, vorzugsweise das Gehäuse des Türantriebs montiert ist. Die gemeinsame Montageplatte weist ferner einen zweiten Abschnitt auf, auf dem die Gegeneinrichtung montiert ist.
  • Vorzugsweise weist die gemeinsame Montageplatte in dem ersten Abschnitt Gewindelöcher zur Schraubbefestigung des Türantriebs und in dem zweiten Abschnitt Gewindelöcher zur Schraubbefestigung der Gegeneinrichtung oder irgendeiner anderen, vorzugsweise Kraft übertragenden Komponente auf.
  • Die gemeinsame Montageplatte kann in einem Bereich der vorgegebenen Lochanordnung, z.B. Normlochbild auf dem Türflügel befestigt werden. Die Montageplatte kann hierbei über die Gewindelöcher in dem ersten Abschnitt der Montageplatte mittels Befestigungsschrauben auf dem Türflügel verschraubt werden. Zusätzlich oder alternativ kann aber auch vorgesehen sein, dass die gemeinsame Montageplatte zumindest abschnittsweise auf dem Türflügel aufgeklebt wird. Es kann vorgesehen sein, dass die gemeinsame Montageplatte mit ihrem ersten Abschnitt mit dem Türflügel über Verschraubung und/oder Verkleben verbunden ist und mit ihrem zweiten Abschnitt aber nur über Verklebung mit dem Türflügel verbunden ist. Es sind auch Ausführungen möglich, bei denen die Montageplatte in ihrem zweiten Abschnitt über Verschraubung mit dem Türflügel verbunden ist. Es ist hierbei auch möglich, dass sie sowohl mit ihrem ersten Abschnitt als auch mit ihrem zweiten Abschnitt über Verschraubung mit dem Türflügel verbunden sind.
  • Bei speziellen Ausführungen ist vorgesehen, dass die gemeinsame Montageplatte derart ausgesteift und/oder vorgeformt und/oder vorgespannt ausgebildet ist, dass bei Befestigung der gemeinsamen Montageplatte auf dem Türflügel über eine Befestigungseinrichtung ausschließlich im Bereich ihres ersten Abschnitts die gemeinsame Montageplatte im Bereich ihres zweiten Abschnitts flächig oder punktfömig oder linienförmig auf der Fläche des Türflügels aufliegt oder mit minimalem Abstand zur Fläche des Türflügels angeordnet ist.
  • Bei Ausführungen mit ausgesteifter gemeinsamer Montageplatte kann vorgesehen sein, dass die Aussteifung der gemeinsamen Montageplatte dadurch ausgebildet ist, dass die gemeinsame Montageplatte Versteifungsrippen aufweist und/oder als Profil mit einem Querschnitt in Form eines L, U, T oder E oder mit einem Querschnitt in Form einer anderen mehrschenkeligen Konfiguration ausgebildet ist. Vorzugsweise kann die Aussteifung dabei auch durch entsprechende Längsrippen und/oder eine durchgehend verstärkte Plattendicke der Montageplatte erreicht werden.
  • Bei Ausführungen mit vorgeformter und/oder vorgeformter gemeinsamer Montageplatte kann vorgesehen sein, dass die Vorformung und/oder Vorspannung der gemeinsamen Montageplatte derart ausgebildet ist, dass die gemeinsame Montageplatte in nicht montierter Stellung gekrümmt und/oder winkelig ausgebildet und in montierter Stellung vorzugsweise eben oder vorzugsweise im wesentlichen eben auf der Fläche des Türflügels federnd aufliegend ausgebildet ist. Durch entsprechende Vorspannung kann erreicht werden, dass die Montageplatte in ihrer konkreten Position permanent unter Zugbelastung auf dem Türblatt aufliegt. Es erfolgt Biegung auf die Montageplatte.
  • Ferner sind Ausführungen möglich, bei denen die gemeinsame Montageplatte an ihrem zweiten Abschnitt einen den Türflügel umgreifenden Bereich aufweist oder mit einem den Türflügel umgreifenden Bauteil verbunden ist.
  • All diese Ausgestaltungen der gemeinsamen Montageplatte, bei denen allenfalls im ersten Abschnitt eine Schraubbefestigung zur Montage der gemeinsamen Montageplatte am Türflügel vorgesehen ist, sind bevorzugt an Brandschutztüren, Feuerschutztüren oder Fluchtwegtüren einsetzbar, an denen eine Montage von Kraft übertragenden Komponenten ausschließlich in dem Normlochbild am Türflügel zulässig ist. Es kann vorgesehen sein, dass die Türeinrichtung als Fluchttüreinrichtung ausgebildet ist und die zu der Gleitschiene angeordnete elektrisch schaltbare Arretiereinrichtung als Fluchttüröffner ausgebildet ist.
  • Bei den erläuterten Ausführungen kann vorgesehen sein, dass die Türbeschlagseinrichtung für eine einflügelige Tür oder für eine zweiflügelige Tür ausgebildet ist.
  • Vorzugsweise ist die erfindungsgemäße Türbeschlagseinrichtung mit den Merkmalen, wie vorangehend erörtert, an einer Tür montierbar, die mindestens einen als Anschlag-Schwenkflügel ausgebildeten Türflügel aufweist, der über Bänder drehbar in einem ortsfesten Türrahmen gelagert ist.
  • Im nachfolgenden werden bevorzugte Ausführungsbeispiele der Erfindung anhand von Figuren näher erläutert.
  • Dabei zeigt
  • Fig. 1
    eine schematische Frontansicht einer Türeinrichtung
    Fig. 2
    eine vergrößerte Ansicht des oberen Bereichs der Türeinrichtung in Fig. 1
    Fig. 3
    eine schematische Seitenansicht entlang Pfeil III in Fig. 2
    Fig. 4
    eine schematische Schnittdarstellung eines Schnitts entlang Linie IV-IV in Fig. 2
    Fig. 5
    eine schematische Frontansicht auf die Montageplatte in Fig. 1
  • Bei dem in den Figuren dargestellten Ausführungsbeispiel handelt es sich um eine Fluchtwegtüreinrichtung mit einem Türflügel 1, der über Bänder 3 in einem ortsfesten Türrahmen 2 gelagert ist. Der Türflügel 1 ist als Anschlagschwenkflügel mit der Türachse A ausgebildet. Er ist über einen Gleitarmtürschließer 5 in Schließrichtung angetrieben. Der Gleitarmtürschließer 5 weist ein Türschließergehäuse 5g auf, das auf dem Türflügel 1 montiert ist. In dem Türschließergehäuse 5g kann eine herkömmliche Türschließermechanik gelagert sein, das heißt eine Schließerfeder, die mit einer in dem Türschließergehäuse 5g gelagerten Schließerwelle 5w zusammenwirkt. Zwischen der Schließerfeder und der Schließerwelle kann eine hydraulische Kolben-Zylinder-Einrichtung geschaltet sein, die ebenfalls im Türschließergehäuse 5g aufgenommen ist. Die Schließerwelle 5w ist mit einem Kraft übertragenden Gleitarm 5k drehfest verbunden. Das freie Ende des Gleitarms 5k weist einen als Rolle oder Gleitstein ausgebildeten Gleiter 5kg auf, der in einer am Türrahmen 3 montierten Gleitschiene 5s linear verschiebbar geführt ist.
  • Der Gleitarmtürschließer 5 ist als aufliegender Türschließer ausgebildet. Das Türschließergehäuse 5g ist aufliegend auf dem Türflügel 1 in dem oberen türachsennahen Bereich in der Position des im Türflügel vorgesehenen Normlochbilds unter Zwischenschaltung einer Montageplatte 10 montiert. Die Montageplatte 10 weist einen türachsenfernen Abschnitt auf, auf dem eine federnde Schlossfalle 6 montiert ist, die mit einem elektrisch schaltbaren Türöffner 7 zusammenwirkt, der in der am ortsfesten Türrahmen aufliegend montierten Gleitschiene 5s gelagert ist, und zwar in einer Position die Schlossfalle 6 von oben her übergreifend (siehe Figuren 3 und 4). Anstelle der federnden Schlossfalle 6 kann auch eine Hakenriegeleinrichtung vorgesehen sein. Der Türöffner 7 ist als Fluchttüröffner ausgebildet, zum Beispiel mit einem Aufbau wie in DE 42 29 239 C1 beschrieben. Der Türöffner 7 ist in der Gleitschiene 5s außerhalb des Bewegungsbereichs des Gleiters des Gleitarms 5k aufgenommen, und zwar in einer Position, die über den Bewegungsweg des Gleiters hinaus angeordnet ist, und zwar mit Abstand zu der Endposition, die der Gleiter in Schließlage der Tür einnimmt.
  • Die Gleitschiene 5s ist in dem in den Figuren 3 und 4 dargestellten Fall als Profilkörper ausgebildet, der eine obere Profilkammer und eine untere Profilkammer aufweist. Die andere Profilkammer ist nach unten offen und nimmt als Führung den Gleiter des Gleitarms 5k auf. Die obere Profilkammer ist zur Aufnahme von weiteren Komponenten des Gleitarmtürschließers ausgebildet, z.B. für eine elektrische Feststelleinrichtung, die mit dem Gleiter des Gleitarms 5k zusammenwirkt, um den Gleiter in einer Offenstellung in Anschlag zu halten, zwecks Feststellung des Türflügels in einer Offenlage. Im dargestellten Fall ist in der oberen und in der unteren Profilkammer der Türöffner 7 aufgenommen, und zwar in einem Verlängerungsabschnitt der Gleitschiene außerhalb des Bewegungswegs des Gleiters. Die Gleitschiene weist in dem in den Figuren 3 und 4 dargestellten Fall noch eine Abdeckblende 5a auf, die als Abdeckgehäuse auf den Profilkörper der Gleitschiene 5s aufgesteckt ist, um den Profilkörper über seine gesamte Länge optisch abzudecken.
  • Der elektrische Türöffner 7 ist über ein Terminal 8 gesteuert, das ortsfest in der Wand angrenzend an den vertikalen Holm des ortsfesten Türrahmens 2 installiert ist. Das Terminal 8 weist eine elektrische Steuerungseinrichtung mit einem Nottaster 8a auf. Ferner weist das Terminal einen Schlüsselschalter 8b auf.
  • Die Montageplatte 10, auf der das Türschließergehäuse 5g montiert ist, ist gegenüber herkömmlichen Montageplatten zur türachsenfernen Seite hin verlängert. In diesem Verlängerungsabschnitt ist die federnde Schlossfalle 6 montiert. Die Montageplatte 10 weist Befestigungslöcher 10a auf, die mit dem Normbohrloch im oberen türachsennahen Bereich des Türflügels 1 fluchten und zur Befestigung auf dem Türflügel 1 Befestigungsschrauben aufnehmen, die zur Befestigung der Montageplatte 10 auf dem Türflügel 1 in die Normbohrlöcher des Türflügels eingeschraubt sind. Für die Befestigung des Türschließergehäuses 5g auf der Montageplatte 10 weist die Montageplatte separate Gewindelöcher 10ga auf, in die die Befestigungsschrauben des Türschließergehäuses 5g zur Befestigung des Türschließergehäuses auf der Montageplatte eingeschraubt sind. In dem türachsenfernen Endbereich des Verlängerungsabschnitts sind Gewindebohrungen 10gb ausgebildet, in denen in dem dargestellten Ausführungsbeispiel die Schlossfalle 7 über Befestigungsschrauben verschraubt ist. Die Montageplatte 10 ist in dem dargestellten Fall in ihrem türachsennahen Abschnitt, in dem die Bohrlöcher für die Befestigung des Türschließergehäuses ausgebildet sind, in den Normbohrlöchern mit dem Türflügel verschraubt. In dem Verlängerungsabschnitt der Montageplatte sind bei dem dargestellten Ausführungsbeispiel keine Befestigungsbohrungen zur Befestigung der Montageplatte am Türflügel vorgesehen, sondern lediglich Gewindelöcher 10gb, um darin die Schlossfalle 6 oder irgendeine andere Komponente auf der Montageplatte 10 zu montieren. Bei dem dargestellten Ausführungsbeispiel ist die Montageplatte 10 in dem Verlängerungsabschnitt mit dem Türflügel verklebt. Die Verklebung kann so ausgebildet sein, dass sie ausschließlich in dem türachsenfernen Abschnitt der Montageplatte, auf dem die Schlossfalle montiert ist, sich erstreckt. Die Klebeverbindung kann jedoch auch sich in weitere Abschnitte der Montageplatte erstrecken, und zwar auch bis in den türachsennahen Bereich, in dem die Befestigung der Montageplatte durch Verschraubung im Normbohrbild des Türflügels erfolgt. Anstelle der im Bereich des Verlängerungsabschnitts ausgeführten Klebefestigung auf dem Türflügel kann auch eine Schraubbefestigung vorgesehen sein, um die Montage platte im Bereich des Verlängerungsabschnitts auf dem Türflügel zu befestigen. Über eine Abdeckhaube, die sich über die gesamte Länge der Montageplatte 10 erstreckt, sind die auf der Montageplatte montierten Komponenten, d.h. das Türschließergehäuse 5g und sie Schlossfalle 6 abgedeckt.
  • Zur Justierung kann die Position des Türöffners 7 relativ zur Position der Schlossfalle 6 verstellbar ausgebildet sein. Es kann vorgesehen sein, dass in Richtung der Türbreite der Türöffner 7 in der Gleitschiene 5s verstellbar ist. In Türöffnungsrichtung, d.h. in Richtung senkrecht zur Türöffnung kann eine Verstellung der Position der Schlossfalle 6 durch Unterlegbleche bei der Montage der Schlossfalle vorgesehen sein. Zusätzlich oder alternativ kann eine Türöffnerfallen-Verstellung, z.B. mit Aufschraubstück, vorzugsweise wie in DE 10 2004 037 827 A1 beschrieben, oder mit Excenter, vorzugsweise wie in EP 0 841 474 A1 beschrieben, vorgesehen sein.
  • Bei einem gegenüber den Figuren 1 bis 5 abgewandelten Ausführungsbeispiel kann anstelle des Gleitarmtürschließers 5 ein elektromechanischer oder elektrohydraulischer Gleitarmtürantrieb vorgesehen sein, über den der Türflügel sowohl zum Öffnen oder auch zum Schließen antreibbar ist. Der Gleitarmtürantrieb ist in gleicher Wiese wie der Gleitarmtürschließer 5 mit seinem Antriebsgehäuse auf dem Türflügel 1 über die Montageplatte 10 montiert. Seine Antriebswelle ist mit dem in der Gleitschiene 5s geführten Gleitarm 5k verbunden.
  • Bei einem weiteren abgewandelten Ausführungsbeispiel ist anstelle des elektrisch schaltbaren Türöffners 7 in der Gleitschiene 5s ein elektromotorisches Schloss gelagert. Anstelle der Schlossfalle 6 ist auf dem Türflügel, und zwar auf dem Verlängerungsabschnitt der Montageplatte 10 in diesem Falle ein Schließblech montiert, in das ein elektromotorischer Riegel des in der Gleitschiene angeordneten elektromotorischen Schlosses in der Schließstellung der Tür eingreift.
  • Bei einem weiteren abgewandelten Ausführungsbeispiel ist anstelle des in der Gleitschiene 5s gelagerten elektrischen Türöffners ein Elektrohaftmagnet türrahmenseitig angeordnet. Er ist vorzugsweise in einem Gehäuse gelagert, in dem auch die Gleitschiene 5s angeordnet ist. Dieses Gehäuse bildet somit ein gemeinsames Gehäuse für die Gleitschiene und für den Elektrohaftmagneten. Der Elektrohaftmagnet ist in der gleichen Position wie der elektrische Türöffner in den Figuren 1 bis 4 montiert. Er wirkt mit einer Gegenplatte zusammen, die anstelle der federnden Schlossfalle 6 flügelseitig montiert ist. Diese in der Schließstellung mit dem Haftmagneten zusammenwirkende Gegenplatte ist in gleicher Weise wie die Schlossfalle in den Figuren 1 bis 4 auf dem Verlängerungsabschnitt der Montageplatte 10 montiert.
  • Bei der in den Figuren dargestellten Türeinrichtung handelt es sich, wie eingangs erwähnt, um eine Fluchttürverriegelung. Im Normalbetriebszustand der Fluchttüreinrichtung ist der Türflügel geschlossen, d.h. der Türflügel ist in Schließstellung wie in den Figuren 1 bis 4 dargestellt. Der in der Gleitschiene angeordnete elektrische Türöffner 7 ist in Sperrstellung geschaltet. Die in der Sperrstellung festgestellte Türöffnerfalle hält die mit ihr in Eingriff stehende Schlossfalle 6 in ihrer vom Türflügel abgewandten vertikalen geraden Anschlagfläche in Anschlag, wie in Figur 4 gezeigt. Im Notfall wird der elektrische Türöffner 7 durch Betätigung des Nottasters in seine Freigabestellung geschaltet. Die Türöffnerfalle wird damit freigegeben, sodass die Schlossfalle 6 nicht mehr durch die Türöffnerfalle des Türöffners gesperrt ist und der Türflügel 1 geöffnet werden kann.
  • Der von Hand in Öffnungsrichtung geschwenkte Türflügel wird aus seiner Öffnungsposition unter Wirkung des Türschließers durch die Schließerfeder, die beim Öffnen der Tür gespannt wird, automatisch wieder geschlossen. Die federnde Schlossfalle 6 wird über ihre zum Türflügel gewandte Schräge an der Türöffnerfalle oder einem mit dem Türöffnergehäuse oder einem anderen rahmenfesten Anschlag überdrückt, wenn der Türflügel 1 in die Schließlage gelangt. Der in Normalbetriebszustand in Sperrstellung stehende Türöffner hält dann wieder über die arretierte Türöffnerfalle den Türflügel in seiner Schließlage.
  • Bei den dargestellten Ausführungsbeispielen ist von besonderem Vorteil, dass über die gemeinsame Montageplatte 10 das Gehäuse des Türantriebs 5 und der Gegeneinrichtung 6 als aufliegende gemeinsame Baueinheit zusammengefasst sind, wobei die Montageplatte 10 diese zwei Komponenten als kraftübertragend verbindet. Es sind auch abgewandelte Ausführungen denkbar, bei denen auf der Montageplatte 10 nicht nur zwei, sondern drei oder mehr Komponenten montiert sind und somit eine entsprechend die Baueinheit als erweiterte flügelseitige aufliegende Baueinheit ausgebildet ist.
  • Bei den dargestellten Ausführungsbeispielen sind auch rahmenseitig die Komponenten zu einer Baueinheit zusammengefasst, nämlich die Gleitschiene 5s und die Arretiereinrichtung 7. In dem dargestellten Fall ist die Arretiereinrichtung 7 in der Gleitschiene 5s tragend in einer Kammer der Gleitschiene aufgenommen. Es kann aber auch vorgesehen sein, dass die Gleitschiene und die Arretiereinrichtung lediglich auf einer gemeinsamen Trägerplatte oder gemeinsamen Montageplatte montiert sind, die die Gleitschiene und die Arretiereinrichtung zu einer rahmenseitigen Baueinheit kraftübertragend zusammenfasst. Auch in dieser rahmenseitigen Baueinheit können noch weitere Komponenten aufgenommen sein.
  • Bezugszeichenliste
  • 1
    Türflügel
    2
    Türrahmen
    3
    Band
    5
    Türschließer
    5w
    Türschließerwelle
    5g
    Türschließergehäuse
    5k
    Kraft übertragendes Gestänge / Gleitarm
    5kg
    Gleiter des Kraft übertragenden Gestänges
    5s
    Gleitschiene
    5a
    Abdeckblende
    6
    Schlossfalle
    7
    Türöffner
    8
    Türterminal
    8a
    Nottaster
    8b
    Schlüsselschalter
    10
    Montageplatte
    10a
    Befestigungslöcher
    10ga
    Gewindelöcher zur Befestigung des Türschließergehäuses
    10gb
    Gewindelöcher zur Befestigung der weiteren Komponenten

Claims (15)

  1. Türbeschlagseinrichtung für eine Tür mit mindestens einem als Anschlag-Schwenkflügel ausgebildeten Türflügel (1), der über Bänder (3) drehbar in einem ortsfesten Türrahmen (2) gelagert ist, vorzugsweise Fluchttürbeschlagseinrichtung und/oder Brand-, Feuer- und/oder Rauchschutztürbeschlagseinrichtung,
    umfassend
    a) einen Türantrieb (5), vorzugsweise als Türschließer mit Schließerfeder ausgebildet, mit einem Antriebsgehäuse (5g) mit darin gelagerter Abtriebswelle (5w) und einem Kraft übertragenden Gestänge mit Gleitarm und Gleitschiene, wobei der Gleitarm (5a) mit seinem einen Ende mit der Abtriebswelle (5w) koppelbar und mit seinem anderen Ende über einen Gleiter in der Gleitschiene (5s) geführt ist,
    wobei das Antriebsgehäuse (5g) aufliegend auf dem Türflügel (1) und die Gleitschiene (5s) aufliegend auf dem ortsfesten Türrahmen (2) montierbar ist, und
    b) eine elektrisch in Sperrstellung und Freigabestellung schaltbare Arretiereinrichtung (7) und eine mit der elektrisch schaltbaren Arretiereinrichtung (7) zusammenwirkende Gegeneinrichtung (6), wobei die elektrisch schaltbare Arretiereinrichtung (7) auf dem ortsfesten Türrahmen (2) und die Gegeneinrichtung(6) aufliegend auf dem Türflügel (1) montierbar ist,
    dadurch gekennzeichnet,
    c) dass die elektrisch schaltbare Arretiereinrichtung (7) in der Schließstellung des Türflügels (1) mit der auf dem Türflügel (1) aufliegend montierbaren Gegeneinrichtung (6) zusammenwirkt, um den Türflügel (1) in Schließstellung zu halten, wenn die elektrisch schaltbare Arretiereinrichtung (7) in Sperrstellung geschaltet ist;
    d) dass die Gleitschiene (5s) einen Kraft übertragenden Gleitschienenkörper mit mindestens einer ersten Kammer aufweist und der Gleiter mindestens in der ersten Kammer geführt ist; und
    e) dass die elektrisch schaltbare Arretiereinrichtung (7) außerhalb des Bewegungsweges des Gleiters in der ersten Kammer und/oder in einer zu der ersten Kammer parallelen zweiten Kammer des Gleitschienenkörpers der Gleitschiene (5s) und/oder in einer mit der Gleitschiene (5s) gemeinsamen, Kraft übertragenden aufliegend auf dem ortsfesten Türrahmen (2) montierbaren Baueinheit angeordnet ist.
  2. Türbeschlagseinrichtung nach Anspruch 1,
    dadurch gekennzeichnet,
    dass das Antriebsgehäuse (5g) und die Gegeneinrichtung (6) eine auf dem Türflügel (1) aufliegend montierbare Baueinheit bilden, indem das Antriebsgehäuse (5g) und die Gegeneinrichtung (6) durch eine gemeinsame Montageplatte (10) oder eine andere starre Verbindungseinrichtung miteinander verbunden sind.
  3. Türbeschlagseinrichtung nach einem der vorangehenden Ansprüche,
    dadurch gekennzeichnet,
    dass die Gleitschiene (5s) und/oder das Gehäuse der Gleitschiene (5s) über den Bewegungsweg des Gleiters des Kraft übertragenden Gestänges in Schließrichtung hinaus im Vergleich zu einer herkömmlichen Gleitschiene verlängert ausgebildet ist.
  4. Türbeschlagseinrichtung nach einem der vorangehenden Ansprüche,
    dadurch gekennzeichnet,
    dass die auf dem Türflügel (1) anordenbare Gegeneinrichtung (6) in einem oberen Bereich des Türflügels nahe einer türachsenfernen Kante des Türflügels (1) anordenbar ist.
  5. Türbeschlagseinrichtung nach einem der vorangehenden Ansprüche,
    dadurch gekennzeichnet,
    dass die Gegeneinrichtung (6) eine mit der elektrisch schaltbaren Arretiereinrichtung (7) zusammenwirkende mechanische Anschlageinrichtung aufweist, die mit dem Türflügel (1) unbewegbar verbunden oder bewegbar relativ zum Türflügel federnd positionsverstellbar und/oder durch ein Schloss sperrbar anordenbar ist.
  6. Türbeschlagseinrichtung nach einem der vorangehenden Ansprüche,
    dadurch gekennzeichnet,
    dass die elektrisch schaltbare Arretiereinrichtung als elektrisch schaltbarer Türöffner (7) mit einer elektrisch freigebbaren oder sperrbaren Türöffnerfalle ausgebildet ist und
    dass die auf dem Türflügel (1) angeordnete Gegeneinrichtung (6) eine mit der Türöffnerfalle zusammenwirkende federnde Schlossfalle aufweist, die beim Schließen des Türflügels (1) überdrückbar ist.
  7. Türbeschlagseinrichtung nach einem der Ansprüche 1 bis 5,
    dadurch gekennzeichnet.
    dass die elektrisch schaltbare Arretiereinrichtung (7) als Elektrohaftmagnet ausgebildet ist, und dass die auf dem Türflügel (1) gelagerte Gegeneinrichtung (6) als Gegenplatte ausgebildet ist, die nur in der Schließstellung des Türflügels (1), wenn der Elektrohaftmagnet in Sperrstellung geschaltet ist, an dem Elektrohaftmagneten haftet.
  8. Türeinrichtung nach einem der Ansprüche 1 bis 5,
    dadurch gekennzeichnet,
    dass die elektrisch schaltbare Arretiereinrichtung (7) als Elektro-Hubmagnet ausgebildet ist und dass die auf dem Türflügel (1) gelagerte Gegeneinrichtung (6) als Hakenriegeleinrichtung ausgebildet ist, die nur in der Schließstellung des Türflügels (1), wenn der Elektro-Hubmagnet in Sperrstellung geschaltet ist, mit dem Elektro-Hubmagneten zusammenwirkt.
  9. Türbeschlagseinrichtung nach einem der Ansprüche 1 bis 5,
    dadurch gekennzeichnet,
    dass die elektrisch schaltbare Arretiereinrichtung (7) als Elektromotor-Schloss ausgebildet ist, und dass die auf dem Türflügel (1) angeordnete Gegeneinrichtung (6) als über ein Schloss oder eine Handhabe betätigbarer Riegel ausgebildet ist, der mit dem Elektromotor-Schloss zusammenwirkt, oder als ein starres Schließblech ausgebildet ist, das mit einem elektrisch betätigbaren Riegel des Elektromotor-Schlosses zusammenwirkt.
  10. Türbeschlagseinrichtung nach einem der Ansprüche 2 bis 9,
    dadurch gekennzeichnet,
    dass die gemeinsame Montageplatte (10) in einem Bereich einer vorgegebenen Lochanordnung auf dem Türflügel (1) befestigt ist.
  11. Türbeschlagseinrichtung nach einem der Ansprüche 2 bis 10,
    dadurch gekennzeichnet,
    dass die gemeinsame Montageplatte (10) zumindest abschnittsweise auf dem Türflügel (1) aufgeklebt ist.
  12. Türbeschlagseinrichtung nach einem der Ansprüche 2 bis 11,
    dadurch gekennzeichnet,
    dass die gemeinsame Montageplatte (10) einen ersten Abschnitt aufweist, auf dem der Türantrieb (5) montiert ist und einen zweiten Abschnitt aufweist, auf dem die Gegeneinrichtung (6) montiert ist.
  13. Türbeschlagseinrichtung nach Anspruch 12,
    dadurch gekennzeichnet,
    dass die gemeinsame Montageplatte (10) mit ihrem ersten Abschnitt mit dem Türflügel (1) über Verschraubung und/oder Verklebung verbunden ist und mit ihrem zweiten Abschnitt über Verklebung mit dem Türflügel (1) verbunden ist.
  14. Türbeschlagseinrichtung nach einem der Ansprüche 2 bis 13,
    dadurch gekennzeichnet,
    dass die gemeinsame Montageplatte (10) derart ausgesteift und/oder vorgeformt und/oder vorgespannt ausgebildet ist, dass bei Befestigung der gemeinsamen Montageplatte (10) auf dem Türflügel (1) über eine Befestigungseinrichtung ausschließlich im Bereich ihres ersten Abschnitts die gemeinsame Montageplatte (10) im Bereich ihres zweiten Abschnitts flächig oder punktförmig oder linienförmig auf der Fläche des Türflügels aufliegt oder mit minimalem Abstand zur Fläche des Türflügels angeordnet ist.
  15. Tür mit mindestens einem als Anschlag-Schwenkflügel ausgebildeten Türflügel (1), der über Bänder (3) drehbar in einem ortsfesten Türrahmen (2) gelagert ist,
    dadurch gekennzeichnet,
    dass die Tür mit einer Türbeschlagseinrichtung nach einem der vorangehenden Ansprüche ausgerüstet ist.
EP12000046.8A 2011-01-04 2012-01-04 Türbeschlagseinrichtung Active EP2472042B1 (de)

Applications Claiming Priority (1)

Application Number Priority Date Filing Date Title
DE102011007975.0A DE102011007975B4 (de) 2011-01-04 2011-01-04 Türbeschlagseinrichtung

Publications (3)

Publication Number Publication Date
EP2472042A2 true EP2472042A2 (de) 2012-07-04
EP2472042A3 EP2472042A3 (de) 2013-12-18
EP2472042B1 EP2472042B1 (de) 2016-08-31

Family

ID=45491378

Family Applications (1)

Application Number Title Priority Date Filing Date
EP12000046.8A Active EP2472042B1 (de) 2011-01-04 2012-01-04 Türbeschlagseinrichtung

Country Status (4)

Country Link
EP (1) EP2472042B1 (de)
DE (1) DE102011007975B4 (de)
ES (1) ES2605103T3 (de)
PL (1) PL2472042T3 (de)

Cited By (5)

* Cited by examiner, † Cited by third party
Publication number Priority date Publication date Assignee Title
WO2016113431A1 (de) * 2015-01-18 2016-07-21 Assa Abloy Sicherheitstechnik Gmbh Türantriebseinrichtung mit hauptantrieb und hilfsantrieb
WO2016113394A1 (de) * 2015-01-16 2016-07-21 Assa Abloy Sicherheitstechnik Gmbh Sicherungsvorrichtung zur sicherung einer tür in flucht- und rettungswegen
DE102015000513C5 (de) 2015-01-18 2021-12-30 Assa Abloy Sicherheitstechnik Gmbh Türantriebseinrichtung mit Hauptantrieb und Hilfsantrieb
US20230407677A1 (en) * 2022-06-15 2023-12-21 Hanchett Entry System, Inc. Modular surface mounted electric strike
EP4556660A3 (de) * 2022-06-15 2025-08-06 Hanchett Entry Systems, Inc. Oberflächenmontierter elektrischer schliessstein

Families Citing this family (1)

* Cited by examiner, † Cited by third party
Publication number Priority date Publication date Assignee Title
CN106968528B (zh) * 2017-04-25 2022-08-09 亚萨合莱国强(山东)五金科技有限公司 一种外开双向传动器

Family Cites Families (8)

* Cited by examiner, † Cited by third party
Publication number Priority date Publication date Assignee Title
DE9102788U1 (de) * 1991-03-08 1991-06-06 Geze GmbH & Co, 7250 Leonberg Pendeltür
DE4229239C1 (de) * 1992-09-02 1993-09-23 Fritz Fuss Gmbh & Co, 7470 Albstadt, De
DE9213550U1 (de) * 1992-10-08 1992-12-17 GEZE GmbH, 71229 Leonberg Türbeschlag mit Türschließer und Zuhalteeinrichtung
DE19645964A1 (de) 1996-11-07 1998-05-14 Bayerische Motoren Werke Ag Schaltbarer Tassenstößel für Gaswechselventile von Brennkraftmaschinen, insbesondere mit Zylinderabschaltung
DE19646490C2 (de) * 1996-11-11 1999-01-21 Fuss Fritz Gmbh & Co Verstellbare Schwenkfalle für Türöffner
DE102004037827B4 (de) * 2004-08-04 2007-01-11 Assa Abloy Sicherheitstechnik Gmbh Elektrischer Türöffner
DE102004053822B4 (de) * 2004-11-04 2010-07-08 Dorma Gmbh + Co. Kg Profillose Ganzglasanlage
DE102007054460A1 (de) * 2007-11-13 2009-05-14 Dorma Gmbh + Co. Kg Türantrieb mit modularem Aufbau

Cited By (8)

* Cited by examiner, † Cited by third party
Publication number Priority date Publication date Assignee Title
WO2016113394A1 (de) * 2015-01-16 2016-07-21 Assa Abloy Sicherheitstechnik Gmbh Sicherungsvorrichtung zur sicherung einer tür in flucht- und rettungswegen
EP3245371B1 (de) 2015-01-16 2020-01-15 Assa Abloy Sicherheitstechnik GmbH Sicherungsvorrichtung zur sicherung einer tür in flucht- und rettungswegen
WO2016113431A1 (de) * 2015-01-18 2016-07-21 Assa Abloy Sicherheitstechnik Gmbh Türantriebseinrichtung mit hauptantrieb und hilfsantrieb
DE102015000513C5 (de) 2015-01-18 2021-12-30 Assa Abloy Sicherheitstechnik Gmbh Türantriebseinrichtung mit Hauptantrieb und Hilfsantrieb
US20230407677A1 (en) * 2022-06-15 2023-12-21 Hanchett Entry System, Inc. Modular surface mounted electric strike
US11885154B2 (en) * 2022-06-15 2024-01-30 Hanchett Entry Systems, Inc. Modular surface mounted electric strike
EP4556660A3 (de) * 2022-06-15 2025-08-06 Hanchett Entry Systems, Inc. Oberflächenmontierter elektrischer schliessstein
US12509915B2 (en) 2022-06-15 2025-12-30 Hanchett Entry Systems, Inc. Surface mounted electric strike

Also Published As

Publication number Publication date
PL2472042T3 (pl) 2017-02-28
ES2605103T3 (es) 2017-03-13
DE102011007975B4 (de) 2015-04-02
DE102011007975A1 (de) 2012-07-05
EP2472042A3 (de) 2013-12-18
EP2472042B1 (de) 2016-08-31

Similar Documents

Publication Publication Date Title
EP2459824B1 (de) Zuziehvorrichtung für eine tür
EP2054573B1 (de) Öffnungsvorrichtung für relativ zueinander bewegliche möbelteile
EP2472042B1 (de) Türbeschlagseinrichtung
EP2542742B1 (de) Türöffnereinrichtung mit entriegelungseinrichtung
DE102012111085B4 (de) Türöffner
DE202012002502U1 (de) Vorrichtung zur Unterstützung und Erleichterung des Kipp-Öffnens und -Schließens für ein Fenster oder eine Tür
EP2472041B1 (de) Montageplatte
DE4426430B4 (de) Feststellvorrichtung für eine Tür
EP2752539B2 (de) Treibriegelschloss
EP0324075B1 (de) Vorrichtung zur Regelung der Schliessfolge von zweiflügeligen Türen
EP3247854B1 (de) Tür aufweisend einen türantrieb mit haupt- und hilfsantrieb und zusatzfunktionskomponenten
DE10058483B4 (de) Selbst sperrende Verriegelungseinrichtung für Flügel mit Überschlag
DE102016100956A1 (de) Türantrieb mit Haupt- und Hilfsantrieb und Zusatzfunktionskomponenten
DE19540505A1 (de) Türschließer mit selbsttätiger Schließbewegung und verdeckt angeordnetem Schließergehäuse
DE19700859A1 (de) Tür- oder Fensteranlage mit einer Verriegelungsvorrichtung
DE102012200640A1 (de) Antriebsvorrichtung für eine gemeinsame Betätigung eines Zentralverschlusses und des Flügels eines Fensters oder einer Türe
DE19857432B4 (de) Schließeinrichtung für Gebäudetüren oder Gebäudefenster
DE102006013086A1 (de) Beschlag für ein Fenster oder eine Tür
EP3211165A1 (de) Ausstellvorrichtung für einen dreh-kipp-flügel eines fensters oder einer tür zum motorischen kippen und manuellen drehen und kippen
EP1544396B1 (de) Vorrichtung zur Schliessfolgeregelung
DE102012106191B4 (de) Vorspannbauteil für eine Fenster- oder Türvorrichtung und Fenster- oder Türvorrichtung
EP0668426A1 (de) Beschlag für Fenster oder Türen
EP3626918B1 (de) Beschlag für ein fenster, fenster
EP3647529B1 (de) Auslöser für eine türdichtung mit anhebbarer und absenkbarer dichtungsleiste
EP0685621A1 (de) Verriegelungsvorrichtung an einer automatisch betätigbaren Türe bzw. einem automatisch betätigbaren Tor

Legal Events

Date Code Title Description
AK Designated contracting states

Kind code of ref document: A2

Designated state(s): AL AT BE BG CH CY CZ DE DK EE ES FI FR GB GR HR HU IE IS IT LI LT LU LV MC MK MT NL NO PL PT RO RS SE SI SK SM TR

AX Request for extension of the european patent

Extension state: BA ME

PUAI Public reference made under article 153(3) epc to a published international application that has entered the european phase

Free format text: ORIGINAL CODE: 0009012

RAP1 Party data changed (applicant data changed or rights of an application transferred)

Owner name: ASSA ABLOY SICHERHEITSTECHNIK GMBH

RIN1 Information on inventor provided before grant (corrected)

Inventor name: SCHNEKENBURGER, RUDOLF

Inventor name: KAESTLE, KARL HEINZ

Inventor name: GUTMANN, GERHARD

Inventor name: ROTENHAGEN, ULRICH

PUAL Search report despatched

Free format text: ORIGINAL CODE: 0009013

AK Designated contracting states

Kind code of ref document: A3

Designated state(s): AL AT BE BG CH CY CZ DE DK EE ES FI FR GB GR HR HU IE IS IT LI LT LU LV MC MK MT NL NO PL PT RO RS SE SI SK SM TR

AX Request for extension of the european patent

Extension state: BA ME

RIC1 Information provided on ipc code assigned before grant

Ipc: E05F 3/22 20060101AFI20131112BHEP

Ipc: E05B 47/00 20060101ALI20131112BHEP

Ipc: E05C 19/16 20060101ALI20131112BHEP

17P Request for examination filed

Effective date: 20140617

RBV Designated contracting states (corrected)

Designated state(s): AL AT BE BG CH CY CZ DE DK EE ES FI FR GB GR HR HU IE IS IT LI LT LU LV MC MK MT NL NO PL PT RO RS SE SI SK SM TR

RIC1 Information provided on ipc code assigned before grant

Ipc: E05C 19/16 20060101ALI20141119BHEP

Ipc: E05C 1/00 20060101ALN20141119BHEP

Ipc: E05C 1/08 20060101ALN20141119BHEP

Ipc: E05B 47/00 20060101AFI20141119BHEP

Ipc: E05F 1/00 20060101ALN20141119BHEP

Ipc: E05F 3/22 20060101ALI20141119BHEP

RIC1 Information provided on ipc code assigned before grant

Ipc: E05F 1/00 20060101ALN20141121BHEP

Ipc: E05C 19/16 20060101ALI20141121BHEP

Ipc: E05F 3/22 20060101ALI20141121BHEP

Ipc: E05C 1/00 20060101ALN20141121BHEP

Ipc: E05B 47/00 20060101AFI20141121BHEP

Ipc: E05C 1/08 20060101ALN20141121BHEP

17Q First examination report despatched

Effective date: 20141219

REG Reference to a national code

Ref country code: DE

Ref legal event code: R079

Ref document number: 502012008084

Country of ref document: DE

Free format text: PREVIOUS MAIN CLASS: E05F0003220000

Ipc: E05B0047000000

GRAP Despatch of communication of intention to grant a patent

Free format text: ORIGINAL CODE: EPIDOSNIGR1

INTG Intention to grant announced

Effective date: 20160324

RIC1 Information provided on ipc code assigned before grant

Ipc: E05F 3/22 20060101ALI20160315BHEP

Ipc: E05F 1/00 20060101ALN20160315BHEP

Ipc: E05C 19/16 20060101ALI20160315BHEP

Ipc: E05B 47/00 20060101AFI20160315BHEP

Ipc: E05C 1/00 20060101ALN20160315BHEP

Ipc: E05C 1/08 20060101ALN20160315BHEP

Ipc: E05B 9/08 20060101ALI20160315BHEP

GRAS Grant fee paid

Free format text: ORIGINAL CODE: EPIDOSNIGR3

GRAA (expected) grant

Free format text: ORIGINAL CODE: 0009210

AK Designated contracting states

Kind code of ref document: B1

Designated state(s): AL AT BE BG CH CY CZ DE DK EE ES FI FR GB GR HR HU IE IS IT LI LT LU LV MC MK MT NL NO PL PT RO RS SE SI SK SM TR

REG Reference to a national code

Ref country code: CH

Ref legal event code: EP

Ref country code: GB

Ref legal event code: FG4D

Free format text: NOT ENGLISH

REG Reference to a national code

Ref country code: IE

Ref legal event code: FG4D

Free format text: LANGUAGE OF EP DOCUMENT: GERMAN

REG Reference to a national code

Ref country code: DE

Ref legal event code: R096

Ref document number: 502012008084

Country of ref document: DE

REG Reference to a national code

Ref country code: AT

Ref legal event code: REF

Ref document number: 825128

Country of ref document: AT

Kind code of ref document: T

Effective date: 20161015

REG Reference to a national code

Ref country code: NL

Ref legal event code: FP

REG Reference to a national code

Ref country code: SE

Ref legal event code: TRGR

REG Reference to a national code

Ref country code: LT

Ref legal event code: MG4D

REG Reference to a national code

Ref country code: FR

Ref legal event code: PLFP

Year of fee payment: 6

PG25 Lapsed in a contracting state [announced via postgrant information from national office to epo]

Ref country code: LT

Free format text: LAPSE BECAUSE OF FAILURE TO SUBMIT A TRANSLATION OF THE DESCRIPTION OR TO PAY THE FEE WITHIN THE PRESCRIBED TIME-LIMIT

Effective date: 20160831

Ref country code: NO

Free format text: LAPSE BECAUSE OF FAILURE TO SUBMIT A TRANSLATION OF THE DESCRIPTION OR TO PAY THE FEE WITHIN THE PRESCRIBED TIME-LIMIT

Effective date: 20161130

Ref country code: HR

Free format text: LAPSE BECAUSE OF FAILURE TO SUBMIT A TRANSLATION OF THE DESCRIPTION OR TO PAY THE FEE WITHIN THE PRESCRIBED TIME-LIMIT

Effective date: 20160831

Ref country code: RS

Free format text: LAPSE BECAUSE OF FAILURE TO SUBMIT A TRANSLATION OF THE DESCRIPTION OR TO PAY THE FEE WITHIN THE PRESCRIBED TIME-LIMIT

Effective date: 20160831

PG25 Lapsed in a contracting state [announced via postgrant information from national office to epo]

Ref country code: GR

Free format text: LAPSE BECAUSE OF FAILURE TO SUBMIT A TRANSLATION OF THE DESCRIPTION OR TO PAY THE FEE WITHIN THE PRESCRIBED TIME-LIMIT

Effective date: 20161201

Ref country code: LV

Free format text: LAPSE BECAUSE OF FAILURE TO SUBMIT A TRANSLATION OF THE DESCRIPTION OR TO PAY THE FEE WITHIN THE PRESCRIBED TIME-LIMIT

Effective date: 20160831

REG Reference to a national code

Ref country code: ES

Ref legal event code: FG2A

Ref document number: 2605103

Country of ref document: ES

Kind code of ref document: T3

Effective date: 20170313

PG25 Lapsed in a contracting state [announced via postgrant information from national office to epo]

Ref country code: RO

Free format text: LAPSE BECAUSE OF FAILURE TO SUBMIT A TRANSLATION OF THE DESCRIPTION OR TO PAY THE FEE WITHIN THE PRESCRIBED TIME-LIMIT

Effective date: 20160831

Ref country code: EE

Free format text: LAPSE BECAUSE OF FAILURE TO SUBMIT A TRANSLATION OF THE DESCRIPTION OR TO PAY THE FEE WITHIN THE PRESCRIBED TIME-LIMIT

Effective date: 20160831

PG25 Lapsed in a contracting state [announced via postgrant information from national office to epo]

Ref country code: SK

Free format text: LAPSE BECAUSE OF FAILURE TO SUBMIT A TRANSLATION OF THE DESCRIPTION OR TO PAY THE FEE WITHIN THE PRESCRIBED TIME-LIMIT

Effective date: 20160831

Ref country code: SM

Free format text: LAPSE BECAUSE OF FAILURE TO SUBMIT A TRANSLATION OF THE DESCRIPTION OR TO PAY THE FEE WITHIN THE PRESCRIBED TIME-LIMIT

Effective date: 20160831

Ref country code: CZ

Free format text: LAPSE BECAUSE OF FAILURE TO SUBMIT A TRANSLATION OF THE DESCRIPTION OR TO PAY THE FEE WITHIN THE PRESCRIBED TIME-LIMIT

Effective date: 20160831

Ref country code: BE

Free format text: LAPSE BECAUSE OF NON-PAYMENT OF DUE FEES

Effective date: 20170131

Ref country code: PT

Free format text: LAPSE BECAUSE OF FAILURE TO SUBMIT A TRANSLATION OF THE DESCRIPTION OR TO PAY THE FEE WITHIN THE PRESCRIBED TIME-LIMIT

Effective date: 20170102

Ref country code: DK

Free format text: LAPSE BECAUSE OF FAILURE TO SUBMIT A TRANSLATION OF THE DESCRIPTION OR TO PAY THE FEE WITHIN THE PRESCRIBED TIME-LIMIT

Effective date: 20160831

Ref country code: BG

Free format text: LAPSE BECAUSE OF FAILURE TO SUBMIT A TRANSLATION OF THE DESCRIPTION OR TO PAY THE FEE WITHIN THE PRESCRIBED TIME-LIMIT

Effective date: 20161130

REG Reference to a national code

Ref country code: DE

Ref legal event code: R097

Ref document number: 502012008084

Country of ref document: DE

PLBE No opposition filed within time limit

Free format text: ORIGINAL CODE: 0009261

STAA Information on the status of an ep patent application or granted ep patent

Free format text: STATUS: NO OPPOSITION FILED WITHIN TIME LIMIT

26N No opposition filed

Effective date: 20170601

PG25 Lapsed in a contracting state [announced via postgrant information from national office to epo]

Ref country code: SI

Free format text: LAPSE BECAUSE OF FAILURE TO SUBMIT A TRANSLATION OF THE DESCRIPTION OR TO PAY THE FEE WITHIN THE PRESCRIBED TIME-LIMIT

Effective date: 20160831

REG Reference to a national code

Ref country code: CH

Ref legal event code: PL

PG25 Lapsed in a contracting state [announced via postgrant information from national office to epo]

Ref country code: MC

Free format text: LAPSE BECAUSE OF FAILURE TO SUBMIT A TRANSLATION OF THE DESCRIPTION OR TO PAY THE FEE WITHIN THE PRESCRIBED TIME-LIMIT

Effective date: 20160831

PG25 Lapsed in a contracting state [announced via postgrant information from national office to epo]

Ref country code: CH

Free format text: LAPSE BECAUSE OF NON-PAYMENT OF DUE FEES

Effective date: 20170131

Ref country code: LI

Free format text: LAPSE BECAUSE OF NON-PAYMENT OF DUE FEES

Effective date: 20170131

REG Reference to a national code

Ref country code: IE

Ref legal event code: MM4A

PG25 Lapsed in a contracting state [announced via postgrant information from national office to epo]

Ref country code: LU

Free format text: LAPSE BECAUSE OF NON-PAYMENT OF DUE FEES

Effective date: 20170104

REG Reference to a national code

Ref country code: FR

Ref legal event code: PLFP

Year of fee payment: 7

PGFP Annual fee paid to national office [announced via postgrant information from national office to epo]

Ref country code: FR

Payment date: 20171229

Year of fee payment: 7

Ref country code: NL

Payment date: 20171213

Year of fee payment: 7

REG Reference to a national code

Ref country code: BE

Ref legal event code: MM

Effective date: 20170131

PG25 Lapsed in a contracting state [announced via postgrant information from national office to epo]

Ref country code: IE

Free format text: LAPSE BECAUSE OF NON-PAYMENT OF DUE FEES

Effective date: 20170104

PGFP Annual fee paid to national office [announced via postgrant information from national office to epo]

Ref country code: PL

Payment date: 20171220

Year of fee payment: 7

REG Reference to a national code

Ref country code: AT

Ref legal event code: MM01

Ref document number: 825128

Country of ref document: AT

Kind code of ref document: T

Effective date: 20170104

PGFP Annual fee paid to national office [announced via postgrant information from national office to epo]

Ref country code: FI

Payment date: 20180110

Year of fee payment: 7

Ref country code: GB

Payment date: 20180103

Year of fee payment: 7

Ref country code: ES

Payment date: 20180201

Year of fee payment: 7

PG25 Lapsed in a contracting state [announced via postgrant information from national office to epo]

Ref country code: AT

Free format text: LAPSE BECAUSE OF NON-PAYMENT OF DUE FEES

Effective date: 20170104

PGFP Annual fee paid to national office [announced via postgrant information from national office to epo]

Ref country code: IT

Payment date: 20180122

Year of fee payment: 7

Ref country code: SE

Payment date: 20180111

Year of fee payment: 7

Ref country code: TR

Payment date: 20180102

Year of fee payment: 7

PG25 Lapsed in a contracting state [announced via postgrant information from national office to epo]

Ref country code: MT

Free format text: LAPSE BECAUSE OF FAILURE TO SUBMIT A TRANSLATION OF THE DESCRIPTION OR TO PAY THE FEE WITHIN THE PRESCRIBED TIME-LIMIT

Effective date: 20160831

PG25 Lapsed in a contracting state [announced via postgrant information from national office to epo]

Ref country code: AL

Free format text: LAPSE BECAUSE OF FAILURE TO SUBMIT A TRANSLATION OF THE DESCRIPTION OR TO PAY THE FEE WITHIN THE PRESCRIBED TIME-LIMIT

Effective date: 20160831

PG25 Lapsed in a contracting state [announced via postgrant information from national office to epo]

Ref country code: HU

Free format text: LAPSE BECAUSE OF FAILURE TO SUBMIT A TRANSLATION OF THE DESCRIPTION OR TO PAY THE FEE WITHIN THE PRESCRIBED TIME-LIMIT; INVALID AB INITIO

Effective date: 20120104

REG Reference to a national code

Ref country code: NL

Ref legal event code: MM

Effective date: 20190201

GBPC Gb: european patent ceased through non-payment of renewal fee

Effective date: 20190104

PG25 Lapsed in a contracting state [announced via postgrant information from national office to epo]

Ref country code: SE

Free format text: LAPSE BECAUSE OF NON-PAYMENT OF DUE FEES

Effective date: 20190105

Ref country code: CY

Free format text: LAPSE BECAUSE OF NON-PAYMENT OF DUE FEES

Effective date: 20160831

Ref country code: FR

Free format text: LAPSE BECAUSE OF NON-PAYMENT OF DUE FEES

Effective date: 20190131

Ref country code: FI

Free format text: LAPSE BECAUSE OF NON-PAYMENT OF DUE FEES

Effective date: 20190104

Ref country code: NL

Free format text: LAPSE BECAUSE OF NON-PAYMENT OF DUE FEES

Effective date: 20190201

PG25 Lapsed in a contracting state [announced via postgrant information from national office to epo]

Ref country code: MK

Free format text: LAPSE BECAUSE OF FAILURE TO SUBMIT A TRANSLATION OF THE DESCRIPTION OR TO PAY THE FEE WITHIN THE PRESCRIBED TIME-LIMIT

Effective date: 20160831

PG25 Lapsed in a contracting state [announced via postgrant information from national office to epo]

Ref country code: GB

Free format text: LAPSE BECAUSE OF NON-PAYMENT OF DUE FEES

Effective date: 20190104

PG25 Lapsed in a contracting state [announced via postgrant information from national office to epo]

Ref country code: IT

Free format text: LAPSE BECAUSE OF NON-PAYMENT OF DUE FEES

Effective date: 20190104

REG Reference to a national code

Ref country code: ES

Ref legal event code: FD2A

Effective date: 20200309

PG25 Lapsed in a contracting state [announced via postgrant information from national office to epo]

Ref country code: ES

Free format text: LAPSE BECAUSE OF NON-PAYMENT OF DUE FEES

Effective date: 20190105

PG25 Lapsed in a contracting state [announced via postgrant information from national office to epo]

Ref country code: IS

Free format text: LAPSE BECAUSE OF FAILURE TO SUBMIT A TRANSLATION OF THE DESCRIPTION OR TO PAY THE FEE WITHIN THE PRESCRIBED TIME-LIMIT

Effective date: 20161231

PG25 Lapsed in a contracting state [announced via postgrant information from national office to epo]

Ref country code: TR

Free format text: LAPSE BECAUSE OF NON-PAYMENT OF DUE FEES

Effective date: 20190104

PG25 Lapsed in a contracting state [announced via postgrant information from national office to epo]

Ref country code: PL

Free format text: LAPSE BECAUSE OF NON-PAYMENT OF DUE FEES

Effective date: 20190104

PGFP Annual fee paid to national office [announced via postgrant information from national office to epo]

Ref country code: DE

Payment date: 20241210

Year of fee payment: 14