EP2413016B1 - Taschenlampe mit einer Kontaktfeder - Google Patents
Taschenlampe mit einer Kontaktfeder Download PDFInfo
- Publication number
- EP2413016B1 EP2413016B1 EP10175175.8A EP10175175A EP2413016B1 EP 2413016 B1 EP2413016 B1 EP 2413016B1 EP 10175175 A EP10175175 A EP 10175175A EP 2413016 B1 EP2413016 B1 EP 2413016B1
- Authority
- EP
- European Patent Office
- Prior art keywords
- contact
- end cap
- flashlight
- spring
- battery housing
- Prior art date
- Legal status (The legal status is an assumption and is not a legal conclusion. Google has not performed a legal analysis and makes no representation as to the accuracy of the status listed.)
- Not-in-force
Links
- 230000006835 compression Effects 0.000 description 5
- 238000007906 compression Methods 0.000 description 5
- 238000004519 manufacturing process Methods 0.000 description 3
- 238000004804 winding Methods 0.000 description 2
- XAGFODPZIPBFFR-UHFFFAOYSA-N aluminium Chemical compound [Al] XAGFODPZIPBFFR-UHFFFAOYSA-N 0.000 description 1
- 229910052782 aluminium Inorganic materials 0.000 description 1
- 238000002048 anodisation reaction Methods 0.000 description 1
- 210000000481 breast Anatomy 0.000 description 1
- 239000004020 conductor Substances 0.000 description 1
- 230000003647 oxidation Effects 0.000 description 1
- 238000007254 oxidation reaction Methods 0.000 description 1
Images
Classifications
-
- F—MECHANICAL ENGINEERING; LIGHTING; HEATING; WEAPONS; BLASTING
- F21—LIGHTING
- F21L—LIGHTING DEVICES OR SYSTEMS THEREOF, BEING PORTABLE OR SPECIALLY ADAPTED FOR TRANSPORTATION
- F21L4/00—Electric lighting devices with self-contained electric batteries or cells
- F21L4/005—Electric lighting devices with self-contained electric batteries or cells the device being a pocket lamp
-
- F—MECHANICAL ENGINEERING; LIGHTING; HEATING; WEAPONS; BLASTING
- F21—LIGHTING
- F21L—LIGHTING DEVICES OR SYSTEMS THEREOF, BEING PORTABLE OR SPECIALLY ADAPTED FOR TRANSPORTATION
- F21L4/00—Electric lighting devices with self-contained electric batteries or cells
-
- F—MECHANICAL ENGINEERING; LIGHTING; HEATING; WEAPONS; BLASTING
- F21—LIGHTING
- F21V—FUNCTIONAL FEATURES OR DETAILS OF LIGHTING DEVICES OR SYSTEMS THEREOF; STRUCTURAL COMBINATIONS OF LIGHTING DEVICES WITH OTHER ARTICLES, NOT OTHERWISE PROVIDED FOR
- F21V15/00—Protecting lighting devices from damage
- F21V15/01—Housings, e.g. material or assembling of housing parts
- F21V15/015—Devices for covering joints between adjacent lighting devices; End coverings
-
- F—MECHANICAL ENGINEERING; LIGHTING; HEATING; WEAPONS; BLASTING
- F21—LIGHTING
- F21V—FUNCTIONAL FEATURES OR DETAILS OF LIGHTING DEVICES OR SYSTEMS THEREOF; STRUCTURAL COMBINATIONS OF LIGHTING DEVICES WITH OTHER ARTICLES, NOT OTHERWISE PROVIDED FOR
- F21V23/00—Arrangement of electric circuit elements in or on lighting devices
- F21V23/04—Arrangement of electric circuit elements in or on lighting devices the elements being switches
- F21V23/0414—Arrangement of electric circuit elements in or on lighting devices the elements being switches specially adapted to be used with portable lighting devices
-
- F—MECHANICAL ENGINEERING; LIGHTING; HEATING; WEAPONS; BLASTING
- F21—LIGHTING
- F21Y—INDEXING SCHEME ASSOCIATED WITH SUBCLASSES F21K, F21L, F21S and F21V, RELATING TO THE FORM OR THE KIND OF THE LIGHT SOURCES OR OF THE COLOUR OF THE LIGHT EMITTED
- F21Y2115/00—Light-generating elements of semiconductor light sources
- F21Y2115/10—Light-emitting diodes [LED]
Definitions
- the present invention relates to a flashlight with a cylindrical battery housing at one end of a current-conducting contact surface is formed, an end cap and a contact spring with contact points, which connects a pole of a battery housing mounted in the battery housing with the contact surface of the Breliteriegephaseuses.
- Such a flashlight is for example in the DE 20 2007 009 202.4 described.
- This has an end cap, in which a compression spring is arranged, which has a single spring wire with partially different winding diameter, wherein at least partially a plurality of windings is arranged radially adjacent to each other.
- a compression spring is described which has two coaxially mounted partial regions which are each designed as helical springs. The partially radially adjacent end pieces of the contact springs form the contact points, wherein a contact point with the pole of a battery and the other contact point are connected to a contact surface of the battery case.
- Another flashlight is off US 4,517,628 known, which forms a flashlight housing, at the rear end of a contact spring is arranged, the end has a radial portion which is formed as a leaf spring and is connectable to the conductive flashlight housing, including a slide switch is arranged.
- JPS56-105201U a flashlight with a contact spring is described within the end cap, on the battery housing, a slide switch is arranged.
- the contact points are arranged at opposite ends of the contact spring and the end cap is designed as a switch by the end cap and the battery case are connected by means of a thread that a contact closure by turning the end cap and by pressing the end caps using the thread play can be produced.
- a flashlight which has a contact spring in its end cap, which has contact points at two opposite ends, which can be connected on the one hand to the pole of a battery and on the other hand to the contact surfaces of the battery case.
- the contact spring is designed as a helical spring or a leaf spring, wherein other contact springs are conceivable.
- the end cap has an external thread and the battery housing has a corresponding internal thread and that the contact spring end has at least one radial portion which engages in a recess of the end cap such that the portion in the assembled state with the contact surface of the Battery housing is connected.
- the portion of the recess must protrude by a certain amount, so that the protruding portion can be pressed onto the contact surfaces of the battery case.
- the contact surface may be arranged annularly or partially annularly on the end face of the battery housing.
- the contact surface may be formed as a ring or semi-annular base within the battery case.
- the recess is disposed between the threads of the end cap and a termination piece. At this point, the recess can be particularly easily introduced through a hole in the end cap.
- the end cap has an internal thread and the battery housing has a corresponding external thread and that the contact spring has at least in a partial region such a large radius that this portion is connected in the installed state with the contact surface of the battery case
- the contact spring is preferably a helical spring, which is preferably frusto-conical.
- the frustoconical helical spring preferably has a partial region on the end with such a large radius that this partial region is connected in the installed state to the contact surface of the battery housing.
- the tip end of the contact spring is connected to the battery and the extended end to the end cap or the contact surface, so that a circular line contact is formed.
- This embodiment is particularly well designed as a switch, since the contact closure due to a line contact between the contact spring and battery case can be made by turning the end cap. It is further provided that the end cap can be screwed onto the battery case so far that the contact is just not closed so that a contact can be closed by utilizing the thread play, so this embodiment can also be designed as a push button.
- the contact spring has a radial portion which is connected in one or two pieces with a clip, wherein the contact is made by rotating the end cap. Furthermore, according to a further embodiment, there is a gap between the partial area and the contact area in the installed state, so that the contact is closed by a pivoting movement of the clip.
- the clip is arranged longitudinally axially on the battery housing.
- This flashlight can be adjusted by turning the end cap so that the flashlight is closed by a slight pressing or pivoting of the clip a contact and the contact is interrupted by opposing pulling again. This even makes it possible to adjust the flashlight so that the contact is broken when the flashlight hangs on the clip in a pocket, such as a breast pocket, and the circuit is closed as soon as the flashlight is removed from the pocket.
- FIG. 1 A and B is an exploded view of a flashlight 1 with a lamp head 2, a battery case 3, 4 batteries, an end cap 5 and designed as a helical spring contact spring 6 is shown.
- the circuit is usually closed via the battery housing 3, to which this at least partially consists of a conductive material.
- a conductive material preferably aluminum, which is used to cure the surface with Anodization can be treated.
- the treated surface must be ground down for an electrical contact surface, for which purpose preferably the end face 7 of the battery housing is used, so that it can be used as a contact surface 8.
- the contact spring 6 is provided, which has a radial portion 9 end, which can be inserted into a recess 10 so that it protrudes to a certain extent from the recess 10.
- Fig. 2a to c is ever a detail view of an end cap 5 with a recess 10 and a contact spring 6 is shown, wherein Fig. 2c the end cap 5 with built-in contact spring 6 shows.
- the end cap 5, together with the protruding radial section 9 must be screwed into the battery housing until the radial section 9 comes into contact with the contact surface 8.
- an end cap with an external thread 11 and a battery housing 3 with a corresponding internal thread is suitable.
- Fig. 3 shows an alternative embodiment in which a contact spring 6 is used, the end has an extended radius (arrow 30). As a result, a circular line contact is created, which can be connected to an annular contact surface 8 on the battery case.
- an end cap 5 with an internal thread and a battery housing 3 with an external thread are preferably used.
- Fig. 4a and b show the end cap 5 with a contact spring 6 in a detailed view, wherein the contact spring 6 end has an extended radius (arrow 30).
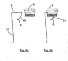
- the radial portion 9 is connected to a clip 51, wherein between the portion 9 and the contact surface 8 in the installed state, a gap 52, so that the contact by a pivoting movement of the clip 51st closed ( Fig. 5a, b ).
- the clip 51 is arranged longitudinally axially on the battery housing 3. This flashlight can be adjusted by turning the end cap 5, that the flashlight is closed by a slight pressing or pivoting of the clip 51 in the direction of arrow 53, a contact (see. Fig. 5b ) and the contact is interrupted again by opposing pulling.
- Fig. 6a, b and c show further embodiments of a flashlight, where there the contact spring 6 is formed as a leaf spring 61.
- the leaf spring 61 is integrally connected to a clip 51.
- an electrical contact 62 is provided to a battery 4.
- Another electrical contact 63 is arranged on the radial section 9, which merges into the clip 51 in one piece. The contact 63 can be closed by turning the end cap 5 or by a slight pressure, the end cap has to be screwed correspondingly far.
Landscapes
- Engineering & Computer Science (AREA)
- General Engineering & Computer Science (AREA)
- Battery Mounting, Suspending (AREA)
- Connection Of Batteries Or Terminals (AREA)
Priority Applications (6)
| Application Number | Priority Date | Filing Date | Title |
|---|---|---|---|
| PL10175175T PL2413016T3 (pl) | 2010-07-06 | 2010-09-03 | Latarka kieszonkowa ze sprężyną stykową |
| PCT/DE2011/001023 WO2012003818A2 (de) | 2010-07-06 | 2011-05-04 | Taschenlampe mit einer kontaktfeder |
| AU2011276814A AU2011276814A1 (en) | 2010-07-06 | 2011-05-04 | Torch with a contact spring |
| JP2013517005A JP5743354B2 (ja) | 2010-07-06 | 2011-05-04 | 接点ばねを有するポケットランプ |
| CN201180028421XA CN103052837A (zh) | 2010-07-06 | 2011-05-04 | 具有接触弹簧的手电筒 |
| US13/695,244 US20130120978A1 (en) | 2010-07-06 | 2011-05-04 | Flashlight with a contact spring |
Applications Claiming Priority (1)
| Application Number | Priority Date | Filing Date | Title |
|---|---|---|---|
| DE102010026160A DE102010026160A1 (de) | 2010-07-06 | 2010-07-06 | Taschenlampe mit einer Kontaktfeder |
Publications (2)
| Publication Number | Publication Date |
|---|---|
| EP2413016A1 EP2413016A1 (de) | 2012-02-01 |
| EP2413016B1 true EP2413016B1 (de) | 2015-10-14 |
Family
ID=43877254
Family Applications (1)
| Application Number | Title | Priority Date | Filing Date |
|---|---|---|---|
| EP10175175.8A Not-in-force EP2413016B1 (de) | 2010-07-06 | 2010-09-03 | Taschenlampe mit einer Kontaktfeder |
Country Status (10)
| Country | Link |
|---|---|
| US (1) | US20130120978A1 (enExample) |
| EP (1) | EP2413016B1 (enExample) |
| JP (1) | JP5743354B2 (enExample) |
| CN (1) | CN103052837A (enExample) |
| AU (1) | AU2011276814A1 (enExample) |
| DE (1) | DE102010026160A1 (enExample) |
| DK (1) | DK2413016T3 (enExample) |
| ES (1) | ES2555354T3 (enExample) |
| PL (1) | PL2413016T3 (enExample) |
| WO (1) | WO2012003818A2 (enExample) |
Families Citing this family (4)
| Publication number | Priority date | Publication date | Assignee | Title |
|---|---|---|---|---|
| CA2997326A1 (en) * | 2017-03-09 | 2018-09-09 | Hunter Douglas Inc. | Battery pack for a motorized architectural structure covering |
| EP4336967A3 (en) * | 2018-10-22 | 2024-04-24 | Meyer Intellectual Properties Limited | Cookware handle for housing electronic components |
| US12442516B2 (en) * | 2023-08-29 | 2025-10-14 | Dark Matter Llc | Blast shield for the lens of a light source |
| CN119374064A (zh) | 2024-12-02 | 2025-01-28 | 李文杰 | 一种快拨拆装结构及手电 |
Citations (1)
| Publication number | Priority date | Publication date | Assignee | Title |
|---|---|---|---|---|
| JPS56105201U (enExample) * | 1980-01-16 | 1981-08-17 |
Family Cites Families (11)
| Publication number | Priority date | Publication date | Assignee | Title |
|---|---|---|---|---|
| US2550423A (en) * | 1946-09-19 | 1951-04-24 | Milton A Nelson | Extensible flashlight |
| US4517628A (en) * | 1983-10-31 | 1985-05-14 | Mcdermott Kevin | Portable lighting device |
| US5122938A (en) * | 1991-02-08 | 1992-06-16 | Pastusek Michael J | Twist switch for flashlight |
| DE4303637C2 (de) * | 1993-02-09 | 1995-01-19 | Kleinmaier Hans Peter | Taschenleuchte mit einer Zusatzrückleuchte |
| US5678921A (en) * | 1994-12-06 | 1997-10-21 | Bright Star Industries, Inc. | Flashlight |
| US6056415A (en) * | 1997-04-11 | 2000-05-02 | Minrad Inc. | Penlight having low magnetic susceptibility |
| US6913370B2 (en) * | 2003-10-02 | 2005-07-05 | Great Neck Saw Manufacturers, Inc. | Flashlight |
| DE102004027660A1 (de) * | 2004-06-07 | 2006-01-05 | Mellert Slt Gmbh & Co. Kg | Stiftleuchte |
| US7152994B2 (en) * | 2004-12-17 | 2006-12-26 | Joseph Huang | LED flashlight |
| DE202007009202U1 (de) | 2007-06-30 | 2007-09-06 | Zweibrüder Optoelectronics GmbH | Druckfeder |
| DE202007009272U1 (de) | 2007-07-02 | 2007-11-08 | Tsai, Tzung-Shiun | Multifunktionale LED-Lampe |
-
2010
- 2010-07-06 DE DE102010026160A patent/DE102010026160A1/de not_active Withdrawn
- 2010-09-03 EP EP10175175.8A patent/EP2413016B1/de not_active Not-in-force
- 2010-09-03 DK DK10175175.8T patent/DK2413016T3/en active
- 2010-09-03 PL PL10175175T patent/PL2413016T3/pl unknown
- 2010-09-03 ES ES10175175.8T patent/ES2555354T3/es active Active
-
2011
- 2011-05-04 WO PCT/DE2011/001023 patent/WO2012003818A2/de not_active Ceased
- 2011-05-04 AU AU2011276814A patent/AU2011276814A1/en not_active Abandoned
- 2011-05-04 CN CN201180028421XA patent/CN103052837A/zh active Pending
- 2011-05-04 JP JP2013517005A patent/JP5743354B2/ja not_active Expired - Fee Related
- 2011-05-04 US US13/695,244 patent/US20130120978A1/en not_active Abandoned
Patent Citations (1)
| Publication number | Priority date | Publication date | Assignee | Title |
|---|---|---|---|---|
| JPS56105201U (enExample) * | 1980-01-16 | 1981-08-17 |
Also Published As
| Publication number | Publication date |
|---|---|
| ES2555354T3 (es) | 2015-12-30 |
| JP5743354B2 (ja) | 2015-07-01 |
| WO2012003818A2 (de) | 2012-01-12 |
| EP2413016A1 (de) | 2012-02-01 |
| DE102010026160A1 (de) | 2012-01-12 |
| AU2011276814A1 (en) | 2013-01-10 |
| WO2012003818A3 (de) | 2012-03-15 |
| CN103052837A (zh) | 2013-04-17 |
| JP2013530504A (ja) | 2013-07-25 |
| PL2413016T3 (pl) | 2016-03-31 |
| DK2413016T3 (en) | 2015-12-07 |
| US20130120978A1 (en) | 2013-05-16 |
Similar Documents
| Publication | Publication Date | Title |
|---|---|---|
| DE2619690C3 (de) | Vorrichtung zur Herstellung einer Verbindung zwischen einem Batteriepol und einem Kabelschuh | |
| DE4016054A1 (de) | Funkenstrecke fuer die lithotripsie | |
| DE669220C (de) | Steckvorrichtung mit federnden Kontaktorganen, bei der entweder der Steckerstift oder die Steckerhuelse aus einer Mehrzahl von gewoelbten Kontaktfedern besteht | |
| EP1472761A1 (de) | Rekontaktierbare verbindungsanordnung | |
| EP2413016B1 (de) | Taschenlampe mit einer Kontaktfeder | |
| DE20300012U1 (de) | Karabiner | |
| DE2739593B2 (de) | Handliche Steuereinrichtung, insbesondere für Videospiele mit einem schwenk-, dreh- und verschiebbaren Betätigungsteil | |
| DE1172757B (de) | Elektrischer Tuerschalter | |
| DE102007024878A1 (de) | Zündkerze und Zylinderkopf dafür | |
| DE102018004589B3 (de) | Sockelanordnung zur Aufnahme einer Lampe mit Quetschfuß | |
| DE924462C (de) | Steckerbuchse mit oder ohne Sockel zur Verbindung elektrischer Leitungen, insbesondere zur UEbertragung hochfrequenter Stroeme | |
| DE3640483C1 (en) | Fastener for the releasable connection of an attachable roof to a vehicle body | |
| DE20209254U1 (de) | Taschenlampe mit einer Verbindungseinrichtung zum Verbinden von Lampenkontakten einer Lampeneinheit mit einem Gehäuse und einer Batterieeinheit | |
| DE102014222879A1 (de) | Abdeckelement für einen elektrischen Verbinder | |
| DE202010009880U1 (de) | Taschenlampe mit einer Kontaktfeder | |
| EP2293390B1 (de) | Elektrische Verbindung zwischen dem Gehäuse eines Wickelgutes und einer Platine | |
| DE202020101407U1 (de) | Drehverbindungsstruktur einer Taschenlampe | |
| DE69402636T2 (de) | Zündspule mit reduzierter transversaler Grösse | |
| DE1069288B (enExample) | ||
| DE102018106536B4 (de) | Batterieklemme | |
| DE2107464A1 (de) | Elektrischer Wippenschalter | |
| DE7517712U (de) | Steckdose | |
| DE961465C (de) | Lampenfassung, insbesondere fuer Naehmaschinenbeleuchtung | |
| DE29610031U1 (de) | Befestigungsvorrichtung | |
| DE543586C (de) | Elektrische Prueflampe |
Legal Events
| Date | Code | Title | Description |
|---|---|---|---|
| AK | Designated contracting states |
Kind code of ref document: A1 Designated state(s): AL AT BE BG CH CY CZ DE DK EE ES FI FR GB GR HR HU IE IS IT LI LT LU LV MC MK MT NL NO PL PT RO SE SI SK SM TR |
|
| AX | Request for extension of the european patent |
Extension state: BA ME RS |
|
| PUAI | Public reference made under article 153(3) epc to a published international application that has entered the european phase |
Free format text: ORIGINAL CODE: 0009012 |
|
| RIN1 | Information on inventor provided before grant (corrected) |
Inventor name: OPOLKA, RAINER |
|
| 17P | Request for examination filed |
Effective date: 20120507 |
|
| 17Q | First examination report despatched |
Effective date: 20140827 |
|
| GRAP | Despatch of communication of intention to grant a patent |
Free format text: ORIGINAL CODE: EPIDOSNIGR1 |
|
| RIC1 | Information provided on ipc code assigned before grant |
Ipc: F21Y 101/02 20060101ALN20150305BHEP Ipc: F21L 4/00 20060101AFI20150305BHEP Ipc: F21V 23/04 20060101ALI20150305BHEP |
|
| INTG | Intention to grant announced |
Effective date: 20150317 |
|
| GRAP | Despatch of communication of intention to grant a patent |
Free format text: ORIGINAL CODE: EPIDOSNIGR1 |
|
| RIC1 | Information provided on ipc code assigned before grant |
Ipc: F21V 23/04 20060101ALI20150408BHEP Ipc: F21L 4/00 20060101AFI20150408BHEP Ipc: F21Y 101/02 20060101ALN20150408BHEP |
|
| INTG | Intention to grant announced |
Effective date: 20150429 |
|
| GRAS | Grant fee paid |
Free format text: ORIGINAL CODE: EPIDOSNIGR3 |
|
| GRAA | (expected) grant |
Free format text: ORIGINAL CODE: 0009210 |
|
| AK | Designated contracting states |
Kind code of ref document: B1 Designated state(s): AL AT BE BG CH CY CZ DE DK EE ES FI FR GB GR HR HU IE IS IT LI LT LU LV MC MK MT NL NO PL PT RO SE SI SK SM TR |
|
| REG | Reference to a national code |
Ref country code: GB Ref legal event code: FG4D Free format text: NOT ENGLISH |
|
| REG | Reference to a national code |
Ref country code: AT Ref legal event code: REF Ref document number: 755414 Country of ref document: AT Kind code of ref document: T Effective date: 20151015 Ref country code: CH Ref legal event code: NV Representative=s name: RENTSCH PARTNER AG, CH Ref country code: CH Ref legal event code: EP |
|
| REG | Reference to a national code |
Ref country code: IE Ref legal event code: FG4D Free format text: LANGUAGE OF EP DOCUMENT: GERMAN |
|
| REG | Reference to a national code |
Ref country code: DE Ref legal event code: R096 Ref document number: 502010010452 Country of ref document: DE |
|
| REG | Reference to a national code |
Ref country code: DK Ref legal event code: T3 Effective date: 20151203 |
|
| REG | Reference to a national code |
Ref country code: SE Ref legal event code: TRGR |
|
| REG | Reference to a national code |
Ref country code: ES Ref legal event code: FG2A Ref document number: 2555354 Country of ref document: ES Kind code of ref document: T3 Effective date: 20151230 |
|
| REG | Reference to a national code |
Ref country code: NL Ref legal event code: FP |
|
| REG | Reference to a national code |
Ref country code: LT Ref legal event code: MG4D |
|
| REG | Reference to a national code |
Ref country code: NO Ref legal event code: T2 Effective date: 20151014 |
|
| PG25 | Lapsed in a contracting state [announced via postgrant information from national office to epo] |
Ref country code: LT Free format text: LAPSE BECAUSE OF FAILURE TO SUBMIT A TRANSLATION OF THE DESCRIPTION OR TO PAY THE FEE WITHIN THE PRESCRIBED TIME-LIMIT Effective date: 20151014 Ref country code: HR Free format text: LAPSE BECAUSE OF FAILURE TO SUBMIT A TRANSLATION OF THE DESCRIPTION OR TO PAY THE FEE WITHIN THE PRESCRIBED TIME-LIMIT Effective date: 20151014 Ref country code: IS Free format text: LAPSE BECAUSE OF FAILURE TO SUBMIT A TRANSLATION OF THE DESCRIPTION OR TO PAY THE FEE WITHIN THE PRESCRIBED TIME-LIMIT Effective date: 20160214 |
|
| PG25 | Lapsed in a contracting state [announced via postgrant information from national office to epo] |
Ref country code: GR Free format text: LAPSE BECAUSE OF FAILURE TO SUBMIT A TRANSLATION OF THE DESCRIPTION OR TO PAY THE FEE WITHIN THE PRESCRIBED TIME-LIMIT Effective date: 20160115 Ref country code: LV Free format text: LAPSE BECAUSE OF FAILURE TO SUBMIT A TRANSLATION OF THE DESCRIPTION OR TO PAY THE FEE WITHIN THE PRESCRIBED TIME-LIMIT Effective date: 20151014 Ref country code: PT Free format text: LAPSE BECAUSE OF FAILURE TO SUBMIT A TRANSLATION OF THE DESCRIPTION OR TO PAY THE FEE WITHIN THE PRESCRIBED TIME-LIMIT Effective date: 20160215 |
|
| REG | Reference to a national code |
Ref country code: DE Ref legal event code: R097 Ref document number: 502010010452 Country of ref document: DE |
|
| PG25 | Lapsed in a contracting state [announced via postgrant information from national office to epo] |
Ref country code: CZ Free format text: LAPSE BECAUSE OF FAILURE TO SUBMIT A TRANSLATION OF THE DESCRIPTION OR TO PAY THE FEE WITHIN THE PRESCRIBED TIME-LIMIT Effective date: 20151014 |
|
| PLBE | No opposition filed within time limit |
Free format text: ORIGINAL CODE: 0009261 |
|
| STAA | Information on the status of an ep patent application or granted ep patent |
Free format text: STATUS: NO OPPOSITION FILED WITHIN TIME LIMIT |
|
| PG25 | Lapsed in a contracting state [announced via postgrant information from national office to epo] |
Ref country code: SK Free format text: LAPSE BECAUSE OF FAILURE TO SUBMIT A TRANSLATION OF THE DESCRIPTION OR TO PAY THE FEE WITHIN THE PRESCRIBED TIME-LIMIT Effective date: 20151014 Ref country code: SM Free format text: LAPSE BECAUSE OF FAILURE TO SUBMIT A TRANSLATION OF THE DESCRIPTION OR TO PAY THE FEE WITHIN THE PRESCRIBED TIME-LIMIT Effective date: 20151014 Ref country code: EE Free format text: LAPSE BECAUSE OF FAILURE TO SUBMIT A TRANSLATION OF THE DESCRIPTION OR TO PAY THE FEE WITHIN THE PRESCRIBED TIME-LIMIT Effective date: 20151014 Ref country code: RO Free format text: LAPSE BECAUSE OF FAILURE TO SUBMIT A TRANSLATION OF THE DESCRIPTION OR TO PAY THE FEE WITHIN THE PRESCRIBED TIME-LIMIT Effective date: 20151014 |
|
| 26N | No opposition filed |
Effective date: 20160715 |
|
| REG | Reference to a national code |
Ref country code: FR Ref legal event code: PLFP Year of fee payment: 7 |
|
| PG25 | Lapsed in a contracting state [announced via postgrant information from national office to epo] |
Ref country code: SI Free format text: LAPSE BECAUSE OF FAILURE TO SUBMIT A TRANSLATION OF THE DESCRIPTION OR TO PAY THE FEE WITHIN THE PRESCRIBED TIME-LIMIT Effective date: 20151014 |
|
| PG25 | Lapsed in a contracting state [announced via postgrant information from national office to epo] |
Ref country code: MC Free format text: LAPSE BECAUSE OF FAILURE TO SUBMIT A TRANSLATION OF THE DESCRIPTION OR TO PAY THE FEE WITHIN THE PRESCRIBED TIME-LIMIT Effective date: 20151014 |
|
| REG | Reference to a national code |
Ref country code: IE Ref legal event code: MM4A |
|
| PG25 | Lapsed in a contracting state [announced via postgrant information from national office to epo] |
Ref country code: IE Free format text: LAPSE BECAUSE OF NON-PAYMENT OF DUE FEES Effective date: 20160903 |
|
| PG25 | Lapsed in a contracting state [announced via postgrant information from national office to epo] |
Ref country code: LU Free format text: LAPSE BECAUSE OF NON-PAYMENT OF DUE FEES Effective date: 20160903 |
|
| REG | Reference to a national code |
Ref country code: FR Ref legal event code: PLFP Year of fee payment: 8 |
|
| REG | Reference to a national code |
Ref country code: CH Ref legal event code: PCAR Free format text: NEW ADDRESS: BELLERIVESTRASSE 203 POSTFACH, 8034 ZUERICH (CH) |
|
| PGFP | Annual fee paid to national office [announced via postgrant information from national office to epo] |
Ref country code: FI Payment date: 20170922 Year of fee payment: 8 Ref country code: NO Payment date: 20170925 Year of fee payment: 8 |
|
| PGFP | Annual fee paid to national office [announced via postgrant information from national office to epo] |
Ref country code: TR Payment date: 20170824 Year of fee payment: 8 Ref country code: SE Payment date: 20170921 Year of fee payment: 8 |
|
| PGFP | Annual fee paid to national office [announced via postgrant information from national office to epo] |
Ref country code: ES Payment date: 20171026 Year of fee payment: 8 |
|
| REG | Reference to a national code |
Ref country code: DE Ref legal event code: R082 Ref document number: 502010010452 Country of ref document: DE Representative=s name: PATENTANWAELTE VOMBERG & SCHART, DE Ref country code: DE Ref legal event code: R081 Ref document number: 502010010452 Country of ref document: DE Owner name: LEDLENSER GMBH & CO. KG, DE Free format text: FORMER OWNER: ZWEIBRUEDER OPTOELECTRONICS GMBH & CO. KG, 42699 SOLINGEN, DE |
|
| PG25 | Lapsed in a contracting state [announced via postgrant information from national office to epo] |
Ref country code: CY Free format text: LAPSE BECAUSE OF FAILURE TO SUBMIT A TRANSLATION OF THE DESCRIPTION OR TO PAY THE FEE WITHIN THE PRESCRIBED TIME-LIMIT Effective date: 20151014 Ref country code: HU Free format text: LAPSE BECAUSE OF FAILURE TO SUBMIT A TRANSLATION OF THE DESCRIPTION OR TO PAY THE FEE WITHIN THE PRESCRIBED TIME-LIMIT; INVALID AB INITIO Effective date: 20100903 |
|
| PG25 | Lapsed in a contracting state [announced via postgrant information from national office to epo] |
Ref country code: MT Free format text: LAPSE BECAUSE OF FAILURE TO SUBMIT A TRANSLATION OF THE DESCRIPTION OR TO PAY THE FEE WITHIN THE PRESCRIBED TIME-LIMIT Effective date: 20151014 Ref country code: MK Free format text: LAPSE BECAUSE OF FAILURE TO SUBMIT A TRANSLATION OF THE DESCRIPTION OR TO PAY THE FEE WITHIN THE PRESCRIBED TIME-LIMIT Effective date: 20151014 |
|
| PG25 | Lapsed in a contracting state [announced via postgrant information from national office to epo] |
Ref country code: BG Free format text: LAPSE BECAUSE OF FAILURE TO SUBMIT A TRANSLATION OF THE DESCRIPTION OR TO PAY THE FEE WITHIN THE PRESCRIBED TIME-LIMIT Effective date: 20151014 |
|
| REG | Reference to a national code |
Ref country code: FR Ref legal event code: PLFP Year of fee payment: 9 |
|
| PG25 | Lapsed in a contracting state [announced via postgrant information from national office to epo] |
Ref country code: AL Free format text: LAPSE BECAUSE OF FAILURE TO SUBMIT A TRANSLATION OF THE DESCRIPTION OR TO PAY THE FEE WITHIN THE PRESCRIBED TIME-LIMIT Effective date: 20151014 |
|
| REG | Reference to a national code |
Ref country code: CH Ref legal event code: PK Free format text: BERICHTIGUNGEN |
|
| RIC2 | Information provided on ipc code assigned after grant |
Ipc: F21V 23/04 20060101ALI20150408BHEP Ipc: F21L 4/00 20060101AFI20150408BHEP Ipc: F21Y 101/02 20000101ALN20150408BHEP |
|
| REG | Reference to a national code |
Ref country code: NO Ref legal event code: MMEP |
|
| PG25 | Lapsed in a contracting state [announced via postgrant information from national office to epo] |
Ref country code: FI Free format text: LAPSE BECAUSE OF NON-PAYMENT OF DUE FEES Effective date: 20180903 |
|
| REG | Reference to a national code |
Ref country code: SE Ref legal event code: EUG |
|
| PG25 | Lapsed in a contracting state [announced via postgrant information from national office to epo] |
Ref country code: SE Free format text: LAPSE BECAUSE OF NON-PAYMENT OF DUE FEES Effective date: 20180904 |
|
| PG25 | Lapsed in a contracting state [announced via postgrant information from national office to epo] |
Ref country code: NO Free format text: LAPSE BECAUSE OF NON-PAYMENT OF DUE FEES Effective date: 20180930 |
|
| REG | Reference to a national code |
Ref country code: ES Ref legal event code: FD2A Effective date: 20191030 |
|
| PGFP | Annual fee paid to national office [announced via postgrant information from national office to epo] |
Ref country code: FR Payment date: 20190927 Year of fee payment: 10 Ref country code: IT Payment date: 20190925 Year of fee payment: 10 Ref country code: NL Payment date: 20190918 Year of fee payment: 10 Ref country code: DK Payment date: 20190920 Year of fee payment: 10 |
|
| PGFP | Annual fee paid to national office [announced via postgrant information from national office to epo] |
Ref country code: BE Payment date: 20190918 Year of fee payment: 10 Ref country code: PL Payment date: 20190826 Year of fee payment: 10 |
|
| PGFP | Annual fee paid to national office [announced via postgrant information from national office to epo] |
Ref country code: GB Payment date: 20190920 Year of fee payment: 10 Ref country code: AT Payment date: 20190919 Year of fee payment: 10 |
|
| PGFP | Annual fee paid to national office [announced via postgrant information from national office to epo] |
Ref country code: CH Payment date: 20190919 Year of fee payment: 10 |
|
| PG25 | Lapsed in a contracting state [announced via postgrant information from national office to epo] |
Ref country code: ES Free format text: LAPSE BECAUSE OF NON-PAYMENT OF DUE FEES Effective date: 20180904 |
|
| REG | Reference to a national code |
Ref country code: DK Ref legal event code: EBP Effective date: 20200930 |
|
| REG | Reference to a national code |
Ref country code: CH Ref legal event code: PL |
|
| REG | Reference to a national code |
Ref country code: NL Ref legal event code: MM Effective date: 20201001 |
|
| REG | Reference to a national code |
Ref country code: AT Ref legal event code: MM01 Ref document number: 755414 Country of ref document: AT Kind code of ref document: T Effective date: 20200903 |
|
| GBPC | Gb: european patent ceased through non-payment of renewal fee |
Effective date: 20200903 |
|
| REG | Reference to a national code |
Ref country code: BE Ref legal event code: MM Effective date: 20200930 |
|
| PG25 | Lapsed in a contracting state [announced via postgrant information from national office to epo] |
Ref country code: NL Free format text: LAPSE BECAUSE OF NON-PAYMENT OF DUE FEES Effective date: 20201001 |
|
| PG25 | Lapsed in a contracting state [announced via postgrant information from national office to epo] |
Ref country code: FR Free format text: LAPSE BECAUSE OF NON-PAYMENT OF DUE FEES Effective date: 20200930 |
|
| PG25 | Lapsed in a contracting state [announced via postgrant information from national office to epo] |
Ref country code: LI Free format text: LAPSE BECAUSE OF NON-PAYMENT OF DUE FEES Effective date: 20200930 Ref country code: GB Free format text: LAPSE BECAUSE OF NON-PAYMENT OF DUE FEES Effective date: 20200903 Ref country code: BE Free format text: LAPSE BECAUSE OF NON-PAYMENT OF DUE FEES Effective date: 20200930 Ref country code: CH Free format text: LAPSE BECAUSE OF NON-PAYMENT OF DUE FEES Effective date: 20200930 Ref country code: AT Free format text: LAPSE BECAUSE OF NON-PAYMENT OF DUE FEES Effective date: 20200903 |
|
| PG25 | Lapsed in a contracting state [announced via postgrant information from national office to epo] |
Ref country code: IT Free format text: LAPSE BECAUSE OF NON-PAYMENT OF DUE FEES Effective date: 20200903 |
|
| PG25 | Lapsed in a contracting state [announced via postgrant information from national office to epo] |
Ref country code: DK Free format text: LAPSE BECAUSE OF NON-PAYMENT OF DUE FEES Effective date: 20200930 |
|
| PGFP | Annual fee paid to national office [announced via postgrant information from national office to epo] |
Ref country code: DE Payment date: 20210805 Year of fee payment: 12 |
|
| PG25 | Lapsed in a contracting state [announced via postgrant information from national office to epo] |
Ref country code: PL Free format text: LAPSE BECAUSE OF NON-PAYMENT OF DUE FEES Effective date: 20200903 |
|
| REG | Reference to a national code |
Ref country code: DE Ref legal event code: R119 Ref document number: 502010010452 Country of ref document: DE |
|
| PG25 | Lapsed in a contracting state [announced via postgrant information from national office to epo] |
Ref country code: DE Free format text: LAPSE BECAUSE OF NON-PAYMENT OF DUE FEES Effective date: 20230401 |
|
| PG25 | Lapsed in a contracting state [announced via postgrant information from national office to epo] |
Ref country code: TR Free format text: LAPSE BECAUSE OF NON-PAYMENT OF DUE FEES Effective date: 20180903 |