EP2322403A2 - Automatische Kupplung für Schienenfahrzeuge mit Seitenpuffern - Google Patents
Automatische Kupplung für Schienenfahrzeuge mit Seitenpuffern Download PDFInfo
- Publication number
- EP2322403A2 EP2322403A2 EP10014549A EP10014549A EP2322403A2 EP 2322403 A2 EP2322403 A2 EP 2322403A2 EP 10014549 A EP10014549 A EP 10014549A EP 10014549 A EP10014549 A EP 10014549A EP 2322403 A2 EP2322403 A2 EP 2322403A2
- Authority
- EP
- European Patent Office
- Prior art keywords
- coupling
- cylinder
- clutch
- head
- chamber
- Prior art date
- Legal status (The legal status is an assumption and is not a legal conclusion. Google has not performed a legal analysis and makes no representation as to the accuracy of the status listed.)
- Granted
Links
- 238000010168 coupling process Methods 0.000 title claims abstract description 130
- 238000005859 coupling reaction Methods 0.000 title claims abstract description 115
- 230000008878 coupling Effects 0.000 title claims abstract description 114
- 239000000872 buffer Substances 0.000 title claims abstract description 26
- 238000013022 venting Methods 0.000 claims abstract description 8
- 239000010720 hydraulic oil Substances 0.000 claims description 8
- 230000036316 preload Effects 0.000 claims description 4
- 125000006850 spacer group Chemical group 0.000 claims description 3
- 230000001419 dependent effect Effects 0.000 claims description 2
- 239000003921 oil Substances 0.000 claims description 2
- 230000003139 buffering effect Effects 0.000 abstract 1
- 238000010586 diagram Methods 0.000 description 2
- 238000010276 construction Methods 0.000 description 1
- 230000000694 effects Effects 0.000 description 1
- ZINJLDJMHCUBIP-UHFFFAOYSA-N ethametsulfuron-methyl Chemical compound CCOC1=NC(NC)=NC(NC(=O)NS(=O)(=O)C=2C(=CC=CC=2)C(=O)OC)=N1 ZINJLDJMHCUBIP-UHFFFAOYSA-N 0.000 description 1
- 238000002360 preparation method Methods 0.000 description 1
- 238000003825 pressing Methods 0.000 description 1
- 230000003014 reinforcing effect Effects 0.000 description 1
- 238000009423 ventilation Methods 0.000 description 1
- 238000004804 winding Methods 0.000 description 1
Images
Classifications
-
- B—PERFORMING OPERATIONS; TRANSPORTING
- B61—RAILWAYS
- B61G—COUPLINGS; DRAUGHT AND BUFFING APPLIANCES
- B61G9/00—Draw-gear
- B61G9/20—Details; Accessories
- B61G9/24—Linkages between draw-bar and framework
-
- B—PERFORMING OPERATIONS; TRANSPORTING
- B61—RAILWAYS
- B61G—COUPLINGS; DRAUGHT AND BUFFING APPLIANCES
- B61G7/00—Details or accessories
- B61G7/08—Adjustable coupling heads
Definitions
- the invention relates to an automatic coupling for rail vehicles with side buffers for receiving pressure forces, with coupling halves, each having on the one hand a coupling head and on the other hand connected to a pulling device for transmitting the tensile forces on the vehicle body.
- the invention has for its object to provide a coupling for rail vehicles of the type mentioned, with which the coupling process automatically, quickly, safely, with low impact energy and relatively small constructive structure is feasible.
- the coupling head and the traction device is a free-lifting device with an axially displaceable pneumatic cylinder is mounted, which is frontally attached to the coupling head and the piston is connected to the drawbar of the traction device, wherein in the uncoupled state of the coupling head occupies a defined position by aerating the cylinder and during the coupling process, the required counterpressure counteracts, while after the clutch by venting the cylinder, a powerless free lift of the clutch is generated, which ensures the operation of the clutch as a pure traction coupling.
- the coupling according to the invention makes it possible to carry out an automatic coupling operation on straight or curved paths with or without a gradient, because it is able to eliminate the interference of the buffers during the coupling process.
- it causes the clutch in the coupled state moves freely in the pressure direction in the area of the maximum buffer spring travel and thus initiates no significant pressure forces in the vehicles, which reinforces the box structure might require.
- the free-lift device also allows the coupling of vehicles with low impact speeds, because the pneumatic cylinder can hold the necessary back pressure at a low level of force in the applied state.
- the invention further provides that the coupling plane of the coupling is arranged lying behind the buffer plane by an amount dependent on the tension between buffers and pulling device.
- the coupling plane is adjustable according to the invention as a function of the bracing force or (pre) adjustable. The latter can be changed step by step by inserting spacers in the drawbars. As a result, the coupling tension is adjustable to minimize the jerking movements in the longitudinal direction of the drawstring.
- the invention also provides that the pneumatic cylinder has a front chamber which can be acted upon by compressed air and a rear chamber which can be acted upon with hydraulic oil, the coupling head being pushed into a position in front of the buffer level when the front chamber is acted upon and retracted when the rear chamber is acted upon and in the rear chamber Dome position is braced, after the clutch, the venting of the front chamber ensures the power-free free travel of the clutch, while the loading of the rear chamber maintains the preload length of the clutch. In this way, the influence of the page buffer on the dome operation is largely reduced or even eliminated.
- the front cylinder chamber is pressurized with compressed air from the feed line of the vehicle, while the rear cylinder chamber is supplied with hydraulic oil from a piston carrier attached to the head carrier.
- a check valve is arranged between the rear cylinder chamber and the piston accumulator, which is closed as soon as the tensile force exceeds the clamping force of the clutch.
- the inventive design of the traction device as a pneumatic / hydraulic device makes it possible to control the coupling process conveniently with a multi-way valve, which is useful for automatic operation.
- the invention further provides that the traction device is provided with a height support and a centering, wherein the height support is formed by a fixed to the head support of the vehicle body and supported on rubber springs Traverse, while the centering is integrated in the Traverse and the coupling head in the dome ready Holds position or leads him back into this.
- the support height of the free lift device can preferably be adjusted.
- Coupling 1 shown consists of two identically designed coupling halves 2, 3, each composed of a coupling head 4, a pulling device 5 (change generally) and an intermediate piston / cylinder unit 14, 15 as a clamping device.
- the coupling halves 2, 3 are arranged centrally between two side buffers 7, 8 in the head carrier 9 of the respective vehicle body.
- the side buffers 7, 8 are known to have the function to absorb pressure forces and to initiate the headgear of the vehicle boxes.
- the vehicles are on a winding track.
- the side buffers are effective on one side during the coupling process.
- the coupling head 4 and the pulling device 5 are conventional construction and are therefore not described in detail below.
- the traction device 5 is known to have the task to initiate the tensile forces occurring during driving in the vehicle body. For this she is with a Tie rod 10 is provided, which is hinged to a bolt 11 arranged in the vehicle body. At this a drawbar 12 is hinged with a spring set 13.
- piston / cylinder unit is assigned a free-lifting device 6, wherein the cylinder 14 is fixed to the front side of the coupling head 4 and the piston 15 is connected to the drawbar 10 of the pulling device 5.
- piston 15 By the piston 15 a pressurizable with compressed air chamber 16 is defined in the cylinder 14, which is fed via the compressed air feed line 17 of the vehicle.
- Each coupling half 2 or 3 is supported on the head support 9 with a height support 18. This is formed by a supported on elastic elements, such as hollow rubber springs 19, Traverse 20, which is suspended on the head support 9 with a bracket 21.
- a centering center 22 is integrated, which engages under the cylinder 14 of the free-lifting device and holds the coupling half 2 and 3 in the clutch-ready position or leads back into this.
- the cylinder 14 is axially displaceable in the centering center 22. It can also be deflected together with the piston 15 and the pull rod 10 by a small angle, wherein the steering axis coincides with the central axis of the pin 11.
- the height of the coupling is adjustable with the height support 18 to accommodate the design features of the vehicles to be coupled.
- the coupling halves 2, 3 are installed so that the coupling plane of the coupling head 4 is disposed in the uncoupled state with a defined amount e in front of the plane of the clutch in the clamped state, while in the coupled state is their coupling plane behind the buffer plane by an amount d , of the depends on the respectively set clamping force.
- the amount d is selected in practice so that the biasing force is substantially the same as that of the screw coupling so that it does not cause large jerking movements in the longitudinal direction of the train in operation.
- the buffer bias can be adjusted step by step by inserting spacers in the pulling device 5.
- the cylinder 14 In the uncoupled or ready for coupling state, the cylinder 14 is supplied with compressed air from the feed line 17 and the chamber 16 acted upon. As a result, the cylinder 14 can advance the coupling head 4 and keep the coupling in a defined position in the uncoupled state: In addition, this ensures that the coupling head 4 opposes the necessary counterpressure force during the coupling process.
- the air cushion in the chamber 16 acts as an air spring, if during the dome operation, the pressure force is too great by the impact speed of the vehicles.
- the chamber 16 is vented, so that the clutch can perform a powerless free lift while driving. This ensures that it only uses the vehicles during operation with tensile forces that correspond to conventional screw couplings. This makes it possible to install the inventive coupling in existing rail vehicles without reinforcing the vehicle body.
- the free lift of the clutch is released during the coupling process by the clutch is pneumatically brought by applying the chamber 16 in the front stop of the free lift.
- FIG. 3 to FIG. 5 differs from the basic version Fig. 2 in that in it the cylinder 14 is provided with a one-piece front chamber 24 and a two-part rear chamber 25, wherein the front chamber 24 with compressed air and the rear chamber 25 can be acted upon with hydraulic oil.
- the supply of the cylinder 14 with compressed air as well as the drive means for the hydraulic oil via the compressed air supply line 17 of the vehicle.
- a piston accumulator 26 is provided on the head carrier 9.
- the coupling head 4 By applying pressure to the front chamber 24 with compressed air, the coupling head 4 is advanced over the abutting surface of the buffers (FIG. Fig. 3 ). The coupling head 4 is thus pneumatically extended in front of the buffer layer. This largely eliminates the influence of the buffers on the dome operation. In this way, it is possible to perform the coupling process even in tight curves without large deflection of the page buffer.
- the admission of the front chamber 24 is maintained, which ensures that the coupling head 4 can muster the necessary counter-pressure force when Kuppein.
- hydraulic oil is forced into the rear chamber 25, whereby the clutch is retracted and clamped with the required force ( Fig. 4 ).
- the front chamber 24 is vented, thus ensuring the powerless free lift of the clutch.
- the rear chamber 25 remains filled with oil, which in turn ensures the preload length of the coupling ( Fig. 5 ).
- the rear chamber 25 is closed by a check valve 27.
- This causes the preload length of the clutch to be held and the spring 12 of the traction device 5 to be tensioned under the influence of the drawbar 12.
- the coupling can transmit high tensile forces of the order of magnitude of up to about 1000 kN.
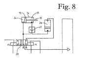
- the arrangement of the check valve 27 is in the circuit diagram according to Fig. 8 illustrated schematically. As can be seen there, the control of the coupling process by means of a 5/2 way valve 28 is performed. Such a simple control is very suitable for the automatic operation of the clutch.
- the free-lift device has the effect that the traction coupling can automatically and freely shorten when the buffers are compressed. It can move freely in the coupled state in the pressure direction in the area of the maximum buffer spring travel.
- the tensile force is introduced into the vehicles via the bolts 11.
- the coupling forms a stretched line between the pivot points of the tie rods 10 in the center axes of these bolts.
- the kinematic behavior of the coupling is comparable to that of a conventional screw coupling.
- the towing device 5 of the counter-coupling In order for the coupling process to take place safely, the towing device 5 of the counter-coupling must oppose a force which in practice may amount to approximately 40 kN.
- a different clamping device between the coupling head 4 and the pulling device 5 may be provided.
- a cylinder 54 and a therein by means of a spindle motor with a spindle 56 longitudinally adjustable piston is provided inside the cylinder 54.
- a formed with compressed air chamber 57 Inside the cylinder 54 is a formed with compressed air chamber 57, wherein the coupling head 4 is pushed upon exposure of the front chamber 57 in a provision with its coupling plane in front of the buffer layer, analogous to that in Fig. 2 is illustrated.
- the coupling head 4 can be brought into the desired starting position and then the coupling can be performed with the necessary counter-pressure force and also the tensile force in the coupled state.
Landscapes
- Engineering & Computer Science (AREA)
- Mechanical Engineering (AREA)
- Hydraulic Clutches, Magnetic Clutches, Fluid Clutches, And Fluid Joints (AREA)
- Vehicle Body Suspensions (AREA)
- Vibration Dampers (AREA)
Abstract
Description
- Die Erfindung betrifft eine automatische Kupplung für Schienenfahrzeuge mit Seitenpuffern zur Aufnahme von Druckkräften, mit Kupplungshälften, die jeweils einerseits einen Kupplungskopf aufweisen und andererseits mit einer Zugeinrichtung zur Übertragung der Zugkräfte auf den Fahrzeugkasten verbunden sind.
- Schienenfahrzeuge dieser Art werden bekanntlich in Personen- oder Güterzügen eingesetzt, die sowohl auf geraden als auch auf kurvigen Strecken mit Gefälle fahren sollen. Das bringt mit sich, dass der Kupplungsvorgang gegebenenfalls auch in kurvigen Streckenbereichen ohne oder mit Gefälle stattfindet. Die Züge werden in der Regel mit Schraubenkupplungen ausgerüstet, die mit Gewindestangen mit Links- und Rechtsgewinde versehen sind. Derartige Kupplungen müssen aber von Hand betätigt werden. Sie sind daher hinsichtlich ihrer Handhabung zeitaufwendig und auch nicht ungefährlich für die sie bedienende Person.
- Der Erfindung liegt die Aufgabe zugrunde, eine Kupplung für Schienenfahrzeuge der eingangs genannten Art zu schaffen, mit welcher der Kupplungsvorgang automatisch, schnell, sicher, mit geringer Stossenergie und mit verhältnismässig kleinem konstruktivem Aufbau durchführbar ist.
- Diese Aufgabe wird erfindungsgemäss nach Anspruch 1 gelöst.
- Sehr vorteilhaft ist dem Kupplungskopf und der Zugeinrichtung eine Freihubvorrichtung mit einem axial verschiebbaren Pneumatikzylinder eingebaut ist, der stirnseitig am Kupplungskopf befestigt ist und dessen Kolben mit der Zugstange der Zugeinrichtung verbunden ist, wobei im ungekuppelten Zustand der Kupplungskopf durch Belüften des Zylinder eine definierte Stellung einnimmt und beim Kupplungsvorgang die erforderliche Gegendruckkraft entgegenbringt, während nach erfolgter Kupplung durch Entlüften des Zylinders ein kraftloser Freihub der Kupplung erzeugt wird, der den Betrieb der Kupplung als reine Zugkupplung sicherstellt.
- Die erfindungsgemässe Kupplung ermöglicht die Durchführung eines automatischen Kuppelvorgangs auf geraden oder kurvigen Strecken mit oder ohne Gefälle, weil sie in der Lage ist, die Störwirkung der Puffer beim Kuppelvorgang zu eliminieren. Ausserdem bewirkt sie, dass die Kupplung im gekuppelten Zustand sich in Druckrichtung im Bereich der maximalen Pufferfederwege frei bewegt und somit keine nennenswerten Druckkräfte in die Fahrzeuge einleitet, die eine Verstärkung der Kastenstruktur erfordern könnten. Die Freihubvorrichtung ermöglicht zudem das Ankuppeln der Fahrzeuge mit kleinen Aufprallgeschwindigkeiten, weil der Pneumatikzylinder im beaufschlagten Zustand den notwendigen Gegendruck auf einem tiefen Kraftniveau halten kann.
- Die Erfindung sieht ferner vor, dass die Kupplungsebene der Kupplung um einen von der Verspannung zwischen Puffern und Zugeinrichtung abhängigen Betrag hinter der Pufferebene liegend angeordnet ist. Die Kupplungsebene ist erfindungsgemäss in Abhängigkeit von der Verspannkraft justierbar bzw. (vor)einstellbar. Letztere kann stufenweise durch Einlegen von Distanzscheiben in den Zugeinrichtungen verändert werden. Dadurch ist auch die Kupplungsverspannung einstellbar, um die Ruckbewegungen in Längsrichtung des Zugverbands zu minimieren.
- Die Erfindung sieht ausserdem vor, dass der Pneumatikzylinder eine mit Druckluft beaufschlagbare vordere Kammer und eine mit Hydrauliköl beaufschlagbare hintere Kammer aufweist, wobei der Kupplungskopf bei Beaufschlagung der vorderen Kammer in eine Bereitstellung vor die Pufferebene geschoben wird und bei Beaufschlagung der hinteren Kammer zurückgezogen und in der Kuppelstellung verspannt wird, wobei nach erfolgter Kupplung die Entlüftung der vorderen Kammer den -kraftlosen Freihub der Kupplung sicherstellt, während die Beaufschlagung der hinteren Kammer die Vorspannlänge der Kupplung aufrechterhält. Auf diese Weise wird der Einfluss der Seitenpuffer auf den Kuppelvorgang weitgehend reduziert oder sogar eliminiert.
- Zweckmässigerweise wird die vordere Zylinderkammer mit Druckluft aus der Speiseleitung des Fahrzeuges beaufschlagt, während die hintere Zylinderkammer mit Hydrauliköl von einem am Kopfträger angebrachten Kolbenspeicher versorgt wird. Um sicherzustellen, dass die Kupplung in der Lage ist, auch hohe Zugkräfte zu übertragen, ist zwischen der hinteren Zylinderkammer und dem Kolbenspeicher ein Rückschlagventil angeordnet, das geschlossen wird, sobald die Zugkraft die Verspannkraft der Kupplung übersteigt.
- Die erfindungsgemässe Ausführung der Zugeinrichtung als pneumatisch/hydraulische Vorrichtung ermöglicht es, den Kupplungsvorgang bequem mit einem Mehrwegeventil zu steuern, was zweckdienlich ist für den automatischen Betrieb.
- Die Erfindung sieht ferner vor, dass die Zugeinrichtung mit einer Höhenabstützung und einer Mittenzentrierung versehen ist, wobei die Höhenabstützung durch eine am Kopfträger des Fahrzeugkastens befestigte und auf Gummifedern abgestützte Traverse gebildet ist, während die Mittenzentrierung in der Traverse integriert ist und den Kupplungskopf in der kuppelbereiten Stellung hält oder ihn in diese zurückführt.
- Die Stützhöhe der Freihubvorrichtung kann vorzugsweise eingestellt werden.
- Um die Krafteinleitung der Kupplung in den Kurvenabschnitten gleich wie bei der Schraubenkupplung zu halten, ist es vorzugsweise vorgesehen, dass der Drehpunkt der Kupplung mit dem der Zugeinrichtung zusammenfällt:
- Die Erfindung wird nachfolgend anhand zweier Ausführungsbeispiele unter Bezugnahme auf die Zeichnung näher erläutert. Es zeigen:
- Fig. 1
- die erfindungsgemässe Kupplung in gekuppeltem Zustand, in der Draufsicht dargestellt,
- Fig. 2
- eine Kupplungshälfte der Kupplung aus
Fig. 1 in gekuppeltem Zustand, - Fig. 3
- einen Längsschnitt durch die Kupplungshälfte aus
Fig. 2 in einer ausfahrbaren Variante, in Bereitstellung vor dem Kup- pelvorgang dargestellt, - Fig. 4
- die Kupplungshälfte aus
Fig. 3 nach abgeschlossenem Kup- pelvorgang, wobei die Kupplung verspannt ist, - Fig. 5
- die Kupplungshälfte aus
Fig. 3 während des Fahrbetriebs im gekuppelten Zustand, - Fig. 6
- die Kupplungshälfte -aus
Fig. 2 undFig. 3 , perspektivisch dar- gestellt, - Fig. 7
- die Einzelheit VII aus
Fig. 6 , in der Vorderansicht und vergrö- ssert dargestellt, - Fig. 8
- einen Steuerschaltplan für die Kupplung aus
Fig. 3 bis Fig. 5 , schematisch dargestellt, und - Fig. 9
- einen Längsschnitt durch eine Variante einer erfindungsge- mässen Kupplung.
- Die in
Fig. 1 gezeigte Kupplung 1 besteht aus zwei identisch ausgebildeten Kupplungshälften 2, 3, die sich jeweils aus einem Kupplungskopf 4, einer Zugeinrichtung 5 (generell ändern) und einer dazwischenliegenden Kolben/Zylindereinheit 14, 15 als Spannvorrichtung zusammensetzen. Die Kupplungshälften 2, 3 sind mittig zwischen zwei Seitenpuffern 7, 8 im Kopfträger 9 des jeweiligen Fahrzeugkastens angeordnet. Die Seitenpuffer 7, 8 haben bekanntlich die Funktion, Druckkräfte aufzunehmen und in die Kopfträger der Fahrzeugkästen einzuleiten. In der Kupplungsstellung nachFig. 1 befinden sich die Fahrzeuge auf einer kurvigen Strecke. Das hat zur Folge, dass beim Kupplungsvorgang die Seitenpuffer einseitig wirksam sind. - Der Kupplungskopf 4 und die Zugeinrichtung 5 sind konventioneller Bauweise und werden daher nachfolgend nicht näher beschrieben. Die Zugeinrichtung 5 hat bekanntlich die Aufgabe, die im Fahrbetrieb auftretenden Zugkräfte in den Fahrzeugkasten einzuleiten. Hierfür ist sie mit einer Zugstange 10 versehen, die an einem im Fahrzeugkasten angeordneten Bolzen 11 angelenkt ist. An diesem ist auch eine Zuggabel 12 mit einem Federsatz 13 angelenkt.
- In der Kolben/Zylindereinheit ist eine Freihubvorrichtung 6 zugeordnet, wobei der Zylinder 14 stirnseitig am Kupplungskopf 4 befestigt und der Kolben 15 mit der Zugstange 10 der Zugeinrichtung 5 verbunden ist. Durch den Kolben 15 wird im Zylinder 14 eine mit Druckluft beaufschlagbare Kammer 16 definiert, die über die Druckluftspeiseleitung 17 des Fahrzeuges gespeist wird.
- Jede Kupplungshälfte 2 bzw. 3 ist am Kopfträger 9 mit einer Höhenabstützung 18 abgestützt. Diese ist durch eine auf elastischen Elementen, wie Gummihohlfedern 19, abgestützte Traverse 20 gebildet, die am Kopfträger 9 mit einer Halterung 21 aufgehängt ist. In der Traverse 20 ist eine Mittenzentrierung 22 integriert, welche den Zylinder 14 der Freihubvorrichtung untergreift und die Kupplungshälfte 2 bzw. 3 in der kupplungsbereiten Position hält oder in diese zurückführt. Der Zylinder 14 ist axial in der Mittenzentrierung 22 verschiebbar. Er kann auch zusammen mit dem Kolben 15 und der Zugstange 10 um einen geringen Winkelbetrag ausgelenkt werden, wobei die Lenkachse mit der Mittelachse des Bolzens 11 zusammenfällt.
- Die Kupplungshöhe ist mit der Höhenabstützung 18 einstellbar, um sie den Konstruktionsmerkmalen der zu verkuppelnden Fahrzeuge anzupassen.
- Wie aus
Fig. 2 ersichtlich, werden die Kupplungshälften 2, 3 so eingebaut, das die Kupplungsebene des Kupplungskopfes 4 im ungekuppelten Zustand mit einem definierten Betrag e vor der Ebene der Kupplung im verspannten Zustand angeordnet ist, indes im gekuppelten Zustand ihre Kupplungsebene hinter der Pufferebene um einen Betrag d liegt, der von der jeweils eingestellten Verspannkraft abhängig ist. Je grösser die Puffereinfederung ist, desto grösser ist die Verspannung der Kupplung im gekuppelten Zustand. Der Betrag d wird in der Praxis so gewählt, dass die Vorspannkraft im Wesentlichen gleich wie diejenige der Schraubenkupplung ist, damit sie im Betrieb keine grossen Ruckbewegungen in Längsrichtung des Zugverbandes verursacht. - Die Puffervorspannung kann stufenweise durch Einlegen von Distanzscheiben in der Zugeinrichtung 5 eingestellt werden.
- Im ungekuppelten bzw. kuppelbereiten Zustand wird der Zylinder 14 mit Druckluft aus der Speiseleitung 17 versorgt und die Kammer 16 beaufschlagt. Dadurch kann der Zylinder 14 den Kupplungskopf 4 voranschieben und die Kupplung im ungekuppelten Zustand in einer definierten Stellung bereithalten: Ausserdem wird damit sichergestellt, dass der Kupplungskopf 4 während des Kuppelvorgangs die nötige Gegendruckkraft entgegensetzt. Dabei wirkt das Luftkissen in der Kammer 16 als Luftfeder, falls beim Kuppelvorgang die Druckkraft durch die Aufprallgeschwindigkeit der Fahrzeuge zu gross ist.
- Nach abgeschlossenem Kuppelvorgang wird die Kammer 16 entlüftet, so dass die Kupplung während des Fahrbetriebs einen kraftlosen Freihub ausführen kann. Damit wird sichergestellt, dass sie im Betrieb die Fahrzeuge nur mit Zugkräften beansprucht, die den bei herkömmlichen Schraubenkupplungen entsprechen. Dadurch ist es möglich, die erfindungsgemässe Kupplung in vorhandenen Schienenfahrzeugen einzubauen, ohne den Fahrzeugkasten zu verstärken.
- Der Freihub der Kupplung wird beim Kupplungsvorgang aufgehoben, indem die Kupplung durch Beaufschlagen der Kammer 16 pneumatisch in den vorderen Anschlag des Freihubes gebracht wird.
- Die Variante nach
Fig. 3 bis Fig. 5 unterscheidet sich von der Grundausführung nachFig. 2 dadurch, dass bei ihr der Zylinder 14 mit einer einteiligen vorderen Kammer 24 und einer zweiteiligen hinteren Kammer 25 versehen ist, wobei die vordere Kammer 24 mit Druckluft und die hintere Kammer 25 mit Hydrauliköl beaufschlagbar ist. Die Speisung des Zylinders 14 mit Druckluft wie auch das Antriebsmittel für das Hydrauliköl erfolgt über die Druckluftspeiseleitung 17 des Fahrzeugs. Für das Antriebsmittel des Hydrauliköls ist am Kopfträger 9 ein Kolbenspeicher 26 vorgesehen. - Durch Beaufschlagung der vorderen Kammer 24 mit Druckluft wird der Kupplungskopf 4 über die Stossfläche der Puffer in Bereitstellung vorgeschoben (
Fig. 3 ). Der Kupplungskopf 4 wird also pneumatisch vor die Pufferebene ausgefahren. Dadurch wird weitgehend der Einfluss der Puffer auf den Kuppelvorgang eliminiert. Auf diese Weise ist es möglich, den Kuppelvorgang auch in engen Kurven ohne grosse Einfederung der Seitenpuffer durchzuführen. - Beim Kuppelvorgang wird die Beaufschlagung der vorderen Kammer 24 aufrechterhalten, was sicherstellt, dass der Kupplungskopf 4 beim Kuppein die nötige Gegendruckkraft aufbringen kann. Sobald der mechanische Kuppelvorgang abgeschlossen ist, wird Hydrauliköl in die hintere Kammer 25 gepresst, wodurch die Kupplung zurückgezogen und mit der erforderlichen Kraft verspannt wird (
Fig. 4 ). Gleichzeitig wird die vordere Kammer 24 entlüftet und damit der kraftlose Freihub der Kupplung sichergestellt. Gleichzeitig bleibt die hintere Kammer 25 mit ÖI gefüllt, womit sie ihrerseits die Vorspannlänge der Kupplung sicherstellt (Fig. 5 ). - Sobald die Zugkraft die Verspannkraft der Kupplung übersteigt, wird die hintere Kammer 25 durch ein Rückschlagventil 27 geschlossen. Das bewirkt, dass die Vorspannlänge der Kupplung gehalten und die Feder 12 der Zugeinrichtung 5 unter dem Einfluss der Zuggabel 12 gespannt wird. In diesem Zustand kann die Kupplung hohe Zugkräfte in der Grössenordnung von bis ca. 1000 kN übertragen. Die Anordnung des Rückschlagventils 27 ist im Schaltplan gemäss
Fig. 8 schematisch veranschaulicht. Wie dort ersichtlich, wird die Steuerung des Kuppelvorganges mittels eines 5/2 Wegeventils 28 durchgeführt. Eine solch einfache Steuerung ist für den automatischen Betrieb der Kupplung sehr geeignet. - Die erfindungsgemässe Freihubvorrichtung bewirkt, dass die Zugkupplung sich beim Einfedern der Puffer automatisch frei und kraftlos verkürzen kann. Sie kann sich im gekuppelten Zustand in Druckrichtung im Bereich der maximalen Pufferfederwege frei bewegen.
- Die Zugkraft wird in die Fahrzeuge über die Bolzen 11 eingeleitet. Dabei bildet die Kupplung eine gestreckte Linie zwischen den Drehpunkten der Zugstangen 10 in den Mittelachsen dieser Bolzen. Insofern ist das kinematische Verhalten der Kupplung mit dem einer herkömmlichen Schraubenkupplung vergleichbar.
- Damit der Kupplungsvorgang sicher stattfindet, muss die Zugeinrichtung 5 der Gegenkupplung eine Kraft entgegensetzen, die in der Praxis bis ca. 40 kN betragen kann.
- Die Erfindung ist mit dem obigen Ausführungsbeispiel ausreichend dargetan. Sie könnte aber noch in anderen Varianten erläutert sein.
- So könnte zum Beispiel bei einer Kupplung 50 gemäss
Fig. 9 eine unterschiedliche Spannvorrichtung zwischen dem Kupplungskopf 4 und der Zugeinrichtung 5 vorgesehen sein. Bei den Bezugszeichen sind für die übereinstimmenden Teile zu denjenigen gemässFig. 1 bis Fig. 5 die gleichen verwendet worden. Bei dieser Spannvorrichtung ist ein Zylinder 54 und ein darin mittels eines Spindelmotors mit einer Spindel 56 längsverstellbarer Kolben vorgesehen. Im Innern des Zylinders 54 ist eine mit Druckluft beaufschlagbare Kammer 57 gebildet, wobei der Kupplungskopf 4 bei Beaufschlagung der vorderen Kammer 57 in eine Bereitstellung mit seiner Kupplungsebene vor die Pufferebene geschoben wird, analog wie dies inFig. 2 veranschaulicht ist. Durch Drehen der Spindel 56 wird der Kolben 55 und mit ihm der Zylinder 54 sowie der Kupplungskopf 4 zurückgezogen und in der Kupplungsstellung verspannt, wobei nach erfolgter Kupplung die Entlüftung der Kammer 57 den kraftlosen Freihub der Kupplung sicherstellt. Damit kann im Sinne der Erfindung der Kupplungskopf 4 in die gewünschte Ausgangsposition gebracht und dann das Kuppeln mit der notwendigen Gegendruckkraft und auch die Zugkraft im gekuppelten Zustand ausgeführt werden.
Claims (15)
- Automatische Kupplung für Schienenfahrzeuge mit Seitenpuffern (7, 8) zur Aufnahme von Druckkräften, mit Kupplungshälften, die jeweils einerseits einen Kupplungskopf (4) aufweisen und andererseits mit einer Zugeinrichtung (5) zur Übertragung der Zugkräfte auf einen Fahrzeugkasten des Schienenfahrzeuges verbunden sind, dadurch gekennzeichnet, dass
zwischen dem Kupplungskopf (4) und dem Fahrzeugkasten eine Spannvorrichtung vorgesehen ist, welche beim Kuppeln eine Längsverstellung zwischen dem Kupplungskopf (4) und dem Fahrzeugkasten und die erforderliche Verspannkraft erzeugt. - Kupplung nach Anspruch 1, dadurch gekennzeichnet, dass die Spannvorrichtung eine Kolben/Zylindereinheit (14, 15) mit einem Mehrkammersystem umfasst.
- Kupplung nach Anspruch 2, dadurch gekennzeichnet, dass die Kolben/Zylindereinheit (14, 15) eine Freihubvorrichtung mit einem axial verschiebbaren Zylinder (14) aufweist, der stirnseitig am Kupplungskopf (4) befestigt ist und dessen Kolben (15) mit der Zugstange (10) der Zugeinrichtung (5) verbunden ist, wobei im ungekuppelten Zustand der Kupplungskopf (4) durch Belüften des Zylinders (14) eine definierte Stellung einnimmt und beim Kupplungsvorgang die erforderliche Gegendruckkraft entgegenbringt, während nach erfolgter Kupplung durch Entlüften des Zylinders (14) ein kraftloser Freihub der Kupplung erzeugt wird, der den Betrieb der Kupplung als reine Zugkupplung sicherstellt.
- Kupplung nach Anspruch 1, dadurch gekennzeichnet, dass die Kupplungsebene des Kupplungskopfes (4) im ungekuppelten Zustand mit einem definierten Betrag (e) vor der Kupplungsebene im verspannten Zustand angeordnet ist, indes die Kupplungsebene im gekuppelten Zustand um einen von der Verspannkraft abhängigen Betrag (d) hinter der Anschlagebene der Seitenpuffer (7, 8) angeordnet ist.
- Kupplung nach Anspruch 4, dadurch gekennzeichnet, dass die Kupplungsebene in Abhängigkeit von der Puffervorspannung justierbar oder einstellbar ist.
- Kupplung nach Anspruch 4 oder 5, dadurch gekennzeichnet, dass die Puffervorspannung durch Einlegen von Distanzscheiben in der Zugeinrichtung (5) voreingestellt oder einstellbar ist.
- Kupplung nach einem der vorhergehenden Ansprüche 2 bis 6, dadurch gekennzeichnet, dass
der Pneumatikzylinder (14) eine mit Druckluft beaufschlagbare vordere Kammer (24) und eine mit Hydrauliköl beaufschlagbare hintere Kammer (25) aufweist, wobei der Kupplungskopf (4) bei Beaufschlagung der vorderen Kammer (24) in eine Bereitstellung vor die Pufferebene geschoben wird und bei Beaufschlagung der hinteren Kammer (25) zurückgezogen und in der Kuppelstellung verspannt wird, wobei nach erfolgter Kupplung die Entlüftung der vorderen Kammer (24) den kraftlosen Freihub der Kupplung sicherstellt, während die Beaufschlagung der hinteren Kammer (25) die Vorspannlänge der Kupplung aufrechterhält. - Kupplung nach Anspruch 7, dadurch gekennzeichnet, dass durch die Druckluftspeiseleitung (17) des Fahrzeuges die vordere Kammer (24) des Fahrzeuges gespeist als auch ein die hintere Kammer (25) mit Hydrauliköl versorgendes Antriebsmittel antreibbar ist.
- Kupplung nach Anspruch 8, dadurch gekennzeichnet, dass zwischen der hinteren Kammer (25) und dem Ölbehälter (26) ein Rückschlagventil (27) angeordnet ist, das geschlossen wird, sobald die Zugkraft die Verspannkraft der Kupplung übersteigt.
- Kupplung nach einem der Ansprüche 1 bis 9, dadurch gekennzeichnet, dass
der Kupplungsvorgang über ein Mehrwegeventil (28) steuerbar ist. - Kupplung nach Anspruch 1, dadurch gekennzeichnet, dass die Freihubvorrichtung (6) mit.einer Höhenabstützung (18) und einer Mittenzentrierung (22) versehen ist, wobei die Höhenabstützung (18) durch eine am Kopfträger (9) befestigte und auf elastischen Elementen abgestützte Traverse (20) gebildet ist, während die Mittenzentrierung (22) in der Traverse (20) integriert ist und den Kupplungskopf (4) in der kuppelbereiten Stellung hält oder ihn in diese zurückführt.
- Kupplung nach Anspruch 11, dadurch gekennzeichnet, dass die Stützhöhe der Freihubvorrichtung (6) einstellbar ist.
- Kupplung nach Anspruch 11, dadurch gekennzeichnet, dass die Mittenzentrierung (22) die Auslenkung der Kupplung um einen bestimmten Betrag ermöglicht, wobei der Drehpunkt der Kupplung mit dem der Zugeinrichtung (5) zusammenfällt oder davon abweicht.
- Kupplung nach Anspruch 1, dadurch gekennzeichnet, dass die Spannvorrichtung einen Zylinder (54) und eine darin mittels eines Spindelmotors mit einer Spindel (56) längsverstellbaren Kolben (55) aufweist, wobei durch Drehen der Spindel (56) der Kolben (55) und mit ihm der Zylinder (54) sowie der Kupplungskopf (4) gegenüber dem Fahrzeugkasten verstellt und in der Kupplungsstellung verspannt wird.
- Kupplung nach Anspruch 14, dadurch gekennzeichnet, dass im Innern des Zylinders (54) eine mit Druckluft beaufschlagbare Kammer (57) gebildet ist, wobei nach erfolgter Kupplung eine Entlüftung der Kammer (57) den kraftlosen Freihub der Kupplung sicherstellt.
Priority Applications (1)
| Application Number | Priority Date | Filing Date | Title |
|---|---|---|---|
| PL10014549T PL2322403T3 (pl) | 2009-11-13 | 2010-11-12 | Sprzęg automatyczny do pojazdów szynowych z bocznymi zderzakami |
Applications Claiming Priority (1)
| Application Number | Priority Date | Filing Date | Title |
|---|---|---|---|
| CH01753/09A CH702215A2 (de) | 2009-11-13 | 2009-11-13 | Automatische Kupplung für Schienenfahrzeuge mit Seitenpuffern. |
Publications (3)
| Publication Number | Publication Date |
|---|---|
| EP2322403A2 true EP2322403A2 (de) | 2011-05-18 |
| EP2322403A3 EP2322403A3 (de) | 2012-04-18 |
| EP2322403B1 EP2322403B1 (de) | 2014-09-24 |
Family
ID=43627297
Family Applications (1)
| Application Number | Title | Priority Date | Filing Date |
|---|---|---|---|
| EP10014549.9A Not-in-force EP2322403B1 (de) | 2009-11-13 | 2010-11-12 | Automatische Kupplung für Schienenfahrzeuge mit Seitenpuffern |
Country Status (3)
| Country | Link |
|---|---|
| EP (1) | EP2322403B1 (de) |
| CH (1) | CH702215A2 (de) |
| PL (1) | PL2322403T3 (de) |
Cited By (9)
| Publication number | Priority date | Publication date | Assignee | Title |
|---|---|---|---|---|
| EP2537730A1 (de) * | 2011-06-21 | 2012-12-26 | Schwab Verkehrstechnik AG | Puffer oder Kupplung für ein Schienenfahrzeug |
| EP3205551A1 (de) | 2016-02-12 | 2017-08-16 | Faiveley Transport Schwab AG | Kupplungseinrichtung für ein schienenfahrzeug |
| CN108349513A (zh) * | 2015-11-05 | 2018-07-31 | 科尔达软件有限公司 | 用于自动联接以及释放行驶在铁路网上的车辆的系统 |
| CN110525473A (zh) * | 2019-09-30 | 2019-12-03 | 中车青岛四方车辆研究所有限公司 | 车钩用吊挂装置 |
| EP3608196A1 (de) | 2018-08-08 | 2020-02-12 | Faiveley Transport Schwab AG | Kupplung mit einer elektrokupplung zum koppeln von zwei schienenfahrzeugen |
| EP3750771A1 (de) | 2019-06-14 | 2020-12-16 | Faiveley Transport Schwab AG | Kupplung mit einer elektrokupplung insbesondere für ein schienenfahrzeug |
| CN112124184A (zh) * | 2020-09-24 | 2020-12-25 | 河南中矿起重设备有限公司 | 一种组合式液压行走平车 |
| EP3855043A1 (de) * | 2020-01-22 | 2021-07-28 | Faiveley Transport Schwab AG | Zug- und stossvorrichtung insbesondere für eine kupplung eines schienenfahrzeugs |
| CN114407961A (zh) * | 2022-02-10 | 2022-04-29 | 杨成东 | 一种超大角度范围的城市轨道交通机械牵引装置 |
Families Citing this family (2)
| Publication number | Priority date | Publication date | Assignee | Title |
|---|---|---|---|---|
| CH713677B1 (de) | 2017-04-06 | 2021-04-30 | Faiveley Transp Schwab Ag | Anlenkungseinrichtung für eine Kupplung eines Schienenfahrzeugs. |
| CH714078B1 (de) * | 2017-08-23 | 2021-08-16 | Faiveley Transp Schwab Ag | Kupplung für ein Schienenfahrzeug. |
Family Cites Families (6)
| Publication number | Priority date | Publication date | Assignee | Title |
|---|---|---|---|---|
| US2499300A (en) * | 1946-02-23 | 1950-02-28 | Gen Motors Corp | Locomotive coupling device |
| BE571932A (de) * | 1957-10-15 | |||
| NL123487C (de) * | 1959-01-23 | |||
| DE19513386A1 (de) * | 1995-04-08 | 1996-10-10 | Scharfenbergkupplung Gmbh | Längenverstellbare Kupplungsstange |
| DE19757621B4 (de) * | 1997-12-23 | 2005-02-10 | Knorr-Bremse Systeme für Schienenfahrzeuge GmbH | Automatische Zugkupplung |
| DE10020351A1 (de) * | 2000-04-26 | 2001-11-08 | Knorr Bremse Systeme | Betätigungsvorrichtung für eine Umstellautomatik und/oder ein Riegelsystem einer automatischen Kupplung |
-
2009
- 2009-11-13 CH CH01753/09A patent/CH702215A2/de not_active Application Discontinuation
-
2010
- 2010-11-12 EP EP10014549.9A patent/EP2322403B1/de not_active Not-in-force
- 2010-11-12 PL PL10014549T patent/PL2322403T3/pl unknown
Non-Patent Citations (1)
| Title |
|---|
| None |
Cited By (11)
| Publication number | Priority date | Publication date | Assignee | Title |
|---|---|---|---|---|
| EP2537730A1 (de) * | 2011-06-21 | 2012-12-26 | Schwab Verkehrstechnik AG | Puffer oder Kupplung für ein Schienenfahrzeug |
| CN108349513A (zh) * | 2015-11-05 | 2018-07-31 | 科尔达软件有限公司 | 用于自动联接以及释放行驶在铁路网上的车辆的系统 |
| CN108349513B (zh) * | 2015-11-05 | 2020-07-03 | 科尔达软件有限公司 | 用于自动联接以及释放行驶在铁路网上的车辆的系统 |
| EP3205551A1 (de) | 2016-02-12 | 2017-08-16 | Faiveley Transport Schwab AG | Kupplungseinrichtung für ein schienenfahrzeug |
| EP3608196A1 (de) | 2018-08-08 | 2020-02-12 | Faiveley Transport Schwab AG | Kupplung mit einer elektrokupplung zum koppeln von zwei schienenfahrzeugen |
| EP3750771A1 (de) | 2019-06-14 | 2020-12-16 | Faiveley Transport Schwab AG | Kupplung mit einer elektrokupplung insbesondere für ein schienenfahrzeug |
| CN110525473A (zh) * | 2019-09-30 | 2019-12-03 | 中车青岛四方车辆研究所有限公司 | 车钩用吊挂装置 |
| CN110525473B (zh) * | 2019-09-30 | 2024-02-13 | 中车青岛四方车辆研究所有限公司 | 车钩用吊挂装置 |
| EP3855043A1 (de) * | 2020-01-22 | 2021-07-28 | Faiveley Transport Schwab AG | Zug- und stossvorrichtung insbesondere für eine kupplung eines schienenfahrzeugs |
| CN112124184A (zh) * | 2020-09-24 | 2020-12-25 | 河南中矿起重设备有限公司 | 一种组合式液压行走平车 |
| CN114407961A (zh) * | 2022-02-10 | 2022-04-29 | 杨成东 | 一种超大角度范围的城市轨道交通机械牵引装置 |
Also Published As
| Publication number | Publication date |
|---|---|
| CH702215A2 (de) | 2011-05-13 |
| PL2322403T3 (pl) | 2015-04-30 |
| EP2322403A3 (de) | 2012-04-18 |
| EP2322403B1 (de) | 2014-09-24 |
Similar Documents
| Publication | Publication Date | Title |
|---|---|---|
| EP2322403B1 (de) | Automatische Kupplung für Schienenfahrzeuge mit Seitenpuffern | |
| DE653881C (de) | Abfederung, insbesondere fuer Kraftfahrzeuge | |
| DE10360516B4 (de) | Vorrichtung zur Sekundärfederung eines Wagenkastens bei einem Schienenfahrzeug mit einem aktiven Federelement | |
| CH636150A5 (de) | Fahrbare schienenschweissmaschine mit schweisswulst-abtragvorrichtung. | |
| EP2644775A2 (de) | Selbstfahrende Fräsmaschine, Verwendung einer Hubsäule einer Fräsmaschine, sowie Verfahren zum Erhöhen der Arbeitseffektivität einer Fräsmaschine | |
| EP4121333B1 (de) | Kupplungsanordnung | |
| DE4313473C2 (de) | Schließeinheit für eine Spritzgießmaschine | |
| DE102011012089B4 (de) | Rangiersystem für einen mehrachsigen Anhänger und ein dazugehöriges Verfahren | |
| DE102006049408B4 (de) | Verfahren und Vorrichtung zum Austausch eines defekten oder verschlissenen Schienenstückes | |
| DE2824361C2 (de) | Vorrichtung zum Konstanthalten der in einem Kabel oder dergleichen herrschenden Zugspannung | |
| DE3149113A1 (de) | Sicherheitseinrichtung fuer fahrzeuge | |
| DE2805635C2 (de) | Vorrichtung zum seitlichen Ausscheren von Kraftfahrzeugen | |
| EP3409554A1 (de) | Schienenfahrzeug mit allradantrieb | |
| DE4311362C2 (de) | Bremssystem für Güterwagen | |
| DE19607945A1 (de) | Wechselbehälter mit Stützbeinen | |
| DE102005035561B4 (de) | Gelenkfahrzeug, insbesondere Gelenkbus | |
| EP3446944B1 (de) | Kuppelung für ein schienenfahrzeug | |
| AT391663B (de) | Halbautomatische auszugdeichsel mit auszugrohr fuer einen lkw-anhaenger | |
| EP3504098B1 (de) | Schienenfahrzeugkupplung für die verbindung zweier schienenfahrzeuge | |
| DE2554463A1 (de) | Schienenfuehrungseinrichtung fuer strassenfahrzeuge | |
| EP1070645B1 (de) | Abstützvorrichtung einer automatischen Zugkupplung für Schienenfahrzeuge und automatische Zugkupplung | |
| DE19507236B4 (de) | Großbehältertragwagen für den gemischten Eisenbahntransport von Containern und Wechselbehältern | |
| DE10054762A1 (de) | Auflaufbremsanlage für einachsige Fahrzeuganhänger | |
| DE4236335C2 (de) | Vorrichtung zum Arretieren bzw. Fixieren eines Behindertenliftes | |
| EP0306816A1 (de) | Vorrichtung zur hydraulischen Längenverstellung einer Zugdeichsel für einen Zentralachsanhänger |
Legal Events
| Date | Code | Title | Description |
|---|---|---|---|
| PUAI | Public reference made under article 153(3) epc to a published international application that has entered the european phase |
Free format text: ORIGINAL CODE: 0009012 |
|
| AK | Designated contracting states |
Kind code of ref document: A2 Designated state(s): AL AT BE BG CH CY CZ DE DK EE ES FI FR GB GR HR HU IE IS IT LI LT LU LV MC MK MT NL NO PL PT RO RS SE SI SK SM TR |
|
| AX | Request for extension of the european patent |
Extension state: BA ME |
|
| PUAL | Search report despatched |
Free format text: ORIGINAL CODE: 0009013 |
|
| AK | Designated contracting states |
Kind code of ref document: A3 Designated state(s): AL AT BE BG CH CY CZ DE DK EE ES FI FR GB GR HR HU IE IS IT LI LT LU LV MC MK MT NL NO PL PT RO RS SE SI SK SM TR |
|
| AX | Request for extension of the european patent |
Extension state: BA ME |
|
| RIC1 | Information provided on ipc code assigned before grant |
Ipc: B61G 7/08 20060101AFI20120312BHEP Ipc: B61G 9/24 20060101ALI20120312BHEP |
|
| 17P | Request for examination filed |
Effective date: 20121003 |
|
| 17Q | First examination report despatched |
Effective date: 20130402 |
|
| GRAP | Despatch of communication of intention to grant a patent |
Free format text: ORIGINAL CODE: EPIDOSNIGR1 |
|
| INTG | Intention to grant announced |
Effective date: 20140414 |
|
| GRAS | Grant fee paid |
Free format text: ORIGINAL CODE: EPIDOSNIGR3 |
|
| GRAA | (expected) grant |
Free format text: ORIGINAL CODE: 0009210 |
|
| AK | Designated contracting states |
Kind code of ref document: B1 Designated state(s): AL AT BE BG CH CY CZ DE DK EE ES FI FR GB GR HR HU IE IS IT LI LT LU LV MC MK MT NL NO PL PT RO RS SE SI SK SM TR |
|
| REG | Reference to a national code |
Ref country code: GB Ref legal event code: FG4D Free format text: NOT ENGLISH |
|
| REG | Reference to a national code |
Ref country code: CH Ref legal event code: EP |
|
| REG | Reference to a national code |
Ref country code: AT Ref legal event code: REF Ref document number: 688472 Country of ref document: AT Kind code of ref document: T Effective date: 20141015 |
|
| REG | Reference to a national code |
Ref country code: IE Ref legal event code: FG4D Free format text: LANGUAGE OF EP DOCUMENT: GERMAN |
|
| REG | Reference to a national code |
Ref country code: DE Ref legal event code: R096 Ref document number: 502010007931 Country of ref document: DE Effective date: 20141106 |
|
| REG | Reference to a national code |
Ref country code: CH Ref legal event code: NV Representative=s name: LUCHS AND PARTNER AG PATENTANWAELTE, CH |
|
| REG | Reference to a national code |
Ref country code: SE Ref legal event code: TRGR |
|
| REG | Reference to a national code |
Ref country code: NL Ref legal event code: T3 |
|
| PG25 | Lapsed in a contracting state [announced via postgrant information from national office to epo] |
Ref country code: LT Free format text: LAPSE BECAUSE OF FAILURE TO SUBMIT A TRANSLATION OF THE DESCRIPTION OR TO PAY THE FEE WITHIN THE PRESCRIBED TIME-LIMIT Effective date: 20140924 Ref country code: GR Free format text: LAPSE BECAUSE OF FAILURE TO SUBMIT A TRANSLATION OF THE DESCRIPTION OR TO PAY THE FEE WITHIN THE PRESCRIBED TIME-LIMIT Effective date: 20141225 Ref country code: NO Free format text: LAPSE BECAUSE OF FAILURE TO SUBMIT A TRANSLATION OF THE DESCRIPTION OR TO PAY THE FEE WITHIN THE PRESCRIBED TIME-LIMIT Effective date: 20141224 |
|
| REG | Reference to a national code |
Ref country code: LT Ref legal event code: MG4D |
|
| PG25 | Lapsed in a contracting state [announced via postgrant information from national office to epo] |
Ref country code: CY Free format text: LAPSE BECAUSE OF FAILURE TO SUBMIT A TRANSLATION OF THE DESCRIPTION OR TO PAY THE FEE WITHIN THE PRESCRIBED TIME-LIMIT Effective date: 20140924 Ref country code: RS Free format text: LAPSE BECAUSE OF FAILURE TO SUBMIT A TRANSLATION OF THE DESCRIPTION OR TO PAY THE FEE WITHIN THE PRESCRIBED TIME-LIMIT Effective date: 20140924 Ref country code: LV Free format text: LAPSE BECAUSE OF FAILURE TO SUBMIT A TRANSLATION OF THE DESCRIPTION OR TO PAY THE FEE WITHIN THE PRESCRIBED TIME-LIMIT Effective date: 20140924 Ref country code: HR Free format text: LAPSE BECAUSE OF FAILURE TO SUBMIT A TRANSLATION OF THE DESCRIPTION OR TO PAY THE FEE WITHIN THE PRESCRIBED TIME-LIMIT Effective date: 20140924 |
|
| PG25 | Lapsed in a contracting state [announced via postgrant information from national office to epo] |
Ref country code: ES Free format text: LAPSE BECAUSE OF FAILURE TO SUBMIT A TRANSLATION OF THE DESCRIPTION OR TO PAY THE FEE WITHIN THE PRESCRIBED TIME-LIMIT Effective date: 20140924 Ref country code: PT Free format text: LAPSE BECAUSE OF FAILURE TO SUBMIT A TRANSLATION OF THE DESCRIPTION OR TO PAY THE FEE WITHIN THE PRESCRIBED TIME-LIMIT Effective date: 20150126 Ref country code: SK Free format text: LAPSE BECAUSE OF FAILURE TO SUBMIT A TRANSLATION OF THE DESCRIPTION OR TO PAY THE FEE WITHIN THE PRESCRIBED TIME-LIMIT Effective date: 20140924 Ref country code: RO Free format text: LAPSE BECAUSE OF FAILURE TO SUBMIT A TRANSLATION OF THE DESCRIPTION OR TO PAY THE FEE WITHIN THE PRESCRIBED TIME-LIMIT Effective date: 20140924 Ref country code: IS Free format text: LAPSE BECAUSE OF FAILURE TO SUBMIT A TRANSLATION OF THE DESCRIPTION OR TO PAY THE FEE WITHIN THE PRESCRIBED TIME-LIMIT Effective date: 20150124 Ref country code: EE Free format text: LAPSE BECAUSE OF FAILURE TO SUBMIT A TRANSLATION OF THE DESCRIPTION OR TO PAY THE FEE WITHIN THE PRESCRIBED TIME-LIMIT Effective date: 20140924 Ref country code: CZ Free format text: LAPSE BECAUSE OF FAILURE TO SUBMIT A TRANSLATION OF THE DESCRIPTION OR TO PAY THE FEE WITHIN THE PRESCRIBED TIME-LIMIT Effective date: 20140924 |
|
| REG | Reference to a national code |
Ref country code: PL Ref legal event code: T3 |
|
| REG | Reference to a national code |
Ref country code: DE Ref legal event code: R097 Ref document number: 502010007931 Country of ref document: DE |
|
| PG25 | Lapsed in a contracting state [announced via postgrant information from national office to epo] |
Ref country code: LU Free format text: LAPSE BECAUSE OF FAILURE TO SUBMIT A TRANSLATION OF THE DESCRIPTION OR TO PAY THE FEE WITHIN THE PRESCRIBED TIME-LIMIT Effective date: 20141112 Ref country code: MC Free format text: LAPSE BECAUSE OF FAILURE TO SUBMIT A TRANSLATION OF THE DESCRIPTION OR TO PAY THE FEE WITHIN THE PRESCRIBED TIME-LIMIT Effective date: 20140924 |
|
| PG25 | Lapsed in a contracting state [announced via postgrant information from national office to epo] |
Ref country code: DK Free format text: LAPSE BECAUSE OF FAILURE TO SUBMIT A TRANSLATION OF THE DESCRIPTION OR TO PAY THE FEE WITHIN THE PRESCRIBED TIME-LIMIT Effective date: 20140924 |
|
| PLBE | No opposition filed within time limit |
Free format text: ORIGINAL CODE: 0009261 |
|
| STAA | Information on the status of an ep patent application or granted ep patent |
Free format text: STATUS: NO OPPOSITION FILED WITHIN TIME LIMIT |
|
| GBPC | Gb: european patent ceased through non-payment of renewal fee |
Effective date: 20141224 |
|
| REG | Reference to a national code |
Ref country code: IE Ref legal event code: MM4A |
|
| 26N | No opposition filed |
Effective date: 20150625 |
|
| PG25 | Lapsed in a contracting state [announced via postgrant information from national office to epo] |
Ref country code: GB Free format text: LAPSE BECAUSE OF NON-PAYMENT OF DUE FEES Effective date: 20141224 Ref country code: IE Free format text: LAPSE BECAUSE OF NON-PAYMENT OF DUE FEES Effective date: 20141112 |
|
| REG | Reference to a national code |
Ref country code: FR Ref legal event code: PLFP Year of fee payment: 6 |
|
| PG25 | Lapsed in a contracting state [announced via postgrant information from national office to epo] |
Ref country code: SI Free format text: LAPSE BECAUSE OF FAILURE TO SUBMIT A TRANSLATION OF THE DESCRIPTION OR TO PAY THE FEE WITHIN THE PRESCRIBED TIME-LIMIT Effective date: 20140924 |
|
| PG25 | Lapsed in a contracting state [announced via postgrant information from national office to epo] |
Ref country code: SM Free format text: LAPSE BECAUSE OF FAILURE TO SUBMIT A TRANSLATION OF THE DESCRIPTION OR TO PAY THE FEE WITHIN THE PRESCRIBED TIME-LIMIT Effective date: 20140924 |
|
| PG25 | Lapsed in a contracting state [announced via postgrant information from national office to epo] |
Ref country code: BG Free format text: LAPSE BECAUSE OF FAILURE TO SUBMIT A TRANSLATION OF THE DESCRIPTION OR TO PAY THE FEE WITHIN THE PRESCRIBED TIME-LIMIT Effective date: 20140924 |
|
| PG25 | Lapsed in a contracting state [announced via postgrant information from national office to epo] |
Ref country code: MT Free format text: LAPSE BECAUSE OF FAILURE TO SUBMIT A TRANSLATION OF THE DESCRIPTION OR TO PAY THE FEE WITHIN THE PRESCRIBED TIME-LIMIT Effective date: 20140924 Ref country code: TR Free format text: LAPSE BECAUSE OF FAILURE TO SUBMIT A TRANSLATION OF THE DESCRIPTION OR TO PAY THE FEE WITHIN THE PRESCRIBED TIME-LIMIT Effective date: 20140924 Ref country code: HU Free format text: LAPSE BECAUSE OF FAILURE TO SUBMIT A TRANSLATION OF THE DESCRIPTION OR TO PAY THE FEE WITHIN THE PRESCRIBED TIME-LIMIT; INVALID AB INITIO Effective date: 20101112 |
|
| REG | Reference to a national code |
Ref country code: FR Ref legal event code: PLFP Year of fee payment: 7 |
|
| PGFP | Annual fee paid to national office [announced via postgrant information from national office to epo] |
Ref country code: CH Payment date: 20161130 Year of fee payment: 7 |
|
| REG | Reference to a national code |
Ref country code: FR Ref legal event code: PLFP Year of fee payment: 8 |
|
| PG25 | Lapsed in a contracting state [announced via postgrant information from national office to epo] |
Ref country code: MK Free format text: LAPSE BECAUSE OF FAILURE TO SUBMIT A TRANSLATION OF THE DESCRIPTION OR TO PAY THE FEE WITHIN THE PRESCRIBED TIME-LIMIT Effective date: 20140924 |
|
| PG25 | Lapsed in a contracting state [announced via postgrant information from national office to epo] |
Ref country code: LI Free format text: LAPSE BECAUSE OF NON-PAYMENT OF DUE FEES Effective date: 20171130 Ref country code: CH Free format text: LAPSE BECAUSE OF NON-PAYMENT OF DUE FEES Effective date: 20171130 |
|
| REG | Reference to a national code |
Ref country code: FR Ref legal event code: PLFP Year of fee payment: 9 |
|
| PG25 | Lapsed in a contracting state [announced via postgrant information from national office to epo] |
Ref country code: AL Free format text: LAPSE BECAUSE OF FAILURE TO SUBMIT A TRANSLATION OF THE DESCRIPTION OR TO PAY THE FEE WITHIN THE PRESCRIBED TIME-LIMIT Effective date: 20140924 |
|
| PGFP | Annual fee paid to national office [announced via postgrant information from national office to epo] |
Ref country code: SE Payment date: 20221118 Year of fee payment: 13 Ref country code: NL Payment date: 20221118 Year of fee payment: 13 Ref country code: IT Payment date: 20221122 Year of fee payment: 13 Ref country code: FR Payment date: 20221122 Year of fee payment: 13 Ref country code: FI Payment date: 20221121 Year of fee payment: 13 Ref country code: DE Payment date: 20221104 Year of fee payment: 13 Ref country code: AT Payment date: 20221121 Year of fee payment: 13 |
|
| PGFP | Annual fee paid to national office [announced via postgrant information from national office to epo] |
Ref country code: PL Payment date: 20221024 Year of fee payment: 13 Ref country code: BE Payment date: 20221118 Year of fee payment: 13 |
|
| P01 | Opt-out of the competence of the unified patent court (upc) registered |
Effective date: 20230530 |
|
| REG | Reference to a national code |
Ref country code: DE Ref legal event code: R119 Ref document number: 502010007931 Country of ref document: DE |
|
| REG | Reference to a national code |
Ref country code: SE Ref legal event code: EUG |
|
| REG | Reference to a national code |
Ref country code: NL Ref legal event code: MM Effective date: 20231201 |
|
| REG | Reference to a national code |
Ref country code: AT Ref legal event code: MM01 Ref document number: 688472 Country of ref document: AT Kind code of ref document: T Effective date: 20231112 |
|
| PG25 | Lapsed in a contracting state [announced via postgrant information from national office to epo] |
Ref country code: AT Free format text: LAPSE BECAUSE OF NON-PAYMENT OF DUE FEES Effective date: 20231112 |
|
| PG25 | Lapsed in a contracting state [announced via postgrant information from national office to epo] |
Ref country code: FI Free format text: LAPSE BECAUSE OF NON-PAYMENT OF DUE FEES Effective date: 20231112 Ref country code: AT Free format text: LAPSE BECAUSE OF NON-PAYMENT OF DUE FEES Effective date: 20231112 |
|
| REG | Reference to a national code |
Ref country code: BE Ref legal event code: MM Effective date: 20231130 |
|
| PG25 | Lapsed in a contracting state [announced via postgrant information from national office to epo] |
Ref country code: SE Free format text: LAPSE BECAUSE OF NON-PAYMENT OF DUE FEES Effective date: 20231113 |
|
| PG25 | Lapsed in a contracting state [announced via postgrant information from national office to epo] |
Ref country code: NL Free format text: LAPSE BECAUSE OF NON-PAYMENT OF DUE FEES Effective date: 20231201 |
|
| PG25 | Lapsed in a contracting state [announced via postgrant information from national office to epo] |
Ref country code: NL Free format text: LAPSE BECAUSE OF NON-PAYMENT OF DUE FEES Effective date: 20231201 |
|
| PG25 | Lapsed in a contracting state [announced via postgrant information from national office to epo] |
Ref country code: DE Free format text: LAPSE BECAUSE OF NON-PAYMENT OF DUE FEES Effective date: 20240601 |
|
| PG25 | Lapsed in a contracting state [announced via postgrant information from national office to epo] |
Ref country code: BE Free format text: LAPSE BECAUSE OF NON-PAYMENT OF DUE FEES Effective date: 20231130 |
|
| PG25 | Lapsed in a contracting state [announced via postgrant information from national office to epo] |
Ref country code: FR Free format text: LAPSE BECAUSE OF NON-PAYMENT OF DUE FEES Effective date: 20231130 |
|
| PG25 | Lapsed in a contracting state [announced via postgrant information from national office to epo] |
Ref country code: FR Free format text: LAPSE BECAUSE OF NON-PAYMENT OF DUE FEES Effective date: 20231130 Ref country code: DE Free format text: LAPSE BECAUSE OF NON-PAYMENT OF DUE FEES Effective date: 20240601 Ref country code: BE Free format text: LAPSE BECAUSE OF NON-PAYMENT OF DUE FEES Effective date: 20231130 |
|
| PG25 | Lapsed in a contracting state [announced via postgrant information from national office to epo] |
Ref country code: IT Free format text: LAPSE BECAUSE OF NON-PAYMENT OF DUE FEES Effective date: 20231112 |
|
| PG25 | Lapsed in a contracting state [announced via postgrant information from national office to epo] |
Ref country code: IT Free format text: LAPSE BECAUSE OF NON-PAYMENT OF DUE FEES Effective date: 20231112 |
|
| PG25 | Lapsed in a contracting state [announced via postgrant information from national office to epo] |
Ref country code: PL Free format text: LAPSE BECAUSE OF NON-PAYMENT OF DUE FEES Effective date: 20231112 |