EP2003270A2 - System und Verfahren zum befestigen eines stab-oder pfostenförmigen Gegenstandes im Erdboden mit in den Erdboden einschraubbarem mehrteiligen Aufnahmeteil - Google Patents
System und Verfahren zum befestigen eines stab-oder pfostenförmigen Gegenstandes im Erdboden mit in den Erdboden einschraubbarem mehrteiligen Aufnahmeteil Download PDFInfo
- Publication number
- EP2003270A2 EP2003270A2 EP08104331A EP08104331A EP2003270A2 EP 2003270 A2 EP2003270 A2 EP 2003270A2 EP 08104331 A EP08104331 A EP 08104331A EP 08104331 A EP08104331 A EP 08104331A EP 2003270 A2 EP2003270 A2 EP 2003270A2
- Authority
- EP
- European Patent Office
- Prior art keywords
- receiving
- receiving elements
- receiving part
- sleeve
- fastening system
- Prior art date
- Legal status (The legal status is an assumption and is not a legal conclusion. Google has not performed a legal analysis and makes no representation as to the accuracy of the status listed.)
- Granted
Links
- 238000000034 method Methods 0.000 title claims abstract description 11
- 239000004576 sand Substances 0.000 claims abstract description 5
- 239000013590 bulk material Substances 0.000 claims abstract 2
- 239000000463 material Substances 0.000 claims description 28
- 230000013011 mating Effects 0.000 claims description 21
- 239000002689 soil Substances 0.000 claims description 17
- 239000004033 plastic Substances 0.000 claims description 10
- 229920003023 plastic Polymers 0.000 claims description 10
- 238000009434 installation Methods 0.000 claims description 6
- 238000009415 formwork Methods 0.000 claims description 5
- 239000008187 granular material Substances 0.000 claims description 5
- -1 split Substances 0.000 claims description 4
- 229910000831 Steel Inorganic materials 0.000 claims description 3
- 239000010959 steel Substances 0.000 claims description 3
- 239000007769 metal material Substances 0.000 claims description 2
- 230000003068 static effect Effects 0.000 claims 1
- 239000000945 filler Substances 0.000 abstract description 9
- 238000003780 insertion Methods 0.000 description 14
- 230000037431 insertion Effects 0.000 description 14
- 238000013461 design Methods 0.000 description 13
- 230000008901 benefit Effects 0.000 description 6
- 239000000203 mixture Substances 0.000 description 4
- 230000006978 adaptation Effects 0.000 description 3
- 238000004873 anchoring Methods 0.000 description 2
- 230000005540 biological transmission Effects 0.000 description 2
- 239000002184 metal Substances 0.000 description 2
- 230000003716 rejuvenation Effects 0.000 description 2
- 239000007787 solid Substances 0.000 description 2
- 238000003860 storage Methods 0.000 description 2
- 238000012546 transfer Methods 0.000 description 2
- 239000004952 Polyamide Substances 0.000 description 1
- 239000004698 Polyethylene Substances 0.000 description 1
- 239000004743 Polypropylene Substances 0.000 description 1
- 239000004793 Polystyrene Substances 0.000 description 1
- 230000001427 coherent effect Effects 0.000 description 1
- 238000010276 construction Methods 0.000 description 1
- 230000008878 coupling Effects 0.000 description 1
- 238000010168 coupling process Methods 0.000 description 1
- 238000005859 coupling reaction Methods 0.000 description 1
- 230000001186 cumulative effect Effects 0.000 description 1
- 230000001419 dependent effect Effects 0.000 description 1
- 238000011161 development Methods 0.000 description 1
- 238000009792 diffusion process Methods 0.000 description 1
- 238000006073 displacement reaction Methods 0.000 description 1
- 238000009826 distribution Methods 0.000 description 1
- 239000002657 fibrous material Substances 0.000 description 1
- 230000000977 initiatory effect Effects 0.000 description 1
- 239000007788 liquid Substances 0.000 description 1
- 238000004519 manufacturing process Methods 0.000 description 1
- 230000000149 penetrating effect Effects 0.000 description 1
- 229920002647 polyamide Polymers 0.000 description 1
- 229920000573 polyethylene Polymers 0.000 description 1
- 229920001155 polypropylene Polymers 0.000 description 1
- 229920002223 polystyrene Polymers 0.000 description 1
- 239000011435 rock Substances 0.000 description 1
- 239000004575 stone Substances 0.000 description 1
- 238000012549 training Methods 0.000 description 1
- 238000009827 uniform distribution Methods 0.000 description 1
- 239000002023 wood Substances 0.000 description 1
Images
Classifications
-
- E—FIXED CONSTRUCTIONS
- E04—BUILDING
- E04H—BUILDINGS OR LIKE STRUCTURES FOR PARTICULAR PURPOSES; SWIMMING OR SPLASH BATHS OR POOLS; MASTS; FENCING; TENTS OR CANOPIES, IN GENERAL
- E04H12/00—Towers; Masts or poles; Chimney stacks; Water-towers; Methods of erecting such structures
- E04H12/22—Sockets or holders for poles or posts
- E04H12/2207—Sockets or holders for poles or posts not used
- E04H12/2215—Sockets or holders for poles or posts not used driven into the ground
- E04H12/2223—Sockets or holders for poles or posts not used driven into the ground by screwing
-
- E—FIXED CONSTRUCTIONS
- E02—HYDRAULIC ENGINEERING; FOUNDATIONS; SOIL SHIFTING
- E02D—FOUNDATIONS; EXCAVATIONS; EMBANKMENTS; UNDERGROUND OR UNDERWATER STRUCTURES
- E02D5/00—Bulkheads, piles, or other structural elements specially adapted to foundation engineering
- E02D5/74—Means for anchoring structural elements or bulkheads
- E02D5/80—Ground anchors
- E02D5/801—Ground anchors driven by screwing
Definitions
- the receiving part then serves only in the form of a formwork to hold the filler together, to diffuse into the surrounding soil and thus to prevent loosening of the anchorage and to support a consolidating setting of the filling material.
- the receiving part is supported even in this installed state to the outside of the solidifying soil, which in turn can not compress the receiving part, because its interior is then filled and stiffened by the filling material and the lower end of the rod-shaped part.
- the modular design of the receiving part is suitable for all known forms of screw foundations, regardless of whether they are cylindrical open at the bottom, tapered towards the lower end tapered or truncated cone shaped with lower opening.
- the simplest is the downwardly open, cylindrical shape, since it requires only one, namely a cylindrical sleeve-like receiving element, which can be assembled in the necessary majority to the correspondingly sized holding part.
- the receiving part can be formed from a sleeve-like receiving element cylindrical contour and / or a receiving element cone or frusto-conical contour and a receiving element as the upper closing element with or without external thread, which requires a corresponding element as a further element.
- the non-rotatable connection results, for example, without further ado, when the receiving elements in the positive connection, approximately in cross-section as a polygon, are plugged into each other.
- the tensile and shear-resistant connection can be realized in a simple manner by clip connections in the region of the connector.
- ribs may be formed on the inside of the receiving elements, which extend in the longitudinal direction of the receiving elements and engage in corresponding longitudinal grooves of the fitting core.
- this full-surface contact should be ensured, at least in the case of receiving elements which require a full-surface installation of the dowel core for screwing in, that the receiving parts are now plugged together or loose mounted on the dowel core - over the entire length of the formed receiving part (with the exception of one area tapered inner contour in a cone or truncated cone-shaped receiving element) have a substantially continuous inner cross-section.
- This is the only way to ensure that a screwing-in tool with a dimensionally stable fitting core corresponding outer contour can bring in a screwing of the receiving parts placed thereon into the ground with the greatest possible uniform distribution of the forces acting thereon.
- an area of tapered inner contour in a conical or frusto-conical receiving element merely takes into account the fact that, in the conical region, there is naturally no “continuously variable cross-section".
- the screwing tool or its mating core should, of course, also be adapted as far as possible in its outer contour to the inner contour of the conical or frusto-conical receiving element in this area, so that this part of a receiving element as fully as possible with the mating core in contact can be brought, the opposing shapes are to be avoided in any case.
- the outer contour of the dimensionally stable fitting core of the screw-in tool corresponds to the inner contour of the receiving elements or their passages.
- the coupling between the sleeve-like receiving elements and the dowel core can then be carried out, for example, in such a way that - as in DE 10 2005 023 465 B3 described in more detail - formed on the outer circumference of the sleeve-like receiving elements threads to the interior of the receiving element are open and form a helical profiling, which is adapted to an external thread, which is formed on the outer circumference of the dowel core, wherein the engagement and disengagement of receiving elements and Pass core is made by oppositely directed rotational movements.
- the fastening system according to the invention can only develop its full benefits if the dimensionally stable fitting core has a length corresponding to the maximum number or the total length of the maximum number of receiving elements to be combined in a practical use to a receiving part.
- a thin-walled receiving element is naturally mechanically most endangered when it is introduced into the ground in the region of its penetrating into the ground tip. Therefore, it can further be provided that the sleeve-like receiving elements form an insert body with inserted fitting core together with this insert body which ends in its direction of the ground facing in a cone which is partially or completely formed by the sleeve-like receiving elements in the direction of insertion passport core. After insertion of the insert body in the ground of the fitting core is removed again, so that only serve as formwork receiving elements remain in the ground.
- the dowel core of the insertion tool thus engages through the hollow sleeve-like receiving element until it projects with the tip of its cone down from the lower in the screw-in receiving element.
- the insert body consisting of the fitting core and the receiving elements penetrates into the ground with the tip of the fitting core first. Since the receiving part or its elements is usually a mass portion that can only be used once or are, however, the insertion tool can be used over and over again, it is worthwhile to form this insertion tool of a resistant material in high quality, so that it with its tip can serve many times as an indenter into the ground.
- the materials suitable for the receiving elements and the fitting core of the insertion tool are based on the particular application.
- the fitting core of the insertion tool consists of a metal material, preferably of steel, while for the sleeve-like receiving elements in each case a plastic comes into question.
- Suitable plastics are, for example, polyamides, polypropylenes, polyethylenes and polystyrenes, which are listed in the here Sequence at the same time mean an increasing life of the receiving elements in the ground.
- a filling material is part of the fastening system
- free-flowing materials such as sand, split or quarry stone, but also granules, for example of plastic, are particularly suitable for this purpose.
- concrete can also be used.
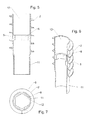
- FIG. 1 Assembled shown consists of a cylindrical receiving element 5, a (partially) frusto-conical receiving element 6, in its place also a (partially) conically downwardly tapered receiving element 6 can occur, and a receiving element as upper end element. 7
- the first-mentioned receiving elements 5, 6 have an external thread 2, is omitted in the upper end element 7 on the external thread 2.
- the sleeve-like receiving part for example, consist only of a plurality of cylindrical receiving elements 5. But it may also consist of several such elements and a (completely or partially) conical or frusto-conical shaped receiving element 6 or of such a and a receiving element as upper end element 7 Finally, it may consist of a (full or partial) cone or truncated cone-shaped receiving element. 6 and a receiving element as the upper end element 7 are formed.
- all elements can have an external thread 2.
- the receiving element as upper end element 7, corresponding elements without external thread belong, which can be used in a suitable case in the combination of elements, for example, between two elements with external thread.
- the receiving elements 5, 6, 7 can be designed thick-walled or thin-walled self-supporting, in which case their adaptation to the Outside profile of the fitting core 4 of a Einschraubtechnikmaschinees 3 not only via a corresponding design of the wall of the receiving elements 5, 6, 7 directly, but also by the installation of correspondingly shaped ribs or passages 8 can be done, as shown in the FIGS. 5 to 9 is shown in more detail.
- the receiving elements 5, 6, 7 can also be so thin-walled that they can not easily transfer the forces and moments occurring when screwing. Then must - as in particular in the Figures 10 and 11 is shown in more detail - a dimensionally stable fitting core 4 of the system belonging screwing tool 3, to which they are plugged, be shaped so that it largely fills the receiving elements by positive fit and supports, so that they get their required for screwing into the soil dimensional stability and the forces and / or moments required for screwing in are transferred to it as uniformly as possible over a large area.
- the receiving elements 5, 6, 7 can be connected to each other, for example by training of tapered plug-in areas 11 and unused plug-in areas 12 plugged into each other and / or be locked together.
- a rotationally fixed connection for example, be generated in that the nestable receiving elements 5, 6, 7 - as shown in the drawings - have a polygonal cross-section.
- Such a connection may be useful when it is necessary to transfer forces from one to the other receiving element 5, 6, 7 or even to facilitate the handling of the multiple parts that are assembled into a receiving part 1.
- the receiving elements 5, 6, 7 can also be screwed into the ground without connection to one another, where they then inter alia by the external thread - Are anchored so that they no longer change their position even after removing the Einschraubwerkmaschinectiones 3.
- the internal cross-section of the receiving elements 5, 6, 7 must be designed to be continuously uniform in the axial direction.
- Only the conical or partially conical region of the conical or frusto-conical receiving element 6 allows, as this receiving element 6 is used only as a lower end - a different, for example conical design of the inner Cross-section and the corresponding part of the outer cross-section of the mating core 4.
- a corresponding - for example, conical - design of the outer contour of the mating core. 4 and the inner contour of the receiving element 6, as in FIG. 10 and 11 is shown.
- FIG. 2 shows the composition of receiving elements 5, 6, 7 after FIG. 1 in their to a sleeve-like receiving part 1 rotatable, push and pull together assembled form.
- FIG. 3 shows a cross section through the composition of receiving elements 5, 6, 7 according to FIG. 1 ,
- locking elements 9, 10 as locking grooves 9 and locking lugs 10 are better recognizable.
- the receiving elements 5, 6, 7 can be designed in their plug-in areas 11, 12 such that, when plugged together, a continuously uniform inner cross-section results in the axial direction.
- FIG. 4 shows a cross section through the mated receiving part 1 after FIG. 2 .
- each receiving element 5, 6, 7 of the fastening system corresponding passages 8 may also have a plurality of such passages 8.
- passages 8 define the free inner cross-section of the receiving elements 5, 6, 7, in which - so that the Aufsteckiana the receiving elements 5, 6, 7 is ensured on the passport core - nothing may protrude.
- FIG. 5 also shows the plug-in areas 11, 12 of the receiving element 5, here in the form of a (in the installation direction lower) cross-sectional taper 11 and an upper, unperforated cross-section 12.
- the upper, unperforated cross-section 12 of the or a receiving part 5, 6, 7 allows the insertion of the correspondingly tapered lower plug-in portion 11 of another receiving element 5, 7 and the lower, tapered plug portion 11 of the or a receiving element 5, 7 allows its insertion into the upper, unused plug portion 12 of the receiving elements 5, 6, 7th
- rejuvenated and unused plug-in area can also be interchanged.
- tapered plug-in portion 11 remains in its internal cross-section outside the cross section of the passages 8, so that the insertion of the passport core 4 by the receiving elements 5, 6, 7 or through the passages 8 is not hindered.
- FIG. 7 shows a cross section through the cylindrical receiving element 5 after FIGS. 5 and 6 in the region of its passage 8 with external thread 2, polygon-shaped passage 8, tapered plug-in area 11 and non-tapered plug-in area 12.
- FIG. 8 shows an inventive Einschraubtechnik Weg 3 with a fitting core 4 in the form of a hexagon, a handle 13 and with three plugged thereon, cut cylindrical receiving elements 5 with external thread 2, each having a polygonal passage 8 with a polygon of the fitting core 4 corresponding inner cross-section ,
- the receiving elements 5 can be seen their tapered plug-in areas 11 and their unused plug-in areas 12, but are unconnected plugged onto the mating core 4.
- FIG. 9 shows one of the cylindrical receiving elements FIG. 8 , partially cut, with external thread 2, polygon-shaped passage 8, tapered plug-in area 11 and non-tapered plug-in area 12.
- FIG. 10 shows the composition of receiving elements 5, 6, 7 after FIG. 1 in the assembled to a receiving part 1 form according to FIG. 2 and the associated Einschraubtechnikmaschine 3 with fitting core 4 in a perspective view.
- the screw-in tool 3 has at its upper end an insertion opening 14 for a handle 13, a fitting core 4, which merges as an octagon with broken edges down into a conical shape 15.
- FIG. 11 shows the screw 3 after FIG. 10 with attached receiving part 1 after FIG. 10 in perspective and partially cut.
- the drill bit 16 the receiving part 1 orientaldingt and protrudes down therefrom as a drill bit.
- FIG. 12 shows a unit of Einschraubwerkmaschine 3 and mounted thereon receiving part 1 in a perspective view.
- the screw-3 is provided here with a handle 13.
- Its mating core 4 is formed as a hexagon.
- Receiving elements 5 attached on it are the cylindrical ones Receiving elements 5 attached.
- the screwing-in tool 3 penetrates the receiving elements 5 or the receiving part 1 formed from them and merges at its lower, near-earth end into a conical bore extension 17 with outer spiral.
Landscapes
- Engineering & Computer Science (AREA)
- Structural Engineering (AREA)
- Civil Engineering (AREA)
- Architecture (AREA)
- General Life Sciences & Earth Sciences (AREA)
- Paleontology (AREA)
- Mining & Mineral Resources (AREA)
- General Engineering & Computer Science (AREA)
- Life Sciences & Earth Sciences (AREA)
- Forms Removed On Construction Sites Or Auxiliary Members Thereof (AREA)
- Foundations (AREA)
- Piles And Underground Anchors (AREA)
- Mutual Connection Of Rods And Tubes (AREA)
Abstract
Description
- Die Erfindung betrifft ein Befestigungssystem zum Befestigen eines stab- oder pfostenförmigen Gegenstandes im Erdboden mit einem in den Erdboden einzuschraubenden hülsenartigen Aufnahmeteil, das an seinem äußeren Umfang zumindest über einen Teil seiner Länge mit einem Außengewinde versehen ist und das im Befestigungszustand einen Endbereich des staboder pfostenförmigen Gegenstandes aufnimmt und dessen Umfang zumindest abschnittsweise umgibt, mit einem Einschraubwerkzeug, das einen formstabilen Passkern aufweist, auf den das Aufnahmeteil zum Zwecke des Einschraubens in das Erdreich drehfest aufsteckbar ist, gemäß dem Oberbegriff des Anspruchs 1.
- Die Erfindung betrifft weiter ein entsprechendes Aufnahmeteil, das Einschraubwerkzeug, gegebenenfalls erforderliches Füllmaterial sowie entsprechende Befestigungsverfahren.
- Ein derartiges Befestigungssystem zeigt beispielsweise die
DE 199 60 854 A1 . Es dient zum dauernden oder vorübergehenden Aufstellen von Pfosten, Masten und dergleichen, wie sie für Zäune, Informationsschilder und -tafeln, Wäschespinnen in Gärten sowie Bauwerke jeder Art aus Holz benötigt werden. Solche Befestigungssysteme sind für Erdböden jeder Art, also auch für Geröllböden, Kiesbettungen, Sand- und Lehmböden, nicht nur in der Ebene, sondern auch an Dämmen und Böschungen geeignet. Das hülsenartige Aufnahmeteil kann (eine Einschlaghülse oder) eine Schraubhülse sein, die auch als Bodendübel oder Bodenschraube bezeichnet wird und vorliegend ausschließlich gemeint ist, wenn von dem "Aufnahmeteil" gesprochen wird. Dieser Bodendübel/Bodenschraube (im Folgenden: "Aufnahmeteil") weist im genannten Beispiel einen becherförmigen Füllabschnitt auf. Nach dem Eindrehen des Aufnahmeteils in den Erdboden wird der stabförmige Gegenstand in den Füllabschnitt eingesetzt, der den unteren Endbereich des stabförmigen Gegenstandes mit Abstand umgibt. Der stabförmige Gegenstand kann danach lotrecht ausgerichtet werden, wodurch Richtungsabweichungen, die beim Einsetzen des Aufnahmeteils in den Erdboden entstanden sind, ausgeglichen werden können. Sodann wird der Ringraum zwischen dem unteren Ende des stabförmigen Gegenstandes und dem becherförmigen Füllabschnitt mit dem Füllmaterial ausgefüllt. - Das Füllmaterial kann körnig sein, beispielsweise ein Granulat, ein harter Sand, Split- oder Gesteinsmaterial. Aber auch ein elastisches Kunststoffmaterial kommt in Frage, ebenso eine sich festigende flüssige Masse, vor allem Beton. Die Verwendung eines körnigen Materials hat den Vorteil, dass die gesamte Befestigungseinrichtung schnell wieder entfernt werden kann, z. B. bei vorübergehend erstellten Bauwerken auf Ausstellungen und Messen.
- Das genannte, als Schraubhülse ausgeführten Befestigungssystem entspricht mit seinem becherförmigen Füllabschnitt im Aufnahmeteil in seiner Gestaltung weitgehend den ebenfalls bekannten Bodendübeln mit eigenem Aufnahmeabschnitt am oberen Ende, bei denen der stabförmige Gegenstand unmittelbar, ohne Zwischenlage eines Füllmaterials, in den Aufnahmeabschnitt eingesetzt und dort befestigt wird.
- Derartige Bodendübel sind in vielen Ausführungsformen bekannt; ein Beispiel zeigt die
DE 93 13 258 U1 . Sie bestehen meistens aus einem unteren Gewindeabschnitt und dem oberen Aufnahmeabschnitt, zwischen denen sich ein kegeliger Verdrängungsabschnitt befinden kann. Es gibt sie aber auch zweiteilig in dem Sinne, dass an einen in das Erdreich einzuschraubenden Verankerungsteil ein Halteteil (DE 202 20 515 U1 ) bzw. eine Verlängerungsmuffe (DE 200 00 183 U1 ) zur Aufnahme des Stabes, Pfostens usw. als eigenes Bauteil ansetzbar ist. - Alle diese bekannten Bodendübel sind verhältnismäßig massiv ausgebildet. Sie müssen nämlich nicht nur die Kräfte aufnehmen, mit denen der Mast oder Pfosten sie beaufschlagt, wenn er unmittelbar an ihnen befestigt ist. Sie werden vor allem auch beim Eindrehen in den Erdboden stark belastet. Das gilt besonders dann, wenn ein von Hand oder maschinell betätigtes Eindrehwerkzeug an ihrem oberen Ende, beispielsweise mit einem quer durch den Aufnahmeabschnitt gesteckten Bolzen angreift, wie das oftmals vorgeschlagen wird (
DE 93 13 258 U1 ). Die hohe örtliche Belastung beim Einleiten des Drehmoments kann zu einer Deformation des Bodendübels oder Aufnahmeteils führen, wenn deren Ausführung nicht massiv genug ist. - Als Material für das Aufnahmeteil des bekannten Befestigungssystems wird daher beispielsweise Stahl, aus einem Stück gehämmert und feuerverzinkt, vorgeschlagen (Firmendruckschrift "Das neue Krinner Bodendübel-System" der Firma Krinner GmbH, D-94342 Straßkirchen), aber auch Kunststoff in großer Wandstärke oder - zumindest für Bodendübel - eine Kombination aus Kunststoff und Metall (
DE 202 20 515 U1 ). - Alle diese Ausführungsarten sind deshalb für einen Massenartikel verhältnismäßig aufwendig, zumal sie zwar grundsätzlich wieder verwendbar wären, praktisch aber oftmals auch dann im Erdboden verbleiben, wenn der (nur vorübergehend erforderliche) Mast oder Pfosten wieder entfernt wird.
- In Weiterentwicklung der eingangs genannten Befestigungssystems verzichtet deshalb die
DE 10 2005 023 465 B3 nicht nur auf ein Halteteil als eigenes Bauteil sondern auf ein Halteteil überhaupt, indem sie vorschlägt, das Verankerungsteil selbst als hülsenartiges Aufnahmeteil so zu gestalten, dass es einen Endbereich des darin einstellbaren stab- oder pfostenförmigen Gegenstandes aufnimmt und dessen Umfang zumindest abschnittsweise umgibt. - Und zwar soll das Aufnahmeteil den eingestellten Pfosten nach der Lehre dieser Schrift mit Abstand umgeben, so dass zwischen dem stab- oder pfostenförmigen Gegenstand und der Innenkontur des Aufnahmeteils ein Ringraum entsteht, der mit einem Füllmaterial verfüllt wird, wodurch der Stab bzw. Pfosten fest im Boden verankert wird.
- Die genannte Schrift schlägt weiter vor, das Eindrehwerkzeugs zum Eindrehen dieses Aufnahmeteils mit einem formstabilen Passkern zu versehen, der weitgehend oder vollständig an der Innenkontur des Aufnahmeteils anliegt und diese damit beim Eindrehen weitgehend ausfüllt und stützt und der so durch formschlüssige, insbesondere auch reibschlüssige Anpassung im Sinne des Eindrehens die zum Eindrehen erforderlichen Kräfte und/oder Momente möglichst großflächig auf das Aufnahmeteil überträgt und so dem lediglich als Schalung dienenden Aufnahmeteil erst seine zum Einbringen in den Erdboden erforderliche Formstabilität erteilt.
- Vor allem diese letztgenannte Gestaltung hat es ermöglicht, das Aufnahmeteil entsprechend dünnwandiger und vor allem auch aus preiswerteren Materialien wie beispielsweise Kunststoffen herzustellen, wodurch erhebliche Kosten eingespart werden konnten.
- Dieser Stand der Technik baut auf der Erkenntnis auf, dass es (bei Verzicht auf die Möglichkeit, den Stab, Pfosten oder dgl. unmittelbar an dem Aufnahmeteil zu befestigen) bei entsprechender Auslegung des Eindrehwerkzeugs ausreicht, das hülsenartige Aufnahmeteil nach seiner Funktion als Schalung zu bemessen, auf die es reduziert ist, wenn es einmal in den Erdboden eingesetzt ist und das untere Ende des stabförmigen Teils über das Füllmaterial aufnimmt und hält.
- Das Aufnahmeteil dient dann nämlich nur noch nach Art einer Schalung dazu, das Füllmaterial zusammenzuhalten, sein diffundieren in das umliegende Erdreich und damit ein Lockern der Verankerung zu verhindern sowie ein verfestigendes Setzen des Füllmaterials zu unterstützen. Dabei stützt sich das Aufnahmeteil selbst in diesem Einbauzustand nach außen an dem sich verfestigenden Erdreich ab, das seinerseits das Aufnahmeteil auch nicht zusammendrücken kann, weil dessen Innenraum dann durch das Füllmaterial und das untere Ende des stabförmigen Teils ausgefüllt und ausgesteift ist.
- Das beschriebene Befestigungssystem hat sich in der Praxis außerordentlich bewährt und wird dementsprechend umfangreich eingesetzt. Dabei ist deutlich geworden, dass eine gewisse Schwäche darin liegt, dass für die unterschiedlichen Anwendungen von leichten Fundamenteinrichtungen für Zäune, Verkehrszeichen usw. über Masten für Leitungen usw. bis hin zu Fundamenten für größere Bauwerke wie Hochspannungsmasten, Brücken usw. jeweils nach Durchmesser und Länge unterschiedlich dimensionierte Aufnahmeteile und entsprechend viele verschiedene Einschraubwerkzeuge hergestellt und vom Anwender vorgehalten werden müssen. Dies verursacht, was die verhältnismäßig teueren Einschraubwerkzeuge bzw. deren Passkerne angeht erhebliche zusätzliche Anschaffungskosten sowie dafür und für die Menge der vorzuhaltenden unterschiedlichen Aufnahmeteile einen entsprechend hohen Transport- und Lageraufwand.
- Aufgabe der vorliegenden Erfindung ist es demgemäß, ein Befestigungssystem und die dazu gehörigen Einzelteile sowie ein Verfahren zur Verfügung zu stellen, das unnötige Kosten dadurch vermeidet, dass es mit einem oder einer geringen Zahl von Einschraubwerkzeugen oder Passkernen und wenigen unterschiedlichen Aufnahmeteilen ein möglichst breites Spektrum von Befestigungsmöglichkeiten abdeckt.
- Diese Aufgabe wird durch ein Befestigungssystem mit den Merkmalen gemäß Anspruch 1, durch ein Aufnahmeteil mit den Merkmalen gemäß Anspruch 17, durch ein Einschraubwerkzeug mit den Merkmalen gemäß Anspruch 18 und durch ein Verfahren mit den Merkmalen gemäß Anspruch 19 gelöst. Zweckmäßige Ausgestaltungen ergeben sich aus zugehörigen abhängigen Ansprüchen.
- Die Erfindung sieht die Lösung im modulartigen Aufbau des Befestigungssystems durch das Angebot einer Mehrzahl unterschiedlicher hülsenförmiger Aufnahmeelemente, von denen je nach den im Einzelfall gestellten Anforderungen eine geringere oder größere Zahl zu dem Aufnahmeteil der benötigten Dimensionierung (Länge) zusammengestellt werden kann.
- Im einfachsten Falle wird es sich dabei um untereinander kombinierbare Aufnahmeelemente eines einzigen gleichen Querschnitts handeln, bei denen unterschiedliche Lastvorgaben nur durch Aneinanderreihung einer entsprechend größeren Zahl von Aufnahmeelementen und entsprechend längere Gestaltung des Aufnahmeteils Rechnung getragen werden kann. Für sehr unterschiedliche Lastvorgaben können aber auch Gruppen von jeweils miteinander kombinierbaren Halteelementen unterschiedlicher Querschnitte verfügbar gemacht werden.
- Der erfindungsgemäßen Gestaltung liegt die Erkenntnis zugrunde, dass der modulartige Aufbau eines solchen Befestigungssystems diesem einen breiteren Anwendungsbereich bei Einsparung von Lager- und Transportaufwand ermöglicht.
- Dabei macht es für die Erfindung keinen Unterschied, ob das Aufnahmeteil den Endbereich des darin eingestellten Stabes oder Pfostens - wie in
DE 10 2005 023 465 B3 beschrieben - mit Abstand umgibt, so dass seine feste Verankerung im Halteteil und damit im Erdreich erst durch ein einzufüllendes Füllmaterial hergestellt wird, oder ob der Stab oder Pfosten und das Halteteil so geformt und dimensioniert sind, dass der Stab oder Pfosten ohne Vermittlung eines Füllmaterials in dem Aufnahmeteil gehalten werden kann. Der Gegenstand des Anspruchs 1 bezieht sich dementsprechend auf beide genannten Varianten. Die Lösung mit einem ein Füllmaterial erfordernden Abstand zwischen Aufnahmeteil und eingestelltem Stab oder Pfosten ist Gegenstand eines Unteranspruchs. - Für die Erfindung ist weiter von untergeordneter Bedeutung, ob die Aufnahmeelemente bzw. die aus ihnen gebildeten Aufnahmeteile dickwandig oder zwar dünnwandig aber gleichwohl selbsttragend stabil so ausgebildet sind, dass sie ohne einen sie haltenden und stützenden formstabilen Passkern eingedreht werden könnten oder ob sie eines Solchen, sie mehr oder weniger vollflächig stützenden Passkerns zum Eindrehen bedürfen, wie es in dem genannten Stand der Technik zu
DE 10 2005 023 465 B3 beschrieben ist. Der Gegenstand des Anspruchs 1 bezieht sich dementsprechend auch insoweit auf alle Varianten. Die Variante mit einem mehr oder weniger vollflächig am Aufnahmeteil anliegenden Passkern ist Gegenstand eines Unteranspruchs. - Sie stellt freilich eine besonders vorteilhafte Ausführungsform des Gegenstandes der Erfindung dar, weil sie die Vorteile der Materialersparnis, die der Gegenstand der
DE 10 2005 023 465 B3 mit sich bringt, mit den Vorteilen der modularen Bauweise kumuliert, indem die Aufnahmeelemente - wie es aus Gründen der Kostenersparnis erstrebenswert ist - nicht nur dünnwandig und dementsprechend Material sparend gestaltet sind, sondern darüber hinaus nur in einer begrenzten Zahl beliebig kombinierbarer Typen vorgehalten werden müssen. - Insoweit beruht die Erfindung auf der Erkenntnis, dass auch solche für sich allein wenig standfesten Aufnahmeelemente, wenn sie passgenau oder im wesentlichen passgenau auf einen gemeinsamen Passkern aufgesteckt und so in das Erdreich eingedreht werden, dabei in gleicher Weise gestützt und gehalten werden, wie ein einziges, zusammenhängendes Aufnahmeteil, sie also genauso materialsparend ausgelegt sein können wie ein größeres, zusammenhängendes Aufnahmeteil.
- Auch werden sie nach dem Entfernen des Einschraubwerkzeuges bzw. des stabilen Passkerns, dem Einstellen des Stabes oder Pfostens und dem Einfüllen des Füllmaterials in gleicher Weise im Erdreich und zwischen Erdreich und Stab/Pfosten bzw. Füllmaterial gehalten und gestützt wie ein einziges Aufnahmeteil.
- Sie verhindern auch in gleicher Weise wie ein einziges Aufnahmeteil das Diffundieren des Füllmaterials in das umliegende Erdreich und unterstützen das einer Lockerung des Halts des Stabes oder Pfostens entgegenwirkende Setzen, insbesondere eines rieselfähigen Füllmaterials wie Granulat, Split, Sand o.ä.
- Für alles dies kommt es nicht einmal darauf an, dass die Aufnahmeelemente untereinander verbunden sind. Denn sie werden nach ihrem Einschrauben in das Erdreich, bei dem sie durch den Passkern in ihrer Stellung zueinander fixiert sind, nach dem Entfernen des Passkerns und dem Einstellen des Stabes oder Pfostens und Einfüllen des Füllmaterials in der einmal eingenommenen Position nachhaltig festgelegt.
- Deshalb werden auch für das Einstellen des Stabes oder Pfostens in das Aufnahmeteil selbst dann keine Probleme entstehen, wenn die Aufnahmeelemente ihn passgenau und ohne Füllmaterial halten sollen.
- Dabei tragen naturgemäß, insbesondere wenn die Aufnahmeelemente unverbunden auf den Passkern aufgesteckt und so in das Erdreich eingeschraubt werden, die für das Einschrauben der Aufnahmeelemente erforderlichen Außengewinde zum Halt der Elemente im Verhältnis zueinander und im Erdreich wesentlich bei. Deshalb wird vorzugsweise jedes Aufnahmeelement mit einem Außengewinde ausgerüstet sein.
- Dies ist aber nicht zwangsläufig erforderlich. Wenn mehrere Aufnahmeelemente verwendet werden, kann bei Einzelnen, etwa einem zwischen zwei Aufnahmeelementen mit Gewinde platzierten Aufnahmeelement, auch auf ein Außengewinde verzichtet werden. Denkbar ist dies in gleicher Weise für ein Aufnahmeelement, das nur als oberes Abschlusselement zur Erdoberfläche hin vorgesehen ist, insbesondere wenn dieses mit dem benachbarten Aufnahmeelement verbunden ist.
- Der modulartige Aufbau des Aufnahmeteils kommt für alle bekannten Formen von Schraubfundamenten in Betracht, gleichgültig ob sie insgesamt zylinderförmig unten offen, zum unteren Ende hin kegelförmig spitz zulaufend oder kegelstumpfförmig mit unterer Öffnung gestaltet sind. Am einfachsten ist freilich die unten offene, zylindrische Form, da sie nur ein, nämlich ein zylindrisches hülsenartiges Aufnahmeelement erfordert, das in der nötigen Mehrzahl zu dem entsprechend dimensionierten Halteteil zusammengestellt werden kann.
- Das Aufnahmeteil kann aber auch aus mindestens einem hülsenartigen Aufnahmeelement zylindrischer Kontur und einem Aufnahmeelement mit in Einbaurichtung zumindest teilweise kegel- oder kegelstumpfförmig zulaufender Kontur mit Außengewinde bildbar sein, was voraussetzt, dass ein entsprechendes Modul vorgesehen ist.
- Weiterhin kann das Aufnahmeteil aus einem hülsenartigen Aufnahmeelement zylindrischer Kontur und/oder einem Aufnahmeelement kegel- oder kegelstumpfförmiger Kontur und einem Aufnahmeelement als oberem Abschlusselement mit oder ohne Außengewinde bildbar sein, was als weiteres Element ein entsprechendes Abschlusselement voraussetzt.
- Das erfindungsgemäße Befestigungssystem setzt also im einfachsten Falle ein einziges (zylindrisches) Aufnahmeelement voraus und bietet mit höchstens fünf verschiedenen Aufnahmeelementen (zylindrisches Aufnahmeelement mit und ohne Aussengewinde, spitz kegeliges, kegelstumpfförmiges Aufnahmeelement und oberes Abschlusselement) gleichen Querschnitts für einen weiten Bereich von Lastvorgaben ein breites Spektrum von Kombinationsmöglichkeiten.
- Wie bereits erwähnt, bedarf es, da die Aufnahmeelemente zum Eindrehen in das Erdreich auf den gemeinsamen Passkern aufgesteckt werden, und nach dem Eindrehen fest im Erdreich in ihrer Position verankert sind, an sich keiner Verbindung der Aufnahmeelemente untereinander. Jedoch ist auch eine drehfeste oder auch eine zug- und schubfeste Verbindung der Aufnahmeelemente untereinander, wenn erwünscht, mit einfachen Mitteln zu erreichen.
- Die drehfeste Verbindung ergibt sich beispielsweise ohne Weiteres, wenn die Aufnahmeelemente im Formschluss, etwa im Querschnitt als Vieleck, ineinander steckbar ausgebildet sind.
- Die Zug- und schubfeste Verbindung kann in einfacher Weise durch Klipsverbindungen im Bereich der Steckverbindung realisiert werden.
- Die drehfeste Aufsteckbarkeit der hülsenartigen Aufnahmeelemente auf den Passkerns kann in unterschiedlicher Art und Weise bewerkstelligt werden. Neben einem Reibschluss, der auch durch ein hydraulisches Aufdehnen des Passkerns erzeugt oder verstärkt werden kann, kommt insbesondere ein Formschluss in Betracht.
- Beispielsweise können an die Innenseite der Aufnahmeelemente Rippen angeformt sein, die in Längsrichtung der Aufnahmeelemente verlaufen und in entsprechende Längsnuten des Passkerns eingreifen.
- In Betracht kommen aber auch Durchlässe, die innen axial versetzt an die Aufnahmeelemente angeformt sind und in ihrem vieleckigen oder ähnlichen Innen-Querschnitt dem Außenquerschnitt des Passkerns entsprechen.
- Diese beiden Varianten setzen allerdings voraus, dass die Aufnahmeelemente eine hinreichende Eigensteifigkeit haben, das heißt dass sie beim Einschrauben nicht der mehr oder weniger vollflächigen Stütze durch den Passkern bedürfen. Dann haben sie allerdings auch den Vorteil, dass durch entsprechende unterschiedliche Dimensionierung der Rippen bzw. Durchlässe unter Umstanden auch Aufnahmeteile/Aufnahmeelemente unterschiedlicher Dimensionierung (unterschiedlichen Außendurchmessers) mit ein- und demselben Einschraubwerkzeug betätigt werden können.
- Schließlich können die Aufnahmeelemente selbst einen zumindest innen vieleckigen oder einen ähnlichen Querschnitt aufweisen, der dem Außenquerschnitt des Passkerns entspricht. Diese Variante hat den Vorteil, dass der Passkern das entsprechend leicht gebaute Aufnahmeteil/Aufnahmeelement vollflächig stützen kann.
- Dabei versteht es sich, dass der für das Aufstecken der Aufnahmeelemente auf den Passkern in den Aufnahmeelementen erforderlichen Querschnitt frei sein muss, also insbesondere nicht in den durch die Rippen oder die Durchlässe definierten Querschnitt hineinragen darf.
- Wenn die Wand des Aufnahmeelements selbst den dem Außenquerschnitt des Passkerns entsprechenden Innenquerschnitt des Aufnahmeelements bildet, sollte - jedenfalls bei Aufnahmeelementen, die zum Einschrauben eine vollflächige Anlage des Passkern erfordern - diese vollflächige Anlage dadurch gewährleistet werden, dass die Aufnahmeteile - seien sie nun zusammengesteckt oder lose auf den Passkern aufgesteckt - über die gesamte Länge des gebildeten Aufnahmeteils (mit Ausnahme eines Bereichs spitz zulaufender Innenkontur in einem kegel- oder kegelstumpfförmigen Aufnahmeelement) einen im Wesentlichen stufenlos gleichbleibenden Innenquerschnitt aufweisen. Denn nur so kann sichergestellt werden, dass ein Einschraubwerkzeug mit einem formstabilen Passkern entsprechender Außenkontur ein Eindrehen der darauf aufgesteckten Aufnahmeteile in das Erdreich unter größtmöglicher gleichmäßiger Verteilung der dabei wirkenden Kräfte bewerkstelligen kann.
- Dabei trägt die Ausnahme "eines Bereichs spitz zulaufender Innenkontur in einem kegel- oder kegelstumpfförmigen Aufnahmeelement" lediglich dem Umstand Rechnung, dass es im konischen Bereich naturgemäß an einem "stufenlos gleichbleibenden Querschnitt" fehlt. Im Interesse einer bestmöglichen Lastverteilung soll das Einschraubwerkzeug bzw. dessen Passkern selbstverständlich auch in diesem Bereich in seiner Außerkontur an die Innenkontur des kegel- oder kegelstumpfförmigen Aufnahmeelements so weit als möglich angepasst sein, so dass auch dieser Teil eines Aufnahmeelementes möglichst vollflächig mit dem Passkern in Kontakt gebracht werden kann, dem entgegenstehende Formgebungen also in jedem Falle zu vermeiden sind.
- Für die einander entsprechende formschlüssige Auslegung von Aufnahmeelementen und Passkern kommen freilich auch andere als die zuvor beschriebenen Gestaltungen in Betracht. In jedem Falle muss bei ihnen aber gewährleistet sein, dass die Aufnahmeelemente in der gewünschten Art, Zahl und Reihenfolge auf den Passkern derart aufsteckbar sind, dass der Passkern jedes der Aufnahmeelemente durchgreift, sie koaxial ausgerichtet, drehfest, gegebenenfalls auch unter möglichst großflächiger Übertragung der beim Einschrauben auftretenden Kräfte, hält und dass der Passkern nach dem Einschrauben der Aufnahmeelemente auf einfache Art und Weise aus dem Schraubfundament zurückgezogen werden kann.
- Hierfür ist von wesentlicher Bedeutung, dass die Außenkontur des formstabilen Passkerns des Einschraubwerkzeugs, wie immer sie im Einzelnen gestaltet sein mag, der Innenkontur der Aufnahmeelemente oder ihrer Durchlässe entspricht.
- Die Kuppelung zwischen dem oder den hülsenartigen Aufnahmeelementen und dem Passkern kann dann beispielsweise auch in der Weise erfolgen, dass - wie in
DE 10 2005 023 465 B3 näher beschrieben - die am äußeren Umfang der hülsenartigen Aufnahmeelemente ausgebildeten Gewindegänge zum Inneren des Aufnahmeelements hin offen sind und eine schraubenlinienförmige Profilierung bilden, die an ein Außengewinde angepasst ist, das am äußeren Umfang des Passkerns aufgebildet ist, wobei das Ein- und Auskuppeln von Aufnahmeelementen und Passkern durch entgegengesetzt gerichtete Drehbewegungen erfolgt. - Es versteht sich, dass das erfindungsgemäße Befestigungssystem seinen vollen Nutzen nur entfalten kann, wenn der formstabile Passkern eine Baulänge aufweist, die der Höchstzahl bzw. der Gesamtlänge der Höchstzahl der im praktischen Gebrauch zu einem Aufnahmeteil zusammenzufügenden Aufnahmeelemente entspricht.
- Wenn dies gewährleistet ist, ist zugleich sichergestellt, dass die hülsenartigen Aufnahmeelemente nach ihrem - unverbundenen oder miteinander verbundenen - Aufstecken auf den Passkern zusammen mit diesem einen Einsetzkörper bilden, der das gemeinsame vollständige Einschrauben der Aufnahmeelemente in das Erdreich ermöglicht.
- Ein dünnwandiges Aufnahmeelement ist bei seinem Einbringen in den Erdboden naturgemäß in dem Bereich seiner in den Erdboden eindringenden Spitze mechanisch am stärksten gefährdet. Deshalb kann weiter vorgesehen sein, dass die hülsenartigen Aufnahmeelemente bei eingesetztem Passkern zusammen mit diesem einen Einsetzkörper bilden, der in seiner dem Erdboden zugewandten Einbringrichtung in einem Kegel endet, der teilweise oder vollständig durch den die hülsenartigen Aufnahmeelemente in der Einbringrichtung durchgreifenden Passkern gebildet ist. Nach dem Einbringen des Einsetzkörpers in den Erdboden wird der Passkern wieder entfernt, so dass nur noch die als Schalung dienenden Aufnahmeelemente im Erdboden verbleiben.
- Der Passkern des Einbringwerkzeuges durchgreift somit das hohl ausgebildete hülsenartige Aufnahmeelement, bis er mit der Spitze seines Kegels nach unten aus dem in Einschraubrichtung unteren Aufnahmeelement herausragt. Der aus dem Passkern und den Aufnahmeelementen bestehende Einsetzkörper dringt mit der Spitze des Passkerns voran in den Erdboden ein. Da das Aufnahmeteil bzw. seine Elemente in der Regel ein nur einmal verwendbares Massenteil ist bzw. sind, das Einbringwerkzeug hingegen immer wieder verwendet werden kann, lohnt es sich, dieses Einbringwerkzeug aus einem widerstandsfähigen Werkstoff in hochwertiger Weise auszubilden, so dass es mit seiner Spitze viele Male als Eindringkörper in den Erdboden dienen kann.
- Alternativ ist auch eine Ausgestaltung möglich, bei der das in Einschraubrichtung untere hülsenartige Aufnahmeelement in seiner dem Erdboden zugewandten Einschraubrichtung in einem Kegel endet, dessen Spitzenbereich aus einem verstärkten Material besteht. Beispielsweise kann die geschlossene Spitze des hülsenartigen Aufnahmeelements aus einem anderen Kunststoff bestehen, als das übrige Aufnahmeelement, oder die Spitze kann durch ein Fasermaterial verstärkt sein. Sogar eine aus Metall bestehende Spitze an einem sonst aus Kunststoff bestehenden Aufnahmeelement ist denkbar. Da das hülsenartige Aufnahmeelement infolge seiner geringeren Stärke insgesamt in jedem Fall kostengünstiger wird, kann der hiermit verbundene etwas höhere Aufwand mehr als gerechtfertigt sein.
- Im übrigen richten sich die für die Aufnahmeelemente und den Passkern des Einbringwerkzeugs in Frage kommenden Werkstoffe nach dem jeweiligen Anwendungsfall. Dabei muss neben der Belastung des aufgestellten staboder pfostenförmigen Gegenstandes auch die rechnerische Lebensdauer der Befestigung berücksichtigt werden. Bevorzugt besteht der Passkern des Einbringwerkzeugs aus einem metallenen Werkstoff, vorzugsweise aus Stahl, während für die hülsenartigen Aufnahmeelemente in jedem Fall ein Kunststoff in Frage kommt. Geeignete Kunststoffe sind beispielsweise Polyamide, Polypropylene, Polyethylene und Polystyrole, die in der hier aufgezählten Reihenfolge zugleich eine zunehmende Lebensdauer der Aufnahmeelemente im Erdboden bedeuten.
- Soweit zu dem Befestigungssystem ein Füllmaterial gehört, kommen hierfür vor allem rieselfähige Materialien wie Sand, Split oder Bruchstein, aber auch Granulate beispielsweise aus Kunststoff in Betracht. Alternativ kann auch Beton verwendet werden.
- Gegenstand der Erfindung ist zugleich das aus einer Mehrzahl von Aufnahmeelementen bildbare, in den Erdboden einschraubbare, hülsenartige Aufnahmeteil zum Befestigen eines stab- oder pfostenförmigen Gegenstandes im Erdboden sowie
das zugehörige Einschraubwerkzeug für ein solches Befestigungssystem und schließlich
das beim Einsatz des Befestigungssystems anzuwendende Befestigungsverfahren, das bei Aufnahmeelementen von hinreichender Eigensteifigkeit, die keines Füllmaterials bedürfen, durch die Verfahrensschritte gemäß Anspruch 19, ansonsten durch die Verfahrensschritte gemäß Anspruch 20 gekennzeichnet ist: - Die Erfindung wird nun anhand von Ausführungsbeispielen näher erläutert:
-
Figur 1 zeigt eine denkbare Zusammenstellung mehrerer Aufnahmeelemente (zylindrisches und kegelstumpfförmiges Aufnahmeelement sowie Aufnahmeelement als oberes Abschlusselement) mit Außengewinde zur Kombination als hülsenartiges Aufnahmeteil. -
Figur 2 zeigt die Zusammenstellung nachFigur 1 in zusammengesteckter Form als hülsenartiges Aufnahmeteil. -
Figur 3 zeigt einen Querschnitt durch die Zusammenstellung von Aufnahmeelementen nachFigur 1 . -
Figur 4 zeigt einen Querschnitt durch das zusammengesteckte Aufnahmeteil nachFigur 2 . -
Figur 5 zeigt einen Schnitt durch ein zylindrisches Aufnahmeelement mit einem Durchlass mit vieleckförmiger Innenkontur zum Aufstecken auf einen Passkern entsprechenden Außenquerschnitts. -
Figur 6 zeigt das zylindrische Aufnahmeelement nachFigur 5 in perspektivischer Darstellung. -
Figur 7 zeigt einen Querschnitt durch das zylindrische Aufnahmeelement nachFigur 5 und 6 im Bereich seines Durchlasses mit vieleckförmiger Innenkontur. -
Figur 8 zeigt ein Einschraubwerkzeug in Form eines Sechskants mit drei darauf aufgesteckten zylindrischen, geschnitten dargestellten Aufnahmeelementen mit je einem Durchlass mit einem dem Sechskant des Eindrehwerkzeuges entsprechendem Innen-Sechskant. -
Figur 9 zeigt eines der Aufnahmeelemente nachFigur 8 in perspektivischer Darstellung und teilweise geschnitten. -
Figur 10 zeigt die Zusammenstellung von Aufnahmeelementen 5, 6, 7 nachFigur 1 in der zu einem Aufnahmeteil zusammengesteckten Form gemäßFigur 2 und das zugehörige Einschraubwerkzeug mit Passkern in perspektivischer Darstellung. -
Figur 11 zeigt das Einschraubwerkzeug nachFigur 10 mit darauf aufgestecktem Aufnahmeteil nachFigur 10 perspektivisch und teilweise geschnitten. -
Figur 12 zeigt eine Einheit aus Einschraubwerkzeug und darauf aufgestecktem Aufnahmeteil in perspektivischer Darstellung. -
Figur 1 zeigt eine denkbare Zusammenstellung mehrerer unterschiedlicher Aufnahmeelemente 5, 6, 7 zur Kombination als hülsenartiges Aufnahmeteil 1, das in das Erdreich eingeschraubt werden kann und das im Befestigungszustand einen Endbereich eines stab- oder pfostenförmigen Gegenstandes aufnimmt, der dort entweder form- oder reibschlüssig gehalten oder mit Hilfe eines in den Zwischenraum zwischen dem Aufnahmeteil und dem Stab bzw. Mast eingefülltes Füllmaterials befestigt wird. - Die in
Figur 1 gezeigte Zusammenstellung besteht aus einem zylindrischen Aufnahmeelement 5, einem (teilweise) kegelstumpfförmigen Aufnahmeelement 6, an dessen Stelle auch ein (teilweise) kegelförmig nach unten spitz zulaufendes Aufnahmeelement 6 treten kann, und einem Aufnahmeelement als oberen Abschlusselement 7. - Dabei verfügen die erstgenannten Aufnahmeelemente 5, 6 über ein Außengewinde 2, bei dem oberen Abschlusselement 7 ist auf das Außengewinde 2 verzichtet.
- Die Zusammenstellung kann jedoch auch ganz anders gewählt werden. So kann das hülsenartiges Aufnahmeteil 1 beispielsweise nur aus mehreren zylindrischen Aufnahmeelementen 5 bestehen. Es kann aber auch aus mehreren solchen Elementen und einem (ganz oder teilweise) kegel- oder kegelstumpfförmig ausgebildeten Aufnahmeelement 6 oder aus einem Solchen und einem Aufnahmeelement als oberen Abschlusselement 7 bestehen Schließlich kann es aus einem (ganz oder teilweise) kegel- oder kegelstumpfförmigen Aufnahmeelement 6 und einem Aufnahmeelement als oberen Abschlusselement 7 gebildet werden.
- Dabei können alle Elemente ein Außengewinde 2 haben. Zu dem System können aber auch, wie hier beim Aufnahmeelement als oberen Abschlusselement 7 gezeigt, entsprechende Elemente ohne Außengewinde gehören, die im geeigneten Falle in der Kombination der Elemente, beispielsweise auch zwischen zwei Elementen mit Außengewinde, Verwendung finden können.
- Die Aufnahmeelemente 5, 6, 7 können dickwandig oder auch dünnwandig selbsttragend ausgelegt sein, in welchem Falle ihre Anpassung an das Außenprofil des Passkerns 4 eines Einschraubwerkzeuges 3 nicht nur über eine entsprechende Gestaltung der Wandung der Aufnahmeelemente 5, 6, 7 unmittelbar, sondern auch durch den Einbau von entsprechend geformten Rippen oder Durchlässen 8 erfolgen kann, wie dies in den
Figuren 5 bis 9 näher gezeigt ist. - Die Aufnahmeelemente 5, 6, 7 können aber auch so dünnwandig sein, dass sie die beim Einschrauben auftretenden Kräfte und Momente nicht ohne weiteres übertragen können. Dann muss - wie insbesondere in den
Figuren 10 und11 näher gezeigt ist - ein formstabiler Passkern 4 des zum System gehörigen Eindrehwerkzeuges 3, auf den sie aufsteckbar sind, so geformt sein, dass er die Aufnahmeelemente durch formschlüssige Anpassung weitgehend ausfüllt und stützt, so dass sie dadurch ihre zum Einschrauben in das Erdreich erforderliche Formstabilität erhalten und die zum Einschrauben erforderlichen Kräfte und/oder Momente möglichst gleichmäßig großflächig auf sie übertragen werden. - Dies kann, wenn ein entsprechender Reibschluss gewährleistet ist, schon bei einem runden Innenquerschnitt der Aufnahmeelemente 5, 6, 7 und einem entsprechenden Außenquerschnitt des Passkerns 4 gewährleistet sein. Vorzugsweise kommt hierfür aber ein (zumindest innerer) Vielkant - Querschnitt der Aufnahmeelemente 5, 6, 7 - wie er in
Figur 1 gezeigt ist - und ein entsprechender Außenquerschnitt des Einschraubwerkzeuges 3 bzw. seines Passkerns 4 in Betracht, wie er inFigur 10 ,11 gezeigt ist. - Die Aufnahmeelemente 5, 6, 7 können miteinander verbindbar, etwa durch Ausbildung von verjüngten Steckbereichen 11 und unverjüngten Steckbereichen 12 ineinander steckbar und/oder miteinander verrastbar sein.
- Dabei kann eine drehfeste Verbindung beispielsweise dadurch erzeugt werden, dass die ineinander steckbaren Aufnahmeelemente 5, 6, 7 - wie in den Zeichnungen gezeigt - einen Vielkant- Querschnitt aufweisen.
- Zusätzlich kann eine schub- und zugfeste Verbindung beispielsweise durch entsprechende Rastelemente (Rastnuten 9 und Rastnasen 10) hergestellt werden.
- Eine solche Verbindung kann sinnvoll sein, wenn es erforderlich ist, Kräfte von einem zum anderen Aufnahmeelement 5, 6, 7 zu übertragen oder auch nur um die Handhabung der mehreren Teile, die zu einem Aufnahmeteil 1 zusammengestellt sind, zu erleichtern.
- Eine derartige Verbindung der Aufnahmeelemente 5, 6, 7 ist jedoch an sich entbehrlich, wenn sie - wie zuvor erläutert - derart form- oder reibschlüssig auf den Passkern 4 aufsteckbar sind, dass die für das Eindrehen in das Erdreich erforderlichen Kräfte in ausreichendem Maße unmittelbar auf jedes einzelne Aufnahmeelement 5, 6, 7 übertragen werden können.
- Wenn ein solcher Form- oder Kraftschluss zwischen Passkern 4 und Aufnahmeelementen 5, 6, 7 beim Einschrauben gewährleistet ist, können die Aufnahmeelemente 5, 6, 7 auch ohne Verbindung untereinander in das Erdreich eingeschraubt werden, wo sie dann - unter anderem durch die Außengewinde 2 - derart verankert sind, dass sie ihre Position auch nach Entfernen des Einschraubwerkzeuges 3 nicht mehr ändern.
- Wenn die Aufnahmeelemente 5, 6, 7 mit möglichst vollflächiger Anlage an dem Passkern 4 auf diesen aufsteckbar sein sollen, muss allerdings der Innen-Querschnitt der Aufnahmeelemente 5, 6, 7 in axialer Richtung stufenlos gleichförmig gestaltet sein. Dasselbe gilt für den Außen-Querschnitt des Passkerns 4. Lediglich der konische bzw. teilkonische Bereich des kegel- oder kegelstumpfförmigen Aufnahmeelements 6 erlaubt, da dieses Aufnahmeelement 6 nur als unteres End - Element zum Einsatz kommt, eine abweichende, beispielsweise kegelförmige Gestaltung des Innen-Querschnitts und des entsprechenden Teils des Außen-Querschnitts des Passkerns 4. Auch hier empfiehlt sich dann aber zur Herstellung einer möglichst weitgehend großflächigen Kraftübertragung eine einander entsprechende - beispielsweise kegelförmige - Gestaltung der Außenkontur des Passkerns 4 und der Innenkontur des Aufnahmeelements 6, wie sie in
Figur 10 und11 gezeigt ist. -
Figur 2 zeigt die Zusammenstellung von Aufnahmeelementen 5, 6, 7 nachFigur 1 in ihrer zu einem hülsenartigen Aufnahmeteil 1 dreh, schub- und zugfest zusammengesteckten Form. -
Figur 3 zeigt einen Querschnitt durch die Zusammenstellung von Aufnahmeelementen 5, 6, 7 gemäßFigur 1 . - Dabei sind insbesondere die Rastelemente 9, 10 als Rastnuten 9 und Rastnasen 10 besser erkennbar.
- Außerdem ist hier gut erkennbar, wie die Aufnahmeelemente 5, 6, 7 in ihren Steckbereichen 11, 12 so gestaltet werden können, dass sich beim Zusammenstecken ein in axialer Richtung stufenlos gleichförmiger Innen - Querschnitt ergibt.
-
Figur 4 zeigt einen Querschnitt durch das zusammengesteckte Aufnahmeteil 1 nachFigur 2 . - Auch hier ist insbesondere die erfindungsgemäße Gestaltung der Steckbereiche 11 mit ihren Rastelementen 9, 10 in ihrer Verrastung gut erkennbar.
-
Figur 5 zeigt einen Schnitt durch ein zylindrisches Aufnahmeelement 5 mit einem Durchlass 8 mit vieleckförmiger Innenkontur zur Anpassung an einen Passkern 4 entsprechenden Außenquerschnitts. - Dabei versteht sich, dass die anderen Aufnahmeelemente 5, 6, 7 des Befestigungssystems entsprechende Durchlässe 8 vieleckförmiger Innenkontur zur Anpassung an einen Passkern entsprechenden Außenquerschnitts aufweisen sollten und dass jedes Aufnahmeelement 5, 6, 7 statt des einen auch mehrere derartige Durchlässe 8 aufweisen kann.
- Ebenso versteht sich, dass die Durchlässe 8 den freien Innen - Querschnitt der Aufnahmeelemente 5, 6, 7 definieren, in den - damit die Aufsteckbarkeit der Aufnahmeelemente 5, 6, 7 auf den Passkern gewährleistet bleibt - nichts hineinragen darf.
-
Figur 5 zeigt außerdem die Steckbereiche 11, 12 des Aufnahmeelements 5, hier in Form einer (in Einbaurichtung unteren) Querschnittsverjüngung 11 und eines oberen, unverjüngten Querschnitts 12. Der obere, unverjüngte Querschnitt 12 des bzw. eines Aufnahmeteils 5, 6, 7 erlaubt das Einstecken des entsprechend verjüngten unteren Steckbereichs 11 eines anderen Aufnahmeelements 5, 7 und der untere, verjüngte Steckbereich 11 des bzw. eines Aufnahmeelements 5, 7 erlaubt dessen Einstecken in den oberen, unverjüngten Steckbereich 12 der Aufnahmeelemente 5, 6, 7. - Selbstverständlich können verjüngter und unverjüngter Steckbereich auch gegeneinander vertauscht sein.
- Dabei versteht es sich, dass der verjüngte Steckbereich 11 in seinem Innen-Querschnitt außerhalb des Querschnitts der Durchlässe 8 bleibt, damit das Durchstecken des Passkerns 4 durch die Aufnahmeelemente 5, 6, 7 bzw. durch die Durchlässe 8 nicht behindert wird.
-
Figur 6 zeigt das zylindrische Aufnahmeelement 5 nachFigur 5 in perspektivischer Schnittdarstellung. -
Figur 7 zeigt einen Querschnitt durch das zylindrische Aufnahmeelement 5 nachFigur 5 und 6 im Bereich seines Durchlasses 8 mit Außengewinde 2, vieleckförmigem Durchlass 8, verjüngtem Steckbereich 11 und unverjüngtem Steckbereich 12. -
Figur 8 zeigt ein erfindungsgemäßes Einschraubwerkzeug 3 mit einem Passkern 4 in Form eines Sechskants, einer Handhabe 13 und mit drei darauf aufgesteckten, geschnitten dargestellten zylindrischen Aufnahmeelementen 5 mit Außengewinde 2, die je einen vieleckförmigen Durchlass 8 mit einem dem Vielkant des Passkerns 4 entsprechenden Innen-Querschnitt aufweisen. - Die Aufnahmeelemente 5 lassen ihre verjüngten Steckbereiche 11 und ihre unverjüngten Steckbereiche 12 erkennen, sind jedoch unverbunden auf den Passkern 4 aufgesteckt.
-
Figur 9 zeigt eines der zylindrischen Aufnahmeelemente nachFigur 8 , teilweise geschnitten, mit Außengewinde 2, vieleckförmigem Durchlass 8, verjüngtem Steckbereich 11 und unverjüngtem Steckbereich 12. -
Figur 10 zeigt die Zusammenstellung von Aufnahmeelementen 5, 6, 7 nachFigur 1 in der zu einem Aufnahmeteil 1 zusammengesteckten Form gemäßFigur 2 und das zugehörige Einschraubwerkzeug 3 mit Passkern 4 in perspektivischer Darstellung. Das Einschraubwerkzeug 3 hat an seinem oberen Ende eine Einstecköffnung 14 für eine Handhabe 13, einen Passkern 4, der als Achtkant mit gebrochenen Kanten nach unten in eine Kegelform 15 übergeht. Seine Form ist erkennbar der Innenkontur des Aufnahmeteils 1 sowohl im Bereich des Vielkants als auch im konischen Bereich des kegelstumpfförmigen Aufnahmeelements 6 angepasst, so dass sich beim Aufstecken des Aufnahmeteils 1 auf das gezeigte Werkzeug 3 eine weitgehend flächige Anlage des Passkerns 4 an das Aufnahmeteil 1 ergibt. Die Kegelform 15 des Passkerns 4 geht unten in einen Bohrmeißel 16 über, der aus dem aufgesteckten Aufnahmeteil nach unten herausragt und beim Einschrauben der Vorrichtung in das Erdreich das Erdreich aufbricht oder auflockert. -
Figur 11 zeigt das Einschraubwerkzeug 3 nachFigur 10 mit darauf aufgestecktem Aufnahmeteil 1 nachFigur 10 perspektivisch und teilweise geschnitten. Hier wird nicht nur die weitgehend vollflächige Anlage der Teile aneinander deutlich, sondern auch gezeigt, wie der Bohrmeißel 16 das Aufnahmeteil 1 durchdingt und nach unten daraus als Bohrspitze hervorragt. -
Figur 12 zeigt eine Einheit aus Einschraubwerkzeug 3 und darauf aufgestecktem Aufnahmeteil 1 in perspektivischer Darstellung. Das Einschraubwerkzeug 3 ist hier mit einer Handhabe 13 versehen. Sein Passkern 4 ist als Sechskant ausgebildet. Auf ihn sind die zylindrischen Aufnahmeelemente 5 aufgesteckt. Das Einschraubwerkzeug 3 durchdringt die Aufnahmeelemente 5 bzw. das aus ihnen gebildete Aufnahmeteil 1 und geht an seinem unteren, erdnahen Ende in einen kegelförmigen Bohrfortsatz 17 mit Außenwendel über. -
- 1
- hülsenartiges Aufnahmeteil
- 2
- Außengewinde
- 3
- Einschraubwerkzeug
- 4
- Formstabiler Passkern
- 5
- Zylindrisches Aufnahmeelement
- 6
- Kegel- oder kegelstumpfförmiges Aufnahmeelement
- 7
- Aufnahmeelement als oberes Abschlusselement
- 8
- Durchlässe
- 9
- Rastnuten
- 10
- Rastnasen
- 11
- Verjüngter Steckbereich
- 12
- Unverjüngter Steckbereich
- 13
- Handhabe des Einschraubwerkzeuges
- 14
- Einstecköffnung für Handhabe 13
- 15
- Kegelform des Passkerns 4
- 16
- Bohrmeißel
- 17
- Kegelförmiger Bohrfortsatz
Claims (20)
- System zum Befestigen eines stab- oder pfostenförmigen Gegenstandes im Erdboden, bestehend aus einem in den Erdboden einschraubbaren hülsenartigen Aufnahmeteil (1), das an seinem äußeren Umfang zumindest über einen Teil seiner Länge mit einem Außengewinde (2) versehen ist und das im Befestigungszustand einen Endbereich des stab- oder pfostenförmigen Gegenstandes aufnimmt und dessen Umfang zumindest abschnittsweise umgibt, und mit einem Einschraubwerkzeug (3), das einen formstabilen Passkern (4) aufweist, auf den das Aufnahmeteil (1) zum Zwecke des Einschraubens in das Erdreich drehfest aufsteckbar ist, dadurch gekennzeichnet, dass das Aufnahmeteil (1) durch drehfestes Aufstecken einer Mehrzahl hülsenartiger Aufnahmeelemente (5, 6, 7) auf dem Passkern (4) bildbar ist.
- Befestigungssystem nach Anspruch 1, gekennzeichnet durch ein Aufnahmeteil (1), das im Befestigungszustand den Endbereich des stab- oder pfostenförmigen Gegenstandes mit Abstand umgibt und ein Füllmaterial, insbesondere Sand, Split, Granulat oder ein ähnliches Schüttgut oder Beton, das den Ringraum zwischen dem Endbereich des stab- oder pfostenförmigen Gegenstandes und der Innenkontur des Aufnahmeteils (1) ausfüllt.
- Befestigungssystem nach Anspruch 1 oder 2, dadurch gekennzeichnet, dass der formstabile Passkern (4) des Einschraubwerkzeugs (3) die Innenkontur des Aufnahmeteils (1) beim Einschrauben in das Erdreich weitgehend ausfüllt und stützt, so dass ein lediglich als Schalung dienendes, dünnwandiges Aufnahmeteil (1) erst dadurch seine zum Einschrauben in den Erdboden erforderliche Formstabilität erhält und die zum Einschrauben erforderlichen Kräfte und/oder Momente möglichst großflächig auf das Aufnahmeteil (1) übertragen werden.
- Befestigungssystem nach einem der vorigen Ansprüche, dadurch gekennzeichnet, dass das Aufnahmeteil (1) aus mehreren hülsenartigen Aufnahmeelementen (5, 6) mit Außengewinde (2) bildbar ist.
- Befestigungssystem nach einem der vorigen Ansprüche, dadurch gekennzeichnet, dass das Aufnahmeteil (1) aus hülsenartigen Aufnahmeelementen (5, 6) mit Außengewinde (2) und Aufnahmeelementen ohne Außengewinde bildbar ist.
- Befestigungssystem nach einem der vorigen Ansprüche, dadurch gekennzeichnet, dass das Aufnahmeteil (1) aus einer Mehrzahl hülsenartiger Aufnahmeelemente (5) mit zylindrischer Kontur bildbar ist.
- Befestigungssystem nach einem der vorigen Ansprüche, dadurch gekennzeichnet, dass das Aufnahmeteil (1) aus mindestens einem hülsenartigen Aufnahmeelement (5) zylindrischer Kontur und einem Aufnahmeelement (6) mit in Einbaurichtung zumindest teilweise kegel-oder kegelstumpfförmig zulaufender Kontur mit Außengewinde (2) bildbar ist.
- Befestigungssystem nach einem der vorigen Ansprüche, dadurch gekennzeichnet, dass das Aufnahmeteil (1) aus einem hülsenartigen Aufnahmeelement (5) zylindrischer Kontur und/oder einem Aufnahmeelement (6) kegel- oder kegelstumpfförmiger Kontur und einem Aufnahmeelement als oberen Abschlusselement (7) mit oder ohne Außengewinde (2) bildbar ist.
- Befestigungssystem nach einem der vorigen Ansprüche, dadurch gekennzeichnet, dass die hülsenartigen Aufnahmeelemente (5, 6, 7) drehfest miteinander verbindbar sind.
- Befestigungssystem nach einem der vorigen Ansprüche, dadurch gekennzeichnet, dass die hülsenartigen Aufnahmeelemente (5, 6, 7) durch Formschluss drehfest miteinander verbindbar, insbesondere ineinander steckbar sind.
- Befestigungssystem nach einem der vorigen Ansprüche, dadurch gekennzeichnet, dass die hülsenartigen Aufnahmeelemente (5, 6, 7) schub- und zugfest miteinander verbindbar sind.
- Befestigungssystem nach einem der vorigen Ansprüche, dadurch gekennzeichnet, dass die drehfeste Aufsteckbarkeit der hülsenartigen Aufnahmeelemente (5, 6, 7) auf den Passkerns (4) durch Formschluss gewährleistet wird, beispielsweise durcha. Rippen, die innen an die Aufnahmeelemente angeformt sind, in deren Längsrichtung verlaufen und in entsprechende Längsnuten des Passkerns (4) eingreifen, oderb. Durchlässe (8), die innen axial versetzt an die Aufnahmeelemente (5, 6, 7) angeformt sind und in ihrem vieleckigen oder ähnlichen Innen-Querschnitt dem Außenquerschnitt des Passkerns (4) entsprechen, oderc. einen zumindest innen vieleckigen oder einen ähnlichen Querschnitt der Aufnahmeelemente (5, 6, 7), der dem Außenquerschnitt des Passkerns (4) entspricht.
- Befestigungssystem nach einem der vorigen Ansprüche, dadurch gekennzeichnet, dass die hülsenartigen Aufnahmeelemente (5, 6, 7) - mit Ausnahme des kegel- oder kegelstumpfförmigen Bereichs der Aufnahmeelemente (6) mit zumindest teilweise kegel- oder kegelstumpfförmiger Kontur - einen in axialer Richtung im Wesentlichen stufenlos gleichbleibenden Innenquerschnitt aufweisen.
- Befestigungssystem nach einem der vorigen Ansprüche, dadurch gekennzeichnet dass die Außenkontur des formstabilen Passkerns (4) des Einschraubwerkzeugs (3), der Innenkontur der Aufnahmeelemente (5, 6, 7) oder ihrer Durchlässe (8) entspricht.
- Befestigungssystem nach einem der vorigen Ansprüche, dadurch gekennzeichnet dass der formstabile Passkern (4) des Einschraubwerkzeugs (3) in seiner Baulänge der Höchstzahl bzw. der Höchstlänge der im praktischen Gebrauch zu einem Aufnahmeteil (1) zusammenzufügenden Aufnahmeelemente (5, 6, 7) entspricht.
- Befestigungssystem nach einem der vorigen Ansprüche, dadurch gekennzeichnet, dass die hülsenartigen Aufnahmeelemente (5, 6, 7) aus einem Kunststoff und der Passkern (4) des Einschraubwerkzeugs (3) aus einem metallenen Werkstoff, vorzugsweise aus Stahl bestehen.
- Durch drehfestes Aufstecken einer Mehrzahl von Aufnahmeelementen (5, 6, 7) auf einen Passkern (4) eines Einschraubwerkzeugs (3) bildbares, in den Erdboden einschraubbares, hülsenartiges Aufnahmeteil (1) zum Befestigen eines stab- oder pfostenförmigen Gegenstandes im Erdboden gemäß Ansprüchen 1 bis 16.
- Einschraubwerkzeug (3) für ein Befestigungssystem gemäß Ansprüchen 1 bis 17.
- Verfahren zum Befestigen eines stab- oder pfostenförmigen Gegenstandes im Erdboden nach dem System der Ansprüche 1 bis 16 mittels Aufnahmeteilen gemäß Anspruch 17 und Einschraubwerkzeug gemäß Anspruch 18 und Füllmaterial gemäß Anspruch 2 mit folgenden Schritten:a. Ermittlung der nach den Bodenverhältnisses und den statischen Erfordernissen erforderlichenaa. Artbb, Formcc. Dimensionierung der Aufnahmeelemente (5, 6, 7) bzw. des Aufnahmeteils (1)b. Wahl des entsprechenden Einschraubwerkzeugs (3)c. Wahl der entsprechenden Aufnahmeelemente (5, 6, 7)d. Aufstecken oder Zusammenstecken und Aufstecken der gewählten Aufnahmeelemente (5, 6, 7) auf den formstabilen Passkern (4) des Einschraubwerkzeugs (3)e. Einschrauben der Einheit aus Passkern (4) und darauf aufgestecktem Aufnahmeteil (1) bzw. Aufnahmeelementen (5, 6, 7) in das Erdreichf. Entfernen des Einschraubwerkzeugs (3)g. Einstellen des Endbereichs des stab- oder pfostenförmigen Gegenstandes in das Aufnahmeteil (1)
- Verfahren nach Anspruch 19 gekennzeichnet durch folgende weiteren Verfahrensschritte:a. Wahl des für das Verfüllen des Ringraumes zwischen dem Endbereich des staboder pfostenförmigen Gegenstandes und der Innenkontur des Aufnahmeteils (1) geeigneten Füllmaterials undb. Verfüllen des Spalts.
Applications Claiming Priority (1)
| Application Number | Priority Date | Filing Date | Title |
|---|---|---|---|
| DE200710027545 DE102007027545B4 (de) | 2007-06-15 | 2007-06-15 | System und Verfahren zum Befestigen eines stab- oder pfostenförmigen Gegenstandes im Erdboden mit in den Erdboden einschraubbarem mehrteiligen Aufnahmeteil |
Publications (3)
| Publication Number | Publication Date |
|---|---|
| EP2003270A2 true EP2003270A2 (de) | 2008-12-17 |
| EP2003270A3 EP2003270A3 (de) | 2014-01-22 |
| EP2003270B1 EP2003270B1 (de) | 2014-08-20 |
Family
ID=39745482
Family Applications (1)
| Application Number | Title | Priority Date | Filing Date |
|---|---|---|---|
| EP20080104331 Not-in-force EP2003270B1 (de) | 2007-06-15 | 2008-06-10 | System und Verfahren zum befestigen eines stab-oder pfostenförmigen Gegenstandes im Erdboden mit in den Erdboden einschraubbarem mehrteiligen Aufnahmeteil |
Country Status (2)
| Country | Link |
|---|---|
| EP (1) | EP2003270B1 (de) |
| DE (1) | DE102007027545B4 (de) |
Cited By (6)
| Publication number | Priority date | Publication date | Assignee | Title |
|---|---|---|---|---|
| NL2001768C2 (nl) * | 2008-07-04 | 2010-01-05 | Halil Dalkiran | Paal. |
| WO2012139149A1 (en) * | 2011-04-11 | 2012-10-18 | Smart Urban Pty Ltd | A post retainer, post retaining system and method for retaining a post at a variable depth |
| AT16568U1 (de) * | 2018-08-10 | 2019-11-15 | Purt Alexander | Bodendübelsystem |
| EP3581756A1 (de) * | 2018-06-11 | 2019-12-18 | HILTI Aktiengesellschaft | Bohrvorrichtung |
| US20210353037A1 (en) * | 2020-05-15 | 2021-11-18 | Brome Bird Care Inc. | Molded screw |
| DE102021130720B3 (de) | 2021-11-24 | 2023-03-30 | Winkelmann Powertrain Components GmbH & Co. KG. | Verfahren zur Herstellung eines Schraubfundamentes |
Families Citing this family (1)
| Publication number | Priority date | Publication date | Assignee | Title |
|---|---|---|---|---|
| DE102010043785B3 (de) * | 2010-11-11 | 2012-03-22 | Krinner Innovation Gmbh | Schraubfundament mit Abschnitten veränderlicher Durchmesser |
Citations (5)
| Publication number | Priority date | Publication date | Assignee | Title |
|---|---|---|---|---|
| DE9313258U1 (de) | 1993-09-02 | 1994-03-24 | Krinner, Klaus, 94342 Straßkirchen | Befestigungsvorrichtung für Stäbe, Pfosten, Masten o.dgl. im Erdreich |
| DE20000183U1 (de) | 2000-01-05 | 2000-07-06 | Ehler, Ingo, 59320 Ennigerloh | Metalleinschraubdübel mit aufschraubbarer Verlängerungsmuffe aus Metall |
| DE19960854A1 (de) | 1999-05-21 | 2001-03-29 | Klaus Krinner | System und Verfahren zur Befestigung eines Gegenstandes |
| DE20220515U1 (de) | 2002-06-14 | 2003-10-09 | Krinner Innovation GmbH, 94342 Straßkirchen | Befestigungsvorrichtung in der Form eines hülsenartigen Körpers für Stäbe, Pfosten, Masten o.dgl. im Erdreich |
| DE102005023465B3 (de) | 2005-05-20 | 2007-01-18 | Krinner Innovation Gmbh | Befestigungssystem zum Ausrichten und Befestigen eines stab- oder pfostenförmigen Gegenstandes im Erdboden |
Family Cites Families (10)
| Publication number | Priority date | Publication date | Assignee | Title |
|---|---|---|---|---|
| FR2378198A1 (fr) * | 1977-01-20 | 1978-08-18 | Tardieu Andre | Vis a sol |
| GB9212936D0 (en) * | 1992-06-18 | 1992-07-29 | Elle Holdings Limited Van | Pile |
| DE10122789A1 (de) * | 2001-05-10 | 2002-11-28 | Gerhard Blome-Tillmann | Haltevorrichtung für zumindest abschnittsweise rohr- oder stabförmige Gegenstände |
| DE10214083A1 (de) * | 2002-03-28 | 2003-10-16 | Krinner Innovation Gmbh | Befestigungssystem für stabförmige Bauteile |
| DE20304257U1 (de) * | 2003-03-17 | 2003-05-22 | Hsu, Shih Hao, Bi Tou Hsiang, Changhua | Bodenanker mit Montageaufbau |
| DE20312771U1 (de) * | 2003-08-19 | 2003-11-06 | Wüster, Heinrich, Ing., Imst, Tirol | Bodenanker |
| JP2005061134A (ja) * | 2003-08-19 | 2005-03-10 | Traverse:Kk | 鋼管杭 |
| US7037045B2 (en) * | 2003-10-06 | 2006-05-02 | Jones Robert L | Modular tubular helical piering system |
| JP4498798B2 (ja) * | 2004-03-30 | 2010-07-07 | 大和ハウス工業株式会社 | 伸長杭並びにそれを用いた杭の打込み構造及び打込み方法 |
| JP2006207287A (ja) * | 2005-01-28 | 2006-08-10 | Atsushi Nakaya | 螺旋杭と杭打ち法 |
-
2007
- 2007-06-15 DE DE200710027545 patent/DE102007027545B4/de not_active Expired - Fee Related
-
2008
- 2008-06-10 EP EP20080104331 patent/EP2003270B1/de not_active Not-in-force
Patent Citations (5)
| Publication number | Priority date | Publication date | Assignee | Title |
|---|---|---|---|---|
| DE9313258U1 (de) | 1993-09-02 | 1994-03-24 | Krinner, Klaus, 94342 Straßkirchen | Befestigungsvorrichtung für Stäbe, Pfosten, Masten o.dgl. im Erdreich |
| DE19960854A1 (de) | 1999-05-21 | 2001-03-29 | Klaus Krinner | System und Verfahren zur Befestigung eines Gegenstandes |
| DE20000183U1 (de) | 2000-01-05 | 2000-07-06 | Ehler, Ingo, 59320 Ennigerloh | Metalleinschraubdübel mit aufschraubbarer Verlängerungsmuffe aus Metall |
| DE20220515U1 (de) | 2002-06-14 | 2003-10-09 | Krinner Innovation GmbH, 94342 Straßkirchen | Befestigungsvorrichtung in der Form eines hülsenartigen Körpers für Stäbe, Pfosten, Masten o.dgl. im Erdreich |
| DE102005023465B3 (de) | 2005-05-20 | 2007-01-18 | Krinner Innovation Gmbh | Befestigungssystem zum Ausrichten und Befestigen eines stab- oder pfostenförmigen Gegenstandes im Erdboden |
Cited By (10)
| Publication number | Priority date | Publication date | Assignee | Title |
|---|---|---|---|---|
| NL2001768C2 (nl) * | 2008-07-04 | 2010-01-05 | Halil Dalkiran | Paal. |
| WO2012139149A1 (en) * | 2011-04-11 | 2012-10-18 | Smart Urban Pty Ltd | A post retainer, post retaining system and method for retaining a post at a variable depth |
| EP3581756A1 (de) * | 2018-06-11 | 2019-12-18 | HILTI Aktiengesellschaft | Bohrvorrichtung |
| WO2019238411A1 (de) * | 2018-06-11 | 2019-12-19 | Hilti Aktiengesellschaft | Bohrvorrichtung |
| US11525308B2 (en) | 2018-06-11 | 2022-12-13 | Hilti Aktiengesellschaft | Drilling device |
| AT16568U1 (de) * | 2018-08-10 | 2019-11-15 | Purt Alexander | Bodendübelsystem |
| US20210353037A1 (en) * | 2020-05-15 | 2021-11-18 | Brome Bird Care Inc. | Molded screw |
| US11930912B2 (en) * | 2020-05-15 | 2024-03-19 | Brome Bird Care Inc. | Molded screw |
| DE102021130720B3 (de) | 2021-11-24 | 2023-03-30 | Winkelmann Powertrain Components GmbH & Co. KG. | Verfahren zur Herstellung eines Schraubfundamentes |
| WO2023094395A1 (de) | 2021-11-24 | 2023-06-01 | Winkelmann Powertrain Components Gmbh & Co. Kg | Verfahren zur herstellung eines schraubfundamentes |
Also Published As
| Publication number | Publication date |
|---|---|
| EP2003270B1 (de) | 2014-08-20 |
| EP2003270A3 (de) | 2014-01-22 |
| DE102007027545B4 (de) | 2014-07-03 |
| DE102007027545A1 (de) | 2008-12-24 |
Similar Documents
| Publication | Publication Date | Title |
|---|---|---|
| DE69837524T2 (de) | Verfahren zur Herstellung einer Verankerung, Verankerungsteil und Spannelement zu diesem Zweck | |
| EP2003270B1 (de) | System und Verfahren zum befestigen eines stab-oder pfostenförmigen Gegenstandes im Erdboden mit in den Erdboden einschraubbarem mehrteiligen Aufnahmeteil | |
| DE19607972C1 (de) | Vorrichtung zur befestigenden Aufnahme eines stabförmigen Gegenstandes, z. B. eines Pfostens | |
| DE19923080A1 (de) | Maueranker zum Bewehren und/oder Sichern von Mauern | |
| DE102007052321A1 (de) | Anordnung und Verfahren zur Befestigung eines Gegenstandes | |
| DE202008010913U1 (de) | Schraubfundamentsystem mit aushärtbarer Füllmasse | |
| WO2014170339A1 (de) | Verschlussstopfen für durchgangslöcher in betonerzeugnissen | |
| DE69032252T2 (de) | Verankerung und befestigungsverfahren durch in den boden getriebene seitenstützen | |
| DE202013102352U1 (de) | Halterungssystem mit Bodendübel und multifunktionaler Eindrehhilfe | |
| DE102005023465B3 (de) | Befestigungssystem zum Ausrichten und Befestigen eines stab- oder pfostenförmigen Gegenstandes im Erdboden | |
| DE102005045574A1 (de) | Drehfundament zur Verankerung im Erdboden | |
| DE202019100898U1 (de) | Wanddübel für ein Betonfertigteil | |
| EP1724416A2 (de) | Fundamentsysteme zum befestigen eines stab- oder pfostenförmigen gegenstandes im erdboden und hülsenartiges aufnahmeteil dafür | |
| EP2324172B1 (de) | Fundamentsystem zum ausrichten und befestigen eines stabförmigen gegenstandes im erdboden | |
| DE102008037937A1 (de) | Fundamentsystem zum Ausrichten und Befestigen eines stab- oder pfostenförmigen Gegenstandes im Erdboden sowie Verfahren zum Einbringen eines Kunststoffschraubfundaments in den Erdboden | |
| DE10142399C2 (de) | Befestigungseinrichtung für eine rohrförmige Stange und Verwendung der Befestigungseinrichtung zum Aufstellen von Fahnenmasten | |
| DE102021134573A1 (de) | Befestigungselement, insbesondere für Solarpanele | |
| DE202010007006U1 (de) | Modulare Beschilderungsvorrichtung mit einer variierbaren Anzahl von Wegweiserfahnen | |
| EP1985770A2 (de) | Verfahren zur Herstellung einer Befestigung von Bauteilen an Beton | |
| DE20118703U1 (de) | Vorrichtung zum Verankern eines stabförmigen Gegenstandes im Erdreich | |
| EP0542692A1 (de) | Vorrichtung zur Verankerung von Bauteilen im Erdreich | |
| DE102022119896A1 (de) | Befestigungselement mit Einsatzelement, insbesondere für Solarpanele | |
| EP1975345A2 (de) | Fundamenteinrichtung für im Erdreich zu verankernde Bauteile | |
| DE69500260T2 (de) | Vorrichtung zur Immobilisierung eines glatten, langgestreckten Teils im Loch eines Elements, Anwendungen einer solchen Vorrichtung sowie Herstellungsverfahren eines diese Vorrichtung enthaltenden Formkörpers | |
| DE202007015245U1 (de) | Anordnung zur Befestigung eines Gegenstandes |
Legal Events
| Date | Code | Title | Description |
|---|---|---|---|
| PUAI | Public reference made under article 153(3) epc to a published international application that has entered the european phase |
Free format text: ORIGINAL CODE: 0009012 |
|
| 17P | Request for examination filed |
Effective date: 20080610 |
|
| AK | Designated contracting states |
Kind code of ref document: A2 Designated state(s): AT BE BG CH CY CZ DE DK EE ES FI FR GB GR HR HU IE IS IT LI LT LU LV MC MT NL NO PL PT RO SE SI SK TR |
|
| AX | Request for extension of the european patent |
Extension state: AL BA MK RS |
|
| PUAL | Search report despatched |
Free format text: ORIGINAL CODE: 0009013 |
|
| AK | Designated contracting states |
Kind code of ref document: A3 Designated state(s): AT BE BG CH CY CZ DE DK EE ES FI FR GB GR HR HU IE IS IT LI LT LU LV MC MT NL NO PL PT RO SE SI SK TR |
|
| AX | Request for extension of the european patent |
Extension state: AL BA MK RS |
|
| RIC1 | Information provided on ipc code assigned before grant |
Ipc: E04H 12/22 20060101AFI20131217BHEP Ipc: E02D 5/80 20060101ALI20131217BHEP |
|
| GRAP | Despatch of communication of intention to grant a patent |
Free format text: ORIGINAL CODE: EPIDOSNIGR1 |
|
| RIC1 | Information provided on ipc code assigned before grant |
Ipc: E04H 12/22 20060101AFI20140331BHEP Ipc: E02D 5/80 20060101ALI20140331BHEP |
|
| INTG | Intention to grant announced |
Effective date: 20140422 |
|
| GRAS | Grant fee paid |
Free format text: ORIGINAL CODE: EPIDOSNIGR3 |
|
| GRAA | (expected) grant |
Free format text: ORIGINAL CODE: 0009210 |
|
| AK | Designated contracting states |
Kind code of ref document: B1 Designated state(s): AT BE BG CH CY CZ DE DK EE ES FI FR GB GR HR HU IE IS IT LI LT LU LV MC MT NL NO PL PT RO SE SI SK TR |
|
| REG | Reference to a national code |
Ref country code: GB Ref legal event code: FG4D Free format text: NOT ENGLISH |
|
| REG | Reference to a national code |
Ref country code: CH Ref legal event code: EP |
|
| REG | Reference to a national code |
Ref country code: AT Ref legal event code: REF Ref document number: 683573 Country of ref document: AT Kind code of ref document: T Effective date: 20140915 |
|
| AKX | Designation fees paid |
Designated state(s): AT BE BG CH CY CZ DE DK EE ES FI FR GB GR HR HU IE IS IT LI LT LU LV MC MT NL NO PL PT RO SE SI SK TR |
|
| REG | Reference to a national code |
Ref country code: IE Ref legal event code: FG4D Free format text: LANGUAGE OF EP DOCUMENT: GERMAN |
|
| REG | Reference to a national code |
Ref country code: DE Ref legal event code: R096 Ref document number: 502008012126 Country of ref document: DE Effective date: 20141002 |
|
| REG | Reference to a national code |
Ref country code: NL Ref legal event code: VDEP Effective date: 20140820 |
|
| REG | Reference to a national code |
Ref country code: LT Ref legal event code: MG4D |
|
| PG25 | Lapsed in a contracting state [announced via postgrant information from national office to epo] |
Ref country code: FI Free format text: LAPSE BECAUSE OF FAILURE TO SUBMIT A TRANSLATION OF THE DESCRIPTION OR TO PAY THE FEE WITHIN THE PRESCRIBED TIME-LIMIT Effective date: 20140820 Ref country code: PT Free format text: LAPSE BECAUSE OF FAILURE TO SUBMIT A TRANSLATION OF THE DESCRIPTION OR TO PAY THE FEE WITHIN THE PRESCRIBED TIME-LIMIT Effective date: 20141222 Ref country code: BG Free format text: LAPSE BECAUSE OF FAILURE TO SUBMIT A TRANSLATION OF THE DESCRIPTION OR TO PAY THE FEE WITHIN THE PRESCRIBED TIME-LIMIT Effective date: 20141120 Ref country code: ES Free format text: LAPSE BECAUSE OF FAILURE TO SUBMIT A TRANSLATION OF THE DESCRIPTION OR TO PAY THE FEE WITHIN THE PRESCRIBED TIME-LIMIT Effective date: 20140820 Ref country code: SE Free format text: LAPSE BECAUSE OF FAILURE TO SUBMIT A TRANSLATION OF THE DESCRIPTION OR TO PAY THE FEE WITHIN THE PRESCRIBED TIME-LIMIT Effective date: 20140820 Ref country code: LT Free format text: LAPSE BECAUSE OF FAILURE TO SUBMIT A TRANSLATION OF THE DESCRIPTION OR TO PAY THE FEE WITHIN THE PRESCRIBED TIME-LIMIT Effective date: 20140820 Ref country code: NO Free format text: LAPSE BECAUSE OF FAILURE TO SUBMIT A TRANSLATION OF THE DESCRIPTION OR TO PAY THE FEE WITHIN THE PRESCRIBED TIME-LIMIT Effective date: 20141120 |
|
| PG25 | Lapsed in a contracting state [announced via postgrant information from national office to epo] |
Ref country code: LV Free format text: LAPSE BECAUSE OF FAILURE TO SUBMIT A TRANSLATION OF THE DESCRIPTION OR TO PAY THE FEE WITHIN THE PRESCRIBED TIME-LIMIT Effective date: 20140820 Ref country code: HR Free format text: LAPSE BECAUSE OF FAILURE TO SUBMIT A TRANSLATION OF THE DESCRIPTION OR TO PAY THE FEE WITHIN THE PRESCRIBED TIME-LIMIT Effective date: 20140820 Ref country code: IS Free format text: LAPSE BECAUSE OF FAILURE TO SUBMIT A TRANSLATION OF THE DESCRIPTION OR TO PAY THE FEE WITHIN THE PRESCRIBED TIME-LIMIT Effective date: 20141220 |
|
| PG25 | Lapsed in a contracting state [announced via postgrant information from national office to epo] |
Ref country code: NL Free format text: LAPSE BECAUSE OF FAILURE TO SUBMIT A TRANSLATION OF THE DESCRIPTION OR TO PAY THE FEE WITHIN THE PRESCRIBED TIME-LIMIT Effective date: 20140820 |
|
| PG25 | Lapsed in a contracting state [announced via postgrant information from national office to epo] |
Ref country code: EE Free format text: LAPSE BECAUSE OF FAILURE TO SUBMIT A TRANSLATION OF THE DESCRIPTION OR TO PAY THE FEE WITHIN THE PRESCRIBED TIME-LIMIT Effective date: 20140820 Ref country code: RO Free format text: LAPSE BECAUSE OF FAILURE TO SUBMIT A TRANSLATION OF THE DESCRIPTION OR TO PAY THE FEE WITHIN THE PRESCRIBED TIME-LIMIT Effective date: 20140820 Ref country code: DK Free format text: LAPSE BECAUSE OF FAILURE TO SUBMIT A TRANSLATION OF THE DESCRIPTION OR TO PAY THE FEE WITHIN THE PRESCRIBED TIME-LIMIT Effective date: 20140820 Ref country code: CZ Free format text: LAPSE BECAUSE OF FAILURE TO SUBMIT A TRANSLATION OF THE DESCRIPTION OR TO PAY THE FEE WITHIN THE PRESCRIBED TIME-LIMIT Effective date: 20140820 Ref country code: SK Free format text: LAPSE BECAUSE OF FAILURE TO SUBMIT A TRANSLATION OF THE DESCRIPTION OR TO PAY THE FEE WITHIN THE PRESCRIBED TIME-LIMIT Effective date: 20140820 Ref country code: IT Free format text: LAPSE BECAUSE OF FAILURE TO SUBMIT A TRANSLATION OF THE DESCRIPTION OR TO PAY THE FEE WITHIN THE PRESCRIBED TIME-LIMIT Effective date: 20140820 |
|
| REG | Reference to a national code |
Ref country code: DE Ref legal event code: R097 Ref document number: 502008012126 Country of ref document: DE |
|
| PG25 | Lapsed in a contracting state [announced via postgrant information from national office to epo] |
Ref country code: PL Free format text: LAPSE BECAUSE OF FAILURE TO SUBMIT A TRANSLATION OF THE DESCRIPTION OR TO PAY THE FEE WITHIN THE PRESCRIBED TIME-LIMIT Effective date: 20140820 |
|
| PLBE | No opposition filed within time limit |
Free format text: ORIGINAL CODE: 0009261 |
|
| STAA | Information on the status of an ep patent application or granted ep patent |
Free format text: STATUS: NO OPPOSITION FILED WITHIN TIME LIMIT |
|
| 26N | No opposition filed |
Effective date: 20150521 |
|
| PG25 | Lapsed in a contracting state [announced via postgrant information from national office to epo] |
Ref country code: SI Free format text: LAPSE BECAUSE OF FAILURE TO SUBMIT A TRANSLATION OF THE DESCRIPTION OR TO PAY THE FEE WITHIN THE PRESCRIBED TIME-LIMIT Effective date: 20140820 |
|
| REG | Reference to a national code |
Ref country code: DE Ref legal event code: R119 Ref document number: 502008012126 Country of ref document: DE |
|
| PG25 | Lapsed in a contracting state [announced via postgrant information from national office to epo] |
Ref country code: MC Free format text: LAPSE BECAUSE OF FAILURE TO SUBMIT A TRANSLATION OF THE DESCRIPTION OR TO PAY THE FEE WITHIN THE PRESCRIBED TIME-LIMIT Effective date: 20140820 |
|
| REG | Reference to a national code |
Ref country code: CH Ref legal event code: PL |
|
| GBPC | Gb: european patent ceased through non-payment of renewal fee |
Effective date: 20150610 |
|
| PG25 | Lapsed in a contracting state [announced via postgrant information from national office to epo] |
Ref country code: LU Free format text: LAPSE BECAUSE OF FAILURE TO SUBMIT A TRANSLATION OF THE DESCRIPTION OR TO PAY THE FEE WITHIN THE PRESCRIBED TIME-LIMIT Effective date: 20150610 |
|
| REG | Reference to a national code |
Ref country code: IE Ref legal event code: MM4A |
|
| REG | Reference to a national code |
Ref country code: FR Ref legal event code: ST Effective date: 20160229 |
|
| PG25 | Lapsed in a contracting state [announced via postgrant information from national office to epo] |
Ref country code: DE Free format text: LAPSE BECAUSE OF NON-PAYMENT OF DUE FEES Effective date: 20160101 Ref country code: GB Free format text: LAPSE BECAUSE OF NON-PAYMENT OF DUE FEES Effective date: 20150610 Ref country code: CH Free format text: LAPSE BECAUSE OF NON-PAYMENT OF DUE FEES Effective date: 20150630 Ref country code: LI Free format text: LAPSE BECAUSE OF NON-PAYMENT OF DUE FEES Effective date: 20150630 Ref country code: IE Free format text: LAPSE BECAUSE OF NON-PAYMENT OF DUE FEES Effective date: 20150610 |
|
| PG25 | Lapsed in a contracting state [announced via postgrant information from national office to epo] |
Ref country code: FR Free format text: LAPSE BECAUSE OF NON-PAYMENT OF DUE FEES Effective date: 20150630 |
|
| REG | Reference to a national code |
Ref country code: AT Ref legal event code: MM01 Ref document number: 683573 Country of ref document: AT Kind code of ref document: T Effective date: 20150610 |
|
| PG25 | Lapsed in a contracting state [announced via postgrant information from national office to epo] |
Ref country code: AT Free format text: LAPSE BECAUSE OF NON-PAYMENT OF DUE FEES Effective date: 20150610 |
|
| PG25 | Lapsed in a contracting state [announced via postgrant information from national office to epo] |
Ref country code: MT Free format text: LAPSE BECAUSE OF FAILURE TO SUBMIT A TRANSLATION OF THE DESCRIPTION OR TO PAY THE FEE WITHIN THE PRESCRIBED TIME-LIMIT Effective date: 20140820 |
|
| PG25 | Lapsed in a contracting state [announced via postgrant information from national office to epo] |
Ref country code: HU Free format text: LAPSE BECAUSE OF FAILURE TO SUBMIT A TRANSLATION OF THE DESCRIPTION OR TO PAY THE FEE WITHIN THE PRESCRIBED TIME-LIMIT; INVALID AB INITIO Effective date: 20080610 |
|
| PG25 | Lapsed in a contracting state [announced via postgrant information from national office to epo] |
Ref country code: CY Free format text: LAPSE BECAUSE OF FAILURE TO SUBMIT A TRANSLATION OF THE DESCRIPTION OR TO PAY THE FEE WITHIN THE PRESCRIBED TIME-LIMIT Effective date: 20140820 Ref country code: GR Free format text: LAPSE BECAUSE OF FAILURE TO SUBMIT A TRANSLATION OF THE DESCRIPTION OR TO PAY THE FEE WITHIN THE PRESCRIBED TIME-LIMIT Effective date: 20140820 |
|
| PG25 | Lapsed in a contracting state [announced via postgrant information from national office to epo] |
Ref country code: BE Free format text: LAPSE BECAUSE OF NON-PAYMENT OF DUE FEES Effective date: 20150630 |
|
| PG25 | Lapsed in a contracting state [announced via postgrant information from national office to epo] |
Ref country code: TR Free format text: LAPSE BECAUSE OF FAILURE TO SUBMIT A TRANSLATION OF THE DESCRIPTION OR TO PAY THE FEE WITHIN THE PRESCRIBED TIME-LIMIT Effective date: 20140820 |