EP1982945A1 - Brems- bzw. Fangeinrichtung mit teilweise auf Bronzebelag laufender Rolle und schräg stehender Reibfläche - Google Patents

Brems- bzw. Fangeinrichtung mit teilweise auf Bronzebelag laufender Rolle und schräg stehender Reibfläche Download PDF

Info

Publication number
EP1982945A1
EP1982945A1 EP07007905A EP07007905A EP1982945A1 EP 1982945 A1 EP1982945 A1 EP 1982945A1 EP 07007905 A EP07007905 A EP 07007905A EP 07007905 A EP07007905 A EP 07007905A EP 1982945 A1 EP1982945 A1 EP 1982945A1
Authority
EP
European Patent Office
Prior art keywords
braking
roller
pressure body
catching device
guide rail
Prior art date
Legal status (The legal status is an assumption and is not a legal conclusion. Google has not performed a legal analysis and makes no representation as to the accuracy of the status listed.)
Granted
Application number
EP07007905A
Other languages
English (en)
French (fr)
Other versions
EP1982945B9 (de
EP1982945B1 (de
Inventor
Karl Kriener
Karl Sturmlechner
Franz Grubner
Current Assignee (The listed assignees may be inaccurate. Google has not performed a legal analysis and makes no representation or warranty as to the accuracy of the list.)
Wittur Holding GmbH
Original Assignee
Wittur Holding GmbH
Priority date (The priority date is an assumption and is not a legal conclusion. Google has not performed a legal analysis and makes no representation as to the accuracy of the date listed.)
Filing date
Publication date
Priority to ES07007905T priority Critical patent/ES2353979T3/es
Application filed by Wittur Holding GmbH filed Critical Wittur Holding GmbH
Priority to AT07007905T priority patent/ATE486811T1/de
Priority to DE502007005550T priority patent/DE502007005550D1/de
Priority to EP07007905A priority patent/EP1982945B9/de
Priority to PCT/EP2008/003034 priority patent/WO2008128689A2/de
Priority to RU2009137552/11A priority patent/RU2438961C2/ru
Priority to CN200880012697.7A priority patent/CN101663221B/zh
Publication of EP1982945A1 publication Critical patent/EP1982945A1/de
Application granted granted Critical
Publication of EP1982945B1 publication Critical patent/EP1982945B1/de
Publication of EP1982945B9 publication Critical patent/EP1982945B9/de
Active legal-status Critical Current
Anticipated expiration legal-status Critical

Links

Images

Classifications

    • BPERFORMING OPERATIONS; TRANSPORTING
    • B66HOISTING; LIFTING; HAULING
    • B66BELEVATORS; ESCALATORS OR MOVING WALKWAYS
    • B66B5/00Applications of checking, fault-correcting, or safety devices in elevators
    • B66B5/02Applications of checking, fault-correcting, or safety devices in elevators responsive to abnormal operating conditions
    • B66B5/16Braking or catch devices operating between cars, cages, or skips and fixed guide elements or surfaces in hoistway or well
    • B66B5/18Braking or catch devices operating between cars, cages, or skips and fixed guide elements or surfaces in hoistway or well and applying frictional retarding forces
    • B66B5/22Braking or catch devices operating between cars, cages, or skips and fixed guide elements or surfaces in hoistway or well and applying frictional retarding forces by means of linearly-movable wedges

Definitions

  • the invention relates to a braking or catching device for an elevator car, which is stirred in a shaft along vertical guide rails.
  • the braking or catching device uses a provided with a friction roller as a brake body. Once activated, this role is drawn into a gap. In this case, the friction generating pressure is always greater, the further the role is drawn into the gap in the direction of its final position.
  • Elevator car or car is used here and in the following as a collective term and includes both conventional combinations of cabins or load carriers or platforms of all kinds, which are supported by a car frame, as well as car frame-less constructions.
  • Braking or catching devices on elevators serve to lift an elevator car in the event of an uncontrolled driving condition or an impermissibly high driving speed, such as they z. B. in case of malfunction of the controller or a drive or its brake and a rope break may occur, decelerate.
  • a corresponding brake catch device is known, for example, from the European patent application EP 0 841 280 A1 known.
  • the proposed by said patent application brake catcher is of modern design, it comes with only a few components. Unlike the older brake catcher devices from the prior art, it requires no additional screw or disc springs to specify a defined course of the braking force up to the cabin catch. Instead, the intended for mounting on the elevator car and the brake roller overlapping housing of the brake catcher (hereinafter: the pressure body) is designed here so that it exerts itself a defined spring action.
  • the pressure body with activated brake on the one hand possibly with the interposition of a friction lining presses directly on the guide rail and presses on the other side indirectly via the brake roller on the guide rail.
  • the current braking forces are correspondingly higher.
  • This spring effect together with the corresponding layout of the groove or gap, where the brake roller runs under high friction, to the fact that sets the desired, defined braking effect.
  • a major advantage of this known brake catcher is in particular that its special design already largely counteracts home misalignment between the guide rail and the braking surface. Therefore, the use causes d. H. the activation of this brake catcher, only a slight wear on the guide rail. The brake catcher itself is only subject to low wear.
  • the tribological conditions are overall (and thus the entire sliding behavior, including that in the steel pairing) significantly improved by the fact that the gap is provided on the side of the pressure hull in the region of its end position locally with a fitting of bearing material, which is designed and arranged in that, in its final position, the roller partly slides on the bearing material and partly on the i. d. R. harder material of the rest of the sliding surface providing pressure hull.
  • This remaining sliding surface need not necessarily be an integral part of the pressure hull. Instead, it may also be another fitting that is attached to the pressure body.
  • a fitting advantageously (but not necessarily) means a separate, attached to the pressure body component. Rather, in principle, sprues or otherwise thick coatings are covered. However, the best results can be achieved by means of a component that is fastened separately and / or permanently to the pressure body and serves as a fitting. This is because the easiest way to provide for a bearing made of bearing material, which has the required thickness and abrasion resistance in said manner.
  • the fitting consists of a non-ferrous metal.
  • Non-ferrous metals have the required tribological properties.
  • a non-ferrous metal is selected that can withstand high pressures.
  • Such a non-ferrous metal is for example bearing bronze.
  • the pressure body (or the additional fitting on which the roller next to the lining of bearing material glides) is made of tempered steel, instead of spring steel. This brings significant advantages in the machining of the pressure hull, because spring steel can only be machined extremely bad.
  • the role carries by their sliding on the bearing material or the fitting of bearing material intended from bearing material and drags the worn bearing material in the area in which the roller slides on the pressure body, d. H.
  • the steel surface is provided with non-ferrous metal particles.
  • a profiling in particular a profiling in the form of a knurl.
  • the purpose of such a profiling is to influence the friction conditions in such a way that it is always ensured that the roll substantially rolls both on the guide rail and on the pressure body in the phase in which it is progressively drawn deeper into the gap. and does not slide appreciably.
  • the role reliably reaches its final position.
  • said profiling ensures that the roll still rolls on the guide rail when it has reached its final position. This is the only way to ensure that the effect according to the invention occurs.
  • the knurl is designed so that between the guide rail and the role actually to real stiction or a combination of static friction and possibly positive fit in the area of the knurling tips, so that the roll rolls completely on the guide rail.
  • the fitting consists of a bolt of a suitable bearing material, which is rotationally held in a corresponding receiving bore of the pressure hull.
  • both the bolt and the receiving bore assigned to it are milled or ground over, at least in the region in which the roller slides as intended on the bolt. This is done by first inserting the bolt into the bore, even before the contour has been milled or ground, which determines the contact between the pressure body and its fitting from the bearing material determined in the role. The milling or grinding process takes place afterwards. In this way, the fitting of the bearing material can be easily and very firmly connected to the pressure hull. Under a bolt is preferably understood round material.
  • a four-, six- or multi-bolt is conceivable in principle, but de praxi actually rather a Theoretikum, as in the pressure body much easier a corresponding round recording for the bolt can be incorporated, as a four- or more-edged.
  • the stop that limits the path that the roller is pulled into the gap and thus each defines an end position for the role, designed so that the material removal at the fitting of the bearing material is at least partially compensated by the fact that the role can be pulled further into the gap between the pressure hull and the guide rail, when the fitting of the bearing material is noticeably worn.
  • the groove used in said embodiment is designed such that the friction surface or knurl of the roll in the end position still has the corresponding clearance with respect to the pressure body. if the fitting is a little worn and thereby provides over the shoulders of the role of an end position for the role, which no longer corresponds to their original end position.
  • the gap-forming portion of the pressure body has a groove for receiving the provided for contact with the guide rail friction surface of the roller.
  • the groove is designed so that when the roller is in its final position, play between the friction surface (the largest circumference) of the roller and the groove, so that the friction surface has no or no significant contact with the pressure body and its fitting and the role pressure body side, at least substantially only by the sliding friction between the i. d. R. smooth shoulders and the pressure body and the fitting is braked.
  • the inclined surface can be both the counter-pressure surface (preferred) and the surface on the roller that comes into contact with the guide rail as intended.
  • the key advantage of the invention is that the pressure and the static or sliding friction forces, and the heat generated thereby, spread over a larger area, especially in the phase of maximum delay and load, which increases the risk of localized flow, burning or Welding and wear of the friction surfaces and damage to the corresponding surfaces of the guide rails significantly reduced.
  • the mobility required for the alignment of the inclined surface is produced by the fact that the inclined surface moves in the course of the elastic expansion of the base body together with the corresponding leg of the body relative to the associated functional surface of the guide rail. This is achieved by not only moving towards the guide rail, but also performing a rotational movement relative to the guide rail in the resultant.
  • no plate or coil springs are installed in the brake or catching device according to the invention. Because such springs are not only a cost factor, but are also a potential source of error - especially in coil springs spring breaks are never completely ruled out, especially when coupled to packages disc springs sliding and static friction influences occur during compression, which under unfavorable circumstances noticeable irregularities or deviations can occur in the reproducibility.
  • Fig. 2 how out Fig. 2 can be seen, the guide rails 2 a connected via a web 6 with a rail foot 7 rail head 8, which the active surfaces of the guide rail forms, with which the braking or catching device according to the invention interacts after activation.
  • a braking member in the form of a roller 9 is provided, which is close to its two lateral end faces (see Fig. 1 ) is provided with shoulders 11.
  • the outermost lateral surface of the roller 9 serves as a friction surface 12.
  • it is provided with a knurling or with a different profiling. The latter serves to reliably pull the roller (9) into the gap or roll it in until the roller (9) reaches its end position.
  • the knurl also ensures that in the end position of the role at least no significant sliding between the roller (9) and the guide rail (2) occurs, but rolls the role on the guide rail.
  • the Fig. 2 shows a braking or catching device 14 according to the invention in a horizontal section.
  • the braking or catching device has a pressure body 19, which essentially corresponds to a U-profile, but u. U. could also have the cross section of a slotted circular or elliptical profile. Decisive is that the two legs 16, 17 in the region of their free ends, the guide rail 2 include.
  • the pressure body 19 on its leg 16 on a gap-forming portion 20a which together with the corresponding guide rail forms a gap 20 in intended mounted braking device 14, in which the roller 9 is guided.
  • the gap-forming portion 20a has a groove 21, which receives the friction surface 12 (see Fig.
  • the pressure hull consists of a suitable tempering steel, as it is used for the production of screw and disc springs. Which tempering steels have hitherto been used for screw and disc springs is known to the person skilled in the art.
  • the inventively necessary spring action is achieved by suitable design of the base body 19 as a U-profile or the like. Unlike spring steel, such tempered steel can be machined very easily.
  • the roller 9 is rotatable on a z.
  • axis 22 which, as of Fig. 3 illustrated, an opening 23 in the leg 16 (or in an attachment of the leg in the form of a holding plate 18) passes through and is held in a holder 25.
  • the gap 20 is essentially limited on the one hand by the guide rail and on the other hand by the gap-forming portion 20a of the pressure hull.
  • the contour of the gap-forming portion 20a corresponds to one of Fig. 8 shown contours. Each of these selectable contours corresponds to a specific response characteristic and a maximum achievable braking friction.
  • a preferably V-shaped contoured locking surface 31 is provided between the up-driving and down-driving portions of the gap-forming portion in the embodiments of FIG Fig. 3b and 7 .
  • This is designed so that the roller 9 (despite the inevitable friction influences) is retracted and held in almost always the same position at re-deactivation. This ensures z. B. a corresponding return spring, about as, as of the Fig. 3 and 7 shown.
  • Fig. 3 or 3b shown embodiment uses a pivotable holder 25, which holds the role in rest position and possibly the movement of the role in the gap participates, as in detail in the prepublished international application WO 2006/077243 A1 which is referred to herein to avoid repetition, as to the pivotal holder or mechanism which serves to initiate the braking by bringing the roller into contact with the guide rail from the rest position and the roller later returns to their rest position.
  • Fig. 4 differs from that of the Fig. 3 . 3b and 7 Shown by the fact that it acts only unidirectionally and - as shown here - is primarily intended for the mechanical release by a fastened to the axis 22vonsbegrenzerseil. Both are optionally possible in all other embodiments.
  • Said holder 25 is surrounded by a spring 28, which is designed as a compression spring and biases the roller 9 in the direction of the guide rail 2.
  • This spring 28 counteracts a Soleniod (not shown), which is controlled by an electronic unit, not shown here, which is housed in the elevator shaft from which, if necessary, at least parts can also be installed cabin-fixed.
  • the solenoid is de-energized when the braking or catching device should respond because either an emergency, ie an overspeed exists, or u. U. also because the elevator car is to be set in regular operation, z.
  • the spring 28 moves the holder 25 and thus the roller 9 against the guide rail 2, so that this with its friction surface 12 (see Fig. 1 ) on the guide rail 2 (see Fig. 3 ) comes to the plant. It is thereby rotated, but also moved translationally relative to the pressure body 19. Namely, such that it soon not only touches the guide rail 2, but also the rear side, the groove 21, or, more precisely, the bottom of the groove 21st
  • the roller 9 rotates clockwise (as viewed in FIG Fig. 3 ).
  • the roller 9 once it has come back into contact with the bottom of the groove 21, with its friction surface or knurl 12 on the one hand on the guide rail 2 and on the other hand on the bottom of the groove 21.
  • the roller 9 is getting deeper pulled into the wedge-shaped narrowing gap 20.
  • the friction or contact conditions change on the role.
  • the groove 21 is now so deep that the friction surface or knurl 12 loses contact with the bottom of the groove and the roller 9 rests on the pressure body side only with their shoulders 11 on the pressure body 19.
  • the friction surface or knurl 12 has at least substantially clearance and the braking or catching friction is produced at least predominantly by the sliding of the shoulders 11 on the pressure body 19 or the fitting 33.
  • the shoulders 11 predetermine the end position of the roll by pressing on the side of the press against a surface which is so steep that the roll can not be pulled further into the gap.
  • the decisive first aspect of the invention in this context is in Fig. 3b to recognize.
  • the pressure body 19 is provided with a fitting 33 of bearing metal, here in the form of bearing bronze. This is arranged and designed so that the shoulders 11 slide in the end position partially on the fitting 33 and partially directly on the base body, ie partially slide on the relative to the fitting 33 much firmer material of the body 19.
  • a fitting 33 of bearing metal here in the form of bearing bronze.
  • the fitting 33 is dimensioned and arranged so that the roller, once it has reached its end position, slides with part of the contact surface of its shoulders 11 on the fitting 33 consisting of bearing material and with the other part of the contact surface of its shoulders 11 on the harder material of the pressure hull 19. It goes without saying that the surface which represents the firmer of the two said sliding surfaces on the pressure body, does not necessarily have to be an integral part of the pressure hull 19, but z. B. also by a in the broadest sense attached to the actual pressure body, further fitting can be formed (not shown here, but claim variant).
  • the roller or shoulders 11 of the roller are substantially harder or stronger than the bearing material of the fitting 33.
  • the sliding of the shoulders 11 on the fitting 33 of the bearing material leads to a positive at the relatively high pressure that is encountered here
  • This abrasion is introduced by the rotating roller in the surface area in which the roller with its shoulders 11 slides on the pressure body 19, and obviously fills the valleys of the surface roughness of the roller 9 on , It has been found that the abrasion can prevent effectively effective that it comes between the shoulders 11 of the roller 9 and the pressure body 19 to a seizure (local micro-welding and tearing) and thus destruction, as it is otherwise relatively quickly observed when steel slides under high surface pressure and speed on steel.
  • the fitting 33 is subjected to significantly less wear by the roller than when the roller is fully or substantially exclusively slid on the fitting 33.
  • the gap 20 or the gap-forming portion 20a can be designed so that the roller 9 in its End position a correspondingly higher pressure compared to the rail 2 and the pressure body 19 developed, resulting in a correspondingly higher, braking force acting frictional force results.
  • the ratio of the surface with which the shoulders 11 slide in the final position of the roller 9 on the bearing material of the fitting 33 to the surface with which the shoulders 11 slide on the pressure body requires careful adjustment to the individual case.
  • the surface with which the shoulders 11 of the roller 9 slide on the bearing material should not be unnecessarily large. Rather, it should be just so large that sufficient abrasion is generated to prevent between the shoulders 11 of the roller 9 and the Pressure body, where the greater part of the forces transmitted, seizure occurs.
  • the expert can easily determine by experiments, as the area ratios are to be selected in the specific case.
  • fittings 33 can be attached very easily.
  • a suitably directed bolt from the bearing material is used or-pressed.
  • the column 20 and the grooves 21 are milled into the pressure body 19.
  • the bearing pin is cut and thereby automatically receives the correct contour. Namely, a contour, which looks like when the again dismantled fitting Fig. 6 illustrated.
  • over-milling is taken to ensure that at least locally more than 180 ° of the total circumference of the bolt remain, which ensures that the bolt can not fall out of the cut by the over-drilled hole in the body.
  • roller 9 rotates counterclockwise during braking in upward direction and therefore in the lower of the two in Fig. 3 imaged gap 20 is pulled.
  • the elevator car In order to deactivate the braking or catching device after the deceleration of a downward movement of the elevator car, the elevator car is driven a bit far up in all embodiments.
  • the skew of the gap 20 and the groove 21 are selected and matched so that the roller does not slide along the guide rail during this upward movement of the elevator car, but is now driven inversely by it and in the direction of its inactive position in the area between the upward pointing back and the down-facing gap section rolls back.
  • the roller Once the roller has come close to its inactive position, it is retracted to its rest position (correspondingly connected solenoid) in good time before the roller is torn into the descending portion of the gap 20 from the inactive position of the roller and now there unintentionally brakes.
  • a recess 32 is provided to reduce the rigidity of the pressure body 19 in the lower region.
  • a correspondingly lower rigidity is effected in the section corresponding to an upward travel of the pressure body 19, and thus a lower contact pressure of the roller 9, resulting in a lower deceleration during braking.
  • the ramps are not mirror-symmetrical, but executed with a different pitch or length, which also sets the desired effect. The measures are generally useful, ie can be used profitably in all of the embodiments shown, if necessary.
  • the Fig. 10 illustrates the second, independent aspect of the invention, according to which one of the braking or catching acting to be provided on a guide rail 2 provided surface 43 opposite to the rail head 8 associated surface of the guide rail 2 is inclined.
  • the inclined surface 43 is designed here in the form of a friction lining 15. This is rigidly attached to the leg 17 of the pressure body 19.
  • the friction lining thus does not move with respect to the entire pressure body, ie it does not carry out a relative movement with respect to the leg 17 holding it, but moves with the leg 17.
  • it comes with fully expanded pressure body with its friction surface largely completely on the associated surface of the guide rail 2 to the plant, whereby optimal friction and loading conditions are achieved.
  • the inclination of the invention is particularly effective to advantage when the pressure body 19, the elasticity ensures the correct installation of the inclined surface at full load, not rigidly attached to the car, but as well as Fig. 11 shown.
  • the pressure body 19 is here, comparable to the saddle of a vehicle disc brake, floatingly mounted on the elevator car. Serve as a guide for the floating storage per brake or catching each two spaced apart from each other on the elevator car rail-like structure, here in the form of flat iron F, which form a substantially horizontally aligned rail pair, so to speak.
  • the pressure body 19 is provided at its upper and lower edge in each case with a groove N1 or N2 for engagement for the said flat iron, so that the pressure body can be inserted between the two flat iron.
  • Both grooves have, compared to the width of the flat iron, a certain lateral play on.
  • at least one of the two grooves N1 and N2 on a special design namely, it runs altogether sufficiently inclined. This takes into account the fact that the pressure body is elastically bent under the influence of the force with which the roller is pulled into the gap in the case of braking or catching, so that the two grooves respectively attached to the underside and the upper side no longer be aligned, unless appropriate action is taken.
  • the oblique course or the helix angle ⁇ of the at least one groove is ideally chosen such that the groove still provides a precisely defined guide provided with a permissible clearance when the braking or catching device is inactive, namely because the lower edge of the left and the upper edge of the right Groove flank unfold a defined guiding effect.
  • the fact that the groove flanks are inclined, ensures that the pressure body can deform without hindrance, without affecting the leadership.
  • the inclined surface 43 is inclined by an angle ⁇ between 0.5 ° and 5 °.
  • the first and the second aspect of the invention are initially independent of each other, ie, the inclination is also useful if no fitting is provided from a bearing material on which the roller partially slides and vice versa. If both measures are applied together, the result is a strong one combinatorial effect. Because the partial sliding of the roller 19 on the fitting of bearing material allows at substantially the same pressure significantly higher sliding speeds between the roller 9 and the pressure body 19 - and just these significantly higher sliding speeds or (at constant sliding speed) pressures dictate it make sure that the surfaces of the braking or catching device that come into contact with the guide rail as intended come into contact with the guide rail at full load and not only have inefficient line contact there.
  • the groove 21 does not necessarily have to be designed on the side of the pressure hull. Instead, the groove can also be made on the roll, where it is flanked on both sides by knurled peripheral portions of the roll.
  • the gap-forming portion 20a of the pressure body is then formed complementary in a corresponding manner.

Landscapes

  • Engineering & Computer Science (AREA)
  • Mechanical Engineering (AREA)
  • Braking Arrangements (AREA)
  • Maintenance And Inspection Apparatuses For Elevators (AREA)
  • Bearings For Parts Moving Linearly (AREA)
  • Lift-Guide Devices, And Elevator Ropes And Cables (AREA)
  • Coating Apparatus (AREA)

Abstract

Brems- und/oder Fangeinrichtung 14 für einen Aufzugsfahrkorb, der in einem Schacht entlang von vertikalen Führungsschienen 2 geführt ist, mit einem am Fahrkorb zu befestigenden Druckkörper 19, dessen spaltbildender Abschnitt 20a bei bestimmungsgemäßer Montage zusammen mit der ihm zugeordneten Führungsschienen einen Spalt 20 ausbildet, in den im Brems- oder Fangfall eine Rolle 9 hineingezogen wird, wobei ein Anschlag vorgesehen ist, der den Weg, den die Rolle 9 in den Spalt 20 hineingezogen wird, begrenzt und damit jeweils eine Endposition für die Rolle 9 vorgibt und die Rolle in ihrer Endposition im Wesentlichen auf der Führungsschiene 2 abwälzt und am Druckkörper 19 gleitet, wobei der Spalt 20 im Bereich seiner Endposition auf der Seite des Druckkörpers 19 örtlich mit einem Beschlag 33 aus einem Lagerwerkstoff versehen ist, der so gestaltet und angeordnet ist, dass die Rolle 9 in ihrer Endposition teilweise auf dem Beschlag 33 aus Lagerwerkstoff gleitet und teilweise auf dem härteren Werkstoff des die restliche Gleitfläche bereitstellenden Druckkörpers 19.

Description

  • Die Erfindung betrifft eine Brems- bzw. Fangeinrichtung für eine Aufzugskabine, die in einem Schacht entlang von vertikalen Führungsschienen gerührt ist. Dabei bedient sich die Brems- bzw. Fangeinrichtung einer mit einer Reibfläche versehenen Rolle als Bremskörper. Einmal aktiviert wird diese Rolle in einen Spalt hineingezogen. Dabei wird die die Reibung erzeugende Pressung immer größer, je weiter die Rolle in den Spalt in Richtung ihrer Endposition hineingezogen wird.
  • Der Begriff "Aufzugsfahrkorb bzw. Fahrkorb" wird hier und im Folgenden als Sammelbegriff verwendet und umfasst sowohl herkömmliche Kombinationen aus Kabinen bzw. Lastträgem oder Plattformen aller Art, die von einem Fahrkorbrahmen getragen werden, als auch fahrkorbrahmenlose Konstruktionen.
  • Brems- bzw. Fangeinrichtungen an Aufzügen dienen dazu, eine Aufzugskabine im Falle eines unkontrollierten Fahrzustandes oder einer unzulässig hohen Fahrgeschwindigkeit, wie sie z. B. bei einer Fehlfunktion der Steuerung oder eines Antriebs bzw. seiner Bremse sowie einem Seilbruch auftreten kann, abzubremsen.
  • Eine entsprechende Bremsfangeinrichtung ist zum Beispiel aus der Europäischen Patentanmeldung EP 0 841 280 A1 bekannt.
  • Die von besagter Patentanmeldung vorgeschlagene Bremsfangeinrichtung ist von moderner Bauart, sie kommt mit nur wenigen Bauteilen aus. Anders, als die älteren Bremsfangeinrichtungen aus dem Stand der Technik, benötigt sie keine zusätzlichen Schrauben- oder Tellerfedern, um einen definierten Verlauf der Bremskraft bis hin zum Kabinenfang vorzugeben. Stattdessen ist das zur Montage an der Aufzugskabine vorgesehene und die Bremsrolle lagernde Gehäuse der Bremsfangeinrichtung (im Weiteren: der Druckkörper) hier so ausgebildet, dass es selbst eine definierte Federwirkung ausübt. Dies, indem der Druckkörper bei aktivierter Bremse auf der einen Seite ggf. unter Zwischenschaltung eines Reibbelags unmittelbar auf die Führungsschiene drückt und auf der anderen Seite mittelbar über die Bremsrolle auf die Führungsschiene drückt. Umso weiter die Bremsrolle in die ihr zugeordnete Nut entlang Richtung Anschlag gezogen wird, desto stärker wird der Druckkörper elastisch aufgedehnt. Entsprechend höher fallen die aktuellen Bremskräfte aus. Diese Federwirkung führt zusammen mit dem entsprechenden Layout der Nut bzw. des Spalts, wo die Bremsrolle unter starker Reibung abläuft, dazu, dass sich die gewünschte, definierte Bremswirkung einstellt.
  • Ein großer Vorteil dieser bekannten Bremsfangeinrichtung ist insbesondere der, dass ihr spezieller Aufbau schon von Hause aus weitgehend einer Fehlausrichtung zwischen der Führungsschiene und der Bremsfläche entgegenwirkt. Daher verursacht der Einsatz, d. h. die Aktivierung dieser Bremsfangeinrichtung, nur einen geringen Verschleiß an der Führungsschiene. Auch die Bremsfangeinrichtung selbst unterliegt nur einem geringen Verschleiß.
  • Wie diese bekannte Bremsfangeinrichtung ausgelöst wird, wird in besagter Patentanmeldung nicht explizit beschrieben. Für den Fachmann ist jedoch leicht erkennbar, dass diese Bremsfangeinrichtung für eine mechanische Betätigung üblicher Art vorgesehen ist. Dies, weil ihre Bremsrolle mit einem nach außen über das Gehäuse und sein Abdeckblech hinausstehenden, einseitigen Achsstummel ausgestattet ist. Dieser Achsstummel soll offensichtlich mittelbar oder unmittelbar mit dem im Schacht umlaufenden Seil eines üblichen Geschwindigkeitsbegrenzersystems verbunden sein, vgl. Fig. 3 der EP 0 841 280 A1 . Dies ist hier lediglich am Rande zu erwähnen.
  • Die von der EP 0 841 280 A1 vorgeschlagene, spezielle Art der Brems- bzw. Fangeinrichtung hat sich in der Praxis bewährt. Allerdings hat sich gezeigt, dass sowohl bei dieser als auch bei anderen Arten von Brems- bzw. Fangeinrichtungen mit einer ähnlich wirkenden Rolle Probleme auftreten, wenn die Flächenpressung bzw. die Relativgeschwindigkeit zwischen der stählernen Rolle und dem ebenfalls stählernen Bauteil oder Bauteilen, auf denen die Rolle gleitet, zu hoch wird. Es tritt dann nämlich häufig Fressen zwischen den aufeinander gleitenden stählernen Bauteilen auf. Hierdurch wird die Brems- bzw. Fangeinrichtung vorzeitig unbrauchbar - Brems- bzw. Fangeinrichtungen sind Sicherheitsbauteile, an denen keine Beschädigungen zulässig sind, welche sich in unkalkulierbarer Weise auf die Funktion auswirken können, mag auch die Funktion aktuell noch nicht beeinträchtigt sein.
  • In einer zum Zeitpunkt der Erstanmeldung noch nicht veröffentlichten Patentanmeldung der Anmelderin wurde bereits vorgeschlagen, die Rolle in ihrer Endposition auf einem Einsatz bzw. Beschlag aus Buntmetall gleiten zu lassen. Dies, um so eine leichtere Lösbarkeit der Brems- bzw. Fangeinrichtung zu gewährleisten und sicherzustellen, dass auch bei oft wiederholter Betätigung der Brems- bzw. Fangeinrichtung stets annähernd die gleichen Reibungsverhältnisse auftreten. Indes ist eine solche Lösung, bei der die Rolle mit ihrer gesamten Fläche, über die sie reibend mit dem Druckkörper in Kontakt steht auf dem Buntmetall gleitet, nicht dazu geeignet, eine Brems- oder Fangeinrichtung zu realisieren, die ausgesprochen hohe Pressungen zwischen der Rolle und ihrem Gleitpartner entwickelt und damit ausgesprochen hohe Bremskräfte ermöglicht. Denn dort, wo die Rolle mit der gesamten besagten Fläche auf dem Buntmetall gleitet, sind die maximal zulässigen Pressungen von vorne herein begrenzt. Daher ist eine derartige Brems- bzw. Fangeinrichtung von Hause aus nicht in den Leistungsbereichen verwendbar, in denen bei stählerne Gleitpartner verwendenden Konstruktionen Fressen auftritt.
  • Es ist daher Aufgabe der Erfindung, Brems- bzw. Fangeinrichtungen der gattungsgemäßen Art dahingehend weiterzuentwickeln, dass es auch bei hohen Pressungen zwischen der Rolle und ihrem Gleitpartner nicht zum Fressen kommt.
  • Erfindungsgemäß wird dies bei einer Brems- bzw. Fangeinrichtung der eingangs genannten Art durch die Merkmale des Anspruchs 1 erreicht.
  • Die tribologischen Verhältnisse werden insgesamt (und damit das gesamte Gleitverhalten, auch dasjenige im Bereich der Stahlpaarung) dadurch wesentlich verbessert, dass der Spalt auf der Seite des Druckkörpers im Bereich seiner Endposition örtlich mit einem Beschlag aus Lagerwerkstoff versehen ist, der so gestaltet und angeordnet ist, dass die Rolle in ihrer Endposition teilweise auf dem Lagerwerkstoff gleitet und teilweise auf dem i. d. R. härteren Werkstoff des die restliche Gleitfläche bereitstellenden Druckkörpers. Diese restliche Gleitfläche muss dabei nicht zwingend ein integraler Bestandteil des Druckkörpers sein. Stattdessen kann es sich auch um einen weiteren Beschlag handeln, der an dem Druckkörper befestigt ist.
  • Im Hinblick auf die Bedeutung des Worts Beschlag ist festzuhalten, dass ein Beschlag vorteilhafterweise (aber nicht zwingend) ein separates, an dem Druckkörper befestigtes Bauteil bedeutet. Vielmehr sind vom Grundsatz her auch Angüsse oder anderweitige dicke Beschichtungen erfasst. Allerdings ist es so, dass sich mit einem separat lösbar oder einmalig endgültig an dem Druckkörper befestigten und als Beschlag dienenden Bauteil die besten Ergebnisse erzielen lassen. Dies, weil auf besagte Art und Weise am einfachsten für einen Belag aus Lagerwerkstoff gesorgt werden kann, der die erforderliche Dicke und Abriebfestigkeit aufweist.
  • Vorzugsweise besteht der Beschlag aus einem Buntmetall. Buntmetalle besitzen die erforderlichen tribologischen Eigenschaften. Idealerweise wird ein Buntmetall ausgewählt, das hohen Pressungen widerstehen kann. Ein solches Buntmetall ist beispielsweise Lagerbronze.
  • Im Rahmen einer bevorzugten Ausführungsform ist vorgesehen, dass der Druckkörper (bzw. der zusätzliche Beschlag, auf dem die Rolle neben dem Belag aus Lagerwerkstoff gleitet) aus vergütetem Stahl besteht, anstatt aus Federstahl. Das bringt merkliche Vorteile bei der spanenden Fertigung des Druckkörpers, denn Federstahl lässt sich nur ausgesprochen schlecht zerspanen.
  • Vorzugsweise trägt die Rolle durch ihr Gleiten auf dem Lagerwerkstoff bzw. dem Beschlag aus Lagerwerkstoff bestimmungsgemäß Lagerwerkstoff ab und schleppt den abgetragenen Lagerwerkstoff in den Bereich ein, in dem die Rolle auf dem Druckkörper gleitet, d. h. die Stahloberfläche wird mit Buntmetallpartikeln versehen.
  • Sinnvollerweise trägt die Rolle in dem Bereich, mit dem sie im Laufe ihres Weges durch den Spalt bis kurz vor Erreichen ihrer Endposition zwischen der Führungsschiene und dem Druckkörper abwälzt, eine Profilierung, insbesondere eine Profilierung in Form einer Rändel. Sinn und Zweck einer solchen Profilierung ist es, die Reibungsverhältnisse derart zu beeinflussen, dass stets sichergestellt ist, dass die Rolle in der Phase, in der sie fortschreitend tiefer in den Spalt hineingezogen wird, sowohl an der Führungsschiene als auch am Druckkörper im Wesentlichen abrollt, und nicht nennenswert gleitet. Hierdurch erreicht die Rolle zuverlässig ihre Endposition. Zugleich gewährleistet die besagte Profilierung, dass die Rolle auch dann noch auf der Führungsschiene abrollt, wenn sie ihre Endposition erreicht hat. Nur so ist gewährleistet, dass der erfindungsgemäße Effekt eintritt.
  • Idealerweise ist die Rändel so beschaffen, dass es zwischen der Führungsschiene und der Rolle tatsächlich zu echter Haftreibung bzw. einer Kombination aus Haftreibung und evtl. Formschluss im Bereich der Rändelspitzen kommt, so dass die Rolle vollständig auf der Führungsschiene abrollt.
  • Eine Weiterbildung der Erfindung sieht vor, dass der Beschlag aus einem Bolzen eines geeigneten Lagerwerkstoffs besteht, der verdrehfest in einer entsprechenden Aufnahmebohrung des Druckkörpers gehalten ist. Dabei werden sowohl der Bolzen als auch die ihm zugeordnete Aufnahmebohrung zumindest in dem Bereich, in dem die Rolle bestimmungsgemäß auf dem Bolzen gleitet, überfräst bzw. überschliffen. Dies passiert, indem der Bolzen zunächst in die Bohrung eingesetzt wird, noch bevor die Kontur gefräst oder geschliffen wurde, die den Kontakt zwischen dem Druckkörper bzw. seinem Beschlag aus dem Lagerwerkstoff in der Rolle bestimmt. Die Fräs- oder Schleifbearbeitung erfolgt erst danach. Auf diese Art und Weise lässt sich der Beschlag aus dem Lagerwerkstoff einfach und ausgesprochen fest mit dem Druckkörper verbinden. Unter einem Bolzen wird dabei vorzugsweise Rundmaterial verstanden. Ein Vier-, Sechs- oder Mehrkantbolzen ist vom Prinzip her denkbar, jedoch de praxi eigentlich eher ein Theoretikum, da sich in den Druckkörper wesentlich einfacher eine entsprechende runde Aufnahme für den Bolzen einarbeiten lässt, als eine vier- oder mehrkantige.
  • Vorzugsweise ist der Anschlag, der den Weg begrenzt, den die Rolle in den Spalt hineingezogen wird, und der damit jeweils eine Endposition für die Rolle vorgibt, so ausgebildet, dass der Materialabtrag am Beschlag aus dem Lagerwerkstoff zumindest teilweise dadurch kompensiert wird, dass die Rolle etwas weiter in den Spalt zwischen dem Druckkörper und der Führungsschiene hineingezogen werden kann, wenn der Beschlag aus dem Lagerwerkstoff spürbar abgenutzt ist. Im Rahmen einer speziellen, sogleich noch näher zu beschreibenden, bevorzugten Ausführungsform wird dies dadurch erreicht, dass die bei besagter Ausführungsform verwendete Nut so ausgebildet ist, dass die Reibfläche bzw. Rändel der Rolle in Endposition auch dann noch den entsprechenden Freigang gegenüber dem Druckkörper hat, wenn der Beschlag etwas abgenutzt ist und dadurch über die Schultern der Rolle eine Endposition für die Rolle vorgibt, die nicht mehr ganz deren ursprünglicher Endposition entspricht.
  • Zwar stellt der Verschleiß auf Seiten des Beschlags aus dem Lagerwerkstoff im Regelfall kein allzu großes Problem dar. Dies, weil da nach den derzeitigen gesetzlichen Vorschriften und damit auch nach Maßgabe der Erfindung zunächst nicht mehr gefordert wird, als dass die Brems- bzw. Fangeinrichtung viermal hintereinander betätigt werden kann und dabei jeweils ordnungsgemäß funktioniert. Indes wird in jüngster Zeit zunehmend dazu übergegangen, die Brems- bzw. Fangeinrichtung nicht nur in Notfällen zu benutzen, sondern auch im regulären Betrieb - beispielsweise um ein Wegschleichen des Fahrkorbs aus seiner Haltestellenposition zu vereiteln oder um eine temporäre Schutzraumabsicherung vorzunehmen. Eine solche, zusätzliche Nutzung der Brems- bzw. Fangeinrichtung im regulären Bereich verlangt dann natürlich nach einer wesentlich größeren Verschleißfestigkeit. Diese kann nach Maßgabe des Gesagten erreicht werden.
  • Im Rahmen einer weiteren vorteilhaften Ausführungsform der Erfindung ist vorgesehen, dass die Rolle beidseitig neben ihrem Abschnitt, der auf der Führungsschiene abwälzt, abgesetzte Schultern aufweist, die im Vergleich zu dem auf der Führungsschiene abwälzenden Abschnitt einen kleineren Durchmesser aufweisen. Gleichzeitig ist vorgesehen, dass der spaltbildende Abschnitt des Druckkörpers eine Nut zur Aufnahme der zum Kontakt mit der Führungsschiene vorgesehenen Reibfläche der Rolle aufweist. Dabei ist die Nut so gestaltet, dass, wenn sich die Rolle in ihrer Endposition befindet, Spiel zwischen der Reibfläche (am größten Umfang) der Rolle und der Nut besteht, so dass die Reibfläche keinen oder keinen wesentlichen Kontakt zum Druckkörper und dessen Beschlag hat und die Rolle druckkörperseitig zumindest im Wesentlichen nur durch die Gleitreibung zwischen den i. d. R. glatten Schultern und dem Druckkörper sowie dem Beschlag gebremst wird. Anders als zwischen der Reibfläche bzw. Rändel und dem Druckkörper kann zwischen den i. d. R. glatten Schultern und dem Druckkörper ein hohes Maß an Gleitreibung erzeugt werden, ohne dass nennenswerter Verschleiß auftritt - während eine stählerne Rändel beim Gleiten auf einem Beschlag aus Lagerwerkstoff unter hoher Pressung den Lagerwerkstoff buchstäblich abfräsen würde, bis sich die Rändel zugesetzt hat, reiben die i. d. R. glatten Schultern offensichtlich gerade nur so viel vom Beschlag ab, dass ein Fressen zwischen den in der Nachbarschaft aufeinander gleitenden Stahlflächen vermieden wird. Daher kann mit einer solchen Ausführung eine hohe Reibleistung (und damit eine entsprechende Brems- bzw. Fangwirkung) realisiert werden, indem die Geometrie und insbesondere der Keilwinkel des Spalts so gewählt werden, dass eine bis zu 35 % höhere Pressung erreicht wird, als bei Brems- bzw. Fangeinrichtungen, bei denen ausschließlich Stahlflächen aufeinander abgleiten.
  • Ein weiterer Nachteil der ansonsten sehr weit entwickelten und ausgesprochen vorteilhaften Bremsfangeinrichtung gemäß EP 0 841 280 A1 besteht darin, dass die der Rolle zugeordnete Gegendruckfläche des Grundkörpers, die mit der anderen Seite der Führungsschiene in Kontakt kommt, mit zunehmender elastischer Aufweitung des Grundkörpers verkippt und daher gerade in der Endphase des Bremsens bzw. Fangens nur noch mit einem Teil ihrer bestimmungsgemäß zur Anlage an der Führungsschiene vorgesehenen Fläche dort anliegt, was zu Problemen führen kann.
  • Es ist daher eine weitere Aufgabe der Erfindung, diesen Nachteil abzustellen.
  • Diese Aufgabe wird nach einem weiteren Aspekt der Erfindung gemäß Anspruch 10 dadurch gelöst, dass zumindest eine der auf Seiten der Brems- bzw. Fangeinrichtung bestimmungsgemäß bremsend bzw. fangend wirkend zur Anlage an der Führungsschiene vorgesehenen Flächen bei inaktiver Brems- bzw. Fangeinrichtung gegenüber der ihr zugeordneten Fläche der Führungsschiene schräg gestellt ist. Die Schrägstellung muss dabei derart bemessen sein, dass sich die Fläche zumindest in der Phase, in der die Brems- bzw. Fangeinrichtung vollständig aktiviert ist, parallel zu der ihr wirkmäßig zugeordneten Fläche der Führungsschiene ausrichtet und im Wesentlichen vollflächig an ihr anliegt, d. h. dass die bestimmungsgemäß zum Kontakt mit der Führungsschiene vorgesehene Fläche in dieser, die stärkste Belastung ausmachenden Phase auch tatsächlich großflächig an der Führungsschiene anliegt. Vom Grundsatz her kann es sich bei der schräg gestellten Fläche sowohl um die Gegendruckfläche handeln (bevorzugt) als auch um die Fläche an der Rolle, die bestimmungsgemäß mit der Führungsschiene in Kontakt kommt. Der entscheidende Vorteil der Erfindung ist der, dass sich die Pressung und die Haft- bzw. Gleitreibungskräfte, sowie die dadurch erzeugte Wärme, gerade in der Phase maximaler Verzögerung und Belastung auf eine größere Fläche verteilen, was die Gefahr eines örtlichen Fließens, Verbrennens bzw. Verschweißens und Verschleißens der Reibflächen sowie einer Beschädigung der entsprechenden Flächen der Führungsschienen deutlich vermindert.
  • Vorzugsweise wird die für die Ausrichtung der schräg gestellten Fläche erforderliche Beweglichkeit dadurch hergestellt, dass die sich schräg gestellte Fläche im Zuge der elastischen Aufweitung des Grundkörpers zusammen mit dem entsprechenden Schenkel des Grundkörpers relativ zu der zugeordneten Funktionsfläche der Führungsschiene bewegt. Dies, indem sie sich nicht nur auf die Führungsschiene zu bewegt, sondern in der Resultierenden auch eine Drehbewegung relativ zur Führungsschiene ausführt.
  • Es besteht also keine Notwendigkeit, die schräg gestellte Fläche drehbar und beweglich am Grundkörper zu lagern. Hierdurch werden mögliche Fehlerquellen beseitigt - übliche, bolzengeführte Schwenklagerungen stellen unvermeidlich eine Fehlerquelle dar, weil sie durch das typischerweise schlagartige Ansprechen der hier zur Diskussion stehenden Brems- bzw.
  • Fangeinrichtungen u. U. ausschlagen bzw. Gefahr laufen, über die Jahre hinweg durch Schmutz und u. U. auch Korrosion schwergängig zu werden und ihre Funktion verlieren. Im Übrigen trägt der Verzicht auf ein übliches Schwenklager zur Kostenreduktion bei.
  • Vorzugsweise sind in der erfindungsgemäßen Brems- bzw. Fangeinrichtung keine Teller- oder Schraubenfedern verbaut. Denn solche Federn stellen nicht nur einen Kostenfaktor dar, sondern sind ebenfalls eine potentielle Fehlerquelle - gerade bei Schraubenfedern sind Federbrüche nie ganz auszuschließen, während gerade bei zu Paketen verschalteten Tellerfedern Gleit- und Haftreibungseinflüsse beim Einfedern auftreten, die unter ungünstigen Umständen spürbare Ungleichmäßigkeiten bzw. Abweichungen in der Reproduzierbarkeit auftreten lassen.
  • Bevorzugte Ausführungsbeispiele der Erfindung sind in den nachfolgend beschriebenen Figuren der Zeichnung dargestellt.
  • Es zeigen:
  • Fig. 1:
    schematisch ein Bremsorgan gemäß der Erfindung;
    Fig. 2:
    schematisch eine erfindungsgemäße Ausführungsform einer Brems- bzw. Fangeinrichtung in einem Horizontalschnitt;
    Fig. 3:
    die von Fig. 2 gezeigte, bidirektional wirkende Brems- bzw. Fangeinrichtung in Richtung des Pfeils III von Fig. 2 gesehen;
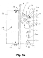
    Fig. 3b:
    die von Fig. 3 gezeigte Ausführungsform bei in oberer Endposition befindlicher, mit ihren Schultern 11 auf den Beschlag aus Lagerwerkstoff aufgelaufener Rolle - allerdings insoweit schematisch, als das in Fig. 3 gezeigte und mit den genannten Bezugsziffern markierte Führungsblech mit dem Schlitz 23 und der Halter 25 ausgeblendet sind und der Druckkörper 19 entlang der Mitte einer der Schultern 11 geschnitten ist (der Übersicht halber wurde auf Schraffur verzichtet);
    Fig. 4:
    ein zweites, als lediglich unidirektional wirkende Brems- bzw. Fangeinrichtung konzipiertes Ausführungsbeispiel - wiederum insoweit schematisch, als das besagte Führungsblech mit dem Schlitz ausgeblendet ist;
    Fig. 5:
    das von Fig. 4 gezeigte Ausführungsbeispiel, allerdings ohne Ausblendung;
    Fig. 6:
    das von Fig. 5 gezeigte Ausführungsbeispiel in Ansicht senkrecht zu der Fläche der Führungsschiene, auf der die Rolle abrollt;
    Fig. 7:
    ein drittes Ausführungsbeispiel, das sich vom ersten Ausführungsbeispiel durch die konstruktive Gestaltung des elektrischen Auslösemechanismus unterscheidet;
    Fig. 8:
    die unterschiedlichen Tiefen bzw. Verläufe der Spalte für vier verschiedene Nutzlastbereiche, d. h. vier verschiedene Mitglieder einer Baureihe mit ansonsten identischen Druckkörpern;
    Fig. 9:
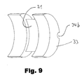
    den von den Ausführungsbeispielen verwendeten Beschlag für sich allein gesehen;
    Fig. 10:
    eine andere Ausführungsform der erfindungsgemäßen Brems- und Fangeinrichtung, bei der der Schenkel des Druckkörpers, der die Gegendruckfläche bereit stellt, mit einer gegenüber der zugeordneten Fläche der Führungsschiene schräg gestellten Fläche ausgerüstet ist (wahlweise bidirektional oder unidirektional ausführbar);
    Fig. 11:
    eine anderweitige Darstellung der von Fig. 10 gezeigten Ausführungsform, die sichtbar macht, wie der Druckkörper am Fahrkorb befestigbar ist.
  • Wie aus Fig. 2 zu ersehen ist, weisen die Führungsschienen 2 einen über einen Steg 6 mit einem Schienenfuß 7 verbundenen Schienenkopf 8 auf, der die Wirkflächen der Führungsschiene bildet, mit denen die erfindungsgemäße Brems- bzw. Fangeinrichtung nach Aktivierung zusammenwirkt.
  • Bei einer Brems- bzw. Fangeinrichtung nach Maßgabe der Erfindung ist ein Bremsorgan in Form einer Rolle 9 vorgesehen, die nahe ihrer beiden seitlichen Stirnflächen (siehe Fig. 1) mit Schultern 11 versehen ist. Die äußerste Mantelfläche der Rolle 9 dient als Reibfläche 12. Zu diesem Zweck ist sie mit einer Rändelung versehen oder mit einer sonstigen Profilierung. Letztere dient dazu, die Rolle (9) zuverlässig in den Spalt hineinzuziehen bzw. hineinwälzen zu lassen, bis die Rolle (9) ihre Endposition erreicht. Zudem stellt die Rändel auch sicher, dass in Endposition der Rolle jedenfalls kein wesentliches Gleiten zwischen der Rolle (9) und der Führungsschiene (2) auftritt, sondern die Rolle auf der Führungsschiene abwälzt.
  • Die Fig. 2 zeigt eine erfindungsgemäße Brems- bzw. Fangeinrichtung 14 in einem Horizontalschnitt. Die Brems- bzw. Fangeinrichtung weist einen Druckkörper 19 auf, der im Wesentlichen einem U-Profil entspricht, aber u. U. auch den Querschnitt eines geschlitzten Kreis- oder Ellipsenprofils aufweisen könnte. Maßgeblich ist, dass die beiden Schenkel 16, 17 im Bereich ihrer freien Enden die Führungsschiene 2 umfassen. Wie nicht zuletzt die Fig. 3b zeigt, weist der Druckkörper 19 an seinem Schenkel 16 einen spaltbildenden Abschnitt 20a auf, der bei bestimmungsgemäß montierter Bremsvorrichtung 14 zusammen mit der entsprechenden Führungsschiene einen Spalt 20 bildet, in dem die Rolle 9 geführt ist. Dabei weist der spaltbildende Abschnitt 20a eine Nut 21 auf, die die Aufnahme der Reibfläche 12 (siehe Fig. 1) der Rolle 9 ermöglicht. Der Druckkörper besteht aus einem geeigneten Vergütungsstahl, wie er zur Herstellung von Schrauben- und Tellerfedern verwendet wird. Welche Vergütungsstähle bis dato für Schrauben- und Tellerfedern verwendet werden, ist dem Fachmann bekannt. Die erfindungsgemäß notwendige Federwirkung wird durch geeignete Ausgestaltung des Grundkörpers 19 als U-Profil oder dergleichen erreicht. Anders als ein Federstahl lässt sich ein solcher Vergütungsstahl recht einfach spanend bearbeiten.
  • Die Rolle 9 ist drehbar auf einer z. B. in Fig. 3 gezeigten Achse 22 gehalten, die, wie von Fig. 3 illustriert, einen Durchbruch 23 im Schenkel 16 (bzw. in einem Anbauteil des Schenkels in Form eines Halteblechs 18) durchsetzt und in einem Halter 25 gehalten ist.
  • Wie erwähnt und von den Fig. 3b, 4 und 7 gezeigt, wird der Spalt 20 im Wesentlichen einerseits von der Führungsschiene und andererseits vom spaltbildenden Abschnitt 20a des Druckkörpers begrenzt. Dabei entspricht die Kontur des spaltbildenden Abschnitts 20a einer der von Fig. 8 gezeigten Konturen. Jede dieser nach Bedarf wählbaren Konturen entspricht einer bestimmten Ansprechcharakteristik und einer maximal erreichbaren Bremsreibung.
  • Zwischen dem bei Aufwärtsfahrt und dem bei Abwärtsfahrt wirksamen Bereich des spaltbildenden Abschnitts bei den Ausführungsformen gemäß Fig. 3b und 7 ist eine vorzugsweise V-förmig konturierte Rastfläche 31 vorgesehen. Diese ist derart gestaltet, dass die Rolle 9 (trotz der unvermeidlichen Reibungseinflüsse) bei Wieder-Deaktivierung in praktisch immer die gleiche Position zurückgezogen und gehalten wird. Hierfür sorgt z. B. eine entsprechende Rückholfeder, etwa so, wie von den Fig. 3 und 7 gezeigt.
  • Der Vollständigkeit halber ist anzumerken, dass auch solche Vorrichtungen möglich sind, die als nur unidirektional wirkende Brems- oder Fangeinrichtungen ausgeführt sind, d. h. die von der Rastfläche aus gesehen nur in einer Richtung mit einem Spalt 20 versehen sind, also nur mit dem oberen oder unteren Teil der von Fig. 8 gezeigten Konturen ausgestattet sind, etwa so, wie von Fig. 4 veranschaulicht.
  • Die Ausführungsformen gemäß Fig. 3 bzw. 3b sowie 7 unterscheiden sich vom Grundsatz her nur in der Art ihres Auslösemechanismus.
  • Das von Fig. 3 bzw. 3b gezeigte Ausführungsbeispiel bedient sich eines schwenkbaren Halters 25, der die Rolle in Ruheposition hält und ggf. die Bewegung der Rolle in den Spalt hinein mitmacht, so wie im Detail in der vorveröffentlichten internationalen Anmeldung WO 2006/077243 A1 beschrieben, auf die hier zur Vermeidung von Wiederholungen Bezug genommen wird, was den schwenkbaren Halter bzw. den Mechanismus angeht, der zum Auslösen des Bremsens bzw. Fangs dient, indem er die Rolle aus der Ruheposition heraus mit der Führungsschiene in Kontakt bringt und die Rolle später wieder in ihre Rastposition zurückholt.
  • Demgegenüber bedient sich das von Fig. 7 gezeigte Ausführungsbeispiel eines Auslöse- bzw. Rückstellmechanismus, wie er in der deutschen Anmeldung 10 2006 043 890 beschrieben ist, auf die hier zur Vermeidung von Wiederholungen vollumfänglich Bezug genommen wird.
  • Die Ausführungsform gemäß Fig. 4 unterscheidet sich demgegenüber von dem von den Fig. 3, 3b und 7 Gezeigten dadurch, dass sie nur unidirektional wirkt und - so wie hier dargestellt - in erster Linie für die mechanische Auslösung durch ein an der Achse 22 befestigtes Geschwindigkeitsbegrenzerseil vorgesehen ist. Beides ist optional auch bei allen anderen Ausführungsformen möglich.
  • Die Interaktion der Rolle bzw. der gesamten Brems- bzw. Fangeinrichtung mit der Führungsschiene soll nun stellvertretend für alle Ausführungsformen, die, was die Interaktion mit der Führungsschiene angeht, sinngemäß gleich funktionieren, an Hand des von den Fig. 3 und 3b gezeigten Ausführungsbeispiels beschrieben werden.
  • Der besagte Halter 25 ist von einer Feder 28 umgeben, die als Druckfeder ausgebildet ist und die Rolle 9 in Richtung zur Führungsschiene 2 vorspannt. Dieser Feder 28 wirkt ein Soleniod (nicht dargestellt) entgegen, das von einer hier nicht gezeigten Elektronik angesteuert wird, die im Aufzugsschacht untergebracht ist, von der ggf. zumindest Teile auch kabinenfest eingebaut sein können.
  • Dabei wird das Solenoid entregt, wenn die Brems- bzw. Fangeinrichtung ansprechen soll, weil entweder ein Notfall, d. h. eine Übergeschwindigkeit vorliegt, oder aber u. U. auch, weil die Aufzugskabine im regulären Betrieb festgesetzt werden soll, z. B. im Rahmen von Wartungs- bzw. Servicearbeiten zur Schutzraumabsicherung oder um ein Wegschleichen der Aufzugskabine aus seiner Haltestellenposition zu verhindern. Dadurch bewegt die Feder 28 den Halter 25 und damit die Rolle 9 gegen die Führungsschiene 2, so dass diese mit ihrer Reibfläche 12 (siehe Fig. 1) an der Führungsschiene 2 (siehe Fig. 3) zur Anlage kommt. Sie wird dadurch in Drehung versetzt, aber auch translatorisch relativ zum Druckkörper 19 bewegt. Nämlich derart, dass sie alsbald nicht nur die Führungsschiene 2 berührt, sondern rückseitig auch die Nut 21, bzw., genauer gesagt, den Grund der Nut 21.
  • Bei einer Abwärtsfahrt der Aufzugskabine dreht sich die Rolle 9 im Uhrzeigersinn (bei der Betrachtung gemäß Fig. 3). Dadurch wälzt sich die Rolle 9, sobald sie rückseitig in Kontakt mit dem Grund der Nut 21 gekommen ist, mit ihrer Reibfläche bzw. Rändel 12 einerseits auf der Führungsschiene 2 ab und andererseits auf dem Grund der Nut 21. Dadurch wird die Rolle 9 immer tiefer in den sich keilförmig verengenden Spalt 20 hineingezogen. Bei oder kurz vor dem Erreichen ihrer Endposition wechseln die Reibungs- bzw. Kontaktverhältnisse an der Rolle. Die Nut 21 wird nun so tief, dass die Reibfläche bzw. Rändel 12 den Kontakt zum Grund der Nut verliert und die Rolle 9 druckkörperseitig nur noch mit ihren Schultern 11 am Druckkörper 19 anliegt. Zumindest in Endposition ist es daher so, dass die Reibfläche bzw. Rändel 12 zumindest im Wesentlichen Freigang hat und die bremsend bzw. fangend wirkende Reibung zumindest weit überwiegend durch das Gleiten der Schultern 11 auf dem Druckkörper 19 bzw. dem Beschlag 33 erzeugt wird. Gleichzeitig geben die Schultern 11 die Endposition der Rolle vor, indem sie druckkörperseitig gegen eine Fläche anlaufen, die so steil ist, dass die Rolle nicht weiter in den Spalt hineingezogen werden kann.
  • Der in diesem Zusammenhang entscheidende erste Aspekt der Erfindung ist in Fig. 3b zu erkennen. Der Druckkörper 19 ist mit einem Beschlag 33 aus Lagermetall, hier in Form von Lagerbronze, versehen. Dieser ist so angeordnet und gestaltet, dass die Schultern 11 in Endposition teilweise auf dem Beschlag 33 und teilweise unmittelbar auf dem Grundkörper gleiten, d. h. teilweise auf dem gegenüber dem Beschlag 33 wesentlich festeren Werkstoff des Grundkörpers 19 gleiten. Auf die spezielle Ausgestaltung, die dieser Beschlag 33 vorzugsweise aufweist, ist sogleich noch einzugehen.
  • Der Beschlag 33 ist so dimensioniert und angeordnet, dass die Rolle, sobald sie ihre Endposition erreicht hat, mit einem Teil der Kontaktfläche ihrer Schultern 11 auf dem aus Lagerwerkstoff bestehenden Beschlag 33 gleitet und mit dem anderen Teil der Kontaktfläche ihrer Schultern 11auf dem demgegenüber härteren Material des Druckkörpers 19. Es versteht sich von selbst, dass die Fläche, die die festere der beiden besagten Gleitflächen am Druckkörper darstellt, nicht zwingend ein integraler Bestandteil des Druckkörpers 19 sein muss, sondern z. B. auch durch einen im weitesten Sinne am eigentlichen Druckkörper befestigten, weiteren Beschlag gebildet werden kann (hier nicht gezeigte, aber anspruchsgemäße Variante).
  • Die Rolle bzw. die Schultern 11 der Rolle sind wesentlich härter bzw. fester als der Lagerwerkstoff des Beschlags 33. Das Gleiten der Schultern 11 auf dem Beschlag 33 aus dem Lagerwerkstoff führt bei der relativ hohen Pressung, die hier anzutreffen ist, zu einem sich positiv auswirkenden Abrieb bzw. Mikroabrieb auf Seiten des Beschlags 33. Dieser Abrieb wird durch die sich drehende Rolle in den Flächenbereich eingeschleppt, in dem die Rolle mit ihren Schultern 11 auf dem Druckkörper 19 gleitet, bzw. füllt offensichtlich die Täler der Oberflächenrauhigkeiten der Rolle 9 auf. Es hat sich herausgestellt, dass der Abrieb ausgesprochen wirkungsvoll zu verhindern vermag, dass es zwischen den Schultern 11 der Rolle 9 und dem Druckkörper 19 zu einem Fressen (lokale Mikroverschweißung und Wiederabreißen) und damit zu Zerstörung kommt, wie es sonst relativ schnell zu beobachten ist, wenn Stahl unter hoher Flächenpressung und Geschwindigkeit auf Stahl gleitet. Andererseits unterliegt der Beschlag 33 einer deutlich geringeren Abnutzung durch die Rolle, als bei vollständigem bzw. im Wesentlichen ausschließlichem Gleiten der Rolle auf dem Beschlag 33.
  • Dieser Effekt lässt sich dazu ausnutzen, bei weitgehend unveränderter Geometrie bzw. weitgehend unverändertem Materialaufwand die maximalen Bremskräfte und damit die Leistungsfähigkeit der Brems- bzw. Fangeinrichtung deutlich zu erhöhen. Da es bei Verwendung des erfindungsgemäßen Beschlages erst bei mindestens 30 % höheren Pressungen zu einem Fressen zwischen den Schultern 11 der Rolle 9 und dem Druckkörper 19 kommt, können der Spalt 20 bzw. der spaltbildende Abschnitt 20a so ausgelegt werden, dass die Rolle 9 in ihrer Endposition eine entsprechend höhere Pressung gegenüber der Schiene 2 und dem Druckkörper 19 entwickelt, woraus unmittelbar eine entsprechend höhere, bremsend wirkende Reibungskraft resultiert.
  • Das Verhältnis der Fläche, mit der die Schultern 11 in der Endposition der Rolle 9 auf dem Lagerwerkstoff des Beschlags 33 gleiten, zu der Fläche, mit der die Schultern 11 auf dem Druckkörper gleiten, bedarf der sorgfältigen Abstimmung auf den Einzelfall. Grundsätzlich gilt, dass die Fläche, mit der die Schultern 11 der Rolle 9 auf dem Lagerwerkstoff gleiten, nicht unnötig groß sein sollte. Sie sollte vielmehr gerade so groß sein, dass genügend Abrieb erzeugt wird, um zu verhindern, dass zwischen den Schultern 11 der Rolle 9 und dem Druckkörper, wo der größere Teil der Kräfte übertragen wird, Fressen auftritt. Hiervon ausgehend kann der Fachmann leicht durch Versuche ermitteln, wie die Flächenverhältnisse im konkreten Fall zu wählen sind.
  • In erster Näherung lässt sich sagen, dass die gesamte Fläche, mit der die Rolle in Endposition auf dem Druckkörper 19 und dem Beschlag 33 gleitet, so aufgeteilt sein sollte, dass die Rolle möglichst nie mit mehr als 50 %, besser aber mit 20 % bis maximal 35 % bzw. 20 % bis 30 % ihrer besagten Fläche auf dem Beschlag 33 gleitet. Gerade zwischen den letztgenannten Grenzen lässt sich im Wege von Versuchen üblicher Art relativ einfach der Idealwert oder ein nah-idealer Wert für die Flächenverteilung finden.
  • Im Regelfall sollte auch dafür Sorge getragen werden, dass die profilierte Reibfläche bzw. Rändel 12 der Rolle 9 nicht (oder höchstens minimal bzw. kurzzeitig) mit dem Beschlag 33 in Kontakt kommt, so dass sich die profilierte Reibfläche bzw. Rändel 12 der Rolle nicht womöglich mit Abrieb zusetzt, den sie aus dem Beschlag 33 abgespant hat und dadurch ihrer eigentlichen Funktion beraubt wird - nämlich der Funktion sicherzustellen, dass zwischen der Rolle 9 und der Führungsschiene 2 im Wesentlichen kein Gleiten auftritt.
  • Die insbesondere in Fig. 3b gezeigten Beschläge 33 lassen sich sehr einfach anbringen. Dies, indem der noch nicht fertig bearbeitete Druckkörper 19 in den Endbereichen seiner späteren Spalten 20 und Nuten 21 mit je einer Querbohrung versehen wird. In diese Querbohrung wird dann ein entsprechend zugerichteter Bolzen aus dem Lagerwerkstoff eingesetzt bzw. -gepresst. Dann werden die Spalte 20 und die Nuten 21 in den Druckkörper 19 eingefräst. Der Lagerbolzen wird dabei angeschnitten und erhält dadurch automatisch die richtige Kontur. Nämlich eine Kontur, die bei wieder ausgebautem Beschlag so aussieht, wie das die Fig. 6 illustriert. Beim Überfräsen wird darauf geachtet, dass zumindest örtlich mehr als 180° vom Gesamtumfang des Bolzens stehen bleiben, was sicherstellt, dass der Bolzen nicht aus der durch das Überfräsen angeschnittenen Bohrung im Grundkörper herausfallen kann.
  • Auch eine Verdrehsicherung lässt sich vergleichsweise einfach realisieren. Dies z. B. indem der Beschlag mit einer Halbbohrung 34a versehen wird, mit dem eine an entsprechender Stelle des Druckkörpers 19 angebrachte Halbbohrung 34b derart korrespondiert, dass z. B. ein Kerbstift oder ein anderweitiger, passgenau Halt findender Bolzen eingeschlagen werden kann. Dieser verhindert dann durch seinen Formschluss ein Verdrehen, vgl. Fig. 3b und 4. Auch im Hinblick auf diese Halbbohrungen 34a und 34b gilt, dass sie am einfachsten dadurch gefertigt werden, dass der Druckkörper bei eingesetztem bzw. eingepresstem Lagerbolzen an entsprechender Stelle angebohrt wird, so dass sich die Halbbohrungen 34a und 34b von allein mit bester Passgenauigkeit ergeben.
  • Die bislang für eine Bremsung in Abwärtsfahrt bzw. bei unzulässigem Fall des Fahrkorbs geschilderten Verhältnisse sind bei Bremsung in Aufwärtsfahrt sinngemäß die gleichen, so dass das Gesagte entsprechend gilt. Man muss sich lediglich vor Augen führen, dass die Rolle 9 bei Bremsung in Aufwärtsfahrt gegen den Uhrzeigersinn dreht und daher in den unteren der beiden in Fig. 3 abgebildeten Spalt 20 hineingezogen wird.
  • Um die Brems- bzw. Fangeinrichtung nach dem Abbremsen einer Abwärtsbewegung der Aufzugskabine wieder zu deaktivieren, wird die Aufzugskabine bei allen Ausführungsformen ein Stück weit nach oben gefahren. Die Schrägung des Spalts 20 und der Nut 21 sind so gewählt und aufeinander abgestimmt, dass die Rolle bei dieser Aufwärtsbewegung der Aufzugskabine nicht an der Führungsschiene entlanggleitet, sondern nun invers von ihr angetrieben wird und in die Richtung ihrer inaktiven Position im Bereich zwischen dem nach oben weisenden und dem nach unten weisenden Spaltabschnitt zurückwälzt. Sobald die Rolle in die Nähe ihrer inaktiven Position gelangt ist, wird sie bei (entsprechend beschaltetem Solenoid) in ihre Ruheposition zurückgezogen - und zwar rechtzeitig, bevor die Rolle in den von der inaktiven Position der Rolle aus absteigenden Abschnitt des Spalts 20 hineingerissen wird und nun dort unbeabsichtigt bremst.
  • Entsprechendes gilt für das Deaktivieren der Brems- bzw. Fangeinrichtung nach dem Abbremsen einer Aufwärtsbewegung der Aufzugskabine.
  • Wie die Schrägung des Spalts 20 und der Nut 21 genau zu wählen sind, lässt sich nicht pauschal für alle möglichen Geometrien und Materialien der Brems- und Fangeinrichtung festlegen. Die genaue Auslegung im Einzelfall kann jedoch vom Fachmann leicht an Hand seines Fachwissens und der üblichen Berechnungen bzw. einer überschaubaren Anzahl von Versuchen ermittelt werden - die bei derartigen Brems- bzw. Fangeinrichtungen ohnehin erforderlich sind, da die Brems- bzw. Fangeinrichtungen schon auf Grund der technischen Vorschriften des Aufzugsbaus so ausgelegt sein müssen, dass sie im Falle einer Notbremsung nicht so hart verzögern, dass die Fahrgäste zu Fall kommen.
  • Bei der in Fig. 3 dargestellten Ausführungsform ist zur Verminderung der Steifigkeit des Druckkörpers 19 im unteren Bereich ein Einschnitt 32 vorgesehen. Dadurch wird in dem einer Aufwärtsfahrt entsprechenden Abschnitt des Druckkörpers 19 eine entsprechend geringere Steifigkeit bewirkt und damit ein geringerer Anpressdruck der Rolle 9, wodurch sich eine geringere Verzögerung bei einer Bremsung ergibt. Alternativ (hier nicht gezeigt) werden die Rampen nicht spiegelsymmetrisch, sondern mit anderer Steigung oder Länge ausgeführt, wodurch sich ebenfalls der gewünschte Effekt einstellt. Auch die Maßnahmen sind ganz allgemein sinnvoll, d. h. können bei allen der gezeigten Ausführungsbeispiele nutzbringend angewandt werden, soweit Bedarf besteht.
  • Die Fig. 10 illustriert den zweiten, unabhängigen Aspekt der Erfindung, wonach eine der bremsend bzw. fangend wirkend zur Anlage an einer Führungsschiene 2 vorgesehene Fläche 43 gegenüber der ihr am Schienenkopf 8 zugeordneten Fläche der Führungsschiene 2 schräg gestellt ist. Wie deutlich zu erkennen ist, ist die schräg gestellte Fläche 43 hier in Form eines Reibbelages 15 ausgeführt. Dieser ist starr am Schenkel 17 des Druckkörpers 19 befestigt. Der Reibbelag bewegt sich also nicht gegenüber dem gesamten Druckkörper, d. h. er führt gegenüber dem ihn haltenden Schenkel 17 keine Relativbewegung aus, sondern bewegt sich mit dem Schenkel 17 mit. Hierdurch gelangt er bei vollständig aufgedehntem Druckkörper mit seiner Reibfläche weitestgehend vollständig an der zugeordneten Oberfläche der Führungsschiene 2 zur Anlage, wodurch optimale Friktions- und Belastungsverhältnisse erreicht werden.
  • Die erfindungsgemäße Schrägstellung kommt besonders wirkungsvoll zur Geltung, wenn der Druckkörper 19, dessen Elastizität die korrekte Anlage der schräg gestellten Fläche bei Volllast gewährleistet, nicht starr am Fahrkorb befestigt ist, sondern so, wie von Fig. 11 gezeigt.
  • Der Druckkörper 19 ist hier, vergleichbar mit dem Sattel einer Kfz-Scheibenbremse, schwimmend an der Aufzugskabine gelagert. Als Führung für die schwimmende Lagerung dienen pro Brems- bzw. Fangeinrichtung je zwei auf Abstand voneinander an der Aufzugskabine befestigte schienenartige Gebilde, hier in Form von Flacheisen F, die sozusagen ein im Wesentlichen horizontal ausgerichtetes Schienenpaar bilden. Der Druckkörper 19 ist an seiner Ober- und Unterkante jeweils mit einer Nut N1 bzw. N2 zum Eingriff für die besagten Flacheisen versehen, so dass der Druckkörper zwischen die beiden Flacheisen eingeschoben werden kann.
  • Beide Nuten weisen, verglichen mit der Breite der Flacheisen, ein gewisses seitliches Spiel auf. Darüber hinaus weist zumindest eine der beiden Nuten N1 und N2 eine besondere Gestaltung auf, sie verläuft nämlich insgesamt hinreichend schräg. Damit wird dem Umstand Rechnung getragen, dass der Druckkörper unter dem Einfluss der Kraft, mit dem die Rolle im Falle des Bremsens oder Fangens in den Spalt hineingezogen wird, elastisch auf gebogen wird, so dass die beiden jeweils an der Unterseite und der Oberseite angebrachten Nuten nicht mehr miteinander fluchten, sofern keine entsprechenden Maßnahmen getroffen werden. Der Schrägverlauf bzw. der Schrägungswinkel α der zumindest einen Nut ist idealerweise so gewählt, dass die Nut bei inaktiver Brems- bzw. Fangeinrichtung nach wie vor eine genau definierte mit zulässigem Spiel versehene Führung gewährleistet, weil nämlich die Unterkante der linken und die Oberkante der rechten Nutflanke eine definierte Führungswirkung entfalten. Dadurch, dass die Nutflanken schräg verlaufen, ist gewährleistet, dass sich der Druckkörper ungehindert verformen kann, ohne die Führung zu beeinträchtigen.
  • Idealerweise ist die schräg gestellte Fläche 43 um einen Winkel β zwischen 0,5° und 5° schräg gestellt.
  • Der erste und der zweite Aspekt der Erfindung stehen zunächst unabhängig nebeneinander, d. h. die Schrägstellung ist auch dann sinnvoll, wenn kein Beschlag aus einem Lagerwerkstoff vorgesehen wird, auf dem die Rolle teilweise gleitet und umgekehrt. Werden beide Maßnahmen gemeinsam miteinander angewandt, ergibt sich dennoch eine ausgeprägte kombinatorische Wirkung. Denn das teilweise Gleiten der Rolle 19 auf dem Beschlag aus Lagerwerkstoff ermöglicht bei im Wesentlichen gleicher Pressung deutlich höhere Gleitgeschwindigkeiten zwischen der Rolle 9 und dem Druckkörper 19 - und eben diese deutlich höheren Gleitgeschwindigkeiten bzw. (bei gleich bleibender Gleitgeschwindigkeit) Pressungen gebieten es, dafür zu sorgen, dass die bestimmungsgemäß mit der Führungsschiene in Kontakt kommenden Flächen der Brems- bzw. Fangeinrichtung bei Volllast sauber an der Führungsschiene anliegen und dort nicht nur ineffizienteren Linienkontakt haben.
  • Ganz generell ist noch anzumerken, dass auch eine kinematische Umkehr des Prinzips "Rolle mit mittiger Rändel und seitlichen Schulten" bzw. "Druckkörper mit mittiger Nut und sich daran beidseitig anschließenden Auflageflächen" gewählt werden kann, ohne den Rahmen der Erfindung zu verlassen. Mit anderen Worten: Die Nut 21 muss nicht zwingend auf Seiten des Druckkörpers ausgeführt sein. Stattdessen kann die Nut auch an der Rolle ausgeführt sein, wo sie beidseitig von gerändelten Umfangsabschnitten der Rolle flankiert wird. Der spaltbildende Abschnitt 20a des Druckkörpers ist dann in entsprechender Weise komplementär ausgebildet. Insbesondere tritt dann an die Stelle der Nut 21 ein Vorsprung, der beidseitig von tiefer liegenden Abschnitten flankiert wird, die bestimmungsgemäß mit den Rändeln der Rolle in Kontakt kommen - bevor diese bei Erreichen der Endposition der Rolle abheben, so dass die Rolle nur noch auf dem Vorsprung gleitet.
  • Allerdings ist diese Abwandlung anfälliger gegen ein Verkanten der Rolle und daher nicht bevorzugt.
  • Liste der vergebenen Bezugszeichen
  • 2
    Führungsschiene
    6
    Steg der Führungsschiene
    7
    Schienenfuß
    8
    Schienenkopf
    9
    Rolle
    11
    Schultern
    12
    Reibfläche der Rolle
    15
    Reibbelag
    16
    Schenkel
    17
    Schenkel
    18
    am Druckkörper befestigtes Halteblech
    19
    Druckkörper
    20
    Spalt
    20a
    spaltbildender Abschnitt
    21
    Nut
    22
    Achse
    23
    Durchbruch
    25
    schwenkbarer Halter
    28
    Feder
    31
    Rastfläche zur Bestimmung der inaktiven Ruhestellung
    32
    Einschnitt
    33
    Beschlag aus Lagerwerkstoff
    34
    Pass- bzw. Verdrehsicherungsstift für den Beschlag
    34b
    Halbbohrungen zur Aufnahme des Verdrehsicherungsstifts
    41
    Position, in der die Rolle im Nutgrund anliegt
    42
    Position, in der die Schultern am Druckkörper anliegen
    43
    schräggestellte Reibfläche (Gegendruckfläche)
    D
    Drehrichtung
    N1
    erste Haltenut des Druckkörpers
    N2
    zweite Haltenut des Druckkörpers
    F
    Flacheisen
    α
    Schrägungswinkel der Nut
    β
    Schrägungswinkel der Reibfläche

Claims (21)

  1. Brems- und/oder Fangeinrichtung (14) für einen Aufzugsfahrkorb, der in einem Schacht entlang von vertikalen Führungsschienen (2) geführt ist, mit einem am Fahrkorb zu befestigenden Druckkörper (19), dessen spaltbildender Abschnitt (20a) bei bestimmungsgemäßer Montage zusammen mit der ihm zugeordneten Führungsschiene einen Spalt (20) ausbildet, in den im Brems- oder Fangfall eine Rolle (9) hineingezogen wird, wobei ein Anschlag vorgesehen ist, der den Weg, den die Rolle (9) in den Spalt (20) hineingezogen wird, begrenzt und damit jeweils eine Endposition für die Rolle (9) vorgibt und die Rolle in ihrer Endposition im Wesentlichen auf der Führungsschiene (2) abwälzt und am Druckkörper (19) gleitet; dadurch gekennzeichnet, dass der Spalt (20) im Bereich seiner Endposition auf der Seite des Druckkörpers (19) örtlich mit einem Beschlag (33) aus einem Lagerwerkstoff versehen ist, der so gestaltet und angeordnet ist, dass die Rolle (9) in ihrer Endposition teilweise auf dem Lagerwerkstoff gleitet und teilweise auf dem härteren Werkstoff des die restliche Gleitfläche bereitstellenden Druckkörpers (19).
  2. Brems- und/oder Fangeinrichtung nach Anspruch 1, dadurch gekennzeichnet, dass der Beschlag (33) aus dem Lagerwerkstoff aus einem Buntmetall besteht, vorzugsweise aus Lagerbronze.
  3. Brems- und/oder Fangeinrichtung nach Anspruch 1 oder 2, dadurch gekennzeichnet, dass der Druckkörper (19) aus vergütetem Stahl besteht.
  4. Brems- und/oder Fangeinrichtung nach einem der vorhergehenden Ansprüche, dadurch gekennzeichnet, dass die Rolle (9) durch ihr Gleiten auf dem Beschlag (33) aus Lagerwerkstoff bestimmungsgemäß Lagerwerkstoff abträgt und in den Bereich einschleppt, in dem die Rolle (9) auf dem Druckkörper gleitet.
  5. Brems- und/oder Fangeinrichtung nach einem der vorhergehenden Ansprüche, dadurch gekennzeichnet, dass die Rolle (9) in dem Bereich, mit dem sie auf der Führungsschiene (2) abwälzt, eine Profilierung, insbesondere in Form einer Rändel trägt, die die Reibungsverhältnisse derart beeinflusst, dass die Rolle (9) solange, bis sie ihre Endposition erreicht hat, auf der Führungsschiene (2) und auf dem Druckkörper (19) bis kurz vor Endposition abrollt.
  6. Brems- und/oder Fangeinrichtung nach Anspruch 5, dadurch gekennzeichnet, dass der Beschlag (33) so gestaltet bzw. angeordnet ist, dass die Rändel (12) nicht bzw. im Wesentlichen nicht auf dem Beschlag (33) gleitet.
  7. Brems- und/oder Fangeinrichtung nach einem der vorhergehenden Ansprüche, dadurch gekennzeichnet, dass der Beschlag (33) aus dem Lagerwerkstoff aus einem Bolzen aus entsprechendem Material besteht, der verdrehfest in einer entsprechenden Aufnahmebohrung (33a) des Druckkörpers gehalten ist, wobei sowohl der Bolzen als auch die Aufnahmebohrung zumindest in dem Bereich, in dem die Rolle (9) bestimmungsgemäß auf dem Bolzen gleitet, überfräst bzw. überschliffen sind.
  8. Brems- und/oder Fangeinrichtung nach einem der vorhergehenden Ansprüche, dadurch gekennzeichnet, dass der Anschlag, der den Weg, den die Rolle (9) in den Spalt (20) hineingezogen wird, begrenzt und damit jeweils eine Endposition für die Rolle (9) vorgibt, so ausgebildet ist, dass der Materialabtrag am Beschlag (33) aus dem Lagerwerkstoff zumindest teilweise dadurch kompensiert wird, dass die Rolle (9) etwas weiter in den Spalt (20) zwischen dem Druckkörper (19) und der Führungsschiene (2) hineingezogen wird.
  9. Brems- und/oder Fangeinrichtung nach einem der vorhergehenden Ansprüche, dadurch gekennzeichnet, dass die Rolle (9) beidseitig neben ihrem Abschnitt (12), der auf der Führungsschiene (2) abwälzt, abgesetzte Schultern (11) mit im Vergleich zu besagtem Abschnitt (12) kleinerem Durchmesser aufweist, und der spaltbildende Abschnitt (20a) des Druckkörpers (19) eine Nut (21) zur Aufnahme der zum Kontakt mit der Führungsschiene (2) vorgesehenen Reibfläche (12) der Rolle (9) aufweist, wobei die Nut so gestaltet ist, dass, wenn sich die Rolle (9) in ihrer Endposition befindet, Spiel bzw. Freigang zwischen der Reibfläche (12) der Rolle (9) und der Nut (21) besteht, so dass die Reibfläche (12) keinen oder keinen wesentlichen Reibkontakt zum Druckkörper hat und die Rolle (9) druckkörperseitig zumindest im Wesentlichen nur durch die Gleitreibung zwischen den Schultern (11) und dem Druckkörper (19) bzw. dem Beschlag (33) gebremst wird.
  10. Brems- und/oder Fangeinrichtung für einen Aufzugsfahrkorb, der in einem Schacht entlang von vertikalen Führungsschienen (2) geführt ist, mit einem am Fahrkorb zu befestigenden Druckkörper (19), dessen spaltbildender Abschnitt (20a) bei bestimmungsgemäßer Montage zusammen mit der ihm zugeordneten Führungsschiene (2) einen Spalt (20) ausbildet, in den im Brems- oder Fangfall eine Rolle (9) hineingezogen wird, wobei ein Anschlag vorgesehen ist, der den Weg, den die Rolle (9) in den Spalt (20) hineingezogen wird, begrenzt und damit jeweils eine Endposition für die Rolle (9) vorgibt und die Rolle (9) in ihrer Endposition im Wesentlichen auf der Führungsschiene (2) abwälzt und am Druckkörper (19) gleitet; dadurch gekennzeichnet, dass zumindest eine der auf Seiten der Brems- bzw. Fangeinrichtung zur bestimmungsgemäß bremsend bzw. fangend wirkend zur Anlage an einer Führungsschiene vorgesehenen Flächen (z.B. 43) bei inaktiver Brems- bzw. Fangeinrichtung gegenüber der ihr zugeordneten Fläche der Führungsschiene (2) schräg gestellt ist, derart, dass sich diese Fläche (43) bei vollständig bzw. bis auf Anschlag aktivierter Brems- bzw. Fangeinrichtung parallel zur ihr zugeordneten Fläche Führungsschiene (2) ausrichtet und im Wesentlichen vollflächig an ihr anliegt.
  11. Brems- und/oder Fangeinrichtung nach Anspruch 10, dadurch gekennzeichnet, dass der Druckkörper (19) ein mehrschenkliger, vorzugsweise C-förmiger oder kreisförmiger, an einer Stelle geschlitzter Körper ist, der so gestaltet ist, dass im Brems- oder Fangfall ein Schenkel (16) mit einer ersten Funktionsfläche der Führungsschiene (2) in Kontakt kommt und ein zweiter Schenkel (17) mit einer zweiten Funktionsfläche der Führungsschiene (2) in Kontakt kommt, wobei der Druckkörper (19) als solcher durch das Hineinziehen der Rolle (9) in den Spalt (20) elastisch aufgeweitet wird und der Betrag der aufweitenden Kräfte die Größe der bremsend bzw. fangend wirkenden Kräfte bestimmt.
  12. Brems- und/oder Fangeinrichtung nach Anspruch 11, dadurch gekennzeichnet, dass die für die Ausrichtung der schräg gestellten Fläche (43) erforderliche Beweglichkeit dadurch hergestellt ist, dass sich die schräg gestellte Fläche (43) im Zuge der elastischen Aufweitung des Druckkörpers (19) zusammen mit dem entsprechenden Schenkel des Druckkörpers (19) relativ zur zugeordneten Funktionsfläche der Führungsschiene (2) bewegt.
  13. Brems- und/oder Fangeinrichtung nach Anspruch 12, dadurch gekennzeichnet, dass die schräg gestellte Fläche (43) integraler Bestandteil des Druckkörpers (19) oder ist oder im Wesentlichen starr mit dem Druckkörper (19) verbunden ist.
  14. Brems- und/oder Fangeinrichtung nach einem der vorhergehenden Ansprüche in Verbindung mit Anspruch 10, dadurch gekennzeichnet, dass die schräg gestellte Fläche (43) derart schräg gestellt ist und mit dem Druckkörper (19) in Verbindung steht, dass die schräg gestellte Fläche (43) in einer ersten Phase des Brems- oder Fangfalles nur teilweise an der Führungsschiene (2) anliegt, was jedoch zumindest so lange zu einer Zunahme der Brems- bzw. Fangwirkung führt, bis die schräg gestellte Fläche (43) in einer zweiten Phase des Brems- oder Fangfalles im Wesentlichen vollständig an der Führungsschiene (2) anliegt.
  15. Brems- und/oder Fangeinrichtung nach einem der vorhergehenden Ansprüche in Verbindung mit Anspruch 10, dadurch gekennzeichnet, dass die Brems- und/oder Fangeinrichtung keine Schrauben- oder Tellerfedern aufweist.
  16. Brems- und/oder Fangeinrichtung nach einem der vorhergehenden Ansprüche in Verbindung mit Anspruch 10, dadurch gekennzeichnet, dass die schräg gestellte Fläche (43) nicht die Rolle (9) ist, sondern die mit der Rolle (9) zusammenwirkende Gegenfläche (15) des Druckkörpers, die auf die der Rolle (9) gegenüberliegende Seite der Führungsschiene (2) einwirkt.
  17. Brems- und/oder Fangeinrichtung nach einem der vorhergehenden Ansprüche in Verbindung mit Anspruch 10, dadurch gekennzeichnet, dass die schräg gestellte Fläche (43) durch einen am Druckkörper (19) befestigten Belag (15) aus einem Lagermetall, vorzugsweise Lagerbronze oder Messing gebildet wird.
  18. Brems- bzw. Fangeinrichtung nach einem der vorhergehenden Ansprüche, dadurch gekennzeichnet, dass der Druckkörper (19) schwimmend an der Aufzugskabine lagerbar ist.
  19. Brems- bzw. Fangeinrichtung nach Anspruch 18, dadurch gekennzeichnet, dass der Duckkörper (19) an seinem, in Einbaulage gesehen oberen und unteren Rand Führungsabschnitte, bevorzugt in Form von Nuten, zur schwimmenden Lagerung des Druckkörpers (19) zwischen zwei an der Aufzugskabine befestigten Schienen, vorzugsweise in Gestalt von im Wesentlichen parallel-horizontal montierten Flacheisen, aufweist.
  20. Brems- bzw. Fangeinrichtung nach Anspruch 19, dadurch gekennzeichnet, dass die Nuten so gestaltet sind, dass sie in jedem Zustand der Brems- bzw. Fangeinrichtung deren hinreichend genaue schwimmende Lagerung gewährleisten, ohne jedoch im Falle einer Aktivierung der Brems- bzw. Fangeinrichtung die elastische Verformung von deren Druckkörper zu behindern.
  21. Brems- bzw. Fangeinrichtung nach einem der Ansprüche 18 oder 19, dadurch gekennzeichnet, dass zumindest eine der Nuten bei bestimmungsgemäß montierter und inaktiver Brems- bzw. Fangeinrichtung schräg zu dem in ihr laufenden Schienenabschnitt ausgerichtet ist, derart, dass die Seitenwände zweier sich gegenüberliegender und zur Führung an derselben Schiene dienende Nuten erst dann im Wesentlichen miteinander fluchten, wenn der Druckkörper der Brems- bzw. Fangeinrichtung annähernd seine im bestimmungsgemäßen Betrieb maximal vorgesehene Verformung erreicht hat.
EP07007905A 2007-04-18 2007-04-18 Brems- bzw. Fangeinrichtung mit teilweise auf Bronzebelag laufender Rolle und schräg stehender Reibfläche Active EP1982945B9 (de)

Priority Applications (7)

Application Number Priority Date Filing Date Title
AT07007905T ATE486811T1 (de) 2007-04-18 2007-04-18 Brems- bzw. fangeinrichtung mit teilweise auf bronzebelag laufender rolle und schräg stehender reibfläche
DE502007005550T DE502007005550D1 (de) 2007-04-18 2007-04-18 Brems- bzw. Fangeinrichtung mit teilweise auf Bronzebelag laufender Rolle und schräg stehender Reibfläche
EP07007905A EP1982945B9 (de) 2007-04-18 2007-04-18 Brems- bzw. Fangeinrichtung mit teilweise auf Bronzebelag laufender Rolle und schräg stehender Reibfläche
ES07007905T ES2353979T3 (es) 2007-04-18 2007-04-18 Dispositivo de frenado o aprehensión con rodillo que corre parcialmente sobre revestimiento de bronce y con superficie de fricción inclinada .
PCT/EP2008/003034 WO2008128689A2 (de) 2007-04-18 2008-04-16 Brems- bzw. fangeinrichtung mit teilweise auf bronzebelag laufender rolle und schräg stehender reibfläche
RU2009137552/11A RU2438961C2 (ru) 2007-04-18 2008-04-16 Тормозное или ловильное устройство с частично перемещающимся по бронзовой накладке роликом и косо расположенной поверхностью трения
CN200880012697.7A CN101663221B (zh) 2007-04-18 2008-04-16 一种用于电梯轿厢的制动器

Applications Claiming Priority (1)

Application Number Priority Date Filing Date Title
EP07007905A EP1982945B9 (de) 2007-04-18 2007-04-18 Brems- bzw. Fangeinrichtung mit teilweise auf Bronzebelag laufender Rolle und schräg stehender Reibfläche

Publications (3)

Publication Number Publication Date
EP1982945A1 true EP1982945A1 (de) 2008-10-22
EP1982945B1 EP1982945B1 (de) 2010-11-03
EP1982945B9 EP1982945B9 (de) 2011-02-02

Family

ID=38523505

Family Applications (1)

Application Number Title Priority Date Filing Date
EP07007905A Active EP1982945B9 (de) 2007-04-18 2007-04-18 Brems- bzw. Fangeinrichtung mit teilweise auf Bronzebelag laufender Rolle und schräg stehender Reibfläche

Country Status (7)

Country Link
EP (1) EP1982945B9 (de)
CN (1) CN101663221B (de)
AT (1) ATE486811T1 (de)
DE (1) DE502007005550D1 (de)
ES (1) ES2353979T3 (de)
RU (1) RU2438961C2 (de)
WO (1) WO2008128689A2 (de)

Families Citing this family (3)

* Cited by examiner, † Cited by third party
Publication number Priority date Publication date Assignee Title
BR112018005224B1 (pt) * 2015-09-23 2021-11-16 Inventio Ag Dispositivo de captura de deslizamento para um sistema de elevador, sistema de elevador e método para a frenagem de uma cabine de elevador
DE202019105584U1 (de) * 2019-10-10 2019-10-22 Wittur Holding Gmbh Auslöseeinheit zum Betätigen einer Aufzugbremsvorrichtung
CN117446625A (zh) * 2023-10-27 2024-01-26 杭州西奥电梯有限公司 一种分体涨紧式曳引轮衬套及组装方法

Citations (5)

* Cited by examiner, † Cited by third party
Publication number Priority date Publication date Assignee Title
GB2136773A (en) 1983-03-21 1984-09-26 Otis Elevator Co Elevator safety device
EP0841280A1 (de) 1996-11-07 1998-05-13 Kone Oy Sicherheitsvorrichtung
EP1061032A1 (de) * 1998-12-02 2000-12-20 Fabricacion de Elevadores, S.A. Elastisches element für bremse von geführten systemen
WO2006077243A1 (de) 2005-01-21 2006-07-27 Wittur Ag Brems- bzw. fangeinrichtung für eine aufzugskabine
US20060180406A1 (en) * 2004-12-17 2006-08-17 Inventio Ag Elevator installation with a braking device and method for braking and holding an elevator installation

Family Cites Families (1)

* Cited by examiner, † Cited by third party
Publication number Priority date Publication date Assignee Title
SU1121225A1 (ru) * 1980-08-22 1984-10-30 Ордена Октябрьской Революции Карачаровский Механический Завод Ловитель кабины лифта

Patent Citations (5)

* Cited by examiner, † Cited by third party
Publication number Priority date Publication date Assignee Title
GB2136773A (en) 1983-03-21 1984-09-26 Otis Elevator Co Elevator safety device
EP0841280A1 (de) 1996-11-07 1998-05-13 Kone Oy Sicherheitsvorrichtung
EP1061032A1 (de) * 1998-12-02 2000-12-20 Fabricacion de Elevadores, S.A. Elastisches element für bremse von geführten systemen
US20060180406A1 (en) * 2004-12-17 2006-08-17 Inventio Ag Elevator installation with a braking device and method for braking and holding an elevator installation
WO2006077243A1 (de) 2005-01-21 2006-07-27 Wittur Ag Brems- bzw. fangeinrichtung für eine aufzugskabine

Also Published As

Publication number Publication date
CN101663221A (zh) 2010-03-03
RU2009137552A (ru) 2011-04-20
WO2008128689A3 (de) 2008-12-24
EP1982945B9 (de) 2011-02-02
CN101663221B (zh) 2013-01-30
DE502007005550D1 (de) 2010-12-16
ES2353979T3 (es) 2011-03-08
ATE486811T1 (de) 2010-11-15
RU2438961C2 (ru) 2012-01-10
EP1982945B1 (de) 2010-11-03
WO2008128689A2 (de) 2008-10-30

Similar Documents

Publication Publication Date Title
DE69718131T2 (de) Sicherheitsvorrichtung
EP2925654B1 (de) Fangvorrichtung zu einem fahrkörper einer aufzugsanlage
EP1902993B1 (de) Selbstrückstellmechanismus für eine Bremsfangeinrichtung Typ BSG
DE102015206345A1 (de) Führungsschiene für eine Aufzuganlage
WO2021069739A1 (de) Auslöseeinheit zum betätigen einer aufzugbremsvorrichtung
DE3715098A1 (de) Fangvorrichtung zum beispiel fuer den fahrkorb oder das gegengewicht einer aufzugsanlage
EP1035965A1 (de) Keiltrieb
EP1853504A1 (de) Brems- bzw. fangeinrichtung für eine aufzugskabine
EP3710325B1 (de) Elektromechanisch schaltbare bremse mit integraler dämpferstruktur
EP1400476B1 (de) Fangvorrichtung für Aufzüge
DE69715773T2 (de) Verschiebbare Sicherheitsvorrichtung
DE102006036654B4 (de) Keiltrieb mit Zwangsrückholeinrichtung
EP1982945B9 (de) Brems- bzw. Fangeinrichtung mit teilweise auf Bronzebelag laufender Rolle und schräg stehender Reibfläche
EP2102524B1 (de) Scheibenbremse mit elektromotorischen aktuator in selbstverstärkender bauart
EP2043937B1 (de) Brems- bzw. fangeinrichtung zur temporären schutzraumabsicherung und dergl.
EP0899231A1 (de) Bremsfangvorrichtung
EP4077190B1 (de) Fangvorrichtung für einen aufzug
EP3774629B1 (de) Zangenbremse für eine aufzugsanlage, die insbesondere als halte- und sicherheitsbremse dient
EP4038002B1 (de) Bremsvorrichtung
DE102007038789A1 (de) Spannvorrichtung und Anordnung einer solchen Spannvorrichtung mit einer Spannzange
WO1985002169A1 (fr) Dispositif parachute notamment pour cabines d'ascenseur
EP4534466A2 (de) Auslöseeinheit zum betätigen einer aufzugbremsvorrichtung
EP4217622A1 (de) Zuspanneinrichtung einer scheibenbremse
DE2133202A1 (de) Nachstellvorrichtung fuer das lueftspiel einer durch federkraft einrueckbaren und elektromagnetisch geluefteten bremse
DE102004001568A1 (de) Teleskopschiene

Legal Events

Date Code Title Description
PUAI Public reference made under article 153(3) epc to a published international application that has entered the european phase

Free format text: ORIGINAL CODE: 0009012

17P Request for examination filed

Effective date: 20080712

AK Designated contracting states

Kind code of ref document: A1

Designated state(s): AT BE BG CH CY CZ DE DK EE ES FI FR GB GR HU IE IS IT LI LT LU LV MC MT NL PL PT RO SE SI SK TR

AX Request for extension of the european patent

Extension state: AL BA HR MK RS

17Q First examination report despatched

Effective date: 20090306

AKX Designation fees paid

Designated state(s): AT BE BG CH CY CZ DE DK EE ES FI FR GB GR HU IE IS IT LI LT LU LV MC MT NL PL PT RO SE SI SK TR

GRAP Despatch of communication of intention to grant a patent

Free format text: ORIGINAL CODE: EPIDOSNIGR1

GRAS Grant fee paid

Free format text: ORIGINAL CODE: EPIDOSNIGR3

GRAA (expected) grant

Free format text: ORIGINAL CODE: 0009210

AK Designated contracting states

Kind code of ref document: B1

Designated state(s): AT BE BG CH CY CZ DE DK EE ES FI FR GB GR HU IE IS IT LI LT LU LV MC MT NL PL PT RO SE SI SK TR

REG Reference to a national code

Ref country code: GB

Ref legal event code: FG4D

Free format text: NOT ENGLISH

REG Reference to a national code

Ref country code: CH

Ref legal event code: EP

REG Reference to a national code

Ref country code: IE

Ref legal event code: FG4D

Free format text: LANGUAGE OF EP DOCUMENT: GERMAN

REF Corresponds to:

Ref document number: 502007005550

Country of ref document: DE

Date of ref document: 20101216

Kind code of ref document: P

REG Reference to a national code

Ref country code: ES

Ref legal event code: FG2A

Effective date: 20110224

REG Reference to a national code

Ref country code: NL

Ref legal event code: VDEP

Effective date: 20101103

LTIE Lt: invalidation of european patent or patent extension

Effective date: 20101103

PG25 Lapsed in a contracting state [announced via postgrant information from national office to epo]

Ref country code: LT

Free format text: LAPSE BECAUSE OF FAILURE TO SUBMIT A TRANSLATION OF THE DESCRIPTION OR TO PAY THE FEE WITHIN THE PRESCRIBED TIME-LIMIT

Effective date: 20101103

REG Reference to a national code

Ref country code: IE

Ref legal event code: FD4D

PG25 Lapsed in a contracting state [announced via postgrant information from national office to epo]

Ref country code: LV

Free format text: LAPSE BECAUSE OF FAILURE TO SUBMIT A TRANSLATION OF THE DESCRIPTION OR TO PAY THE FEE WITHIN THE PRESCRIBED TIME-LIMIT

Effective date: 20101103

Ref country code: FI

Free format text: LAPSE BECAUSE OF FAILURE TO SUBMIT A TRANSLATION OF THE DESCRIPTION OR TO PAY THE FEE WITHIN THE PRESCRIBED TIME-LIMIT

Effective date: 20101103

Ref country code: SI

Free format text: LAPSE BECAUSE OF FAILURE TO SUBMIT A TRANSLATION OF THE DESCRIPTION OR TO PAY THE FEE WITHIN THE PRESCRIBED TIME-LIMIT

Effective date: 20101103

Ref country code: IS

Free format text: LAPSE BECAUSE OF FAILURE TO SUBMIT A TRANSLATION OF THE DESCRIPTION OR TO PAY THE FEE WITHIN THE PRESCRIBED TIME-LIMIT

Effective date: 20110303

Ref country code: PT

Free format text: LAPSE BECAUSE OF FAILURE TO SUBMIT A TRANSLATION OF THE DESCRIPTION OR TO PAY THE FEE WITHIN THE PRESCRIBED TIME-LIMIT

Effective date: 20110303

Ref country code: NL

Free format text: LAPSE BECAUSE OF FAILURE TO SUBMIT A TRANSLATION OF THE DESCRIPTION OR TO PAY THE FEE WITHIN THE PRESCRIBED TIME-LIMIT

Effective date: 20101103

Ref country code: SE

Free format text: LAPSE BECAUSE OF FAILURE TO SUBMIT A TRANSLATION OF THE DESCRIPTION OR TO PAY THE FEE WITHIN THE PRESCRIBED TIME-LIMIT

Effective date: 20101103

Ref country code: BG

Free format text: LAPSE BECAUSE OF FAILURE TO SUBMIT A TRANSLATION OF THE DESCRIPTION OR TO PAY THE FEE WITHIN THE PRESCRIBED TIME-LIMIT

Effective date: 20110203

PG25 Lapsed in a contracting state [announced via postgrant information from national office to epo]

Ref country code: CZ

Free format text: LAPSE BECAUSE OF FAILURE TO SUBMIT A TRANSLATION OF THE DESCRIPTION OR TO PAY THE FEE WITHIN THE PRESCRIBED TIME-LIMIT

Effective date: 20101103

Ref country code: IE

Free format text: LAPSE BECAUSE OF FAILURE TO SUBMIT A TRANSLATION OF THE DESCRIPTION OR TO PAY THE FEE WITHIN THE PRESCRIBED TIME-LIMIT

Effective date: 20101103

Ref country code: EE

Free format text: LAPSE BECAUSE OF FAILURE TO SUBMIT A TRANSLATION OF THE DESCRIPTION OR TO PAY THE FEE WITHIN THE PRESCRIBED TIME-LIMIT

Effective date: 20101103

PG25 Lapsed in a contracting state [announced via postgrant information from national office to epo]

Ref country code: DK

Free format text: LAPSE BECAUSE OF FAILURE TO SUBMIT A TRANSLATION OF THE DESCRIPTION OR TO PAY THE FEE WITHIN THE PRESCRIBED TIME-LIMIT

Effective date: 20101103

Ref country code: PL

Free format text: LAPSE BECAUSE OF FAILURE TO SUBMIT A TRANSLATION OF THE DESCRIPTION OR TO PAY THE FEE WITHIN THE PRESCRIBED TIME-LIMIT

Effective date: 20101103

Ref country code: RO

Free format text: LAPSE BECAUSE OF FAILURE TO SUBMIT A TRANSLATION OF THE DESCRIPTION OR TO PAY THE FEE WITHIN THE PRESCRIBED TIME-LIMIT

Effective date: 20101103

Ref country code: SK

Free format text: LAPSE BECAUSE OF FAILURE TO SUBMIT A TRANSLATION OF THE DESCRIPTION OR TO PAY THE FEE WITHIN THE PRESCRIBED TIME-LIMIT

Effective date: 20101103

PLBE No opposition filed within time limit

Free format text: ORIGINAL CODE: 0009261

STAA Information on the status of an ep patent application or granted ep patent

Free format text: STATUS: NO OPPOSITION FILED WITHIN TIME LIMIT

26N No opposition filed

Effective date: 20110804

BERE Be: lapsed

Owner name: WITTUR HOLDING G.M.B.H.

Effective date: 20110430

PG25 Lapsed in a contracting state [announced via postgrant information from national office to epo]

Ref country code: MC

Free format text: LAPSE BECAUSE OF NON-PAYMENT OF DUE FEES

Effective date: 20110430

REG Reference to a national code

Ref country code: CH

Ref legal event code: PL

REG Reference to a national code

Ref country code: DE

Ref legal event code: R097

Ref document number: 502007005550

Country of ref document: DE

Effective date: 20110804

PG25 Lapsed in a contracting state [announced via postgrant information from national office to epo]

Ref country code: MT

Free format text: LAPSE BECAUSE OF FAILURE TO SUBMIT A TRANSLATION OF THE DESCRIPTION OR TO PAY THE FEE WITHIN THE PRESCRIBED TIME-LIMIT

Effective date: 20101103

PG25 Lapsed in a contracting state [announced via postgrant information from national office to epo]

Ref country code: LI

Free format text: LAPSE BECAUSE OF NON-PAYMENT OF DUE FEES

Effective date: 20110430

Ref country code: CH

Free format text: LAPSE BECAUSE OF NON-PAYMENT OF DUE FEES

Effective date: 20110430

Ref country code: BE

Free format text: LAPSE BECAUSE OF NON-PAYMENT OF DUE FEES

Effective date: 20110430

REG Reference to a national code

Ref country code: DE

Ref legal event code: R082

Ref document number: 502007005550

Country of ref document: DE

Representative=s name: MARTIN MISSELHORN PATENT- UND RECHTSANWALT, DE

Ref country code: DE

Ref legal event code: R082

Ref document number: 502007005550

Country of ref document: DE

Representative=s name: MISSELHORN WALL PATENT- UND RECHTSANWAELTE, DE

PG25 Lapsed in a contracting state [announced via postgrant information from national office to epo]

Ref country code: LU

Free format text: LAPSE BECAUSE OF NON-PAYMENT OF DUE FEES

Effective date: 20110418

Ref country code: CY

Free format text: LAPSE BECAUSE OF FAILURE TO SUBMIT A TRANSLATION OF THE DESCRIPTION OR TO PAY THE FEE WITHIN THE PRESCRIBED TIME-LIMIT

Effective date: 20101103

REG Reference to a national code

Ref country code: DE

Ref legal event code: R082

Ref document number: 502007005550

Country of ref document: DE

Representative=s name: MARTIN MISSELHORN PATENT- UND RECHTSANWALT, DE

REG Reference to a national code

Ref country code: AT

Ref legal event code: MM01

Ref document number: 486811

Country of ref document: AT

Kind code of ref document: T

Effective date: 20120418

PG25 Lapsed in a contracting state [announced via postgrant information from national office to epo]

Ref country code: AT

Free format text: LAPSE BECAUSE OF NON-PAYMENT OF DUE FEES

Effective date: 20120418

PG25 Lapsed in a contracting state [announced via postgrant information from national office to epo]

Ref country code: HU

Free format text: LAPSE BECAUSE OF FAILURE TO SUBMIT A TRANSLATION OF THE DESCRIPTION OR TO PAY THE FEE WITHIN THE PRESCRIBED TIME-LIMIT

Effective date: 20101103

REG Reference to a national code

Ref country code: DE

Ref legal event code: R082

Ref document number: 502007005550

Country of ref document: DE

Representative=s name: MISSELHORN, MARTIN, DIPL.-ING., DE

Effective date: 20131114

Ref country code: DE

Ref legal event code: R082

Ref document number: 502007005550

Country of ref document: DE

Representative=s name: MISSELHORN, MARTIN, DIPL.-ING., DE

Effective date: 20120402

Ref country code: DE

Ref legal event code: R082

Ref document number: 502007005550

Country of ref document: DE

Representative=s name: MISSELHORN, MARTIN, DIPL.-ING., DE

Effective date: 20130614

Ref country code: DE

Ref legal event code: R081

Ref document number: 502007005550

Country of ref document: DE

Owner name: WITTUR HOLDING GMBH, DE

Free format text: FORMER OWNER: WITTUR HOLDING GMBH, 85259 WIEDENZHAUSEN, DE

Effective date: 20131114

REG Reference to a national code

Ref country code: GR

Ref legal event code: EP

Ref document number: 20100403037

Country of ref document: GR

Effective date: 20110119

REG Reference to a national code

Ref country code: FR

Ref legal event code: PLFP

Year of fee payment: 10

REG Reference to a national code

Ref country code: FR

Ref legal event code: PLFP

Year of fee payment: 11

REG Reference to a national code

Ref country code: FR

Ref legal event code: PLFP

Year of fee payment: 12

PGFP Annual fee paid to national office [announced via postgrant information from national office to epo]

Ref country code: GR

Payment date: 20230418

Year of fee payment: 17

PG25 Lapsed in a contracting state [announced via postgrant information from national office to epo]

Ref country code: GR

Free format text: LAPSE BECAUSE OF NON-PAYMENT OF DUE FEES

Effective date: 20241104

PG25 Lapsed in a contracting state [announced via postgrant information from national office to epo]

Ref country code: GR

Free format text: LAPSE BECAUSE OF NON-PAYMENT OF DUE FEES

Effective date: 20241104

PGFP Annual fee paid to national office [announced via postgrant information from national office to epo]

Ref country code: DE

Payment date: 20250417

Year of fee payment: 19

PGFP Annual fee paid to national office [announced via postgrant information from national office to epo]

Ref country code: GB

Payment date: 20250423

Year of fee payment: 19

Ref country code: ES

Payment date: 20250519

Year of fee payment: 19

PGFP Annual fee paid to national office [announced via postgrant information from national office to epo]

Ref country code: IT

Payment date: 20250430

Year of fee payment: 19

PGFP Annual fee paid to national office [announced via postgrant information from national office to epo]

Ref country code: FR

Payment date: 20250428

Year of fee payment: 19

PGFP Annual fee paid to national office [announced via postgrant information from national office to epo]

Ref country code: TR

Payment date: 20250410

Year of fee payment: 19