EP1916524A1 - Rotierbares Testelement - Google Patents
Rotierbares Testelement Download PDFInfo
- Publication number
- EP1916524A1 EP1916524A1 EP06020219A EP06020219A EP1916524A1 EP 1916524 A1 EP1916524 A1 EP 1916524A1 EP 06020219 A EP06020219 A EP 06020219A EP 06020219 A EP06020219 A EP 06020219A EP 1916524 A1 EP1916524 A1 EP 1916524A1
- Authority
- EP
- European Patent Office
- Prior art keywords
- sample
- test element
- axis
- zone
- porous
- Prior art date
- Legal status (The legal status is an assumption and is not a legal conclusion. Google has not performed a legal analysis and makes no representation as to the accuracy of the status listed.)
- Ceased
Links
- 238000012360 testing method Methods 0.000 title claims abstract description 163
- 239000007788 liquid Substances 0.000 claims abstract description 74
- 239000011159 matrix material Substances 0.000 claims abstract description 53
- 239000002250 absorbent Substances 0.000 claims abstract description 46
- 230000002745 absorbent Effects 0.000 claims abstract description 45
- 239000012491 analyte Substances 0.000 claims abstract description 27
- 239000000463 material Substances 0.000 claims abstract description 19
- 230000003287 optical effect Effects 0.000 claims abstract description 14
- 238000000034 method Methods 0.000 claims abstract description 13
- 230000000007 visual effect Effects 0.000 claims abstract description 4
- 239000003153 chemical reaction reagent Substances 0.000 claims description 51
- 239000012528 membrane Substances 0.000 claims description 28
- 230000004888 barrier function Effects 0.000 claims description 12
- 230000002209 hydrophobic effect Effects 0.000 claims description 12
- 238000011156 evaluation Methods 0.000 claims description 5
- 238000013508 migration Methods 0.000 claims 1
- 230000005012 migration Effects 0.000 claims 1
- 239000000523 sample Substances 0.000 description 228
- 210000004379 membrane Anatomy 0.000 description 27
- 210000003743 erythrocyte Anatomy 0.000 description 20
- 210000002381 plasma Anatomy 0.000 description 19
- 210000002966 serum Anatomy 0.000 description 18
- 238000000926 separation method Methods 0.000 description 17
- 239000000306 component Substances 0.000 description 16
- 238000001514 detection method Methods 0.000 description 16
- 239000000758 substrate Substances 0.000 description 16
- 210000004369 blood Anatomy 0.000 description 15
- 239000008280 blood Substances 0.000 description 15
- 238000003018 immunoassay Methods 0.000 description 13
- 230000032258 transport Effects 0.000 description 13
- 239000011534 wash buffer Substances 0.000 description 12
- 102000004987 Troponin T Human genes 0.000 description 11
- 108090001108 Troponin T Proteins 0.000 description 11
- 238000011049 filling Methods 0.000 description 11
- 230000001413 cellular effect Effects 0.000 description 9
- 238000005259 measurement Methods 0.000 description 9
- 239000000243 solution Substances 0.000 description 8
- 239000002699 waste material Substances 0.000 description 8
- 238000005406 washing Methods 0.000 description 7
- 238000004458 analytical method Methods 0.000 description 6
- 239000000969 carrier Substances 0.000 description 6
- 238000006243 chemical reaction Methods 0.000 description 6
- 239000000123 paper Substances 0.000 description 6
- 230000009870 specific binding Effects 0.000 description 6
- 238000004587 chromatography analysis Methods 0.000 description 5
- 239000000203 mixture Substances 0.000 description 5
- 239000000020 Nitrocellulose Substances 0.000 description 4
- 108010090804 Streptavidin Proteins 0.000 description 4
- FJWGYAHXMCUOOM-QHOUIDNNSA-N [(2s,3r,4s,5r,6r)-2-[(2r,3r,4s,5r,6s)-4,5-dinitrooxy-2-(nitrooxymethyl)-6-[(2r,3r,4s,5r,6s)-4,5,6-trinitrooxy-2-(nitrooxymethyl)oxan-3-yl]oxyoxan-3-yl]oxy-3,5-dinitrooxy-6-(nitrooxymethyl)oxan-4-yl] nitrate Chemical compound O([C@@H]1O[C@@H]([C@H]([C@H](O[N+]([O-])=O)[C@H]1O[N+]([O-])=O)O[C@H]1[C@@H]([C@@H](O[N+]([O-])=O)[C@H](O[N+]([O-])=O)[C@@H](CO[N+]([O-])=O)O1)O[N+]([O-])=O)CO[N+](=O)[O-])[C@@H]1[C@@H](CO[N+]([O-])=O)O[C@@H](O[N+]([O-])=O)[C@H](O[N+]([O-])=O)[C@H]1O[N+]([O-])=O FJWGYAHXMCUOOM-QHOUIDNNSA-N 0.000 description 4
- 239000000872 buffer Substances 0.000 description 4
- 238000005119 centrifugation Methods 0.000 description 4
- 229920001220 nitrocellulos Polymers 0.000 description 4
- 239000004745 nonwoven fabric Substances 0.000 description 4
- 230000008569 process Effects 0.000 description 4
- 230000009471 action Effects 0.000 description 3
- 230000008901 benefit Effects 0.000 description 3
- 238000009739 binding Methods 0.000 description 3
- 230000000747 cardiac effect Effects 0.000 description 3
- 239000000470 constituent Substances 0.000 description 3
- 238000004090 dissolution Methods 0.000 description 3
- 238000005286 illumination Methods 0.000 description 3
- 238000011534 incubation Methods 0.000 description 3
- 238000001746 injection moulding Methods 0.000 description 3
- 238000004519 manufacturing process Methods 0.000 description 3
- 238000000159 protein binding assay Methods 0.000 description 3
- 238000009423 ventilation Methods 0.000 description 3
- JKMHFZQWWAIEOD-UHFFFAOYSA-N 2-[4-(2-hydroxyethyl)piperazin-1-yl]ethanesulfonic acid Chemical compound OCC[NH+]1CCN(CCS([O-])(=O)=O)CC1 JKMHFZQWWAIEOD-UHFFFAOYSA-N 0.000 description 2
- 239000004793 Polystyrene Substances 0.000 description 2
- PXIPVTKHYLBLMZ-UHFFFAOYSA-N Sodium azide Chemical compound [Na+].[N-]=[N+]=[N-] PXIPVTKHYLBLMZ-UHFFFAOYSA-N 0.000 description 2
- FAPWRFPIFSIZLT-UHFFFAOYSA-M Sodium chloride Chemical compound [Na+].[Cl-] FAPWRFPIFSIZLT-UHFFFAOYSA-M 0.000 description 2
- 239000002390 adhesive tape Substances 0.000 description 2
- 239000000427 antigen Substances 0.000 description 2
- 102000036639 antigens Human genes 0.000 description 2
- 108091007433 antigens Proteins 0.000 description 2
- 238000003556 assay Methods 0.000 description 2
- 230000027455 binding Effects 0.000 description 2
- 210000004027 cell Anatomy 0.000 description 2
- 238000013461 design Methods 0.000 description 2
- 238000011161 development Methods 0.000 description 2
- 230000005284 excitation Effects 0.000 description 2
- 239000000835 fiber Substances 0.000 description 2
- 239000003365 glass fiber Substances 0.000 description 2
- 230000010354 integration Effects 0.000 description 2
- 238000011068 loading method Methods 0.000 description 2
- 239000004033 plastic Substances 0.000 description 2
- 229920003023 plastic Polymers 0.000 description 2
- 229920003229 poly(methyl methacrylate) Polymers 0.000 description 2
- 239000004926 polymethyl methacrylate Substances 0.000 description 2
- 239000011148 porous material Substances 0.000 description 2
- 239000000126 substance Substances 0.000 description 2
- 230000002123 temporal effect Effects 0.000 description 2
- 238000012546 transfer Methods 0.000 description 2
- 230000007704 transition Effects 0.000 description 2
- 238000008397 Elecsys Troponin T Methods 0.000 description 1
- IMROMDMJAWUWLK-UHFFFAOYSA-N Ethenol Chemical compound OC=C IMROMDMJAWUWLK-UHFFFAOYSA-N 0.000 description 1
- WQZGKKKJIJFFOK-GASJEMHNSA-N Glucose Natural products OC[C@H]1OC(O)[C@H](O)[C@@H](O)[C@@H]1O WQZGKKKJIJFFOK-GASJEMHNSA-N 0.000 description 1
- 102000004856 Lectins Human genes 0.000 description 1
- 108090001090 Lectins Proteins 0.000 description 1
- 239000004372 Polyvinyl alcohol Substances 0.000 description 1
- 102000004903 Troponin Human genes 0.000 description 1
- 108090001027 Troponin Proteins 0.000 description 1
- 229920000122 acrylonitrile butadiene styrene Polymers 0.000 description 1
- 238000013459 approach Methods 0.000 description 1
- 239000011230 binding agent Substances 0.000 description 1
- 230000015572 biosynthetic process Effects 0.000 description 1
- 239000012503 blood component Substances 0.000 description 1
- 210000001124 body fluid Anatomy 0.000 description 1
- 238000013375 chromatographic separation Methods 0.000 description 1
- 238000012875 competitive assay Methods 0.000 description 1
- 238000002967 competitive immunoassay Methods 0.000 description 1
- 230000000295 complement effect Effects 0.000 description 1
- 238000001816 cooling Methods 0.000 description 1
- 230000001419 dependent effect Effects 0.000 description 1
- 238000010790 dilution Methods 0.000 description 1
- 239000012895 dilution Substances 0.000 description 1
- 238000007599 discharging Methods 0.000 description 1
- 238000009826 distribution Methods 0.000 description 1
- 230000000694 effects Effects 0.000 description 1
- 230000002996 emotional effect Effects 0.000 description 1
- 238000005516 engineering process Methods 0.000 description 1
- 230000007613 environmental effect Effects 0.000 description 1
- 239000007850 fluorescent dye Substances 0.000 description 1
- 239000008103 glucose Substances 0.000 description 1
- 238000010438 heat treatment Methods 0.000 description 1
- 239000005556 hormone Substances 0.000 description 1
- 229940088597 hormone Drugs 0.000 description 1
- 230000001900 immune effect Effects 0.000 description 1
- 229940127121 immunoconjugate Drugs 0.000 description 1
- 238000005470 impregnation Methods 0.000 description 1
- 238000002347 injection Methods 0.000 description 1
- 239000007924 injection Substances 0.000 description 1
- 230000003993 interaction Effects 0.000 description 1
- 230000002452 interceptive effect Effects 0.000 description 1
- 238000010030 laminating Methods 0.000 description 1
- 239000004816 latex Substances 0.000 description 1
- 229920000126 latex Polymers 0.000 description 1
- 239000002523 lectin Substances 0.000 description 1
- 239000006166 lysate Substances 0.000 description 1
- 238000003801 milling Methods 0.000 description 1
- 238000002156 mixing Methods 0.000 description 1
- 102000039446 nucleic acids Human genes 0.000 description 1
- 108020004707 nucleic acids Proteins 0.000 description 1
- 150000007523 nucleic acids Chemical class 0.000 description 1
- 238000005457 optimization Methods 0.000 description 1
- 239000002245 particle Substances 0.000 description 1
- 239000013618 particulate matter Substances 0.000 description 1
- 238000009832 plasma treatment Methods 0.000 description 1
- 239000002985 plastic film Substances 0.000 description 1
- 229920006255 plastic film Polymers 0.000 description 1
- 239000004417 polycarbonate Substances 0.000 description 1
- 229920000515 polycarbonate Polymers 0.000 description 1
- 229920002223 polystyrene Polymers 0.000 description 1
- 229920002451 polyvinyl alcohol Polymers 0.000 description 1
- 238000002360 preparation method Methods 0.000 description 1
- 238000007639 printing Methods 0.000 description 1
- 238000012545 processing Methods 0.000 description 1
- 102000004169 proteins and genes Human genes 0.000 description 1
- 108090000623 proteins and genes Proteins 0.000 description 1
- 239000002516 radical scavenger Substances 0.000 description 1
- 230000035484 reaction time Effects 0.000 description 1
- 238000007430 reference method Methods 0.000 description 1
- 239000012723 sample buffer Substances 0.000 description 1
- 239000011780 sodium chloride Substances 0.000 description 1
- PWEBUXCTKOWPCW-UHFFFAOYSA-N squaric acid Chemical class OC1=C(O)C(=O)C1=O PWEBUXCTKOWPCW-UHFFFAOYSA-N 0.000 description 1
- 238000003860 storage Methods 0.000 description 1
- -1 such as the porous Substances 0.000 description 1
- 238000002562 urinalysis Methods 0.000 description 1
Images
Classifications
-
- B—PERFORMING OPERATIONS; TRANSPORTING
- B01—PHYSICAL OR CHEMICAL PROCESSES OR APPARATUS IN GENERAL
- B01L—CHEMICAL OR PHYSICAL LABORATORY APPARATUS FOR GENERAL USE
- B01L3/00—Containers or dishes for laboratory use, e.g. laboratory glassware; Droppers
- B01L3/50—Containers for the purpose of retaining a material to be analysed, e.g. test tubes
- B01L3/502—Containers for the purpose of retaining a material to be analysed, e.g. test tubes with fluid transport, e.g. in multi-compartment structures
- B01L3/5027—Containers for the purpose of retaining a material to be analysed, e.g. test tubes with fluid transport, e.g. in multi-compartment structures by integrated microfluidic structures, i.e. dimensions of channels and chambers are such that surface tension forces are important, e.g. lab-on-a-chip
- B01L3/502753—Containers for the purpose of retaining a material to be analysed, e.g. test tubes with fluid transport, e.g. in multi-compartment structures by integrated microfluidic structures, i.e. dimensions of channels and chambers are such that surface tension forces are important, e.g. lab-on-a-chip characterised by bulk separation arrangements on lab-on-a-chip devices, e.g. for filtration or centrifugation
-
- B—PERFORMING OPERATIONS; TRANSPORTING
- B01—PHYSICAL OR CHEMICAL PROCESSES OR APPARATUS IN GENERAL
- B01L—CHEMICAL OR PHYSICAL LABORATORY APPARATUS FOR GENERAL USE
- B01L3/00—Containers or dishes for laboratory use, e.g. laboratory glassware; Droppers
- B01L3/50—Containers for the purpose of retaining a material to be analysed, e.g. test tubes
- B01L3/502—Containers for the purpose of retaining a material to be analysed, e.g. test tubes with fluid transport, e.g. in multi-compartment structures
- B01L3/5023—Containers for the purpose of retaining a material to be analysed, e.g. test tubes with fluid transport, e.g. in multi-compartment structures with a sample being transported to, and subsequently stored in an absorbent for analysis
-
- B—PERFORMING OPERATIONS; TRANSPORTING
- B01—PHYSICAL OR CHEMICAL PROCESSES OR APPARATUS IN GENERAL
- B01L—CHEMICAL OR PHYSICAL LABORATORY APPARATUS FOR GENERAL USE
- B01L3/00—Containers or dishes for laboratory use, e.g. laboratory glassware; Droppers
- B01L3/50—Containers for the purpose of retaining a material to be analysed, e.g. test tubes
- B01L3/502—Containers for the purpose of retaining a material to be analysed, e.g. test tubes with fluid transport, e.g. in multi-compartment structures
- B01L3/5027—Containers for the purpose of retaining a material to be analysed, e.g. test tubes with fluid transport, e.g. in multi-compartment structures by integrated microfluidic structures, i.e. dimensions of channels and chambers are such that surface tension forces are important, e.g. lab-on-a-chip
- B01L3/50273—Containers for the purpose of retaining a material to be analysed, e.g. test tubes with fluid transport, e.g. in multi-compartment structures by integrated microfluidic structures, i.e. dimensions of channels and chambers are such that surface tension forces are important, e.g. lab-on-a-chip characterised by the means or forces applied to move the fluids
-
- B—PERFORMING OPERATIONS; TRANSPORTING
- B01—PHYSICAL OR CHEMICAL PROCESSES OR APPARATUS IN GENERAL
- B01L—CHEMICAL OR PHYSICAL LABORATORY APPARATUS FOR GENERAL USE
- B01L3/00—Containers or dishes for laboratory use, e.g. laboratory glassware; Droppers
- B01L3/50—Containers for the purpose of retaining a material to be analysed, e.g. test tubes
- B01L3/502—Containers for the purpose of retaining a material to be analysed, e.g. test tubes with fluid transport, e.g. in multi-compartment structures
- B01L3/5027—Containers for the purpose of retaining a material to be analysed, e.g. test tubes with fluid transport, e.g. in multi-compartment structures by integrated microfluidic structures, i.e. dimensions of channels and chambers are such that surface tension forces are important, e.g. lab-on-a-chip
- B01L3/502738—Containers for the purpose of retaining a material to be analysed, e.g. test tubes with fluid transport, e.g. in multi-compartment structures by integrated microfluidic structures, i.e. dimensions of channels and chambers are such that surface tension forces are important, e.g. lab-on-a-chip characterised by integrated valves
-
- B—PERFORMING OPERATIONS; TRANSPORTING
- B01—PHYSICAL OR CHEMICAL PROCESSES OR APPARATUS IN GENERAL
- B01L—CHEMICAL OR PHYSICAL LABORATORY APPARATUS FOR GENERAL USE
- B01L2200/00—Solutions for specific problems relating to chemical or physical laboratory apparatus
- B01L2200/06—Fluid handling related problems
- B01L2200/0605—Metering of fluids
-
- B—PERFORMING OPERATIONS; TRANSPORTING
- B01—PHYSICAL OR CHEMICAL PROCESSES OR APPARATUS IN GENERAL
- B01L—CHEMICAL OR PHYSICAL LABORATORY APPARATUS FOR GENERAL USE
- B01L2300/00—Additional constructional details
- B01L2300/06—Auxiliary integrated devices, integrated components
- B01L2300/0627—Sensor or part of a sensor is integrated
- B01L2300/0663—Whole sensors
-
- B—PERFORMING OPERATIONS; TRANSPORTING
- B01—PHYSICAL OR CHEMICAL PROCESSES OR APPARATUS IN GENERAL
- B01L—CHEMICAL OR PHYSICAL LABORATORY APPARATUS FOR GENERAL USE
- B01L2300/00—Additional constructional details
- B01L2300/06—Auxiliary integrated devices, integrated components
- B01L2300/0681—Filter
-
- B—PERFORMING OPERATIONS; TRANSPORTING
- B01—PHYSICAL OR CHEMICAL PROCESSES OR APPARATUS IN GENERAL
- B01L—CHEMICAL OR PHYSICAL LABORATORY APPARATUS FOR GENERAL USE
- B01L2300/00—Additional constructional details
- B01L2300/06—Auxiliary integrated devices, integrated components
- B01L2300/069—Absorbents; Gels to retain a fluid
-
- B—PERFORMING OPERATIONS; TRANSPORTING
- B01—PHYSICAL OR CHEMICAL PROCESSES OR APPARATUS IN GENERAL
- B01L—CHEMICAL OR PHYSICAL LABORATORY APPARATUS FOR GENERAL USE
- B01L2300/00—Additional constructional details
- B01L2300/08—Geometry, shape and general structure
- B01L2300/0803—Disc shape
- B01L2300/0806—Standardised forms, e.g. compact disc [CD] format
-
- B—PERFORMING OPERATIONS; TRANSPORTING
- B01—PHYSICAL OR CHEMICAL PROCESSES OR APPARATUS IN GENERAL
- B01L—CHEMICAL OR PHYSICAL LABORATORY APPARATUS FOR GENERAL USE
- B01L2300/00—Additional constructional details
- B01L2300/08—Geometry, shape and general structure
- B01L2300/0861—Configuration of multiple channels and/or chambers in a single devices
-
- B—PERFORMING OPERATIONS; TRANSPORTING
- B01—PHYSICAL OR CHEMICAL PROCESSES OR APPARATUS IN GENERAL
- B01L—CHEMICAL OR PHYSICAL LABORATORY APPARATUS FOR GENERAL USE
- B01L2400/00—Moving or stopping fluids
- B01L2400/04—Moving fluids with specific forces or mechanical means
- B01L2400/0403—Moving fluids with specific forces or mechanical means specific forces
- B01L2400/0406—Moving fluids with specific forces or mechanical means specific forces capillary forces
-
- B—PERFORMING OPERATIONS; TRANSPORTING
- B01—PHYSICAL OR CHEMICAL PROCESSES OR APPARATUS IN GENERAL
- B01L—CHEMICAL OR PHYSICAL LABORATORY APPARATUS FOR GENERAL USE
- B01L2400/00—Moving or stopping fluids
- B01L2400/04—Moving fluids with specific forces or mechanical means
- B01L2400/0403—Moving fluids with specific forces or mechanical means specific forces
- B01L2400/0409—Moving fluids with specific forces or mechanical means specific forces centrifugal forces
-
- B—PERFORMING OPERATIONS; TRANSPORTING
- B01—PHYSICAL OR CHEMICAL PROCESSES OR APPARATUS IN GENERAL
- B01L—CHEMICAL OR PHYSICAL LABORATORY APPARATUS FOR GENERAL USE
- B01L2400/00—Moving or stopping fluids
- B01L2400/06—Valves, specific forms thereof
- B01L2400/0688—Valves, specific forms thereof surface tension valves, capillary stop, capillary break
-
- B—PERFORMING OPERATIONS; TRANSPORTING
- B01—PHYSICAL OR CHEMICAL PROCESSES OR APPARATUS IN GENERAL
- B01L—CHEMICAL OR PHYSICAL LABORATORY APPARATUS FOR GENERAL USE
- B01L2400/00—Moving or stopping fluids
- B01L2400/08—Regulating or influencing the flow resistance
- B01L2400/082—Active control of flow resistance, e.g. flow controllers
-
- Y—GENERAL TAGGING OF NEW TECHNOLOGICAL DEVELOPMENTS; GENERAL TAGGING OF CROSS-SECTIONAL TECHNOLOGIES SPANNING OVER SEVERAL SECTIONS OF THE IPC; TECHNICAL SUBJECTS COVERED BY FORMER USPC CROSS-REFERENCE ART COLLECTIONS [XRACs] AND DIGESTS
- Y10—TECHNICAL SUBJECTS COVERED BY FORMER USPC
- Y10T—TECHNICAL SUBJECTS COVERED BY FORMER US CLASSIFICATION
- Y10T436/00—Chemistry: analytical and immunological testing
- Y10T436/11—Automated chemical analysis
- Y10T436/110833—Utilizing a moving indicator strip or tape
-
- Y—GENERAL TAGGING OF NEW TECHNOLOGICAL DEVELOPMENTS; GENERAL TAGGING OF CROSS-SECTIONAL TECHNOLOGIES SPANNING OVER SEVERAL SECTIONS OF THE IPC; TECHNICAL SUBJECTS COVERED BY FORMER USPC CROSS-REFERENCE ART COLLECTIONS [XRACs] AND DIGESTS
- Y10—TECHNICAL SUBJECTS COVERED BY FORMER USPC
- Y10T—TECHNICAL SUBJECTS COVERED BY FORMER US CLASSIFICATION
- Y10T436/00—Chemistry: analytical and immunological testing
- Y10T436/11—Automated chemical analysis
- Y10T436/111666—Utilizing a centrifuge or compartmented rotor
Definitions
- the invention relates to a test element, which is substantially disc-shaped and flat and about a central axis which is perpendicular to the disc-shaped test element plane, rotatable, comprising a sample application port for discharging a liquid sample, a porous, absorbent matrix and a sample channel, of the Sample introduction opening to the porous, absorbent matrix is sufficient. Furthermore, the invention relates to a method for determining an analyte with the aid of the test element.
- test carriers eg. B. Test strips offered. Prominent examples of these are test strips for the determination of the blood glucose value or test strips for urinalysis.
- test carriers usually integrate several functions (eg the storage of reagents in dried form or, albeit less frequently, in solution, the separation of undesired sample constituents, in particular of red blood cells from whole blood, in immunoassays, the so-called Free separation, the dosing of sample volumes, the transport of sample liquid from outside a device into a device, the control of the sequence of individual reaction steps, etc.).
- the function of the sample transport is often accomplished by means of absorbent materials (eg papers or fleeces), by means of capillary channels or by application of external driving forces (such as pressure, suction) or by means of centrifugal force.
- Disc-shaped test carriers so-called LabDiscs or optical BioDiscs, continue the idea of controlled sample transport by means of centrifugal force (centrifugal force).
- Such Disc-shaped, CompactDisc-like test carriers allow miniaturization through the use of microfluidic structures and at the same time the parallelization of processes by repeated application of identical structures for the parallel processing of similar analyzes from a sample or identical analyzes from different samples.
- optical BioDiscs the integration of optically stored digital data for the identification of the test carriers or the control of the analysis systems on the optical BioDiscs is possible.
- BioDiscs In addition to the miniaturization and parallelization of analyzes and the integration of digital data on optical discs, BioDiscs generally have the advantage that they can be manufactured using established manufacturing methods and measured using established evaluation technology. In the chemical and biochemical components of such optical BioDiscs usually a recourse to known chemical and biochemical components is possible.
- a disadvantage of the optical LabDiscs or Biodiscs based purely on centrifugal and capillary forces is that the immobilization of reagents is difficult and the accuracy of detection suffers. Especially in detection systems based on specific binding reactions, such.
- As immunoassays lacks compared to conventional test strip systems, the volume component, especially in the so-called. Bound-Free separation.
- BioDiscs with channels and channel-like structures for liquid transport on the one hand and voluminous absorbent materials in these structures (at least partially) on the other.
- WO 2005/001429 (Phan et al. ) describes optical bio-discs which have membrane pieces as reagent carriers in parts of the channel system. The reagents are dissolved by a liquid supplied to the disc, resulting in buffered reagent solutions, which are then contacted with the sample.
- optical bio-disks which contain absorbent membranes or papers for moving a sample liquid, separating particulate sample components, carrying reagents, and analyzing the sample.
- the sample is first applied to a blood separation membrane near the outer edge of the bio-disk and migrates radially therethrough to a reagent paper located closer to the center of the bio-disk. Thereafter, the sample is again moved radially outward, ie away from the center of the bio-disk, and flows through a so-called Analysis membrane.
- the outward movement takes place via chromatography, which is supported by rotation of the bio-disk and the centrifugal force acting thereon on the sample.
- US 2002/0076354 A1 discloses bio-optical discs having, in addition to a channel system for the transport of a liquid sample, a so-called “capture layer".
- the latter can for example consist of nitrocellulose.
- the "interception layer” is traversed by means of centrifugal forces during rotation of the disk.
- a disadvantage of the concepts of the prior art is that just for specific binding assays, such.
- immunoassays targeted control of the reaction and residence times of the sample liquid after receiving the reagents and after flowing into the porous, absorbent matrix is not possible.
- the object of the invention is to eliminate the disadvantages of the prior art.
- the invention relates to a test element according to claim 1 or 14, a measuring system according to claim 18, the use thereof according to claim 19, as well as a method according to claim 15.
- Advantageous embodiments and preferred embodiments of the invention are the subject of the dependent claims.
- test element is essentially disc-shaped and planar. It is rotatable about a central axis which is perpendicular to the disk-shaped test element plane.
- the test element is a circular disc, comparable to a compact disc.
- the invention is not limited to this form of the disc, but can readily be found in non-symmetrical or non-circular discs use.
- the test element first contains a sample introduction opening into which a liquid sample can be pipetted or introduced in another way.
- the Sample loading aperture can either be close to the axis (ie near the center of the disc) or far away from the axis (ie near the edge of the disc).
- the test element contains at least one channel, which can transfer the liquid sample from the off-axis position into an axis-near position by means of capillary forces.
- the sample application opening can open directly into a sample channel.
- the sample introduction opening can first open into a reservoir located behind it, into which the sample flows before it continues to flow into the sample channel.
- a hydrophilization of the surfaces of the fluidic structures may be necessary and / or the use of structures that promote the formation of capillary forces.
- test element contains a porous, absorbent matrix which accommodates at least part of the liquid sample.
- the matrix has an off-axis first end and an off-axis second end.
- the test element also has a sample channel that extends from the sample introduction port to the off-axis first end of the porous absorbent matrix. At least once, the sample channel passes through an area close to the axis, which is closer to the central axis than the first end of the porous matrix, which is remote from the axis.
- the porous, absorbent matrix has an axis-proximate second end.
- the off-axis first end of the porous, absorbent matrix is in contact with the sample channel, in which the sample can be moved by capillary forces and / or centrifugal forces and / or other external forces, such as overpressure or underpressure.
- the liquid sample - possibly after taking up reagents and / or dilution media and / or precluding reactions - reaches the off-axis first end of the porous, absorbent matrix, it is taken up in the matrix and transported through the suction forces.
- the porous, absorbent matrix is a paper, membrane or web.
- the porous absorbent matrix typically contains one or more zones of immobilized reagents.
- specific binding agents such as specific binding partners, such as antigens, antibodies, (poly) haptens, streptavidin, polystreptavidin, and the like, are immobilized in the absorbent matrix. They serve to selectively capture from the sample flowing through the absorbent matrix the analyte or analyte-derived and related species.
- an antibody to the analyte may be immobilized in the porous, bibulous matrix which will then capture the analyte (in this case, an antigen or hapten) from the sample and also immobilize it in the bibulous matrix.
- the analyte can be made detectable by further reactions, for example by further contacting with a labeled bindable partner, for example by a label which can be visually, optically or fluorescently detected.
- the porous, absorbent matrix with the second end close to the axis adjoins another absorbent material, so that this liquid can absorb from the matrix.
- the matrix and other material overlap slightly for this purpose.
- the other material serves on the one hand to support the suction of the matrix, on the other hand as a receiving zone for liquid, which has already passed through the matrix.
- the further material may consist of the same or different materials, such as the matrix.
- the matrix may be a membrane and the other absorbent material may be a nonwoven or a paper. Other combinations are of course possible as well.
- the test element according to the invention is characterized in a preferred embodiment in that the sample channel contains zones of different dimensions and / or for different functions.
- the sample channel may contain a zone containing soluble or suspendible reagents in the sample. These can be dissolved or suspended in the liquid sample when it flows in or through it and can react with the analyte in the sample or with other sample components.
- the different zones in the sample channel may also differ in that there are zones with capillary activity and those without.
- zones of high hydrophilicity and low hydrophilicity may be included.
- the individual zones can virtually seamlessly pass into each other or through certain barriers, such as valves, in particular non-closing valves, such as geometric valves or hydrophobes be separated from each other.
- the reagents in the sample channel are preferably in dried or lyophilized form. However, it is also conceivable, although less preferred, for reagents to be present in liquid form in the test element according to the invention.
- the reagents can be introduced into the test element in a manner known per se.
- the test element preferably contains at least two layers, a bottom layer into which the fluidic structures are introduced, and a cover layer, which as a rule contains no further structures apart from the inlet openings for liquids and the vent openings.
- the introduction of reagents during the preparation of the test device is usually carried out before the upper part of the test element (cover layer) is applied to the lower part (bottom layer). At this time, the fluidic structures are open in the lower part, so that a dosage of the reagents in liquid or dried form is readily possible.
- the introduction of the reagents can be done for example by printing or dispensing.
- the reagents into the test element by placing them in the test element impregnated in absorbent materials such as papers, nonwovens or membranes. After placing the reagents and inserting the absorbent materials, such as the porous, absorbent matrix (membrane) and optionally other absorbent materials (non-woven waste etc.) upper and lower part of the test element are connected to each other, for example, clipped, welded, glued and such more.
- absorbent materials such as papers, nonwovens or membranes.
- the bottom layer in addition to the fluidic structures also has the inlet openings for liquids and the vent openings.
- the cover layer may be formed completely without openings, with the possible exception of a central recess for receiving a drive unit.
- the upper part simply consist of a plastic film which is glued or welded to the lower part.
- the sample channel contains a zone for separating particulate matter from the liquid sample.
- this zone serves to separate the cellular sample components. From blood can be so by separating in particular the red blood cells (erythrocytes) almost colorless plasma or serum which is usually better suited for subsequent visual or optical detection methods than the strongly colored blood.
- the separation of cellular sample components by centrifugation, d. H. by fast rotation of the test element after filling with liquid sample contains suitably dimensioned and geometrically designed channels and / or chambers for this purpose.
- the test element for the separation of cellular blood components contains an erythrocyte collection zone (erythrocyte chamber or erythrocyte trap) and a serum or plasma collection zone (serum or plasma chamber).
- valves In control the flow of the sample liquid in the test element, it may contain valves, in particular so-called non-closing or geometric valves or hydrophobic barriers, especially in the sample channel.
- valves or hydrophobic barriers can be used to ensure that a targeted temporal and spatial control of the sample flow through the sample channel and the individual zone of the test element is possible.
- the sample channel may have a sample metering zone, which allows a precise measurement of the - initially in excess abandoned - sample.
- the sample metering zone extends from the sample application opening via a corresponding piece of a sample channel to a valve in the fluidic structure, in particular a geometric valve or a hydrophobic barrier.
- the sample application opening can initially receive an excess of sample material.
- the sample either driven by capillary forces or by centrifugation, flows from the sample application zone into the channel structure and fills it up to the valve. Excess sample initially remains in the sample application zone.
- a sample excess chamber adjacent to the sample application zone and branching off from the sample channel is filled, for example by capillary forces or by centrifuging the test element. It must be ensured that the sample volume to be measured is initially not transported across the valve by suitably selecting the valve. As soon as excess sample is trapped in the appropriate transfer chamber, there is a well-defined sample volume between the valve of the sample channel on one side and the entrance to the sample overflow chamber on the other side. By applying external forces, in particular by starting another centrifugation, this defined sample volume now extends beyond the valve emotional. All fluidic areas that lie after the valve and come into contact with the sample are now filled with a precisely defined sample volume.
- the sample channel may also have an inflow for other liquids except the sample liquid.
- a second channel open, the z. B. can be filled with a washing or reagent liquid.
- the inventive system of measuring device and test element is used to determine an analyte in a liquid sample.
- the measuring device contains at least one drive for the rotation of the test element and an evaluation optics for evaluating the visual or optical signal of the test element.
- the optics of the measuring device can be used for fluorescence measurement with spatially resolved detection.
- d. H. planar evaluation optics is typically used to illuminate the detection area of the test element and possibly the excitation of optically detectable markers an LED or a laser.
- the detection of the optical signal is by CMOS or CCD (typically 640 x 480 pixels).
- the beam path is direct or folded (eg via mirrors or prisms).
- the illumination or excitation is typically effected by means of an illumination line which illuminates the detection area of the test element, preferably perpendicular to the detection and control lines.
- the detection can be done here via a diode array.
- the rotational movement of the device can be utilized for the illumination and evaluation of the second dimension in order to scan with the diode array over the area of the test element to be evaluated.
- a DC motor with encoder or a stepper motor can be used as drive for rotating and positioning of the test element.
- the temperature of the test element in the device is made indirectly, for example by heating or cooling the plate on which rests the disc-shaped test element in the device.
- the measurement of the temperature is preferably carried out without contact.
- the method according to the invention serves to detect an analyte in a liquid sample.
- the sample is first introduced into the sample application opening of the test element according to the invention.
- the test element is rotated about its central axis: The sample is transported from the sample application opening to the off-axis end of the porous, absorbent matrix.
- the rotation of the test element then becomes so far slows or stops that the sample or a material obtained from the sample as it flows through the test element from the off-axis to the near-axis end of the porous, absorbent matrix is sucked.
- the analyte is finally visually or optically detected in the porous, absorbent matrix or a downstream zone.
- the detection can be carried out according to the principle of the sandwich assay or in the form of a competitive assay.
- the further liquid may in particular be a buffer, preferably a washing buffer, or a reagent liquid.
- the porous, absorbent matrix transports the liquid from an off-axis end to an off-axis end, i. H. from the periphery of the disk-shaped test element in the direction of the axis of rotation.
- the centrifugal force which can also be used to move the liquids, counteracts this direction of transport exactly.
- Targeted control of the rotation of the test element therefore makes it possible to slow down or stop the flow of the sample liquid in the porous, absorbent matrix, so that targeted and defined reaction conditions can be maintained.
- the use of the porous absorbent matrix which serves essentially as a scavenger matrix for bound-free separation in immunoassays, allows efficient capture of sample components during the immunoassay.
- FIG. 1 shows a schematic representation of a plan view of a preferred embodiment of the test element according to the invention. For the sake of clarity, only the layer of the test element which contains the fluidic structures is shown. The embodiment shown here contains only one opening for introducing sample and / or washing liquid. The separation of interfering sample components is done in this embodiment) after the sample has been contacted with reagents.
- FIG. 2 schematically shows a further preferred embodiment of the test element according to the invention. Again, only the structure has been shown, which has the fluidic elements of the test element. In this embodiment of the test element there are two separate sample and wash buffer application ports. A separation of the cellular sample components takes place here already before the sample is brought into contact with reagents.
- FIG. 3 shows a variant of the embodiment according to FIG. 1 in a schematic representation. Again, the separation of cellular sample components, after which the sample was brought into contact with reagents. However, the structure according to FIG. 3 has a separate feed for washing liquid.
- FIG. 4 shows a further preferred embodiment of the test element according to the invention in a schematic view analogous to FIG. 2.
- FIG. 5 represents a slight further development of the test element according to FIG. 3.
- FIG. 5 contains a different geometric arrangement of the waste nonwoven and another type of valve at the end of the sample metering section.
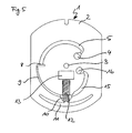
- FIG. 6 schematically shows a plan view of a further development of the test element according to FIG. 5.
- the embodiment according to FIG. 6 contains a fluidic structure for receiving a sample excess.
- FIG. 7 is a schematic representation of a further variant of the test element according to FIG. 3. Functionally, the fluidic structures are essentially analogous to those of FIG. 3. However, they are geometrically differently aligned and designed.
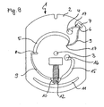
- FIG. 8 schematically shows a further preferred embodiment of the test element according to the invention.
- the structures in FIG. 8 essentially correspond to the functions which are already known by the test element according to FIG.
- FIG. 9 schematically shows a plan view of an alternative to the test element according to FIG. 6.
- the embodiment according to FIG. 9 contains an off-axis sample application opening, which initially brings the sample nearer to the center of the test element via a capillary, that is to say in FIG an off-axis area.
- FIG. 10 shows the typical curve for troponin T measurements in whole blood samples (concentration of troponin T in ng / ml plotted against the signal strength (counts)). The samples were supplemented with recombinant troponin T to the respective concentration. The data belong to Example 2 and were obtained with the aid of test elements according to FIG. 6 / Example 1.
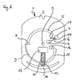
- FIGS. 1 to 9 show different preferred embodiments of the test element (1) according to the invention.
- each of the substrate (2) containing the fluidic structures and the central recess (drive hole 3) is shown.
- the disk-shaped test element (1) according to the invention also generally comprises a cover layer, which in the figures provides clarity is not shown half.
- the cover layer can also carry structures, but as a rule it will have no structures other than the openings for the samples and / or further liquids to be dispensed onto the test element.
- the cover layer can also be designed completely without openings, for example in the form of a film, which is connected to the substrate and terminates the structures located therein.
- FIGS. 1 to 9 show fluidic structures that perform largely similar functions, although they differ in detail from embodiment to embodiment.
- the basic structure and the basic function will therefore be explained in more detail here with reference to the embodiment according to FIG.
- the embodiments according to FIGS. 2 to 9 will subsequently be explained in more detail merely with reference to the specific differences in order to avoid unnecessary repetitions.
- FIG. 1 shows a first preferred embodiment of the disk-shaped test element (1) according to the invention.
- the test element (1) contains a substrate (2) containing the fluidic and microfluidic and chromatographic structures.
- the substrate (2) is covered by a corresponding counterpart (cover layer) (not shown), which contains sample application and ventilation openings which lead to the structures in the substrate (2). correspond.
- Both the cover layer and the substrate (2) have a central recess (3) which, in cooperation with a corresponding drive unit in a measuring device, makes it possible to rotate the disk-shaped test element (1).
- the test element accordinging to one of FIGS.
- Sample liquid in particular whole blood, is supplied to the test element (1) via the sample application opening (4). Driven by capillary forces and / or centrifugal forces, the sample liquid fills the sample dosing zone (5).
- the sample metering zone (5) can also contain the dried reagents. It is limited by the Kapillarstopps (6 and 8), which may be formed for example as a hydrophobic barrier or as a geometric / non-closing valve.
- the limitation of the sample dosing zone (5) by the capillary stops (6, 8) ensures that a defined sample volume is taken up and passed on into the fluidic zones which lie downstream of the sample dosing zone (5).
- channel (9) is used to start the separation of red blood cells and other cellular sample components.
- the reagents contained in the sample dosing zone (5) are already dissolved in the sample when the sample enters the channel (9).
- the entry of the sample in channel (9) via the capillary stop (8) leads to a mixing of the reagents in the sample.
- the reagent-sample mixture is directed into the fluidic structures (10) (serum / plasma collection zone) and (11) (erythrocyte collection zone). Due to the centrifugal forces acting on the reagent-sample mixture, plasma or serum is separated from red blood cells. The red blood cells collect in the process Erythrocyte collection zone (11) while the plasma remains substantially in the collection zone (10).
- the membranes or nonwovens for separating particulate sample components use (for example, glass fiber webs or asymmetrically porous plastic membranes for separating red blood cells from whole blood) generally referred to as blood-separating membranes or nonwovens), the sample volume can be exploited much more effectively with the test elements according to the invention, as there are virtually no dead volumes (eg, volume of fiber interstices or pores) from which the sample can not be withdrawn.
- these prior art blood separation membranes and webs tend in part to undesirably adsorb sample components (e.g., proteins) or destroy (lysate) cells, which is also not observed with the test elements of the present invention.
- the reagent-plasma mixture (which has formed in the presence of the analyte in the case of an immunoassay, for example sandwich complexes of analyte and antibody conjugates) by the suction of the porous-absorbent matrix (12) incorporated into and passed through them.
- the immobilized binding partners contained in the membrane (12) capture the analyte-containing complexes in the detection zone and bound unbound labeled conjugate in the control zone.
- the nonwoven (13) adjoining the porous, absorbent matrix supports the movement of the sample through the membrane (12).
- the fleece (13) also serves to receive the sample after flowing through the membrane (12).
- wash buffer is pipetted into the sample application opening (4).
- the washing buffer flows through the corresponding fluidic structures of the test element (1) and, in particular, washes the membrane (12), where the bound analyte complexes are now located, thus removing excess reagent residues.
- the washing step may be repeated one or more times so as to improve the signal-to-background ratio. This allows an optimization of the detection limit for the analyte and an increase of the dynamic measuring range.
- the sample channel in which the liquid sample in the test element (1) is transported from the sample application opening (4) to the first end of the membrane (12) remote from the axis comprises In this case, the sample dosing zone (5), the capillary stop (8), the channel (9), the serum / plasma collection zone (10) and the erythrocyte chamber (11). In other embodiments, the sample channel may consist of more or fewer individual zones / chambers.
- FIGS. 3, 5, 6, 7 and 9 show essentially analogous embodiments to FIG. 1.
- FIG. 3 differs from FIG. 1 in that on the one hand, no container for excess sample (7) adjoins the sample application opening (4) and at the end of the Probenendosierabitess (5) no capillary stop is present (ie here a metered sample application is required) and on the other hand, that a separate addition port (16) for other liquids, such as.
- washing buffer, and an associated channel (15) are present, which can transport the buffer to the membrane (12).
- the transport of the buffer to the membrane (12) can be based on capillary forces or centrifugal forces.
- the embodiment according to FIG. 5 is largely identical to the embodiment according to FIG. 3.
- the two embodiments differ only in the shape of the waste fleece (13) and in that the test element according to FIG. 5 has a capillary stop (8) at the end of the sample-metering section (FIG. 5).
- FIG. 6 is again essentially identical to the embodiment according to FIG. 5 and differs therefrom by the additional presence of a container for sample excess (7) in the region between the sample metering opening (4) and the sample metering zone (5).
- a container for sample excess (7) in the region between the sample metering opening (4) and the sample metering zone (5).
- no metered application of the sample is required (analogous to FIG. 1).
- the embodiment of the test element (1) according to the invention according to FIG. 7 substantially corresponds to the test element (1) of FIG. 6. Both embodiments have the same fluidic structures and functions. Only the arrangement and geometric design is different.
- the embodiment according to FIG. 7 has additional ventilation openings (17), which are necessary due to the different dimensioning of the fluidic structures in comparison to FIG. 6 in order to allow filling of the structures with samples or washing liquid.
- Channel (9) is designed here as a thin capillary, which is filled only during rotation of the test element (ie overcoming the capillary stop (8) is possible only by means of centrifugal force).
- the test element (1) according to FIG. 7 it is possible with the test element (1) according to FIG. 7 to remove recovered plasma from the erythrocyte collection zone 11; This is done by the decanter unit 18, which finally discharges into the serum / plasma collection zone 10.
- test element (1) according to the invention according to FIG. 9 essentially corresponds to the test element (1) of FIG. 6. Both embodiments have the same fluidic structures and functions. Only the arrangement and geometric design is different.
- the embodiment according to FIG. 9 basically has a further outward, that is, away from the axis, sample application opening (4). This can be advantageous if the test element (1) for filling with sample is already introduced in a measuring device. In this case, the user can be made more easily accessible to the sample application opening (4) than is possible with test elements according to Figures 1 to 8, where the sample application opening (4) is arranged close to the axis (ie remote from the outer edge of the test element).
- the separation of the cellular sample components from the sample liquid takes place before the sample comes into contact with reagents.
- This has the advantage that the use of whole blood or plasma or serum as a sample material does not lead to different measurement results, since always initially plasma or serum comes into contact with the reagents and the dissolution / incubation / reaction behavior should be practically the same .
- the liquid sample is first applied to the test element (1) via the sample application opening (4). By capillary forces and / or centrifugal forces, the sample is then transported from the sample application opening (4) in the channel structures.
- the sample is transferred into a sample metering section (5) after it has been introduced into the sample application opening (4), and then a serum / plasma separation from the whole blood is effected by rotation.
- the unwanted cellular sample constituents essentially erythrocytes, accumulate in the erythrocyte trap (11), while serum or plasma accumulate in the zone (10).
- the serum is removed from the zone (10) via a capillary and transported further into the channel structure (9), where dried reagents are accommodated and are dissolved when the sample flows in.
- the sample-reagent mixture of channel structure (9) can overcome the capillary stop (14) and thus reach the membrane (12) via the channel (15).
- the sample-reagent mixture is transported via the membrane (12) into the waste nonwoven (13).
- FIG. 2 and FIG. 4 differ from one another in that a container for sample excess (7) is provided in FIG. 2, while the embodiment according to Figure 4 does not provide such a function.
- a metered application of the sample is expedient here.
- FIG. 8 shows a variant of the embodiments according to FIGS. 2 and 4.
- the sample is transferred by centrifugation into an erythrocyte separation structure (10, 11).
- the area denoted by (10) serves as a serum / plasma collection zone (10) from which serum or plasma freed from cells is passed on via a capillary channel (21) after centrifuging.
- Chamber (20) serves as a collecting reservoir for excess serum or plasma, which after complete filling of the sample dosing section (5) possibly flows from the serum / plasma collection zone (10). All other functions and structures are analogous to FIGS. 1 to 7.
- the hydrophilic or hydrophobic properties of the surfaces of the test element (1) By deliberately designing the hydrophilic or hydrophobic properties of the surfaces of the test element (1), it can be achieved that the sample liquid and / or washing liquids are moved either only with the aid of rotation and the resulting centrifugal forces or by a combination of centrifugal forces and capillary forces. The latter requires at least partially hydrophilized surfaces in the fluidic structures of the test element (1).
- test elements according to the invention according to FIGS. 1, 2, 6, 7, 8 and 9 have an automatic functionality which allows a relatively accurate measurement of a sample aliquot from a sample which has been applied in excess to the test element allowed (so-called "metering system").
- This metering system is a further subject of the present invention. It essentially comprises the elements 4, 5, 6, and 7 of the illustrated test elements (1).
- Sample liquid in particular whole blood, is supplied to the test element (1) via the sample application opening (4). Driven by capillary forces and / or centrifugal forces, the sample liquid fills the sample dosing zone (5).
- the sample metering zone (5) can also contain the dried reagents.
- the Kapillarstopps (6 and 8) which may be formed for example as a hydrophobic barrier or as geometric / non-closing valves.
- the limitation of the sample dosing zone (5) by the capillary stops (6, 8) ensures that a defined sample volume is taken up and passed on into the fluidic zones which lie downstream of the sample dosing zone (5).
- a possible excess sample from the sample application opening (4) and the sample dosing (5) is transferred to the sample surplus container (7) while the measured amount of sample is transferred from the sample dosing zone (5) to the channel (9).
- sample liquid can be applied in excess to a test element.
- the measurement of a relatively accurate sample aliquot, which is then further processed in the test element also takes place here by the interaction of a metering chamber and an overflow chamber, these two zones - unlike the present invention - by a narrow, but at least during filling always liquid exchange enabling contact.
- Sample liquid is here directly separated during filling of the test element in a part which is passed through a wide channel in the "metering chamber", and a part which flows through a narrow channel in the "overflow chamber”.
- the test element is set in rotation and any excess sample is diverted into the "overflow chamber” so that only the desired, measured sample volume remains in the "metering chamber", which is subsequently processed further.
- a disadvantage of the embodiment of the metering system according to US 5,061,381 is that for sample volumes that are placed on the test element and which correspond exactly to the minimum volume or only slightly larger than the minimum volume, there is a risk that the dosing is underdosed, since always a portion of the sample from the beginning unhindered in the "overflow chamber" flows.
- a capillary stop hydrophobic barrier or a geometric or non-closing valve
- the capillary stop prevents sample from entering the sample excess zone before the sample dosing zone is completely filled. Also for sample volumes that are applied to the test element and which correspond exactly to the minimum volume or are only slightly larger than the minimum volume, it is ensured that the sample dosing zone is completely filled.
- a substrate (2) according to FIG. 6 is produced from polycarbonate (PC) (alternatively polystyrene (PS), ABS plastic or polymethyl methacrylate (PMMA) is also possible as material) (dimensions approx. 60 ⁇ 80 mm 2 ).
- a transition from shallower to deeper structures is usually only possible for liquids in the fluidic structures, if external force (eg centrifugal force) acts on them.
- Such transitions act as geometric (non-closing) valves.
- the substrate (2) also has the sample and buffer addition openings (4, 16), ventilation openings (17) and the central recess (3).
- the surface of the substrate (2), which has the fluidic structures, can then be cleaned by means of plasma treatment and hydrophilized.
- reagents required for analyte detection eg biotinylated anti-analyte antibodies and anti-analyte antibodies labeled with a fluorescence label
- sample dosing section (5) eg biotinylated anti-analyte antibodies and anti-analyte antibodies labeled with a fluorescence label
- the reagent solutions are composed as follows: Biotinylated antibody: 50 mM Mes pH 5.6; 100 ⁇ g / ml biotinylated monoclonal anti-troponin T antibody Labeled antibodies 50 mM Hepes pH 7.4, with squaric acid derivative Fluorescent dye JG9 (embedded in polystyrene latex particles) fluorescently labeled monoclonal anti-troponin T antibodies (0.35 percent solution)
- porous matrix (12) nitrocellulose membrane on plastic carrier film, 21x5 mm 2 , reinforced with 100 micron PE film cellulose nitrate membrane (type CN 140 Sartorius, Germany)
- an analyte detection line polystreptavidin
- a control line polyhapten
- aqueous streptavidin solution (4.75 mg / ml) is applied by line dosing to the above-described cellulose nitrate membrane.
- the dosage is selected (dosage 0.12 ml / min, web speed 3 m / min), that a line with a width of about 0.4 mm is formed. This line is used to detect the analyte to be determined and contains about 0.95 ⁇ g streptavidin per membrane.
- an aqueous troponin T polyhapten solution of 0.3 mg / ml is applied under identical dosing conditions. This line serves as a functional check of the test element and contains approx. 0.06 ⁇ g polyhapten per test.
- the cover (film or injection molded part without Fluidik Modellen, which may or may be hydrophilized) is applied and optionally permanently connected to the substrate (2), preferably glued, welded or clipped.
- the substrate is turned and in the corresponding recess the waste nonwoven fabric (13) (13 x 7 x 1.5 mm 3 fleece 100 parts of glass fiber (diameter 0.49 to 0.58 microns, length 1000 microns) and 5 Divide polyvinyl alcohol fibers (Kuralon VPB 105-2 from Kuraray) with a basis weight of about 180 g / m 2 ), which is then fixed by means of an adhesive tape in the substrate (2).
- the waste nonwoven fabric 13 x 7 x 1.5 mm 3 fleece 100 parts of glass fiber (diameter 0.49 to 0.58 microns, length 1000 microns) and 5 Divide polyvinyl alcohol fibers (Kuralon VPB 105-2 from Kuraray) with a basis weight of about 180 g / m 2 ), which is then fixed by means of an adhesive tape in the substrate (2).
- the quasi self-dosing sample receiving unit (comprising the sample application opening (4), the sample dosing (5) and the structures limiting it (capillary stop (8) and container for excess sample (7)) ensures that regardless of the on the test element (1) discontinued Amount of sample (if it exceeds a minimum volume (in this example 27 ⁇ l)) if different test elements are used, reproducibly the same amount of samples.
- the reagents in the entire sample metering section (5) preferably in the form of alternating reagent spots (ie smaller, almost punctiform reagent areas), in combination with a rapid filling of the sample metering section (5) with sample, a homogeneous dissolution of the reagents in the entire sample volume is achieved , Especially if the filling is much faster than the release.
- a virtually complete dissolution of the reagents so that here again an increased reproducibility compared to conventional, based on absorbent materials test elements (test strips, bio-discs with reagent pads, etc.) is observed.
- test element On the test element according to Example 1, 27 .mu.l of whole blood to which different amounts of recombinant troponin T were added, abandoned. The test element is then further treated on the basis of the procedure given in Table 1 and finally measured the fluorescence signals for different concentrations.
- Table 1 Measurement procedure Time (min: sec) Duration (min: sec) Rotation at revolutions per minute action 00:00 01:00 0 Add 27 ⁇ l sample; Dissolve the reagents 01:00 02:00 5000 Erythrocyte separation and incubation 03:00 01:00 800 Chromatography (generate signal) 04:00 12:10 0 Add 12 ⁇ l washing buffer 1 ) 04:10 02:00 800 Wash buffer transport and chromatography 06:10 12:10 0 Add 12 ⁇ l washing buffer 1 ) 06:20 02:00 800 Wash buffer transport and chromatography 08:20 12:10 0 Add 12 ⁇ l washing buffer 1 ) 08:30 02:00 800 Wash buffer transport and chromatography 10:30 0 measure up 1) 100 mM Hepes, pH 8.0; 150 mM NaCl; 0.095% sodium azide.
- the measured data are shown in FIG.
- the respective measurement signals (in counts) are plotted against the concentration of recombinant troponin T (c (TnT)) in [ng / ml].
- the actual troponin T concentration in the whole blood samples was determined using the reference method "Roche Diagnostics Elecsys Troponin T Test".
- the detection limit for the quantitatively evaluable measuring range with the test element according to the invention is shifted downwards (Cardiac Troponin T: 0.1 ng / ml, invention: 0.02 ng / ml) and the dynamic measuring range after dilated at the top (Cardiac Troponin T: 2.0 ng / ml, invention: 20 ng / ml).
- the test elements according to the invention show improved precision.
Landscapes
- Chemical & Material Sciences (AREA)
- Health & Medical Sciences (AREA)
- Clinical Laboratory Science (AREA)
- Analytical Chemistry (AREA)
- General Health & Medical Sciences (AREA)
- Hematology (AREA)
- Chemical Kinetics & Catalysis (AREA)
- Dispersion Chemistry (AREA)
- Life Sciences & Earth Sciences (AREA)
- Molecular Biology (AREA)
- Automatic Analysis And Handling Materials Therefor (AREA)
- Investigating Or Analysing Biological Materials (AREA)
- Investigating, Analyzing Materials By Fluorescence Or Luminescence (AREA)
Priority Applications (11)
| Application Number | Priority Date | Filing Date | Title |
|---|---|---|---|
| EP06020219A EP1916524A1 (de) | 2006-09-27 | 2006-09-27 | Rotierbares Testelement |
| JP2009529607A JP5502482B2 (ja) | 2006-09-27 | 2007-09-27 | 回転可能試験素子 |
| EP07818502.2A EP2069787B1 (de) | 2006-09-27 | 2007-09-27 | Rotierbares testelement |
| HK10101882.7A HK1136626B (en) | 2006-09-27 | 2007-09-27 | Rotatable test element |
| ES07818502T ES2724734T3 (es) | 2006-09-27 | 2007-09-27 | Elemento de prueba rotativo |
| EP19160587.2A EP3524982B1 (de) | 2006-09-27 | 2007-09-27 | Rotierbares testelement |
| ES19160587T ES2933349T3 (es) | 2006-09-27 | 2007-09-27 | Elemento de prueba rotativo |
| CN2007800357229A CN101517413B (zh) | 2006-09-27 | 2007-09-27 | 可旋转的测试元件 |
| PCT/EP2007/008419 WO2008037469A1 (de) | 2006-09-27 | 2007-09-27 | Rotierbares testelement |
| CA2664565A CA2664565C (en) | 2006-09-27 | 2007-09-27 | Rotatable test element |
| US12/407,419 US8470588B2 (en) | 2006-09-27 | 2009-03-19 | Rotatable test element |
Applications Claiming Priority (1)
| Application Number | Priority Date | Filing Date | Title |
|---|---|---|---|
| EP06020219A EP1916524A1 (de) | 2006-09-27 | 2006-09-27 | Rotierbares Testelement |
Publications (1)
| Publication Number | Publication Date |
|---|---|
| EP1916524A1 true EP1916524A1 (de) | 2008-04-30 |
Family
ID=37719401
Family Applications (3)
| Application Number | Title | Priority Date | Filing Date |
|---|---|---|---|
| EP06020219A Ceased EP1916524A1 (de) | 2006-09-27 | 2006-09-27 | Rotierbares Testelement |
| EP07818502.2A Active EP2069787B1 (de) | 2006-09-27 | 2007-09-27 | Rotierbares testelement |
| EP19160587.2A Active EP3524982B1 (de) | 2006-09-27 | 2007-09-27 | Rotierbares testelement |
Family Applications After (2)
| Application Number | Title | Priority Date | Filing Date |
|---|---|---|---|
| EP07818502.2A Active EP2069787B1 (de) | 2006-09-27 | 2007-09-27 | Rotierbares testelement |
| EP19160587.2A Active EP3524982B1 (de) | 2006-09-27 | 2007-09-27 | Rotierbares testelement |
Country Status (7)
| Country | Link |
|---|---|
| US (1) | US8470588B2 (enExample) |
| EP (3) | EP1916524A1 (enExample) |
| JP (1) | JP5502482B2 (enExample) |
| CN (1) | CN101517413B (enExample) |
| CA (1) | CA2664565C (enExample) |
| ES (2) | ES2724734T3 (enExample) |
| WO (1) | WO2008037469A1 (enExample) |
Cited By (7)
| Publication number | Priority date | Publication date | Assignee | Title |
|---|---|---|---|---|
| EP2145682A1 (de) * | 2008-07-18 | 2010-01-20 | Roche Diagnostics GmbH | Testelement zur Analyse einer Körperflüssigkeitsprobe auf einen darin enthaltenen Analyten, Analysesystem und Verfahren zur Steuerung der Bewegung einer in einem Kanal eines Testelements enthaltenen Flüssigkeit |
| EP2198964A1 (de) | 2008-11-06 | 2010-06-23 | F. Hoffmann-Roche AG | Verfahren zum Bereitstellen eines getrockneten Reagenz in einem mikrofluidischen System und mikrofluidisches System |
| WO2011027147A1 (en) * | 2009-09-03 | 2011-03-10 | Vivacta Ltd | Fluid sample collection device |
| DE102010013752A1 (de) | 2010-03-31 | 2011-10-06 | Roche Diagnostics Gmbh | Multifunktionelle Detektionsküvette |
| CN102239410A (zh) * | 2008-12-03 | 2011-11-09 | 霍夫曼-拉罗奇有限公司 | 具有合并的对照和校准区的测试元件 |
| EP2777499A1 (en) * | 2013-03-15 | 2014-09-17 | Ortho-Clinical Diagnostics Inc | Rotatable fluid sample collection device |
| EP3474019A4 (en) * | 2016-06-21 | 2020-05-06 | UNIST (Ulsan National Institute of Science and Technology) | MICROFLUIDIC DEVICE |
Families Citing this family (49)
| Publication number | Priority date | Publication date | Assignee | Title |
|---|---|---|---|---|
| US8632243B2 (en) * | 2008-03-10 | 2014-01-21 | The Hong Kong Polytechnic University | Microfluidic mixing using continuous acceleration/deceleration methodology |
| EP2133149A1 (en) * | 2008-06-13 | 2009-12-16 | F.Hoffmann-La Roche Ag | Lab-on-disc device |
| EP2329877A1 (de) * | 2009-12-04 | 2011-06-08 | Roche Diagnostics GmbH | Mikrofluidisches Element zur Analyse einer Flüssigkeitsprobe |
| KR101722548B1 (ko) * | 2010-01-29 | 2017-04-03 | 삼성전자주식회사 | 원심력기반의 미세유동장치 및 이를 이용한 유체시료 내 분석대상물질 검출방법 |
| EP2369324A1 (de) | 2010-03-23 | 2011-09-28 | F. Hoffmann-La Roche AG | Verfahren zur Herstellen eines analytischen Testelementes, analytisches Testelement, Verwendung eines analytischen Testelementes sowie analytisches Testsystem |
| JP5728217B2 (ja) * | 2010-12-14 | 2015-06-03 | ローム株式会社 | マイクロチップおよびそれを用いた検査または分析方法 |
| US9101930B2 (en) | 2012-02-13 | 2015-08-11 | Neumodx Molecular, Inc. | Microfluidic cartridge for processing and detecting nucleic acids |
| US11931740B2 (en) | 2012-02-13 | 2024-03-19 | Neumodx Molecular, Inc. | System and method for processing and detecting nucleic acids |
| US9637775B2 (en) | 2012-02-13 | 2017-05-02 | Neumodx Molecular, Inc. | System and method for processing biological samples |
| US9604213B2 (en) | 2012-02-13 | 2017-03-28 | Neumodx Molecular, Inc. | System and method for processing and detecting nucleic acids |
| US11485968B2 (en) | 2012-02-13 | 2022-11-01 | Neumodx Molecular, Inc. | Microfluidic cartridge for processing and detecting nucleic acids |
| US10668622B2 (en) * | 2012-10-11 | 2020-06-02 | Siemens Healthcare Diagnostics Inc. | Automation maintenance carrier |
| EP2912174B1 (en) | 2012-10-25 | 2019-06-19 | Neumodx Molecular, Inc. | Method and materials for isolation of nucleic acid materials |
| CA3005826C (en) | 2013-04-15 | 2021-11-23 | Becton, Dickinson And Company | Biological fluid collection device and biological fluid separation and testing system |
| US9517026B2 (en) | 2013-04-15 | 2016-12-13 | Becton, Dickinson And Company | Biological fluid collection device and biological fluid separation and testing system |
| US9782774B2 (en) * | 2013-08-23 | 2017-10-10 | Daktari Diagnostics, Inc. | Microfluidic metering of fluids |
| CN105980842B (zh) * | 2013-12-06 | 2019-12-17 | 奥索临床诊断有限公司 | 具有清洗口的测定装置 |
| EP2944965A1 (en) | 2014-05-13 | 2015-11-18 | Roche Diagnostics GmbH | Rotatable cartridge for measuring a property of a biological sample |
| EP2952258A1 (en) | 2014-06-06 | 2015-12-09 | Roche Diagnostics GmbH | Rotatable cartridge for analyzing a biological sample |
| EP2952257A1 (en) | 2014-06-06 | 2015-12-09 | Roche Diagnostics GmbH | Rotatable cartridge for processing and analyzing a biological sample |
| CN106489072B (zh) | 2014-06-06 | 2019-05-14 | 豪夫迈·罗氏有限公司 | 具有计量室的用于分析生物样品的旋转筒 |
| EP2957890A1 (en) | 2014-06-16 | 2015-12-23 | Roche Diagnostics GmbH | Cartridge with a rotatable lid |
| US11255852B2 (en) | 2014-10-30 | 2022-02-22 | Cytiva Sweden Ab | Method to determine solvent correction curves |
| JP6600861B2 (ja) * | 2015-04-08 | 2019-11-06 | 株式会社パートナーファーム | 固相反応チップ及びこれを用いた測定方法 |
| WO2017044732A1 (en) * | 2015-09-09 | 2017-03-16 | Northwestern University | Devices, systems, and methods for specimen preparation using capillary and centrifugal forces |
| EP3173149A1 (en) * | 2015-11-26 | 2017-05-31 | Roche Diagnostics GmbH | Determining a quantity of an analyte in a blood sample |
| EP3184158B1 (en) | 2015-12-21 | 2019-01-16 | Roche Diagniostics GmbH | Blood collector with capillary structure |
| CN107192819A (zh) * | 2016-03-14 | 2017-09-22 | 北京康华源科技发展有限公司 | 一种离心分离检测方法 |
| WO2017156910A1 (zh) * | 2016-03-14 | 2017-09-21 | 北京康华源科技发展有限公司 | 一种离心分离检测方法及装置 |
| EP3231513B1 (en) | 2016-04-14 | 2022-03-02 | Roche Diagnostics GmbH | Cartridge and optical measurement of an analyte with said cartridge |
| US11815440B2 (en) * | 2016-05-02 | 2023-11-14 | Danmarks Tekniske Universitet | Method for preparing a substrate by applying a sample to be analysed |
| ES2857735T3 (es) | 2016-11-16 | 2021-09-29 | Hoffmann La Roche | Cartucho giratorio con múltiples cámaras medidoras |
| JP2020514725A (ja) * | 2017-01-20 | 2020-05-21 | ユニヴァルシテ リブレ デ ブリュッセル | イムノアッセイ方法および装置 |
| JP7004732B2 (ja) * | 2017-02-09 | 2022-01-21 | エッセンリックス コーポレーション | 異なる間隔の高さを使用するアッセイ法 |
| US20200238279A1 (en) * | 2017-03-08 | 2020-07-30 | Northwestern University | Devices, systems, and methods for specimen preparation and analysis using capillary and centrifugal forces |
| CN107525923A (zh) * | 2017-04-01 | 2017-12-29 | 北京康华源科技发展有限公司 | 一种离心分离免疫层析检测方法及装置 |
| WO2018177445A1 (zh) * | 2017-04-01 | 2018-10-04 | 北京康华源科技发展有限公司 | 一种离心分离免疫层析检测方法及装置 |
| KR102140371B1 (ko) | 2017-11-20 | 2020-07-31 | 주식회사 엘지화학 | 회전식 디스크 시스템을 활용한 중금속 정성 및 정량 분석 디바이스 및 분석 방법 |
| US11433390B2 (en) * | 2017-12-07 | 2022-09-06 | Ion Llc | Methods and systems for a capillary device |
| JP6846388B2 (ja) * | 2018-06-26 | 2021-03-24 | シスメックス株式会社 | 測定用カートリッジおよび送液方法 |
| CN110614126B (zh) * | 2018-06-28 | 2021-04-09 | 北京中科生仪科技有限公司 | 一种实现光学检测的微流控芯片及其制作方法 |
| SE542462C2 (en) | 2018-09-20 | 2020-05-12 | Astrego Diagnostics Ab | Sample loading cartridge for a microfluidic device |
| CN111207242B (zh) | 2020-04-18 | 2020-09-01 | 博奥生物集团有限公司 | 流体驱动控制阀及使用方法 |
| KR102433675B1 (ko) * | 2020-07-02 | 2022-08-18 | 주식회사 클리노믹스 | 입자 여과 장치 및 입자 여과 방법 |
| BE1029228B1 (fr) * | 2021-03-22 | 2022-10-18 | Unisensor | Dispositif microfluidique |
| CN115608429A (zh) * | 2022-09-15 | 2023-01-17 | 西北工业大学 | 用于定量取样的微流控芯片 |
| WO2025022292A1 (en) * | 2023-07-21 | 2025-01-30 | Vital Biosciences Inc. | Methods and devices for biological sample preparation and microscopic analysis |
| WO2025132558A1 (fr) * | 2023-12-21 | 2025-06-26 | Commissariat A L'energie Atomique Et Aux Energies Alternatives | Collecteur d'échantillons liquides sur papier pour des systèmes microfluidiques, système microfluidique associé |
| DE202024001130U1 (de) | 2024-06-12 | 2024-07-22 | Axel Hochstetter | Mikrofluidisches Bauteil zur passiven Separation von Partikeln und Zellen |
Citations (4)
| Publication number | Priority date | Publication date | Assignee | Title |
|---|---|---|---|---|
| US5242606A (en) * | 1990-06-04 | 1993-09-07 | Abaxis, Incorporated | Sample metering port for analytical rotor having overflow chamber |
| WO1999058245A1 (en) * | 1998-05-08 | 1999-11-18 | Gyros Ab | Microfluidic device |
| US20040265171A1 (en) * | 2003-06-27 | 2004-12-30 | Pugia Michael J. | Method for uniform application of fluid into a reactive reagent area |
| WO2005009581A2 (en) * | 2003-07-15 | 2005-02-03 | Nagaoka & Co. Ltd. | Methods and apparatus for blood separation and analysis using membranes on an optical bio-disc |
Family Cites Families (14)
| Publication number | Priority date | Publication date | Assignee | Title |
|---|---|---|---|---|
| DE3445816C1 (de) | 1984-12-15 | 1986-06-12 | Behringwerke Ag, 3550 Marburg | Flaechenfoermiges diagnostisches Mittel |
| US5160702A (en) * | 1989-01-17 | 1992-11-03 | Molecular Devices Corporation | Analyzer with improved rotor structure |
| US5061381A (en) | 1990-06-04 | 1991-10-29 | Abaxis, Inc. | Apparatus and method for separating cells from biological fluids |
| US5591643A (en) * | 1993-09-01 | 1997-01-07 | Abaxis, Inc. | Simplified inlet channels |
| US6235531B1 (en) * | 1993-09-01 | 2001-05-22 | Abaxis, Inc. | Modified siphons for improved metering precision |
| IL108159A (en) * | 1993-12-23 | 1998-02-08 | Orgenics Ltd | Apparatus for separation, concentration and detection of target molecules in liquid sample |
| US20020076354A1 (en) | 2000-12-01 | 2002-06-20 | Cohen David Samuel | Apparatus and methods for separating components of particulate suspension |
| AU2002243148A1 (en) * | 2001-03-19 | 2002-10-03 | Gyros Ab | Structural units that define fluidic functions |
| CN100380034C (zh) * | 2002-12-04 | 2008-04-09 | 斯宾克斯公司 | 流体的可程控微量控制用装置和方法 |
| US20050014249A1 (en) | 2003-02-21 | 2005-01-20 | Norbert Staimer | Chromatographic analysis on optical bio-discs and methods relating thereto |
| US20050037484A1 (en) | 2003-04-23 | 2005-02-17 | Norbert Staimer | Optical bio-discs including spiral fluidic circuits for performing assays |
| US7390464B2 (en) * | 2003-06-19 | 2008-06-24 | Burstein Technologies, Inc. | Fluidic circuits for sample preparation including bio-discs and methods relating thereto |
| WO2005001429A2 (en) | 2003-06-27 | 2005-01-06 | Nagaoka & Co., Ltd. | Fluidic circuits, methods and apparatus for use of whole blood samples in colorimetric assays |
| JP4646204B2 (ja) * | 2005-01-27 | 2011-03-09 | ブラザー工業株式会社 | 検査対象受体、分取装置、及び分取方法 |
-
2006
- 2006-09-27 EP EP06020219A patent/EP1916524A1/de not_active Ceased
-
2007
- 2007-09-27 CN CN2007800357229A patent/CN101517413B/zh active Active
- 2007-09-27 CA CA2664565A patent/CA2664565C/en active Active
- 2007-09-27 EP EP07818502.2A patent/EP2069787B1/de active Active
- 2007-09-27 JP JP2009529607A patent/JP5502482B2/ja active Active
- 2007-09-27 ES ES07818502T patent/ES2724734T3/es active Active
- 2007-09-27 ES ES19160587T patent/ES2933349T3/es active Active
- 2007-09-27 EP EP19160587.2A patent/EP3524982B1/de active Active
- 2007-09-27 WO PCT/EP2007/008419 patent/WO2008037469A1/de not_active Ceased
-
2009
- 2009-03-19 US US12/407,419 patent/US8470588B2/en active Active
Patent Citations (4)
| Publication number | Priority date | Publication date | Assignee | Title |
|---|---|---|---|---|
| US5242606A (en) * | 1990-06-04 | 1993-09-07 | Abaxis, Incorporated | Sample metering port for analytical rotor having overflow chamber |
| WO1999058245A1 (en) * | 1998-05-08 | 1999-11-18 | Gyros Ab | Microfluidic device |
| US20040265171A1 (en) * | 2003-06-27 | 2004-12-30 | Pugia Michael J. | Method for uniform application of fluid into a reactive reagent area |
| WO2005009581A2 (en) * | 2003-07-15 | 2005-02-03 | Nagaoka & Co. Ltd. | Methods and apparatus for blood separation and analysis using membranes on an optical bio-disc |
Cited By (14)
| Publication number | Priority date | Publication date | Assignee | Title |
|---|---|---|---|---|
| WO2010006668A1 (de) * | 2008-07-18 | 2010-01-21 | Roche Diagnostics Gmbh | Testelement zur analyse einer körperflüssigkeitsprobe auf einen darin enthaltenen analyten, analysesystem und verfahren zur steuerung der bewegung einer in einem kanal eines testelements enthaltenen flüssigkeit |
| EP2145682A1 (de) * | 2008-07-18 | 2010-01-20 | Roche Diagnostics GmbH | Testelement zur Analyse einer Körperflüssigkeitsprobe auf einen darin enthaltenen Analyten, Analysesystem und Verfahren zur Steuerung der Bewegung einer in einem Kanal eines Testelements enthaltenen Flüssigkeit |
| EP2198964A1 (de) | 2008-11-06 | 2010-06-23 | F. Hoffmann-Roche AG | Verfahren zum Bereitstellen eines getrockneten Reagenz in einem mikrofluidischen System und mikrofluidisches System |
| CN102239410A (zh) * | 2008-12-03 | 2011-11-09 | 霍夫曼-拉罗奇有限公司 | 具有合并的对照和校准区的测试元件 |
| CN102239410B (zh) * | 2008-12-03 | 2015-05-20 | 霍夫曼-拉罗奇有限公司 | 具有合并的对照和校准区的测试元件 |
| WO2011027147A1 (en) * | 2009-09-03 | 2011-03-10 | Vivacta Ltd | Fluid sample collection device |
| GB2473425A (en) * | 2009-09-03 | 2011-03-16 | Vivacta Ltd | Fluid Sample Collection Device |
| WO2011120819A1 (de) | 2010-03-31 | 2011-10-06 | Roche Diagnostics Gmbh | Mikrofluidisches element mit multifunktionaler messkammer |
| DE102010013752A1 (de) | 2010-03-31 | 2011-10-06 | Roche Diagnostics Gmbh | Multifunktionelle Detektionsküvette |
| EP2777499A1 (en) * | 2013-03-15 | 2014-09-17 | Ortho-Clinical Diagnostics Inc | Rotatable fluid sample collection device |
| US9678069B2 (en) | 2013-03-15 | 2017-06-13 | Ortho-Clinical Diagnostics, Inc. | Rotatable fluid sample collection device |
| US10041942B2 (en) | 2013-03-15 | 2018-08-07 | Ortho-Clinical Diagnostics, Inc. | Rotatable fluid sample collection device |
| EP3474019A4 (en) * | 2016-06-21 | 2020-05-06 | UNIST (Ulsan National Institute of Science and Technology) | MICROFLUIDIC DEVICE |
| US11484883B2 (en) | 2016-06-21 | 2022-11-01 | Unist (Ulsan National Institute Of Science And Technology) | Microfluidic device |
Also Published As
| Publication number | Publication date |
|---|---|
| JP2010505096A (ja) | 2010-02-18 |
| CA2664565C (en) | 2014-04-01 |
| JP5502482B2 (ja) | 2014-05-28 |
| ES2933349T3 (es) | 2023-02-06 |
| CN101517413B (zh) | 2013-11-06 |
| US8470588B2 (en) | 2013-06-25 |
| CN101517413A (zh) | 2009-08-26 |
| HK1136626A1 (en) | 2010-07-02 |
| EP3524982B1 (de) | 2022-10-19 |
| ES2724734T3 (es) | 2019-09-13 |
| WO2008037469A1 (de) | 2008-04-03 |
| EP3524982A1 (de) | 2019-08-14 |
| CA2664565A1 (en) | 2008-04-03 |
| EP2069787B1 (de) | 2019-03-06 |
| US20090191643A1 (en) | 2009-07-30 |
| EP2069787A1 (de) | 2009-06-17 |
Similar Documents
| Publication | Publication Date | Title |
|---|---|---|
| EP2069787B1 (de) | Rotierbares testelement | |
| DE602005005485T2 (de) | Assayvorrichtung und verfahren mit gesteuertem fluss | |
| DE3887941T2 (de) | Testvorrichtung mit mehrfachen Öffnungen. | |
| DE3880531T2 (de) | Integriertes immunoassayelement. | |
| EP0989407B1 (de) | Verfahren zur Bestimmung von glykiertem Hämoglobin | |
| EP1944078B1 (de) | Vorrichtung zum Bestimmen eines Analyts in einer Flüssigkeit und Verfahren | |
| DE60037268T2 (de) | Verfahren zur durchführung magnetischer chromatographischer assays | |
| DE60036420T2 (de) | Mikrofluidischer Artikel | |
| DE69406537T2 (de) | Verbesserte vorrichtung für automatisierte chemilumineszenz-immuntestverfahren | |
| DE60218695T2 (de) | Biosensoren und messverfahren | |
| DE69906986T2 (de) | Analytisches testgerät und verfahren | |
| DE3851772T2 (de) | Einrichtung für Immunoassay. | |
| DE3856421T2 (de) | Spezifische Bindungstestverfahren | |
| DE69814052T2 (de) | Automatische immunoassay kassette | |
| DE69230884T2 (de) | Auf drehbare stromrichtung beruhender chromatographischer bindungsassay | |
| US10983119B2 (en) | Device for rapid diagnostic tests to detect antigens with improved sensitivity | |
| EP1495799A2 (de) | Vorrichtung zum Handhaben von begrenzten Flüssigkeitsmengen | |
| EP3829767B1 (de) | Vorrichtung und verfahren zum leiten einer flüssigkeit durch ein poröses medium | |
| EP1522343B1 (de) | Analytisches Testelement umfassend ein hydrophiles Netzwerk zur Bildung eines Kapillarkanals, dessen Verwendung und Verfahren zur Bestimmung eines Analyten in einer Flüssigkeit | |
| DE10001116C2 (de) | Vorrichtung und Verfahren zur optischen oder elektrochemischen quantitativen Bestimmung chemischer oder biochemischer Substanzen in flüssigen Proben | |
| EP0167171A2 (de) | Verfahren und Vorrichtung zur Durchführung analytischer Bestimmungen | |
| EP2194381B1 (de) | Testelement mit kombinierter Kontroll- und Kalibrationszone | |
| DE60025758T2 (de) | Analysevorrichtung und ihr gebrauch | |
| DE69719737T2 (de) | Immunoassay von vollblutproben | |
| EP0968412B1 (de) | Vorrichtung und verfahren zur durchführung von fluoreszenzimmunotests |
Legal Events
| Date | Code | Title | Description |
|---|---|---|---|
| PUAI | Public reference made under article 153(3) epc to a published international application that has entered the european phase |
Free format text: ORIGINAL CODE: 0009012 |
|
| AK | Designated contracting states |
Kind code of ref document: A1 Designated state(s): AT BE BG CH CY CZ DE DK EE ES FI FR GB GR HU IE IS IT LI LT LU LV MC NL PL PT RO SE SI SK TR |
|
| AX | Request for extension of the european patent |
Extension state: AL BA HR MK RS |
|
| STAA | Information on the status of an ep patent application or granted ep patent |
Free format text: STATUS: THE APPLICATION HAS BEEN REFUSED |
|
| 18R | Application refused |
Effective date: 20080524 |