EP1688694B1 - Mechanisches Initiiersystem für hülsenlose Munition - Google Patents
Mechanisches Initiiersystem für hülsenlose Munition Download PDFInfo
- Publication number
- EP1688694B1 EP1688694B1 EP06001925A EP06001925A EP1688694B1 EP 1688694 B1 EP1688694 B1 EP 1688694B1 EP 06001925 A EP06001925 A EP 06001925A EP 06001925 A EP06001925 A EP 06001925A EP 1688694 B1 EP1688694 B1 EP 1688694B1
- Authority
- EP
- European Patent Office
- Prior art keywords
- firing pin
- initiation system
- powder
- hole
- breech face
- Prior art date
- Legal status (The legal status is an assumption and is not a legal conclusion. Google has not performed a legal analysis and makes no representation as to the accuracy of the status listed.)
- Not-in-force
Links
- 230000000977 initiatory effect Effects 0.000 title claims description 20
- 238000010304 firing Methods 0.000 claims abstract description 60
- 239000000843 powder Substances 0.000 claims abstract description 27
- 238000007789 sealing Methods 0.000 claims description 23
- 239000004519 grease Substances 0.000 claims description 12
- 230000037431 insertion Effects 0.000 claims 3
- 238000003780 insertion Methods 0.000 claims 3
- 238000005474 detonation Methods 0.000 claims 1
- 239000000203 mixture Substances 0.000 abstract 1
- 239000007789 gas Substances 0.000 description 6
- 239000003380 propellant Substances 0.000 description 5
- 230000035939 shock Effects 0.000 description 4
- 230000007704 transition Effects 0.000 description 3
- 230000003628 erosive effect Effects 0.000 description 2
- 241001295925 Gegenes Species 0.000 description 1
- 210000001217 buttock Anatomy 0.000 description 1
- 238000002485 combustion reaction Methods 0.000 description 1
- 238000011161 development Methods 0.000 description 1
- 230000018109 developmental process Effects 0.000 description 1
- 239000003999 initiator Substances 0.000 description 1
- 238000000034 method Methods 0.000 description 1
- 230000002093 peripheral effect Effects 0.000 description 1
- 230000002250 progressing effect Effects 0.000 description 1
- 238000011144 upstream manufacturing Methods 0.000 description 1
Images
Classifications
-
- F—MECHANICAL ENGINEERING; LIGHTING; HEATING; WEAPONS; BLASTING
- F41—WEAPONS
- F41A—FUNCTIONAL FEATURES OR DETAILS COMMON TO BOTH SMALLARMS AND ORDNANCE, e.g. CANNONS; MOUNTINGS FOR SMALLARMS OR ORDNANCE
- F41A19/00—Firing or trigger mechanisms; Cocking mechanisms
- F41A19/06—Mechanical firing mechanisms, e.g. counterrecoil firing, recoil actuated firing mechanisms
- F41A19/13—Percussion or firing pins, i.e. fixed or slidably-mounted striker elements; Mountings therefor
-
- F—MECHANICAL ENGINEERING; LIGHTING; HEATING; WEAPONS; BLASTING
- F41—WEAPONS
- F41A—FUNCTIONAL FEATURES OR DETAILS COMMON TO BOTH SMALLARMS AND ORDNANCE, e.g. CANNONS; MOUNTINGS FOR SMALLARMS OR ORDNANCE
- F41A29/00—Cleaning or lubricating arrangements
- F41A29/04—Lubricating, oiling or greasing means, e.g. operating during use
Definitions
- the invention relates to a mechanical initiation system for caseless ammunition according to the preamble of claim 1.
- the firing pin is provided tribladungshunt section with an annular sealing lip.
- This sealing lip leads at gas pressure from the propellant charge chamber by elastic expansion to an intimate contact with the inner wall of the through hole for the firing pin.
- the passage hole for the striker is sealed backward upon ignition of a powder body in the propellant charge chamber.
- the sealing lip is acted upon when igniting the powder body located in the propellant charge chamber directly from the hot, accelerated to high speeds combustion residues and Zündstoff puzzle. This leads after a certain number of ignition processes to a steadily progressing erosion of the sealing lip.
- the invention has for its object to provide an initiating system of the type mentioned, with simple means a reliable sealing of the firing pin is realized in the intended for him through hole.
- the invention has the advantage that in each path position of the firing pin a reliable sealing of the firing pin is ensured against the wall of the provided for him in the weapons shock bottom through hole.
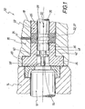
- FIG. 1 shows sections in longitudinal section, to an enlarged scale, not to scale, of an embodiment of the initiating system 10 for a caseless ammunition, of which the powder body 12 is shown in sections.
- the powder body 12 is positioned in a powder cross slide 14.
- a weapon thrust plate 16 Adjacent to the cartridge chamber 14 is a weapon thrust plate 16, which is formed with a through hole 18.
- the through hole 18 is formed on its front side facing the cartridge chamber 14 with a circumferential extension 20.
- a sealing bush 22 is arranged, which has a peripheral collar 24 on the front side.
- the collar 24 is housed in the extension 20 so that the sealing bushing 22 is immovable axially rearward with respect to the weapon buttock 16.
- the sealing bush 22 is formed with a firing pin through hole 26 in which a firing pin 28 is arranged axially adjustable.
- the firing pin 28 is moved, for example by means of a (not shown) control piece from the initial position shown in Figure 1 in the drawn in Figure 2 end ignition position. This movement is indicated in Figure 1 by the arrow 30.
- the sealing bush 22 disposed in the weapon butt 16 for the firing pin 18 is formed with a grease reservoir 32 connected to a grease source (not shown) by means of a grease channel 34 extending through the gun butt 16.
- the firing pin 28 is formed with at least one circumferential fat groove 36.
- the firing pin 28 is formed with two axially spaced circumferential fat grooves 36.
- the fat grooves 36 are assigned to the fat reservoir 32, so that the fat grooves 36 are filled with fat 37 located in the fat reservoir 32.
- the grease grooves 36 entrain the grease 37 in them, thereby forming a greasy film between the firing pin 28 and the through hole 26 in the sealing bushing 42 is generated, which contributes to gas sealing and to avoid traces of friction.
- the through hole 26 is formed for the firing pin 28 at its front end facing the cartridge chamber 14 with an inlet portion 38 widening towards the chamber 14.
- the inlet section 38 is frustoconically widened with a flat cone angle. Likewise, it is for example possible that the inlet section 38 is formed widened with a gentle radius.
- the firing pin 28 is formed on the front side with a deflector 40, whose operation will be described in more detail below.
- the deflector 40 is formed on a firing pin front part 42.
- the firing pin front part 42 is formed on the rear side with an externally threaded portion 44.
- the firing pin 28 is formed on the front side with a threaded bore 46.
- the firing pin front 42 is screwed with its rear male threaded portion 44 in the threaded bore 46 of the firing pin 28.
- the firing pin 28 is also formed on the front side with a circumferential sealing lip 48, which is determined or limited on the inside by a frustoconical tapering annular surface 50 backwards.
- FIG. 2 also shows an ignition means 52 in which the firing pin 28 with its tip 54 projects into the end position in order to ignite the ignition means 52.
- the operation of the initiating system 10 according to FIGS. 1 and 2 is as follows:
- the firing pin 28 is driven by means of a drive, e.g. is an unillustrated control piece, accelerated in the direction of arrow 30 (see Figure 1), so that the tip 54 of the firing pin 28 is pushed into the powder body 12 and the ignition means 52.
- a drive e.g. is an unillustrated control piece, accelerated in the direction of arrow 30 (see Figure 1), so that the tip 54 of the firing pin 28 is pushed into the powder body 12 and the ignition means 52.
- end ignition position of the firing pin 28 is held until the gas pressure generated by the ignited powder body 12 has degraded. Only then is the firing pin 28 moved back again from the end firing position shown in FIG. 2 into the starting position shown in FIG. During these movements, the firing pin 28 moves with its fat grooves 36 into and through the grease reservoir 32.
- the wall 37 of the through hole 26 is greased with the grease 37 remaining in the grease grooves 36.
- the deflector 40 of the firing pin 28 prevents direct bombardment of the circumferential sealing lip 48 by accelerated powder and / or Zündffenmaschine.
- the circumferential sealing lip 48 comes in the piercing movement of the firing pin 28 just before the transition edge between the cylindrical through hole 18 and the inlet section 38 to a stop.
Landscapes
- Engineering & Computer Science (AREA)
- General Engineering & Computer Science (AREA)
- Air Bags (AREA)
- Portable Nailing Machines And Staplers (AREA)
- Valve-Gear Or Valve Arrangements (AREA)
- Electrical Discharge Machining, Electrochemical Machining, And Combined Machining (AREA)
- Emergency Lowering Means (AREA)
- Aiming, Guidance, Guns With A Light Source, Armor, Camouflage, And Targets (AREA)
Description
- Die Erfindung betrifft ein mechanisches Initiiersystem für hülsenlose Munition gemäß dem Oberbegriff des Anspruches 1.
- Aus der
DE 21 05 295 C1 ist ein Pulverkörper für hülsenlose Munition, insbesondere für automatisch schießende Waffen, bekannt, der aus mindestens zwei Presslingen besteht, von welchen einer als Widerlager für das Zündmittel dient. Diese bekannte Munition wird mittels eines schlagempfindlichen Zündsatzes initiiert. Gekennzeichnet ist dieser bekannte Pulverkörper durch einen topfförmigen Pulverkörper-Pressling, auf dessen Topfboden das Zündmittel hohlraumseitig vorgesehen ist. Der topfförmige Pulverkörper-Pressling deckt einen ambossartigen Treibladungs-Pressling ab, der für das Zündmittel als Widerlager dient. Der topfförmige Pulverkörper-Pressling und der ambossartige Treibladungs-Pressling sind miteinander vorzugsweise durch eine Verklebung verbunden. Der in dieser Druckschrift beschriebene Schlagbolzen zur Initiierung des beschriebenen Pulverkörpers ist in einem Durchgangsloch eines Verschlusses mit Führungsteil angeordnet. Zum Anstechen d.h. Initiieren des Pulverkörpers d.h. der hülsenlosen Munition, muss der Schlagbolzen zwei Funktionen erfüllen: - 1. Die Spitze des Schlagbolzens muss in den Pulverkörper eindringen und durch Schlag bzw. Reibung das Zündmittel initiieren;
- 2. der Schlagbolzen muss das Durchgangsloch, in dem er axial verstellbar ist, nach der Zündung gegen den hohen Gasdruck der heißen Pulvergase abdichten. Zu diesem Zwecke verdeutlicht die oben genannte
DE 21 05 295 C1 schematisch eine Ringdichtung bzw. eine genaue Passung zwischen dem Schlagbolzen und der Wandung des Durchgangsloches. Es hat sich jedoch gezeigt, dass eine solche genaue Passung nicht ausreichend ist. - Aus der
DE 2405762 A1 , welche eine Grundlage für den Oberbegriff des Anspruches 1 bildet, ist ein mechanisches lnitiiersystem für hülsenlose Munition bekannt, dessen Schlagbolzen treibladungskammerseitig mit einer ringförmigen Dichtlippe versehen ist. Diese Dichtlippe führt bei Gasdruckeinwirkung aus der Treibladungskammer durch elastische Aufweitung zur einer innigen Berührung mit der Innenwandung des Durchgangsloches für den Schlagbolzen. Dadurch wird das Durchgangsloch für den Schlagbolzen bei Zündung eines Pulverkörpers in der Treibladungskammer nach rückwärts abgedichtet. Die Dichtlippe wird bei Zünden des in der Treibladungskammer befindlichen Pulverkörpers direkt von den heißen, auf hohe Geschwindigkeiten beschleunigten Verbrennungsrückständen und Zündmittelteilen beaufschlagt. Dies führt nach einer gewissen Anzahl von Zündungsvorgängen zu einer stetig voranschreitenden Erosion der Dichtungslippe. - Der Erfindung liegt die Aufgabe zugrunde, ein Initiiersystem der eingangs genannten Art zu schaffen, wobei mit einfachen Mitteln eine zuverlässige Abdichtung des Schlagbolzens in dem für ihn vorgesehenen Durchgangsloch realisiert wird.
- Diese Aufgabe wird bei einem Initiiersystem der eingangs genannten Art erfindungsgemäß durch die Merkmale des Kennzeichenteiles des Anspruches 1 gelöst. Bevorzugte Aus- bzw. Weiterbildungen des erfindungsgemäßen Initiiersystems sind in den Unteransprüchen gekennzeichnet
- Die Erfindung weist den Vorteil auf, dass in jeder Weg-Position des Schlagbolzens eine zuverlässige Abdichtung des Schlagbolzens gegen die Wandung des für ihn im Waffen-Stoßboden vorgesehenen Durchgangsloches gewährleistet ist.
- Weitere Einzelheiten, Merkmale und Vorteile ergeben sich aus der nachfolgenden Beschreibung eines in der Zeichnung abschnittweise und teilweise aufgeschnitten, nicht maßstabgetreu gezeichneten Ausführungsbeispieles des erfindungsgemäßen Initiiersystems in zwei unterschiedlichen Betriebszuständen.
-
- Figur 1 das Initiiersystem in der Ausgangsstellung des Schlagbolzens, und
- Figur 2 das Initiiersystem in der End-Zündstellung des Schlagbolzens.
- Figur 1 zeigt abschnittweise längsgeschnitten in einem vergrößerten Maßstab, nicht maßstabgetreu, eine Ausbildung des Initiiersystems 10 für eine hülsenlose Munition, von der der Pulverkörper 12 abschnittweise gezeichnet ist. Der Pulverkörper 12 ist in einem Pulver-Querschieber 14 positioniert. An das Patronenlager 14 grenzt ein Waffen-Stoßboden 16 an, der mit einem Durchgangsloch 18 ausgebildet ist. Das Durchgangsloch 18 ist an seiner dem Patronenlager 14 zugewandten Vorderseite mit einer umlaufenden Erweiterung 20 ausgebildet. Im Durchgangsloch 18 des Waffen-Stoßbodens 16 ist eine Dichtungsbuchse 22 angeordnet, die vorderseitig einen umlaufenden Bund 24 aufweist. Der Bund 24 ist in der Erweiterung 20 untergebracht, so dass die Dichtungsbuchse 22 in Bezug zum Waffen-Stoßboden 16 axial nach hinten unbeweglich ist.
- Die Dichtungsbuchse 22 ist mit einem Schlagbolzen-Durchgangsloch 26 ausgebildet, in dem ein Schlagbolzen 28 axial verstellbar angeordnet ist. Der Schlagbolzen 28 wird beispielsweise mittels eines (nicht gezeichneten) Steuerstückes von der in Figur 1 gezeichneten Ausgangsstellung in die in Figur 2 gezeichnete End-Zündstellung bewegt. Diese Bewegung ist in Figur 1 durch den Pfeil 30 angedeutet.
- Die im Waffen-Stoßboden 16 für den Schlagbolzen 18 angeordnete Dichtungsbuchse 22 ist mit einem Fettreservoir 32 ausgebildet, das mittels eines Fettkanals 34, der sich durch den Waffen-Stoßboden 16 erstreckt, mit einer (nicht dargestellten) Fettquelle verbunden ist.
- Der Schlagbolzen 28 ist mit mindestens einer umlaufenden Fettrille 36 ausgebildet. Bei der Ausbildung gemäß Figur 1 ist der Schlagbolzen 28 mit zwei axial voneinander beabstandeten umlaufenden Fettrillen 36 ausgebildet.
- In der in Figur 1 gezeichneten Ausgangsstellung des Schlagbolzen 28 sind die Fettrillen 36 dem Fettreservoir 32 zugeordnet, so dass die Fettrillen 36 mit im Fettreservoir 32 befindlichem Fett 37 gefüllt werden.
- Wird der Schlagbolzen 28 von der in Figur 1 gezeichneten Ausgangsstellung in die in Figur 2 gezeichnete End-Zündstellung beschleunigt, so nehmen die Fettrillen 36 das in ihnen befindliche Fett 37 mit, wodurch zwischen dem Schlagbolzen 28 und dem Durchgangsloch 26 in der Dichtungsbuchse 42 ein Fettfilm erzeugt wird, der zur Gasabdichtung und zur Vermeidung von Reibspuren beiträgt.
- Wie aus den Figuren 1 und 2, in welchen gleiche Einzelheiten jeweils mit denselben Bezugsziffern bezeichnet sind, ersichtlich ist, ist das Durchgangsloch 26 für den Schlagbolzen 28 an seinem dem Patronenlager 14 zugewandten Vorderende mit einem sich zum Patronenlager 14 hin erweiternden Einlaufabschnitt 38 ausgebildet. Der Einlaufabschnitt 38 ist mit einem flachen Konuswinkel kegelstumpfförmig erweitert gestaltet. Desgleichen ist es bspw. möglich, dass der Einlaufabschnitt 38 mit einem sanften Radius erweitert ausgebildet ist.
- Der Schlagbolzen 28 ist vorderseitig mit einem Abweiser 40 ausgebildet, dessen Funktionsweise weiter unten noch ausführlicher beschrieben wird. Wie aus Figur 2 ersichtlich ist, ist der Abweiser 40 an einem Schlagbolzen-Vorderteil 42 ausgebildet. Das Schlagbolzen-Vorderteil 42 ist rückseitig mit einem Außengewindeabschnitt 44 ausgebildet. Der Schlagbolzen 28 ist vorderseitig mit einer Gewindebohrung 46 ausgebildet. Das Schlagbolzen-Vorderteil 42 ist mit seinem rückseitigen Außengewindeabschnitt 44 in die Gewindebohrung 46 des Schlagbolzens 28 eingeschraubt.
- Der Schlagbolzen 28 ist vorderseitig außerdem mit einer umlaufenden Dichtungslippe 48 ausgebildet, die innenseitig durch eine sich nach rückwärts kegelstumpfförmig verjüngende Ringfläche 50 bestimmt bzw. begrenzt ist.
- In Figur 2 ist außerdem ein Zündmittel 52 dargestellt, in das der Schlagbolzen 28 mit seiner Spitze 54 in der Endstellung hineinsteht, um das Zündmittel 52 zu zünden.
- Die Funktionsweise des Initiiersystems 10 gemäß den Figuren 1 und 2 ist wie folgt:
- Der Schlagbolzen 28 wird mittels eines Antriebes, bei dem es sich z.B. um ein nicht dargestelltes Steuerstück handelt, in Richtung des Pfeiles 30 (siehe Figur 1) beschleunigt, so dass die Spitze 54 des Schlagbolzens 28 in den Pulverkörper 12 und in das Zündmittel 52 gestoßen wird. In der in Figur 2 gezeichneten End-Zündstellung wird der Schlagbolzen 28 solange festgehalten, bis sich der vom angezündeten Pulverkörper 12 erzeugte Gasdruck abgebaut hat. Erst danach wird der Schlagbolzen 28 wieder von der in Figur 2 gezeichneten End-Zündstellung in die in Figur 1 dargestellte Ausgangsstellung zurückbewegt. Bei diesen Bewegungen fährt der Schlagbolzen 28 mit seinen Fettrillen 36 in und durch das Fettreservoir 32. Mit dem in den Fettrillen 36 haften bleibendem Fett 37 wird die Wandung des Durchgangsloches 26 gefettet.
- In der in Figur 2 gezeichneten End-Zündstellung des Schlagbolzens 28 wird die vorderseitig um den Schlagbolzen 28 umlaufende Dichtungslippe 48 durch den vom angezündeten Pulverkörper 12 generierten Gasdruck aufgeweitet, so dass die Innenwandung des Durchgangsloches 26 nach rückwärts formschlüssig abgedichtet wird.
- Der Abweiser 40 des Schlagbolzens 28 verhindert einen direkten Beschuss der umlaufenden Dichtungslippe 48 durch beschleunigte Pulver- und/oder Zündmittelteile.
- Durch den mit einem flachen Konuswinkel kegelstumpfförmig erweiterten Einlaufabschnitt 38 am Vorderende des Durchgangsloches 26 in der Dichtungsbuchse 22 wird ein Verkrusten bzw. Erodieren der dem Schlagbolzen 28 direkt vorgelagerten Übergangskante 56, wie es sich bei einer scharfen d.h. 90°-Kante einstellen würde, verhindert.
- Die umlaufende Dichtungslippe 48 kommt in der Anstechbewegung des Schlagbolzens 28 knapp vor der Übergangskante zwischen dem zylindrischen Durchgangsloch 18 und dem Einlaufabschnitt 38 zum Stehen.
-
- 10
- Initiierungssystem
- 12
- Pulverkörper (von 10)
- 14
- Pulver-Querschieber (von 10)
- 16
- Waffen-Stoßboden (von 10)
- 18
- Durchgangsloch (in 16 für 22)
- 20
- Erweiterung (von 18 für 24)
- 22
- Dichtungsbuchse (in 18 für 28)
- 24
- Bund (von 22)
- 26
- Schlagbolzen-Durchgangsloch (in 22 für 28)
- 28
- Schlagbolzen (in 26)
- 30
- Pfeil / Bewegung (von 28)
- 32
- Fettreservoir (in 22)
- 34
- Fettkanal (zu 32)
- 36
- Fettrille (in 28)
- 37
- Fett (von 32 in 36)
- 38
- Einlaufabschnitt (von 26)
- 40
- Abweiser (von 28)
- 42
- Schlagbolzen-Vorderteil (von 28)
- 44
- Außengewindeabschnitt (von 42)
- 46
- Gewindebohrung (in 28)
- 48
- umlaufende Dichtungsrippe (von 28)
- 50
- Ringfläche (von 48)
- 52
- Zündmittel (für 12)
- 54
- Spitze (von 28)
- 56
- Übergangskante (von 26)
Claims (8)
- Mechanisches Initiiersystem für hülsenlose Munition, mit einem Waffen-Stoßboden (16) und einem an den Waffen-Stoßboden (16) vorderseitig angrenzenden Pulver-Querschieber (14), wobei in einem Durchgangsloch (26) des Waffen-Stoßbodens (16) ein Schlagbolzen (28) axial verstellbar angeordnet ist, wobei im Pulver-Querschieber (14) ein durch den Schlagbolzen (28) initiierbarer Pulverkörper (12) mit einem Zündmittel (52) anordenbar ist, wobei der Waffen-Stoßboden (16) ein zum Durchgangsloch (26) hin offenes Fettreservoir (32) aufweist, und der Schlagbolzen (28) umlaufend mit mindestens einer Fettrille (36) ausgebildet ist, und wobei der Schlagbolzen (28) vorderseitig mit einer umlaufenden Dichtungslippe (48) ausgebildet ist,
dadurch gekennzeichnet,
dass der Schlagbolzen (28) vorderseitig einen Abweiser (40) zur Verhinderung eines direkten Beschusses der umlaufenden Dichtungslippe (48) durch beschleunigte Pulver- und/oder Zündmittelteile aufweist. - Initiiersystem nach Anspruch 1,
dadurch gekennzeichnet,
dass der Waffen-Stoßboden (16) eine Dichtungsbuchse (22) aufweist, die mit dem Durchgangsloch (26) für den Schlagbolzen (28) und mit dem Fettreservoir (32) ausgebildet ist. - Initiiersystem nach Anspruch 1 oder 2,
dadurch gekennzeichnet,
dass das Durchgangsloch (26) für den Schlagbolzen (28) an seinem dem Pulver-Querschieber (14) zugewandten Vorderende mit einem sich zum Pulver-Querschieber (14) hin erweiternden Einlaufabschnitt (38) ausgebildet ist. - Initiiersystem nach Anspruch 3,
dadurch gekennzeichnet,
dass der Einlaufabschnitt (38) mit einem flachen Konuswinkel kegelstumpfförmig erweitert ausgebildet ist. - Initiiersystem nach Anspruch 3,
dadurch gekennzeichnet,
dass der Einlaufabschnitt (38) mit einem sanften Radius erweitert ausgebildet ist. - Initiiersystem nach Anspruch 5,
dadurch gekennzeichnet,
dass der Abweiser (40) an einem Schlagbolzen-Vorderteil (42) vorgesehen ist, das mit dem Schlagbolzen (28) fest verbunden ist. - Initiiersystem nach Anspruch 6,
dadurch gekennzeichnet,
dass der Schlagbolzen (28) vorderseitig mit einer Gewindebohrung (46) und das Schlagbolzen-Vorderteil (42) rückseitig mit einem in die Gewindebohrung (46) eingeschraubten Außengewindeabschnitt (44) ausgebildet ist. - Initiiersystem nach einem der vorangehenden Ansprüche,
dadurch gekennzeichnet,
dass die umlaufende Dichtungslippe (48) eine sich nach rückwärts kegelig verjüngende Ringfläche (50) aufweist.
Applications Claiming Priority (2)
| Application Number | Priority Date | Filing Date | Title |
|---|---|---|---|
| DE102005004936 | 2005-02-03 | ||
| DE102005012284A DE102005012284A1 (de) | 2005-02-03 | 2005-03-17 | Mechanisches Initiiersystem für hülsenlose Munition |
Publications (2)
| Publication Number | Publication Date |
|---|---|
| EP1688694A1 EP1688694A1 (de) | 2006-08-09 |
| EP1688694B1 true EP1688694B1 (de) | 2007-08-08 |
Family
ID=36278906
Family Applications (1)
| Application Number | Title | Priority Date | Filing Date |
|---|---|---|---|
| EP06001925A Not-in-force EP1688694B1 (de) | 2005-02-03 | 2006-01-31 | Mechanisches Initiiersystem für hülsenlose Munition |
Country Status (4)
| Country | Link |
|---|---|
| US (1) | US7357059B2 (de) |
| EP (1) | EP1688694B1 (de) |
| AT (1) | ATE369537T1 (de) |
| DE (2) | DE102005012284A1 (de) |
Families Citing this family (5)
| Publication number | Priority date | Publication date | Assignee | Title |
|---|---|---|---|---|
| GB2425162B (en) * | 2005-04-12 | 2007-04-11 | Simon Trendall | An improvement to high pressure hydraulic breech mechanisms |
| DE102009024710A1 (de) | 2009-06-12 | 2010-12-23 | Rheinmetall Waffe Munition Gmbh | Hülsenlose Munition |
| DE102010006606A1 (de) * | 2010-02-01 | 2011-08-04 | Diehl BGT Defence GmbH & Co. KG, 88662 | Dichtungsring und Treibladungslager |
| FR3094472B1 (fr) * | 2019-03-29 | 2023-05-26 | Cta Int | Fourreau de soupape pour canon CT40 |
| UA124985C2 (uk) * | 2019-08-20 | 2021-12-22 | Георгій Георгійович Макаров | Безгільзова магазинна зброя (варіанти) |
Family Cites Families (16)
| Publication number | Priority date | Publication date | Assignee | Title |
|---|---|---|---|---|
| DE298815C (de) | ||||
| US1313912A (en) * | 1919-08-26 | Necticut | ||
| US1345565A (en) | 1920-03-25 | 1920-07-06 | Thomas F Ryan | Obturating firing-pin |
| CH91600A (de) | 1920-08-12 | 1921-11-01 | Ernst Ludorf | Einrichtung an Gewehren zum Abfeuern von Geschossen. |
| FR595188A (fr) * | 1924-03-17 | 1925-09-28 | Sécurité contre le retour de flammes dans les armes à feu, notamment les canons | |
| US3474560A (en) * | 1968-04-04 | 1969-10-28 | Olin Mathieson | Caseless cartridge chamber-sleeve ejector and binary feed system |
| US3547001A (en) | 1968-06-13 | 1970-12-15 | Trw Inc | Gun for caseless ammunition in which a slidable sleeve defines the chamber |
| CH509563A (de) | 1969-06-03 | 1971-06-30 | Oerlikon Buehrle Ag | Automatische Feuerwaffe |
| DE2105295C1 (de) | 1971-02-05 | 1977-04-21 | Fa. Diehl, 8500 Nürnberg | Pulverkörper für hülsenlose Munition |
| US3728938A (en) * | 1971-04-16 | 1973-04-24 | A Scibor | Breech seal for caseless ammunition firearm |
| US3872615A (en) * | 1972-03-30 | 1975-03-25 | Andrew J Grandy | Ammunition and weapon systems |
| DE2313591C2 (de) * | 1973-03-19 | 1982-10-07 | Mauser-Werke Oberndorf Gmbh, 7238 Oberndorf | Kurzbauende Handfeuerwaffe mit mehreren achsparallelen Waffenrohren |
| BE824144A (fr) | 1974-02-07 | 1975-05-02 | Percuteur pour armes a feu a canon portatives | |
| DE2743770C2 (de) * | 1977-09-29 | 1986-11-27 | Rheinmetall GmbH, 4000 Düsseldorf | Vorrichtung zum elektrischen Anzünden einer pyrotechnischen Ladung |
| US4581836A (en) | 1983-07-25 | 1986-04-15 | Bangor Punta Corporation | Firing pin and firing pin-bushing assembly |
| FR2678057B1 (fr) | 1991-06-18 | 1995-02-17 | Giat Ind Sa | Dispositif de percussion pour une arme a feu. |
-
2005
- 2005-03-17 DE DE102005012284A patent/DE102005012284A1/de not_active Withdrawn
-
2006
- 2006-01-23 US US11/337,419 patent/US7357059B2/en not_active Expired - Fee Related
- 2006-01-31 DE DE502006000050T patent/DE502006000050D1/de active Active
- 2006-01-31 EP EP06001925A patent/EP1688694B1/de not_active Not-in-force
- 2006-01-31 AT AT06001925T patent/ATE369537T1/de active
Also Published As
| Publication number | Publication date |
|---|---|
| DE502006000050D1 (de) | 2007-09-20 |
| DE102005012284A1 (de) | 2006-08-10 |
| ATE369537T1 (de) | 2007-08-15 |
| EP1688694A1 (de) | 2006-08-09 |
| US7357059B2 (en) | 2008-04-15 |
| US20060254109A1 (en) | 2006-11-16 |
Similar Documents
| Publication | Publication Date | Title |
|---|---|---|
| DE69915493T2 (de) | Patrone für selbstladewaffe | |
| DE2914049C2 (de) | Patrone | |
| EP1085289B1 (de) | Hülsenboden für grosskalibrige Munition | |
| DE2022268A1 (de) | Patronenhuelse | |
| DE1728364B1 (de) | Geschoss fuer Schusswaffen | |
| EP0764826A1 (de) | Trägergeschoss, das ein einziges Penetratorgeschoss tragt | |
| DE102014102672B4 (de) | Feuerwaffe, insbesondere Handfeuerwaffe, sowie Verfahren zur Herstellung einer Feuerwaffe | |
| EP0656522B1 (de) | Patronenhülse | |
| DE2634518C2 (de) | Geschoß mit wenigstens einem pyrotechnischen Satz, insbesondere einem Leuchtspursatz | |
| DE69214201T2 (de) | Schlagbolzenanordnung für Feuerwaffe | |
| EP1688694B1 (de) | Mechanisches Initiiersystem für hülsenlose Munition | |
| DE2324482C3 (de) | Patronenhülse für Schlagzündung | |
| DE3544528C1 (en) | Tandem charge system having integrated protection elements | |
| EP1013381B1 (de) | Pulverkraftbetriebenes Setzgerät | |
| DE2232866A1 (de) | Loesbare verbindung zwischen geschoss und treibladungshuelse | |
| DE19751932C2 (de) | Gasgenerator zur Reichweitensteigerung eines Geschosses und Geschoß mit Gasgenerator | |
| EP0361032B1 (de) | Treibladungsanzünder mit vom Treibladungspulver initiierter Abtrennladung | |
| EP2531800B1 (de) | Dichtungsring und treibladungslager | |
| DE602004003544T2 (de) | Zündvorrichtung für mindestens zwei pyrotechnische Zusammensetzungen oder antreibende Ladungen eines Projektiles | |
| EP1617167B1 (de) | Artilleriegeschoss | |
| DE4229559A1 (de) | Hülsenboden für großkalibrige Munition | |
| DE3210128A1 (de) | Laufkammer fuer ein geschuetz | |
| DE2508180A1 (de) | Geschoss fuer uebungsmunition | |
| DE102008032744B4 (de) | Zünder für ein Geschoss | |
| EP3625515A1 (de) | Antriebssystem für patronenmunition |
Legal Events
| Date | Code | Title | Description |
|---|---|---|---|
| PUAI | Public reference made under article 153(3) epc to a published international application that has entered the european phase |
Free format text: ORIGINAL CODE: 0009012 |
|
| 17P | Request for examination filed |
Effective date: 20060602 |
|
| AK | Designated contracting states |
Kind code of ref document: A1 Designated state(s): AT BE BG CH CY CZ DE DK EE ES FI FR GB GR HU IE IS IT LI LT LU LV MC NL PL PT RO SE SI SK TR |
|
| AX | Request for extension of the european patent |
Extension state: AL BA HR MK YU |
|
| 17Q | First examination report despatched |
Effective date: 20061016 |
|
| GRAP | Despatch of communication of intention to grant a patent |
Free format text: ORIGINAL CODE: EPIDOSNIGR1 |
|
| AKX | Designation fees paid |
Designated state(s): AT BE CH DE FR LI |
|
| GRAS | Grant fee paid |
Free format text: ORIGINAL CODE: EPIDOSNIGR3 |
|
| GRAA | (expected) grant |
Free format text: ORIGINAL CODE: 0009210 |
|
| AK | Designated contracting states |
Kind code of ref document: B1 Designated state(s): AT BE CH DE FR LI |
|
| REG | Reference to a national code |
Ref country code: CH Ref legal event code: EP |
|
| REF | Corresponds to: |
Ref document number: 502006000050 Country of ref document: DE Date of ref document: 20070920 Kind code of ref document: P |
|
| ET | Fr: translation filed | ||
| PLBE | No opposition filed within time limit |
Free format text: ORIGINAL CODE: 0009261 |
|
| STAA | Information on the status of an ep patent application or granted ep patent |
Free format text: STATUS: NO OPPOSITION FILED WITHIN TIME LIMIT |
|
| 26N | No opposition filed |
Effective date: 20080509 |
|
| PGFP | Annual fee paid to national office [announced via postgrant information from national office to epo] |
Ref country code: FR Payment date: 20120206 Year of fee payment: 7 Ref country code: CH Payment date: 20120123 Year of fee payment: 7 |
|
| PGFP | Annual fee paid to national office [announced via postgrant information from national office to epo] |
Ref country code: BE Payment date: 20120117 Year of fee payment: 7 |
|
| PGFP | Annual fee paid to national office [announced via postgrant information from national office to epo] |
Ref country code: DE Payment date: 20120321 Year of fee payment: 7 |
|
| PGFP | Annual fee paid to national office [announced via postgrant information from national office to epo] |
Ref country code: AT Payment date: 20120111 Year of fee payment: 7 |
|
| BERE | Be: lapsed |
Owner name: DIEHL BGT DEFENCE G.M.B.H. & CO.KG Effective date: 20130131 |
|
| REG | Reference to a national code |
Ref country code: CH Ref legal event code: PL |
|
| REG | Reference to a national code |
Ref country code: AT Ref legal event code: MM01 Ref document number: 369537 Country of ref document: AT Kind code of ref document: T Effective date: 20130131 |
|
| REG | Reference to a national code |
Ref country code: FR Ref legal event code: ST Effective date: 20130930 |
|
| PG25 | Lapsed in a contracting state [announced via postgrant information from national office to epo] |
Ref country code: BE Free format text: LAPSE BECAUSE OF NON-PAYMENT OF DUE FEES Effective date: 20130131 Ref country code: DE Free format text: LAPSE BECAUSE OF NON-PAYMENT OF DUE FEES Effective date: 20130801 Ref country code: AT Free format text: LAPSE BECAUSE OF NON-PAYMENT OF DUE FEES Effective date: 20130131 Ref country code: LI Free format text: LAPSE BECAUSE OF NON-PAYMENT OF DUE FEES Effective date: 20130131 Ref country code: CH Free format text: LAPSE BECAUSE OF NON-PAYMENT OF DUE FEES Effective date: 20130131 |
|
| REG | Reference to a national code |
Ref country code: DE Ref legal event code: R119 Ref document number: 502006000050 Country of ref document: DE Effective date: 20130801 |
|
| PG25 | Lapsed in a contracting state [announced via postgrant information from national office to epo] |
Ref country code: FR Free format text: LAPSE BECAUSE OF NON-PAYMENT OF DUE FEES Effective date: 20130131 |