EP1655813A1 - Befestigung für elektrische Verbindung - Google Patents
Befestigung für elektrische Verbindung Download PDFInfo
- Publication number
- EP1655813A1 EP1655813A1 EP05009041A EP05009041A EP1655813A1 EP 1655813 A1 EP1655813 A1 EP 1655813A1 EP 05009041 A EP05009041 A EP 05009041A EP 05009041 A EP05009041 A EP 05009041A EP 1655813 A1 EP1655813 A1 EP 1655813A1
- Authority
- EP
- European Patent Office
- Prior art keywords
- terminal
- housing
- fastening element
- wall opening
- actuating wedge
- Prior art date
- Legal status (The legal status is an assumption and is not a legal conclusion. Google has not performed a legal analysis and makes no representation as to the accuracy of the status listed.)
- Withdrawn
Links
- 239000011810 insulating material Substances 0.000 claims description 3
- 230000000694 effects Effects 0.000 description 7
- 239000004020 conductor Substances 0.000 description 2
- 241000233805 Phoenix Species 0.000 description 1
- 230000000903 blocking effect Effects 0.000 description 1
- 230000001447 compensatory effect Effects 0.000 description 1
- 238000010276 construction Methods 0.000 description 1
- 238000006073 displacement reaction Methods 0.000 description 1
- 230000009977 dual effect Effects 0.000 description 1
- 238000003780 insertion Methods 0.000 description 1
- 230000037431 insertion Effects 0.000 description 1
- 238000009413 insulation Methods 0.000 description 1
- 238000002955 isolation Methods 0.000 description 1
- 238000004519 manufacturing process Methods 0.000 description 1
- 238000000034 method Methods 0.000 description 1
- 238000000926 separation method Methods 0.000 description 1
Images
Classifications
-
- H—ELECTRICITY
- H01—ELECTRIC ELEMENTS
- H01R—ELECTRICALLY-CONDUCTIVE CONNECTIONS; STRUCTURAL ASSOCIATIONS OF A PLURALITY OF MUTUALLY-INSULATED ELECTRICAL CONNECTING ELEMENTS; COUPLING DEVICES; CURRENT COLLECTORS
- H01R13/00—Details of coupling devices of the kinds covered by groups H01R12/70 or H01R24/00 - H01R33/00
- H01R13/73—Means for mounting coupling parts to apparatus or structures, e.g. to a wall
- H01R13/74—Means for mounting coupling parts in openings of a panel
- H01R13/741—Means for mounting coupling parts in openings of a panel using snap fastening means
- H01R13/745—Means for mounting coupling parts in openings of a panel using snap fastening means separate from the housing
-
- H—ELECTRICITY
- H01—ELECTRIC ELEMENTS
- H01R—ELECTRICALLY-CONDUCTIVE CONNECTIONS; STRUCTURAL ASSOCIATIONS OF A PLURALITY OF MUTUALLY-INSULATED ELECTRICAL CONNECTING ELEMENTS; COUPLING DEVICES; CURRENT COLLECTORS
- H01R13/00—Details of coupling devices of the kinds covered by groups H01R12/70 or H01R24/00 - H01R33/00
- H01R13/73—Means for mounting coupling parts to apparatus or structures, e.g. to a wall
- H01R13/74—Means for mounting coupling parts in openings of a panel
- H01R13/741—Means for mounting coupling parts in openings of a panel using snap fastening means
- H01R13/743—Means for mounting coupling parts in openings of a panel using snap fastening means integral with the housing
-
- H—ELECTRICITY
- H01—ELECTRIC ELEMENTS
- H01R—ELECTRICALLY-CONDUCTIVE CONNECTIONS; STRUCTURAL ASSOCIATIONS OF A PLURALITY OF MUTUALLY-INSULATED ELECTRICAL CONNECTING ELEMENTS; COUPLING DEVICES; CURRENT COLLECTORS
- H01R13/00—Details of coupling devices of the kinds covered by groups H01R12/70 or H01R24/00 - H01R33/00
- H01R13/62—Means for facilitating engagement or disengagement of coupling parts or for holding them in engagement
- H01R13/627—Snap or like fastening
- H01R13/6271—Latching means integral with the housing
- H01R13/6273—Latching means integral with the housing comprising two latching arms
Definitions
- the invention relates to an electrical terminal for carrying a line through a housing wall, with a rectangular terminal housing made of insulating material, with at least one connecting element and with a fastening element for fixing the terminal in a rectangular wall opening of the housing wall, wherein the fastening element has at least one fixing element.
- the invention also relates to a fastening element for fixing an electrical terminal in a wall opening of a housing wall, with at least one fixing element.
- Electrical terminals or electrical connectors for passing a line through a housing wall are also often referred to as lead-through terminals or feedthrough connectors. Both one-piece and two-piece lead-through terminals are known. In two-part lead-through terminals, one part of the terminal is fixed in the wall opening of the housing wall, while the other part is electrically and mechanically connected to the part fixed in the wall opening - the plug part.
- Electrical connectors are used in electrical terminals together with corresponding connectors for connecting an electrical conductor to the electronics of a device.
- the electrical connector can be designed as a socket part or as a plug part. Since the electrical connector is electrically and mechanically connected to the electronics and the housing of the device, while an electrical line is connected to the corresponding connector, the stationary electrical connector is often referred to as the main body or body.
- the connectors or the base body differ in particular by whether the contact element has a pin contact or a socket contact as a contact leg, wherein the embodiment with a pin contact is the standard version. If the electrical plug connector has a pin contact as the contact leg, then the plug connector is designed as a socket part into which the plug connector, which has a socket contact, is plugged.
- a similar principle follows the teaching of DE 198 01 260 C2, in which the one-piece terminal housing is guided through the wall opening. The insertion process is limited by a stop on the terminal housing. On the guided through the wall opening part of the electrical terminal then a latching clip is pushed, which is locked with two opposite sides of the housing of the terminal, so that the housing wall between the stop on one side and the locking bracket is fixed on the other side.
- a one-piece terminal which is inserted through the wall opening of the housing, wherein when inserting the terminal through the wall opening on two opposite sides of the housing provided spring detents are each pushed back by an inner edge of the wall opening, wherein the spring detents spring back after passing through the wall and thus lock with the corresponding inner edge of the wall opening.
- spring detents spring back after passing through the wall and thus lock with the corresponding inner edge of the wall opening.
- a renewed spring back springing must be prevented by a blocking slide, which can only be operated from the inside of the housing, while the terminal must first be inserted from the outside into the wall opening, so that here as well Access to both sides of the housing wall is necessary.
- the teaching of the present invention is therefore based on the object to provide an electrical terminal with improved properties in the attachment in a wall opening of a housing wall.
- the electrical terminal according to the invention in which this object is achieved, is initially and essentially characterized in that the fastening element additionally comprises a resilient clamping element which is arranged substantially perpendicular to the fixing that the clamping element in the assembled state of the terminal against an inner edge the narrow side of the wall opening acts.
- the electrical terminal according to the invention is advantageous in many ways.
- the resilient clamping element it is possible to close tolerances between the inner edge of the narrow side of the wall opening and the terminal housing, wherein the compensatory clearance between the terminal and the inner edge of the wall opening is determined by the maximum travel of the resilient clamping member.
- the resilient clamping element at the same time also a fixation of the terminal in the wall opening of the housing wall in the direction of this inner edge of the wall opening.
- the resilient clamping element fixes the terminal in the wall opening in the joining direction or in the direction opposite to the joining direction, d. H. perpendicular to the actual main clamping direction.
- the terminal according to the invention can be further improved in terms of their fixation in the opening of the housing wall by the resilient clamping element has a curved or oblique clamping surface and the clamping surface in turn has a plurality of mutually parallel ribs.
- the terminal In the assembled state of the terminal then forms at least one rib depending on the thickness of the housing wall with the inner edge of the wall opening a toothing.
- the terminal can be fixed in wall openings of housings with different wall thickness.
- the expansion of the curved or oblique clamping surface in the joining direction of the terminal defines the maximum thickness of the housing wall, with which the resilient clamping element can cooperate, so that the desired locking effect is achieved with the inner edge of the wall opening.
- the terminal according to the invention with respect to their latching in the opening of the housing wall further educated by the fastener has an actuating wedge which is pivotally mounted on the fastening element, that it is pivotable in a position in which the resilient clamping element in the assembled state Terminal is pressed by the actuating wedge against the corresponding inner edge of the wall opening.
- the position of the resilient clamping member in the mounted state of the terminal can also be permanently held, the actuating wedge is fixable in this position.
- the actuating wedge Upon pivoting of the actuating wedge in its mounting position, the actuating wedge penetrates between the resilient clamping element and the clamping housing, so that is moved by the wedge action exerted by the actuating wedge wedge the resilient clamping element of the terminal housing on the opposite inner edge of the housing wall.
- the resilient clamping element is thus pressed against the occurring by the deflection of the clamping element spring force of the actuating wedge outward against the inner edge of the wall opening.
- the clamping element is thus comparatively close to the terminal housing and is deflected only by the force of the actuating wedge.
- the actuating wedge In order for this deflection remains permanently in the assembled state, the actuating wedge must remain in the position described. This is advantageously achieved in that on the surface of the actuating wedge a toothing and on the surface of the actuating wedge facing side of the fixing element a corresponding counter-toothing is formed. Such an embodiment of the actuating wedge thereby ensures reliable fixing of the terminal in the opening of the housing wall, that the resilient clamping element is pressed against the inner edge of the wall opening and simultaneously held in its mounting position.
- a fastening element for fixing an electrical terminal in a wall opening of a housing wall with at least one fixing element, the thereby characterized in that a resilient clamping element is provided, which is arranged substantially perpendicular to the fixing element.
- the spring force of the clamping element is directed substantially perpendicular to the longitudinal direction of the fixing.
- the fastener according to the invention can be configured particularly advantageous if it has a substantially U-shaped body, with a U-back and two U-legs and a locking tongue extending substantially parallel to the main body.
- the ends of the two U-legs are each formed as a fixing element and the resilient clamping element is formed by the free end of the latching tongue.
- the locking tongue in turn is attached with its foot in the region of the U-back of the fastener.
- a further improvement of the fastening element can be achieved in that the free end of the latching tongue has an outwardly facing curved or oblique clamping surface and on the clamping surface a plurality of mutually parallel ribs are formed.
- the fastener can securely cooperate with an inner edge of the opening in the housing wall and securely fix the electrical terminal in the wall opening.
- an actuating wedge is arranged pivotably at the free end of a U-leg.
- the actuating wedge is pivotable in a position such that it presses the resilient clamping element in the mounted state of the terminal against the corresponding inner edge and thus ensures a secure fixation of the terminal in the wall opening.
- Fig. 1 shows an electrical terminal 1 for carrying a line through a housing wall 2.
- the terminal 1 has a rectangular terminal housing 3 made of insulating material with - in this particular embodiment - three connecting elements, wherein the connecting elements are connected and at two ends of a respective fastener 4 for fixing the terminal 1 in a likewise has a rectangular wall opening 5 are limited.
- the number of connection elements of the terminal 1 is completely irrelevant to the teaching underlying the electrical terminal according to the invention; just as well, a preferred embodiment could be shown with fewer but also more connection elements.
- the - shown in isolation in Figure 3 - fastener 4 has two fixing elements 6, 7, respectively, in the assembled state of the terminal 1 abut against an inner edge 8, 9 of the wall opening 5 and slightly press against the inner edges 8, 9 and so cause a prefixing of the electrical terminal 1 in the wall opening 5.
- the two fixing elements 6, 7 are arranged opposite one another, so that they also cooperate with two opposite inner edges 8, 9 of the wall opening 5. In the exemplary embodiment, these are the longitudinal sides of the wall opening 5.
- the fixation of the terminal 1 in the wall opening 5 is exclusively via locking elements which engage the longitudinal sides of the wall opening 5 ,
- the terminal 1 shown in FIGS. 1 and 2 a resilient clamping element 10 which presses in the mounted state of the terminal 1 against a further inner edge 11 - a narrow side - the wall opening 5.
- the inner edge 11 extends perpendicular to the two inner edge 8, 9. Because the fastening element 4 of the terminal 1 acts not only in a known manner against the two inner edges 8, 9 of the wall opening 5, but in particular with the resilient clamping element 10 against the inner edge 11 presses the narrow side, a fixation of the terminal 1 is ensured in the direction of this inner edge 11, d. H. in a horizontal direction.
- the resilient clamping element 10 of the fastener 4 thus also allows an electrical terminal 1 to be securely mounted in such a wall opening 5, which would normally surround the electrical terminal 1 only with a certain play and trained columns.
- the resilient clamping member 10 of the electrical terminal 1 on an oblique, slightly curved clamping surface 12, with a plurality of mutually parallel ribs 13 in the clamping surface 12.
- the mutually parallel ribs 13 are arranged in that at least one rib 13 forms a toothing in the mounted state of the connecting terminal 1 with the inner edge 11 of the wall opening 5. Which of the mutually parallel ribs 13 cooperates with the inner edge 11 depends on the strength of the housing wall 2 from as well as the distance by which the further resilient clamping element 10 must be deflected until it with the inner edge 11 of Wall opening 5 cooperates. From FIGS.
- the electrical terminal 1 can be fixed in the wall opening 5 of housing walls 2, which have different wall thicknesses.
- the extent to which the wall thickness of the housing wall 2 can vary depends structurally on the extension of the clamping surface 12 in the joining direction of the electrical terminal 1.
- the fastening element 4 has an actuating wedge 14, which is arranged pivotably on the fastening element 4.
- the actuating wedge 14 is pivoted in Figs. 1 and 2 - respectively in the front position - so in a mounting position that he presses the fixing elements 6, 7 and in particular the resilient clamping element 10 against the corresponding inner edge 8, 9, 11 of the wall opening 5 , In order for the so effected fixation of the terminal 1 in the wall opening 5 is permanently maintained, the actuating wedge 14 is fixed in its mounting position.
- the fixation of the actuating wedge 14 is realized in the embodiment in that on the surface of the actuating wedge 14, a toothing 15 is formed. This toothing 15 cooperates with a corresponding counter-toothing 16, which is formed on the surface of the actuating wedge 14 facing side of the first fixing element 6.
- the embodiment of the actuating wedge 14 shown in the figures has a double effect when the actuating wedge 14 is pivoted into its mounting position.
- the first, known effect is that the fixing elements 6, 7 - slightly - against the inner edges 8, 9 of the wall opening 5 are pressed and the actuating wedge 14 due to its teeth 15 with the corresponding counter teeth 16 of the first fixing element 6 locked.
- the second effect is that the actuating wedge 14 slides during pivoting in its mounting position between the resilient clamping element 10 and the clamping housing 3, whereby the resilient clamping element 10 is deflected away from the terminal housing 3 in the direction of the inner edge 11 of the narrow side of the wall opening 5 , so that at least one of the ribs 13 of the clamping surface 12 cooperates with the inner edge 11.
- a stop 17 is shown in each case, which is formed on the terminal housing 3.
- the illustrated electrical terminal 1 is guided through the wall opening 5 until the stop 17 touches the housing wall 2, so abuts her.
- the fixing element 6, 7 and the further clamping element 10 are formed so that they not only prevent a movement of the terminal 1 in the plane of the housing wall 2 in the assembled state of the terminal 1 but also a movement of the terminal 1 in the joining direction opposite direction.
- the electrical terminal 1 with the stop 17 formed on it is only one possible variant to effect the desired clamping effect in connection with the further resilient clamping element 10 of the fastening element 4;
- the stop 17 is by no means functionally necessary for the teaching of the invention.
- the clamping surface of the fixing element 6, 7 and the clamping surface of the resilient clamping member 10 in the direction of the first inner edge 8, 9 and the further inner edge 11 is formed as a limited on both sides recess. Differently strong housing walls 2 penetrate at different depths into the recess described in the assembled state, wherein the thus formed clamping surfaces are able to prevent movement of the electrical terminal both in the joining direction and opposite to the joining direction.
- the stop and the fastener in the assembled state of the electrical terminal are accessible from one side of the housing wall.
- the fastener 4 is carried out separately from the terminal 1 and laterally on the terminal housing 3 by means of a latch fastened (Fig. 1) or in each one formed on the two sides of the terminal housing 3 pocket 18 can be inserted and there latched by means of a latching lug 19 (Fig. 2).
- the advantage of a separate embodiment of the fastener 4 of the electrical terminal 1 is that both parts are separated from each other easier to produce than in a unit.
- the fastening element 4 can be fixed laterally to a terminal block, which is formed from any number of sixteengerasteten disc-shaped terminal 1.
- the terminal housing 3 is formed integrally with the fastening element 4.
- a symmetrical clamping effect is achieved in that arranged on two mutually opposite sides of the terminal housing 3 each have a fastening element 4 and is inserted in the two pockets 18. This prevents a one-sided slipping out or breaking the terminal 1 from the wall opening 5 is already structurally pre-programmed at a tensile load of the electrical terminal 1 in or against the joining direction.
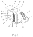
- Fig. 3 shows a preferred embodiment of a fastener 4 according to the invention, as well as in Figs. 1 and 2 in connection with the terminal 1 is used.
- the fastening element 4 serves to fix an electrical terminal 1 in a wall opening 5 of a housing wall 2, and it has fixing elements 6, 7, which in the assembled state of the terminal 1 against a respective first inner edge 8, 9 of the wall opening 5 and the stopper 17th act on the terminal housing 3.
- the fastening element 4 further comprises a resilient clamping element 10 which is arranged substantially perpendicular to the two fixing elements 6, 7 in such a way that the spring force of the clamping element 10 is directed substantially perpendicular to the holding force of the fixing elements 6, 7.
- the fastening element 4 shown in Fig. 3 has a substantially U-shaped base body with a U-back 20 and two U-legs 21, 22, and a parallel to the body extending latching tongue 23.
- the ends of the two U-legs 21, 22 are each formed as a fixing element 6, 7, and the resilient clamping element 10 is formed by the free end of the latching tongue 23, which is fastened with its foot region 24 in the region of the U-back 20.
- the free end of the latching tongue 23 is formed as an outwardly facing oblique and slightly curved clamping surface 12, wherein on the clamping surface 12 a plurality of mutually parallel ribs 13 are provided.
- the illustrated in Fig. 3 preferred fastener 4 is designed so that it can be used particularly well with an electrical terminal 1, which is to be arranged in a wall opening 5, the first inner edge 8, 9 and the further inner edge 11 substantially perpendicular to each other.
- an electrical terminal 1 which is to be arranged in a wall opening 5, the first inner edge 8, 9 and the further inner edge 11 substantially perpendicular to each other.
- these are the long sides and the narrow sides running perpendicular thereto.
- the fastening element 4 furthermore has an actuating wedge 14, which is arranged pivotably at the free end of the U-leg 22.
- the actuating wedge 14 is pivotable in a position such that it presses the fixing elements 6, 7 and the resilient clamping element 10 against the corresponding inner edge 8, 9, 11 of the wall opening 5 in the assembled state of the terminal 1.
- the actuating wedge 14 thus fulfills the dual function of deflecting both the two U-legs 21, 22 and the latching tongue 23 so far that they are in the installed state of the electrical terminal 1 fixed against the respective inner edge 8, 9, 11 of the wall opening 5 are pressed and the electrical terminal 1 so securely in the wall opening 5 of the housing wall 2 fix.
- the ability to deflect the two U-legs 21, 22 depends on whether the fastener 4 is fixed laterally on the terminal housing 3 or inserted into a corresponding pocket 18 on the terminal housing 3. If the fastening element 4 is inserted into a corresponding pocket 18 on the terminal housing 3, the U-legs 21, 22 can generally only be deflected to a very limited extent.
- the fixation of the terminal 1 is then carried out essentially by the clamping element 10, which is pressed against the inner edge 11 of the narrow side of the wall opening 5.
- the deflection caused by the actuating wedge 14 of the U-legs 21, 22 and the latching tongue 23 is permanently ensured in the assembled state of the terminal 1, on the surface of the actuating wedge 14 is a toothing 15 and on the surface of the actuating wedge 14 facing side of Fixing element 6 a corresponding counter-toothing 16 is formed, which provide for a locking of the mounting wedge 14 in the installed state of the terminal 1.
- actuating wedge 14 has a recess 25 is formed in the unlocking tool, not shown, for.
- the blade of a screwdriver can be inserted, in the event that the locking of the actuating wedge 14 is to be solved with the U-leg 21, so that the electrical terminal 1 can be removed again from the wall opening 5 in the housing wall 2.
Landscapes
- Connector Housings Or Holding Contact Members (AREA)
- Clamps And Clips (AREA)
- Connections Arranged To Contact A Plurality Of Conductors (AREA)
Priority Applications (7)
| Application Number | Priority Date | Filing Date | Title |
|---|---|---|---|
| EP05009041A EP1655813A1 (de) | 2004-11-09 | 2005-04-25 | Befestigung für elektrische Verbindung |
| PCT/EP2005/011934 WO2006050906A1 (de) | 2004-11-09 | 2005-11-08 | Elektrische anschlussklemme |
| ES05819426.7T ES2550009T3 (es) | 2004-11-09 | 2005-11-08 | Borne de conexión eléctrica |
| EP05819426.7A EP1842266B1 (de) | 2004-11-09 | 2005-11-08 | Elektrische anschlussklemme |
| CN200580017677A CN100594645C (zh) | 2004-11-09 | 2005-11-08 | 电接线夹 |
| US11/573,436 US7674130B2 (en) | 2004-11-09 | 2005-11-08 | Electric connector for routing a line through a housing wall |
| JP2007539550A JP4740252B2 (ja) | 2004-11-09 | 2005-11-08 | 電気的な接続端子 |
Applications Claiming Priority (2)
| Application Number | Priority Date | Filing Date | Title |
|---|---|---|---|
| EP04026504 | 2004-11-09 | ||
| EP05009041A EP1655813A1 (de) | 2004-11-09 | 2005-04-25 | Befestigung für elektrische Verbindung |
Publications (1)
| Publication Number | Publication Date |
|---|---|
| EP1655813A1 true EP1655813A1 (de) | 2006-05-10 |
Family
ID=35840402
Family Applications (2)
| Application Number | Title | Priority Date | Filing Date |
|---|---|---|---|
| EP05009041A Withdrawn EP1655813A1 (de) | 2004-11-09 | 2005-04-25 | Befestigung für elektrische Verbindung |
| EP05819426.7A Expired - Lifetime EP1842266B1 (de) | 2004-11-09 | 2005-11-08 | Elektrische anschlussklemme |
Family Applications After (1)
| Application Number | Title | Priority Date | Filing Date |
|---|---|---|---|
| EP05819426.7A Expired - Lifetime EP1842266B1 (de) | 2004-11-09 | 2005-11-08 | Elektrische anschlussklemme |
Country Status (6)
| Country | Link |
|---|---|
| US (1) | US7674130B2 (enExample) |
| EP (2) | EP1655813A1 (enExample) |
| JP (1) | JP4740252B2 (enExample) |
| CN (1) | CN100594645C (enExample) |
| ES (1) | ES2550009T3 (enExample) |
| WO (1) | WO2006050906A1 (enExample) |
Cited By (9)
| Publication number | Priority date | Publication date | Assignee | Title |
|---|---|---|---|---|
| EP1912293A1 (de) * | 2006-10-11 | 2008-04-16 | Yazaki Europe Ltd. | Verriegelung an einer elektrischen Steckverbindung |
| WO2011157709A1 (de) * | 2010-06-14 | 2011-12-22 | Phoenix Contact Gmbh & Co. Kg | Anbausteckverbinder |
| DE102010045913A1 (de) | 2010-09-21 | 2012-03-22 | Wago Verwaltungsgesellschaft Mbh | Wanddurchführungs-Steckverbinder und Befestigungselement hierzu |
| DE102017124143A1 (de) * | 2017-10-17 | 2019-04-18 | Phoenix Contact Gmbh & Co. Kg | Befestigungsklemme |
| CN113334288A (zh) * | 2020-03-03 | 2021-09-03 | 菲尼克斯电气公司 | 固定夹具 |
| EP3476011B1 (de) * | 2016-06-28 | 2024-05-08 | Phoenix Contact GmbH & Co. KG | Durchführungsklemme |
| DE102023101504B3 (de) | 2023-01-23 | 2024-05-23 | Dinkle Electric Machinery (China) Co., Ltd. | Verbinderstruktur zur sicheren installation |
| DE202023104036U1 (de) * | 2023-07-19 | 2024-10-22 | WAGO Verwaltungsgesellschaft mit beschränkter Haftung | Sperrelement, Anordnung mit einem Steckverbinder und einem Sperrelement sowie Set aus einem Steckverbinder und einem Sperrelement |
| US12394939B2 (en) | 2022-12-27 | 2025-08-19 | Dinkle Enterprise Co., Ltd. | Connector structure for secure installation |
Families Citing this family (12)
| Publication number | Priority date | Publication date | Assignee | Title |
|---|---|---|---|---|
| DE102009004136B4 (de) * | 2009-01-06 | 2011-09-01 | Phoenix Contact Gmbh & Co. Kg | Elektrische Anschlussklemme zum Durchführen einer Leitung durch eine Wandung |
| DE202010018149U1 (de) * | 2010-03-01 | 2014-05-13 | Phoenix Contact Gmbh & Co. Kg | Anschlussklemmenanordnung |
| US20130184037A1 (en) * | 2012-01-17 | 2013-07-18 | Casey Hopkins | Base stations for supporting devices |
| DE102012011676B4 (de) * | 2012-05-14 | 2022-02-03 | Phoenix Contact Gmbh & Co. Kg | Befestigungsklemme und Baueinheit mit zwei Befestigungsklemmen und mehreren nebeneinander angeordneten Reihenklemmen |
| DE202013102150U1 (de) * | 2013-05-16 | 2014-05-20 | Conrad Stanztechnik Gmbh | Wanddurchführungsklemme für einen elektrischen Leiter |
| ES2584540B1 (es) * | 2015-03-27 | 2017-07-05 | Te Connectivity Amp España, S.L.U. | Pestillo para conector de telecomunicaciones |
| CN106654673A (zh) * | 2015-11-04 | 2017-05-10 | 上海航天科工电器研究院有限公司 | 一种用于面板安装的连接机构 |
| EP3176804B1 (en) | 2015-12-01 | 2023-06-28 | Connecteurs Electriques Deutsch | Snap-lock relay socket |
| CN111211455B (zh) * | 2018-11-21 | 2023-04-21 | 富士康(昆山)电脑接插件有限公司 | 电连接器 |
| EP4005031A1 (de) * | 2019-07-26 | 2022-06-01 | Hirschmann Automotive GmbH | Adapterstecker mit spielausgleich |
| DE102020101812A1 (de) * | 2020-01-27 | 2021-07-29 | Harting Electric Gmbh & Co. Kg | Anbaugehäuse |
| EP4210181A1 (en) * | 2022-01-05 | 2023-07-12 | Tyco Electronics UK Ltd. | Panel mount connector having a snap-fit clip module |
Citations (6)
| Publication number | Priority date | Publication date | Assignee | Title |
|---|---|---|---|---|
| DE3613681C1 (en) | 1986-04-23 | 1987-06-04 | Phoenix Elekt | Electrical connecting terminal for passing a cable (lead, line) through a housing wall or the like |
| US5800208A (en) * | 1995-08-01 | 1998-09-01 | Yazaki Corporation | Movable connector-mounting construction |
| DE29907005U1 (de) | 1999-04-20 | 1999-07-15 | Adels-contact Elektrotechnische Fabrik GmbH & Co. KG, 51469 Bergisch Gladbach | Anschluß- und/oder Verbindungsklemme für ein elektrisches Gerät |
| DE19801260C2 (de) | 1998-01-09 | 2002-01-24 | Wago Verwaltungs Gmbh | Wand-Durchführungsklemme für elektr. Leiter |
| DE20200974U1 (de) | 2002-01-24 | 2003-05-28 | Weidmüller Interface GmbH & Co., 32760 Detmold | Durchführungsklemme für elektrische Leiter |
| DE10315661A1 (de) | 2003-04-04 | 2004-11-04 | Phoenix Contact Gmbh & Co. Kg | Wanddurchführungsklemme/-Steckverbinder mit keilförmiger Befestigung |
Family Cites Families (15)
| Publication number | Priority date | Publication date | Assignee | Title |
|---|---|---|---|---|
| US3432802A (en) * | 1966-10-13 | 1969-03-11 | Hewlett Packard Co | Edge board and flat cable connector |
| JPS5361691A (en) * | 1976-11-16 | 1978-06-02 | Nippon Ester Co Ltd | Production of polyester resin |
| DE3036404C2 (de) * | 1980-09-26 | 1986-06-19 | Hans 8024 Deisenhofen Sauer | Relais-Steckfassung |
| US4461938A (en) * | 1982-08-30 | 1984-07-24 | Carlingswitch, Inc. | Switch case construction |
| GB8628826D0 (en) * | 1986-12-02 | 1987-01-07 | Beecham Group Plc | Pharmaceutical products |
| DE8802459U1 (de) * | 1988-02-25 | 1988-04-21 | Ellenberger & Poensgen GmbH, 90518 Altdorf | Gehäuse für ein elektrisches Gerät |
| JP2907459B2 (ja) * | 1989-09-29 | 1999-06-21 | 松下電器産業株式会社 | 加熱調理器 |
| US5279507A (en) | 1991-09-26 | 1994-01-18 | Yazaki Corporation | Connector for use in vehicles |
| JP2998885B2 (ja) * | 1994-07-11 | 2000-01-17 | 矢崎総業株式会社 | コネクタのスペーサ検知構造 |
| US5830008A (en) * | 1996-12-17 | 1998-11-03 | The Whitaker Corporation | Panel mountable connector |
| JP3278048B2 (ja) * | 1997-10-01 | 2002-04-30 | 住友電装株式会社 | コネクタ |
| JP2001283958A (ja) * | 2000-04-03 | 2001-10-12 | Yazaki Corp | 基板用コネクタの係止構造 |
| JP3811403B2 (ja) * | 2001-12-28 | 2006-08-23 | 日本圧着端子製造株式会社 | パネル表裏何れの壁面からも取付可能な係止部材を備えたコネクタ |
| US6659796B1 (en) * | 2002-06-21 | 2003-12-09 | Molex Incorporated | Multi-function mounting/latch component for electrical connectors |
| US6709286B1 (en) | 2002-10-03 | 2004-03-23 | Hon Hai Precision Ind. Co., Ltd. | Electrical connector |
-
2005
- 2005-04-25 EP EP05009041A patent/EP1655813A1/de not_active Withdrawn
- 2005-11-08 ES ES05819426.7T patent/ES2550009T3/es not_active Expired - Lifetime
- 2005-11-08 JP JP2007539550A patent/JP4740252B2/ja not_active Expired - Fee Related
- 2005-11-08 EP EP05819426.7A patent/EP1842266B1/de not_active Expired - Lifetime
- 2005-11-08 US US11/573,436 patent/US7674130B2/en not_active Expired - Fee Related
- 2005-11-08 WO PCT/EP2005/011934 patent/WO2006050906A1/de not_active Ceased
- 2005-11-08 CN CN200580017677A patent/CN100594645C/zh not_active Expired - Fee Related
Patent Citations (6)
| Publication number | Priority date | Publication date | Assignee | Title |
|---|---|---|---|---|
| DE3613681C1 (en) | 1986-04-23 | 1987-06-04 | Phoenix Elekt | Electrical connecting terminal for passing a cable (lead, line) through a housing wall or the like |
| US5800208A (en) * | 1995-08-01 | 1998-09-01 | Yazaki Corporation | Movable connector-mounting construction |
| DE19801260C2 (de) | 1998-01-09 | 2002-01-24 | Wago Verwaltungs Gmbh | Wand-Durchführungsklemme für elektr. Leiter |
| DE29907005U1 (de) | 1999-04-20 | 1999-07-15 | Adels-contact Elektrotechnische Fabrik GmbH & Co. KG, 51469 Bergisch Gladbach | Anschluß- und/oder Verbindungsklemme für ein elektrisches Gerät |
| DE20200974U1 (de) | 2002-01-24 | 2003-05-28 | Weidmüller Interface GmbH & Co., 32760 Detmold | Durchführungsklemme für elektrische Leiter |
| DE10315661A1 (de) | 2003-04-04 | 2004-11-04 | Phoenix Contact Gmbh & Co. Kg | Wanddurchführungsklemme/-Steckverbinder mit keilförmiger Befestigung |
Cited By (16)
| Publication number | Priority date | Publication date | Assignee | Title |
|---|---|---|---|---|
| EP1912293A1 (de) * | 2006-10-11 | 2008-04-16 | Yazaki Europe Ltd. | Verriegelung an einer elektrischen Steckverbindung |
| US7402056B2 (en) | 2006-10-11 | 2008-07-22 | Yazaki Europe Ltd. | Locking mechanism at an electrical connection assembly |
| WO2011157709A1 (de) * | 2010-06-14 | 2011-12-22 | Phoenix Contact Gmbh & Co. Kg | Anbausteckverbinder |
| US8932071B2 (en) | 2010-06-14 | 2015-01-13 | Phoenix Contact Gmbh & Co. Kg | Attachable plug-type connector |
| DE102010045913A1 (de) | 2010-09-21 | 2012-03-22 | Wago Verwaltungsgesellschaft Mbh | Wanddurchführungs-Steckverbinder und Befestigungselement hierzu |
| DE102010045913B4 (de) * | 2010-09-21 | 2012-05-24 | Wago Verwaltungsgesellschaft Mbh | Wanddurchführungs-Steckverbinder und Befestigungselement hierzu |
| US8529291B2 (en) | 2010-09-21 | 2013-09-10 | Wago Verwaltungsgesellschaft Mbh | Wall bushing plug connector and fastening element for it |
| EP3476011B1 (de) * | 2016-06-28 | 2024-05-08 | Phoenix Contact GmbH & Co. KG | Durchführungsklemme |
| EP3698440A1 (de) * | 2017-10-17 | 2020-08-26 | Phoenix Contact GmbH & Co. KG | Befestigungsklemme |
| DE102017124143A1 (de) * | 2017-10-17 | 2019-04-18 | Phoenix Contact Gmbh & Co. Kg | Befestigungsklemme |
| EP3698440B1 (de) * | 2017-10-17 | 2025-08-20 | Phoenix Contact GmbH & Co. KG | Befestigungsklemme |
| CN113334288A (zh) * | 2020-03-03 | 2021-09-03 | 菲尼克斯电气公司 | 固定夹具 |
| EP3876362A1 (de) * | 2020-03-03 | 2021-09-08 | Phoenix Contact GmbH & Co. KG | Befestigungsklemme |
| US12394939B2 (en) | 2022-12-27 | 2025-08-19 | Dinkle Enterprise Co., Ltd. | Connector structure for secure installation |
| DE102023101504B3 (de) | 2023-01-23 | 2024-05-23 | Dinkle Electric Machinery (China) Co., Ltd. | Verbinderstruktur zur sicheren installation |
| DE202023104036U1 (de) * | 2023-07-19 | 2024-10-22 | WAGO Verwaltungsgesellschaft mit beschränkter Haftung | Sperrelement, Anordnung mit einem Steckverbinder und einem Sperrelement sowie Set aus einem Steckverbinder und einem Sperrelement |
Also Published As
| Publication number | Publication date |
|---|---|
| CN100594645C (zh) | 2010-03-17 |
| US7674130B2 (en) | 2010-03-09 |
| ES2550009T3 (es) | 2015-11-03 |
| WO2006050906A1 (de) | 2006-05-18 |
| EP1842266B1 (de) | 2015-07-29 |
| CN1998114A (zh) | 2007-07-11 |
| EP1842266A1 (de) | 2007-10-10 |
| US20090098768A1 (en) | 2009-04-16 |
| JP2008519408A (ja) | 2008-06-05 |
| JP4740252B2 (ja) | 2011-08-03 |
Similar Documents
| Publication | Publication Date | Title |
|---|---|---|
| EP1842266B1 (de) | Elektrische anschlussklemme | |
| EP3080875B2 (de) | Halterahmen für einen steckverbinder | |
| EP3369142B1 (de) | Baugruppe eines steckverbinderteils mit einem halterahmen zum aufnehmen von modularen kontakteinsätzen | |
| EP3080874B2 (de) | Halterahmen für einen steckverbinder | |
| DE102013113975C5 (de) | Halterahmen für einen Steckverbinder | |
| DE4131768B4 (de) | Elektrischer Verbinder mit Doppelverriegelung | |
| DE102009025722A1 (de) | Rastverbindungsanordnung | |
| EP3961821B1 (de) | Verbindungsvorrichtung mit einem steckverbinder und einem gegensteckverbinder | |
| EP3151338A1 (de) | Betätigungseinrichtung für eine elektrische anschlussklemme | |
| DE102016221351A1 (de) | Flachkontaktbuchse mit Ausleger | |
| DE102012101813B3 (de) | Steckverbinder | |
| EP3843221A1 (de) | Halterahmen für einen steckverbinder | |
| DE4016114C2 (de) | Elektrischer Mehrkontakt-Verbinder, der eine geringe Verbindungs- und Trennkraft erfordert | |
| DE102016112831A1 (de) | Anschlussklemme | |
| DE2619035C2 (de) | Schraubenlose Anschluß- und/oder Verbindungsklemme | |
| EP2475057A1 (de) | Kabeltragvorrichtung | |
| DE102016217456B3 (de) | Anordnung für einen elektrischen Steckverbinder sowie Steckverbinder mit einem Kontaktgehäuse, Umgehäuse und Sicherungselement | |
| DE102020126486A1 (de) | Halterahmen für einen Steckverbinder | |
| DE102004059017B4 (de) | Kastenfederklemme mit einem an einer ersten Kastenwand angeordneten Klemmschenkel | |
| EP1445840B1 (de) | Elektrischer Steckverbinder | |
| DE102013113973B4 (de) | Metallischer Halterahmen für einen Steckverbinder sowie Verfahren zur Herstellung | |
| EP3050177A1 (de) | Gehäuseeinrichtung für eine elektrische anschlussklemme sowie elektrische anschlussklemme | |
| DE102007030061A1 (de) | Elektrische Hilfsverbindung zur Verbindung von wenigstens zwei Anschlussblöcken | |
| BE1032383B1 (de) | Halterahmen für einen Steckverbinder | |
| DE102023130931A1 (de) | Kodierbauteil und Kodierelement sowie Set aus Steckverbinder und Kodierbauteil |
Legal Events
| Date | Code | Title | Description |
|---|---|---|---|
| PUAI | Public reference made under article 153(3) epc to a published international application that has entered the european phase |
Free format text: ORIGINAL CODE: 0009012 |
|
| AK | Designated contracting states |
Kind code of ref document: A1 Designated state(s): AT BE BG CH CY CZ DE DK EE ES FI FR GB GR HU IE IS IT LI LT LU MC NL PL PT RO SE SI SK TR |
|
| AX | Request for extension of the european patent |
Extension state: AL BA HR LV MK YU |
|
| 17P | Request for examination filed |
Effective date: 20060518 |
|
| AKX | Designation fees paid |
Designated state(s): AT BE BG CH CY CZ DE DK EE ES FI FR GB GR HU IE IS IT LI LT LU MC NL PL PT RO SE SI SK TR |
|
| 17Q | First examination report despatched |
Effective date: 20100324 |
|
| STAA | Information on the status of an ep patent application or granted ep patent |
Free format text: STATUS: THE APPLICATION HAS BEEN WITHDRAWN |
|
| 18W | Application withdrawn |
Effective date: 20170223 |