EP1586264A2 - Geschirrspülmaschine mit einem Spülbehälter in dem wenigstens ein Sprüharm angeordnet ist - Google Patents
Geschirrspülmaschine mit einem Spülbehälter in dem wenigstens ein Sprüharm angeordnet ist Download PDFInfo
- Publication number
- EP1586264A2 EP1586264A2 EP05006974A EP05006974A EP1586264A2 EP 1586264 A2 EP1586264 A2 EP 1586264A2 EP 05006974 A EP05006974 A EP 05006974A EP 05006974 A EP05006974 A EP 05006974A EP 1586264 A2 EP1586264 A2 EP 1586264A2
- Authority
- EP
- European Patent Office
- Prior art keywords
- spray
- spray arm
- arm
- dishwasher according
- nozzles
- Prior art date
- Legal status (The legal status is an assumption and is not a legal conclusion. Google has not performed a legal analysis and makes no representation as to the accuracy of the status listed.)
- Granted
Links
Images
Classifications
-
- A—HUMAN NECESSITIES
- A47—FURNITURE; DOMESTIC ARTICLES OR APPLIANCES; COFFEE MILLS; SPICE MILLS; SUCTION CLEANERS IN GENERAL
- A47L—DOMESTIC WASHING OR CLEANING; SUCTION CLEANERS IN GENERAL
- A47L15/00—Washing or rinsing machines for crockery or tableware
- A47L15/14—Washing or rinsing machines for crockery or tableware with stationary crockery baskets and spraying devices within the cleaning chamber
- A47L15/18—Washing or rinsing machines for crockery or tableware with stationary crockery baskets and spraying devices within the cleaning chamber with movably-mounted spraying devices
- A47L15/22—Rotary spraying devices
- A47L15/23—Rotary spraying devices moved by means of the sprays
-
- A—HUMAN NECESSITIES
- A47—FURNITURE; DOMESTIC ARTICLES OR APPLIANCES; COFFEE MILLS; SPICE MILLS; SUCTION CLEANERS IN GENERAL
- A47L—DOMESTIC WASHING OR CLEANING; SUCTION CLEANERS IN GENERAL
- A47L15/00—Washing or rinsing machines for crockery or tableware
- A47L15/42—Details
- A47L15/4278—Nozzles
- A47L15/4282—Arrangements to change or modify spray pattern or direction
Definitions
- the invention relates to a dishwasher with a washing container in which at least one Spray arm is arranged in the washing container by at least approximately vertical Axis is rotatably mounted.
- the spray arm is equipped with spray nozzles, which have a Circulation pump to be fed with rinsing liquid.
- spray arms which are designed such that they in particular Consider problem areas in the washing container.
- EP 0 974 302 a dishwasher for a dishwasher, which has a spray arm, the has corner nozzles, which are fed separately and only in defined Rotary positions of the washing or rinsing arm can be acted upon with rinsing liquid.
- the spray arm on a subdivided chamber system wherein the one Main spray nozzles are supplied with rinsing liquid, and wherein the other chamber, the Ecksprühdüsen supplied with rinsing liquid.
- the separate supply takes place via separate outlet openings in the hub region of the mounted spray arm, wherein defined in Rotary positions of the spray arm, the second chamber in flow communication for feeding the Ecksprühdüsen stands.
- the invention thus poses the problem of the efficiency of a spray arm to improve spray nozzles, in particular the spray jets higher Cover the washroom should give.
- the achievable with the invention advantages are that the use of the Pressure in the spray arm (for example, influenced by the change in the circulation pump speed) and the concomitant geometry change requires no additional actuators, which is achieved in particular by elastic means in the area of the spray arm are provided, due to the variable pump pressure different positions for Activation or deactivation of arranged on the spray arm spray nozzles.
- the elastic means for controlling in addition to Spray arm provided spray nozzles and / or Sprüharm Symposium Berlinen be provided.
- the elastic means are designed as spring elements, either an immediate Closure or opening of the nozzle opening effect, or that they are in operative connection with pivotable or displaceable arm areas are, for activation or Deactivation of these arm areas, respectively the spray nozzles.
- the spring element may be formed as an elastic molded part, which as a result the pressure increase the opening cross-section of the nozzle releases, the other way round due to the Pressure reduction an automatic closure by the elastic molded part again is caused.
- the elastic molding of a lip-like Ring element consist, which as a result of its elastic recovery in pressure drop to Closing the nozzle opening leads.
- the elastic molding as Membrane designed to deform only at a certain pressure.
- An at the Diaphragm-mounted slider ensures that when deformed membrane an additional Nozzle, which was previously closed, is released again. Further advantages of this solution it is that, irrespective of the diaphragm, the or switch off and an intensive flushing zone is generated without additional actuators for Spray jet change are required.
- the spray jet variety the selected program can be specified or changed accordingly.
- the spring element comprises a return spring, which cooperates with a displaceably mounted closure element which covers the opening cross-section of the nozzle.
- the return spring does the same job, such as the membrane.
- a return spring cooperates with a sliding arm mounted on the spray arm, which covers a plurality of nozzles or releases them again when the pressure increases.
- a return spring cooperates with a free, displaceably mounted end region of the spray arm, so that a change in length of the spray arm is caused, which in particular by centrifugal force, also caused by pressure increase, can be caused.
- the return spring interacts with pivotally mounted additional spray arms on the main spray arm, wherein the return spring pivots the additional spray arm at a certain speed back to its original position. If the speed is increased by increasing the pressure of the spray arm, the corresponding additional spray arms swing out and thus cover additional areas in the spray room.
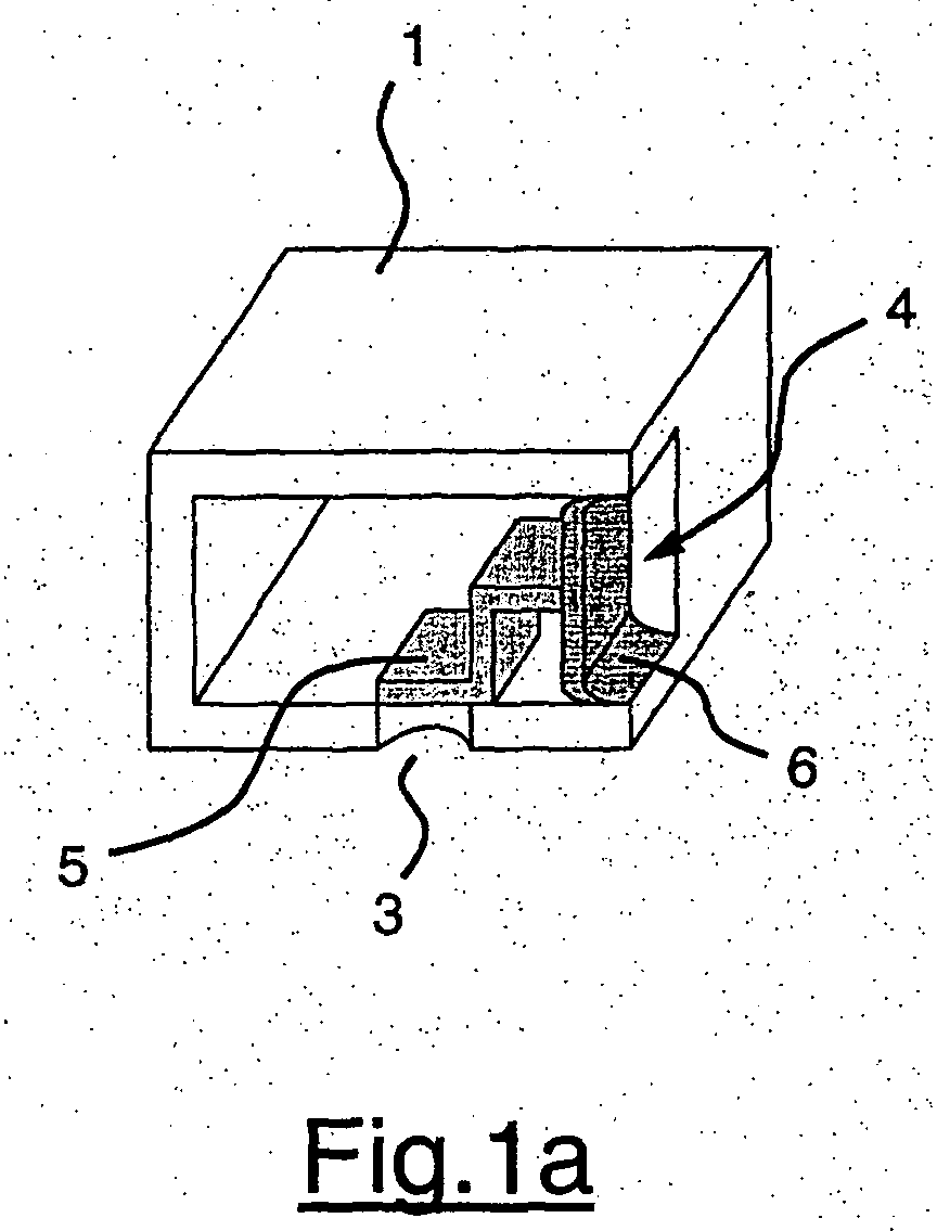
- the subject invention relates to a dishwasher, which does not detail in detail in which a washing container is provided, in which at least one spray arm. 1 is arranged, which is rotatably mounted in the spray chamber about a vertical axis 2, wherein the spray arm 1 is equipped with spray nozzles 3 and 13, which also has no closer shown circulating pump to be fed with rinsing liquid.
- the activation or deactivation of special components on Spray arm 1 shown within a drawing.
- the nozzles 13 are permanently open.
- the elastic means 4 are provided, which due to the variable pump pressure a first closed, and a second open position, to take in this way, provided on the spray arm 1 spray nozzles. 3 either to activate or deactivate.
- the elastic means 4 can thus for Control of additional provided on the spray arm 1 nozzles 3 and / or Sprüharm Societyen be provided.
- the elastic means 4 as spring elements formed, either an immediate closure or opening of the nozzle opening effect (see Figures 1, 2, 3, 4 and 5) or in operative connection with pivoting or slidable arm areas (see Figures 6, 7, 8, 9 and 10) are, for activation or for Deactivation of these arm areas, respectively the spray nozzles 3.
- Figure 1 and 2 shows a spring element, as an elastic molding is trained.
- a slider 5 acts with a Membrane 6 together, so that due to the pressure increase in the spray arm 1, the membrane 6 after 1 b, and thus in particular the slider 5 from the opening of the Pull the spray nozzle 3 away.
- the membrane pushes 6 the slider 5 back to the opening of the spray nozzle 3, as shown in the figure 1a is.
- Another embodiment of the opening or self-closing due to the changing pressure is shown in the figure 2a, 2b, wherein in the region of the nozzle opening.
- FIGS. 3a and 3b show another embodiment, which corresponds in the operation of the embodiment of Figure 1 a, 1 b, wherein in this Embodiment, the spring element comprises a return spring 9, with a displaceable mounted closure element 10 cooperates, which also has the opening cross-section the nozzle 3 either releases or closes, as in the synopsis of Figure 1 to recognize.
- the movement of the Closure element 10 not directly by the prevailing in the spray arm 1 water pressure, but on the dependent on the rotational speed of the spray arm 1 Centrifugal force. As the speed of the spray arm 1 but also directly from the pump pressure is dependent on an activation of the nozzle 3 by influencing the Pump pressure done.
- FIG. 6a and 6b Another variant of the invention is the figure 6a and 6b, wherein a return spring 29th with a freely slidably mounted end portion 11 of the spray arm 1 cooperates. It It goes without saying that if, due to the increasing centrifugal force, the Return spring 29 is stretched and the end portion 11 then against the force of Return spring 29 moves, so that the spray arm 1, shown in Figure 6a, extended is detected and in this way the spray arm 1 an extended area in the washing.
- FIGS. 7, 8, 9 and 10 show in particular further embodiments of the invention, it is the characteristic of these embodiments that not shown here Return springs with pivotally mounted additional spray arms 12 on the main spray arm 1 work together.
- the figure 7a and 7b on the portions of the main spray 1 in each case a Hilfssprüharm 12.1 and 12.2, because of the inner added weight 16 pivots due to increased rotational speed, shown in Figure 7b and 8a, and at low pump pressure and associated reduction in the Sprüharm beau is pivoted in an inactive position, as shown in Figure 7b is shown.
- FIG. 8a illustrates that both in the spray arm 1 and in the Hilfssprüharmen 12.1 and 12.2 each have an opening cross section 14 and 15 in the form a quarter circle is arranged.
- FIGS 9 and 10 show further embodiments according to the figure 7a, 7b, wherein here freely mounted Hilfssprüharme 12 are arranged, which individually or in angular position to each other are arranged pivotably on the main spray 1. These Hilfsssprüharme 12 act against the force of a spring, wherein the supply is also dependent on the pump pressure.
- the pump pressure such to adjust that the generated force is just able to the activatable nozzles 3 to to open.
- the volume flow decreases through the Nozzles 3 and 13 and thus the pressure of the liquid, whereby the nozzles 3 closed again become.
- the pressure is increased again, which in turn Opening the nozzles 3 leads.
Landscapes
- Washing And Drying Of Tableware (AREA)
- Detergent Compositions (AREA)
- Food-Manufacturing Devices (AREA)
Abstract
Description
Auch ist es denkbar, dass die Rückstellfeder mit schwenkbar gelagerten zusätzlichen Sprüharmen am Hauptsprüharm zusammenwirkt, wobei die Rückstellfeder den zusätzlichen Sprüharm bei einer bestimmen Drehzahl wieder in seine Ausgangslage zurück verschwenkt. Wird die Drehzahl durch Druckerhöhung des Sprüharmes erhöht, schwenken die entsprechenden zusätzlichen Sprüharme aus und überstreichen somit zusätzliche Bereiche im Sprühraum.
- Figur 1a, 1 b
- ein elastisches Formteil in Zusammenwirkung mit einer Düsenöffnung;
- Figur 2a, 2b
- eine andere Ausführungsform gemäß der Figur 1;
- Figur 3a, 3b
- zeigt ein verschiebbares Verschlusselement mit Rückstellfeder;
- Figur 4a, 4b
- zeigt einen verschiebbaren Schlitten an einem Sprüharm;
- Figur 5a, 5b
- zeigt eine weitere Ansicht in Seitenansicht der Ausführungsform gemäß der Figur 4a, 4b;
- Figur 6a, 6b
- zeigt einen verschiebbaren Endbereich eines Sprüharmes unter Einwirkung einer Rückstellfeder;
- Figur 7a, 7b
- zeigt einen Sprüharm mit zusätzlichen Hilfssprüharmen, die ebenfalls in Wirkverbindung mit einer Rückstellfeder verschwenkbar am Hauptsprüharm gelagert sind;
- Figur 8a, 8b
- zeigt eine geschnittene Darstellung gemäß der Figur 7a, 7b, wobei einmal die eingeschwenkte und einmal die aufgeschwenkte Situation des Hilfssprüharmes in der geschnittenen Ansicht dargestellt ist;
- Figuren 9, 10
- zeigen eine weitere Ausführungsform eines Hauptsprüharmes mit Hilfssprüharmen, die ebenfalls mit Rückstellfedern zusammenwirken.
Claims (10)
- Geschirrspülmaschine mit einem Spülbehälter, in dem wenigstens ein Sprüharm angeordnet ist, der in dem Spülbehälter um eine wenigstens annähernd vertikale Achse rotierend gelagert ist, wobei der Sprüharm mit Sprühdüsen bestückt ist, die über eine Umwälzpumpe mit Spülflüssigkeit gespeist werden,
dadurch gekennzeichnet, dass im Bereich des Sprüharmes (1) elastische Mittel (4) vorgesehen sind, die infolge des veränderbaren Pumpendrucks unterschiedliche Stellungen zur Aktivierung bzw. Deaktivierung von an dem Sprüharm (1) angeordneten Sprühdüsen (3) einnehmen. - Geschirrspülmaschine nach Anspruch 1,
dadurch gekennzeichnet, dass die elastischen Mittel (4) zur Ansteuerung von zusätzlich am Sprüharm (1) vorgesehenen Sprühdüsen (3) und/oder Sprüharmbereichen (8, 10, 12) vorgesehen sind. - Geschirrspülmaschine nach Anspruch 2,
dadurch gekennzeichnet, dass die elastischen Mittel (4) als Federelemente (9; 19; 29) ausgebildet sind, die entweder eine unmittelbare Schließung oder Öffnung der Düsenöffnung bewirken, oder dass sie in Wirkverbindung mit verschwenkbaren oder verschiebbaren Armbereichen (12) stehen, zur Aktivierung bzw. Deaktivierung dieser Armbereiche (12), respektive der in ihnen angeordneten Sprühdüsen (3). - Geschirrspülmaschine nach Anspruch 3,
dadurch gekennzeichnet, dass das Federelement als ein elastisches Formteil vorzugsweise Membran (6) ausgebildet ist, welches infolge der Druckerhöhung den Öffnungsquerschnitt der Düse (3) freigibt. - Geschirrspülmaschine nach Anspruch 3 und 4,
dadurch gekennzeichnet, dass das elastische Formteil aus einem lippenartigen Ringelement (7) besteht. - Geschirrspülmaschine nach Anspruch 3 bis 5,
dadurch gekennzeichnet, dass das Federelement eine Rückstellfeder (9) umfasst, die mit einem verschiebbar gelagerten Verschlusselement (10) zusammenwirkt, welches den Öffnungsquerschnitt der Düse (3) abdeckt. - Geschirrspülmaschine nach Anspruch 3 bis 6,
dadurch gekennzeichnet, dass eine Rückstellfeder (19) mit einem am Sprüharm (1) angeordneten verschiebbar gelagerten Schlitten (8) zusammenwirkt, der mehrere Düsen (3) abdeckt. - Geschirrspülmaschine nach Anspruch 3 bis 7,
dadurch gekennzeichnet, dass eine Rückstellfeder (29) mit einem freien, verschiebbar gelagerten Endbereich (11) des Sprüharms (1) zusammenwirkt. - Geschirrspülmaschine nach Anspruch 3,
dadurch gekennzeichnet, dass Rückstellfedern mit schwenkbar gelagerten zusätzlichen Sprüharmen (12) am Hauptsprüharm (1) zusammenwirken. - Verfahren zum Betreiben einer Geschirrspülmaschine nach mindestens einem der Ansprüche 1 bis 9,
dadurch gekennzeichnet, dass der Druck der Umwälzpumpe derart an den Öffnungsquerschnitt aller in den Sprüharmen angeordneten Sprühdüsen eingepasst ist, dass ein oszillierendes Öffnen und Schließen der aktivierbaren Sprühdüsen (3) erfolgt.
Priority Applications (1)
| Application Number | Priority Date | Filing Date | Title |
|---|---|---|---|
| PL05006974T PL1586264T3 (pl) | 2004-04-15 | 2005-03-31 | Zmywarka do naczyń z pojemnikiem płukania, w którym umieszczone jest co najmniej jedno ramię natryskowe |
Applications Claiming Priority (2)
| Application Number | Priority Date | Filing Date | Title |
|---|---|---|---|
| DE102004018878A DE102004018878B4 (de) | 2004-04-15 | 2004-04-15 | Geschirrspülmaschine mit einem Spülbehälter in dem wenigstens ein Sprüharm angeordnet ist |
| DE102004018878 | 2004-04-15 |
Publications (3)
| Publication Number | Publication Date |
|---|---|
| EP1586264A2 true EP1586264A2 (de) | 2005-10-19 |
| EP1586264A3 EP1586264A3 (de) | 2008-07-23 |
| EP1586264B1 EP1586264B1 (de) | 2009-03-18 |
Family
ID=34934604
Family Applications (1)
| Application Number | Title | Priority Date | Filing Date |
|---|---|---|---|
| EP05006974A Expired - Lifetime EP1586264B1 (de) | 2004-04-15 | 2005-03-31 | Geschirrspülmaschine mit einem Spülbehälter in dem wenigstens ein Sprüharm angeordnet ist |
Country Status (4)
| Country | Link |
|---|---|
| EP (1) | EP1586264B1 (de) |
| AT (1) | ATE425695T1 (de) |
| DE (2) | DE102004018878B4 (de) |
| PL (1) | PL1586264T3 (de) |
Cited By (9)
| Publication number | Priority date | Publication date | Assignee | Title |
|---|---|---|---|---|
| WO2011154471A1 (en) * | 2010-06-10 | 2011-12-15 | Aktiebolaget Electrolux | A dishwasher |
| EP2454983A1 (de) * | 2010-11-15 | 2012-05-23 | Electrolux Home Products Corporation N.V. | Geschirrspüler umfassend mit Temperatur veränderbaren Sprühdüsen |
| WO2015018671A1 (en) * | 2013-08-06 | 2015-02-12 | Arcelik Anonim Sirketi | A dishwasher with improved washing effectiveness |
| EP2891446A1 (de) * | 2014-01-02 | 2015-07-08 | Miele & Cie. KG | Geschirrspülautomat |
| WO2015149859A1 (en) * | 2014-04-03 | 2015-10-08 | Electrolux Appliances Aktiebolag | Wash arm arrangement |
| WO2018103952A1 (en) * | 2016-12-07 | 2018-06-14 | Arcelik Anonim Sirketi | A dishwasher |
| US10058229B2 (en) * | 2011-09-22 | 2018-08-28 | Whirlpool Corporation | Dishwasher with sprayer |
| US10213085B2 (en) | 2013-07-01 | 2019-02-26 | Whirlpool Corporation | Dishwasher for treating dishes |
| CN111616657A (zh) * | 2020-06-17 | 2020-09-04 | 珠海格力电器股份有限公司 | 喷臂、洗碗机和洗碗机控制方法 |
Families Citing this family (7)
| Publication number | Priority date | Publication date | Assignee | Title |
|---|---|---|---|---|
| DE102005013127B4 (de) * | 2004-11-12 | 2007-08-23 | Aweco Appliance Systems Gmbh & Co. Kg | Sprühvorrichtung zum Versprühen einer Betriebsflüssigkeit |
| DE102010032006A1 (de) | 2010-07-22 | 2012-01-26 | Michael Heidan | Spülmaschine mit Schwenksprüharm |
| DE102010032005A1 (de) | 2010-07-22 | 2012-01-26 | Michael Heidan | Sprühvorrichtung |
| DE102012103445B4 (de) | 2012-04-19 | 2018-10-31 | Miele & Cie. Kg | Spülmaschine, insbesondere Gewerbespülmaschine |
| US9962063B2 (en) | 2014-03-13 | 2018-05-08 | Whirlpool Corporation | Dishwasher rack spray assembly |
| DE102018201218A1 (de) * | 2018-01-26 | 2019-08-01 | Meiko Maschinenbau Gmbh & Co. Kg | Waschsystem zum reinigen von reinigungsgut |
| DE102019212952B4 (de) * | 2019-08-28 | 2023-05-11 | Blanco Gmbh + Co Kg | Reinigungsvorrichtung und Verfahren zum Betrieb einer Reinigungsvorrichtung |
Family Cites Families (8)
| Publication number | Priority date | Publication date | Assignee | Title |
|---|---|---|---|---|
| US1997450A (en) * | 1933-03-17 | 1935-04-09 | Richard Merrifield | Spray projector for automatic dish washing and drying machine |
| US5944037A (en) * | 1996-10-16 | 1999-08-31 | Samsung Electronics Co., Ltd. | Water spray apparatus for tableware washing machine |
| IT1289398B1 (it) * | 1996-11-06 | 1998-10-02 | Electrolux Zanussi Elettrodome | Lavastoviglie con mezzi di spruzzatura perfezionati |
| JP3651240B2 (ja) * | 1998-03-18 | 2005-05-25 | 松下電器産業株式会社 | 食器洗浄機 |
| DE19832982C2 (de) * | 1998-07-22 | 2000-08-03 | Premark Feg Llc | Spülvorrichtung für eine Geschirrspülmaschine |
| IT1311215B1 (it) * | 1999-03-29 | 2002-03-04 | Electrolux Zanussi Elettrodome | Lavastoviglie con mezzi di spruzzatura perfezionati |
| IT1311214B1 (it) * | 1999-03-29 | 2002-03-04 | Electrolux Zanussi Elettrodome | Lavastoviglie con getti d'acqua pulsanti |
| DE10134917B4 (de) * | 2001-07-18 | 2006-03-16 | AEG Hausgeräte GmbH | Geschirrspülmaschine mit veränderbarer Flüssigkeitsverteilung |
-
2004
- 2004-04-15 DE DE102004018878A patent/DE102004018878B4/de not_active Expired - Fee Related
-
2005
- 2005-03-31 EP EP05006974A patent/EP1586264B1/de not_active Expired - Lifetime
- 2005-03-31 DE DE502005006856T patent/DE502005006856D1/de not_active Expired - Lifetime
- 2005-03-31 PL PL05006974T patent/PL1586264T3/pl unknown
- 2005-03-31 AT AT05006974T patent/ATE425695T1/de not_active IP Right Cessation
Cited By (19)
| Publication number | Priority date | Publication date | Assignee | Title |
|---|---|---|---|---|
| WO2011154471A1 (en) * | 2010-06-10 | 2011-12-15 | Aktiebolaget Electrolux | A dishwasher |
| CN103249345B (zh) * | 2010-11-15 | 2018-06-19 | 伊莱克斯家用产品公司 | 带有可调节喷嘴的洗碗机 |
| CN103249345A (zh) * | 2010-11-15 | 2013-08-14 | 伊莱克斯家用产品公司 | 带有可调节喷嘴的洗碗机 |
| AU2011331382B2 (en) * | 2010-11-15 | 2016-09-08 | Electrolux Home Products Corporation N.V. | Dishwasher with adjustable nozzle |
| RU2571188C2 (ru) * | 2010-11-15 | 2015-12-20 | Электролюкс Хоум Продактс Корпорейшн Н.В. | Посудомоечная машина |
| US9420938B2 (en) | 2010-11-15 | 2016-08-23 | Electrolux Home Products Corporation N.V. | Dishwasher with spray device having an adjustable nozzle |
| WO2012065873A3 (en) * | 2010-11-15 | 2012-07-12 | Electrolux Home Products Corporation N.V. | Dishwasher with adjustable nozzle |
| EP2454983A1 (de) * | 2010-11-15 | 2012-05-23 | Electrolux Home Products Corporation N.V. | Geschirrspüler umfassend mit Temperatur veränderbaren Sprühdüsen |
| US10602907B2 (en) | 2011-09-22 | 2020-03-31 | Whirlpool Corporation | Dishwasher with sprayer |
| US10058229B2 (en) * | 2011-09-22 | 2018-08-28 | Whirlpool Corporation | Dishwasher with sprayer |
| US10213085B2 (en) | 2013-07-01 | 2019-02-26 | Whirlpool Corporation | Dishwasher for treating dishes |
| AU2014304747B2 (en) * | 2013-08-06 | 2016-11-03 | Arcelik Anonim Sirketi | A dishwasher with improved washing effectiveness |
| US10610079B2 (en) | 2013-08-06 | 2020-04-07 | Arcelik Anonim Sirketi | Dishwasher having multiple spray arms for improved washing effectiveness |
| WO2015018671A1 (en) * | 2013-08-06 | 2015-02-12 | Arcelik Anonim Sirketi | A dishwasher with improved washing effectiveness |
| EP2891446A1 (de) * | 2014-01-02 | 2015-07-08 | Miele & Cie. KG | Geschirrspülautomat |
| WO2015149859A1 (en) * | 2014-04-03 | 2015-10-08 | Electrolux Appliances Aktiebolag | Wash arm arrangement |
| WO2018103952A1 (en) * | 2016-12-07 | 2018-06-14 | Arcelik Anonim Sirketi | A dishwasher |
| CN111616657A (zh) * | 2020-06-17 | 2020-09-04 | 珠海格力电器股份有限公司 | 喷臂、洗碗机和洗碗机控制方法 |
| CN111616657B (zh) * | 2020-06-17 | 2025-07-29 | 珠海格力电器股份有限公司 | 喷臂、洗碗机和洗碗机控制方法 |
Also Published As
| Publication number | Publication date |
|---|---|
| EP1586264A3 (de) | 2008-07-23 |
| PL1586264T3 (pl) | 2009-06-30 |
| ATE425695T1 (de) | 2009-04-15 |
| DE102004018878B4 (de) | 2006-01-05 |
| DE102004018878A1 (de) | 2005-11-10 |
| DE502005006856D1 (de) | 2009-04-30 |
| EP1586264B1 (de) | 2009-03-18 |
Similar Documents
| Publication | Publication Date | Title |
|---|---|---|
| EP1586264A2 (de) | Geschirrspülmaschine mit einem Spülbehälter in dem wenigstens ein Sprüharm angeordnet ist | |
| EP2192852B1 (de) | Geschirrspüler | |
| EP2891446B1 (de) | Geschirrspülautomat | |
| DE60013345T2 (de) | Geschirrspülmaschine mit pulsierenden Wasserstrahlen | |
| DE2621307C2 (de) | Verfahren zum Reinigen eines mit Überdruck angeströmten Flüssigkeitsfilters und Vorrichtung zur Durchführung des Verfahrens | |
| EP0223879B1 (de) | Handgerät zum Reinigen verstopfter Abflüsse | |
| DE60028277T2 (de) | Geschirrspülmaschine mit Sprüharmen | |
| EP2601877B1 (de) | Geschirrspülmaschine mit automatischer Drehrichtungsumkehr des Sprüharms | |
| EP0018527A2 (de) | Rückspülbare Filtereinrichtung, insbesondere für eine Hauswasseranlage | |
| DE102007057336A1 (de) | Wasserführendes Haushaltsgerät mit einer Wasserweiche | |
| DE102007056922A1 (de) | Wasserführendes Hausgerät mit einer Wasserweiche | |
| EP3085293A1 (de) | Sprüharmanordnung und geschirrspülmaschine | |
| EP2601878B1 (de) | Geschirrspülmaschine mit automatischer Drehrichtungsumkehr des Sprüharms | |
| DE102020115594A1 (de) | Zusammengesetztes Wasserauslassgerät mit einer Wassereinlass- und Wasserstoppsteuerung und einer Wasserauslassumschaltung und Klosett | |
| DE1675528C3 (de) | Umschalter für einen Wasserhahn an Badewannen | |
| DE4132350A1 (de) | Sanitaere vorrichtung | |
| DE69721161T2 (de) | Geschirrspülmaschine mit verbessertem Hydraulikkreislauf | |
| DE3428439C2 (de) | ||
| DE60108000T2 (de) | Entleerungsvorrichtung für Waschmaschine | |
| DE69912183T2 (de) | Wasserniveausteuerungsgerät für eine Geschirrspülmaschine | |
| EP4386128B1 (de) | Wasserführendes haushaltsgerät | |
| DE68907505T2 (de) | Hydraulische Pumpe, insbesondere für Geschirrspülmaschinen und dergleichen. | |
| DE7902909U1 (de) | Geraet zur reinigung und spuelung von allgemein in rohren stehenden stoffen | |
| EP1382287A2 (de) | Sprühvorrichtung für einen Geschirrspülautomaten | |
| DE202016101341U1 (de) | Versenkregner |
Legal Events
| Date | Code | Title | Description |
|---|---|---|---|
| PUAI | Public reference made under article 153(3) epc to a published international application that has entered the european phase |
Free format text: ORIGINAL CODE: 0009012 |
|
| AK | Designated contracting states |
Kind code of ref document: A2 Designated state(s): AT BE BG CH CY CZ DE DK EE ES FI FR GB GR HU IE IS IT LI LT LU MC NL PL PT RO SE SI SK TR |
|
| AX | Request for extension of the european patent |
Extension state: AL BA HR LV MK YU |
|
| PUAL | Search report despatched |
Free format text: ORIGINAL CODE: 0009013 |
|
| AK | Designated contracting states |
Kind code of ref document: A3 Designated state(s): AT BE BG CH CY CZ DE DK EE ES FI FR GB GR HU IE IS IT LI LT LU MC NL PL PT RO SE SI SK TR |
|
| AX | Request for extension of the european patent |
Extension state: AL BA HR LV MK YU |
|
| 17P | Request for examination filed |
Effective date: 20080802 |
|
| GRAP | Despatch of communication of intention to grant a patent |
Free format text: ORIGINAL CODE: EPIDOSNIGR1 |
|
| GRAP | Despatch of communication of intention to grant a patent |
Free format text: ORIGINAL CODE: EPIDOSNIGR1 |
|
| GRAS | Grant fee paid |
Free format text: ORIGINAL CODE: EPIDOSNIGR3 |
|
| GRAA | (expected) grant |
Free format text: ORIGINAL CODE: 0009210 |
|
| AK | Designated contracting states |
Kind code of ref document: B1 Designated state(s): AT BE BG CH CY CZ DE DK EE ES FI FR GB GR HU IE IS IT LI LT LU MC NL PL PT RO SE SI SK TR |
|
| REG | Reference to a national code |
Ref country code: GB Ref legal event code: FG4D Free format text: NOT ENGLISH |
|
| REG | Reference to a national code |
Ref country code: CH Ref legal event code: EP |
|
| AKX | Designation fees paid |
Designated state(s): AT BE BG CH CY CZ DE DK EE ES FI FR GB GR HU IE IS IT LI LT LU MC NL PL PT RO SE SI SK TR |
|
| REG | Reference to a national code |
Ref country code: IE Ref legal event code: FG4D Free format text: LANGUAGE OF EP DOCUMENT: GERMAN |
|
| REF | Corresponds to: |
Ref document number: 502005006856 Country of ref document: DE Date of ref document: 20090430 Kind code of ref document: P |
|
| REG | Reference to a national code |
Ref country code: PL Ref legal event code: T3 |
|
| PG25 | Lapsed in a contracting state [announced via postgrant information from national office to epo] |
Ref country code: SI Free format text: LAPSE BECAUSE OF FAILURE TO SUBMIT A TRANSLATION OF THE DESCRIPTION OR TO PAY THE FEE WITHIN THE PRESCRIBED TIME-LIMIT Effective date: 20090318 Ref country code: FI Free format text: LAPSE BECAUSE OF FAILURE TO SUBMIT A TRANSLATION OF THE DESCRIPTION OR TO PAY THE FEE WITHIN THE PRESCRIBED TIME-LIMIT Effective date: 20090318 Ref country code: NL Free format text: LAPSE BECAUSE OF FAILURE TO SUBMIT A TRANSLATION OF THE DESCRIPTION OR TO PAY THE FEE WITHIN THE PRESCRIBED TIME-LIMIT Effective date: 20090318 Ref country code: LT Free format text: LAPSE BECAUSE OF FAILURE TO SUBMIT A TRANSLATION OF THE DESCRIPTION OR TO PAY THE FEE WITHIN THE PRESCRIBED TIME-LIMIT Effective date: 20090318 |
|
| PG25 | Lapsed in a contracting state [announced via postgrant information from national office to epo] |
Ref country code: SE Free format text: LAPSE BECAUSE OF FAILURE TO SUBMIT A TRANSLATION OF THE DESCRIPTION OR TO PAY THE FEE WITHIN THE PRESCRIBED TIME-LIMIT Effective date: 20090618 |
|
| NLV1 | Nl: lapsed or annulled due to failure to fulfill the requirements of art. 29p and 29m of the patents act | ||
| BERE | Be: lapsed |
Owner name: MIELE & CIE. K.G. Effective date: 20090331 |
|
| REG | Reference to a national code |
Ref country code: IE Ref legal event code: FD4D |
|
| PG25 | Lapsed in a contracting state [announced via postgrant information from national office to epo] |
Ref country code: PT Free format text: LAPSE BECAUSE OF FAILURE TO SUBMIT A TRANSLATION OF THE DESCRIPTION OR TO PAY THE FEE WITHIN THE PRESCRIBED TIME-LIMIT Effective date: 20090826 Ref country code: IE Free format text: LAPSE BECAUSE OF FAILURE TO SUBMIT A TRANSLATION OF THE DESCRIPTION OR TO PAY THE FEE WITHIN THE PRESCRIBED TIME-LIMIT Effective date: 20090318 Ref country code: EE Free format text: LAPSE BECAUSE OF FAILURE TO SUBMIT A TRANSLATION OF THE DESCRIPTION OR TO PAY THE FEE WITHIN THE PRESCRIBED TIME-LIMIT Effective date: 20090318 Ref country code: MC Free format text: LAPSE BECAUSE OF NON-PAYMENT OF DUE FEES Effective date: 20090331 Ref country code: CZ Free format text: LAPSE BECAUSE OF FAILURE TO SUBMIT A TRANSLATION OF THE DESCRIPTION OR TO PAY THE FEE WITHIN THE PRESCRIBED TIME-LIMIT Effective date: 20090318 Ref country code: ES Free format text: LAPSE BECAUSE OF FAILURE TO SUBMIT A TRANSLATION OF THE DESCRIPTION OR TO PAY THE FEE WITHIN THE PRESCRIBED TIME-LIMIT Effective date: 20090629 |
|
| REG | Reference to a national code |
Ref country code: CH Ref legal event code: PL |
|
| PG25 | Lapsed in a contracting state [announced via postgrant information from national office to epo] |
Ref country code: RO Free format text: LAPSE BECAUSE OF FAILURE TO SUBMIT A TRANSLATION OF THE DESCRIPTION OR TO PAY THE FEE WITHIN THE PRESCRIBED TIME-LIMIT Effective date: 20090318 Ref country code: IS Free format text: LAPSE BECAUSE OF FAILURE TO SUBMIT A TRANSLATION OF THE DESCRIPTION OR TO PAY THE FEE WITHIN THE PRESCRIBED TIME-LIMIT Effective date: 20090718 Ref country code: SK Free format text: LAPSE BECAUSE OF FAILURE TO SUBMIT A TRANSLATION OF THE DESCRIPTION OR TO PAY THE FEE WITHIN THE PRESCRIBED TIME-LIMIT Effective date: 20090318 |
|
| PLBE | No opposition filed within time limit |
Free format text: ORIGINAL CODE: 0009261 |
|
| STAA | Information on the status of an ep patent application or granted ep patent |
Free format text: STATUS: NO OPPOSITION FILED WITHIN TIME LIMIT |
|
| PG25 | Lapsed in a contracting state [announced via postgrant information from national office to epo] |
Ref country code: BG Free format text: LAPSE BECAUSE OF FAILURE TO SUBMIT A TRANSLATION OF THE DESCRIPTION OR TO PAY THE FEE WITHIN THE PRESCRIBED TIME-LIMIT Effective date: 20090618 Ref country code: LI Free format text: LAPSE BECAUSE OF NON-PAYMENT OF DUE FEES Effective date: 20090331 Ref country code: DK Free format text: LAPSE BECAUSE OF FAILURE TO SUBMIT A TRANSLATION OF THE DESCRIPTION OR TO PAY THE FEE WITHIN THE PRESCRIBED TIME-LIMIT Effective date: 20090318 Ref country code: CH Free format text: LAPSE BECAUSE OF NON-PAYMENT OF DUE FEES Effective date: 20090331 |
|
| 26N | No opposition filed |
Effective date: 20091221 |
|
| GBPC | Gb: european patent ceased through non-payment of renewal fee |
Effective date: 20090618 |
|
| PG25 | Lapsed in a contracting state [announced via postgrant information from national office to epo] |
Ref country code: BE Free format text: LAPSE BECAUSE OF NON-PAYMENT OF DUE FEES Effective date: 20090331 |
|
| PG25 | Lapsed in a contracting state [announced via postgrant information from national office to epo] |
Ref country code: GB Free format text: LAPSE BECAUSE OF NON-PAYMENT OF DUE FEES Effective date: 20090618 |
|
| PG25 | Lapsed in a contracting state [announced via postgrant information from national office to epo] |
Ref country code: AT Free format text: LAPSE BECAUSE OF NON-PAYMENT OF DUE FEES Effective date: 20090331 |
|
| PG25 | Lapsed in a contracting state [announced via postgrant information from national office to epo] |
Ref country code: GR Free format text: LAPSE BECAUSE OF FAILURE TO SUBMIT A TRANSLATION OF THE DESCRIPTION OR TO PAY THE FEE WITHIN THE PRESCRIBED TIME-LIMIT Effective date: 20090619 |
|
| PG25 | Lapsed in a contracting state [announced via postgrant information from national office to epo] |
Ref country code: LU Free format text: LAPSE BECAUSE OF NON-PAYMENT OF DUE FEES Effective date: 20090331 |
|
| PG25 | Lapsed in a contracting state [announced via postgrant information from national office to epo] |
Ref country code: HU Free format text: LAPSE BECAUSE OF FAILURE TO SUBMIT A TRANSLATION OF THE DESCRIPTION OR TO PAY THE FEE WITHIN THE PRESCRIBED TIME-LIMIT Effective date: 20090919 |
|
| REG | Reference to a national code |
Ref country code: PL Ref legal event code: LICE Effective date: 20101122 |
|
| PG25 | Lapsed in a contracting state [announced via postgrant information from national office to epo] |
Ref country code: CY Free format text: LAPSE BECAUSE OF FAILURE TO SUBMIT A TRANSLATION OF THE DESCRIPTION OR TO PAY THE FEE WITHIN THE PRESCRIBED TIME-LIMIT Effective date: 20090318 |
|
| REG | Reference to a national code |
Ref country code: FR Ref legal event code: PLFP Year of fee payment: 12 |
|
| REG | Reference to a national code |
Ref country code: FR Ref legal event code: PLFP Year of fee payment: 13 |
|
| REG | Reference to a national code |
Ref country code: FR Ref legal event code: PLFP Year of fee payment: 14 |
|
| PGFP | Annual fee paid to national office [announced via postgrant information from national office to epo] |
Ref country code: TR Payment date: 20180329 Year of fee payment: 14 Ref country code: FR Payment date: 20180329 Year of fee payment: 14 |
|
| PGFP | Annual fee paid to national office [announced via postgrant information from national office to epo] |
Ref country code: DE Payment date: 20180331 Year of fee payment: 14 |
|
| PGFP | Annual fee paid to national office [announced via postgrant information from national office to epo] |
Ref country code: IT Payment date: 20180323 Year of fee payment: 14 |
|
| PGFP | Annual fee paid to national office [announced via postgrant information from national office to epo] |
Ref country code: PL Payment date: 20190125 Year of fee payment: 15 |
|
| REG | Reference to a national code |
Ref country code: DE Ref legal event code: R119 Ref document number: 502005006856 Country of ref document: DE |
|
| PG25 | Lapsed in a contracting state [announced via postgrant information from national office to epo] |
Ref country code: DE Free format text: LAPSE BECAUSE OF NON-PAYMENT OF DUE FEES Effective date: 20191001 |
|
| PG25 | Lapsed in a contracting state [announced via postgrant information from national office to epo] |
Ref country code: IT Free format text: LAPSE BECAUSE OF NON-PAYMENT OF DUE FEES Effective date: 20190331 Ref country code: FR Free format text: LAPSE BECAUSE OF NON-PAYMENT OF DUE FEES Effective date: 20190331 |
|
| PG25 | Lapsed in a contracting state [announced via postgrant information from national office to epo] |
Ref country code: TR Free format text: LAPSE BECAUSE OF NON-PAYMENT OF DUE FEES Effective date: 20190331 |
|
| PG25 | Lapsed in a contracting state [announced via postgrant information from national office to epo] |
Ref country code: PL Free format text: LAPSE BECAUSE OF NON-PAYMENT OF DUE FEES Effective date: 20200331 |
