EP1564336B1 - Thermisch isolierendes Bauelement - Google Patents
Thermisch isolierendes Bauelement Download PDFInfo
- Publication number
- EP1564336B1 EP1564336B1 EP04002982A EP04002982A EP1564336B1 EP 1564336 B1 EP1564336 B1 EP 1564336B1 EP 04002982 A EP04002982 A EP 04002982A EP 04002982 A EP04002982 A EP 04002982A EP 1564336 B1 EP1564336 B1 EP 1564336B1
- Authority
- EP
- European Patent Office
- Prior art keywords
- construction element
- element according
- bearing
- insulating body
- encasing
- Prior art date
- Legal status (The legal status is an assumption and is not a legal conclusion. Google has not performed a legal analysis and makes no representation as to the accuracy of the status listed.)
- Expired - Lifetime
Links
- 238000010276 construction Methods 0.000 title claims abstract 20
- 239000000463 material Substances 0.000 claims abstract description 18
- 239000004033 plastic Substances 0.000 claims abstract description 8
- 229920003023 plastic Polymers 0.000 claims abstract description 8
- 229910001220 stainless steel Inorganic materials 0.000 claims abstract description 7
- 239000010935 stainless steel Substances 0.000 claims abstract description 7
- 230000003014 reinforcing effect Effects 0.000 claims abstract description 6
- 229910052500 inorganic mineral Inorganic materials 0.000 claims abstract description 3
- 239000011707 mineral Substances 0.000 claims abstract description 3
- 230000007704 transition Effects 0.000 claims description 4
- 239000002131 composite material Substances 0.000 claims description 2
- 239000011518 fibre cement Substances 0.000 claims 1
- 238000005266 casting Methods 0.000 abstract 1
- 238000010008 shearing Methods 0.000 abstract 1
- 230000002787 reinforcement Effects 0.000 description 6
- 239000004568 cement Substances 0.000 description 2
- 230000002349 favourable effect Effects 0.000 description 2
- 239000000835 fiber Substances 0.000 description 2
- 239000012212 insulator Substances 0.000 description 2
- 238000004519 manufacturing process Methods 0.000 description 2
- 230000002093 peripheral effect Effects 0.000 description 2
- 229910000831 Steel Inorganic materials 0.000 description 1
- 238000009415 formwork Methods 0.000 description 1
- 238000003780 insertion Methods 0.000 description 1
- 230000037431 insertion Effects 0.000 description 1
- 238000009434 installation Methods 0.000 description 1
- 238000009413 insulation Methods 0.000 description 1
- 238000000034 method Methods 0.000 description 1
- 239000010959 steel Substances 0.000 description 1
Images
Classifications
-
- E—FIXED CONSTRUCTIONS
- E04—BUILDING
- E04B—GENERAL BUILDING CONSTRUCTIONS; WALLS, e.g. PARTITIONS; ROOFS; FLOORS; CEILINGS; INSULATION OR OTHER PROTECTION OF BUILDINGS
- E04B1/00—Constructions in general; Structures which are not restricted either to walls, e.g. partitions, or floors or ceilings or roofs
- E04B1/003—Balconies; Decks
- E04B1/0038—Anchoring devices specially adapted therefor with means for preventing cold bridging
Definitions
- a thermally insulating component is described, which is intended for use in joints between load-bearing structural parts such as between a building ceiling and a balcony floor plate.
- This insulating component comprises an insulating body and reinforcing members, wherein the component is dimensioned for receiving tensile, compressive and shear forces.
- the insulating body based on the longitudinal direction, at intervals stainless steel bearings for receiving pressure and shear forces embedded, the stainless steel bearings having an upper portion and a lower portion. These regions have a greater extension in the transverse direction of the insulating body than an intermediate region lying therebetween.
- the stainless steel bearings are exposed on the longitudinal sides of the insulating so that between the upper region and lower region, a gap for receiving material of the building parts is formed.
- the inventive arrangement is given an extremely favorable temperature mobility between the building parts. Despite the simple design of the pressure and thrust bearings can shear force bars, which extend obliquely through the insulator omitted.
- the bearing for receiving pressure and shear forces consists of an enveloping body with a filling.
- the enveloping body is tubular, in particular, a shape is to be considered as a flat tube into consideration.
- the enveloping body can also consist of at least one shell. If only one shell is provided, then it is correspondingly deeply formed in order to create the necessary volume for the filling of the castable or sprayable curable material.
- the enveloping body consists of two shells, which are each provided separately with a filling and are joined with their respective open sides against each other.
- the shells have a shape which is formed in each case mirror images of the open sides. This results in the assembly of the respective halves not only a generally closed form of the envelope, but it also installation errors are avoided in the insulating body, since the upper edge and lower edge of the bearing are formed in the same way.
- Suitable materials for the enveloping body are both plastics and stainless steel into consideration.
- the enveloping body is preferably produced as a deep-drawn part and has a sheet thickness of about 0.5 mm.
- the enveloping body is expediently filled with a fiber cement, but alternatively, the enveloping body may also be filled with a plastic.
- a projection in the direction of the load-absorbing structural parts is formed on each end face of the bearing, that is, the projection extends transversely to Longitudinal direction of the insulating body.
- These projections are, based on the transverse to the longitudinal direction of the insulating body extending surface of the bearing, formed diametrically on this surface, so that there is a projection on the upper edge of the bearing and the other projection on the lower edge of the bearing. It is advantageous that the dimension of the bearing over its length minus the projections at least approximately corresponds to the width of the insulating body, so that the projections protrude beyond the width of the insulating body.
- the bearing may also have a length such that the narrow sides formed on the bearing protrude from the contour of the insulating body.
- the projections are formed from an extension of the upper edge and lower edge of the bearing and of an arcuate transition to the end face and have at the outer end a rounding. Particularly favorable properties with respect to the temperature mobility are achieved when the flat tube has rounded narrow sides.
- the bearing is provided with at least one opening extending in the longitudinal direction of the insulating opening, which serves to receive a positioning strip, a rod or the like.
- pressure and thrust bearings are arranged at regular intervals and preferably in each case below the tensile reinforcement, which, as is clear from Fig. 1, slightly protrude at the longitudinal sides of the lower layer 4, and thus, based on the longitudinal extent of the insulating body 2 when pouring the building parts into the concrete later.
- the shape and structure of the pressure and thrust bearing 6 will be explained later in more detail.
- FIGS. 3, 4 and 5 show different views of an enveloping body 10, which forms the shape for the thrust and thrust bearing 6 in FIG. 2.
- the enveloping body 10 is shown in the embodiment of FIGS. 3, 4 and 5 as a flat tube 12, the two parallel flat sides 13 and two narrow sides 14 includes, and whose height is limited by an upper edge 15 and a lower edge 16.
- projections 17 are formed, one at the upper edge 15 and one at the lower edge 16, these projections 17 being diametrically opposed.
- the projections 17 are thus formed by an extension of the upper edge 15 and lower edge 16 and in each case an arcuate transition 18 to the narrow side 14, wherein the outer end 19 of the projections 17 is rounded.
- the flat tube 12 has an extension of a length L1 relative to the narrow sides 14.
- This dimension L1 is preferably greater than the width B of the lower layer 4 shown in FIG. 2, so that it can already reach an engagement in the adjacent concrete elements. Based on the projections 17, the overall length L2 is even greater.
- FIGS. 6 and 7 the enveloping body 10 is shown in each case in perspective, which is formed from the flat tube 12. While the enveloping body 10 shown in Fig. 6 is still unfilled, Fig. 7 shows the filled with a filling 11 envelope body 10, wherein the material of the filling 11 is a pourable and / or sprayable curable material.
- This material can be essentially a dimensionally stable plastic of high strength, but there are also materials on a mineral basis into consideration such as fiber cement.
- One with Such a filling 11 provided enveloping body thus forms a bearing 6 for receiving pressure and shear forces.
- FIG. 8 shows an enveloping body 10, which is formed as a shell 22 of a bottom 23 and a peripheral side wall 24.
- FIG. 9, which shows a side view of this envelope body 10 formed by a shell 22, illustrates that the shell is open at the side 25 opposite the bottom 23. This open side 25 allows the filling of the shell 22 with a filling, as already described for Fig. 7. From Fig. 8 it is clear that the peripheral wall 24 is closed and also forms the contour with upper edge 15 and lower edge 16 and the projections 17 and arcuate transitions 18, as are the outer ends 19 are rounded.
- the shell 22 is preferably made as a deep-drawn part.
- FIG. 10 An alternative embodiment of a shell 21 is shown in Fig. 10, wherein the contour corresponds in plan view to that shown in Fig. 8. According to FIG. 10, only the shell 21 is of lesser depth, whereby the side walls 20 provided there are also rounded.
- a shell 21 For an enveloping body 10, preferably two such shells 21 are assembled into one unit, as shown in FIG. 11.
- two mirror-like shells 21 are each provided with the filling 11 and then joined together with the edges along its open side 25. This results in a pressure and thrust bearing 6, which also has a corresponding rounding in the region of the narrow sides 14 of the contour.
- FIG. 12 is a shell 26, which has the shape of a parallelogram in plan view.
- the bottom 27 is surrounded by a circumferential side wall 28, which is also closed, wherein the dimension L1 between two orthogonal lines S1, S2, which extend through the upper left and right lower corner, is formed, so that each laterally over this perpendicular Lines S1 and S2 protruding outlines of the parallelogram, the projections 17 form.
- a pressure and thrust bearing 6 which is suitable for use in an insulating body according to FIGS. 1 and 2.
Landscapes
- Engineering & Computer Science (AREA)
- Architecture (AREA)
- Physics & Mathematics (AREA)
- Electromagnetism (AREA)
- Civil Engineering (AREA)
- Structural Engineering (AREA)
- Building Environments (AREA)
- Cooling Or The Like Of Semiconductors Or Solid State Devices (AREA)
- Polymers With Sulfur, Phosphorus Or Metals In The Main Chain (AREA)
- Insulated Conductors (AREA)
- Sliding-Contact Bearings (AREA)
Description
- Die Erfindung betrifft ein thermisch isolierendes Bauelement zum Einsatz in Trennfugen zwischen lastaufnehmenden Bauwerksteilen der im Oberbegriff des Anspruchs 1 angegebenen Gattung.
- In der
DE 197 18 021 A1 ist ein thermisch isolierendes Bauelement beschrieben, das zum Einsatz in Trennfugen zwischen lastaufnehmenden Bauwerksteilen wie beispielsweise zwischen einer Gebäudedecke und einer Balkonbodenplatte vorgesehen ist. Dieses isolierende Bauelement umfaßt einen Isolierkörper und Bewehrungsglieder, wobei das Bauelement zur Aufnahme von Zug-, Druck- und Schubkräften dimensioniert ist. In dem Isolierkörper sind, bezogen auf dessen Längsrichtung, in Abständen Edelstahllager zur Aufnahme von Druck- und Schubkräften eingebettet, wobei die Edelstahllager einen oberen Bereich und einen unteren Bereich aufweisen. Diese Bereiche haben in Querrichtung des Isolierkörpers eine größere Erstreckung als ein dazwischen liegender mittlerer Bereich. Die Edelstahllager liegen an den Längsseiten des Isolierkörpers derart frei, daß zwischen oberem Bereich und unterem Bereich ein Zwischenraum zur Aufnahme von Material der Bauwerksteile gebildet ist. - In der
EP 0 831 183 A2 ist ein Bauelement zur Wärmedämmung zwischen zwei zu betonierenden Bauteilen beschrieben. Dieses Bauelement besteht aus einem zwischen dem zu betonierenden Bauteil zu verlegenden Isolierkörper mit integrierten Bewehrungselementen, die quer zur Längserstreckung des Isolierkörpers durch diesen hindurch verlaufen und jeweils an beide Bauteile angeschlossen sind. Zur Lagefixierung der Bewehrungselemente sind Einbaumodule vorgesehen, die jeweils einen Querkraftstab in seinem schrägen Verlauf im Bereich des Isolierkörpers umgreifen und festlegen. Diese Einbaumodule sind in Aussparungen des Isolierkörpers angeordnet und fixiert, wobei der Isolierkörper zum vertikalen Einsetzen der Einbaumodule geteilt ausgebildet ist, und zwar entlang einer die Aussparung durchquerenden Trennebene. - In der
EP 0 822 299 A1 , die als nächstliegender Stand der Technik angesehen wird, ist ein thermisch isolierendes Bauelement beschrieben, das alle Merkmale des Oberbegriffs des Anspruchs 1 einschließt - Der vorliegenden Erfindung liegt die Aufgabe zugrunde, ein thermisch isolierendes Bauelement der gattungsgemäßen Art zu schaffen, dessen Herstellung und Einsatz in die Schalung einfacher und kostengünstiger ist.
- Diese Aufgabe wird durch ein thermisch isolierendes Bauelement mit den Merkmalen des Anspruchs 1 gelöst.
- Durch die erfindungsgemäße Anordnung ist eine äußerst günstige Temperaturbeweglichkeit zwischen den Bauwerksteilen gegeben. Trotz der einfachen Gestaltung der Druck- und Schublager können Querkraftstäbe, die schräg durch den Isolierkörper verlaufen, entfallen.
- Gemäß einer bevorzugten Ausgestaltung besteht das Lager zur Aufnahme von Druck- und Schubkräften aus einem Hüllkörper mit einer Füllung. Vorzugsweise ist der Hüllkörper rohrförmig ausgebildet, wobei insbesondere eine Form als Flachrohr in Betracht zu ziehen ist. Gemäß einer alternativen Ausgestaltung kann der Hüllkörper auch aus mindestens einer Schale bestehen. Sofern lediglich eine Schale vorgesehen ist, so ist diese entsprechend tief ausgebildet, um das notwendige Volumen für die Füllung aus dem gieß- oder spritzfähigen aushärtbaren Material zu schaffen.
- Es kann auch zweckmäßig sein, daß der Hüllkörper aus zwei Schalen besteht, die jeweils separat mit einer Füllung versehen sind und mit ihren jeweils offenen Seiten gegeneinander gefügt sind. In diesem Fall ist es vorteilhaft, daß die Schalen eine Form aufweisen, die an den offenen Seiten jeweils spiegelbildlich ausgebildet ist. Dadurch ergibt sich beim Zusammensetzen der jeweiligen Hälften nicht nur eine allseits geschlossene Form des Hüllkörpers, sondern es werden auch Einbaufehler im Isolierkörper vermieden, da die Oberkante und Unterkante des Lagers in gleicher Weise ausgebildet sind.
- Als geeignete Materialien für den Hüllkörper kommen sowohl Kunststoffe als auch rostfreier Stahl in Betracht. Beim Einsatz von Stahlblech ist der Hüllkörper vorzugsweise als Tiefziehteil hergestellt und besitzt eine Blechdicke von ca. 0,5 mm. Der Hüllkörper ist zweckmäßigerweise mit einem Faserzement ausgegossen, alternativ hierzu kann jedoch der Hüllkörper auch mit einem Kunststoff gefüllt sein.
- In bevorzugter Ausgestaltung ist an jeder Stirnseite des Lagers ein Vorsprung in Richtung auf die lastaufnehmenden Bauwerksteile angeformt, d.h. der Vorsprung verläuft quer zur Längsrichtung des Isolierkörpers. Diese Vorsprünge sind, bezogen auf die sich quer zur Längsrichtung des Isolierkörpers erstreckenden Fläche des Lagers, diametral an dieser Fläche angeformt, so daß sich ein Vorsprung an der Oberkante des Lagers und der andere Vorsprung an der Unterkante des Lagers befinden. Es ist vorteilhaft, daß das Maß des Lagers über seine Länge abzüglich der Vorsprünge mindestens annähernd der Breite des Isolierkörpers entspricht, so daß die Vorsprünge über die Breite des Isolierkörpers hervorstehen. Das Lager kann jedoch auch eine solche Länge aufweisen, daß die am Lager gebildeten Schmalseiten aus der Kontur des Isolierkörpers hervorstehen.
- In bevorzugter Ausgestaltung sind die Vorsprünge aus einer Verlängerung der Oberkante und Unterkante des Lagers sowie aus einem bogenförmigen Übergang zur Stirnseite gebildet und weisen am äußeren Ende eine Abrundung auf. Besonders günstige Eigenschaften bezüglich der Temperaturbeweglichkeit werden erreicht, wenn das Flachrohr gerundete Schmalseiten aufweist. Um die Lager bei der Herstellung des thermisch isolierenden Bauelementes exakt zu positionieren und zu halten, ist es vorteilhaft, daß das Lager mit mindestens einer in Längsrichtung des Isolierkörpers verlaufenden Öffnung versehen ist, die zur Aufnahme einer Positionierleiste, eines Stabes oder dergleichen dient.
- Ausführungsbeispiele der Erfindung sind nachstehend anhand der Zeichnung näher erläutert. In der Zeichnung zeigt:
- Fig.1
- eine perspektivische Ansicht eines thermisch isolierenden Bauelements,
- Fig. 2
- eine vergrößerte Darstellung eines Ausschnitts des Bauelementes mit lediglich einem Zugelement und einem Druck- und Schublager, mit deren Erstreckung durch den Isolierkörper,
- Fig. 3
- ein als Flachrohr ausgebildeter Hüllkörper in der Ansicht auf dessen Flachseite,
- Fig. 4
- einen Hüllkörper gemäß Fig. 3 in der Ansicht auf dessen Schmalseite,
- Fig. 5
- eine Draufsicht auf den Hüllkörper gemäß Fig. 3,
- Fig. 6
- eine verkleinerte Darstellung des Hüllkörpers gemäß Fig. 3 bis 5 in perspektivischer Darstellung,
- Fig. 7
- ein Druck- und Schublager, das aus einem mit einem aushärtbaren Material gefüllten Hüllkörper gemäß Fig. 6 besteht,
- Fig. 8
- eine Ansicht auf einen Boden einer Ausführungsvariante eines Hüllkörpers in Form einer Schale,
- Fig. 9
- eine stirnseitige Ansicht des Hüllkörpers gemäß Fig. 8,
- Fig. 10
- eine Ausführungsvariante zu Fig. 9 mit abgerundeten Seitenwänden und geringerer Tiefe der Schalenform zur Bildung eines Hüllkörpers,
- Fig. 11
- zwei spiegelbildlich gestaltete und mit einem aushärtbaren Material gefüllte Hüllkörper gemäß Fig. 10 beim Zusammenfügen zu einem Druck- und Schublager,
- Fig. 12
- eine Ausführungsvariante zu Fig. 8 in Form eines Parallelogramms,
- Fig. 13
- ein Druck- und Schublager, das aus einem gefüllten Hüllkörper gemäß Fig. 8 und 9 besteht, in perspektivischer Ansicht,
- Fig. 14
- eine Ausführungsvariante zu Fig. 13 mit Öffnungen zur Aufnahme eines Positionierstabes.
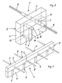
- In Fig. 1 ist eine perspektivische Ansicht eines thermisch isolierenden Bauelements 1 gezeigt, wobei das Bauelement 1 einen Isolierkörper umfaßt, der aus einer oberen Schicht 3 und einer unteren Schicht 4 besteht. Mit einem solchen aus zwei Schichten 3 und 4 bestehenden Isolierkörper 2, der somit aus einem Verbundwerkstoff besteht, kann insbesondere den physikalischen Anforderungen unterschiedlicher Art am ehesten Rechnung getragen werden. In der oberen Schicht 3 befinden sich Bewehrungselemente zur Zugbewehrung 5, die im wesentlichen aus einem Edelstahlrohr 7, das sich quer durch die obere Schicht 3 des Isolierkörpers 2 erstreckt, besteht und an seinen Enden die Bewehrungsstäbe 8 für die Zugbewehrung aufnimmt.
- In der unteren Schicht 4 sind, bezogen auf die Längserstreckung des Isolierkörpers 2, in regelmäßigen Abständen und vorzugsweise jeweils unterhalb der Zugbewehrung 5 Druckund Schublager angeordnet, welche, wie aus Fig. 1 deutlich wird, an den Längsseiten der unteren Schicht 4 etwas hervorstehen und somit beim späteren Gießen der Bauwerksteile in den Beton greifen. Die Form sowie der Aufbau der Druck- und Schublager 6 wird später noch näher erläutert.
- In Fig. 2 ist eine vergrößerte Darstellung eines Ausschnitts des Bauelementes 1 mit lediglich einer Zugbewehrung 5 und einem Druck- und Schublager 6 dargestellt, wobei mit gestrichelten Linien die Anordnung und der Verlauf der Zugbewehrung 5 sowie des Druck- und Schublagers 6 durch die obere Schicht 3 und untere Schicht 4 des Isolierkörpers 2 deutlich gemacht ist. Es ist daraus ersichtlich, daß das Druck- und Schublager 6 die Form eines aufrecht stehenden Flachkörpers besitzt, wobei eine Schmalseite 14 an der Längsseite des Isolierkörpers 2 hervorsteht, und wobei an der Unterkante auf der rückwärtigen Seite der unteren Schicht und an der Oberkante der Vorderseite der Schicht 4 jeweils ein Vorsprung 17 an dem Druck- und Schublager 6 angeformt sind. Es ergibt sich somit eine größere Länge L des Druck- und Schublagers 6 in der Erstreckung quer zur Längsrichtung des Isolierkörpers 2 als die Breite B der unteren Schicht 4.
- In Fig. 3, 4 und 5 sind unterschiedliche Ansichten eines Hüllkörpers 10 dargestellt, der die Form für das Druck- und Schublager 6 in Fig. 2 bildet. Der Hüllkörper 10 ist in dem Ausführungsbeispiel der Fig. 3, 4 und 5 als Flachrohr 12 dargestellt, das zwei parallele Flachseiten 13 sowie zwei Schmalseiten 14 umfaßt, und dessen Höhe durch eine Oberkante 15 und eine Unterkante 16 begrenzt ist. Durch eine Umformung im Bereich der Oberkante 15 und der Unterkante 16, vorzugsweise durch einen Tiefziehvorgang, sind Vorsprünge 17 gebildet, und zwar einer an der Oberkante 15 und einer an der Unterkante 16, wobei diese Vorsprünge 17 diametral gegenüberliegen. Die Vorsprünge 17 werden somit durch eine Verlängerung der Oberkante 15 und Unterkante 16 sowie jeweils einen bogenförmigen Übergang 18 zu der Schmalseite 14 hin gebildet, wobei das äußere Ende 19 der Vorsprünge 17 abgerundet ist.
- Aus der Draufsicht gemäß Fig. 5 auf den Hüllkörper 10 wird deutlich, daß das Flachrohr 12 bezogen auf die Schmalseiten 14 eine Erstreckung von einer Länge L1 besitzt. Dieses Maß L1 ist vorzugsweise größer als die Breite B der unteren Schicht 4 gemäß Fig. 2, so daß sich damit bereits ein Eingriff in die angrenzenden Betonelemente erreichen läßt. Bezogen auf die Vorsprünge 17 ist die Gesamtlänge L2 noch größer.
- In den Fig. 6 und 7 ist jeweils perspektivisch der Hüllkörper 10 dargestellt, der aus dem Flachrohr 12 gebildet ist. Während der in Fig. 6 gezeigte Hüllkörper 10 noch ungefüllt ist, zeigt Fig. 7 den mit einer Füllung 11 ausgefüllten Hüllkörper 10, wobei das Material der Füllung 11 ein gieß- und/oder spritzfähiges aushärtbares Material ist. Dieses Material kann im wesentlichen ein formbeständiger Kunststoff von hoher Festigkeit sein, es kommen jedoch auch Werkstoffe auf mineralischer Basis in Betracht wie beispielsweise Faserzement. Ein mit einer solchen Füllung 11 versehener Hüllkörper bildet somit ein Lager 6 zur Aufnahme von Druck- und Schubkräften.
- Die Fig. 8 zeigt einen Hüllkörper 10, der als Schale 22 aus einem Boden 23 und einer umlaufenden Seitenwand 24 gebildet ist. Die Fig. 9, die eine Seitenansicht dieses aus einer Schale 22 gebildeten Hüllkörpers 10 zeigt, verdeutlicht, daß die Schale an der dem Boden 23 gegenüberliegenden Seite 25 offen ist. Diese offene Seite 25 ermöglicht das Befüllen der Schale 22 mit einer Füllung, so wie dies bereits zu Fig. 7 beschrieben wurde. Aus Fig. 8 wird deutlich, daß die umlaufende Wand 24 geschlossen ist und ebenso die Kontur mit Oberkante 15 und Unterkante 16 sowie den Vorsprüngen 17 und bogenförmigen Übergängen 18 bildet, ebenso sind die äußeren Enden 19 gerundet. Die Schale 22 ist vorzugsweise als Tiefziehteil hergestellt.
- Eine alternative Ausgestaltung einer Schale 21 ist in Fig. 10 dargestellt, wobei die Kontur in der Draufsicht derjenigen entspricht, die in Fig. 8 gezeigt ist. Gemäß Fig. 10 ist lediglich die Schale 21 von geringerer Tiefe, wobei auch die dort vorgesehenen Seitenwände 20 abgerundet sind. Für eine Hüllkörper 10 werden vorzugsweise zwei solcher Schalen 21 zu einer Einheit zusammengefügt, wie dies in Fig. 11 dargestellt ist. Zu diesem Zweck werden zwei spiegelbildlich gestaltete Schalen 21 jeweils mit der Füllung 11 versehen und dann mit den Rändern entlang ihrer offenen Seite 25 aneinandergefügt. Es ergibt sich damit ein Druck- und Schublager 6, das von der Kontur her auch im Bereich der Schmalseiten 14 eine entsprechende Rundung aufweist.
- Eine weitere alternative Gestaltung eines Druck- und Schublagers ist in Fig. 12 gezeigt, wobei es sich dabei um eine Schale 26 handelt, die in der Draufsicht die Form eines Parallelogramms aufweist. Der Boden 27 ist von einer umlaufenden Seitenwand 28 umgeben, die ebenfalls geschlossen ist, wobei das Maß L1 zwischen zwei orthogonalen Linien S1, S2, die durch das linke obere und rechte untere Eck verlaufen, gebildet ist, so daß die jeweils seitlich über diese senkrechten Linien S1 und S2 überstehenden Konturen des Parallelogramms die Vorsprünge 17 bilden. Nach dem Füllen des aus der Schale 26 gebildeten Hohlkörpers 10 mit einem Material, wie es zu Fig. 7 beschrieben wurde, ergibt sich ein Druck- und Schublager 6, das zum Einsatz in einen Isolierkörper gemäß Fig. 1 und 2 geeignet ist.
- Die Fig. 13 zeigt ein Druck- und Schublager 6, das aus einer Schale 22 gemäß Darstellung in Fig. 8 und 9 gebildet und mit einer Füllung 11 versehen ist. Die Fig. 14 zeigt ein solches Druck- und Schublager 6, welches Öffnungen 9 aufweist, die in Richtung der Längserstreckung des Isolierkörpers 2 der Fig. 1 und 2 verlaufen, wobei die Öffnungen 9 zur Aufnahme einer Positionierleiste, eines Stabes oder dergleichen zur Fixierung vor dem Einbringen des den Isolierkörper bildenden Materials dient.
Claims (17)
- Thermisch isolierendes Bauelement (1) zum Einsatz in Trennfugen zwischen lastaufnehmenden Bauwerksteilen, beispielsweise zwischen einer Gebäudedecke und einer Balkonbodenplatte mit einem Isolierkörper (2), der Bewehrungsglieder enthält, wobei das Bauelement (1) zur Aufnahme von Zug-, Druck- und Schubkräften dimensioniert ist, wobei in dem Isolierkörper (2) bezogen auf dessen Längsrichtung in Abständen Lager (6) zur Aufnahme von Druck- und Schubkräften eingebettet sind, wobei die Lager (6) zur Aufnahme von Druck- und Schubkräften im wesentlichen aus einem Gieß- und/oder spritzfähigen aushärtbaren Material bestehen, das im wesentlichen Kunststoff oder mineralisches Grundmaterial umfaßt und quer zur Längserstreckung des Isolierkörpers (2) an jeder Stirnseite des Lagers (6) ein Vorsprung (17) in Richtung auf die lastaufnehmenden Bauwerksteile angeformt ist, wobei die Vorsprünge aus einer Verlängerung der Oberkante (15) und Unterkante (16) des Lagers (6) gebildet sind
dadurch gekennzeichnet, daß die Vorsprünge (17) ebenfalls aus einem bogenförmigen Übergang (18) zur Stirnseite gebildet sind und am äußeren Ende (19) eine Abrundung aufweisen. - Bauelement nach Anspruch 1,
dadurch gekennzeichnet, daß das Lager (6) aus einem Hüllkörper (10) mit einer Füllung (11) besteht. - Bauelement nach Anspruch 2,
dadurch gekennzeichnet, daß der Hüllkörper (10) rohrförmig ist. - Bauelement nach Anspruch 3,
dadurch gekennzeichnet, daß der Hüllkörper (10) ein Flachrohr (12) ist. - Bauelement nach Anspruch 2,
dadurch gekennzeichnet, daß der Hüllkörper (10) aus mindestens einer Schale (21, 22, 26) besteht. - Bauelement nach Anspruch 5,
dadurch gekennzeichnet, daß der Hüllkörper (10) aus zwei Schalen (21) besteht, die jeweils separat mit einer Füllung (11) versehen sind und mit ihren jeweils offenen Seiten (25) gegeneinander gefügt sind. - Bauelement nach Anspruch 5,
dadurch gekennzeichnet, daß die Schalen (21) eine Form aufweisen, die an den offenen Seiten (25) jeweils spiegelbildlich ausgebildet ist. - Bauelement nach einem der Ansprüche 2 bis 7,
dadurch gekennzeichnet, daß der Hüllkörper (10) aus Kunststoff besteht. - Bauelement nach einem der Ansprüche 2 bis 7,
dadurch gekennzeichnet, daß der Hüllkörper (10) aus rostfreiem Stahl besteht und vorzugsweise als Tiefziehteil hergestellt ist. - Bauelement nach Anspruch 1,
dadurch gekennzeichnet, daß das Lager (6) als Körper aus einem homogenen Material oder einem Verbundwerkstoff besteht. - Bauelement nach einem der Ansprüche 2 bis 9,
dadurch gekennzeichnet, daß der Hüllkörper (10) mit einem Kunststoff ausgegossen ist. - Bauelement nach einem der Ansprüche 2 bis 9,
dadurch gekennzeichnet, daß der Hüllkörper (10) mit einem Faserzement ausgegossen ist. - Bauelement nach Anspruch 1,
dadurch gekennzeichnet, daß die Vorsprünge (17), bezogen auf die sich quer zur Längsrichtung des Isolierkörpers (2) erstreckende Fläche des Lagers (6), diametral an dieser Fläche angeformt sind, so daß sich ein Vorsprung (17) an der Oberkante (15) des Lagers (6) und der andere Vorsprung (17) an der Unterkante (16) des Lagers (6) befinden. - Bauelement nach einem der Ansprüche 1 oder 13,
dadurch gekennzeichnet, daß das Maß der Lagers (6) über seine Länge (L1) abzüglich der Vorsprünge (17) mindestens annähernd der Breite (B) des Isolierkörpers (2) entspricht. - Bauelement nach Anspruch 14,
dadurch gekennzeichnet, daß das Lager (6) eine solche Länge (L1) aufweist, daß am Lager (6) gebildete Schmalseiten (14) aus der Kontur des Isolierkörpers (2) hervorstehen. - Bauelement nach Anspruch 4,
dadurch gekennzeichnet, daß das Flachrohr (12) gerundete Schmalseiten (14) aufweist. - Bauelement nach einem der Ansprüche 1 bis 16,
dadurch gekennzeichnet, daß das Lager (6) mit mindestens einer in Längsrichtung des Isolierkörpers (2) verlaufenden Öffnung (9) versehen ist, die zur Aufnahme einer Positionierleiste, eines Stabes oder dergleichen dient.
Priority Applications (3)
| Application Number | Priority Date | Filing Date | Title |
|---|---|---|---|
| DE502004005013T DE502004005013D1 (de) | 2004-02-11 | 2004-02-11 | Thermisch isolierendes Bauelement |
| EP04002982A EP1564336B1 (de) | 2004-02-11 | 2004-02-11 | Thermisch isolierendes Bauelement |
| AT04002982T ATE373750T1 (de) | 2004-02-11 | 2004-02-11 | Thermisch isolierendes bauelement |
Applications Claiming Priority (1)
| Application Number | Priority Date | Filing Date | Title |
|---|---|---|---|
| EP04002982A EP1564336B1 (de) | 2004-02-11 | 2004-02-11 | Thermisch isolierendes Bauelement |
Publications (2)
| Publication Number | Publication Date |
|---|---|
| EP1564336A1 EP1564336A1 (de) | 2005-08-17 |
| EP1564336B1 true EP1564336B1 (de) | 2007-09-19 |
Family
ID=34684660
Family Applications (1)
| Application Number | Title | Priority Date | Filing Date |
|---|---|---|---|
| EP04002982A Expired - Lifetime EP1564336B1 (de) | 2004-02-11 | 2004-02-11 | Thermisch isolierendes Bauelement |
Country Status (3)
| Country | Link |
|---|---|
| EP (1) | EP1564336B1 (de) |
| AT (1) | ATE373750T1 (de) |
| DE (1) | DE502004005013D1 (de) |
Cited By (1)
| Publication number | Priority date | Publication date | Assignee | Title |
|---|---|---|---|---|
| EP3444409B1 (de) * | 2017-08-17 | 2023-08-09 | SCHÖCK BAUTEILE GmbH | Bauelement zur wärmedämmung |
Families Citing this family (14)
| Publication number | Priority date | Publication date | Assignee | Title |
|---|---|---|---|---|
| DE102006011335A1 (de) * | 2006-03-09 | 2007-09-13 | Schöck Bauteile GmbH | Bauelement zur Wärmedämmung |
| PL1892344T3 (pl) * | 2006-08-22 | 2009-04-30 | Halfen Gmbh | Termoizolacyjny element konstrukcyjny |
| DE102007014923A1 (de) * | 2007-03-22 | 2008-09-25 | Bert Kolpatzik | Druckelement eines Bauelementes zur Wärmedämmung |
| DE102007014922A1 (de) * | 2007-03-22 | 2008-09-25 | Bert Kolpatzik | Druckelement eines Bauelementes zur Wärmedämmung |
| DE102010060203A1 (de) | 2010-10-27 | 2012-05-03 | Kki Enterprises Gmbh | Fertigbauteil für eine auskragende Balkonplatte |
| PL2742191T3 (pl) | 2011-08-11 | 2017-08-31 | Schöck Bauteile GmbH | Element konstrukcyjny do izolacji termicznej |
| DE102011122589A1 (de) | 2011-12-30 | 2013-07-04 | Schöck Bauteile GmbH | Bauelement zur Wärmedämmung |
| EP2653625B1 (de) | 2012-04-20 | 2018-11-21 | HALFEN GmbH | Thermisch isolierendes Bauelement |
| DE102012012912A1 (de) | 2012-06-29 | 2014-04-10 | Schöck Bauteile GmbH | Bauelement zur Wärmedämmung |
| PL3901385T3 (pl) * | 2016-02-03 | 2025-03-24 | Leviat GmbH | Termoizolacyjny element budowlany |
| HUE050059T2 (hu) * | 2016-07-22 | 2020-11-30 | Schoeck Bauteile Gmbh | Épületelem hõszigeteléshez |
| DE102016124736A1 (de) * | 2016-12-19 | 2018-06-21 | Schöck Bauteile GmbH | Bauelement zur Wärmedämmung |
| EP3385462B1 (de) | 2017-04-05 | 2020-03-04 | HALFEN GmbH | Thermisch isolierendes bauelement |
| GB2595473B (en) * | 2020-05-27 | 2024-06-26 | Farrat Isolevel Ltd | Structural thermal break connector |
Family Cites Families (7)
| Publication number | Priority date | Publication date | Assignee | Title |
|---|---|---|---|---|
| DE10102930A1 (de) * | 2001-01-23 | 2002-07-25 | Schoeck Entwicklungsgmbh | Bauelement zur Wärmedämmung |
| DE59708804D1 (de) * | 1996-07-30 | 2003-01-09 | Basys Ag Burgdorf | Verbindungselement |
| DE19638538A1 (de) | 1996-09-20 | 1998-03-26 | Schoeck Bauteile Gmbh | Bauelement zur Wärmedämmung |
| DE29707378U1 (de) * | 1997-04-24 | 1997-06-26 | Halfen GmbH & Co. KG, 40764 Langenfeld | Thermisch isolierendes Bauelement |
| DE19718021B4 (de) | 1997-04-29 | 2006-09-14 | Halfen Gmbh & Co. Kommanditgesellschaft | Thermisch isolierendes Bauelement |
| DE19947912A1 (de) * | 1999-10-06 | 2001-05-17 | Fingerling Karl Heinz | Bauelement zur Anbringung eines außerhalb einer isolierenden Gebäudehülle befindlichen Bauteiles an einem innerhalb der isolierenden Gebäudehülle befindlichen Verankerungselelment |
| WO2003054313A1 (de) * | 2001-12-20 | 2003-07-03 | Sfs Locher Ag | Kragplattenanschlusselement und kragplattenanschlussbaugruppe mit einer anzahl solcher kragplattenanschlusselementen |
-
2004
- 2004-02-11 EP EP04002982A patent/EP1564336B1/de not_active Expired - Lifetime
- 2004-02-11 DE DE502004005013T patent/DE502004005013D1/de not_active Expired - Lifetime
- 2004-02-11 AT AT04002982T patent/ATE373750T1/de active
Cited By (1)
| Publication number | Priority date | Publication date | Assignee | Title |
|---|---|---|---|---|
| EP3444409B1 (de) * | 2017-08-17 | 2023-08-09 | SCHÖCK BAUTEILE GmbH | Bauelement zur wärmedämmung |
Also Published As
| Publication number | Publication date |
|---|---|
| ATE373750T1 (de) | 2007-10-15 |
| DE502004005013D1 (de) | 2007-10-31 |
| EP1564336A1 (de) | 2005-08-17 |
Similar Documents
| Publication | Publication Date | Title |
|---|---|---|
| EP1564336B1 (de) | Thermisch isolierendes Bauelement | |
| DE69018291T2 (de) | Paneel, insbesondere für die Herstellung eines Schwimmbades und sein Herstellungsverfahren. | |
| DE69000623T2 (de) | Drainagekanal. | |
| DE3037596A1 (de) | Formkoerper zur ankerhalterung und zur erzeugung einer aussparung in einem betonfertigteil | |
| DE3413601A1 (de) | Verfahren und vorrichtung zur herstellung von verbundprofilen | |
| DE10141243A1 (de) | Innenschale für ein Dachmodul in Sandwich-Bauweise sowie Verfahren zu ihrer Herstellung | |
| EP2166178A2 (de) | Abstandhalter | |
| DE19652165C2 (de) | Fertigbauteil für eine auskragende Balkonplatte | |
| EP1760208B1 (de) | System und Verfahren zur Herstellung von gedämmten Hohlwänden | |
| DE3223343A1 (de) | Verbundprofil, insbesondere fuer rahmen von fenstern, tueren und fassadenelementen | |
| DE19711813C2 (de) | Thermisch isolierendes Bauelement | |
| EP0250612A1 (de) | Gerüstboden für ein Schnellbaugerüst | |
| EP0933482B1 (de) | Fertigbauteil für eine auskragende Balkonplatte | |
| DE2316874C2 (de) | Abstandhalter zur Abstützung der Bewehrung in Betonbauteilen und Verfahren zur Herstellung des Abstandhalters | |
| DE4436808C2 (de) | Verbindungselement | |
| EP2742190B1 (de) | Bauelement zur wärmedämmung | |
| DE875403C (de) | Bauelement und Verfahren zu seiner Herstellung | |
| DE7613917U1 (de) | Zusammengesetzter profilstab fuer fenster- und fassadenkonstruktionen | |
| WO1998034872A1 (de) | Hebebühne, insbesondere für kraftfahrzeuge und verfahren zur herstellung der hebebühne | |
| DE3145924C2 (de) | Stoßverbindung von Bewehrungsstäben | |
| EP2235287B1 (de) | Seilschlaufenhalterung | |
| EP0745733A1 (de) | Kragplatten- und/oder Fugenelement für bewehrte baukonstruktionen | |
| DE19961902A1 (de) | Kunststoff-Abstandshalterrahmen und Verfahren zu ihrer Herstellung | |
| EP1211035A2 (de) | Schalungselement als verlorene Schalung und mit diesem versehenes Fertigteil | |
| EP1233136A1 (de) | Kunststoff-Abstandshalterrahmen und Verfahren zu seiner Herstellung |
Legal Events
| Date | Code | Title | Description |
|---|---|---|---|
| PUAI | Public reference made under article 153(3) epc to a published international application that has entered the european phase |
Free format text: ORIGINAL CODE: 0009012 |
|
| AK | Designated contracting states |
Kind code of ref document: A1 Designated state(s): AT BE BG CH CY CZ DE DK EE ES FI FR GB GR HU IE IT LI LU MC NL PT RO SE SI SK TR |
|
| AX | Request for extension of the european patent |
Extension state: AL LT LV MK |
|
| 17P | Request for examination filed |
Effective date: 20060210 |
|
| AKX | Designation fees paid |
Designated state(s): AT BE BG CH CY CZ DE DK EE ES FI FR GB GR HU IE IT LI LU MC NL PT RO SE SI SK TR |
|
| GRAP | Despatch of communication of intention to grant a patent |
Free format text: ORIGINAL CODE: EPIDOSNIGR1 |
|
| RAP1 | Party data changed (applicant data changed or rights of an application transferred) |
Owner name: HALFEN GMBH |
|
| GRAS | Grant fee paid |
Free format text: ORIGINAL CODE: EPIDOSNIGR3 |
|
| GRAA | (expected) grant |
Free format text: ORIGINAL CODE: 0009210 |
|
| AK | Designated contracting states |
Kind code of ref document: B1 Designated state(s): AT BE BG CH CY CZ DE DK EE ES FI FR GB GR HU IE IT LI LU MC NL PT RO SE SI SK TR |
|
| REG | Reference to a national code |
Ref country code: GB Ref legal event code: FG4D Free format text: NOT ENGLISH |
|
| GBT | Gb: translation of ep patent filed (gb section 77(6)(a)/1977) |
Effective date: 20070919 |
|
| REG | Reference to a national code |
Ref country code: CH Ref legal event code: EP |
|
| REG | Reference to a national code |
Ref country code: CH Ref legal event code: NV Representative=s name: ISLER & PEDRAZZINI AG |
|
| REF | Corresponds to: |
Ref document number: 502004005013 Country of ref document: DE Date of ref document: 20071031 Kind code of ref document: P |
|
| REG | Reference to a national code |
Ref country code: IE Ref legal event code: FG4D Free format text: LANGUAGE OF EP DOCUMENT: GERMAN |
|
| PG25 | Lapsed in a contracting state [announced via postgrant information from national office to epo] |
Ref country code: FI Free format text: LAPSE BECAUSE OF FAILURE TO SUBMIT A TRANSLATION OF THE DESCRIPTION OR TO PAY THE FEE WITHIN THE PRESCRIBED TIME-LIMIT Effective date: 20070919 |
|
| ET | Fr: translation filed | ||
| PG25 | Lapsed in a contracting state [announced via postgrant information from national office to epo] |
Ref country code: GR Free format text: LAPSE BECAUSE OF FAILURE TO SUBMIT A TRANSLATION OF THE DESCRIPTION OR TO PAY THE FEE WITHIN THE PRESCRIBED TIME-LIMIT Effective date: 20071220 Ref country code: ES Free format text: LAPSE BECAUSE OF FAILURE TO SUBMIT A TRANSLATION OF THE DESCRIPTION OR TO PAY THE FEE WITHIN THE PRESCRIBED TIME-LIMIT Effective date: 20071230 |
|
| REG | Reference to a national code |
Ref country code: IE Ref legal event code: FD4D |
|
| PG25 | Lapsed in a contracting state [announced via postgrant information from national office to epo] |
Ref country code: SK Free format text: LAPSE BECAUSE OF FAILURE TO SUBMIT A TRANSLATION OF THE DESCRIPTION OR TO PAY THE FEE WITHIN THE PRESCRIBED TIME-LIMIT Effective date: 20070919 Ref country code: CZ Free format text: LAPSE BECAUSE OF FAILURE TO SUBMIT A TRANSLATION OF THE DESCRIPTION OR TO PAY THE FEE WITHIN THE PRESCRIBED TIME-LIMIT Effective date: 20070919 Ref country code: PT Free format text: LAPSE BECAUSE OF FAILURE TO SUBMIT A TRANSLATION OF THE DESCRIPTION OR TO PAY THE FEE WITHIN THE PRESCRIBED TIME-LIMIT Effective date: 20080219 |
|
| PG25 | Lapsed in a contracting state [announced via postgrant information from national office to epo] |
Ref country code: SE Free format text: LAPSE BECAUSE OF FAILURE TO SUBMIT A TRANSLATION OF THE DESCRIPTION OR TO PAY THE FEE WITHIN THE PRESCRIBED TIME-LIMIT Effective date: 20071219 Ref country code: RO Free format text: LAPSE BECAUSE OF FAILURE TO SUBMIT A TRANSLATION OF THE DESCRIPTION OR TO PAY THE FEE WITHIN THE PRESCRIBED TIME-LIMIT Effective date: 20070919 |
|
| PLBE | No opposition filed within time limit |
Free format text: ORIGINAL CODE: 0009261 |
|
| STAA | Information on the status of an ep patent application or granted ep patent |
Free format text: STATUS: NO OPPOSITION FILED WITHIN TIME LIMIT |
|
| PG25 | Lapsed in a contracting state [announced via postgrant information from national office to epo] |
Ref country code: DK Free format text: LAPSE BECAUSE OF FAILURE TO SUBMIT A TRANSLATION OF THE DESCRIPTION OR TO PAY THE FEE WITHIN THE PRESCRIBED TIME-LIMIT Effective date: 20070919 |
|
| 26N | No opposition filed |
Effective date: 20080620 |
|
| BERE | Be: lapsed |
Owner name: HALFEN G.M.B.H. Effective date: 20080228 |
|
| PG25 | Lapsed in a contracting state [announced via postgrant information from national office to epo] |
Ref country code: MC Free format text: LAPSE BECAUSE OF NON-PAYMENT OF DUE FEES Effective date: 20080228 Ref country code: IE Free format text: LAPSE BECAUSE OF FAILURE TO SUBMIT A TRANSLATION OF THE DESCRIPTION OR TO PAY THE FEE WITHIN THE PRESCRIBED TIME-LIMIT Effective date: 20070919 |
|
| PG25 | Lapsed in a contracting state [announced via postgrant information from national office to epo] |
Ref country code: EE Free format text: LAPSE BECAUSE OF FAILURE TO SUBMIT A TRANSLATION OF THE DESCRIPTION OR TO PAY THE FEE WITHIN THE PRESCRIBED TIME-LIMIT Effective date: 20070919 |
|
| PG25 | Lapsed in a contracting state [announced via postgrant information from national office to epo] |
Ref country code: BE Free format text: LAPSE BECAUSE OF NON-PAYMENT OF DUE FEES Effective date: 20080228 |
|
| PG25 | Lapsed in a contracting state [announced via postgrant information from national office to epo] |
Ref country code: SI Free format text: LAPSE BECAUSE OF FAILURE TO SUBMIT A TRANSLATION OF THE DESCRIPTION OR TO PAY THE FEE WITHIN THE PRESCRIBED TIME-LIMIT Effective date: 20070919 |
|
| PG25 | Lapsed in a contracting state [announced via postgrant information from national office to epo] |
Ref country code: CY Free format text: LAPSE BECAUSE OF FAILURE TO SUBMIT A TRANSLATION OF THE DESCRIPTION OR TO PAY THE FEE WITHIN THE PRESCRIBED TIME-LIMIT Effective date: 20070919 |
|
| PG25 | Lapsed in a contracting state [announced via postgrant information from national office to epo] |
Ref country code: BG Free format text: LAPSE BECAUSE OF FAILURE TO SUBMIT A TRANSLATION OF THE DESCRIPTION OR TO PAY THE FEE WITHIN THE PRESCRIBED TIME-LIMIT Effective date: 20071219 |
|
| PG25 | Lapsed in a contracting state [announced via postgrant information from national office to epo] |
Ref country code: HU Free format text: LAPSE BECAUSE OF FAILURE TO SUBMIT A TRANSLATION OF THE DESCRIPTION OR TO PAY THE FEE WITHIN THE PRESCRIBED TIME-LIMIT Effective date: 20080320 Ref country code: LU Free format text: LAPSE BECAUSE OF NON-PAYMENT OF DUE FEES Effective date: 20080211 |
|
| PG25 | Lapsed in a contracting state [announced via postgrant information from national office to epo] |
Ref country code: TR Free format text: LAPSE BECAUSE OF FAILURE TO SUBMIT A TRANSLATION OF THE DESCRIPTION OR TO PAY THE FEE WITHIN THE PRESCRIBED TIME-LIMIT Effective date: 20070919 |
|
| REG | Reference to a national code |
Ref country code: FR Ref legal event code: PLFP Year of fee payment: 13 |
|
| REG | Reference to a national code |
Ref country code: FR Ref legal event code: PLFP Year of fee payment: 14 |
|
| REG | Reference to a national code |
Ref country code: FR Ref legal event code: PLFP Year of fee payment: 15 |
|
| REG | Reference to a national code |
Ref country code: DE Ref legal event code: R081 Ref document number: 502004005013 Country of ref document: DE Owner name: LEVIAT GMBH, DE Free format text: FORMER OWNER: HALFEN GMBH, 40764 LANGENFELD, DE |
|
| REG | Reference to a national code |
Ref country code: AT Ref legal event code: HC Ref document number: 373750 Country of ref document: AT Kind code of ref document: T Owner name: LEVIAT GMBH, DE Effective date: 20220406 |
|
| PGFP | Annual fee paid to national office [announced via postgrant information from national office to epo] |
Ref country code: NL Payment date: 20230216 Year of fee payment: 20 |
|
| PGFP | Annual fee paid to national office [announced via postgrant information from national office to epo] |
Ref country code: FR Payment date: 20230220 Year of fee payment: 20 Ref country code: CH Payment date: 20230307 Year of fee payment: 20 Ref country code: AT Payment date: 20230217 Year of fee payment: 20 |
|
| PGFP | Annual fee paid to national office [announced via postgrant information from national office to epo] |
Ref country code: IT Payment date: 20230223 Year of fee payment: 20 Ref country code: GB Payment date: 20230220 Year of fee payment: 20 Ref country code: DE Payment date: 20230216 Year of fee payment: 20 |
|
| REG | Reference to a national code |
Ref country code: DE Ref legal event code: R071 Ref document number: 502004005013 Country of ref document: DE |
|
| REG | Reference to a national code |
Ref country code: NL Ref legal event code: MK Effective date: 20240210 |
|
| REG | Reference to a national code |
Ref country code: CH Ref legal event code: PL |
|
| REG | Reference to a national code |
Ref country code: GB Ref legal event code: PE20 Expiry date: 20240210 |
|
| REG | Reference to a national code |
Ref country code: AT Ref legal event code: MK07 Ref document number: 373750 Country of ref document: AT Kind code of ref document: T Effective date: 20240211 |
|
| PG25 | Lapsed in a contracting state [announced via postgrant information from national office to epo] |
Ref country code: GB Free format text: LAPSE BECAUSE OF EXPIRATION OF PROTECTION Effective date: 20240210 |