EP1555728B1 - Elektrischer Verbinder - Google Patents

Elektrischer Verbinder Download PDF

Info

Publication number
EP1555728B1
EP1555728B1 EP04000887A EP04000887A EP1555728B1 EP 1555728 B1 EP1555728 B1 EP 1555728B1 EP 04000887 A EP04000887 A EP 04000887A EP 04000887 A EP04000887 A EP 04000887A EP 1555728 B1 EP1555728 B1 EP 1555728B1
Authority
EP
European Patent Office
Prior art keywords
connector
seal
contact
accordance
receiving region
Prior art date
Legal status (The legal status is an assumption and is not a legal conclusion. Google has not performed a legal analysis and makes no representation as to the accuracy of the status listed.)
Expired - Lifetime
Application number
EP04000887A
Other languages
English (en)
French (fr)
Other versions
EP1555728A1 (de
Inventor
Thomas Drescher
Current Assignee (The listed assignees may be inaccurate. Google has not performed a legal analysis and makes no representation or warranty as to the accuracy of the list.)
Delphi Technologies Inc
Original Assignee
Delphi Technologies Inc
Priority date (The priority date is an assumption and is not a legal conclusion. Google has not performed a legal analysis and makes no representation as to the accuracy of the date listed.)
Filing date
Publication date
Application filed by Delphi Technologies Inc filed Critical Delphi Technologies Inc
Priority to DE502004003207T priority Critical patent/DE502004003207D1/de
Priority to AT04000887T priority patent/ATE357069T1/de
Priority to EP04000887A priority patent/EP1555728B1/de
Priority to US11/035,600 priority patent/US7156697B2/en
Priority to JP2005007738A priority patent/JP4201768B2/ja
Publication of EP1555728A1 publication Critical patent/EP1555728A1/de
Application granted granted Critical
Publication of EP1555728B1 publication Critical patent/EP1555728B1/de
Anticipated expiration legal-status Critical
Expired - Lifetime legal-status Critical Current

Links

Images

Classifications

    • HELECTRICITY
    • H01ELECTRIC ELEMENTS
    • H01RELECTRICALLY-CONDUCTIVE CONNECTIONS; STRUCTURAL ASSOCIATIONS OF A PLURALITY OF MUTUALLY-INSULATED ELECTRICAL CONNECTING ELEMENTS; COUPLING DEVICES; CURRENT COLLECTORS
    • H01R13/00Details of coupling devices of the kinds covered by groups H01R12/70 or H01R24/00 - H01R33/00
    • H01R13/46Bases; Cases
    • H01R13/52Dustproof, splashproof, drip-proof, waterproof, or flameproof cases
    • H01R13/5205Sealing means between cable and housing, e.g. grommet

Definitions

  • the invention relates to an electrical connector specified in the preamble of claim 1.
  • Such a connector is described in EP-A-1 204 174.
  • the seal arranged in the entrance area of the chamber is made in one piece.
  • the invention has for its object to provide an improved electrical connector of the type mentioned, in which the aforementioned problems are eliminated in the simplest and most reliable manner.
  • the cross section of a respective receiving area increases toward the seal.
  • the rear receiving area it can therefore have a larger opening cross-section at its end facing the seal than at its end facing the chamber.
  • the front receiving area may have a larger opening cross section at its end facing the seal than at its other end, for example facing an insertion opening.
  • the rear receiving area may be provided in the contact insertion direction, in particular between the seal and the chamber or between the seal and the input-side chamber edge.
  • the rear receiving area may in particular comprise a joint or the like.
  • the rear receiving area is dimensioned so that at least substantially no sealing material enters the chamber when equipping the connector.
  • the front receiving area may in particular be provided on the inside of an end wall of the connector provided with at least one contact opening.
  • the end wall may be formed for example by a film hinge flap or the like.
  • the rear receiving area is bounded by two opposing walls diverging towards the seal. Possibly.
  • the front receiving area may also be delimited by two such walls which are opposite each other and which tend to seal.
  • the seal in the region of a respective electrical contact in the contact plug-in direction is divided into at least two plug-in areas spaced from one another in the contact plug-in direction. If the seal as a whole is subdivided into at least two layers or layers, then the plug-in regions which have a distance from one another in the contact plug-in direction can be distributed to these layers or layers.
  • a respective plug-in area for the associated electrical contact is provided with an opening whose maximum diameter is preferably smaller than the maximum transverse dimension of the respective contact and in particular smaller than the outer diameter of the respective line at which provided the contact is.
  • the invention is applicable to all sealed connectors whose seal is formed by a block seal or subdivided into multiple layers.
  • an electrical connector 10 which may be, for example, a connector.
  • the electrical connector 10 comprises a plurality of chambers 12 for receiving electrical contacts 14 and a seal 16 arranged in the entry region of the chambers 12. When the electrical connector 10 is fitted, the electrical contacts 14 are inserted or pierced through this seal 16.
  • a receiving region 20 which is extended transversely to the contact plug-in direction KS can also be provided directly in front of the seal 16.
  • Such a front receiving area 20 serves to receive sealing material displaced when a respective contact 14 is withdrawn.
  • a respective rear receiving portion 18 is seen in the contact plug KS viewed between the seal 16 and the associated chamber 12 and between the seal 16 and the input-side edge 22 of the chamber 12.
  • the rear receiving area 18 may, for example, comprise a joint. Accordingly, the front receiving area 20 may be formed, for example, by a joint or the like.
  • the rear receiving area 18 is now preferably dimensioned so that at least substantially no sealing material enters the chamber 12 when the electrical connector 10 is being fitted.
  • the front receiving area 20 is provided on the inside of an end wall 26 of the electrical connector 10 provided with at least one contact opening 24.
  • the end wall 26 may be formed, for example, by a film hinge flap 28 or the like.
  • the rear receiving area 18 in the present case is bounded by two opposing walls 18 ', 18 "which are diverging towards the seal 16.
  • the front receiving area 20 can also be delimited by two opposing walls 20 ', 20 "that are diverging towards the seal 16 (cf., in particular, FIGS. 1 and 4).
  • the seal 16 is viewed in Kunststoffsteckcardi KS divided into several layers or layers. In the present exemplary embodiment, the seal 16 is subdivided into two successive layers 16 1 , 16 2 in the contact plug-in direction KS (cf., in particular, FIGS. 1, 3 and 4 to 7).
  • the seal 16 can be subdivided into at least two plug-in regions 30 having a distance a from one another in the contact plug-in direction KS (cf., in particular, FIG. In the present case, a subdivision into two such plug-in areas 30 is provided.
  • the seal 16 is subdivided, for example, into two layers or layers 16 1 , 16 2 , and the plug-in regions 30 having a distance a from one another in contact plug-in direction KS are distributed to these layers or layers 16 1 , 16 2 .
  • a respective plug-in area 30 can be provided, for example, with an opening 32 for the associated electrical contact 14 (cf., in particular, FIGS. 1 and 3 to 5).
  • the maximum diameter of such an opening 32 is preferably smaller than the maximum transverse dimension of the relevant electrical contact 14 and in particular smaller than the outer diameter of the relevant line on which the contact 14 is provided.
  • FIG. 1 shows the electrical connector 10 in a schematic cross-sectional view, in which the electrical contacts 14 (cf., for example, FIG. 2) have been omitted for the sake of clarity.
  • a corresponding electrical contact which can be inserted in the connector 10 is shown for example in FIG. 2.
  • Fig. 3 shows the electrical connector 10 in a schematic longitudinal sectional view. Also in this case, the electrical contacts 14 (cf., in particular, again FIG. 2) have been omitted for the sake of clarity.
  • the double arrow in the representation according to FIG. 2 indicates that the sealing material displaced during the insertion or removal of the electrical contact 14 is received in the rear receiving region 18 or the front receiving region 20.
  • FIG 4 shows the electrical connector 10 in a schematic perspective partial view, whereby an electrical contact 14 to be pierced through the seal 16 is also shown.
  • the electrical contact 14 is brought through the contact opening 24 of the film hinge flap 28 only up to the seal 16, but not yet inserted therethrough.
  • FIG 5 shows the electrical connector 10 in a phase in which the electrical contact 14 has already been inserted so far that it passes through the first layer 16 1 of the seal 16.
  • Fig. 6 the electrical connector 10 is shown in a phase in which the electrical contact 14 is already used so far that it passes through both layers 16 1 , 16 2 of the seal 16.
  • Fig. 7 shows the electrical connector 10 in a phase in which the electrical contact 14 has reached its end position in which it protrudes with one end into the relevant chamber 12 and is surrounded by the seal 16 in the region of its other end.
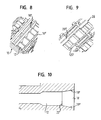
  • FIG 8 shows a schematic plan view of a part of the electrical connector 10 with the film hinge flap 28 open.
  • the electrical contacts 14 and the seal 16 have been omitted for the sake of clarity.
  • FIG. 9 shows a schematic inside view of a part of the film hinge flap 28.
  • the two opposing walls 20 ', 20 "diverging towards the seal 16 can be seen, by which the front receiving area 20 is bounded laterally.
  • Fig. 10 shows in a schematic longitudinal sectional view again a chamber 12 of the electrical connector 10 with a chamber 12 adjacent to this rear receiving area 18. This results in the present case per chamber each an increase in space, for example, about 20% for the onset of the relevant electrical contact displaced sealing material.
  • the receiving areas 18, 20 have, for example, a trapezoidal cross section (cf., for example, FIGS. 1 and 10).
  • the respective cross section of these receiving areas 18, 20 may, however, in principle also have any other shape.
  • these areas may also be rectangular, oval, round, elliptical, etc.

Landscapes

  • Connector Housings Or Holding Contact Members (AREA)
  • Details Of Connecting Devices For Male And Female Coupling (AREA)

Description

  • Die Erfindung betrifft einen elektrischen Verbinder der im Oberbegriff des Anspruchs 1 angegebenen Art. Ein derartiger Verbinder ist in der EP-A-1 204 174 beschrieben.
  • Bei herkömmlichen elektrischen Verbindern wird das beim Bestücken des Verbinders, d.h. beim Einsetzen der elektrischen Kontakte in die zugeordneten Kammern zu verdrängende Dichtungsmaterial bis in die jeweilige Kammer durchgeführt, was relativ hohe Steckkräfte mit sich bringt und zu einer Beschädigung oder gar Zerstörung der Dichtung führen kann, was einem Ausfall des betreffenden Verbinders gleichkommt. Die hohen Steckkräfte bringen u.a. auch die Gefahr mit sich, dass die mit den Kontakten versehenen Leitungen leicht abknicken und sich die Kontakte bei der Herstellung der jeweiligen gewünschten elektrischen Verbindung nicht mehr richtig stecken lassen. Indem die Dichtung beim Einstecken eines jeweiligen Kontaktes in die zugeordnete Kammer im Bereich der eingangsseitigen Kante sowie der Wand der Kammer gequetscht wird und entsprechend zerstört werden kann, kann also Wasser in die jeweilige Kammer eindringen, wodurch die Funktionsfähigkeit des Verbinders zumindest erheblich beeinträchtigt wird. Auch beim Herausziehen der elektrischen Kontakte kann es insbesondere wieder aufgrund eines Einquetschens des zu verdrängenden Dichtungsmaterials zu einer Beschädigung oder Zerstörung der Dichtung kommen.
  • Bei dem aus der EP-A-1 204 174 bekannten elektrischen Verbinder ist die im Eingangsbereich der Kammer angeordnete Dichtung einstückig ausgeführt.
  • Der Erfindung liegt die Aufgabe zugrunde, einen verbesserten elektrischen Verbinder der eingangs genannten Art zu schaffen, bei dem die zuvor genannten Probleme auf möglichst einfache und zuverlässige Weise beseitigt sind.
  • Diese Aufgabe wird nach der Erfindung dadurch gelöst, dass die Dichtung, in Kontaktsteckrichtung betrachtet in zumindest zwei Schichten unterteilt ist.
  • Damit besteht z.B. die Möglichkeit, mehrere Steckbereiche auf mehrere Lagen bzw. Schichten zu verteilen.
  • Dabei wird durch den hinteren Aufnahmebereich das beim Einsetzen eines jeweiligen elektrischen Kontaktes verdrängte Dichtungsmaterial aufgenommen, so dass dieses nicht mehr in die betreffende Kammer gelangen kann. Eine Beschädigung der Dichtung ist somit ausgeschlossen. Zudem werden die Steckkräfte in dem gewünschten Bereich, d.h. relativ klein gehalten. Mit einem jeweiligen vorderen Aufnahmebereich ist auch beim Herausziehen der elektrischen Kontakte sichergestellt, dass es zu keiner Beschädigung der Dichtung kommt.
  • Zweckmäßigerweise nimmt der Querschnitt eines jeweiligen Aufnahmebereichs zur Dichtung hin zu. Was den hinteren Aufnahmebereich betrifft, so kann dieser also an seinem der Dichtung zugewandten Ende einen größeren Öffnungsquerschnitt besitzen als an seinem der Kammer zugewandeten Ende. Was den vorderen Aufnahmebereich betrifft, so kann dieser an seinem der Dichtung zugewandten Ende einen größeren Öffnungsquerschnitt besitzen als an seinem anderen, z.B. einer Einführöffnung zugewandten Ende.
  • Der hintere Aufnahmebereich kann in Kontaktsteckrichtung betrachtet insbesondere zwischen der Dichtung und der Kammer bzw. zwischen der Dichtung und der eingangsseitigen Kammerkante vorgesehen sein.
  • Der hintere Aufnahmebereich kann insbesondere eine Fuge oder dergleichen umfassen. Dasselbe gilt auch für den vorderen Aufnahmebereich. Auch dieser kann also beispielsweise wieder durch eine Fuge oder dergleichen gebildet sein.
  • Bevorzugt ist der hintere Aufnahmebereich so dimensioniert, dass beim Bestücken des Verbinders zumindest im Wesentlichen kein Dichtungsmaterial in die Kammer gelangt.
  • Der vordere Aufnahmebereich kann insbesondere auf der Innenseite einer mit wenigstens einer Kontaktöffnung versehenen Stirnwand des Verbinders vorgesehen sein. Die Stirnwand kann beispielsweise durch eine Filmscharnierklappe oder dergleichen gebildet sein.
  • Bei einer bevorzugten praktischen Ausführungsform des erfindungsgemäßen Verbinders ist der hintere Aufnahmebereich durch zwei einander gegenüberliegende, zur Dichtung hin divergierende Wände begrenzt. Ggf. kann auch der vordere Aufnahmebereich durch zwei solche einander gegenüberliegende, zur Dichtung hin divergierende Wände begrenzt sein.
  • Von Vorteil ist insbesondere auch, wenn die Dichtung im Bereich eines jeweiligen elektrischen Kontaktes in Kontaktsteckrichtung betrachtet in zumindest zwei in Kontaktsteckrichtung einen Abstand voneinander aufweisende Steckbereiche unterteilt ist. Ist die Dichtung insgesamt in zumindest zwei Lagen bzw. Schichten unterteilt, so können die in Kontaktsteckrichtung einen Abstand voneinander aufweisenden Steckbereiche auf diese Lagen bzw. Schichten verteilt sein.
  • Bei einer zweckmäßigen praktischen Ausführungsform des erfindungsgemäßen Verbinders ist ein jeweiliger Steckbereich für den zugeordneten elektrischen Kontakt mit einer Öffnung versehen, deren maximaler Durchmesser vorzugsweise kleiner als die maximale Querabmessung des betreffenden Kontaktes und insbesondere kleiner als der Außendurchmesser der betreffenden Leitung ist, an der der Kontakt vorgesehen ist.
  • Die Erfindung ist bei allen gedichteten Verbindern anwendbar, deren Dichtung durch eine Blockdichtung gebildet oder in mehrere Lagen bzw. Schichten unterteilt ist.
  • Die Erfindung wird im folgenden anhand eines Ausführungsbeispiels unter Bezugnahme auf die Zeichnung näher erläutert; in dieser zeigen:
  • Fig. 1
    eine schematische Querschnittsdarstellung einer beispielhaften Ausführungsform eines elektrischen Verbinders, wobei die elektrischen Kontakte der Übersichtlichkeit halber weggelassen sind,
    Fig. 2
    eine schematische Darstellung eines in den elektrischen Verbinder gemäß Fig. 1 einsetzbaren elektrischen Kontaktes,
    Fig. 3
    eine schematische Längsschnittdarstellung des elektrischen Verbinders gemäß Fig. 1, wobei die elektrischen Kontakte der Übersichtlichkeit halber wieder weggelassen sind,
    Fig. 4
    eine schematische perspektivische Teilansicht des elektrischen Verbinders gemäß Fig. 1, wobei auch ein durch die Dichtung hindurchzustechender elektrischer Kontakt dargestellt ist,
    Fig. 5
    eine mit der Fig. 4 vergleichbare Darstellung des elektrischen Verbinders in einer Phase, in der der elektrische Kontakt bereits so weit eingesetzt ist, dass er eine der beiden Schichten der Dichtung durchsetzt,
    Fig. 6
    eine mit der Fig. 4 vergleichbare Darstellung des elektrischen Verbinders in einer Phase, in der der elektrische Kontakt bereits so weit eingesetzt ist, dass er beide Schichten der Dichtung durchsetzt,
    Fig. 7
    eine mit der Fig. 4 vergleichbare Darstellung des elektrischen Verbinders in der Phase, in der der elektrische Kontakt seine Endposition erreicht hat, in der er mit einem Ende in die betreffende Kammer hineinragt und im Bereich seines anderen Endes von der Dichtung umgeben ist,
    Fig. 8
    eine schematische Draufsicht eines Teils des elektrischen Verbinders gemäß Fig. 1 bei geöffneter Filmscharnierklappe, wobei die elektrischen Kontakte und die Dichtung der Übersichtlichkeit halber weggelassen sind,
    Fig. 9
    eine schematische Innenansicht eines Teils der Filmscharnierklappe und
    Fig. 10
    eine schematische Längsschnittdarstellung einer Kammer des Verbinders gemäß Fig. 1 mit einem an diese Kammer angrenzenden Aufnahmebereich.
  • In den Fig. 1 bis 10 ist ein Ausführungsbeispiel eines elektrischen Verbinders 10 dargestellt, bei dem es sich beispielsweise um einen Steckverbinder handeln kann.
  • Der elektrische Verbinder 10 umfasst mehrere Kammern 12 zur Aufnahme von elektrischen Kontakten 14 sowie eine im Eingangsbereich der Kammern 12 angeordnete Dichtung 16. Beim Bestücken des elektrischen Verbinders 10 werden die elektrischen Kontakte 14 durch diese Dichtung 16 hindurchgesteckt oder hindurchgestochen.
  • In Kontaktsteckrichtung KS betrachtet unmittelbar hinter der Dichtung 16 ist jeweils ein quer zur Kontaktsteckrichtung KS erweiterter Aufnahmebereich 18 für beim Hindurchstecken eines jeweiligen elektrischen Kontaktes 14 verdrängtes Dichtungsmaterial vorgesehen.
  • Alternativ oder zusätzlich kann auch unmittelbar vor der Dichtung 16 jeweils ein quer zur Kontaktsteckrichtung KS erweiterter Aufnahmebereich 20 vorgesehen sein. Ein solcher vorderer Aufnahmebereich 20 dient der Aufnahme von beim Herausziehen eines jeweiligen Kontaktes 14 verdrängtem Dichtungsmaterial.
  • Wie insbesondere anhand der Fig. 1, 3 und 10 zu erkennen ist, nimmt der Querschnitt eines jeweiligen Aufnahmebereichs 18, 20 zur Dichtung 16 hin zu.
  • Wie insbesondere anhand der Fig. 1 und 10 zu erkennen ist, ist ein jeweiliger hinterer Aufnahmebereich 18 in Kontaktsteckrichtung KS betrachtet zwischen der Dichtung 16 und der zugeordneten Kammer 12 bzw. zwischen der Dichtung 16 und der eingangsseitigen Kante 22 der Kammer 12 vorgesehen.
  • Der hintere Aufnahmebereich 18 kann beispielsweise eine Fuge umfassen. Entsprechend kann auch der vordere Aufnahmebereich 20 beispielsweise durch eine Fuge oder dergleichen gebildet sein.
  • Der hintere Aufnahmebereich 18 ist nun bevorzugt so dimensioniert, dass beim Bestücken des elektrischen Verbinders 10 zumindest im Wesentlichen kein Dichtungsmaterial in die Kammer 12 gelangt.
  • Der vordere Aufnahmebereich 20 ist auf der Innenseite einer mit wenigstens einer Kontaktöffnung 24 versehenen Stirnwand 26 des elektrischen Verbinders 10 vorgesehen. Dabei kann die Stirnwand 26 beispielsweise durch eine Filmscharnierklappe 28 oder dergleichen gebildet sein.
  • Wie am besten anhand der Fig. 1 und 10 zu erkennen ist, ist der hintere Aufnahmebereich 18 im vorliegenden Fall durch zwei einander gegenüberliegende, zur Dichtung 16 hin divergierende Wände 18', 18" begrenzt.
  • In gleicher Weise kann auch der vordere Aufnahmebereich 20 durch zwei einander gegenüberliegende, zur Dichtung 16 hin divergierende Wände 20', 20" begrenzt sein (vgl. insbesondere die Fig. 1 und 4).
  • Die Dichtung 16 ist in Kontaktsteckrichtung KS betrachtet in mehrere Schichten oder Lagen unterteilt. Beim vorliegenden Ausführungsbeispiel ist die Dichtung 16 in zwei solche in Kontaktsteckrichtung KS aufeinanderfolgende Schichten 161, 162 unterteilt (vgl. insbesondere die Fig. 1, 3 und 4 bis 7).
  • Überdies kann die Dichtung 16 im Bereich eines jeweiligen elektrischen Kontaktes 14 in Kontaktsteckrichtung KS betrachtet in zumindest zwei in Kontaktsteckrichtung KS einen Abstand a voneinander aufweisende Steckbereiche 30 unterteilt sein (vgl. insbesondere Fig. 1). Im vorliegenden Fall ist eine Unterteilung in zwei solche Steckbereiche 30 vorgesehen.
  • Beim vorliegenden Ausführungsbeispiel ist die Dichtung 16 beispielsweise in zwei Lagen oder Schichten 161, 162 unterteilt, und die in Kontaktsteckrichtung KS einen Abstand a voneinander aufweisenden Steckbereiche 30 sind auf diese Lagen bzw. Schichten 161, 162 verteilt.
  • Ein jeweiliger Steckbereich 30 kann für den zugeordneten elektrischen Kontakt 14 beispielsweise mit einer Öffnung 32 versehen sein (vgl. insbesondere die Fig. 1 und 3 bis 5). Der maximale Durchmesser einer solchen Öffnung 32 ist vorzugsweise kleiner als die maximale Querabmessung des betreffenden elektrischen Kontaktes 14 und insbesondere kleiner als der Außendurchmesser der betreffenden Leitung, an der der Kontakt 14 vorgesehen ist.
  • Fig. 1 zeigt den elektrischen Verbinder 10 in einer schematischen Querschnittsdarstellung, in der die elektrischen Kontakte 14 (vgl. z.B. Fig. 2) der Übersichtlichkeit halber weggelassen sind. Ein entsprechender, in dem Verbinder 10 einsetzbarer elektrischer Kontakt ist beispielsweise in der Fig. 2 gezeigt.
  • Fig. 3 zeigt den elektrischen Verbinder 10 in einer schematischen Längsschnittdarstellung. Auch in diesem Fall sind die elektrischen Kontakte 14 (vgl. insbesondere wieder Fig. 2) der Übersichtlichkeit halber wieder weggelassen.
  • Mit dem Doppelpfeil in der Darstellung gemäß Fig. 2 ist angedeutet, dass das beim Einstecken oder Herausziehen des elektrischen Kontaktes 14 verdrängte Dichtungsmaterial in dem hinteren Aufnahmebereich 18 bzw. dem vorderen Aufnahmebereich 20 aufgenommen wird.
  • Fig. 4 zeigt den elektrischen Verbinder 10 in einer schematischen perspektivischen Teilansicht, wobei auch ein durch die Dichtung 16 hindurchzustechender elektrischer Kontakt 14 dargestellt ist. In einem solchen Fall ist der elektrische Kontakt 14 durch die Kontaktöffnung 24 der Filmscharnierklappe 28 hindurch lediglich bis an die Dichtung 16 herangeführt, jedoch noch nicht durch diese hindurchgesteckt.
  • Fig. 5 zeigt den elektrischen Verbinder 10 in einer Phase, in der der elektrische Kontakt 14 bereits so weit eingesetzt ist, dass er die erste Schicht 161 der Dichtung 16 durchsetzt.
  • In Fig. 6 ist der elektrische Verbinder 10 in einer Phase gezeigt, in der der elektrische Kontakt 14 bereits so weit eingesetzt ist, dass er beide Schichten 161, 162 der Dichtung 16 durchsetzt.
  • Fig. 7 zeigt den elektrischen Verbinder 10 in einer Phase, in der der elektrische Kontakt 14 seine Endposition erreicht hat, in der er mit einem Ende in die betreffende Kammer 12 hineinragt und im Bereich seines anderen Endes von der Dichtung 16 umgeben ist.
  • Fig. 8 zeigt in schematischer Draufsicht einen Teil des elektrischen Verbinders 10 bei geöffneter Filmscharnierklappe 28. Dabei sind die elektrischen Kontakte 14 und die Dichtung 16 der Übersichtlichkeit halber weggelassen.
  • In der Darstellung dieser Fig. 8 sind insbesondere wieder die beiden einander gegenüberliegenden, zur Dichtung 16 hin divergierenden Wände 18', 18" zu erkennen, die den hinteren Aufnahmebereich 18 seitlich begrenzen.
  • Fig. 9 zeigt eine schematische Innenansicht eines Teils der Filmscharnierklappe 28. In der Darstellung dieser Fig. 9 sind die beiden einander gegenüberliegenden, zur Dichtung 16 hin divergierenden Wände 20', 20" zu erkennen, durch die der vordere Aufnahmebereich 20 seitlich begrenzt wird.
  • Fig. 10 zeigt in schematischer Längsschnittdarstellung nochmals eine Kammer 12 des elektrischen Verbinders 10 mit einem an diese Kammer 12 angrenzenden hinteren Aufnahmebereich 18. Dabei ergibt sich im vorliegenden Fall pro Kammer jeweils ein Raumzuwachs von beispielsweise etwa 20 % für das beim Einsetzen des betreffenden elektrischen Kontaktes verdrängte Dichtungsmaterial.
  • Im vorliegenden Fall besitzen die Aufnahmebereiche 18, 20 beispielsweise einen trapezförmigen Querschnitt (vgl. z.B. die Figuren 1 und 10). Der jeweilige Querschnitt dieser Aufnahmebereiche 18, 20 kann grundsätzlich jedoch auch eine beliebige andere Form besitzen. So können diese Bereiche beispielsweise auch rechteckig, oval, rund, elliptisch usw. ausgestaltet sein.
  • Bezugszeichenliste
  • 10
    elektrischer Verbinder
    12
    Kammer
    14
    elektrischer Kontakt
    16
    Dichtung
    161
    Schicht, Lage
    162
    Schicht, Lage
    18
    hinterer Aufnahmebereich
    18'
    Wand
    18"
    Wand
    20
    vorderer Aufnahmebereich
    20'
    Wand
    20"
    eingangsseitige Kante
    24
    Kontaktöffnung
    26
    Stirnwand
    28
    Filmscharnierklappe
    30
    Steckbereich
    32
    Öffnung
    a
    Abstand
    KS
    Kontaktsteckrichtung

Claims (13)

  1. Elektrischer Verbinder (10) mit wenigstens einer Kammer (12) zur Aufnahme wenigstens eines elektrischen Kontaktes (14) und einer im Eingangsbereich der Kammer (12) angeordneten Dichtung (16), durch die der elektrische Kontakt (14) beim Bestücken des Verbinders (10) hindurch gesteckt oder hindurch gestochen wird, wobei in Kontaktsteckrichtung (KS) betrachtet unmittelbar hinter und/oder unmittelbar vor der Dichtung (16) jeweils ein quer zur Kontaktsteckrichtung (KS) erweiterter Aufnahmebereich (18, 20) für beim Hindurchstecken bzw. Herausziehen des Kontaktes (14) verdrängtes Dichtungsmaterial vorgesehen ist,
    dadurch gekennzeichnet,
    dass die Dichtung (16) in Kontaktsteckrichtung (KS) betrachtet in zumindest zwei Schichten (161, 162) oder Lagen unterteilt ist.
  2. Verbinder nach Anspruch 1,
    dadurch gekennzeichnet,
    dass der Querschnitt eines jeweiligen Aufnahmebereichs (18, 20) zur Dichtung (16) hin zunimmt.
  3. Verbinder nach Anspruch 1 oder 2,
    dadurch gekennzeichnet,
    dass der hintere Aufnahmebereich (18) in Kontaktsteckrichtung (KS) betrachtet zwischen der Dichtung (16) und der Kammer (12) vorgesehen ist.
  4. Verbinder nach einem der vorhergehenden Ansprüche,
    dadurch gekennzeichnet,
    dass der hintere Aufnahmebereich (18) eine Fuge umfasst.
  5. Verbinder nach einem der vorhergehenden Ansprüche,
    dadurch gekennzeichnet,
    dass der vordere Aufnahmebereich (20) eine Fuge umfasst.
  6. Verbinder nach einem der vorhergehenden Ansprüche,
    dadurch gekennzeichnet,
    dass der hintere Aufnahmebereich (18) so dimensioniert ist, dass beim Bestücken des Verbinders (10) zumindest im Wesentlichen kein Dichtungsmaterial in die Kammer gelangt.
  7. Verbinder nach einem der vorhergehenden Ansprüche,
    dadurch gekennzeichnet,
    dass der vordere Aufnahmebereich (20) auf der Innenseite einer mit wenigstens einer Kontaktöffnung (24) versehenen Stirnwand (26) des Verbinders vorgesehen ist.
  8. Verbinder nach Anspruch 7,
    dadurch gekennzeichnet,
    dass die Stirnwand (26) durch eine Filmscharnierklappe (28) gebildet ist.
  9. Verbinder nach einem der vorhergehenden Ansprüche,
    dadurch gekennzeichnet,
    dass der hintere Aufnahmebereich (18) durch zwei einander gegenüber liegende, zur Dichtung (16) hin divergierende Wände (18', 18") begrenzt ist.
  10. Verbinder nach einem der vorhergehenden Ansprüche,
    dadurch gekennzeichnet,
    dass der vordere Aufnahmebereich (20) durch zwei einander gegenüber liegende, zur Dichtung (16) hin divergierende Wände (20', 20") begrenzt ist.
  11. Verbinder nach einem der vorhergehenden Ansprüche,
    dadurch gekennzeichnet,
    dass die Dichtung (16) im Bereich eines jeweiligen elektrischen Kontaktes (14) in Kontaktsteckrichtung (KS) betrachtet in zumindest zwei in Kontaktsteckrichtung einen Abstand (a) voneinander aufweisende Steckbereiche (30) unterteilt ist.
  12. Verbinder nach Anspruch 11,
    dadurch gekennzeichnet,
    dass die Dichtung (16) insgesamt in zumindest zwei Lagen oder Schichten (161, 162) unterteilt ist und die in Kontaktsteckrichtung (KS) einen Abstand (a) voneinander aufweisenden Steckbereiche (30) auf diese Lagen bzw. Schichten (161, 162) verteilt sind.
  13. Verbinder nach einem der vorhergehenden Ansprüche,
    dadurch gekennzeichnet,
    dass ein jeweiliger Steckbereich (30) für den zugeordneten elektrischen Kontakt (14) mit einer Öffnung (32) versehen ist, deren maximaler Durchmesser vorzugsweise kleiner als die maximale Querabmessung des betreffenden Kontaktes (14) und insbesondere kleiner als der Aussendurchmesser der betreffenden Leitung ist, an der der Kontakt (14) vorgesehen ist.
EP04000887A 2004-01-16 2004-01-16 Elektrischer Verbinder Expired - Lifetime EP1555728B1 (de)

Priority Applications (5)

Application Number Priority Date Filing Date Title
DE502004003207T DE502004003207D1 (de) 2004-01-16 2004-01-16 Elektrischer Verbinder
AT04000887T ATE357069T1 (de) 2004-01-16 2004-01-16 Elektrischer verbinder
EP04000887A EP1555728B1 (de) 2004-01-16 2004-01-16 Elektrischer Verbinder
US11/035,600 US7156697B2 (en) 2004-01-16 2005-01-14 Sealed electrical connector
JP2005007738A JP4201768B2 (ja) 2004-01-16 2005-01-14 電気コネクタ

Applications Claiming Priority (1)

Application Number Priority Date Filing Date Title
EP04000887A EP1555728B1 (de) 2004-01-16 2004-01-16 Elektrischer Verbinder

Publications (2)

Publication Number Publication Date
EP1555728A1 EP1555728A1 (de) 2005-07-20
EP1555728B1 true EP1555728B1 (de) 2007-03-14

Family

ID=34610189

Family Applications (1)

Application Number Title Priority Date Filing Date
EP04000887A Expired - Lifetime EP1555728B1 (de) 2004-01-16 2004-01-16 Elektrischer Verbinder

Country Status (5)

Country Link
US (1) US7156697B2 (de)
EP (1) EP1555728B1 (de)
JP (1) JP4201768B2 (de)
AT (1) ATE357069T1 (de)
DE (1) DE502004003207D1 (de)

Families Citing this family (11)

* Cited by examiner, † Cited by third party
Publication number Priority date Publication date Assignee Title
DE10300264A1 (de) * 2003-01-08 2004-08-19 Delphi Technologies, Inc., Troy Blockdichtungssystem
KR20070122536A (ko) * 2005-04-11 2007-12-31 에프씨아이 전기 커넥터용 그로밋 및 이러한 그로밋을 포함하는 전기커넥터
JP2007042449A (ja) * 2005-08-03 2007-02-15 Yazaki Corp フラットケーブル用防水コネクタ
JP2007324082A (ja) * 2006-06-05 2007-12-13 Yazaki Corp 防水コネクタ
US20090181567A1 (en) * 2008-01-14 2009-07-16 Lincoln Global, Inc. Sealed connector
JP5923898B2 (ja) * 2011-08-30 2016-05-25 ブラザー工業株式会社 現像装置
EP2565988B1 (de) * 2011-09-02 2015-04-08 Tyco Electronics AMP Italia S.r.l. Dichtungsanordnung
WO2014040699A1 (de) * 2012-09-15 2014-03-20 Leoni Bordnetz-Systeme Gmbh Elektrischer kontaktstecker sowie steckergehäuse
CN104868290A (zh) * 2014-02-20 2015-08-26 安普泰科电子韩国有限公司 插座组件
DE102018120104B4 (de) 2018-08-17 2025-06-12 Volkswagen Aktiengesellschaft Steckverbinder zum Bereitstellen eines elektrischen Anschlusses und Verfahren
US10587068B1 (en) * 2018-09-25 2020-03-10 The United States Of America As Represented By The Secretary Of The Navy Tool-less environmental connector sealing plug

Family Cites Families (5)

* Cited by examiner, † Cited by third party
Publication number Priority date Publication date Assignee Title
JPH09289057A (ja) * 1996-04-19 1997-11-04 Yazaki Corp 防水コネクタ
JP2001052804A (ja) * 1999-08-03 2001-02-23 Yazaki Corp 防水コネクタ及び該防水コネクタの組付方法
JP2002141137A (ja) 2000-11-01 2002-05-17 Sumitomo Wiring Syst Ltd 防水コネクタ
US6896531B2 (en) * 2001-02-27 2005-05-24 Delphi Technologies, Inc. Electrical connector assembly
JP2002270282A (ja) * 2001-03-12 2002-09-20 Yazaki Corp 防水コネクタ及び防水コネクタの端子挿通方法

Also Published As

Publication number Publication date
ATE357069T1 (de) 2007-04-15
JP2005203372A (ja) 2005-07-28
JP4201768B2 (ja) 2008-12-24
DE502004003207D1 (de) 2007-04-26
EP1555728A1 (de) 2005-07-20
US7156697B2 (en) 2007-01-02
US20050159046A1 (en) 2005-07-21

Similar Documents

Publication Publication Date Title
DE3876739T2 (de) Elektrische kontaktklemme der kaefigart.
DE2752117C2 (de) Elektrisches Verbindergehäuse
DE60221409T2 (de) Elektrischer verbinder
DE4131768B4 (de) Elektrischer Verbinder mit Doppelverriegelung
DE2544893A1 (de) Elektrisches verbindungselement fuer eine klemmverbindung und eine elektrische verbindung
DE3243437A1 (de) Steckverbinderstueck
EP1555728B1 (de) Elektrischer Verbinder
DE2941029A1 (de) Zum einpressverbinden mit einem elektrischen leiter vorgesehenen elektrischen anschlussteil, verfahren zum verbinden eines anschlussteils mit einem elektrischen leiter sowie verbinder mit einer mehrzahl elektrischer anschlussteile
EP0333988A2 (de) Elektrische miniaturisierte Rundsteckkontakte mit Rundsteckhülse und Rundsteckstift
DE102012111646A1 (de) Isolierkörper mit integriertem Schirmelement
DE102015210663A1 (de) Elektrischer Anschluss
DE2642929B2 (de) Elektrischer Verbinder
DE10301281B4 (de) Verbinder
DE69507504T2 (de) Dichtungseinheit,insbesondere für elektrische verbinder
EP0456858B1 (de) Erdungsvorrichtung
EP1556924B1 (de) Blockdichtungssystem
DE3879986T2 (de) Elektrischer Verbinder.
DE102016217456B3 (de) Anordnung für einen elektrischen Steckverbinder sowie Steckverbinder mit einem Kontaktgehäuse, Umgehäuse und Sicherungselement
DE10004813A1 (de) Schutzanschluss und Verfahren zu seiner Herstellung
DE69021012T2 (de) Abgeschirmter elektrischer Verbinder.
DE10248119B3 (de) Steckkarte für elektronische Datenverarbeitungsgeräte
DE102012223082A1 (de) Kontaktelement und Verfahren zur Herstellung eines Kontaktelements
DE102017111293A1 (de) Kontaktstift
DE68911143T2 (de) Vorrichtung zum durchziehen von elektrischen leitern in schränke oder gehäuse für elektrische einrichtung.
DE20218891U1 (de) Elektrischer Steckverbinder

Legal Events

Date Code Title Description
PUAI Public reference made under article 153(3) epc to a published international application that has entered the european phase

Free format text: ORIGINAL CODE: 0009012

AK Designated contracting states

Kind code of ref document: A1

Designated state(s): AT BE BG CH CY CZ DE DK EE ES FI FR GB GR HU IE IT LI LU MC NL PT RO SE SI SK TR

AX Request for extension of the european patent

Extension state: AL LT LV MK

17P Request for examination filed

Effective date: 20050812

AKX Designation fees paid

Designated state(s): AT BE BG CH CY CZ DE DK EE ES FI FR GB GR HU IE IT LI LU MC NL PT RO SE SI SK TR

GRAP Despatch of communication of intention to grant a patent

Free format text: ORIGINAL CODE: EPIDOSNIGR1

GRAS Grant fee paid

Free format text: ORIGINAL CODE: EPIDOSNIGR3

GRAA (expected) grant

Free format text: ORIGINAL CODE: 0009210

AK Designated contracting states

Kind code of ref document: B1

Designated state(s): AT BE BG CH CY CZ DE DK EE ES FI FR GB GR HU IE IT LI LU MC NL PT RO SE SI SK TR

PG25 Lapsed in a contracting state [announced via postgrant information from national office to epo]

Ref country code: SI

Free format text: LAPSE BECAUSE OF FAILURE TO SUBMIT A TRANSLATION OF THE DESCRIPTION OR TO PAY THE FEE WITHIN THE PRESCRIBED TIME-LIMIT

Effective date: 20070314

Ref country code: IE

Free format text: LAPSE BECAUSE OF FAILURE TO SUBMIT A TRANSLATION OF THE DESCRIPTION OR TO PAY THE FEE WITHIN THE PRESCRIBED TIME-LIMIT

Effective date: 20070314

Ref country code: NL

Free format text: LAPSE BECAUSE OF FAILURE TO SUBMIT A TRANSLATION OF THE DESCRIPTION OR TO PAY THE FEE WITHIN THE PRESCRIBED TIME-LIMIT

Effective date: 20070314

Ref country code: FI

Free format text: LAPSE BECAUSE OF FAILURE TO SUBMIT A TRANSLATION OF THE DESCRIPTION OR TO PAY THE FEE WITHIN THE PRESCRIBED TIME-LIMIT

Effective date: 20070314

REG Reference to a national code

Ref country code: GB

Ref legal event code: FG4D

Free format text: NOT ENGLISH

REG Reference to a national code

Ref country code: CH

Ref legal event code: EP

REF Corresponds to:

Ref document number: 502004003207

Country of ref document: DE

Date of ref document: 20070426

Kind code of ref document: P

REG Reference to a national code

Ref country code: IE

Ref legal event code: FG4D

Free format text: LANGUAGE OF EP DOCUMENT: GERMAN

PG25 Lapsed in a contracting state [announced via postgrant information from national office to epo]

Ref country code: SE

Free format text: LAPSE BECAUSE OF FAILURE TO SUBMIT A TRANSLATION OF THE DESCRIPTION OR TO PAY THE FEE WITHIN THE PRESCRIBED TIME-LIMIT

Effective date: 20070614

PG25 Lapsed in a contracting state [announced via postgrant information from national office to epo]

Ref country code: ES

Free format text: LAPSE BECAUSE OF FAILURE TO SUBMIT A TRANSLATION OF THE DESCRIPTION OR TO PAY THE FEE WITHIN THE PRESCRIBED TIME-LIMIT

Effective date: 20070625

ET Fr: translation filed
PG25 Lapsed in a contracting state [announced via postgrant information from national office to epo]

Ref country code: PT

Free format text: LAPSE BECAUSE OF FAILURE TO SUBMIT A TRANSLATION OF THE DESCRIPTION OR TO PAY THE FEE WITHIN THE PRESCRIBED TIME-LIMIT

Effective date: 20070814

NLV1 Nl: lapsed or annulled due to failure to fulfill the requirements of art. 29p and 29m of the patents act
GBV Gb: ep patent (uk) treated as always having been void in accordance with gb section 77(7)/1977 [no translation filed]

Effective date: 20070314

REG Reference to a national code

Ref country code: IE

Ref legal event code: FD4D

PG25 Lapsed in a contracting state [announced via postgrant information from national office to epo]

Ref country code: GB

Free format text: LAPSE BECAUSE OF FAILURE TO SUBMIT A TRANSLATION OF THE DESCRIPTION OR TO PAY THE FEE WITHIN THE PRESCRIBED TIME-LIMIT

Effective date: 20070314

Ref country code: SK

Free format text: LAPSE BECAUSE OF FAILURE TO SUBMIT A TRANSLATION OF THE DESCRIPTION OR TO PAY THE FEE WITHIN THE PRESCRIBED TIME-LIMIT

Effective date: 20070314

PG25 Lapsed in a contracting state [announced via postgrant information from national office to epo]

Ref country code: RO

Free format text: LAPSE BECAUSE OF FAILURE TO SUBMIT A TRANSLATION OF THE DESCRIPTION OR TO PAY THE FEE WITHIN THE PRESCRIBED TIME-LIMIT

Effective date: 20070314

Ref country code: CZ

Free format text: LAPSE BECAUSE OF FAILURE TO SUBMIT A TRANSLATION OF THE DESCRIPTION OR TO PAY THE FEE WITHIN THE PRESCRIBED TIME-LIMIT

Effective date: 20070314

PLBE No opposition filed within time limit

Free format text: ORIGINAL CODE: 0009261

STAA Information on the status of an ep patent application or granted ep patent

Free format text: STATUS: NO OPPOSITION FILED WITHIN TIME LIMIT

PG25 Lapsed in a contracting state [announced via postgrant information from national office to epo]

Ref country code: DK

Free format text: LAPSE BECAUSE OF FAILURE TO SUBMIT A TRANSLATION OF THE DESCRIPTION OR TO PAY THE FEE WITHIN THE PRESCRIBED TIME-LIMIT

Effective date: 20070314

26N No opposition filed

Effective date: 20071217

PG25 Lapsed in a contracting state [announced via postgrant information from national office to epo]

Ref country code: GR

Free format text: LAPSE BECAUSE OF FAILURE TO SUBMIT A TRANSLATION OF THE DESCRIPTION OR TO PAY THE FEE WITHIN THE PRESCRIBED TIME-LIMIT

Effective date: 20070615

BERE Be: lapsed

Owner name: DELPHI TECHNOLOGIES, INC.

Effective date: 20080131

PG25 Lapsed in a contracting state [announced via postgrant information from national office to epo]

Ref country code: MC

Free format text: LAPSE BECAUSE OF NON-PAYMENT OF DUE FEES

Effective date: 20080131

REG Reference to a national code

Ref country code: CH

Ref legal event code: PL

PG25 Lapsed in a contracting state [announced via postgrant information from national office to epo]

Ref country code: LI

Free format text: LAPSE BECAUSE OF NON-PAYMENT OF DUE FEES

Effective date: 20080131

Ref country code: CH

Free format text: LAPSE BECAUSE OF NON-PAYMENT OF DUE FEES

Effective date: 20080131

PG25 Lapsed in a contracting state [announced via postgrant information from national office to epo]

Ref country code: EE

Free format text: LAPSE BECAUSE OF FAILURE TO SUBMIT A TRANSLATION OF THE DESCRIPTION OR TO PAY THE FEE WITHIN THE PRESCRIBED TIME-LIMIT

Effective date: 20070314

PG25 Lapsed in a contracting state [announced via postgrant information from national office to epo]

Ref country code: BE

Free format text: LAPSE BECAUSE OF NON-PAYMENT OF DUE FEES

Effective date: 20080131

PG25 Lapsed in a contracting state [announced via postgrant information from national office to epo]

Ref country code: AT

Free format text: LAPSE BECAUSE OF NON-PAYMENT OF DUE FEES

Effective date: 20080116

PG25 Lapsed in a contracting state [announced via postgrant information from national office to epo]

Ref country code: CY

Free format text: LAPSE BECAUSE OF FAILURE TO SUBMIT A TRANSLATION OF THE DESCRIPTION OR TO PAY THE FEE WITHIN THE PRESCRIBED TIME-LIMIT

Effective date: 20070314

PG25 Lapsed in a contracting state [announced via postgrant information from national office to epo]

Ref country code: BG

Free format text: LAPSE BECAUSE OF FAILURE TO SUBMIT A TRANSLATION OF THE DESCRIPTION OR TO PAY THE FEE WITHIN THE PRESCRIBED TIME-LIMIT

Effective date: 20070614

PG25 Lapsed in a contracting state [announced via postgrant information from national office to epo]

Ref country code: LU

Free format text: LAPSE BECAUSE OF NON-PAYMENT OF DUE FEES

Effective date: 20080116

Ref country code: HU

Free format text: LAPSE BECAUSE OF FAILURE TO SUBMIT A TRANSLATION OF THE DESCRIPTION OR TO PAY THE FEE WITHIN THE PRESCRIBED TIME-LIMIT

Effective date: 20070915

PG25 Lapsed in a contracting state [announced via postgrant information from national office to epo]

Ref country code: TR

Free format text: LAPSE BECAUSE OF FAILURE TO SUBMIT A TRANSLATION OF THE DESCRIPTION OR TO PAY THE FEE WITHIN THE PRESCRIBED TIME-LIMIT

Effective date: 20070314

REG Reference to a national code

Ref country code: FR

Ref legal event code: PLFP

Year of fee payment: 13

REG Reference to a national code

Ref country code: FR

Ref legal event code: PLFP

Year of fee payment: 14

REG Reference to a national code

Ref country code: FR

Ref legal event code: PLFP

Year of fee payment: 15

REG Reference to a national code

Ref country code: DE

Ref legal event code: R082

Ref document number: 502004003207

Country of ref document: DE

Representative=s name: MANITZ FINSTERWALD PATENT- UND RECHTSANWALTSPA, DE

Ref country code: DE

Ref legal event code: R082

Ref document number: 502004003207

Country of ref document: DE

Representative=s name: MANITZ FINSTERWALD PATENTANWAELTE PARTMBB, DE

Ref country code: DE

Ref legal event code: R081

Ref document number: 502004003207

Country of ref document: DE

Owner name: APTIV TECHNOLOGIES LIMITED, BB

Free format text: FORMER OWNER: DELPHI TECHNOLOGIES, INC., TROY, MICH., US

PGFP Annual fee paid to national office [announced via postgrant information from national office to epo]

Ref country code: FR

Payment date: 20230123

Year of fee payment: 20

PGFP Annual fee paid to national office [announced via postgrant information from national office to epo]

Ref country code: IT

Payment date: 20230109

Year of fee payment: 20

Ref country code: DE

Payment date: 20230106

Year of fee payment: 20

P01 Opt-out of the competence of the unified patent court (upc) registered

Effective date: 20230425

REG Reference to a national code

Ref country code: DE

Ref legal event code: R071

Ref document number: 502004003207

Country of ref document: DE