EP1550784B1 - Schliesskeil-Antriebsbaugruppe für ein Kraftfahrzeug-Türschloss - Google Patents
Schliesskeil-Antriebsbaugruppe für ein Kraftfahrzeug-Türschloss Download PDFInfo
- Publication number
- EP1550784B1 EP1550784B1 EP20040027979 EP04027979A EP1550784B1 EP 1550784 B1 EP1550784 B1 EP 1550784B1 EP 20040027979 EP20040027979 EP 20040027979 EP 04027979 A EP04027979 A EP 04027979A EP 1550784 B1 EP1550784 B1 EP 1550784B1
- Authority
- EP
- European Patent Office
- Prior art keywords
- striker
- drive assembly
- carrier
- assembly according
- striker carrier
- Prior art date
- Legal status (The legal status is an assumption and is not a legal conclusion. Google has not performed a legal analysis and makes no representation as to the accuracy of the status listed.)
- Expired - Lifetime
Links
- 239000000872 buffer Substances 0.000 claims abstract 2
- 230000008878 coupling Effects 0.000 claims description 33
- 238000010168 coupling process Methods 0.000 claims description 33
- 238000005859 coupling reaction Methods 0.000 claims description 33
- 239000000463 material Substances 0.000 claims description 2
- 230000003068 static effect Effects 0.000 claims description 2
- 235000004443 Ricinus communis Nutrition 0.000 claims 1
- 240000000528 Ricinus communis Species 0.000 claims 1
- 238000001514 detection method Methods 0.000 claims 1
- 230000005540 biological transmission Effects 0.000 description 11
- 238000006073 displacement reaction Methods 0.000 description 8
- 238000010276 construction Methods 0.000 description 2
- 238000009434 installation Methods 0.000 description 2
- 238000004519 manufacturing process Methods 0.000 description 2
- 230000036316 preload Effects 0.000 description 2
- 238000003860 storage Methods 0.000 description 2
- 239000000853 adhesive Substances 0.000 description 1
- 238000004026 adhesive bonding Methods 0.000 description 1
- 230000001070 adhesive effect Effects 0.000 description 1
- 230000000712 assembly Effects 0.000 description 1
- 238000000429 assembly Methods 0.000 description 1
- 238000011109 contamination Methods 0.000 description 1
- 230000036461 convulsion Effects 0.000 description 1
- 238000005520 cutting process Methods 0.000 description 1
- 230000001419 dependent effect Effects 0.000 description 1
- 238000011161 development Methods 0.000 description 1
- 230000018109 developmental process Effects 0.000 description 1
- 238000009826 distribution Methods 0.000 description 1
- 239000007789 gas Substances 0.000 description 1
- 238000003825 pressing Methods 0.000 description 1
- 230000035939 shock Effects 0.000 description 1
- 238000003466 welding Methods 0.000 description 1
Images
Classifications
-
- E—FIXED CONSTRUCTIONS
- E05—LOCKS; KEYS; WINDOW OR DOOR FITTINGS; SAFES
- E05B—LOCKS; ACCESSORIES THEREFOR; HANDCUFFS
- E05B81/00—Power-actuated vehicle locks
- E05B81/12—Power-actuated vehicle locks characterised by the function or purpose of the powered actuators
- E05B81/20—Power-actuated vehicle locks characterised by the function or purpose of the powered actuators for assisting final closing or for initiating opening
- E05B81/22—Power-actuated vehicle locks characterised by the function or purpose of the powered actuators for assisting final closing or for initiating opening by movement of the striker
-
- E—FIXED CONSTRUCTIONS
- E05—LOCKS; KEYS; WINDOW OR DOOR FITTINGS; SAFES
- E05B—LOCKS; ACCESSORIES THEREFOR; HANDCUFFS
- E05B81/00—Power-actuated vehicle locks
- E05B81/12—Power-actuated vehicle locks characterised by the function or purpose of the powered actuators
- E05B81/20—Power-actuated vehicle locks characterised by the function or purpose of the powered actuators for assisting final closing or for initiating opening
- E05B81/21—Power-actuated vehicle locks characterised by the function or purpose of the powered actuators for assisting final closing or for initiating opening with means preventing or detecting pinching of objects or body parts
-
- E—FIXED CONSTRUCTIONS
- E05—LOCKS; KEYS; WINDOW OR DOOR FITTINGS; SAFES
- E05B—LOCKS; ACCESSORIES THEREFOR; HANDCUFFS
- E05B81/00—Power-actuated vehicle locks
- E05B81/24—Power-actuated vehicle locks characterised by constructional features of the actuator or the power transmission
- E05B81/32—Details of the actuator transmission
- E05B81/46—Clutches
-
- Y—GENERAL TAGGING OF NEW TECHNOLOGICAL DEVELOPMENTS; GENERAL TAGGING OF CROSS-SECTIONAL TECHNOLOGIES SPANNING OVER SEVERAL SECTIONS OF THE IPC; TECHNICAL SUBJECTS COVERED BY FORMER USPC CROSS-REFERENCE ART COLLECTIONS [XRACs] AND DIGESTS
- Y10—TECHNICAL SUBJECTS COVERED BY FORMER USPC
- Y10T—TECHNICAL SUBJECTS COVERED BY FORMER US CLASSIFICATION
- Y10T292/00—Closure fasteners
- Y10T292/08—Bolts
- Y10T292/1043—Swinging
- Y10T292/1075—Operating means
- Y10T292/1082—Motor
-
- Y—GENERAL TAGGING OF NEW TECHNOLOGICAL DEVELOPMENTS; GENERAL TAGGING OF CROSS-SECTIONAL TECHNOLOGIES SPANNING OVER SEVERAL SECTIONS OF THE IPC; TECHNICAL SUBJECTS COVERED BY FORMER USPC CROSS-REFERENCE ART COLLECTIONS [XRACs] AND DIGESTS
- Y10—TECHNICAL SUBJECTS COVERED BY FORMER USPC
- Y10T—TECHNICAL SUBJECTS COVERED BY FORMER US CLASSIFICATION
- Y10T292/00—Closure fasteners
- Y10T292/68—Keepers
- Y10T292/696—With movable dog, catch or striker
-
- Y—GENERAL TAGGING OF NEW TECHNOLOGICAL DEVELOPMENTS; GENERAL TAGGING OF CROSS-SECTIONAL TECHNOLOGIES SPANNING OVER SEVERAL SECTIONS OF THE IPC; TECHNICAL SUBJECTS COVERED BY FORMER USPC CROSS-REFERENCE ART COLLECTIONS [XRACs] AND DIGESTS
- Y10—TECHNICAL SUBJECTS COVERED BY FORMER USPC
- Y10T—TECHNICAL SUBJECTS COVERED BY FORMER US CLASSIFICATION
- Y10T292/00—Closure fasteners
- Y10T292/68—Keepers
- Y10T292/696—With movable dog, catch or striker
- Y10T292/699—Motor controlled
Definitions
- the striker carrier 2 In the event that unilaterally open receptacles are provided, it is necessary to assign the striker carrier 2 a spring, by which the striker carrier 2 is biased in the prelocking position.
- a spring For the design of the spring various possibilities are known. For example, two or more springs can also be used in combination here.
Landscapes
- Lock And Its Accessories (AREA)
Description
- Die vorliegende Erfindung betrifft eine Schließkeil-Antriebsbaugruppe für ein Kraftfahrzeugschloß.
- Es ist bekannt, Kraftfahrzeugschlösser mit einer motorischen Schließhilfe zu versehen, um den Bedienungskomfort zu erhöhen. Motorische Schließhilfen werden z. B. für Heckklappenschlösser, Hecktürschlösser, aber mitunter auch für Schlösser von Kraftfahrzeug-Seitentüren verwendet.
- Es sind Kraftfahrzeugschlösser bekannt, bei denen die motorische Schließhilfe der Schloßfalle zugeordnet ist. Der Schließkeil ist bei diesen Kraftfahrzeugschlössern an einem der Schloßfalle gegenüberliegenden Bauteil der Karosserie, z. B. der B-Säule, der C-Säule oder dem Heckrahmen fest angeordnet. Der Schließkeil dient als Widerlager für die Schloßfalle, durch deren motorische Bewegung von der Vorschließstellung in die Hauptschließstellung die Kraftfahrzeugtür oder -klappe zugezogen wird.
- Die Anordnung der motorischen Schließhilfe an der Schloßfalle und damit an der Kraftfahrzeugtür kann zu konstruktiven Problemen führen. Diese lassen sich dadurch lösen, daß die motorische Schließhilfe nicht mehr der Schloßfalle sondern dem Schließkeil zugeordnet ist. Hierzu ist eine Schließkeil-Antriebsbaugruppe an oder in dem entsprechenden Bauteil der Karosserie, z. B. der B-Säule, der C-Säule oder dem Heckrahmen angeordnet. Hierdurch werden verschiedene Vorteile, wie z. B. die Unabhängigkeit der Betätigungsmechanik und der Zentralverriegelung des Kraftfahrzeug-Türschlosses von der Antriebseinrichtung der Schließhilfe erreicht. Eine aus Sicherheitsgründen notwendige Möglichkeit der Notöffnung ist leicht realisiert, da eine Betätigungsmechanik für eine Betätigung von Hand bezüglich der Schloßfalle wirksam bleibt. Eine konstruktive Umgehung der Antriebseinrichtung ist für die Notöffnung nicht erforderlich.
- Die Lehre der Erfindung geht aus von einer Schließkeil-Antriebsbaugruppe mit linear verschiebbar angeordnetem Schließkeilträger (
DE 197 37 996 A1 ). Zunächst ist an dem Schließkeilträger ein Schließkeil lösbar und austauschbar angeordnet. Der Schließkeil kann als keilförmiger Schließkeil, als Schließbügel, als Schließbolzen, etc. ausgeführt sein. Die Schließkeil-Antriebsbaugruppe ist dadurch universell für jeden Kraftfahrzeugtyp einsetzbar. - Bei der bekannten Schließkeil-Antriebsbaugruppe ist der Schließkeilträger mit einer Antriebseinrichtung verbunden, die einen elektrischen Antriebsmotor und ein Getriebe umfaßt. Anstelle des elektrischen Antriebsmotors können auch andere Antriebsmotoren, wie hydraulische oder pneumatische Motoren verwendet werden. Das Getriebe kann ein Schneckenradgetriebe, ein Zahnradgetriebe o. ä. sein. Der Schließkeilträger ist linear verschiebbar in einem Gehäuse angeordnet. Die Antriebseinrichtung ist fest mit dem Gehäuse verbunden.
- Der Schließkeilträger und mit ihm der Schließkeil ist mit Hilfe eines Exzenters von einer Vorschließstellung in eine Hauptschließstellung verschiebbar. Als Vorschließstellung wird dabei eine Stellung bezeichnet, in die der Schließkeil durch manuelles Schließen des entsprechenden Bauteils, wie z. B. einer Tür gebracht wird. In der Vorschließstellung wird der Schließkeil bereits von der Schloßfalle gehalten. Das entsprechende Bauteil ist in dieser Stellung geschlossen, eine an der Karosserie angeordnete Dichtung wird jedoch noch nicht vollständig zusammengedrückt, so daß insbesondere Fahrgeräusche im Inneren des Fahrzeugs laut hörbar sind. Als Hauptschließstellung wird die Stellung bezeichnet, in die der Schließkeil von der Vorschließstellung aus bewegbar ist. Die Dichtung wird in dieser Stellung zwischen der Karosserie und dem entsprechenden Bauteil des Kraftfahrzeugs zusammengedrückt.
- Der Exzenter, durch den der Schließkeil verschiebbar ist, wird mittels der zuvor beschriebenen Antriebseinrichtung angetrieben. Der Exzenter greift in eine mittig am Schließkeilträger angeordnete Aufnahme ein. Am Rand der Aufnahme im Schließkeilträger ist eine Kraftübertragungsfläche ausgebildet, an der der Exzenter reibungsarm kraftübertragend zur Anlage kommt. Die Aufnahme ist so geformt, daß der Schließkeilträger mittels des Exzenters von der Vorschließstellung in die Hauptschließstellung verschiebbar ist. Zusätzlich weist die bekannte Schließkeil-Antriebsbaugruppe noch eine Handstelleinrichtung auf, so daß der Schließkeil auch bei Ausfall der Antriebseinrichtung von der Vorschließstellung in die Hauptschließstellung verschiebbar und feststellbar ist.
- Nachteilig bei diesem Stand der Technik ist, daß durch den mittig in dem Schließkeilträger angeordneten Exzenter die Lage eines Exzenterantriebs festgelegt ist. Bei engem Bauraum ist eine Anpassung der Schließkeil-Antriebsbaugruppe an den vorhandenen Platz nicht möglich. Zudem wandert der Kraftangriffspunkt des Exzenters an dem Schließkeilträger während des Betriebs seitlich aus. Hierdurch ist die von der Dichtung aufgebrachte Gegenkraft am Kraftangriffspunkt des Exzenters nicht ständig in die genau zum Kraftangriff des Exzenters entgegengesetzte Richtung gerichtet. Dies führt zu einer ungleichmäßigen Belastung und erhöhtem Verschleiß.
-
DE 199 32 291 A offenbart eine alternative Konstruktion einer Schließkeil-Antriebsbaugruppe, die dem Oberbegriff des Anspruchs 1 entspricht. - Der vorliegenden Erfindung liegt das Problem zugrunde, eine Schließkeil-Antriebsbaugruppe anzugeben, bei der die Lage des Exzenterantriebs nicht bereits konstruktiv festgelegt ist. Auch soll die dem Kraftangriff des Exzenters entgegengesetzte Gegenkraft ständig in die genau zum Kraftangriff entgegengesetzte Richtung gerichtet sein können.
- Das obige Problem wird bei einer Schließkeil-Antriebsbaugruppe mit den Merkmalen von Anspruch 1 gelöst. Bevorzugte Ausgestaltungen und Weiterbildungen sind Gegenstand der Unteransprüche.
- Die grundlegende Idee der vorliegenden Erfindung liegt darin, an der Schließkeil-Antriebsbaugruppe zwei auf den Schließkeilträger wirkende Exzenter vorzusehen. Die beiden Exzenter sind so angeordnet, daß der von den beiden Exzentern resultierende Kraftangriff an dem Schließkeilträger symmetrisch zur Bewegungsachse des Schließkeils erfolgt. Da für die lineare Verschiebung des Schließkeils lediglich eine symmetrische Anordnung der Exzenter erforderlich ist, ist die Lage der Exzenter und damit auch die Lage von Exzenterantrieben nicht weiter festgelegt. Die Ausgestaltung kann je nach vorhandenem Bauraum erfolgen. Gleichzeitig bewirkt die symmetrische Anordnung der Exzenter, daß die Richtung des Kraftangriffs auf den Schließkeilträger konstant ist. Bei entsprechendem Aufbau von Dichtung und Schließkeil-Antriebsbaugruppe ist die von der Dichtung aufgebrachte Gegenkraft immer entgegengesetzt zum resultierenden Kraftangriff der Exzenter gerichtet, so daß eine ungleichmäßige Belastung ausbleibt. Schließlich ist die Anordnung mit zwei Exzentern insofern vorteilhaft, als die von der Schloßfalle auf den Schließkeil wirkende Kraft auf die beiden Exzenter aufgeteilt wird. Damit lassen sich die einzelnen Exzenter vergleichsweise schwach auslegen, ohne Antriebsleistung einbüßen zu müssen. Dies gilt nicht nur für das motorische Zuziehen, sondern auch für das manuelle Zuschlagen der Tür des Kraftfahrzeugs.
- Besonders vorteilhaft ist es, wenn der Kraftangriff der beiden Exzenter nicht unmittelbar an dem Schließkeilträger erfolgt, sondern an einer Kupplungsplatte, die an dem Schließkeilträger angeordnet ist. Wenn die Kupplungsplatte zudem noch schwenkbar an dem Schließkeilträger gelagert ist, kann hierdurch eine Anlauftoleranz der Exzenter ausgeglichen werden. Als Folge dessen müssen den Exzentern zum Antrieb zugeordnete Zahnräder nicht so genau aufeinander abgestimmt werden, was die Produktion vereinfacht und Kosten reduziert.
- Ein weiterer Vorteil besteht dann, wenn die Exzenterzapfen in Langlöcher der Kupplungsplatte, die im wesentlichen quer zur Bewegungsachse des Schließkeils angeordnet sind, eingreifen. Hierdurch ist es möglich, den Schließkeilträger und mit ihm den Schließkeil mittels der Exzenter sowohl von der Vorschließstellung in die Hauptschließstellung als auch von der Hauptschließstellung zurück in die Vorschließstellung zu verschieben. Auf eine Feder, die den Schließkeil in der Vorschließstellung vorspannt, damit dieser nach Wegbewegung der Exzenter wieder in die Vorschließstellung verschoben wird, kann hier verzichtet werden.
- Insbesondere vorteilhaft ist es, das Getriebe selbsthemmend auszuführen. Die Exzenter halten ihre Totpunktstellung zwar selbst ein, unter ungünstigen Umständen kann ein starker Ruck aber zum Verschieben des Schließkeilträgers von der Hauptschließstellung in die Vorschließstellung führen. Durch ein selbsthemmendes Getriebe wird diese Gefahr verringert.
- Weiter vorteilhaft ist der Einsatz von Mikroschaltern für die Steuerung der Antriebseinrichtung und deren Anordnung an den Exzentern. Die Mikroschalter sind hierfür so angeordnet, daß sie die Stellung der Exzenter erkennen und ein entsprechendes Signal an die Steuerung übermitteln. Die Exzenter können dadurch so gesteuert werden, daß diese ihre Totpunktstellung sicher erreichen.
- In einer weiteren vorteilhaften Ausgestaltung weist das Getriebe eine Überlastsicherung, insbesondere in Form einer Rutschkupplung auf, um das Einklemmen von Gliedmaßen von Personen oder von Gegenständen zu verhindern. Dazu kann auch ein Sensor vorgesehen sein, der eine ungewöhnlich hohe Schließkraft erkennt. Beim Auftreten einer solch ungewöhnlich hohen Schließkraft wird die Antriebseinrichtung dann automatisch abgeschaltet.
- Weitere Einzelheiten, Merkmale, Ziele und Vorteile der vorliegenden Erfindung werden nachfolgend anhand der Zeichnung bevorzugter Ausführungsbeispiele näher erläutert. In der Zeichnung zeigt
- Fig. 1
- eine Ausführungsform einer erfindungsgemäßen Schließkeil-Antriebsbaugruppe,
- Fig. 2
- eine Ansicht des Inneren des Gehäuses der Schließkeil-Antriebsbaugruppe aus
Fig. 1 , - Fig. 3
- eine Draufsicht auf die wesentlichen mechanischen Elemente der Schließkeil-Antriebsbaugruppe in Vorschließstellung,
- Fig. 4
- die Schließkeil-Antriebsbaugruppe aus
Fig. 3 ohne Kupplungsplatte, - Fig. 5
- die Schließkeil-Antriebsbaugruppe aus
Fig. 3 jedoch zusätzlich mit einem Niederhalter und - Fig. 6
- eine Ansicht eines weiteren Ausführungsbeispiels.
-
Fig. 1 zeigt eine Schließkeil-Antriebsbaugruppe 1 für ein Kraftfahrzeugschloß mit einem Schließkeilträger 2, einem Schließkeil 3, zwei Exzentern 4, 5 und einer Antriebseinrichtung 6. Der Schließkeil 3 ist vorzugsweise lösbar an dem Schließkeilträger 2 z. B. mittels einer Schraube angebracht. Grundsätzlich kann der Schließkeil 3 aber auch unlösbar an dem Schließkeilträger 2, z. B. über eine Schweißverbindung, angebracht oder mit diesem verbunden sein. Im hier gezeigten Ausführungsbeispiel ist der Schließkeil 3 als Schließbügel ausgeführt. Der Schließkeil 3 kann aber auch als Schließbolzen, keilförmiger Schließkeil, etc. ausgeführt sein. Bei der lösbaren Verbindung ist es möglich, den Schließkeil 3 auszutauschen und die Schließkeil-Antriebsbaugruppe 1 so an die Erfordernisse einer anderen Anwendung anzupassen. Die Schließkeil-Antriebsbaugruppe 1 ist hierdurch universell einsetzbar. - Der Schließkeilträger 2 ist mittels zweier Exzenter 4, 5 linear von einer Vorschließstellung in eine Hauptschließstellung verschiebbar. Im hier dargestellten Ausführungsbeispiel befinden sich die Exzenter 4, 5 sowohl in der Vorschließstellung als auch in der Hauptschließstellung in einer ihrer Totpunktstellungen. Zum Erreichen der Hauptschließstellung von Schließkeilträger 2 und Schließkeil 3 sind die Exzenter 4, 5 motorisch von der Antriebseinrichtung 6 antreibbar.
- Für die Schließkeil-Antriebsbaugruppe 1 ist ein Gehäuse 7 vorgesehen. Hier und vorzugsweise ist der Schließkeilträger 2 auf der Oberseite des Gehäuses 7 der Schließkeil-Antriebsbaugruppe 1 angeordnet. Der Schließkeilträger 2 kann aber auch in dem Gehäuse 7 angeordnet sein, oder aber es kann ganz auf ein Gehäuse 7 verzichtet werden. Bei Anordnung des Schließkeilträgers 2 in dem Gehäuse 7 ist es erforderlich, daß der Schließkeilträger 2 in irgendeiner Form linear verschiebbar in dem Gehäuse 7 gelagert ist. Hierfür sind zusätzliche Lagerbauteile erforderlich oder das Gehäuse 7 muß im Inneren entsprechend geformt sein. Auf das Gehäuse 7 kann dann ganz verzichtet werden, wenn die Schließkeil-Antriebsbaugruppe 1 so in der Karosserie eines Kraftfahrzeugs eingebaut ist, daß das entsprechende Karosserieteil das Gehäuse 7 bildet. Dies kann insbesondere dann der Fall sein, wenn die Schließkeil-Antriebsbaugruppe 1 bei einem Heckklappenverschluß zum Einsatz kommt und in den Heckrahmen eingebaut ist.
- Die oben bereits erwähnte Antriebseinrichtung 6 weist einen Motor 8 und ein Getriebe 9 auf (
Fig. 2 ). Hier und vorzugsweise ist der Motor 8 als Elektromotor ausgeführt. Als Alternative können aber auch andere Motoren 8 wie z. B. hydraulische oder pneumatische Motoren verwendet werden. Das Getriebe 9 kann als Schneckenradgetriebe, Zahnradgetriebe o. ä. ausgeführt sein. Die konkrete Ausgestaltung des Getriebes 9 im hier gezeigten Ausführungsbeispiel wird später erläutert. - Die Antriebseinrichtung 6 ist von einer Steuerung 6a (
Fig. 1 ) steuerbar. Die Steuerung 6a kann zentral im Kraftfahrzeug angeordnet sein und eine oder mehrere Schließkeil-Antriebsbaugruppen 1 und evtl. weitere Einrichtungen des Kraftfahrzeugs steuern. Die Steuerung 6a für die Antriebsbaugruppe 1 kann aber auch dezentral im Kraftfahrzeug, d. h. unmittelbar an der Antriebsbaugruppe 1 angeordnet sein. In einem solchen Fall steuert die Steuerung 6a üblicherweise nur die entsprechende Antriebsbaugruppe 1. - Die Verschiebung des Schließkeilträgers 2 und mit ihm des Schließkeils 3 erfolgt linear von der Vorschließstellung (
Fig. 3 ) in die Hauptschließstellung. Für die Linearverschiebung des Schließkeilträgers 3 ist es erforderlich, daß der Kraftangriff der beiden Exzenter 4, 5 an dem Schließkeilträger 2 symmetrisch zur Bewegungsachse des Schließkeils 3 erfolgt. Der Kraftangriff kann dabei unmittelbar oder mittelbar an dem Schließkeilträger 2 erfolgen, wie nachfolgend noch näher beschrieben wird. Der symmetrische Kraftangriff der beiden Exzenter 4, 5 ist für die lineare Verschiebung des Schließkeilträgers 2 bereits ausreichend. Hier und vorzugsweise ist für den Schließkeilträger 2 jedoch noch eine Verschiebeführung 10 vorgesehen. Durch die Verschiebeführung 10 wird ein Ausbrechen des Schließkeilträgers 2 aus der linearen Verschiebebewegung auch bei einem Stoß o. ä. verhindert. - Hier und vorzugsweise wird die Verschiebeführung 10 von einem Gehäuseoberteil 7' des Gehäuses 7 gebildet (
Fig. 1 ). Es ist dafür in dem Gehäuseoberteil 7' eine Vertiefung vorgesehen. Diese Vertiefung bildet die Verschiebeführung 10. Durch diese Ausgestaltung ist es nicht erforderlich, weitere Bauteile für die Verschiebeführung 10 einzusetzen. Dies bedeutet gleichzeitig auch, daß der Schließkeilträger 2 an der Oberseite des Gehäuses 7 angeordnet ist. - Um die lineare Verschiebung des Schließkeilträgers 2 und damit des Schließkeils 3 zu erreichen ist es erforderlich, daß die Drehbewegung der Exzenter 4, 5 in eine translatorische Bewegung des Schließkeilträgers 2 umgesetzt wird. Dies kann dadurch geschehen, daß der Schließkeilträger 2 für den Exzenterzapfen 11, 12 jedes Exzenters 4, 5 ein Langloch aufweist (siehe später
Fig. 6 ). - Jedes Langloch ist dabei im wesentlichen quer zur Bewegungsachse des Schließkeils 3 angeordnet. Die Exzenterzapfen 11, 12 greifen in die jeweiligen Langlöcher des Schließkeilträgers 2 ein.
- Eine andere Variante einer Schließkeil-Antriebsbaugruppe (nicht dargestellt, jedoch aus der
DE 197 37 996 A1 an sich bekannt) ist so ausgestaltet, daß der Schließkeilträger 2 eine Aufnahme für den Exzenterzapfen 11, 12 jedes Exzenters 4, 5 aufweist und die Exzenterzapfen 11, 12 in die jeweiligen Aufnahmen (oder eine gemeinsame Aufnahme) des Schließkeilträgers 2 eingreifen. Die Aufnahmen müssen dabei so geformt sein, daß der Schließkeilträger 2 von der Vorschließstellung in die Hauptschließstellung verschiebbar ist. Das bedeutet gleichzeitig aber auch, daß die Aufnahmen einseitig offen sein können. Wesentlich ist nur, daß am Rand der Aufnahmen eine Kraftübertragungsfläche ausgebildet ist, an der die Exzenterzapfen 11, 12 kraftübertragend zur Anlage kommen. Für den Fall, daß einseitig offene Aufnahmen vorgesehen sind, ist es erforderlich, dem Schließkeilträger 2 eine Feder zuzuordnen, durch die der Schließkeilträger 2 in die Vorschließstellung vorgespannt ist. Für die Ausgestaltung der Feder sind verschiedene Möglichkeiten bekannt. Beispielsweise können hier auch zwei oder mehrere Federn kombiniert Anwendung finden. - Der obigen Federvorspannung kann zusätzlich oder alternativ zu der obigen Rückstellfunktion auch die Funktion der seitlichen Ausrichtung des Schließkeilträgers 2 oder des Ausgleichs von Toleranzen zukommen. Grundsätzlich kann die Federvorspannung auch für jede andere Ausführungsform einer Antriebsbaugruppe vorgesehen werden.
- Eine weitere Variante zur Umsetzung der Verschiebebewegung des Schließkeilträgers 2 ist im hier dargestellten und bevorzugten Ausführungsbeispiel (
Fig. 3 ) gezeigt. Hier wirken die Exzenter 4, 5 nicht unmittelbar, sondern nur mittelbar auf den Schließkeilträger 2. An dem Schließkeilträger 2 ist eine Kupplungsplatte 13 so angeordnet, daß der Kraftangriff der beiden Exzenterzapfen 11, 12 unmittelbar an der Kupplungsplatte 13 erfolgt und von dieser auf den Schließkeilträger 2 übertragen wird. Hier und vorzugsweise weist die Kupplungsplatte 13 Langlöcher 14, 15 für die Exzenterzapfen 11, 12 jedes Exzenters 4, 5 auf. Die Exzenterzapfen 11, 12 greifen in die jeweiligen Langlöcher 14, 15 der Kupplungsplatte 13 ein. Die Langlöcher 14, 15 sind im wesentlichen quer zur Bewegungsachse des Schließkeils 3 angeordnet. Wesentlich ist dabei, daß die Langlöcher 14, 15 so angeordnet sind, daß die Kraftübertragung der Exzenterzapfen 11, 12 auf die Kupplungsplatte 13 symmetrisch erfolgt und daß dadurch der Schließkeilträger 2 und der Schließkeil 3 aus der Vorschließstellung in die Hauptschließstellung und aus der Hauptschließstellung zurück in die Vorschließstellung verschiebbar sind. - Als Alternative zu den Langlöchern 14, 15 in der Kupplungsplatte 13 sind auch hier wieder Aufnahmen für die Exzenterzapfen 11, 12 jedes Exzenters 4, 5 möglich. Die Aufnahmen müssen dabei so geformt sein, daß der Schließkeilträger 2 von der Vorschließstellung in die Hauptschließstellung verschiebbar ist. Wie schon zuvor erläutert, ist es nicht erforderlich, daß der Schließkeilträger 2 auch von der Hauptschließstellung in die Vorschließstellung mittels der Exzenter 4, 5 verschiebbar ist. Auch hier ist es wieder ausreichend, dem Schließkeilträger 2 eine Feder zuzuordnen, die den Schließkeilträger 2 in die Vorschließstellung vorspannt. In der bevorzugten Ausgestaltung mit den Langlöchern 14, 15 in der Kupplungsplatte 13 kann auf die Feder allerdings verzichtet werden.
- Für die zuletzt beschriebenen Ausführungsformen mit der Kupplungsplatte 13 ist es erforderlich, sofern der Schließkeilträger 2 zwischen den Exzentern 4, 5 und der Kupplungsplatte 13 angeordnet ist, daß in dem Schließkeilträger 2 Ausnehmungen für die Exzenter 4, 5 vorgesehen sind. Die Ausnehmungen müssen dabei so geformt und angeordnet sein, daß sich die Exzenterzapfen 11, 12 in die Aufnahmen bzw. Langlöcher 14, 15 der Kupplungsplatte 13 erstrecken können. Außerdem dürfen die Exzenterzapfen 11, 12 durch die Ausnehmungen nicht in ihrer Bewegung behindert sein. Dabei können die Ausnehmungen durchaus von den Langlöchern bzw. den Aufnahmen des Schließkeilträgers 2 gebildet sein. Die Aufnahmen bzw. Langlöcher des Schließkeilträgers 2 müssen dann jedoch so groß sein, daß die Exzenterzapfen 11, 12 nicht mehr kraftübertragend an dem Schließkeilträger 2 zur Anlage kommen.
- Hier und vorzugsweise weist die Kupplungsplatte 13 ein Loch auf, durch das sich ein Ansatz 16 des Schließkeilträgers 2 zur Aufnahme des Schließkeils 3 erstreckt, so daß die Kupplungsplatte 13 formschlüssig mit dem Schließkeilträger 2 verbunden ist. Anstelle des Ansatzes 16 des Schließkeilträgers 2 zur Aufnahme des Schließkeils 3 kann sich aber auch der Schließkeil 3 selbst oder ein Abschnitt des Schließkeils 3 durch das Loch in der Kupplungsplatte 13 erstrecken. Die konkrete Ausführung hängt insbesondere von der Ausführung des Schließkeils 3 ab. Durch die so erzielte formschlüssige Verbindung der Kupplungsplatte 13 mit dem Schließkeilträger 2 kann auf ein zusätzliches Befestigungselement für die Kupplungsplatte 13 verzichtet werden. Die Kupplungsplatte 13 kann aber auch mittels anderer Befestigungselemente so mit dem Schließkeilträger 2 verbunden werden, daß die beiden Exzenter 4, 5 mittelbar durch die Kupplungsplatte 13 auf den Schließkeilträger 2 wirken. Die hier dargestellte Verbindung mittels des Schließkeils 3 ist nicht zwingend.
- Den Exzentern 4, 5 ist hier jeweils ein Zahnrad 17, 18 zugeordnet. Die Zahnräder 17, 18 sind jeweils koaxial an den Exzentern 4, 5 gelagert. Die Lagerung kann dabei durch eine Preßpassung, eine Schraubverbindung, eine Klebverbindung, eine Schweißverbindung o. ä. erfolgen. Die Zahnräder 17, 18 sind durch die Antriebseinrichtung 6 gegenläufig antreibbar. Der gegenläufige Antrieb ist für den zur Bewegungsachse des Schließkeils 3 symmetrischen Kraftangriff der beiden Exzenter 4, 5 an dem Schließkeilträger 2 erforderlich. Die Zahnräder 17, 18 können dabei mittelbar, d. h. unter Zwischenschaltung weiterer Zahnräder, oder unmittelbar miteinander in Eingriff stehen.
- Im hier gezeigten Ausführungsbeispiel (
Fig. 2 ) stehen die Zahnräder 17, 18 unmittelbar miteinander in Eingriff. Die Zahnräder 17, 18 und mit ihnen die Exzenter 4, 5 werden durch ein Getriebe 9 angetrieben. Das Getriebe 9 weist im hier gezeigten Ausführungsbeispiel eine Schnecke 19, ein Schneckenrad 20 mit einer als Rutschkupplung ausgeführten Überlastsicherung 20' und ein Zahnrad auf. Die Schnecke 19 wird durch den Motor 8 angetrieben. Sie ist dabei so angeordnet, daß sie das Schneckenrad 20 antreibt. Das Zahnrad ist so mit der Rutschkupplung des Schneckenrads 20 gekoppelt, daß es bei normaler Belastung von dem Schneckenrad 20 angetrieben wird. Das Zahnrad ist wiederum so angeordnet, daß es mit dem Zahnrad 17 des Exzenters 4 kämmt. Das Zahnrad 17 des Exzenters 4 kämmt wiederum mit dem Zahnrad 18 des Exzenters 5, so daß beide Exzenter von der Antriebseinheit 6 angetrieben werden. Beim Auftreten einer hohen Belastung, wie dies beim Einklemmen eines Gegenstandes in einer Tür der Fall sein kann, verhindert die Überlastsicherung 20' größere Schäden. - Das Getriebe 9 kann, wie bereits zuvor erläutert, auch anders ausgestaltet sein. Bevorzugt ist das Getriebe 9 selbsthemmend ausgeführt, so daß der Schließkeilträger 2 in seiner Hauptschließstellung zusätzlich zu der Sicherung durch die Totpunktstellung der beiden Exzenter 4, 5 auch durch diese Selbsthemmung gesichert ist.
- Insbesondere vorteilhaft ist es, wenn die Kupplungsplatte 13 schwenkbar an dem Schließkeilträger 2 gelagert ist und wenn die Schwenkachse der Kupplungsplatte 13 senkrecht zum Schließkeilträger 2 und die Bewegungsachse des Schließkeils 3 schneidend angeordnet ist. Durch die schwenkbare Lagerung der Kupplungsplatte 13 können Anlauftoleranzen der Exzenter 4, 5 durch die Kupplungsplatte 13 ausgeglichen werden. Anlauftoleranzen der Exzenter 4, 5 treten insbesondere dann auf, wenn die Exzenter 4, 5 durch die gleiche Antriebseinrichtung 6 angetrieben werden. Die Anlauftoleranz der Exzenter 4, 5 wird durch die Kupplungsplatte 13 wie folgt ausgeglichen: Beim Beginn der Bewegung wirkt der Exzenterzapfen 11 des ersten Exzenters 4 über das Langloch 14 auf die Kupplungsplatte 13. Diese wird um ihre Schwenkachse so lange geschwenkt, bis die Anlauftoleranz ausgeglichen ist und der Exzenterzapfen 12 des zweiten Exzenters 5 über das Langloch 15 ebenfalls auf die Kupplungsplatte 13 wirkt. Durch den Ausgleich der Anlauftoleranz ist es möglich, die Exzenter 4, 5 und die Zahnräder 17, 18 mit größeren Toleranzen zu fertigen. Auch der Einbau in das Gehäuse 7 kann mit größeren Toleranzen erfolgen. Dies führt zu einer Kostenreduzierung für die Schließkeil-Antriebsbaugruppe 1. Insgesamt lassen sich durch die Anordnung mit zwei Exzentern 4, 5 besonders hohe Schließkräfte realisieren, wobei die letztgenannte Ausführungsform eine optimale Kraftverteilung auf die beiden Exzenter 4, 5 und insbesondere eine hohe Sicherheit gegen mißbräuchliche Krafteinwirkung gewährleistet.
- Im hier dargestellten Ausführungsbeispiel stimmt die Schwenkachse der Kupplungsplatte 13 mit der Achse des einen Abschnitts des Schließkeils 3 überein. Je nach Ausgestaltung kann die Schwenkachse der Kupplungsplatte 13 aber auch die Achse des Schließkeils 3 sein bzw. bei anderweitiger Lagerung der Kupplungsplatte 13 eine beliebige Achse, die senkrecht zum Schließkeilträger 2 liegt und die Bewegungsachse des Schließkeils 3 schneidet, angeordnet ist.
- An der Oberseite des Gehäuses 7 ist hier (
Fig. 4 ) und vorzugsweise ein Montageblech 21 vorgesehen. Das Montageblech 21 weist je nach Anordnung mindestens eine längliche Ausnehmung 22 auf, durch die sich der Schließkeil 3 erstreckt. Die längliche Ausnehmung 22 muß dabei so lang sein, daß der Schließkeil 3 von der Vorschließstellung in die Hauptschließstellung verschiebbar ist. Wenn, wie im hier dargestellten Ausführungsbeispiel (Fig. 3 ), die Kupplungsplatte 13 an der Oberseite des Montageblechs 21 angeordnet ist, muß das Montageblech 21 zusätzlich jeweils eine Ausnehmung 23, 24 aufweisen, durch die sich wenigstens die Exzenterzapfen 11, 12 erstrecken können und in ihrer Bewegung nicht behindert werden. Die Kupplungsplatte 13 kann aber auch unterhalb des Montageblechs 21 angeordnet sein. Die Ausnehmungen 23, 24 für die Exzenterzapfen 11, 12 sind dann nicht erforderlich. Hier (Fig. 3 ) weist das Montageblech 21 zusätzlich eine Vertiefung auf, in der die Kupplungsplatte 13 angeordnet ist. Hierdurch steht die Kupplungsplatte 13 nicht weiter hervor als das Montageblech 21. Die Kupplungsplatte 13 ist somit vor Verschmutzung, etc. geschützt. - Das Montageblech 21 dient im hier gezeigten Ausführungsbeispiel zur Montage der Schließkeil-Antriebsbaugruppe an entsprechenden Bauteilen der Karosserie wie z. B. der B-Säule, der C-Säule oder dem Heckrahmen. Die Befestigung kann dabei durch Schrauben, Kleben, Einpressen, Schweißen, etc. erfolgen. Anstelle des Montageblechs 21 können auch andere Befestigungsmittel z. B. unmittelbar an dem Gehäuse 7 vorgesehen sein.
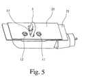
- Hier (
Fig. 5 ) und vorzugsweise ist an der Oberseite der Kupplungsplatte 13 ein Niederhalter 25 angeordnet. Der Niederhalter 25 weist mindestens eine längliche Ausnehmung für den Schließkeil 3 auf, so daß dieser von der Vorschließstellung in die Hauptschließstellung verschiebbar ist. Je nach Länge der Exzenterzapfen 11, 12 weist der Niederhalter 25 auch jeweils eine Ausnehmung für die Exzenterzapfen 11, 12 auf, so daß diese in ihrer Bewegung nicht behindert sind. Der Niederhalter 25 dient dazu, alle Bauteile, die oberhalb des Gehäuses 7 angeordnet sind, insbesondere die Kupplungsplatte 13, in axialer Richtung zu lagern. Der Niederhalter 25 ist hierzu mit dem Montageblech 21 bzw. wenn kein Montageblech 21 vorhanden ist mit dem Gehäuseoberteil 7' verbunden. Sofern keine Bauteile oberhalb des Gehäuses 7 angeordnet sind, kann auf den Niederhalter 25 verzichtet werden. Der Niederhalter 25 ist auch dann nicht erforderlich, wenn die oberhalb des Gehäuses 7 angeordneten Bauteile auf andere Art und Weise in axialer Richtung gelagert sind. - In bevorzugter Ausführung sind an der Schließkeil-Antriebsbaugruppe 1 Sensoren vorgesehen, die die Stellung der Exzenter 4, 5 abtasten und ein entsprechendes Signal an die Steuerung 6a übermitteln. Hierdurch kann die Steuerung 6a erkennen, in welcher Stellung sich der Schließkeil 3 befindet und den Motor 8 dementsprechend ansteuern. Die Exzenter 4, 5 können somit in ihre Totpunktstellung bewegt werden. Bevorzugt ist es, wenn die Sensoren als Mikroschalter ausgeführt und an den Exzentern 4, 5 angeordnet sind. Hierdurch wird es möglich, die Totpunktstellung der Exzenter 4, 5 sicher zu erreichen. Grundsätzlich sind hier alle bekannten Bauarten kompakter Sensoren anwendbar, beispielsweise auch Hall-Sensoren o. dgl..
- Im Inneren des Gehäuses 7 können Anschlagpuffer für den Schließkeilträger 2 vorgesehen sein. Durch die Anschlagpuffer werden Aufprallgeräusche, die beim Zuschlagen der Tür entstehen und/oder Geräusche, die beim Öffnen der Tür entstehen, vermindert.
- Um Reibungskräfte zu verringern kann der Schließkeilträger 2 auf Laufrollen, Laufwalzen oder Laufkugeln gelagert sein. Diese oder aber, wenn diese nicht vorgesehen sind, die Verschiebeführung 10 können zusätzlich aus einem Material mit niedrigem Haftreibungskoeffizient und guten Gleiteigenschaften ausgeführt sein.
- Zusätzlich kann an der Schließkeil-Antriebsbaugruppe 1 ein Sensor vorgesehen sein, der eine ungewöhnlich hohe Schließkraft erkennt und die Antriebseinrichtung 6 daraufhin abschaltet. Dies dient als Sicherheitsmaßnahme, um das Einklemmen von Gliedmaßen von Personen oder von Gegenständen zu verhindern. Wenn sich Gegenstände oder Körperteile zwischen Tür und gegenüberliegendem Karosseriebauteil befinden, kann der Motor den Schließkeilträger 2 und damit den Schließkeil 3 nicht mit der sonst üblichen Kraft von der Vorschließstellung in die Hauptschließstellung verschieben. Es ist eine deutlich erhöhte Kraft notwendig, die von dem Sensor detektierbar ist.
- Wie schon zuvor erläutert, ist die Schließkeil-Antriebsbaugruppe 1 mit Befestigungsmitteln an einem Karosseriebauteil befestigbar. Hierfür ist es von Vorteil, wenn die Schließkeil-Antriebsbaugruppe 1 in befestigtem Zustand gegenüber dem Karosseriebauteil noch geringfügig verstellbar ist und dann in der jeweiligen Einstellung fixierbar ist. Dies erleichtert den Einbau der Schließkeil-Antriebsbaugruppe 1 und vereinfacht die Fertigung, da mit höheren Toleranzen gearbeitet werden kann.
-
Fig. 6 zeigt ein weiteres Ausführungsbeispiel einer erfindungsgemäßen Schließkeil-Antriebsbaugruppe 1. Der Schließkeilträger 2 weist jeweils ein Langloch für die Exzenterzapfen 11, 12 auf. Der Schließkeilträger 2 ist direkt auf den Exzentern 4, 5 gelagert. Der Schließkeilträger 2 wird hier nicht unmittelbar von der Verschiebeführung 10 geführt. Statt dessen ist an dem Schließkeilträger 2 ein Führungselement 26 angeordnet. Das Führungselement 26 wird durch die Verschiebeführung 10 geführt und stellt damit die lineare Verschiebebewegung des Schließkeilträgers 2 sicher. Das Führungselement 26 ist relativ zu der Verschiebeführung 10 schwenkbar, so daß die Anlauftoleranzen der Exzenter 4, 5 aufgenommen werden können. Um die Schwenkbarkeit des Führungselements 26 sicherzustellen, sind dessen Ränder, die an die Verschiebeführung 10 anliegen, abgerundet. Zusätzlich weist die Verschiebeführung 10 zwei Federelemente 27 auf. Diese wirken von gegenüberliegenden Seiten auf das Führungselement 26, so daß dieses zwar noch schwenkbar ist, aber dennoch sicher geführt wird. - Schließlich darf noch darauf hingewiesen werden, daß durch die Beweglichkeit des Schließkeils nunmehr eine Abdichtung der Anordnung derart vorzusehen ist, daß das Eindringen von Außenluft, insbesondere von Abgasen, über die Antriebsbaugruppe in den Fahrzeuginnenraum vermieden wird.
Claims (20)
- Schließkell-Antriebsbaugruppe (1) für ein Kraftfahrzeugschloß, mit einem Schließkeilträger (2), einem Schließkeil (3), zwei Exzentern (4, 5) und einer Antriebseinrichtung (6), vorzugsweise mit einem Motor (8) und einem Getriebe (9),
wobei der Schließkeil (3) am Schließkeilträger (2) angeordnet ist,
wobei die Exzenter (4, 5) motorisch von der Antriebseinrichtung (6) antreibbar sind,
wobei die Antriebseinrichtung (6) von einer zentral im Kraftfahrzeug oder dezentral, d.h. unmittelbar an der Antriebsbaugruppe (1) angeordneten Steuerung steuerbar ist , dadurch gekennzeichnet, daß der Schließkeilträger (2) und mit ihm der Schließkeil (3) mittels der Exzenter (4, 5) linear von einer Vorschließstellung in eine Hauptschließstellung verschiebbar ist, und daß der Kraftangriff der beiden Exzenter (4, 5) an dem Schließkeilträger (2) symmetrisch zur Bewegungsachse des Schließkeils (3) erfolgt. - Antriebsbaugruppe nach Anspruch 1, dadurch gekennzeichnet, daß der Schließkeilträger (2) in oder an einem Gehäuse (7) angeordnet ist und wobei, insbesondere, die Antriebseinrichtung (6) in oder an dem Gehäuse (7) angeordnet ist, vorzugsweise, daß im Gehäuse (7) Anschlagpuffer für den Schließkeilträger (2) vorgesehen sind.
- Antriebsbaugruppe nach Anspruch 1 oder 2, dadurch gekennzeichnet, daß für den Schließkeilträger (2), vorzugsweise in oder an dem Gehäuse (7), eine Verschiebeführung (10) vorgesehen ist, vorzugsweise, daß die Verschiebefiihrung (10) von einem Gehäuseoberteil (7') gebildet ist, weiter vorzugsweise, daß in dem Gehäuseoberteil (7') eine Vertiefung vorgesehen ist und daß die Verschiebeführung (10) durch die Vertiefung gebildet ist.
- Antriebsbaugruppe nach einem der vorherigen Ansprüche, dadurch gekennzeichnet, daß der Schließkeilträger (2) für den Exzenterzapfen (11, 12) jedes Exzenters (4, 5) ein Langloch aufweist, daß jedes Langloch im wesentlichen quer zur Bewegungsachse des Schließkeils (3) angeordnet ist und daß die Exzenterzapfen (11, 12) in die jeweiligen Langlöcher des Schließkeilträgers (2) eingreifen.
- Antriebsbaugruppe nach einem der vorherigen Ansprüche, dadurch gekennzeichnet, daß der Schließkeilträger (2) eine Aufnahme für den Exzenterzapfen (11, 12) jedes Exzenters (4, 5) aufweist, daß die Exzenterzapfen (11, 12) in die jeweiligen Aufnahmen des Schließkeilträgers (2) eingreifen und daß die Aufnahmen so geformt sind, daß der Schließkeilträger (2) von der Vorschließstellung in die Hauptschließstellung verschiebbar ist.
- Antriebsbaugruppe nach einem der vorherigen Ansprüche, dadurch gekennzeichnet, daß dem Schließkeilträger (2) eine Feder zugeordnet ist, durch die der Schließkeilträger (2) in die Vorschließstellung vorgespannt ist.
- Antriebsbaugruppe nach einem der vorherigen Ansprüche, dadurch gekennzeichnet, daß an dem Schließkeilträger (2) eine Kupplungsplatte (13) angeordnet ist und daß der Kraftangriff der beiden Exzenterzapfen (11, 12) an dem Schließkeilträger (2) mittels der Kupplungsplatte (13) erfolgt, vorzugsweise, daß die Kupplungsplatte (13) ein Langloch (14, 15) für den Exzenterzapfen (11, 12) jedes Exzenters (4, 5) aufweist, daß jedes Langloch (14, 15) im wesentlichen quer zur Bewegungsachse des Schließkeils (3) angeordnet ist und daß die Exzenterzapfen (11, 12) in die jeweiligen Langlöcher (14, 15) der Kupplungsplatte (13) eingreifen, und/oder, weiter vorzugsweise, daß die Kupplungsplatte (13) ein Loch aufweist, durch das sich der Schließkeil (3), ein Abschnitt des Schließkeils (3) oder ein Ansatz (16) des Schließkeilträgers (2) zur Aufnahme des Schließkeils (3) erstreckt, so daß die Kupplungsplatte (13) formschlüssig mit dem Schließkeilträger (2) verbunden ist.
- Antriebsbaugruppe nach Anspruch 7, dadurch gekennzeichnet, daß die Kupplungsplatte (13), vorzugsweise mittels des Loches, schwenkbar an dem Schließkeilträger (2) gelagert ist und daß die Schwenkachse senkrecht zum Schließkeilträger (2) und die Bewegungsachse des Schließkeils (3) schneidend angeordnet ist.
- Antriebsbaugruppe nach Anspruch 7 und 8, dadurch gekennzeichnet, daß die Schwenkachse der Kupplungsplatte (13) mit der Achse des Schließkeils (3) oder der Achse eines Abschnitts des Schließkeils (3) übereinstimmt.
- Antriebsbaugruppe nach einem der vorherigen Ansprüche, dadurch gekennzeichnet, daß den Exzentern (4, 5) jeweils ein Zahnrad (17, 18) zugeordnet ist und daß die Zahnräder (17, 18) durch die Antriebseinrichtung (6) gegenläufig antreibbar sind, vorzugsweise, daß die Zahnräder (17, 18) mittelbar oder unmittelbar miteinander in Eingriff stehen.
- Antriebsbaugruppe nach einem der vorherigen Ansprüche, dadurch gekennzeichnet, daß das Getriebe (9) selbsthemmend ausgeführt ist.
- Antriebsbaugruppe nach einem der vorherigen Ansprüche, dadurch gekennzeichnet, daß das Getriebe (9) mit einer Überlastsicherung (20'), insbesondere in Form einer Rutschkupplung versehen ist.
- Antriebsbaugruppe nach einem der vorherigen Ansprüche, dadurch gekennzeichnet, daß an der Oberseite des Gehäuses (7) ein Montageblech (21) vorgesehen ist, vorzugsweise, daß das Montageblech (21) eine längliche Ausnehmung (22), durch die sich der Schließkeil (3) erstreckt, und jeweils eine Ausnehmung (23, 24), durch die sich die Exzenter (4, 5) erstrecken, aufweist.
- Antriebsbaugruppe nach Anspruch 13 und einem der Ansprüche 7 bis 9, dadurch gekennzeichnet, daß die Kupplungsplatte (13) an der Oberseite des Montageblechs (21) angeordnet ist, vorzugsweise, daß das Montageblech (21) eine Vertiefung aufweist und daß die Kupplungsplatte (13) in dieser Vertiefung angeordnet ist.
- Antriebsbaugruppe nach einem der vorherigen Ansprüche, dadurch gekennzeichnet, daß an der Oberseite des Schließkeilträgers (2) oder, sofern oberhalb des Schließkeilträgers (2) eine Kupplungsplatte (13) angeordnet ist, an der Oberseite der Kupplungsplatte (13) ein Niederhalter (25) angeordnet ist.
- Antriebsbaugruppe nach einem der vorherigen Ansprüche, dadurch gekennzeichnet, daß Sensoren vorgesehen sind, die die Stellung der Exzenter (4, 5) abtasten und ein entsprechendes Abtastsignal an die Steuerung (6a) übermitteln, vorzugsweise, daß die Sensoren an den Exzentern (4, 5) angeordnet sind.
- Antriebsbaugruppe nach einem der vorherigen Ansprüche, dadurch gekennzeichnet, daß der Schließkeilträger (2) im Gehäuse (7) auf Laufrollen, Laufwalzen oder Laufkugeln gelagert ist, und/oder, daß der Schließkeilträger (2) auf einem Material mit niedrigem Haftreibungskoeffizient und guten Gleiteigenschaften gelagert ist.
- Antriebsbaugruppe nach einem der vorherigen Ansprüche, dadurch gekennzeichnet, daß ein Sensor vorgesehen ist, der eine ungewöhnlich hohe Schließkraft erkennt und die Antriebseinrichtung (6) daraufhin abschaltet.
- Antriebsbaugruppe nach einem der vorherigen Ansprüche, dadurch gekennzeichnet, daß die Antriebsbaugruppe (1) insgesamt mit Befestigungsmitteln zur Befestigung an einem Karosseriebauteil versehen ist, jedoch in befestigtem Zustand diesem gegenüber geringfügig verstellbar und in der jeweiligen Einstellung fixierbar ist.
- Antriebsbaugruppe nach einem der vorherigen Ansprüche, dadurch gekennzeichnet, daß dem Schließkeilträger (2) ein Führungselement (26) zugeordnet ist und daß das Führungselement (26) mit der Verschiebeführung (10) zusammenwirkt, und/oder, daß die Verschiebeführung (10) mindestens ein Federelement (27) zur federnd-flexiblen Seitenführung des Schließkeilträgers (2) oder des Führungselementes (26) aufweist.
Applications Claiming Priority (2)
| Application Number | Priority Date | Filing Date | Title |
|---|---|---|---|
| DE10361843 | 2003-12-30 | ||
| DE2003161843 DE10361843A1 (de) | 2003-12-30 | 2003-12-30 | Schließkeil-Antriebsbaugruppe für ein Kraftfahrzeug-Türschloß |
Publications (2)
| Publication Number | Publication Date |
|---|---|
| EP1550784A1 EP1550784A1 (de) | 2005-07-06 |
| EP1550784B1 true EP1550784B1 (de) | 2008-06-25 |
Family
ID=34559792
Family Applications (1)
| Application Number | Title | Priority Date | Filing Date |
|---|---|---|---|
| EP20040027979 Expired - Lifetime EP1550784B1 (de) | 2003-12-30 | 2004-11-25 | Schliesskeil-Antriebsbaugruppe für ein Kraftfahrzeug-Türschloss |
Country Status (5)
| Country | Link |
|---|---|
| US (2) | US7341292B2 (de) |
| EP (1) | EP1550784B1 (de) |
| AT (1) | ATE399239T1 (de) |
| DE (2) | DE10361843A1 (de) |
| ES (1) | ES2306952T3 (de) |
Cited By (1)
| Publication number | Priority date | Publication date | Assignee | Title |
|---|---|---|---|---|
| WO2012069159A2 (de) | 2010-11-23 | 2012-05-31 | Brose Fahrzeugteile Gmbh & Co. Kg, Hallstadt | Antriebsanordnung in einem kraftfahrzeug |
Families Citing this family (22)
| Publication number | Priority date | Publication date | Assignee | Title |
|---|---|---|---|---|
| DE10235608C5 (de) * | 2002-08-02 | 2014-07-31 | Valeo Sicherheitssysteme Gmbh | Zuziehvorrichtung |
| US7014258B2 (en) * | 2003-09-18 | 2006-03-21 | Newfrey Llc | Error proof anti-chucking wedge assembly |
| DE10361843A1 (de) * | 2003-12-30 | 2005-07-28 | Brose Schließsysteme GmbH & Co.KG | Schließkeil-Antriebsbaugruppe für ein Kraftfahrzeug-Türschloß |
| US7455335B2 (en) * | 2005-05-29 | 2008-11-25 | Southco, Inc. | Electromechanical push to close latch |
| DE202007005992U1 (de) | 2007-04-24 | 2008-08-28 | BROSE SCHLIEßSYSTEME GMBH & CO. KG | Schließkeil-Antriebsbaugruppe für ein Kraftfahrzeugschloß |
| TWM331691U (en) * | 2007-05-10 | 2008-05-01 | Lite On Technology Corp | Case fixing mechanism and computer case utilizing which |
| DE102007025518A1 (de) | 2007-05-31 | 2008-12-04 | BROSE SCHLIEßSYSTEME GMBH & CO. KG | Kraftfahrzeugtüranordnung |
| KR100974557B1 (ko) * | 2008-10-14 | 2010-08-09 | 현대자동차주식회사 | 차량용 스트라이커 기구 |
| IT1393520B1 (it) | 2009-03-24 | 2012-04-27 | So Ge Mi Spa | Dispositivo di chiusura automatica perfezionato per portello di veicolo. |
| WO2010144911A1 (en) * | 2009-06-12 | 2010-12-16 | A. Raymond Et Cie. | Anti-chucking latch striker |
| US20100314890A1 (en) * | 2009-06-12 | 2010-12-16 | Todd Hemingway | Power cinching striker |
| US9297183B2 (en) | 2010-03-01 | 2016-03-29 | Daws Manufacturing Company, Inc. | Self-adjusting striker assembly |
| US8733807B2 (en) * | 2010-03-01 | 2014-05-27 | Daws Manufacturing Company, Inc. | Self-adjusting striker assembly |
| DE102010035750A1 (de) * | 2010-08-28 | 2012-03-01 | BROSE SCHLIEßSYSTEME GMBH & CO. KG | Klebeverbindung zwischen Schloss und Fahrzeugtür |
| US9562371B2 (en) | 2011-01-28 | 2017-02-07 | Assa Abloy Entrance Systems Ab | Intensive care unit door control system |
| DE102014218529A1 (de) * | 2014-09-16 | 2016-03-17 | Bayerische Motoren Werke Aktiengesellschaft | Schloss für ein Karosseriebauteil eines Fahrzeugs |
| KR101806617B1 (ko) * | 2015-09-17 | 2017-12-07 | 현대자동차주식회사 | 차량의 슬라이딩 도어의 열림 방지장치 |
| US11512505B2 (en) | 2016-03-31 | 2022-11-29 | Trimark Corporation | Motorized movable strike for a vehicle door |
| DE102016225480A1 (de) | 2016-12-19 | 2018-06-21 | Bayerische Motoren Werke Aktiengesellschaft | Schließbügel eines Kraftfahrzeug-Karosserieschlosses, Kraftfahrzeug- Karosserieschloss mit einem solchen Schließbügel sowie entsprechend ausgestattetes Kraftfahrzeug |
| TWI607141B (zh) * | 2017-05-17 | 2017-12-01 | 信昌機械廠股份有限公司 | 車門固定機構 |
| TWI607140B (zh) * | 2017-05-17 | 2017-12-01 | 信昌機械廠股份有限公司 | 車門固定裝置 |
| US12331560B2 (en) * | 2019-06-17 | 2025-06-17 | Trimark Corporation | Motor control for powered closure with anti-pinch |
Family Cites Families (16)
| Publication number | Priority date | Publication date | Assignee | Title |
|---|---|---|---|---|
| US4707007A (en) * | 1985-02-07 | 1987-11-17 | Honda Giken Kogyo Kabushiki Kaisha | Striker means for automotive door latch assembly |
| FR2606823B1 (fr) * | 1986-11-13 | 1989-02-17 | Vachette Sa | Dispositif de fermeture motorise, notamment pour coffre ou hayon de vehicule automobile |
| US4982984A (en) * | 1987-12-07 | 1991-01-08 | Honda Giken Kogyo Kabushiki Kaisha | Active door latch assembly |
| US5755468A (en) | 1996-05-03 | 1998-05-26 | Itt Automotive Electrical Systems, Inc. | Power striker with over-ride capabilities |
| US5938254A (en) * | 1996-10-08 | 1999-08-17 | Robert Bosch Gmbh | Striker drive assembly for a motor vehicle door lock or the like |
| DE19737996C2 (de) * | 1996-10-08 | 2002-12-19 | Bosch Gmbh Robert | Schließkeil-Antriebsbaugruppe für ein Kraftfahrzeug-Türschloß o. dgl. |
| US5711610A (en) * | 1997-02-21 | 1998-01-27 | Optical Gaging Products, Inc. | Bearing assembly for linear bearing slide |
| DE19809708A1 (de) | 1998-03-06 | 1999-09-09 | Delphi Automotive Systems Gmbh | Schließhilfe |
| JPH11353992A (ja) * | 1998-04-07 | 1999-12-24 | Yamada Electric Mfg Co Ltd | サーマルプロテクタ |
| TW443921B (en) * | 1998-04-15 | 2001-07-01 | Matsushita Electric Works Ltd | Depilator |
| DE19932291B4 (de) * | 1999-01-22 | 2007-09-06 | Witte-Velbert Gmbh & Co. Kg | Verschluß mit Drehfalle und Sperrklinke |
| US6347020B1 (en) * | 1999-11-05 | 2002-02-12 | Storage Technology Corporation | Double-door safety access port for automated tape library |
| DE19957061A1 (de) * | 1999-11-26 | 2001-05-31 | Kiekert Ag | Kraftfahrzeugtürverschluss |
| US6715808B2 (en) * | 2000-02-22 | 2004-04-06 | Atoma International Corp. | Power striker mechanism with backdrive prevention |
| DE60110213T2 (de) * | 2000-02-25 | 2006-03-09 | Intier Automotive Closures Inc., Newmarket | Kraftbetätigter schliesskolben mit kniehebelartigem betätigungsmechanismus |
| DE10361843A1 (de) * | 2003-12-30 | 2005-07-28 | Brose Schließsysteme GmbH & Co.KG | Schließkeil-Antriebsbaugruppe für ein Kraftfahrzeug-Türschloß |
-
2003
- 2003-12-30 DE DE2003161843 patent/DE10361843A1/de not_active Withdrawn
-
2004
- 2004-11-25 DE DE200450007436 patent/DE502004007436D1/de not_active Expired - Lifetime
- 2004-11-25 AT AT04027979T patent/ATE399239T1/de not_active IP Right Cessation
- 2004-11-25 ES ES04027979T patent/ES2306952T3/es not_active Expired - Lifetime
- 2004-11-25 EP EP20040027979 patent/EP1550784B1/de not_active Expired - Lifetime
- 2004-12-28 US US11/022,948 patent/US7341292B2/en not_active Expired - Lifetime
-
2008
- 2008-02-13 US US12/030,547 patent/US7568745B2/en not_active Expired - Fee Related
Cited By (2)
| Publication number | Priority date | Publication date | Assignee | Title |
|---|---|---|---|---|
| WO2012069159A2 (de) | 2010-11-23 | 2012-05-31 | Brose Fahrzeugteile Gmbh & Co. Kg, Hallstadt | Antriebsanordnung in einem kraftfahrzeug |
| DE102010052045A1 (de) | 2010-11-23 | 2012-06-06 | Brose Fahrzeugteile Gmbh & Co. Kommanditgesellschaft, Hallstadt | Antriebsanordnung in einem Kraftfahrzeug |
Also Published As
| Publication number | Publication date |
|---|---|
| US20080211241A1 (en) | 2008-09-04 |
| DE10361843A1 (de) | 2005-07-28 |
| US7568745B2 (en) | 2009-08-04 |
| ES2306952T3 (es) | 2008-11-16 |
| EP1550784A1 (de) | 2005-07-06 |
| DE502004007436D1 (de) | 2008-08-07 |
| US20050151379A1 (en) | 2005-07-14 |
| US7341292B2 (en) | 2008-03-11 |
| ATE399239T1 (de) | 2008-07-15 |
Similar Documents
| Publication | Publication Date | Title |
|---|---|---|
| EP1550784B1 (de) | Schliesskeil-Antriebsbaugruppe für ein Kraftfahrzeug-Türschloss | |
| EP2342405B1 (de) | Kraftfahrzeugschloss | |
| EP1048808B1 (de) | Kraftfahrzeug-Türschloss o. dgl. mit elektrischer Öffnungshilfe und Schliesshilfe | |
| EP2318624B1 (de) | Türöffner mit selbsteinstellung der türöffnerfalle | |
| EP2859165B1 (de) | Kupplungsvorrichtung zur lösbaren verbindung eines schwenkbeweglich gelagerten karosserieteils, wie fahrzeugtüre, heck- oder frontklappe mit einem fahrzeugstrukturteil einer fahrzeugkarosserie | |
| DE19955883A1 (de) | Kraftfahrzeugtürverschluss | |
| DE19737996C2 (de) | Schließkeil-Antriebsbaugruppe für ein Kraftfahrzeug-Türschloß o. dgl. | |
| EP3899179B1 (de) | Aufstellvorrichtung für ein kraftfahrzeugtürelement | |
| EP3284885A1 (de) | Kraftfahrzeugschlossanordnung | |
| EP1603213B1 (de) | Motorische Kraftfahrzeugkomponente | |
| EP1393978A1 (de) | Einbaueinheit für ein Kraftfahrzeug | |
| EP2754798B1 (de) | Türschlossvorrichtung für eine Tür mit mindestens einem Türflügel | |
| EP2987931B1 (de) | Kraftfahrzeugschloss | |
| EP1582668A2 (de) | Schliesskeil-Antriebsbaugruppe für ein Kraftfahrzeugschloss | |
| EP3913181B1 (de) | Türaufsteller mit lösbarer halterung | |
| DE102017101703A1 (de) | Schloss mit Zuzieheinrichtung für ein Kraftfahrzeug | |
| EP3847328B1 (de) | Antriebseinheit für kraftfahrzeugtechnische anwendungen | |
| DE102009004498B4 (de) | Türanordnung mit einer Schließfolgeregelung | |
| EP2025853B1 (de) | Mitnehmervorrichtung für eine Torantriebsvorrichtung, eine solche Torantriebsvorrichtung und ein Tor | |
| DE10301998A1 (de) | Schließhilfe zum Verschließen einer mit einem Türschloß versehenen Fahrzeugtür | |
| DE102005002102B4 (de) | Verriegelungsvorrichtung | |
| EP2206867B1 (de) | Türbetätiger zur betätigung eines türblattes | |
| DE19861278C5 (de) | Spindel- oder Schneckenantrieb für Verstelleinrichtungen in Kraftfahrzeugen | |
| EP2248958A2 (de) | Dachschiebefenster | |
| DE102022115559B3 (de) | Türöffner für eine Tür mit elektrisch schaltbarer Sperreinrichtung |
Legal Events
| Date | Code | Title | Description |
|---|---|---|---|
| PUAI | Public reference made under article 153(3) epc to a published international application that has entered the european phase |
Free format text: ORIGINAL CODE: 0009012 |
|
| AK | Designated contracting states |
Kind code of ref document: A1 Designated state(s): AT BE BG CH CY CZ DE DK EE ES FI FR GB GR HU IE IS IT LI LU MC NL PL PT RO SE SI SK TR |
|
| AX | Request for extension of the european patent |
Extension state: AL HR LT LV MK YU |
|
| 17P | Request for examination filed |
Effective date: 20060109 |
|
| AKX | Designation fees paid |
Designated state(s): AT BE BG CH CY CZ DE DK EE ES FI FR GB GR HU IE IS IT LI LU MC NL PL PT RO SE SI SK TR |
|
| GRAP | Despatch of communication of intention to grant a patent |
Free format text: ORIGINAL CODE: EPIDOSNIGR1 |
|
| GRAS | Grant fee paid |
Free format text: ORIGINAL CODE: EPIDOSNIGR3 |
|
| GRAA | (expected) grant |
Free format text: ORIGINAL CODE: 0009210 |
|
| AK | Designated contracting states |
Kind code of ref document: B1 Designated state(s): AT BE BG CH CY CZ DE DK EE ES FI FR GB GR HU IE IS IT LI LU MC NL PL PT RO SE SI SK TR |
|
| REG | Reference to a national code |
Ref country code: GB Ref legal event code: FG4D Free format text: NOT ENGLISH |
|
| REG | Reference to a national code |
Ref country code: CH Ref legal event code: EP |
|
| REF | Corresponds to: |
Ref document number: 502004007436 Country of ref document: DE Date of ref document: 20080807 Kind code of ref document: P |
|
| REG | Reference to a national code |
Ref country code: IE Ref legal event code: FG4D Free format text: LANGUAGE OF EP DOCUMENT: GERMAN |
|
| PG25 | Lapsed in a contracting state [announced via postgrant information from national office to epo] |
Ref country code: SI Free format text: LAPSE BECAUSE OF FAILURE TO SUBMIT A TRANSLATION OF THE DESCRIPTION OR TO PAY THE FEE WITHIN THE PRESCRIBED TIME-LIMIT Effective date: 20080625 Ref country code: FI Free format text: LAPSE BECAUSE OF FAILURE TO SUBMIT A TRANSLATION OF THE DESCRIPTION OR TO PAY THE FEE WITHIN THE PRESCRIBED TIME-LIMIT Effective date: 20080625 |
|
| REG | Reference to a national code |
Ref country code: ES Ref legal event code: FG2A Ref document number: 2306952 Country of ref document: ES Kind code of ref document: T3 |
|
| PG25 | Lapsed in a contracting state [announced via postgrant information from national office to epo] |
Ref country code: PL Free format text: LAPSE BECAUSE OF FAILURE TO SUBMIT A TRANSLATION OF THE DESCRIPTION OR TO PAY THE FEE WITHIN THE PRESCRIBED TIME-LIMIT Effective date: 20080625 Ref country code: NL Free format text: LAPSE BECAUSE OF FAILURE TO SUBMIT A TRANSLATION OF THE DESCRIPTION OR TO PAY THE FEE WITHIN THE PRESCRIBED TIME-LIMIT Effective date: 20080625 |
|
| NLV1 | Nl: lapsed or annulled due to failure to fulfill the requirements of art. 29p and 29m of the patents act | ||
| PG25 | Lapsed in a contracting state [announced via postgrant information from national office to epo] |
Ref country code: SE Free format text: LAPSE BECAUSE OF FAILURE TO SUBMIT A TRANSLATION OF THE DESCRIPTION OR TO PAY THE FEE WITHIN THE PRESCRIBED TIME-LIMIT Effective date: 20080925 Ref country code: PT Free format text: LAPSE BECAUSE OF FAILURE TO SUBMIT A TRANSLATION OF THE DESCRIPTION OR TO PAY THE FEE WITHIN THE PRESCRIBED TIME-LIMIT Effective date: 20081125 Ref country code: IS Free format text: LAPSE BECAUSE OF FAILURE TO SUBMIT A TRANSLATION OF THE DESCRIPTION OR TO PAY THE FEE WITHIN THE PRESCRIBED TIME-LIMIT Effective date: 20081025 |
|
| REG | Reference to a national code |
Ref country code: IE Ref legal event code: FD4D |
|
| PG25 | Lapsed in a contracting state [announced via postgrant information from national office to epo] |
Ref country code: SK Free format text: LAPSE BECAUSE OF FAILURE TO SUBMIT A TRANSLATION OF THE DESCRIPTION OR TO PAY THE FEE WITHIN THE PRESCRIBED TIME-LIMIT Effective date: 20080625 Ref country code: RO Free format text: LAPSE BECAUSE OF FAILURE TO SUBMIT A TRANSLATION OF THE DESCRIPTION OR TO PAY THE FEE WITHIN THE PRESCRIBED TIME-LIMIT Effective date: 20080625 |
|
| PG25 | Lapsed in a contracting state [announced via postgrant information from national office to epo] |
Ref country code: BG Free format text: LAPSE BECAUSE OF FAILURE TO SUBMIT A TRANSLATION OF THE DESCRIPTION OR TO PAY THE FEE WITHIN THE PRESCRIBED TIME-LIMIT Effective date: 20080925 Ref country code: DK Free format text: LAPSE BECAUSE OF FAILURE TO SUBMIT A TRANSLATION OF THE DESCRIPTION OR TO PAY THE FEE WITHIN THE PRESCRIBED TIME-LIMIT Effective date: 20080625 Ref country code: IE Free format text: LAPSE BECAUSE OF FAILURE TO SUBMIT A TRANSLATION OF THE DESCRIPTION OR TO PAY THE FEE WITHIN THE PRESCRIBED TIME-LIMIT Effective date: 20080625 Ref country code: EE Free format text: LAPSE BECAUSE OF FAILURE TO SUBMIT A TRANSLATION OF THE DESCRIPTION OR TO PAY THE FEE WITHIN THE PRESCRIBED TIME-LIMIT Effective date: 20080625 |
|
| PLBE | No opposition filed within time limit |
Free format text: ORIGINAL CODE: 0009261 |
|
| STAA | Information on the status of an ep patent application or granted ep patent |
Free format text: STATUS: NO OPPOSITION FILED WITHIN TIME LIMIT |
|
| BERE | Be: lapsed |
Owner name: BROSE SCHLIESSSYSTEME G.M.B.H. & CO. KG Effective date: 20081130 |
|
| 26N | No opposition filed |
Effective date: 20090326 |
|
| PG25 | Lapsed in a contracting state [announced via postgrant information from national office to epo] |
Ref country code: MC Free format text: LAPSE BECAUSE OF NON-PAYMENT OF DUE FEES Effective date: 20081130 |
|
| REG | Reference to a national code |
Ref country code: CH Ref legal event code: PL |
|
| PG25 | Lapsed in a contracting state [announced via postgrant information from national office to epo] |
Ref country code: BE Free format text: LAPSE BECAUSE OF NON-PAYMENT OF DUE FEES Effective date: 20081130 |
|
| PG25 | Lapsed in a contracting state [announced via postgrant information from national office to epo] |
Ref country code: LI Free format text: LAPSE BECAUSE OF NON-PAYMENT OF DUE FEES Effective date: 20081130 Ref country code: CH Free format text: LAPSE BECAUSE OF NON-PAYMENT OF DUE FEES Effective date: 20081130 |
|
| PG25 | Lapsed in a contracting state [announced via postgrant information from national office to epo] |
Ref country code: AT Free format text: LAPSE BECAUSE OF NON-PAYMENT OF DUE FEES Effective date: 20081125 |
|
| PG25 | Lapsed in a contracting state [announced via postgrant information from national office to epo] |
Ref country code: CY Free format text: LAPSE BECAUSE OF FAILURE TO SUBMIT A TRANSLATION OF THE DESCRIPTION OR TO PAY THE FEE WITHIN THE PRESCRIBED TIME-LIMIT Effective date: 20080625 Ref country code: HU Free format text: LAPSE BECAUSE OF FAILURE TO SUBMIT A TRANSLATION OF THE DESCRIPTION OR TO PAY THE FEE WITHIN THE PRESCRIBED TIME-LIMIT Effective date: 20081226 Ref country code: LU Free format text: LAPSE BECAUSE OF NON-PAYMENT OF DUE FEES Effective date: 20081125 |
|
| PG25 | Lapsed in a contracting state [announced via postgrant information from national office to epo] |
Ref country code: TR Free format text: LAPSE BECAUSE OF FAILURE TO SUBMIT A TRANSLATION OF THE DESCRIPTION OR TO PAY THE FEE WITHIN THE PRESCRIBED TIME-LIMIT Effective date: 20080625 |
|
| PG25 | Lapsed in a contracting state [announced via postgrant information from national office to epo] |
Ref country code: GR Free format text: LAPSE BECAUSE OF FAILURE TO SUBMIT A TRANSLATION OF THE DESCRIPTION OR TO PAY THE FEE WITHIN THE PRESCRIBED TIME-LIMIT Effective date: 20080926 |
|
| REG | Reference to a national code |
Ref country code: DE Ref legal event code: R082 Ref document number: 502004007436 Country of ref document: DE Representative=s name: GOTTSCHALD PATENTANWALTSKANZLEI, DE Ref country code: DE Ref legal event code: R082 Ref document number: 502004007436 Country of ref document: DE Ref country code: DE Ref legal event code: R082 Ref document number: 502004007436 Country of ref document: DE Representative=s name: GOTTSCHALD PATENTANWAELTE PARTNERSCHAFT MBB, DE |
|
| REG | Reference to a national code |
Ref country code: FR Ref legal event code: PLFP Year of fee payment: 12 |
|
| REG | Reference to a national code |
Ref country code: FR Ref legal event code: PLFP Year of fee payment: 13 |
|
| REG | Reference to a national code |
Ref country code: FR Ref legal event code: PLFP Year of fee payment: 14 |
|
| REG | Reference to a national code |
Ref country code: FR Ref legal event code: PLFP Year of fee payment: 15 |
|
| PGFP | Annual fee paid to national office [announced via postgrant information from national office to epo] |
Ref country code: DE Payment date: 20181130 Year of fee payment: 15 Ref country code: CZ Payment date: 20181116 Year of fee payment: 15 |
|
| PGFP | Annual fee paid to national office [announced via postgrant information from national office to epo] |
Ref country code: GB Payment date: 20181121 Year of fee payment: 16 Ref country code: ES Payment date: 20181203 Year of fee payment: 15 Ref country code: IT Payment date: 20181122 Year of fee payment: 15 |
|
| PGFP | Annual fee paid to national office [announced via postgrant information from national office to epo] |
Ref country code: FR Payment date: 20191014 Year of fee payment: 16 |
|
| REG | Reference to a national code |
Ref country code: DE Ref legal event code: R119 Ref document number: 502004007436 Country of ref document: DE |
|
| PG25 | Lapsed in a contracting state [announced via postgrant information from national office to epo] |
Ref country code: CZ Free format text: LAPSE BECAUSE OF NON-PAYMENT OF DUE FEES Effective date: 20191125 |
|
| GBPC | Gb: european patent ceased through non-payment of renewal fee |
Effective date: 20191125 |
|
| PG25 | Lapsed in a contracting state [announced via postgrant information from national office to epo] |
Ref country code: DE Free format text: LAPSE BECAUSE OF NON-PAYMENT OF DUE FEES Effective date: 20200603 Ref country code: IT Free format text: LAPSE BECAUSE OF NON-PAYMENT OF DUE FEES Effective date: 20191125 Ref country code: GB Free format text: LAPSE BECAUSE OF NON-PAYMENT OF DUE FEES Effective date: 20191125 |
|
| REG | Reference to a national code |
Ref country code: ES Ref legal event code: FD2A Effective date: 20210528 |
|
| PG25 | Lapsed in a contracting state [announced via postgrant information from national office to epo] |
Ref country code: ES Free format text: LAPSE BECAUSE OF NON-PAYMENT OF DUE FEES Effective date: 20191126 |
|
| PG25 | Lapsed in a contracting state [announced via postgrant information from national office to epo] |
Ref country code: FR Free format text: LAPSE BECAUSE OF NON-PAYMENT OF DUE FEES Effective date: 20201130 |