EP1528007B1 - Zuschnitt auf Kraftkarton zur Herstellung eine mehrreihigen Flaschenträgers - Google Patents
Zuschnitt auf Kraftkarton zur Herstellung eine mehrreihigen Flaschenträgers Download PDFInfo
- Publication number
- EP1528007B1 EP1528007B1 EP04025488A EP04025488A EP1528007B1 EP 1528007 B1 EP1528007 B1 EP 1528007B1 EP 04025488 A EP04025488 A EP 04025488A EP 04025488 A EP04025488 A EP 04025488A EP 1528007 B1 EP1528007 B1 EP 1528007B1
- Authority
- EP
- European Patent Office
- Prior art keywords
- blank according
- handle
- sections
- longitudinal axis
- parts
- Prior art date
- Legal status (The legal status is an assumption and is not a legal conclusion. Google has not performed a legal analysis and makes no representation as to the accuracy of the status listed.)
- Expired - Lifetime
Links
- 210000003739 neck Anatomy 0.000 claims abstract description 10
- 230000002093 peripheral effect Effects 0.000 claims description 10
- 238000004080 punching Methods 0.000 claims description 7
- 238000004026 adhesive bonding Methods 0.000 claims description 6
- 230000002787 reinforcement Effects 0.000 claims description 6
- 239000002655 kraft paper Substances 0.000 claims description 4
- 238000000034 method Methods 0.000 abstract description 13
- 238000003825 pressing Methods 0.000 abstract description 4
- 239000000969 carrier Substances 0.000 description 12
- 239000000853 adhesive Substances 0.000 description 11
- 230000001070 adhesive effect Effects 0.000 description 10
- 230000015572 biosynthetic process Effects 0.000 description 10
- 230000008901 benefit Effects 0.000 description 7
- 230000008569 process Effects 0.000 description 7
- 230000003014 reinforcing effect Effects 0.000 description 7
- 210000002105 tongue Anatomy 0.000 description 7
- 238000004519 manufacturing process Methods 0.000 description 6
- 235000013361 beverage Nutrition 0.000 description 5
- 239000003292 glue Substances 0.000 description 5
- 238000005520 cutting process Methods 0.000 description 4
- 240000006240 Linum usitatissimum Species 0.000 description 3
- 238000005452 bending Methods 0.000 description 3
- 239000011521 glass Substances 0.000 description 3
- 238000004049 embossing Methods 0.000 description 2
- 238000003780 insertion Methods 0.000 description 2
- 230000037431 insertion Effects 0.000 description 2
- 239000000463 material Substances 0.000 description 2
- 238000002360 preparation method Methods 0.000 description 2
- 150000001875 compounds Chemical class 0.000 description 1
- 238000010276 construction Methods 0.000 description 1
- 239000007799 cork Substances 0.000 description 1
- 230000001419 dependent effect Effects 0.000 description 1
- 230000002349 favourable effect Effects 0.000 description 1
- 230000009191 jumping Effects 0.000 description 1
- 239000007788 liquid Substances 0.000 description 1
- 238000012986 modification Methods 0.000 description 1
- 230000004048 modification Effects 0.000 description 1
- 230000000284 resting effect Effects 0.000 description 1
- 238000000926 separation method Methods 0.000 description 1
- 239000007787 solid Substances 0.000 description 1
- 238000003892 spreading Methods 0.000 description 1
- 230000007480 spreading Effects 0.000 description 1
- 230000007704 transition Effects 0.000 description 1
Images
Classifications
-
- B—PERFORMING OPERATIONS; TRANSPORTING
- B65—CONVEYING; PACKING; STORING; HANDLING THIN OR FILAMENTARY MATERIAL
- B65D—CONTAINERS FOR STORAGE OR TRANSPORT OF ARTICLES OR MATERIALS, e.g. BAGS, BARRELS, BOTTLES, BOXES, CANS, CARTONS, CRATES, DRUMS, JARS, TANKS, HOPPERS, FORWARDING CONTAINERS; ACCESSORIES, CLOSURES, OR FITTINGS THEREFOR; PACKAGING ELEMENTS; PACKAGES
- B65D71/00—Bundles of articles held together by packaging elements for convenience of storage or transport, e.g. portable segregating carrier for plural receptacles such as beer cans or pop bottles; Bales of material
- B65D71/40—Bundles of articles held together by packaging elements for convenience of storage or transport, e.g. portable segregating carrier for plural receptacles such as beer cans or pop bottles; Bales of material comprising a plurality of articles held together only partially by packaging elements formed by folding a blank or several blanks
- B65D71/46—Bundles of articles held together by packaging elements for convenience of storage or transport, e.g. portable segregating carrier for plural receptacles such as beer cans or pop bottles; Bales of material comprising a plurality of articles held together only partially by packaging elements formed by folding a blank or several blanks formed by folding a single blank into a tubular element
- B65D71/48—Bundles of articles held together by packaging elements for convenience of storage or transport, e.g. portable segregating carrier for plural receptacles such as beer cans or pop bottles; Bales of material comprising a plurality of articles held together only partially by packaging elements formed by folding a blank or several blanks formed by folding a single blank into a tubular element characterised by the handle
Definitions
- the invention relates to a blank of the type specified in the preamble of claim 1.
- Blanks of this type for the production of single or multi-row carriers for bottles, in particular beverage bottles, are known in various variants ( DE 1 900 965 U1 . FR 2 346 237 A1 . DE 40 34 069 A1 ).
- these blanks form completely prefabricated bottle carriers, which are placed in the erected, ready-to-use state with receiving openings formed in the bottom and top parts on the necks of the bottles to be transported.
- the required for the desired function solid compound of the carrier with the bottles is achieved essentially by positive engagement by surrounding the receiving openings edges are formed such that they snap when placing the carrier on the bottles resiliently under the closure elements.
- each ceiling part can only be made from one layer of the blank, which further impairs the function of the undergrip segments. The latter would also apply if it were attempted to apply such blank forms in an analogous manner to double-row carriers.
- the technical problem underlying the invention is to provide a two- or multi-row blank of the type described above in the manner with centrally arranged carrying handles that results in a stable, simple construction, the weight of 2 x 2, 2 x 3 or can withstand more filled bottles.
- the invention provides the advantage that the grip handle forming portions of the blank forming the handle are integrated into the ceiling or floor part, that both all intended to accommodate the bottle necks openings have closed contours and in the finished carrier two superimposed ceiling parts available.
- This makes it possible, in particular, to provide such blanks or bottle carriers produced therefrom with carrying handles that can be grasped over the upper cover part and can be detected with the whole hand, which have hitherto proved to be particularly stable with regard to the formation of the undercut segments (eg. DE 40 34 069 A1 ).
- Fig. 1 shows a first embodiment of a blank 1 according to the invention in a flat, unfolded state, ie substantially as it comes from a corresponding punching device.
- a kraft cardboard is used with a weight that depends on the number and size of the bottles to be packaged z. B. 300 g / m 2 to 450 g / m 2 may be.
- the blank 1 includes a base member having a substantially rectangular outer contour and two long, parallel to a longitudinal axis 2 extending side edges 3a, 3b and two preferably arranged perpendicular thereto, short side edges 4a and 4b.
- the basic element is subdivided into a plurality of fields and in particular contains a bottom part 5, an in Fig. 1 to the left, first side part 6 and one in Fig. 1
- the base member includes a left of the first side part 6 lying, first ceiling part 8 and a right of the second side part 7 lying, second ceiling part 9. All these parts 5 to 9 have substantially rectangular peripheral contours and are arranged in the direction of the longitudinal axis 2 of the blank 1 side by side so that their long sides are substantially perpendicular and their short sides are arranged substantially parallel to the longitudinal axis 2.
- the parts 5 to 9 are separated by preferably substantially perpendicular to the longitudinal axis 2 extending, imaginary folding lines, which in order to facilitate further explained under folding the various parts but also depending on the usefulness of already applied during punching embossing, grooves, combined creasing / cutting Lines od. Like. May exist.
- a first fold line 10 and a second fold line 11 between the first side part 6 and the first ceiling part 8, a third fold line 12 and between the second side part 7 and the second ceiling part 9, a fourth fold line 14 is provided.
- the two side parts 6 and 7 in each two parallel to the longitudinal axis 2 adjacent side part sections 6a, 6b and 7a, 7b be divided, preferably separated by perpendicular to the longitudinal axis 2 extending fifth and sixth, also in the punching process attached fold lines 15 and 16 are.
- the side part sections 6a, 7a adjoining the bottom part 5 have a comparatively large height h1
- the side part sections 6b, 7b adjoining the ceiling parts 8, 9 have a comparatively small height h2.
- the second ceiling part 9 has in two preferably perpendicular to the longitudinal axis 2 rows a plurality, in the embodiment three each according to the associated bottle shape and size spaced first openings 17, the peripheral lines or edges 18 of concentric, preferably formed as a seventh fold lines, closed perimeter 19 are surrounded. Between the two circumferential lines 18 and 19, ie in the peripheral areas surrounding the openings 17, the blank 1 each have a plurality of circumferentially adjacent sectors 20, which are separated by radially extending, preferably during the punching separation lines 21 and therefore only along the circumferential lines 19 are connected to the blank 1.
- the sectors 20 form so-called under-grip segments, which are used to reach under the closure elements od. Like. Of bottles, as further below with reference to Fig. 11 to 14 is explained.
- the first cover part 8 has in two preferably perpendicular to the longitudinal axis 2 extending rows on the number of first openings 17 corresponding number of second openings 22. These are arranged at the same distances as the first openings 17 and provided with peripheral lines or edges 23 which preferably have the same diameter as the peripheral lines 19 surrounding the first openings 17.
- the peripheral lines 18, 19, 23 circular, wherein the circumferential lines 18 of the first openings 17 according to the intended number of eight sub-grip segments 20 can also form an octagon.
- the bottom part 5 has third openings 24, which are provided in the same number as the first and second openings 17, 22 and in a corresponding arrangement like these.
- the openings 24 have circular peripheral lines 25 and diameter, which are expedient slightly larger than that of the openings 22.
- the bottom part 5 and the second ceiling part 9 parallel to the longitudinal axis 2 substantially equal widths, so that they can be arranged one above the other in a conventional manner for producing a bottle carrier, that the openings 17, 22 and 24 are aligned.
- Blanks of the type described are basically known (eg DE 40 34 069 A1 ) and therefore need not be explained to the person skilled in the art.
- the first cover part 8 has two ceiling part sections 8a and 8b spaced in the direction of the longitudinal axis 2, a first ceiling part section 8a at the fold line 12 and a second cover part section 8b at the side window 4b ends.
- a handle member 27 is also arranged according to the invention, the two contiguous, in the direction of the longitudinal axis 2 adjacent handle portions 27a and 27b, the mutually facing side edges along a substantially perpendicular to the longitudinal axis 2 extending, eighth fold line 28 with each other are connected.
- the one handle portion 27a at its other side edge along a ninth fold line 29 with the inner ceiling portion 8a and second handle portion 27b at its other side edge along a tenth fold line 30 with the outer ceiling portion 8b is connected, wherein the two fold lines 29 and 30 also arranged substantially perpendicular to the longitudinal axis 2 and preferably formed as the other fold lines.
- the fold line 34 preferably coincides substantially with the side edge 3b of the base element of the blank 32 and therefore lies substantially parallel to the longitudinal axis 2.
- the cover 33 advantageously has a measured perpendicular to the longitudinal axis 2 height h3, which is preferably at most equal to the sum of the Heights h1 and h2 and expediently substantially equal to the height h1 of the side part sections 6a and 7a, but how it is smaller than the depth of the bottom part 9 measured in the same direction.
- the fold line 34 is preferably provided with a perforation, so that the cover 33 can be easily torn off the bottom part 5.
- the blank 32 has two similar lateral cover members 33 which are connected on opposite sides of the longitudinal axis 2 with the bottom part 5 and preferably mirror-symmetrical to the longitudinal axis 2, so that the description for a cover 33 in the same Way also for the other cover 33 applies.
- a first stage of the process At least one of the two handle portions 27 a and 27 b z.
- the two handle portions 27a, 27b by about 90 ° to the ninth fold line 29 and the tenth fold line 30 in Fig. 1 and 2 folded back.
- the fold lines 29, 30 are simultaneously moved towards each other to the mutual contact to the Handle sections 27a, 27b also about 180 ° around the connecting them eighth fold line 28 to fold from until they lie with their inner sides together and are firmly connected to each other by means of the adhesive in the zone 35.
- the ceiling part 8 is shown a front view in the direction of an arrow a for the state obtained after folding.
- a further process step ( Fig. 4 ) will be in Fig. 1 and 2 180 ° about the second fold line 11, whereby the inside of the side part 7 and an adjacent portion of the cover part 8 on the cover parts 33 and the remaining portion of the ceiling part 9 on the inside the first side part 6 comes to rest.
- the dimensions of the various parts z. B. chosen so that after this stage of the process, the side edge 4 a of the ceiling part 9 comes to rest approximately above the third fold line 12.
- the cover members 33 are the parts 7, 9 in an analogous manner directly on the réelleseites of the bottom part 5.
- the ceiling part 9 is on its now upper side in the range of glue zones 36, which in Fig. 4 indicated by crosses, covered with an adhesive.
- a firm connection between the two cover parts 8, 9 is made by applying pressure to the ceiling part 8 and curing the glue by gluing.
- Fig. 5 shows, the arrangement made such that the edge lines 23 of the openings 22 coaxially over the Edge lines 19 of the openings 17 come to rest.
- the width of the ceiling part 9 measured in the direction of the longitudinal axis 2 substantially corresponds to the sum of the widths of the ceiling part sections 8a and 8b.
- the grip part 27 is now arranged above the first ceiling part 8.
- the handle portion 27 is around the fold lines 29 and 30, of which in Fig. 5 only the fold line 29 is visible, relative to the ceiling part 8 pivotally, since the two fold lines 29, 30 in the off Fig. 3 apparent state are close together and form a common pivot axis.
- the arrangement is preferably made so that the two handle portions 27a, 27b are biased in a preferred pivoting direction and are not perpendicular to the top of the ceiling portion 8 in the unused state, but automatically form an angle with this, which is preferably substantially smaller than 90 ° , as Fig. 5 and 6 demonstrate. This is z. B.
- the fold lines 29 and 30, with which they adjoin the ceiling sections 8a, 8b, are suitably designed as pure creasing or creasing / cutting lines or combinations thereof.
- the measured in the direction of the longitudinal axis 2 height of the two substantially equal handle portions 27a, 27b is preferably smaller than the width of each of the two ceiling sections 8a and 8b and with particular advantage less than the distances of the fold lines 29, 30 of imaginary, vertical to the longitudinal axis 2 extending center lines through the openings 17, 22 corresponds.
- the grip part 27 covers in its resting on the ceiling part 8 state ( Fig. 5 )
- the openings 17, 22 only partially, which proves to be particularly favorable for the case that the finished bottle carrier is to be pressed with a created for this purpose Aufsetz réelle to a corresponding, formed of six bottles bottle formation without the handle 27 annoying acts.
- FIG. 6 in front view from the direction of an arrow v in Fig. 5 shows, is still obtained by the process steps described a still folded, but otherwise ready blank 1.
- This can be required by the manufacturer or the customer in a required for mounting on bottles, final Be brought form that the two interconnected ceiling parts 8, 9 and the bottom part 5 according to Fig. 7 in the direction of the arrows drawn there are removed from each other, until in a known manner ( DE 40 34 069 A1 ) a bottle carrier 37 with a substantially rectangular cross-section is formed ( FIGS. 9 and 10 ).
- the arrangement is such that now the third, located in the bottom part 5 openings 24 are aligned coaxially with the openings 17, 22.
- the cover parts 33 are located, provided they are in a bottle carrier 37 a ( Fig. 8 ) are present in this state still substantially on the bottom part 5 and are suitably dimensioned such that they each at least one of the openings 24 (eg 24a in Fig. 2 ) at least partially overlap, which is close to an eleventh fold line 23. Otherwise, the bottle carrier 37a ( Fig. 8 ) the bottle carrier 37 ( Fig. 7 ).
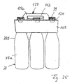
- Fig. 11 and 12 show the application of the invention from FIGS. 9 and 10 apparent carrier 37 after placement on six bottles 38.
- the bottles 38 which may be primarily glass or plastic beverage bottles are those having a substantially cylindrical bottle body 38a, an upwardly adjacent, tapered shoulder portion 38b and a subsequent neck 38c provided with a closure member 39, e.g. B. a conventional crown cork, is closed.
- the carrier 37 is placed from above on six, standing in two rows of bottles 38 that the six in the bottom part 5 and in the cover parts 8, 9 formed openings 24, 17 and 22 (FIGS. Fig. 2 ) are aligned coaxially with the closure elements 39, in particular Fig. 11 shows.
- the ceiling parts 8, 9 By pressure on the ceiling parts 8, 9, these are then pushed down over the closure elements 39, so that the closure elements 39, the under-grip segments 20 of the ceiling portion 8 conically spread until they engage after overflowing the closure elements 39 below the lower edges.
- the diameters of the peripheral lines 18, 19 and 23 of the openings 17 and 22 and the radial lengths of the lower grip segments 20 are selected so that the lower grip segments 20 in the attached state (FIG. Fig. 11, 12th ) abut against the lower edges of the closure elements 39, are spread apart by less than 90 ° and are resiliently biased radially inward, which is still supported by the peripheral edges 23 of the openings 22.
- the diameters of the third openings 24 of the bottom part 5 are selected such that they rest at locations on shoulder areas 38b of the bottles 38 whose distances from the lower edges of the closure elements 39 are smaller than the sum of the heights h1 and h2 of the side panel sections 6a , 6b and 7a, 7b ( Fig. 1 ) corresponds. Therefore, it is necessary during assembly of the support 37, the side parts 6, 7, depending on the case more or less strong around the fold lines 15, 16 (FIG. Fig. 1 ) resiliently buckling. This is in Fig. 11 indicated by the achievable extreme position in which the fold lines 15, 16 come to rest practically on the underside of the lower ceiling part 9.
- the carrier 37 is made of kraft cardboard, but nevertheless flexible in itself, results in this way, regardless of any manufacturing and / or bottle tolerances a tight fit.
- Fig. 13 and 14 show the application of the blank 32 according to Fig. 2 and the carrier 37a produced therewith Fig. 8 , the up to the additional cover parts 33 according to the carrier 37 after Fig. 11 and 12 equivalent.
- the cover 33 in the off Fig. 3 apparent state of the prefabricated blank 32 at least one opening 24a (FIG. Fig. 2 ) of the bottom part 5, they are automatically erected during insertion of a bottle neck 38c in the opening 24a and pivoted outwardly.
- the dimensioning may preferably be selected so that the cover 33 are erected upright in a nearly vertical position relative to the bottom part 5 ( Fig. 14 ).
- the cover 33 also in the handling of the filled with the bottles 38 Carrier 37a in the off Fig. 13 and 14 remain apparent position, they and the side panels 6, 7 according to the invention with cooperating connection means, preferably provided for mutual latching locking elements.
- These include, in particular Fig. 2 and 14 show, at least one attached to a cover 33, outwardly projecting latching tongue 40 and one of these, formed in a side part 6, 7, for receiving the latching tongue 40 specific recess 41.
- each cover 33 and each side member 6 is on each side , 7 each such a locking tongue 40 and recess 41 are present.
- the arrangement is preferably made so that the erection of the cover members 33 when placed on the bottle 38 automatically until the automatic engagement of the locking tongues 40 in the recesses 41 and therefore no additional step is required for this.
- the cover parts 33 and at least one of the cover parts 8, 9 with further cooperating connecting means.
- the farthest from the longitudinal axis 2 ends of the cover 33 at least one respective clamping tongue 42 which is foldable about a longitudinal axis 2 parallel, twelfth fold line 43 and formed so that they automatically when erecting the respective cover 33 against an associated clamping surface sets, which is expedient here the bottom part 5 facing bottom of the lower ceiling part 9.
- This also allows a substantially perpendicular to the bottom part 5 extended position of the cover 33 is secured during use of the carrier 37 a.
- the cover 33 may on the one hand as additional advertising media, on the other hand z. B. can be used as token by being marked accordingly and arranged tear-off along the perforated fold lines 34.
- the cover 33 but also as an outer cap for between them and the associated bottles 38 introduced gift items such. B. toy cars od. Like. Serve.
- the cover parts 33 preferably have finger openings, not shown which can normally be closed by depressible tongues.
- the cover members 33 allow effective light protection, if the bottles 38 od with a photosensitive liquid. Like. Should be filled.
- the cover members 33 may also be provided with a standard bar code valid for the entire portable bottle set to prevent the bottle carrier 37a from being erroneously scanned marks on the bottles 38 itself upon scanning.
- the blank 1 can be provided with tear-open bottles 44, which can be torn open along perforations 45 produced during the punching process, thereby removing the bottles 38 from the finished carriers 37 (FIG. Fig. 11 and 12 ) facilitate.
- the perforations 45 suitably lead from parts intended for gripping the tear-open tabs to selected openings 17 and 22, respectively.
- the described fold lines 10 to 12, 14 to 16, 19, 28 to 30, 34 and 43 may be imaginary lines, although they are conveniently made in any manner by embossing, creasing, creasing and cutting or otherwise. Although theoretically they may be absent, they greatly facilitate the folding of the various parts and the spreading of the undergrip segments 20. In addition, it may be appropriate to form the fold lines so that they promote folding of selected parts of the blanks 1 and 32 in predetermined preferred directions. This is true as above based on the Fig. 5 and 6 has been explained, in particular for the gripping parts 27 formed from the handle portions 27a, 27b, preferably not in the erected state of the carrier 37, as in Fig.
- FIG. 13 and 14 is shown to be perpendicular to the carrier top, but should form a comparatively small angle with this.
- Fig. 11 and 12 shown for the carrier 37, the carrier 37 a after Fig. 13 and 14 also corresponds to the difference that he has no cover 33.
- Fig. 11 schematically indicated by a bottom 46 of such a crate. Show against it Fig. 13 and 14 in that the handle part 27 in the fully erected state forms a comfortably graspable carrying handle.
- Fig. 15 shows analogously to Fig. 1 and 2 a further embodiment of a blank 101 according to the invention in a flat lying state. Since this most of the features of the blank 1 according to Fig. 1 below, parts of the 15 to 26 as far as they are the same or substantially the same as corresponding parts in Fig. 1 to 14 are provided with increased by 100 reference numerals. In addition, to avoid repetition, these parts will be described below only if necessary for the purposes of the invention.
- a bottom portion 105 has two spaced in the direction of a longitudinal axis 102 bottom portions 105a and 105b, wherein one bottom portion 105a at a fold line 110 and the other bottom portion 105b ends at a fold line 111.
- a handle part 127 intended for the formation of a carrying handle is arranged according to the invention, which has two contiguous handle part sections 127a, 127b lying adjacent to one another in the direction of the longitudinal axis 102, the mutually facing side edges along a substantially perpendicular to the longitudinal axis 102 eighth Fold line 128 are connected miteinder.
- the one handle portion 127 a at its other side edge along a ninth fold line 129 with the in Fig. 15 left bottom portion 105a and the other handle portion 127b at its other side edge along a tenth fold line 130 with the in Fig. 15 right bottom portion 105b connected, wherein the two fold lines 129 and 130 are also arranged substantially perpendicular to the longitudinal axis 102.
- a first stage of the process At least one of the two handle portions 127 a and 127 b z. In a zone 135 in Fig. 15 on the invisible back of the blank 101 and therefore is indicated by dashed crosses, covered with a suitable adhesive. Thereafter, the two handle portions 127a, 127b are folded by about 90 ° to the ninth and tenth folding line 129 and 130 after from.
- the fold lines 129, 130 at the same time in the direction of the longitudinal axis 102 to mutual contact moves toward each other to fold the handle portions 127a, 127b by about 180 ° about the eighth fold line 128 connecting them to the rear, until they with their backs to each other lie and are firmly connected to each other by means of the adhesive in the zone 135.
- Fig. 16 Above the ceiling portion 108 is a front view in the direction of an arrow b in Fig. 16 for the state obtained after folding.
- the two fold lines 129, 130 are now directly next to each other, so that they form a pivot axis about which the handle member 127 can be pivoted relative to the rest of the blank 101.
- the handle portion 127 as well as Fig. 16 can recognize to this pivot axis z. B. pivoted to the left that it rests substantially completely on the associated areas of the bottom part 105 and the side part 106.
- a further process step ( Fig. 17 ) will be in Fig. 16 right side portion 107 and the adjacent second ceiling portion 109 preferably by about 180 ° together about the second fold line 111 and in Fig. 16 folded over from and above, whereby the inside of the side portion 107 on the bottom portion 105b and a part of the handle portion 127b and the inside of the second ceiling portion 109 on the remaining part of the handle portion 127b and the second side portion 106 comes to rest.
- the dimensions of the various parts z. B. selected so that after this process step, the side edge 104 a of the ceiling portion 109 is above the third fold line 112.
- the ceiling part 109 is on its now upper side in the range of glue zones 136, which in Fig. 17 indicated by crosses, provided with an adhesive. Subsequently, the ceiling part 108 is rotated by about 180 ° about the third fold line 112 and in Fig. 17 folded over from the top or and placed on the surface covered with adhesive of the second ceiling portion 109. Thereafter, by applying pressure to the ceiling portion 108 and curing the size of the glue, a strong bond is made between the two ceiling portions 108, 109 by gluing. It is how Fig. 18 shows, the arrangement is such that the edge lines 123 of the openings 122 come to lie coaxially over the edge lines 119 of the openings 117.
- the width of the ceiling part 108 measured in the direction of the longitudinal axis 102 preferably corresponds substantially to the width of the ceiling part 109.
- the grip part 127 is now arranged between the second ceiling part 109 and the first side part 106 and the bottom part portion 105a.
- the arrangement is preferably made so that the two handle portions 127a, 127b in a preferred, from Fig. 16 apparent swivel direction are biased and in the state after Fig. 16 are not perpendicular to the top of the bottom portion 105, but automatically form an angle with this, preferably substantially smaller than 90 °.
- This is z. B. achieved in that the fold lines 129 and 130, with which the handle portions 127a, 127b adjoin the bottom portions 105a, 105b, are suitably designed as pure creasing or creasing / cutting lines or combinations thereof.
- the measured in the direction of the longitudinal axis 102 height of the two substantially equal grip portions 127a, 127b is sufficiently larger than the measured in the same direction height of the two equal-sized side portions 106 and 107 as explained below.
- Fig. 18 is a front view from the direction of an arrow x in Fig. 18 shows, in the direction of the arrows drawn there are removed from each other, until in a known manner ( DE 40 34 069 A1 ) a bottle carrier 137 is created ( Fig. 21, 22nd ).
- the arrangement is such that now also the third, located in the bottom part 105 openings 124 on the openings 117, 122 are aligned coaxially.
- the two ceiling parts 108, 109 each have a slot 146 or 147 running essentially perpendicular to the longitudinal axis 102 in central areas (eg. Fig. 16 ), which when erecting the blank 101 in the off FIGS. 19 and 20 can be seen overlying each other so that the handle portion 127 with a tapered front portion 127c ( Fig. 20 ) can be pushed through them.
- the front portion 127c is formed by the fact that the handle portions 127a, 127b are provided at their front of the fold lines 129, 130 front end with corresponding tapers, such. B. Fig. 15 shows. Since the height of the handle portions 127a, 127b ( Fig.
- the handle part 127 stands after erecting the blank 101 to the finished carrier 137 (FIG. Fig. 20 ) so much over the tops of the upper ceiling portion 108, that it like the handle portion 27 in Fig. 13 can be taken during transport of bottles.
- the front sections 127c also form, with the areas of the handle section sections 127a, 127b lying behind, a shoulder 127d (FIG. Fig. 20 ), which lie when pulling on the handle portion 127 from below against the edge of the slot 147 and thereby prevent the bottom part 105 can be pulled up to the ceiling portion 109 zoom.
- the handle member 127 when erecting the blank 101 is more or less automatically guided through the slots 146, 147 to the outside.
- two measures are provided according to the invention. On the one hand are imaginary, perpendicular to the longitudinal axis 102 extending center lines of the slots 146, 147 slightly off-center and arranged in the ceiling parts 108, 109 such that a parallel thereto delimiting line 146a of the slot 146 (FIG. Fig.
- each sector is only along a narrow, the fold line 128 facing fixed point 149, the z. B. is only one to two millimeters wide, connected to the handle portion 127 b, but otherwise the punching of the blank 101 has been provided with an all-round, punched-through contour 150.
- the tabs 148 are made effective by the inside of the second cover part 109 before folding, ie before the transition from the state according to FIG Fig. 16 in the state according to Fig. 17 , in the area of two in Fig. 16 indicated glue zones 151 is covered with an adhesive. After folding over of the second cover part 109, therefore, the tabs 148 in regions 148a (FIG. Fig. 16 ) is firmly connected to the inside 109 (see also the enlarged illustration in FIG Fig. 19 ). This in turn has the consequence that when erecting the blank 101 and thereby taking place of the cover parts 108, 109 from the bottom part 105 in the direction of in Fig.
- a particular advantage of the Aufricht Anlagen described is that the blanks 101 can also be easily erected by machine.
- the fully erected carrier 137 is off FIGS. 21 and 22 seen.
- the handle portion 127 is now disposed in the center of the bottom portion 105 and substantially perpendicular thereto, with an upper portion projecting outwardly beyond the ceiling portions 108, 109 and forming a readily graspable handle.
- FIGS. 23 to 25 show the application of the invention from FIGS. 21 and 22 apparent carrier 137 after placement on six bottles 38. To avoid repetition is so far on the description of the Fig. 11 to 14 directed.
- Fig. 26 shows Fig. 26 that in the embodiment according to FIGS. 15 to 25 the bottom portion 105 is preferably formed so flexible that it is automatically pushed wedge-shaped down to the required extent in the attack of the bottom 46 to the handle portion 127, provided that the handle portion 127 is higher than the distance of the bottom 46 when stacking beverage crates. A lateral pivoting away of the handle portion 127 is therefore contrary to Fig. 11 not mandatory.
- the handle parts 27 and 127 or handle portions 27a, 27b and 127a, 127b are otherwise such.
- B. Fig. 5 . 14 . 24 and 25 show, provided with through openings 153 for the fingers.
- the two handle portions 27a, 27b and 127a, 127b are preferably firmly connected to each other, which is preferably done by gluing as in the connection of the ceiling or floor parts 8a, 8b and 105a, 105.
- bottles in the context of the present invention, all containers, ie also can bottles, glass bottles od. Like. Includes, which are formed in their shoulder and neck portions as the described bottles 38 and therefore with the described carriers 37, 37 a and 137 are packaged can.
- the bottle bodies 38a may of course also have other shapes, in particular deviating from the illustrated cylindrical shape.
- other kraft cardboard can continue to be used. For example, basis weights of 400-450 g / m 2 for 11 bottles, of 360-420 g / m 2 for bottles of 0.51 content and of 300-360 g / m 2 for bottles of 0.33 l are suitable.
- Fig. 27 and 28 the example of a substantially the Fig. 1 corresponding blank shown.
- the grip portion 27a in Fig. 28 on the other hand, the grip portion 27b is provided with one reinforcing strip 155 each.
- This consists z. B. from a thin strip or tape of a sufficiently hard plastic, which is preferably connected to the inner, not visible in use bottom of the handle portion 27 a and 27 b, for example by gluing.
- Fig. 27 .
- the reinforcing strip 155 can extend over substantially the entire length of the handle section 27a, 27b, measured transversely to the longitudinal axis 2, and have a width in the direction of the longitudinal axis 2 substantially equal to the distance of the fold line 28 from a border 156 parallel thereto , 157 corresponds to the passage opening 153 formed in the respective grip part section 27a, 27b.
- the reinforcing strip 155 is suitably provided on a broad side with a self-adhesive surface, so that it can be easily attached to the finished blank.
- the weight per unit area of the carton provided for the carrier can be reduced by approximately 15% when the reinforcing strip 155 is used, which of course could also be applied to both handle sections 27a and 27b.
- the reinforcing strip 155 increases the carrying stability with otherwise the same conditions by at least about 40%, so that the handle member 27 under load even in comparatively thin and narrow, located above the passage openings 153 web portions of the handle parts 27 does not crack. Particularly with carriers for glass bottles with contents of 0.51 to 1.51, this safety aspect is of particular importance.
- Corresponding reinforcing strips can after blanks Fig. 2 and 15 be provided.
- FIG. 27 to 29 be provided by means of positively acting locking means.
- Fig. 27 and 28 show for this purpose on the ceiling sections 8a and 8b, which come to lie in the finished support 37 on the ceiling part 9, locking tabs 158 are provided, which are each embossed or prepunched along an outline 159, but along a rear, transverse to the longitudinal axis of the second extending bending line 160 remain firmly connected to the blank 1.
- These locking tabs 158 may, for. B. folded with a puncture dome inward.
- the blank material within the recesses 161 is not removed, but merely pre-punched or pre-stamped along a contour 163, so that it remains connected to the blank 1 along a bending line 164 extending transversely to the longitudinal axis 2 and a securing tab 165 (FIG. Fig. 29 ). Therefore, if an associated locking tab 158 is bent downwards by about 90 ° after the carrier 37 has been produced, then the securing tab 165 is also pressed downwards until it snaps behind the locking tab 158, as in FIG Fig. 29 is clearly visible. As a result, a subsequent jumping out of the locking tab 158 under load of the handle member 27 is reliably prevented.
- the locking tabs 158 and the retaining tabs 165 may, as Fig. 27 to 29 show, be foldable or bendable in different directions.
- the locking means which can also be designed and arranged differently than in Fig. 27 to 29 is shown, with particular advantage in the embodiments according to Fig. 1 to 14 If necessary, but can also in the embodiment according to 15 to 26 be used.
- the blanks 1, 32 and 101 and their openings 17, 22 and 24 or 117, 122 and 124 to other closure elements for. B. screw caps, adapted or designed so that the lower grip segments 20, 120 not at their lower edges, but create radially outwardly projecting support rings, which are often mounted below the closure elements on the bottle necks in particular plastic bottles.
- the undergrip segments 20, 120 can also be omitted altogether if the edges delimiting the openings 17, 117 are sufficiently flexible.
- another design of the undergrip segments 20, 120 is possible by z. B. instead of dividing lines 21, 121 larger spaces between the individual segments are provided.
- the various blank fields can have other geometrical shapes within certain limits, e.g. B. be provided with rounded corners or other, product-related modifications.
Landscapes
- Engineering & Computer Science (AREA)
- Mechanical Engineering (AREA)
- Packages (AREA)
- Cartons (AREA)
Description
- Die Erfindung betrifft einen Zuschnitt der im Oberbegriff des Anspruchs 1 angegebenen Gattung.
- Zuschnitte dieser Art zur Herstellung von ein- oder mehrreihigen Trägem für Flaschen, insbesondere Getränkeflaschen, sind in verschiedenen Varianten bekannt (
DE 1 900 965 U1 , ,FR 2 346 237 A1 DE 40 34 069 A1 ). In einem durch Falten und Kleben od. dgl. hergestellten Zustand bilden diese Zuschnitte jeweils komplett vorgefertigte Flaschenträger, die im aufgerichteten, gebrauchsfertigen Zustand mit in den Boden- und Deckenteilen ausgebildeten Aufnahmeöffnungen auf die Hälse der zu transportierenden Flaschen aufgesetzt werden. Die für die gewünschte Funktion erforderliche feste Verbindung der Träger mit den Flaschen wird dabei im wesentlichen durch Formschluß erreicht, indem die die Aufnahmeöffnungen umgebenden Ränder derart ausgebildet werden, daß sie beim Aufsetzen der Träger auf die Flaschen federnd unter deren Verschlußelementen einrasten. - Zur Erleichterung des Tragens und Herausnehmens gefüllter Flaschenträger aus Getränkekisten od. dgl. sind die Deckenteile der Zuschnitte in der Regel mit Tragelementen in Form von vorgestanzten, wegdrückbaren Zungen versehen, die im weggedrückten Zustand zum Einführen der Finger bestimmte, als Tragehilfen wirksame Löcher und zwischen diesen angeordnete Stege stehen lassen. Da das Ergreifen der Flaschenträger jedoch nur mit zwei Fingern einer Hand möglich ist, werden derartige Tragehilfen oft als unbequem empfunden, zumal mit vier, sechs oder mehr Flaschen gefüllte Träger ein nicht unbeträchtliches Gewicht haben.
- Daneben sind Zuschnitte zur Herstellung von einreihigen Flaschenträgern bekannt, die je ein Tragelement in Form eines über ein oberes Deckenteil vorstehenden Traggriffs aufweisen (
DE 297 07 445 U1 , ). Dem Vorteil, daß hier ein mit der ganzen Hand faßbarer Traggriff vorhanden ist, stehen die Nachteile gegenüber, daß der Träger nur eine Reihe von Flaschen aufnehmen kann und insgesamt keine ausreichende Stabilität besitzt. Grund hierfür ist insbesondere der Umstand, daß das Deckenteil aus zwei nebeneinander angeordneten Deckenteilabschnitten besteht, deren einander zugewandte Seitenkanten längs einer Mittelebene aneinander grenzen und jeweils halbkreisförmige, zur Bildung der Aufnahmeöffnungen für die Flaschenhälse bestimmte Aussparungen aufweisen. Daher werden einerseits die Aufnahmeöffnungen im fertigen Zustand des Trägers durch die Ränder von je zwei derartigen Aussparungen begrenzt, was wegen der offenen Randkonturen die Haltekräfte von die Flaschenverschlüsse untergreifenden Untergriffsegmenten reduziert. Andererseits kann jedes Deckenteil nur aus einer Lage des Zuschnitts hergestellt werden, was die Funktion der Untergriffsegmente weiter beeinträchtigt. Letzteres würde auch dann gelten, wenn versucht würde, derartige Zuschnittsformen in analoger Weise bei zweireihigen Trägern anzuwenden.PCT-WO 95/24 345 - Nicht ausreichend stabil sind auch andere bekannte, einreihige Flaschenträger (z. B.
,GB-A-2 321 229 DE-T2-698 06 049 ), bei denen der Traggriff von einem Seitenteil des Trägers aufragt. Außerdem ergibt sich bei diesen Trägern eine ungünstige Lage ihrer Schwerpunkte nach dem Aufdrücken auf die Flaschen, was eine hohe Kippneigung beim Gebrauch zur Folge hat. - Schließlich sind auch bereits mit Traggriffen versehene Träger bekannt, die zwei Reihen von Flaschen aufnehmen können. Bei diesen Trägern grenzen jedoch innerhalb des Zuschnitts zwei den Traggriff bildende Griffteilabschnitte so ungünstig an andere Abschnitte der Zuschnitte, daß entweder eine maschinelle Herstellung der Träger aus den Zuschnitten praktisch unmöglich ist oder keine zwei übereinander anzuordnende Deckenteile vorgesehen werden können (
,PCT-WO 95/23 345 Fig. 9 ), wie es für einen stabilen Halt der Flaschen im Träger wünschenswert wäre (z. B.DE-A-40 34 069 ). - Letzteres gilt auch für bekannte Zuschnitte (
), die ein zwischen zwei Bodenteilabschnitten angeordnetes Griffteil aufweisen, das im aufgerichteten Zustand des Flaschenträgers zwischen zwei nebeneinander liegenden Deckenteilen zu liegen kommt. Zur Herstellung eines stabilen Flaschenträgers ist es erforderlich, das Griffteil mit zwei weiteren, an den Außenseiten der Deckenteile angeordneten Griffteilabschnitten zu verbinden. Es entsteht auf.diese Weise ein Flaschenträger, der nicht in einem noch zusammengefalteten und daher flach liegenden, aber bereits vorgefertigten Zustand auf Vorrat gehalten werden kann. Es ist vielmehr erforderlich, den noch ausgebreiteten Zuschnitt mit einer entsprechenden Flaschenformation zu einer verpackten Einheit zu verbinden.PCT WO 95/22495 A - Ausgehend davon liegt der Erfindung das technische Problem zugrunde, einen zwei- oder mehrreihigen Zuschnitt der eingangs bezeichneten Gattung in der Weise mit mittig angeordneten Traggriffen zu versehen, daß sich eine stabile, einfache Konstruktion ergibt, die dem Gewicht von 2 x 2, 2 x 3 oder mehr gefüllten Flaschen standhalten kann.
- Zur Lösung dieser Aufgabe dienen die kennzeichnenden Merkmale des Anspruchs 1.
- Durch die Erfindung wird der Vorteil erzielt, daß die den Traggriff bildenden Griffteilabschnitte des Zuschnitts so in das Decken- oder Bodenteil integriert sind, daß sowohl alle zur Aufnahme der Flaschenhälse bestimmten Öffnungen geschlossene Konturen aufweisen als auch im fertigen Träger zwei übereinander liegende Deckenteile vorhanden sind. Damit ist es möglich, insbesondere solche Zuschnitte bzw. daraus hergestellte Flaschenträger mit über das obere Deckenteil hinausragenden, mit der ganzen Hand erfaßbaren Traggriffen zu versehen, die sich bisher im Hinblick auf die Ausbildung der Untergriffssegmente als besonders stabil erwiesen haben (z. B.
DE 40 34 069 A1 ). - Weitere vorteilhafte Merkmale der Erfindung ergeben sich aus den Unteransprüchen.
- Die Erfindung wird nachfolgend in Verbindung mit den beiliegenden Zeichnungen an Ausführungsbeispielen näher erläutert. Es zeigen:
-
Fig. 1 eine Draufsicht auf einen erfindungsgemäßen, zur Herstellung eines zweireihigen Flaschenträgers bestimmten Zuschnitt mit einem in ein erstes Deckenteil integrierten Traggriff in einem flach liegenden, ungefalteten Zustand; -
Fig. 2 eine derFig. 1 entsprechende Ansicht eines erfindungsgemäßen, zusätzlich mit zwei Abdeckteilen versehenen Zuschnitts; -
Fig. 3 eine Draufsicht des Zuschnitts gemäßFig. 2 nach dem Einklappen der beiden Abdeckteile und von zwei in dem ersten Deckenteil angeordneten Traggriffabschnitten; -
Fig. 4 eine Draufsicht des Zuschnitts gemäßFig. 1 nach dem Einklapen von zwei im ersten Deckenteil angeordneten Traggriffabschnitten sowie nach dem zusätzlichen Einklappen eines zweiten Deckenteils und eines daran angrenzenden Seitenteils; -
Fig. 5 eine Draufsicht des Zuschnitts gemäßFig. 4 nach dem zusätzlichen, zu einem fertigen Träger führenden Einklappen des ersten Deckenteils mit den daran angrenzenden Traggriffabschnitten; -
Fig. 6 und 7 schematisch je eine Vorderansicht eines fertigen Flaschenträgers bei Anwendung des Zuschnitts gemäßFig. 1 im flach liegenden bzw. bereits halb aufgerichteten Zustand; -
Fig. 8 eine derFig. 7 entsprechende Ansicht eines fertigen, bereits halb aufgerichteten Flaschenträgers bei Anwendung des Zuschnitts gemäßFig. 2 ; -
Fig. 9 und 10 je eine Vorderansicht und Draufsicht des Trägers nachFig. 6 und 7 im voll aufgerichteten Zustand; -
Fig. 11 und12 je eine Vorderansicht und eine perspektivische Ansicht des Trägers gemäßFig. 9 und 10 nach dem Aufsetzen auf eine Formation von sechs Flaschen; -
Fig. 13 und14 denFig. 11 und12 entsprechende Ansichten eines mit dem Zuschnitt gemäßFig. 2 und8 hergestellten Trägers nach dem Aufsetzen auf eine Formation von sechs Flaschen; -
Fig. 15 eine Draufsicht auf ein zweites Ausführungsbeispiel eines erfindungsgemäßen Zuschnitts mit einem in ein Bodenteil integrierten Traggriff in einen flach liegenden, ungefalteten Zustand; -
Fig. 16 eine derFig. 15 entsprechende Draufsicht des Zuschnitts nach dem Einklappen von zwei in das Bodenteil integrierten Traggriffabschnitten; -
Fig. 17 eine Draufsicht des Zuschnitts gemäßFig. 16 nach dem zusätzlichen Einklappen eines zweiten Deckenteils und eines mit diesem verbundenen Seitenteils; -
Fig. 18 eine Draufsicht des Zuschnitts gemäßFig. 17 nach dem zusätzlichen, zu einem fertigen Flaschenträger führenden Einklappen eines ersten Deckenteils; -
Fig. 19 eine vergrößerte, schematische Vorderansicht in Richtung eines Pfeils x inFig. 18 auf einen Teil eines fertigen, bereits teilweise aufgerichteten Flaschenträgers bei Anwendung des Zuschnitts gemäßFig. 18 ; -
Fig. 20 einen schematischen Schnitt längs der Linie A-A derFig. 19 ; -
Fig. 21 und 22 je eine Vorderansicht und Draufsicht des Trägers nachFig. 15 bis 19 im voll aufgerichteten Zustand; -
Fig. 23 bis 25 je eine Vorderansicht, perspektivische Ansicht und Seitenansicht des Trägers gemäßFig. 21 und 22 nach dem Aufsetzen auf eine Formation von sechs Flaschen; -
Fig. 26 eine derFig. 23 entsprechende Vorderansicht bei etwas eingedrücktem Traggriff; -
Fig. 27 und28 je eine Draufsicht auf einenFig. 1 entsprechenden, jedoch mit Verstärkungsstreifen und Verriegelungsmitteln versehenen Zuschnitt; und -
Fig. 29 einen schematischen Schnitt längs der Linie XXIX-XXIX derFig. 10 durch einen mit den Verriegelungsmitteln nachFig. 27 und28 versehenen Träger. -
Fig. 1 zeigt ein erstes Ausführungsbeispiel eines erfindungsgemäßen Zuschnitts 1 in einem flach liegenden, ungefalteten Zustand, d. h. im wesentlichen so, wie er aus einer entsprechenden Stanzvorrichtung kommt. Zur Herstellung des Zuschnitts 1 wird ein Kraftkarton mit einem Gewicht verwendet, das in Abhängigkeit von der Zahl und der Größe der zu verpackenden Flaschen z. B. 300 g/m2 bis 450 g/m2 betragen kann. WieFig. 1 zeigt, enthält der Zuschnitt 1 ein Grundelement mit einer im wesentlichen rechteckigen Außenkontur und zwei langen, parallel zu einer Längsachse 2 verlaufenden Seitenkanten 3a, 3b sowie zwei vorzugsweise senkrecht dazu angeordneten, kurzen Seitenkanten 4a und 4b. - Das Grundelement ist in eine Mehrzahl von Feldern unterteilt und enthält insbesondere ein Bodenteil 5, ein in
Fig. 1 links davon liegendes, erstes Seitenteil 6 und ein inFig. 1 rechts vom Bodenteil 5 liegendes, zweites Seitenteil 7. Außerdem enthält das Grundelement ein links vom ersten Seitenteil 6 liegendes, erstes Deckenteil 8 und ein rechts vom zweiten Seitenteil 7 liegendes, zweites Deckenteil 9. Alle diese Teile 5 bis 9 weisen im wesentlichen rechteckige Umfangskonturen auf und sind in Richtung der Längsachse 2 des Zuschnitts 1 so nebeneinander angeordnet, daß ihre langen Seiten im wesentlichen senkrecht und ihre kurze Seiten im wesentlichen parallel zur Längsachse 2 angeordnet sind. - Die Teile 5 bis 9 sind durch vorzugsweise im wesentlichen senkrecht zur Längsachse 2 verlaufende, gedachte Faltlinien voneinander getrennt, die zur Erleichterung des weiter unter erläuterten Faltens der verschiedenen Teile aber auch je nach Zweckmäßigkeit aus bereits beim Stanzen angebrachten Prägungen, Rillen, kombinierten Rill/Schneid-Linien od. dgl. bestehen können. Insbesondere sind zwischen dem Bodenteil 5 und den beiden Seitenteilen 6, 7 eine erste Faltlinie 10 und eine zweite Faltlinie 11, zwischen dem ersten Seitenteil 6 und dem ersten Deckenteil 8 eine dritte Faltlinie 12 und zwischen dem zweiten Seitenteil 7 und dem zweiten Deckenteil 9 eine vierte Faltlinie 14 vorgesehen. Schließlich können die beiden Seitenteile 6 und 7 in je zwei parallel zur Längsachse 2 nebeneinanderliegende Seitenteilabschnitte 6a, 6b bzw. 7a, 7b unterteilt sein, die vorzugsweise durch senkrecht zur Längsachse 2 verlaufende fünfte und sechste, ebenfalls beim Stanzvorgang angebrachte Faltlinien 15 und 16 voneinander getrennt sind. Dabei besitzen, jeweils in Richtung der Längsachse 2 betrachtet, die an das Bodenteil 5 grenzenden Seitenteilabschnitte 6a, 7a eine vergleichsweise große Höhe h1, während die an die Deckenteile 8, 9 grenzenden Seitenteilabschnitte 6b, 7b eine vergleichsweise geringe Höhe h2 haben.
- Das zweite Deckenteil 9 weist in zwei vorzugsweise senkrecht zur Längsachse 2 verlaufenden Reihen mehrere, im Ausführungsbeispiel je drei entsprechend der zugeordneten Flaschenform und -größe beabstandete erste Öffnungen 17 auf, deren Umfangslinien bzw. Ränder 18 von konzentrischen, vorzugsweise als siebente Faltlinien ausgebildeten, geschlossenen Umfangslinien 19 umgeben sind. Zwischen den beiden Umfangslinien 18 und 19, d. h. in den die Öffnungen 17 umgebenden Randzonen, weist der Zuschnitt 1 jeweils eine Mehrzahl von in Umfangsrichtung neben einander liegenden Sektoren 20 auf, die durch radial verlaufende, vorzugsweise beim Stanzvorgang angebrachte Trennlinien 21 voneinander getrennt und daher nur längs der Umfangslinien 19 mit dem Zuschnitt 1 verbunden sind. Die Sektoren 20 bilden sogenannte Untergriffsegmente, die zum Untergreifen der Verschlußelemente od. dgl. von Flaschen dienen, wie weiter unter anhand der
Fig. 11 bis 14 erläutert ist. - Das erste Deckenteil 8 weist in zwei vorzugsweise senkrecht zur Längsachse 2 verlaufenden Reihen eine der Zahl der ersten Öffnungen 17 entsprechende Anzahl von zweiten Öffnungen 22 auf. Diese sind mit denselben Abständen wie die ersten Öffnungen 17 angeordnet und mit Umfangslinien bzw.Rändern 23 versehen, die vorzugsweise dieselben Durchmesser wie die die ersten Öffnungen 17 umgebenden Umfangslinien 19 aufweisen. Beim Ausführungsbeispiel sind die Umfangslinien 18, 19, 23 kreisförmig ausgebildet, wobei die Umfangslinien 18 der ersten Öffnungen 17 entsprechend der vorgesehenen Anzahl von acht Untergriffsegmenten 20 auch ein Oktogon bilden können.
- Das Bodenteil 5 weist dritte Öffnungen 24 auf, die in gleicher Anzahl wie die ersten und zweiten Öffnungen 17, 22 und in entsprechender Anordnung wie diese vorgesehen sind. Die Öffnungen 24 weisen kreisrunde Umfangslinien 25 und Durchmesser auf, die zweckmäßig etwas größer als die der Öffnungen 22 sind. Außerdem weisen das Bodenteil 5 und das zweite Deckenteil 9 parallel zur Längsachse 2 im wesentlichen gleiche Breiten auf, damit sie in an sich bekannter Weise zur Herstellung eines Flaschenträgers so übereinander angeordnet werden können, daß die Öffnungen 17, 22 und 24 auf einander ausgerichtet sind.
- Zuschnitte der beschriebenen Art sind grundsätzlich bekannt (z.B.
DE 40 34 069 A1 ) und brauchen dem Fachmann daher nicht näher erläutert werden. - Ein wesentlicher Unterschied zwischen dem erfindungsgemäßen Zuschnitt 1 und den bekannten Zuschnitten besteht darin, daß das erste Deckenteil 8 zwei in Richtung der Längsachse 2 beabstandete Deckenteilabschnitte 8a und 8b aufweist, wobei ein erster Deckenteilabschnitt 8a an der Faltlinie 12 und ein zweiter Deckenteilabschnitt 8b an der Seitenkaten 4b endet. Zwischen den beiden Deckenteilabschnitten 8a, 8b ist außerdem erfindungsgemäß ein Griffteil 27 angeordnet, das zwei zusammenhängende, in Richtung der Längsachse 2 nebeneinander liegende Griffteilabschnitte 27a und 27b aufweist, deren einander zugewandte Seitenkanten längs einer im wesentlichen senkrecht zur Längsachse 2 verlaufenden, achten Faltlinie 28 miteinander verbunden sind. Außerdem ist der eine Griffteilabschnitt 27a an seiner anderen Seitenkante längs einer neunten Faltlinie 29 mit dem innen liegenden Deckenteilabschnitt 8a und zweite Griffteilabschnitt 27b an seiner anderen Seitenkante längs einer zehnten Faltlinie 30 mit dem außen liegenden Deckenteilabschnitt 8b verbunden, wobei die beiden Faltlinien 29 und 30 ebenfalls im wesentlichen senkrecht zur Längsachse 2 angeordnet und vorzugsweise wie die anderen Faltlinien ausgebildet sind.
- Ein Zuschnitt 32 nach dem Ausführungsbeispiel gemäß
Fig. 2 , bei dem für gleiche Teile dieselben Bezugszeichen wie inFig. 1 verwendet sind, unterscheidet sich von dem Zuschnitt 1 gemäßFig. 1 nur dadurch, daß er wenigstens ein seitliches Abdeckteil 33 aufweist, das längs einer elften Faltlinie 34 mit dem Bodenteil 5 verbunden ist und sich zweckmäßig über dessen ganze, in Richtung der Längsachse 2 gemessene Breite erstreckt. Dabei fällt die Faltlinie 34 vorzugsweise im wesentlichen mit der Seitenkante 3b des Grundelements des Zuschnitts 32 zusammen und liegt daher im wesentlichen parallel zur Längsachse 2. Das Abdeckteil 33 besitzt zweckmäßig eine senkrecht zur Längsachse 2 gemessene Höhe h3, die vorzugsweise höchstens gleich der Summe aus den Höhen h1 und h2 und zweckmäßig im wesentlichen gleich der Höhe h1 der Seitenteilabschnitte 6a und 7a, jedoch wie diese kleiner ist, als der in derselben Richtung gemessene Tiefe des Bodenteils 9 entspricht. Außerdem ist die Faltlinie 34 vorzugsweise mit einer Perforierung versehen, damit das Abdeckteil 33 leicht vom Bodenteil 5 abgerissen werden kann. - Bei einer besonders bevorzugten Ausführungsform der Erfindung weist der Zuschnitt 32 zwei gleichartige seitliche Abdeckteile 33 auf, die an entgegengesetzten Seiten der Längsachse 2 mit dem Bodenteil 5 verbunden und vorzugsweise spiegelsymmetrisch zur Längsachse 2 ausgebildet sind, so daß die Beschreibung für das eine Abdeckteil 33 in gleicher Weise auch für das andere Abdeckteil 33 gilt.
- Die Herstellung eines Flaschenträgers mit Hilfe des Zuschnitts 1 bzw. 32 kann beispielsweise so vorgenommen werden, wie nachfolgend anhand der
Figuren 3 bis 14 näher erläutert ist. - In einer ersten Verfahrensstufe (
Fig. 3 ) wird wenigstens einer der beiden Griffteilabschnitte 27a und 27b z. B. in einer Zone 35, die inFig. 1 und2 durch Kreuze angedeutet ist, mit einem geeigneten Kleber belegt. Danach werden die beiden Griffteilabschnitte 27a, 27b um ca. 90° um die neunte Faltlinie 29 und die zehnte Faltlinie 30 inFig. 1 und2 nach hinten umgeklappt. Dabei werden die Faltlinien 29, 30 gleichzeitig bis zur gegenseitigen Berührung aufeinander zu bewegt, um die Griffteilabschnitte 27a, 27b auch um ca. 180° um die sie verbindende achte Faltlinie 28 nach vom umzufalten, bis sie mit ihren Innenseiten aneinander liegen und mittels des Klebers in der Zone 35 fest miteinander verbunden werden. Zum besseren Verständnis dieser Faltvorgänge ist inFig. 3 oberhalb des Deckenteils 8 eine Vorderansicht in Richtung einer Pfeils a für den nach dem Falten erhaltenen Zustand dargestellt. - Gleichzeitig oder auch davor oder danach werden die Abdeckteile 33, soweit sie vorhanden sind, um die elften Faltlinien 34 um mehr als 90°, vorzugsweise um ca. 180°, nach innen umgeklappt, so daß sie danach der in
Fig. 2 sichtbaren Innenseite des Bodenteils 5 zugewandt sind bzw. auf dieser aufliegen, wieFig. 3 zeigt. - In einem weiteren Verfahrensschritt (
Fig. 4 ) werden das inFig. 1 und2 rechte Seitenteil 7 und das angrenzende zweite Deckenteil 9 vorzugsweise um ca. 180° gemeinsam um die zweite Faltlinie 11 umgefaltet, wodurch die Innenseite des Seitenteils 7 und ein angrenzender Abschnitt des Decktenteils 8 auf den Abdeckteilen 33 und der übrige Abschnitt des Deckenteils 9 auf der Innenseite des ersten Seitenteils 6 zu liegen kommt. Dabei sind die Abmessungen der verschiedenen Teile z. B. so gewählt, daß nach dieser Verfahrensstufe die Seitenkante 4a des Deckenteils 9 etwa über der dritten Faltlinie 12 zu liegen kommt. Beim Fehlen der Abdeckteile 33 liegen die Teile 7, 9 in analoger Weise direkt auf der Innenseites des Bodenteils 5 auf. - In einer weiteren Verfahrensstufe wird das Deckenteil 9 auf seiner jetzt oben liegenden Seite im Bereich von Leimzonen 36, die in
Fig. 4 durch Kreuze angedeutet sind, mit einem Kleber belegt. Im Anschluß daran wird das erste Deckenteil 8 zusammen mit dem daran befestigten, inFig. 3 und4 nicht sichtbaren Griffteil 27 um ca. 180° um die dritte Faltlinie 12 herum umgefaltet und auf die mit Kleber bedeckte Oberfläche des zweiten Deckenteils 9 aufgelegt. Danach wird durch Ausübung von Druck auf das Deckenteil 8 und Aushärten des Leims eine feste Verbindung zwischen den beiden Decktenteilen 8, 9 durch Kleben hergestellt. Dabei ist, wieFig. 5 zeigt, die Anordnung so getroffen, daß die Randlinien 23 der Öffnungen 22 koaxial über den Randlinien 19 der Öffnungen 17 zu liegen kommen. Die in Richtung in Längsachse 2 gemessene Breite des Deckenteils 9 entspricht im wesentlichen der Summe der Breiten der Deckenteilabschnitte 8a und 8b. - Wie
Fig. 5 zeigt, ist das Griffteil 27 jetzt oberhalb des ersten Deckenteils 8 angeordnet. Außerdem ist das Griffteil 27 um die Faltlinien 29 und 30, von denen inFig. 5 nur die Faltlinie 29 sichtbar ist, relativ zum Deckenteil 8 schwenkbar, da die beiden Faltlinien 29, 30 in dem ausFig. 3 ersichtlichen Zustand dicht nebeneinander liegen und eine gemeinsame Schwenkachse bilden. Dabei wird die Anordnung vorzugsweise so getroffen, daß die beiden Griffteilabschnitte 27a, 27b in einer bevorzugten Schwenkrichtung vorgespannt sind und im unbenutzten Zustand nicht senkrecht zur Oberseite des Deckenteils 8 stehen, sondern automatisch einen Winkel mit dieser bilden, der vorzugsweise wesentlich kleiner als 90° ist, wieFig. 5 und6 zeigen. Dies wird z. B. dadurch erreicht, daß die Faltlinien 29 und 30, mit denen sie an die Deckenteilabschnitte 8a, 8b grenzen, in geeigneter Weise als reine Rill- oder Rill/-Schneidlinien oder Kombinationen davon ausgebildet sind. Die in Richtung der Längsachse 2 gemessene Höhe der beiden im wesentlichen gleich großen Griffteilabschnitte 27a, 27b ist vorzugsweise kleiner als die Breite jedes der beiden Deckenteilabschnitte 8a bzw. 8b und mit besonderen Vorteil kleiner, als den Abständen der Faltlinien 29, 30 von gedachten, senkrecht zur Längsachse 2 verlaufenden Mittellinien durch die Öffnungen 17, 22 entspricht. Dadurch deckt das Griffteil 27 in seinem auf dem Deckenteil 8 aufliegenden Zustand (Fig. 5 ) die Öffnungen 17, 22 nur teilweise ab, was sich für den Fall als besonders günstig erweist, daß der fertige Flaschenträger mit einem für diese Zwecke geschaffenen Aufsetzgerät auf eine entsprechende, aus sechs Flaschen gebildete Flaschenformation aufgedrückt werden soll, ohne daß das Griffteil 27 störend wirkt. - Wie
Fig. 6 in der Vorderansicht aus Richtung eines Pfeils v inFig. 5 zeigt, wird durch die beschriebenen Verfahrensstufen ein noch zusammengefalteter, im übrigen aber gebrauchsfertiger Zuschnitt 1 erhalten. Dieser kann beim Hersteller oder auch beim Kunden dadurch in eine für die Montage auf Flaschen erforderliche, endgültige Form gebracht werden, daß die beiden miteinander verbundenen Deckenteile 8, 9 und das Bodenteil 5 gemäßFig. 7 in Richtung der dort eingezeichneten Pfeile voneinander entfernt werden, bis in an sich bekannter Weise (DE 40 34 069 A1 ) ein Flaschenträger 37 mit einem im wesentlichen rechteckigen Querschnitt entsteht (Fig. 9 und 10 ). Dabei ist die Anordnung so getroffen, daß jetzt auch die dritten, im Bodenteil 5 befindlichen Öffnungen 24 auf die Öffnungen 17, 22 koaxial ausgerichtet sind. - Die Abdeckteile 33 liegen, sofern sie bei einem Flaschenträger 37a (
Fig. 8 ) vorhanden sind, in diesem Zustand noch im wesentlichen auf dem Bodenteil 5 auf und sind zweckmäßig derart bemessen, daß sie jeweils wenigstens eine solche der Öffnungen 24 (z. B. 24a inFig. 2 ) zumindest teilweise überdecken, die nahe einer elften Faltlinie 23 liegt. Im übrigen entspricht der Flaschenträger 37a (Fig. 8 ) dem Flaschenträger 37 (Fig. 7 ). -
Fig. 11 und12 zeigen die erfindungsgemäße Anwendung des ausFig. 9 und 10 ersichtlichen Trägers 37 nach dem Aufsetzen auf sechs Flaschen 38. Die Flaschen 38, bei denen es sich vornehmlich um Getränkeflaschen aus Glas oder Kunststoff handeln kann, sind solche, die einen im wesentlichen zylindrischen Flaschenkörper 38a, einen daran nach oben angrenzenden, sich verjüngenden Schulterbereich 38b und einen darauf folgenden Hals 38c aufweisen, der mit einem Verschlußelement 39, z. B. einen üblichen Kronenkorken, verschließbar ist. - Der Träger 37 wird von oben her so auf sechs, in zwei Reihen stehende Flaschen 38 aufgesetzt, daß die sechs im Bodenteil 5 und in den Deckenteilen 8, 9 ausgebildeten Öffnungen 24, 17 und 22 (
Fig. 2 ) koaxial auf die Verschlußelemente 39 ausgerichtet sind, wie insbesondereFig. 11 zeigt. Durch Druck auf die Deckenteile 8, 9 werden diese dann über die Verschlußelemente 39 abwärts geschoben, so daß die Verschlußelemente 39 die Untergriffsegmente 20 des Deckenteils 8 konisch aufspreizen, bis diese nach dem Überlaufen der Verschlußelemente 39 unter deren Unterkanten einrasten. - Zur stabilen Festlegung des Trägers 37 auf den Flaschen 38 dienen dabei insbesondere zwei Maßnahmen. Zum einem sind die Durchmesser der Umfangslinien 18, 19 und 23 der Öffnungen 17 und 22 sowie die radialen Längen der Untergriffsegmente 20 so gewählt, daß die Untergriffsegmente 20 im aufgesetzten Zustand (
Fig. 11, 12 ) an den Unterkanten der Verschlußelemente 39 anliegen, dabei um weniger als 90° aufgespreizt werden und federnd radial nach innen vorgespannt sind, was durch die Umfangsränder 23 der Öffnungen 22 noch unterstützt wird. Zum anderen werden die Durchmesser der dritten Öffnungen 24 des Bodenteils 5 so gewählt, daß sich diese an Stellen auf Schulterbereiche 38b der Flaschen 38 auflegen, deren Abstände von den Unterkanten der Verschlußelemente 39 kleiner sind, als der Summe der Höhen h1 und h2 der Seitenteilabschnitte 6a, 6b bzw. 7a, 7b (Fig. 1 ) entspricht. Daher ist es bei der Montage des Trägers 37 erforderlich, die Seitenteile 6, 7 je nach Fall mehr oder weniger stark um die Faltlinien 15, 16 (Fig. 1 ) federnd einzuknicken. Dies ist inFig. 11 durch die dabei erreichbare Extremstellung angedeutet, in der die Faltlinien 15, 16 praktisch an der Unterseite des unteren Deckenteils 9 zu liegen kommen. Da der Träger 37 zwar aus Kraftkarton hergestellt, aber dennoch in sich flexibel ist, ergibt sich auf diese Weise unabhängig von etwaigen Herstellungs- und/oder Flaschentoleranzen ein fester Sitz. -
Fig. 13 und14 zeigen die Anwendung des Zuschnitts 32 gemäßFig. 2 und des damit hergestellten Trägers 37a gemäßFig. 8 , der bis auf die zusätzlich vorhandenen Abdeckteile 33 dem Träger 37 nachFig. 11 und12 entspricht. - Da die Abdeckteile 33 in dem aus
Fig. 3 ersichtlichen Zustand des vorgefertigten Zuschnitts 32 zumindest eine Öffnung 24a (Fig. 2 ) des Bodenteils 5 abdecken, werden sie beim Einführen eines Flaschenhalses 38c in die Öffnung 24a automatisch aufgerichtet und nach außen geschwenkt. Dabei kann die Dimensionierung vorzugsweise so gewählt sein, daß die Abdeckteile 33 bis in eine nahezu senkrechte Stellung relativ zum Bodenteil 5 aufgerichtet werden (Fig. 14 ). - Damit die Abdeckteile 33 auch bei der Handhabung des mit den Flaschen 38 gefüllten Trägers 37a in der aus
Fig. 13 und14 ersichtlichen Lage verbleiben, sind sie und die Seitenteile 6, 7 erfindungsgemäß mit zusammen wirkenden Verbindungsmitteln, vorzugsweise mit zum gegenseitigen Einrasten bestimmten Rastelementen versehen. Diese enthalten, wie insbesondereFig. 2 und14 zeigen, wenigstens je eine an einem Abdeckteil 33 angebrachte, nach außen ragende Rastzunge 40 und eine dieser zugeordnete, in einem Seitenteil 6, 7 ausgebildete, zur Aufnahme der Rastzunge 40 bestimmte Ausnehmung 41. Vorzugsweise ist an jeder Seite jedes Abdeckteils 33 und jedes Seitenteil 6, 7 je eine solche Rastzunge 40 bzw. Ausnehmung 41 vorhanden. Außerdem ist die Anordnung vorzugsweise so getroffen, daß das Aufrichten der Abdeckteile 33 beim Aufsetzen auf die Flaschen 38 automatisch bis zum selbsttätigen Einrasten der Rastzungen 40 in die Ausnehmungen 41 erfolgt und daher hierfür kein zusätzlicher Arbeitsschritt erforderlich ist. - Alternativ oder zusätzlich ist es möglich, die Abdeckteile 33 und wenigstens eines der Deckenteile 8, 9 mit weiteren zusammenwirkenden Verbindungsmitteln zu versehen. Hierzu weisen beispielsweise gemäß
Fig. 2 und3 die von der Längsachse 2 am weitesten entfernten Enden der Abdeckteile 33 wenigstens je eine Klemmzunge 42 auf, die um eine zur Längsachse 2 parallele, zwölfte Faltlinie 43 faltbar und so ausgebildet ist, daß sie sich beim Aufrichten des betreffenden Abdeckteils 33 automatisch gegen eine zugeordnete Klemmfläche legt, die hier zweckmäßig die dem Bodenteil 5 zugewandte Unterseite des unteren Deckenteils 9 ist. Auch hierdurch kann eine im wesentlichen senkrecht zum Bodenteil 5 erstreckte Lage der Abdeckteile 33 beim Gebrauch des Trägers 37a gesichert werden. - Die Abdeckteile 33 können einerseits als zusätzliche Werbeträger, andererseits z. B. als Wertmarken verwendet werden, indem sie entsprechend gekennzeichnet und längs der perforierten Faltlinien 34 abreißbar angeordnet werden. Außerdem können die Abdeckteile 33 aber auch als äußere Verschlußdeckel für zwischen sie und die zugehörigen Flaschen 38 eingebrachte Geschenkartikel wie z. B. Spielzeugautos od. dgl. dienen. Um die Geschenkartikel leicht aus dem Träger 37a herausnehmen zu können, weisen die Abdeckteile 33 vorzugsweise nicht dargestellte Fingeröffnungen auf, die normalerweise durch eindrückbare Zungen verschlossen sein können. Weiterhin ermöglichen die Abdeckteile 33 einen wirksamen Lichtschutz, falls die Flaschen 38 mit einer lichtempfindlichen Flüssigkeit od. dgl. gefüllt sein sollten. Schließlich können die Abdeckteile 33 auch mit einem üblichen, für den gesamten tragbaren Flaschensatz gültigen Barcode versehen werden, um zu verhindern, daß beim Abtasten der Flaschenträger 37a irrtümlich auf den Flaschen 38 selbst befindliche Markierungen abgetastet werden.
- Wie insbesondere
Fig. 1 bis 4 zeigen, kann der Zuschnitt 1 mit Aufreißflaschen 44 versehen werden, die längs beim Stanzvorgang hergestellter Perforationen 45 aufreißbar sind und dadurch eine Entnahme der Flaschen 38 aus den fertigen Trägern 37 (Fig. 11 und12 ) erleichtern. Die Perforationen 45 führen zweckmäßig von zum Ergreifen der Aufreißlaschen bestimmten Teilen bis zu ausgewählten Öffnungen 17 bzw. 22. - Bei den beschriebenen Faltlinien 10 bis 12, 14 bis 16, 19, 28 bis 30, 34 und 43 kann es sich um gedachte Linien handeln, obwohl sie zweckmäßig in an sich beliebiger Weise durch Prägen, Rillen, Rillen und Schneiden oder sonstwie hergestellt werden. Theoretisch können sie zwar auch fehlen, doch erleichtern sie das Falten der verschiedenen Teile und das Aufspreizen der Untergriffsegmente 20 erheblich. Außerdem kann es zweckmäßig sein, die Faltlinien so auszubilden, daß sie ein Falten von ausgewählten Teilen der Zuschnitte 1 bzw. 32 in vorgegebene Vorzugsrichtungen fördern. Dies gilt, wie oben anhand der
Fig. 5 und6 erläutert wurde, insbesondere für die aus den Griffteilabschnitten 27a, 27b gebildeten Griffteile 27, die im aufgerichteten Zustand des Trägers 37 vorzugsweise nicht, wie inFig. 13 und14 dargestellt ist, senkrecht zur Trägeroberseite stehen, sondern einen vergleichsweise kleinen Winkel mit dieser bilden sollen. Dies ist inFig. 11 und12 für den Träger 37 dargestellt, der dem Träger 37a nachFig. 13 und14 außerdem bis auf den Unterschied entspricht, daß er keine Abdeckteile 33 aufweist. Dadurch ergibt sich der Vorteil, daß die Höhe des voll aufgerichteten Griffteils 27 größer gemacht werden kann, als dem Abstand der Deckenteile 8, 9 beim Übereinanderstapeln von Getränkekisten entspricht. Dies ist inFig. 11 schematisch durch einen Boden 46 einer solchen Getränkekiste angedeutet. Dagegen zeigenFig. 13 und14 , daß das Griffteil 27 im voll aufgerichteten Zustand einen bequem erfaßbaren Traggriff bildet. -
Fig. 15 zeigt analog zuFig. 1 und2 ein weiteres Ausführungsbeispiel eines erfindungsgemäßen Zuschnitts 101 in einem flach liegenden Zustand. Da bei diesem die meisten Merkmale denen des Zuschnitts 1 gemäßFig. 1 entsprechen, werden nachfolgend Teile derFig. 15 bis 26 , soweit sie gleich oder im wesentlichen gleich mit entsprechenden Teilen inFig. 1 bis 14 sind, mit um 100 erhöhten Bezugszeichen versehen. Außerdem werden diese Teile zur Vermeidung von Wiederholungen nachfolgend nur dann erneut beschrieben, wenn dies für die Zwecke der Erfindung erforderlich ist. - Das Ausführungsbeispiel nach
Fig. 15 zeichnet sich dadurch aus, daß ein Bodenteil 105 zwei in Richtung einer Längsachse 102 beabstandete Bodenteilabschnitte 105a und 105b aufweist, wobei der eine Bodenteilabschnitt 105a an einer Faltlinie 110 und der andere Bodenteilabschnitt 105b an einer Faltlinie 111 endet. Zwischen den beiden Bodenteilabschnitten 105a, 105b ist erfindungsgemäß ein zur Bildung eines Traggriffs bestimmtes Griffteil 127 angeordnet, das zwei zusammenhängende, in Richtung der Längsachse 102 nebeneinander liegende Griffteilabschnitte 127a 127b aufweist, deren einander zugewandte Seitenkanten längs einer im wesentlichen senkrecht zur Längsachse 102 verlaufenden, achten Faltlinie 128 miteinder verbunden sind. Außerdem ist der eine Griffteilabschnitt 127a an seiner anderen Seitenkante längs einer neunten Faltlinie 129 mit dem inFig. 15 linken Bodenteilabschnitt 105a und der andere Griffteilabschnitt 127b an seiner anderen Seitenkante längs einer zehnten Faltlinie 130 mit dem inFig. 15 rechten Bodenteilabschnitt 105b verbunden, wobei die beiden Faltlinien 129 und 130 ebenfalls im wesentlichen senkrecht zur Längsachse 102 angeordnet sind. - Die Herstellung eines Flaschenträgers mit Hilfe des Zuschnitts 101 kann beispielsweise so vorgenommen werden, wie nachfolgend anhand der
Fig. 16 bis 26 näher erläutert ist. - In einer ersten Verfahrensstufe (
Fig. 16 ) wird wenigstens einer der beiden Griffteilabschnitte 127a und 127b z. B. in einer Zone 135, die inFig. 15 auf der nicht sichtbaren Rückseite des Zuschnitts 101 liegt und daher durch gestrichelt dargestellte Kreuze angedeutet ist, mit einem geeigneten Kleber belegt. Danach werden die beiden Griffteilabschnitte 127a, 127b um ca. 90° um die neunte bzw. zehnte Faltlinie 129 bzw. 130 nach vom umgeklappt. Dabei werden die Faltlinien 129, 130 gleichzeitig in Richtung der Längsachse 102 bis zur gegenseitigen Berührung aufeinander zu bewegt, um die Griffteilabschnitte 127a, 127b auch um ca. 180° um die sie verbindende achte Faltlinie 128 nach hinten umzufalten, bis sie mit ihren Rückseiten aneinander liegen und mittels des Klebers in der Zone 135 fest miteinander verbunden werden. Zum besseren Verständnis dieser Faltvorgänge ist inFig. 16 oberhalb des Deckenteils 108 eine Vorderansicht in Richtung einer Pfeils b inFig. 16 für den nach dem Falten erhaltenen Zustand dargestellt. Dadurch liegen die beiden Faltlinien 129, 130 jetzt unmittelbar nebeneinander, so daß sie eine Schwenkachse bilden, um die das Griffteil 127 relativ zum übrigen Teil des Zuschnitts 101 verschwenkt werden kann. Gleichzeitig oder nach dem beschriebenen Verfahrensschritt wird das Griffteil 127, wie ebenfallsFig. 16 erkennen läßt, um diese Schwenkachse so z. B. nach links verschwenkt, daß es im wesentlichen vollständig auf den zugehörigen Bereichen des Bodenteils 105 und des Seitenteils 106 aufliegt. - In einem weiteren Verfahrenschritt (
Fig. 17 ) werden das inFig. 16 rechte Seitenteil 107 und das angrenzende zweite Deckenteil 109 vorzugsweise um ca. 180° gemeinsam um die zweite Faltlinie 111 und inFig. 16 nach vom bzw. oben umgefaltet, wodurch die Innenseite des Seitenteils 107 auf dem Bodenteilabschnitt 105b und einem Teil des Griffteilabschnitts 127b und die Innenseite des zweiten Deckenteils 109 auf dem übrigen Teil des Griffteilabschnitts 127b und dem zweiten Seitenteil 106 zu liegen kommt. Dabei sind die Abmessungen der verschiedenen Teile z. B. so gewählt, daß nach dieser Verfahrensstufe die Seitenkante 104a des Deckenteils 109 über der dritten Faltlinie 112 liegt. - In einer weiteren Verfahrensstufe wird das Deckenteil 109 auf seiner jetzt oben liegenden Seite im Bereich von Leimzonen 136, die in
Fig. 17 durch Kreuze angedeutet sind, mit einem Kleber versehen. Im Anschluß daran wird Deckenteil 108 um ca. 180° um die dritte Faltlinie 112 herum und inFig. 17 nach vom bzw. oben umgefaltet und auf die mit Kleber bedeckte Oberfläche des zweiten Deckenteils 109 aufgelegt. Danach wird durch Ausübung von Druck auf das Deckenteil 108 und Aushärten des Leims eine feste Verbindung zwischen den beiden Deckenteilen 108, 109 durch Kleben hergestellt. Dabei ist, wieFig. 18 zeigt, die Anordnung so getroffen, daß die Randlinien 123 der Öffnungen 122 koaxial über den Randlinien 119 der Öffnungen 117 zu liegen kommen. Die in Richtung der Längsachse 102 gemessene Breite des Deckenteils 108 entspricht vorzugsweise im wesentlichen der Breite des Deckenteils 109. - Wie
Fig. 18 weiter zeigt, ist das Griffteil 127 jetzt zwischen dem zweiten Deckenteil 109 sowie dem ersten Seitenteil 106 und dem Bodenteilabschnitt 105a angeordnet. Dabei wird die Anordnung vorzugsweise so getroffen, daß die beiden Griffteilabschnitte 127a, 127b in einer bevorzugten, ausFig. 16 ersichtlichen Schwenkrichtung vorgespannt sind und im Zustand nachFig. 16 nicht senkrecht zur Oberseite des Bodenteils 105 stehen, sondern automatisch eine Winkel mit diesem bilden, der vorzugsweise wesentlich kleiner als 90°. Dies wird z. B. dadurch erreicht, daß die Faltlinien 129 und 130, mit denen die Griffteilabschnitte 127a, 127b an die Bodenteilabschnitte 105a, 105b grenzen, in geeigneter Weise als reine Rill- oder Rill/Schneidlinien oder Kombinationen davon ausgebildet sind. Die in Richtung der Längsachse 102 gemessene Höhe der beiden im wesentlichen gleich großen Griffteilabschnitte 127a, 127b ist dabei ausreichend größer als die in derselben Richtung gemessene Höhe der beiden gleich großen Seitenteile 106 und 107 wie weiter unter erläutert ist. - Der aus
Fig. 18 ersichtliche Zuschnitt 101 befindet sich jetzt in einem noch zusammengefalteten, im übrigen aber gebrauchsfertigen Zustand. Er kann daher beim Hersteller oder auch beim Kunden dadurch in eine für die Montage auf Flaschen erforderliche, endgültige Form gebracht werden, daß die beiden miteiner verbundenen Deckenteile 108, 109 und das Bodenteil 105 gemäßFig. 19 , die eine Vorderansicht aus Richtung eines Pfeils x inFig. 18 zeigt, in Richtung der dort eingezeichneten Pfeile voneinander entfernt werden, bis in an sich bekannter Weise (DE 40 34 069 A1 ) ein Flaschenträger 137 entsteht (Fig. 21, 22 ). Dabei ist die Anordnung so getroffen, daß jetzt auch die dritten, im Bodenteil 105 befindlichen Öffnungen 124 auf die Öffnungen 117, 122 koaxial ausgerichtet sind. - Damit das Griffteil 127 für den späteren Gebrauch nutzbar ist, weisen die beiden Deckenteile 108, 109 in mittleren Bereichen je einen im wesentlichen senkrecht zur Längsachse 102 verlaufenden Schlitz 146 bzw. 147 (z. B.
Fig. 16 ) auf, die beim Aufrichten des Zuschnitts 101 in der ausFig. 19 und 20 ersichtlichen Weise über einander zu liegen kommen, so daß das Griffteil 127 mit einem verjüngten Vorderabschnitt 127c (Fig. 20 ) durch sie durchgesteckt werden kann. Der Vorderabschnitt 127c entsteht dabei dadurch, daß die Griffteilabschnitte 127a, 127b an deren von den Faltlinien 129, 130 entfernten Vorderenden mit entsprechenden Verjüngungen versehen sind, wie z. B.Fig. 15 zeigt. Da die Höhe der Griffteilabschnitte 127a, 127b (Fig. 19 ) größer als die Höhe der Seitenteile 106, 107 ist, steht das Griffteil 127 nach dem Aufrichten des Zuschnitts 101 zum fertigen Träger 137 (Fig. 20 ) so viel über die Oberseiten des oberen Deckenteils 108 vor, daß es wie das Griffteil 27 inFig. 13 beim Transport von Flaschen ergriffen werden kann. Mit besonderem Vorteil bilden die Vorderabschnitte 127c außerdem mit den dahinter liegenden Bereichen der Griffteilabschnitte 127a, 127b jeweils eine Schulter 127d (Fig. 20 ), die sich beim Ziehen am Griffteil 127 von unten gegen den Rand des Schlitzes 147 legen und dadurch verhindern, daß das Bodenteil 105 bis an das Deckenteil 109 heran gezogen werden kann. - Gemäß eines besonders bevorzugten Ausführungsbeispiel der Erfindung ist vorgesehen, die Anordnung so zu treffen, daß das Griffteil 127 beim Aufrichten des Zuschnitts 101 mehr oder weniger selbsttätig durch die Schlitze 146, 147 nach außen geführt wird. Dazu sind erfindungsgemäß zwei Maßnahmen vorgesehen. Zum einen werden gedachte, senkrecht zur Längsachse 102 verlaufende Mittellinien der Schlitze 146, 147 etwas außermittig und derart in den Deckenteilen 108, 109 angeordnet, daß eine dazu parallele Begrenzungslinie 146a des Schlitzes 146 (
Fig. 16 ) etwas weiter von der Endkante 104b und eine entsprechende Begrenzungslinie 147a des Schlitzes 147 etwas weiter von der Faltlinie 114 als die jeweils andere Begrenzungslinie 146b bzw. 147b von der Faltlinie 112 bzw. der Endkante 104a entfernt ist. Dadurch befindet sich die von den Faltlinien 129, 130 (Fig. 15 ) entfernte Endkante des Traggriffs 127 im fertig gefalteten Zustand nachFig. 18 dicht vor den beiden übereinander liegenden Begrenzungslinien 146b, 147b der beiden Schlitze 146 bzw. 147. Zum anderen ist der Zuschnitt 101 mit einer zusätzlichen Aufrichthilfe versehen, die beim Aufrichten entsprechendFig. 19 den Traggriff 127 automatisch in die Schlitze 146, 147 zieht. Diese Aufrichthilfe enthält z. B. zwei im Traggriff 127 ausgebildete Laschen 148 (Fig. 15, 16 ), die aus im Traggriff 127 ausgestanzten Sektoren bestehen. Dabei ist jeder Sektor nur noch längs eines schmalen, der Faltlinie 128 zugewandten Festpunktes 149, der z. B. nur einen bis zwei Millimeter breit ist, mit dem Griffteilabschnitt 127b verbunden, im übrigen jedoch beim Stanzen des Zuschnitts 101 mit einer rundum laufenden, durchgestanzten Kontur 150 versehen worden. - Die Laschen 148 werden dadurch wirksam gemacht, daß die Innenseite des zweiten Deckenteils 109 vor dem Umfalten, d. h. vor dem Übergang vom Zustand gemäß
Fig. 16 in den Zustand gemäßFig. 17 , im Bereich von zwei inFig. 16 angedeuteten Leimzonen 151 mit einem Kleber belegt wird. Nach dem Umfalten des zweiten Deckenteils 109 werden daher die Laschen 148 in Bereichen 148a (Fig. 16 ) fest mit der Innenseite 109 verbunden (vg1. auch die vergrößerte Darstellung inFig. 19 ). Das wiederum hat zur Folge, daß beim Aufrichten des Zuschnitts 101 und dem dabei erfolgenden Entfernen der Deckenteile 108, 109 vom Bodenteil 105 in Richtung der inFig. 19 eingezeichneten Pfeile die beiden Laschen 148 aus der Fläche des Griffteilabschnitts 127b herausgezogen werden und dabei über die noch vorhandenen Festpunkte 149 das Griffteil 127 zunächst in dem Sinne mitziehen, daß dessen durch die Faltlinie 128 gebildete Außenkante durch die Schlitze 146, 147 nach außen bewegt wird, wie inFig. 19 durch einen Pfeil w angedeutet ist. Im weiteren Verlauf können die Laschen 148 dann im Bereich der Festpunkte 149 vom Griffteilabschnitt 127b abgerissen werden, so daß in diesem Zustand, wieFig. 20 zeigt, nur noch Aussparungen 152 mit den Laschenkonturen entsprechenden Konturen stehen bleiben, während die Laschen 148 am unteren Deckenteil 109 hängen. - Ein besonderer Vorteil der beschriebenen Aufrichthilfe besteht darin, daß die Zuschnitte 101 auch leicht maschinell aufgerichtet werden können.
- Der voll aufgerichtete Träger 137 ist aus
Fig. 21 und 22 ersichtlich. Das Griffteil 127 ist jetzt in der Mitte des Bodenteils 105 und im wesentlichen senkrecht zu diesem angeordnet, wobei ein oberer Bereiche über die Deckenteile 108, 109 nach außen vorsteht und einen gut erfaßbaren Traggriff bildet. -
Fig. 23 bis 25 zeigen die erfindungsgemäße Anwendung des ausFig. 21 und 22 ersichtlichen Trägers 137 nach dem Aufsetzen auf sechs Flaschen 38. Zur Vermeidung von Wiederholungen wird insoweit auf die Beschreibung derFig. 11 bis 14 verwiesen. Dagegen zeigtFig. 26 , daß beim Ausführungsbeispiel nachFig. 15 bis 25 das Bodenteil 105 vorzugsweise derart flexibel ausgebildet wird, daß es beim Anschlag des Bodens 46 an das Griffteil 127 automatisch um das erforderliche Maß keilförmig nach unten weggedrückt wird, sofern das Griffteil 127 höher ist, als dem Abstand des Bodens 46 beim Stapeln von Getränkekisten entspricht. Ein seitliches Wegschwenken des Griffteils 127 ist daher im Gegensatz zuFig. 11 nicht erforderlich. - Die Griffteile 27 und 127 bzw. Griffteilabschnitte 27a, 27b und 127a, 127b sind im übrigen, wie z. B.
Fig. 5 ,14 ,24 und25 zeigen, mit Durchgriffsöffnungen 153 für die Finger versehen. Außerdem sind die beiden Griffteilabschnitte 27a, 27b bzw. 127a, 127b vorzugsweise fest miteinander verbunden, was wie bei der Verbindung der Decken- bzw. Bodenteile 8a, 8b bzw. 105a, 105 vorzugswiese durch Kleben erfolgt. - Die Erfindung ist nicht auf die beschriebenen Ausführungsbeispiele beschränkt, die auf vielfache Weise abgewandelt werden können. Zunächst ist klar, daß der Begriff "Flaschen" im Rahmen der vorliegenden Erfindung alle Behälter, d. h. auch Dosenflaschen, Glasflaschen od. dgl. umfaßt, die in ihren Schulter- und Halsabschnitten wie die beschriebenen Flaschen 38 geformt sind und daher mit den beschriebenen Trägern 37, 37a bzw. 137 verpackt werden können. Dabei können die Flaschenkörper 38a natürlich auch andere Formen, insbesondere von der dargestellten Zylinderform abweichende Formen aufweisen. Je nach Zahl und Aufnahmevolumen der Flaschen 38 können weiterhin andere Kraftkartons verwendet werden. Beispielsweise sind Flächengewichte von 400 - 450 g/m2 für 11 - Flaschen, von 360 - 420 g/m2 für Flaschen mit 0,51 Inhalt und von 300 - 360 g/m2 für Flaschen mit 0,33 l geeignet.
- Insbesondere bei größeren Flaschen und geringeren Flächengewichten kann es zweckmäßig sein, die Griffteile bzw. die zu ihrer Herstellung dienenden Griffteilabschnitte mit Verstärkungen zu versehen. Dies ist in
Fig. 27 und28 am Beispiel eines im wesentlichen derFig. 1 entsprechenden Zuschnitts dargestellt. InFig. 27 ist der Griffteilabschnitt 27a, inFig. 28 dagegen der Griffteilabschnitt 27b mit je einem Verstärkungsstreifen 155 versehen. Dieser besteht z. B. aus einem dünnen Streifen oder Band aus einem ausreichend harten Kunststoff, der vorzugsweise mit der inneren, bei Gebrauch nicht sichtbaren Unterseite des Griffteilabschnitts 27a bzw. 27b beispielsweise durch Kleben verbunden wird. WieFig. 27 ,28 zeigen, kann sich der Verstärkungsstreifen 155 im wesentlichen über die ganze, quer zur Längsachse 2 gemessene Länge des Griffteilabschnitts 27a, 27b erstrecken und in Richtung der Längsachse 2 im wesentlichen eine Breite haben, die dem Abstand der Faltlinie 28 von einem zu dieser parallelen Rand 156, 157 der im jeweiligen Griffteilabschnitt 27a, 27b ausgebildeten Durchgriffsöffnung 153 entspricht. Außerdem ist der Verstärkungsstreifen 155 zweckmäßig auf einer Breitseite mit einer Selbstklebefläche versehen, damit er auf einfache Weise an dem fertigen Zuschnitt befestigt werden kann. - Überraschend wurde festgestellt, daß das Flächengewicht des für den Träger vorgesehenen Kartons bei Anwendung des Verstärkungsstreifens 155, der natürlich auch auf beiden Griffteilabschnitten 27a und 27b angebracht werden könnte, um ca. 15 % reduziert werden kann. Umgekehrt erhöht der Verstärkungsstreifen 155 die Tragestabilität bei sonst gleichen Verhältnissen um wenigstens ca. 40 %, so daß das Griffteil 27 bei Belastung auch in vergleichsweise dünnen und schmalen, oberhalb der Durchgriffsöffnungen 153 befindlichen Stegabschnitten der Griffteile 27 nicht reißt. Besonders bei Trägern für Glasflaschen mit Inhalten von 0,51 bis 1,51 ist dieser Sicherheitsaspekt von besonderer Bedeutung.
- Entsprechende Verstärkungsstreifen können bei Zuschnitten nach
Fig. 2 und15 vorgesehen werden. - Eine weitere vorteilhafte Verstärkung der beschriebenen Träger 1 kann gemäß
Fig. 27 bis 29 mit Hilfe von formschlüssig wirkenden Verriegelungsmitteln vorgesehen werden. Wie insbesondereFig. 27 und28 zeigen, werden zu diesem Zweck an den Deckenteilabschnitten 8a und 8b, die im fertigen Träger 37 auf dem Deckenteil 9 zu liegen kommen, Verriegelungslaschen 158 vorgesehen, die jeweils längs einer Umrißlinie 159 vorgeprägt oder vorgestanzt werden, jedoch längs einer hinteren, quer zur Längsachse 2 verlaufenden Biegelinie 160 fest mit dem Zuschnitt 1 verbunden bleiben. Diese Verriegelungslaschen 158 können z. B. mit einem Durchstoß-Dom nach innen umgefaltet werden. Außerdem werden nach einer ersten, einfachsten Variante an denjenigen Stellen des anderen Deckenteils 9, die gemäßFig. 9 im fertigen Zustand des Trägers 37 unter dem ersten Deckenteil 8 zu liegen kommen, rechteckförmige Aussparungen 161 vorgesehen. Werden die Verriegelungslaschen 158 daher im fertigen Zustand des Trägers 37 manuell oder automatisch um ihre Biegelinien 160 um ca. 90° nach unten umgebogen (Fig. 29 ), dann treten sie derart in die Aussparungen 161 ein, daß sich an den äußeren Konturen der Verriegelungslaschen 158 ausgebildete Schultern 162 hinter den Rändern der Aussparungen 161 verhaken. Dies ergibt sich insbesondere deshalb, weil den Schultern 162 einerseits ein etwas größerer Querschnitt gegeben wird, als der Querschnittskontur der Aussparungen 161 entspricht, und weil die Schultern 162 andererseits wegen des verwendeten Zuschnittmaterials ausreichend flexibel sind, um hinter den Rändern der Aussparungen 161 einschnappen zu können. - In einer zweiten, bevorzugten Variante wird das Zuschnittmaterial innerhalb der Aussparungen 161 nicht entfernt, sondern lediglich längs einer Kontur 163 vorgestanzt bzw. vorgeprägt, so daß es längs einer quer zur Längsachse 2 verlaufenden Biegelinie 164 mit dem Zuschnitt 1 verbunden bleibt und eine Sicherungslasche 165 (
Fig. 29 ) bildet. Wird daher eine zugeordnete Verriegelungslasche 158 nach Herstellung des Trägers 37 um ca. 90° nach unten gebogen, dann wird dadurch auch die Sicherungslasche 165 nach unten gedrückt, bis sie hinter der Verriegelungslasche 158 einschnappt, wie inFig. 29 deutlich sichtbar ist. Dadurch wird ein nachträgliches Herausspringen der Verriegelungslasche 158 bei Belastung des Griffteils 27 sicher verhindert. Die Verriegelungslaschen 158 und die Haltelaschen 165 können, wieFig. 27 bis 29 zeigen, in unterschiedliche Richtungen falt- bzw. biegbar sein. - Mit Hilfe der Verriegelungslaschen 158, Aussparungen 161 und ggf. Sicherungslaschen 165 wird in Ergänzung zu der kraftschlüssigen Klebeverbindung eine sehr stabile, formschlüssige Verbindung zwischen den beiden Deckenteilen 8 und 9 geschaffen. Dadurch wird insbesondere bei Anwendung schwerer Flaschen sicher vermieden, daß sich die beiden Deckenteile 8, 9 bei Belastung voneinander lösen.
- Die Verriegelungsmittel, die auch anders ausgebildet und angeordnet sein können, als in
Fig. 27 bis 29 dargestellt ist, werden mit besonderem Vorteil bei den Ausführungsbeispielen nachFig. 1 bis 14 angewendet, können bei Bedarf aber auch beim Ausführungsbeispiel nachFig. 15 bis 26 eingesetzt werden. - Weiterhin können die Zuschnitte 1, 32 und 101 und deren Öffnungen 17, 22 und 24 bzw. 117, 122 und 124 an andere Verschlußelemente, z. B. Schraubverschlüsse, angepaßt oder so ausgelegt werden, daß sich die Untergriffsegmente 20, 120 nicht an deren Unterkanten, sondern an radial nach außen ragende Tragringe anlegen, die insbesondere bei Kunststoffflaschen häufig unterhalb der Verschlußelemente an den Flaschenhälsen angebracht sind. Weiterhin können die Untergriffsegmente 20, 120 auch ganz weggelassen werden, wenn die die Öffnungen 17, 117 begrenzenden Ränder ausreichend flexibel sind. Auch eine andere Gestaltung der Untergriffsegmente 20, 120 ist möglich, indem z. B. statt der Trennlinien 21, 121 größere Zwischenräume zwischen den einzelnen Segmenten vorgesehen werden. Ferner können die verschiedenen Zuschnittfelder in gewissen Grenzen andere geometrische Formen aufweisen, indem sie z. B. mit abgerundeten Ecken oder sonstigen, produktbezogenen Abänderungen versehen werden. Entsprechendes gilt für die Größe der Abdeckteile 33, die auch kleiner sein könnten, als den offenen Stirnseiten eines aus dem Grundelement des Zuschnitts 32 herstellbaren Trägers entspricht, sowie für die nur beispielhaft beschriebenen Verbindungsmittel, die auch anders als dargestellt ausgebildet sein könnten. Schließlich versteht sich, daß die verschiedenen Merkmale auch in anderen als in den dargestellten und beschriebenen Kombinationen angewendet werden können.
Claims (33)
- Zuschnitt aus Kraftkarton zur Herstellung eines mehrreihigen Trägers (37, 37a, 137) für mit Verschlußelementen (39) und ggf. mit Tragringen versehene Flaschen (38), enthaltend ein im wesentlichen rechteckiges, flach liegendes und ungefaltetes Grundelement mit einem mittleren Bodenteil (5; 105), zwei beidseitig an dieses angrenzenden Seitenteilen (6, 7; 106, 107), zwei an je ein Seitenteil (6, 7; 106, 107) grenzenden, übereinander anzuordnenden und miteinander zu verklebenden Deckenteilen (8, 9; 1.08, 109) und ein Tragelement, wobei die beiden Deckenteile (8, 9; 108, 109) und das Bodenteil (5, 105) mit in wenigstens zwei Reihen angeordneten, zur Aufnahme von Hälsen (38c) der Flaschen (38) bestimmten Öffnungen (17, 22, 24; 117, 122, 124) versehen und das Bodenteil (5, 105), die Seitenteile (6, 7; 106, 107) und die Deckenteile (8, 9; 108, 109) durch im wesentlichen senkrecht zu einer Längsachse (2; 102) verlaufende Faltlinien (10 bis 14 bzw. 110 bis 114) gegeneinander abgegrenzt sind, dadurch gekennzeichnet, daß wenigstens eines der beiden Deckenteile (8) oder das Bodenteil (105) zwei in Richtung der Längsachse (2; 102) beabstandete Decken- bzw. Bodenteilabschnitte (8a, 8b; 105a, 105b) aufweist, zwischen denen ein Griffteil (27; 127) angeordnet ist, das aus zwei zusammenhängenden, zwecks gemeinsamer Bildung eines Traggriffs aneinander legbaren Griffteilabschnitten (27a, 27b; 127a, 127b) gebildet ist, die an einander zugewandten Seitenkanten längs einer im wesentlichen senkrecht zur Längsachse (2, 102) angeordneten Faltlinie (28; 128) miteinander und an von einander entfernten Seitenkanten längs ebenfalls im wesentlichen senkrecht zur Längsachse (2; 102) verlaufenden Faltlinien (29, 30; 129, 130) mit je einem der Decken- bzw. Bodenieilabschnitte (8a, 8b; 105a, 105b) verbunden sind.
- Zuschnitt nach Anspruch 1, dadurch gekennzeichnet, daß die beiden Decken- bzw. Bodenteilabschnitte (8a, 8b; 105a, 105b) je eine Reihe der zugehörigen Öffnungen (22; 124) aufweisen.
- Zuschnitt nach einem der Ansprüche 1 oder 2, dadurch gekennzeichnet, daß ein erstes der beiden Deckenteile (8) zwei durch das Griffteil (27) verbundene Deckenteilabschnitte (8a, 8b) aufweist und das Grundelement durch Falten und gegenseitiges Verbinden der beiden Deckenteile (8, 9) einerseits und Aneinanderlegen der beiden Griffteilabschnitte (27a, 27b) andererseits derart zu einem Träger (37, 37a) für die Flaschen (38) vorgefertigt ist, daß das erste Deckenteil (8) auf dem anderen, zweiten Deckenteil (9) aufliegt und fest mit diesem verbunden ist, während die beiden Griffteilabschnitte (27a, 27b) auf einer vom zweiten Deckenteil (9) abgewandten Seite um die mit den Deckenteilabschnitten (8a, 8b) gebildeten Faltlinien (29, 39) relativ zum ersten Deckenteil (8) schwenkbar sind, um dadurch ein oberhalb des ersten Deckenteils (8) angeordnetes Griffteil (27) bilden.
- Zuschnitt nach Anspruch 3, dadurch gekennzeichnet, daß die Griffteilabschnitte (27a, 27b) so vorgespannt sind, daß das Griffteil (27) im unbenutzten Zustand des Trägers (37, 37a) einen Winkel mit einem der Deckenteilabschnitte (8a, 8b) bildet, der kleiner als 90° ist.
- Zuschnitt nach Anspruch 4, dadurch gekennzeichnet, daß die Vorspannung durch eine entsprechende Ausbildung der die Griffteilabschnitte (27a, 27b) mit den Deckenteilabschnitten (8a, 8b) verbindenden Faltlinien (29, 30) hergestellt ist.
- Zuschnitt nach einem der Ansprüche 1 bis 5, dadurch gekennzeichnet, daß die beiden Deckenteilabschnitte (8a, 8b) in Richtung der Längsachse (2) im wesentlichen gleiche Breiten besitzen.
- Zuschnitt nach Anspruch 6, dadurch gekennzeichnet, daß die Höhen der Griffteilabschnitte (27a, 27b) kleiner sind, als den Abständen der sie mit den Deckenteilabschnitten (8a, 8b) verbindende Faltlinien (29, 30) von Mittellinien entspricht, die durch die Mitten der in den Deckenteilabschnitten (8a, 8b) befindlichen Öffnungen (22) verlaufen.
- Zuschnitt nach Anspruch 1 oder 2, dadurch gekennzeichnet, daß das Bodenteil (105) zwei durch das Griffteil (127) verbundene Bodenteilabschnitte (105a, 105b) aufweist und die Deckenteile (108, 109) mit je einem zum Durchtritt des Griffteils (127) bestimmten Schlitz (146, 147) versehen sind.
- Zuschnitt nach Anspruch 8, dadurch gekennzeichnet, daß das Grundelement durch Falten und gegenseitiges Verbinden der beiden Deckenteile (108, 109) einerseits und Aufeinanderlegen der Griffteilabschnitte (127a, 127b) andererseits derart zu einem Träger (137) für die Flaschen (38) vorgefertigt ist, daß die beiden Deckenteile (108, 109) aufeinander liegen und fest miteinander verbunden sind, während die beiden Griffteilabschnitte (127a, 127b) auf einer den Deckenteilen (108, 109) zugewandten Seite um die mit den Bodenteilabschnitten (105, 105b) gebildeten Faltlinien (129, 130) relativ zum Bodenteil (105) schwenkbar sind und ein durch die Schlitze (146, 147) der Deckenteile (108, 109) nach außen ragendes Griffteil (127) bilden.
- Zuschnitt nach Anspruch 8 oder 9, dadurch gekennzeichnet, daß die beiden Bodenteilabschnitte (105a, 105b) in Richtung der Längsachse (102) im wesentlichen gleiche Breiten besitzen.
- Zuschnitt nach einem der Ansprüche 8 bis 10, dadurch gekennzeichnet, daß die in Richtung der Längsachse (102) gemessenen Höhen der Griffteilabschnitte (127a, 127b) größer sind, als den in derselben Richtung gemessenen Höhen der Seitenteile (106, 107) entspricht.
- Zuschnitt nach einem der Ansprüche 8 bis 11, dadurch gekennzeichnet, daß die Schlitze (146, 147) Mittellinien aufweisen, die parallel zu, aber außerhalb von gedachten, senkrecht zur Längsachse (102) angeordneten Mittellinien der Deckenteile (108, 109) angeordnet sind.
- Zuschnitt nach einem der Ansprüche 8 bis 12, dadurch gekennzeichnet, daß er mit einer zum Einschieben des Griffteils (127) in die Schlitze (146, 147) der Deckenteile (108, 109) bestimmten Aufrichthilfe versehen ist.
- Zuschnitt nach Anspruch 13, dadurch gekennzeichnet, daß die Aufrichthilfe wenigstens eine zur Verbindung eines der Griffteilabschnitte (127b) mit dem zweiten Deckenteil (109) bestimmte Lasche (148) aufweist.
- Zuschnitt nach Anspruch 14, dadurch gekennzeichnet, daß die Lasche (148) aus einem Sektor des Griffteilabschnitts (127b) besteht, der nur längs eines kleinen Festpunkts (149) seiner Umfangskontur mit dem übrigen Teil des Griffteilabschnitts (127b) verbunden ist.
- Zuschnitt nach Anspruch 14 oder 15, dadurch gekennzeichnet, daß die Lasche (148) durch Stanzen hergestellt ist.
- Zuschnitt nach einem der Ansprüche 1 bis 16, dadurch gekennzeichnet, daß die beiden Griffteilabschnitte (27, 27b; 127a, 127b) mit Durchgriffssöffnungen (153) versehen sind.
- Zuschnitt nach einem der Ansprüche 1 bis 17, dadurch gekennzeichnet, daß die Griffteilabschnitte (27a, 27b; 127a, 127b) fest miteinander verbunden sind.
- Zuschnitt nach einem der Ansprüche 1 bis 18, dadurch gekennzeichnet, daß die Decken- oder Bodenteilabschnitte (8a, 8b; 105, 105b) und/oder die Griffteilabschnitte (27a, 27b; 127a, 127b) durch Kleben miteinander verbunden sind.
- Zuschnitt nach einem der Ansprüche 1 bis 7 und 17 bis 19, dadurch gekennzeichnet, daß er wenigstens ein seitliches Abdeckteil (33) aufweist, das längs einer weiteren, im wesentlichen parallel zur Längsachse (2) angeordneten Faltlinie (34) mit dem Bodenteil (5) verbunden ist.
- Zuschnitt nach Anspruch 20, dadurch gekennzeichnet, daß das Abdeckteil (33) im vorgefertigten Zustand durch Verschwenkung um mehr als 90° um die weitere Faltlinie (34) einer Innenseite des Bodenteils (5) zugewandt ist.
- Zuschnitt nach Anspruch 20 oder 21, dadurch gekennzeichnet, daß das Abdeckteil (33) und die Seiten- und/oder Deckenteile (6, 7; 8, 9) mit zusammenwirkenden Verbindungsmitteln (40, 41, 42) versehen sind.
- Zuschnitt nach einem der Ansprüche 20 bis 22, dadurch gekennzeichnet, daß die weitere Faltlinie (34) mit einer Perforierung versehen ist.
- Zuschnitt nach einem der Ansprüche 20 bis 23, dadurch gekennzeichnet, daß das Abdeckteil (33) so ausgebildet und/oder im vorgefertigten Zustand der Innenseite des Bodenteils (5) so zugewandt ist, daß es beim Aufsetzen auf die Flaschenhälse (38c) durch diese seitlich aufgeklappt wird.
- Zuschnitt nach Anspruch 24, dadurch gekennzeichnet, daß die Anordnung auch derart ist, daß beim Aufklappen des Abdeckteils (33) die Verbindungsmittel (40, 41, 42) selbsttätig in Eingriff gelangen.
- Zuschnitt nach einem der Ansprüche 20 bis 25, dadurch gekennzeichnet, daß er auf beiden Seiten der Längsachse (2) je ein Abdeckteil (33) aufweist.
- Zuschnitt nach einem der Ansprüche 1 bis 26, dadurch gekennzeichnet, daß wenigstens ein Griffteilabschnitt (27a, 27b) mit einer Verstärkung versehen ist.
- Zuschnitt nach Anspruch 27, dadurch gekennzeichnet, daß die Verstärkung aus einem aufgeklebten Verstärkungsstreifen (155) besteht.
- Zuschnitt nach Anspruch 27 oder 28, dadurch gekennzeichnet, daß die Verstärkung in einem oberhalb der Durchgriffsöffnungen (153) befindlichen Stegabschnitt ausgebildet ist.
- Zuschnitt nach einem der Ansprüche 1 bis 28, dadurch gekennzeichnet, daß zur formschlüssigen Verbindung der Deckenteile (8, 9) bestimmte Verriegelungsmittel (158, 161) vorgesehen sind.
- Zuschnitt nach Anspruch 30, dadurch gekennzeichnet, daß die Verriegelungsmittel an dem einen Deckenteil (8) vorgesehene Verriegelungslaschen (158) und an dem anderen Deckenteil (9) die Verriegelungslaschen (158) aufnehmende Aussparungen (161) enthalten.
- Zuschnitt nach Anspruch 31, dadurch gekennzeichnet, daß die Verriegelungsmittel außerdem den Verriegelungslaschen (158) zugeordnete Sicherungslaschen (165) enthalten, die an dem die Aussparungen (161) enthaltenen Deckenteil (9) ausgebildet sind.
- Flaschenträger für mit Verschlußelementen (39) und ggf. Tragringen versehene Flaschen (38), dadurch gekennzeichnet, daß er unter Verwendung eines Zuschnitts nach einem oder mehreren der Ansprüche 1 bis 31 hergestellt ist.
Applications Claiming Priority (2)
| Application Number | Priority Date | Filing Date | Title |
|---|---|---|---|
| DE20316996U | 2003-11-03 | ||
| DE20316996U DE20316996U1 (de) | 2003-11-03 | 2003-11-03 | Zuschnitt aus Kraftkarton zur Herstellung eines mehrreihigen Flaschenträgers |
Publications (3)
| Publication Number | Publication Date |
|---|---|
| EP1528007A2 EP1528007A2 (de) | 2005-05-04 |
| EP1528007A3 EP1528007A3 (de) | 2006-07-12 |
| EP1528007B1 true EP1528007B1 (de) | 2010-10-13 |
Family
ID=31984674
Family Applications (1)
| Application Number | Title | Priority Date | Filing Date |
|---|---|---|---|
| EP04025488A Expired - Lifetime EP1528007B1 (de) | 2003-11-03 | 2004-10-27 | Zuschnitt auf Kraftkarton zur Herstellung eine mehrreihigen Flaschenträgers |
Country Status (4)
| Country | Link |
|---|---|
| EP (1) | EP1528007B1 (de) |
| AT (1) | ATE484461T1 (de) |
| DE (2) | DE20316996U1 (de) |
| MX (1) | MXPA04010261A (de) |
Cited By (38)
| Publication number | Priority date | Publication date | Assignee | Title |
|---|---|---|---|---|
| WO2020122984A1 (en) * | 2018-12-14 | 2020-06-18 | Graphic Packaging International, Llc | Carrier for containers |
| US11014727B2 (en) | 2018-12-14 | 2021-05-25 | Graphic Packaging International, Llc | Carrier for containers |
| US11027904B2 (en) | 2018-12-14 | 2021-06-08 | Graphic Packaging International, Llc | Carrier for containers |
| US11180301B2 (en) | 2018-12-14 | 2021-11-23 | Graphic Packaging International, Llc | Carrier for containers |
| US11261013B2 (en) | 2018-12-14 | 2022-03-01 | Graphic Packaging International, Llc | Carrier for containers |
| US11279540B2 (en) | 2018-09-07 | 2022-03-22 | Graphic Packaging International, Llc | Carrier for a plurality of containers |
| USD946419S1 (en) | 2020-06-30 | 2022-03-22 | Graphic Packaging International, Llc | Carrier |
| USD946418S1 (en) | 2020-04-27 | 2022-03-22 | Graphic Packaging International, Llc | Carrier |
| USD946420S1 (en) | 2020-06-30 | 2022-03-22 | Graphic Packaging International, Llc | Carrier |
| USD946421S1 (en) | 2018-12-14 | 2022-03-22 | Graphic Packaging International, Llc | Carrier |
| USD946417S1 (en) | 2020-06-30 | 2022-03-22 | Graphic Packaging International, Llc | Carrier |
| USD946416S1 (en) | 2019-05-30 | 2022-03-22 | Graphic Packaging International, Llc | Carrier |
| US11286094B2 (en) | 2020-04-27 | 2022-03-29 | Graphic Packaging International, Llc | Carrier for containers |
| USD974923S1 (en) | 2019-05-30 | 2023-01-10 | Graphic Packaging International, Llc | Carrier |
| US11623803B2 (en) | 2018-12-14 | 2023-04-11 | Graphic Packaging International, Llc | Carrier for containers |
| USD983049S1 (en) | 2021-03-24 | 2023-04-11 | Graphic Packaging International, Llc | Carrier for containers |
| US11628994B2 (en) | 2020-09-30 | 2023-04-18 | Graphic Packaging International, Llc | Carrier for containers |
| USD984282S1 (en) | 2021-03-24 | 2023-04-25 | Graphic Packaging International, Llc | Carrier for containers |
| USD984280S1 (en) | 2019-05-30 | 2023-04-25 | Graphic Packaging International, Llc | Carrier |
| USD984279S1 (en) | 2019-05-30 | 2023-04-25 | Graphic Packaging International, Llc | Carrier |
| USD984266S1 (en) | 2021-03-24 | 2023-04-25 | Graphic Packaging International, Llc | Carrier for containers |
| USD1000290S1 (en) | 2021-03-24 | 2023-10-03 | Graphic Packaging International, Llc | Carrier for containers |
| US11840387B2 (en) | 2021-06-09 | 2023-12-12 | Graphic Packaging International, Llc | Carrier for containers |
| US11958673B2 (en) | 2021-07-15 | 2024-04-16 | Graphic Packaging International, Llc | Carrier for containers |
| US12071291B2 (en) | 2021-06-25 | 2024-08-27 | Graphic Packaging International, Llc | Carrier for containers |
| US12103751B2 (en) | 2021-07-08 | 2024-10-01 | Graphic Packaging International, Llc | Carrier for containers |
| US12172780B2 (en) | 2020-04-28 | 2024-12-24 | Graphic Packaging International, Llc | Method and system for attaching articles to a carrier |
| US12195256B2 (en) | 2021-06-29 | 2025-01-14 | Graphic Packaging International, Llc | Carrier for containers |
| USD1063643S1 (en) | 2022-05-11 | 2025-02-25 | Graphic Packaging International, Llc | Carrier for containers |
| USD1063642S1 (en) | 2022-05-11 | 2025-02-25 | Graphic Packaging International, Llc | Carrier for containers |
| USD1063644S1 (en) | 2022-05-11 | 2025-02-25 | Graphic Packaging International, Llc | Carrier for containers |
| USD1064847S1 (en) | 2022-05-11 | 2025-03-04 | Graphic Packaging International, Llc | Carrier for containers |
| USD1064848S1 (en) | 2022-05-11 | 2025-03-04 | Graphic Packaging International, Llc | Carrier for containers |
| USD1064845S1 (en) | 2022-05-11 | 2025-03-04 | Graphic Packaging International, Llc | Carrier for containers |
| USD1064846S1 (en) | 2022-05-11 | 2025-03-04 | Graphic Packaging International, Llc | Carrier for containers |
| USD1078489S1 (en) | 2023-03-27 | 2025-06-10 | Graphic Packaging International, Llc | Carrier for containers |
| USD1088899S1 (en) | 2023-03-24 | 2025-08-19 | Graphic Packaging International, Llc | Carrier for containers |
| US12486092B2 (en) | 2021-06-09 | 2025-12-02 | Graphic Packaging International, Llc | Carrier for containers |
Families Citing this family (3)
| Publication number | Priority date | Publication date | Assignee | Title |
|---|---|---|---|---|
| DE102008022786B3 (de) * | 2008-05-08 | 2009-08-13 | Gustav Stabernack Gmbh | Träger für Flaschen mit Bügelverschluss |
| DE202012006513U1 (de) | 2012-07-05 | 2013-07-08 | H. Hahn Modell- Formen- und Vorrichtungsbau GmbH | Flaschenträger in Form von Flaschenhalsmanschetten aus unterschiedlichem Kartonmaterial als Verpackungseinheit mit hohen Tragestabilitätseigenschaften |
| DE202014001601U1 (de) | 2014-02-19 | 2014-04-17 | H. Hahn Modell- Formen- und Vorrichtungsbau GmbH | Flaschenträger aus Kartonmaterial als "Über Krone"-Verpackungseinheit ohne Verwendung von Bindungsmittel mit hoher Tragestabilitätseigenschaft |
Family Cites Families (4)
| Publication number | Priority date | Publication date | Assignee | Title |
|---|---|---|---|---|
| US2737326A (en) * | 1955-03-02 | 1956-03-06 | New Haven Board & Carton Compa | Can carrier |
| GB1292897A (en) * | 1970-11-10 | 1972-10-18 | Mardon Son & Hall Ltd | Holder for carrying necked containers |
| NL8501585A (nl) * | 1985-06-03 | 1987-01-02 | Peter John Anthony Sieben En M | Flessenhouder. |
| GB9403004D0 (en) * | 1994-02-17 | 1994-04-06 | Mead Corp | Article carrier |
-
2003
- 2003-11-03 DE DE20316996U patent/DE20316996U1/de not_active Expired - Lifetime
-
2004
- 2004-10-18 MX MXPA04010261A patent/MXPA04010261A/es not_active Application Discontinuation
- 2004-10-27 DE DE502004011767T patent/DE502004011767D1/de not_active Expired - Lifetime
- 2004-10-27 EP EP04025488A patent/EP1528007B1/de not_active Expired - Lifetime
- 2004-10-27 AT AT04025488T patent/ATE484461T1/de active
Cited By (63)
| Publication number | Priority date | Publication date | Assignee | Title |
|---|---|---|---|---|
| US11279540B2 (en) | 2018-09-07 | 2022-03-22 | Graphic Packaging International, Llc | Carrier for a plurality of containers |
| US11708202B2 (en) | 2018-09-07 | 2023-07-25 | Graphic Packaging International, Llc | Package for containers |
| US11383907B2 (en) | 2018-12-14 | 2022-07-12 | Graphic Packaging International, Llc | Carrier for containers |
| US11401094B2 (en) | 2018-12-14 | 2022-08-02 | Graphic Packaging International, Llc | Carrier for containers |
| US11261013B2 (en) | 2018-12-14 | 2022-03-01 | Graphic Packaging International, Llc | Carrier for containers |
| US11027904B2 (en) | 2018-12-14 | 2021-06-08 | Graphic Packaging International, Llc | Carrier for containers |
| US11919692B2 (en) | 2018-12-14 | 2024-03-05 | Graphic Packaging International LLC | Carrier for containers |
| US11014727B2 (en) | 2018-12-14 | 2021-05-25 | Graphic Packaging International, Llc | Carrier for containers |
| WO2020122984A1 (en) * | 2018-12-14 | 2020-06-18 | Graphic Packaging International, Llc | Carrier for containers |
| USD946421S1 (en) | 2018-12-14 | 2022-03-22 | Graphic Packaging International, Llc | Carrier |
| US11472618B2 (en) | 2018-12-14 | 2022-10-18 | Graphic Packaging International, Llc | Carrier for containers |
| US12084244B2 (en) | 2018-12-14 | 2024-09-10 | Graphic Packaging International, Llc | Carrier for containers |
| US12503287B2 (en) | 2018-12-14 | 2025-12-23 | Graphic Packaging International, Llc | Carrier for containers |
| US11623803B2 (en) | 2018-12-14 | 2023-04-11 | Graphic Packaging International, Llc | Carrier for containers |
| US11180301B2 (en) | 2018-12-14 | 2021-11-23 | Graphic Packaging International, Llc | Carrier for containers |
| USD946416S1 (en) | 2019-05-30 | 2022-03-22 | Graphic Packaging International, Llc | Carrier |
| USD1083623S1 (en) | 2019-05-30 | 2025-07-15 | Graphic Packaging International, Llc | Carrier |
| USD1080402S1 (en) | 2019-05-30 | 2025-06-24 | Graphic Packaging International, Llc | Carrier |
| USD1080401S1 (en) | 2019-05-30 | 2025-06-24 | Graphic Packaging International, Llc | Carrier |
| USD984279S1 (en) | 2019-05-30 | 2023-04-25 | Graphic Packaging International, Llc | Carrier |
| USD1083622S1 (en) | 2019-05-30 | 2025-07-15 | Graphic Packaging International, Llc | Carrier |
| USD984280S1 (en) | 2019-05-30 | 2023-04-25 | Graphic Packaging International, Llc | Carrier |
| USD974923S1 (en) | 2019-05-30 | 2023-01-10 | Graphic Packaging International, Llc | Carrier |
| USD984281S1 (en) | 2020-04-27 | 2023-04-25 | Graphic Packaging International, Llc | Carrier |
| USD946418S1 (en) | 2020-04-27 | 2022-03-22 | Graphic Packaging International, Llc | Carrier |
| US11286094B2 (en) | 2020-04-27 | 2022-03-29 | Graphic Packaging International, Llc | Carrier for containers |
| US11485555B2 (en) | 2020-04-27 | 2022-11-01 | Graphic Packaging International, Llc | Carrier for containers |
| USD1080400S1 (en) | 2020-04-27 | 2025-06-24 | Graphic Packaging International, Llc | Carrier |
| US12172780B2 (en) | 2020-04-28 | 2024-12-24 | Graphic Packaging International, Llc | Method and system for attaching articles to a carrier |
| US12577004B2 (en) | 2020-04-28 | 2026-03-17 | Graphic Packaging International, Llc | Method and system for attaching articles to a carrier |
| USD955890S1 (en) | 2020-06-30 | 2022-06-28 | Graphic Packaging International, Llc | Carrier |
| USD946420S1 (en) | 2020-06-30 | 2022-03-22 | Graphic Packaging International, Llc | Carrier |
| USD946417S1 (en) | 2020-06-30 | 2022-03-22 | Graphic Packaging International, Llc | Carrier |
| USD955889S1 (en) | 2020-06-30 | 2022-06-28 | Graphic Packaging International, Llc | Carrier |
| USD956573S1 (en) | 2020-06-30 | 2022-07-05 | Graphic Packaging International, Llc | Carrier |
| USD956574S1 (en) | 2020-06-30 | 2022-07-05 | Graphic Packaging International, Llc | Carrier |
| USD946419S1 (en) | 2020-06-30 | 2022-03-22 | Graphic Packaging International, Llc | Carrier |
| USD956575S1 (en) | 2020-06-30 | 2022-07-05 | Graphic Packaging International, Llc | Carrier |
| US11655088B2 (en) | 2020-09-30 | 2023-05-23 | Graphic Packaging International, Llc | Carrier for containers |
| US11753226B2 (en) | 2020-09-30 | 2023-09-12 | Graphic Packaging International, Llc | Carrier for containers |
| US11628994B2 (en) | 2020-09-30 | 2023-04-18 | Graphic Packaging International, Llc | Carrier for containers |
| USD1000290S1 (en) | 2021-03-24 | 2023-10-03 | Graphic Packaging International, Llc | Carrier for containers |
| USD983049S1 (en) | 2021-03-24 | 2023-04-11 | Graphic Packaging International, Llc | Carrier for containers |
| USD984266S1 (en) | 2021-03-24 | 2023-04-25 | Graphic Packaging International, Llc | Carrier for containers |
| USD984282S1 (en) | 2021-03-24 | 2023-04-25 | Graphic Packaging International, Llc | Carrier for containers |
| US12486092B2 (en) | 2021-06-09 | 2025-12-02 | Graphic Packaging International, Llc | Carrier for containers |
| US11840387B2 (en) | 2021-06-09 | 2023-12-12 | Graphic Packaging International, Llc | Carrier for containers |
| US12565367B2 (en) | 2021-06-25 | 2026-03-03 | Graphic Packaging International, Llc | Carrier for containers |
| US12071291B2 (en) | 2021-06-25 | 2024-08-27 | Graphic Packaging International, Llc | Carrier for containers |
| US12195256B2 (en) | 2021-06-29 | 2025-01-14 | Graphic Packaging International, Llc | Carrier for containers |
| US12103751B2 (en) | 2021-07-08 | 2024-10-01 | Graphic Packaging International, Llc | Carrier for containers |
| US12071290B2 (en) | 2021-07-15 | 2024-08-27 | Graphic Packagin g International, LLC | Carrier for containers |
| US11958673B2 (en) | 2021-07-15 | 2024-04-16 | Graphic Packaging International, Llc | Carrier for containers |
| USD1063643S1 (en) | 2022-05-11 | 2025-02-25 | Graphic Packaging International, Llc | Carrier for containers |
| USD1064846S1 (en) | 2022-05-11 | 2025-03-04 | Graphic Packaging International, Llc | Carrier for containers |
| USD1064845S1 (en) | 2022-05-11 | 2025-03-04 | Graphic Packaging International, Llc | Carrier for containers |
| USD1064848S1 (en) | 2022-05-11 | 2025-03-04 | Graphic Packaging International, Llc | Carrier for containers |
| USD1064847S1 (en) | 2022-05-11 | 2025-03-04 | Graphic Packaging International, Llc | Carrier for containers |
| USD1063644S1 (en) | 2022-05-11 | 2025-02-25 | Graphic Packaging International, Llc | Carrier for containers |
| USD1063642S1 (en) | 2022-05-11 | 2025-02-25 | Graphic Packaging International, Llc | Carrier for containers |
| USD1088899S1 (en) | 2023-03-24 | 2025-08-19 | Graphic Packaging International, Llc | Carrier for containers |
| USD1092238S1 (en) | 2023-03-24 | 2025-09-09 | Graphic Packaging International, Llc | Carrier for containers |
| USD1078489S1 (en) | 2023-03-27 | 2025-06-10 | Graphic Packaging International, Llc | Carrier for containers |
Also Published As
| Publication number | Publication date |
|---|---|
| DE502004011767D1 (de) | 2010-11-25 |
| EP1528007A2 (de) | 2005-05-04 |
| DE20316996U1 (de) | 2004-03-04 |
| EP1528007A3 (de) | 2006-07-12 |
| MXPA04010261A (es) | 2005-05-17 |
| ATE484461T1 (de) | 2010-10-15 |
Similar Documents
| Publication | Publication Date | Title |
|---|---|---|
| EP1528007B1 (de) | Zuschnitt auf Kraftkarton zur Herstellung eine mehrreihigen Flaschenträgers | |
| DE69524943T2 (de) | Korbartiger tragbehälter mit nicht zusammenklappbaren seitenwänden | |
| DE3103541A1 (de) | Tragevorrichtung fuer behaelter | |
| EP4251536B1 (de) | Haltevorrichtung für behälter, insbesondere dosen, zuschnitt hierfür und gebinde hiermit | |
| DE2431685A1 (de) | Traeger fuer eine anzahl von behaeltern | |
| EP1971526B1 (de) | Vorrichtung aus faltbarem flachmaterial zum bilden von gefachen für die aufnahme von behaltern, zuschnitt dazu und verpackung | |
| EP1651533B9 (de) | Mehrlochsteige | |
| DE3346275A1 (de) | Blumenvase | |
| DE9320302U9 (de) | Zuschnitt zur Herstellung eines Kastens und Kasten aus blattförmigem Material | |
| DE9320302U1 (de) | Zuschnitt zur Herstellung eines Kastens und Kasten aus blattförmigem Material | |
| DE202012006513U1 (de) | Flaschenträger in Form von Flaschenhalsmanschetten aus unterschiedlichem Kartonmaterial als Verpackungseinheit mit hohen Tragestabilitätseigenschaften | |
| CH668040A5 (de) | Schriftguttraeger. | |
| DE8808196U1 (de) | Becherartiger Faltbehälter | |
| EP1739027B1 (de) | Zuschnitt zur Herstellung eines mehrreihigen Flaschenträgers und damit hergestellter Flaschenträger | |
| DE8522799U1 (de) | Zuschnitt aus faltbarem Material wie Pappe, Wellpappe od. dgl. für einen Verpackungskarton mit Präsentationsfenster | |
| EP0157338A2 (de) | Mehrstückpackung aus Karton od.dgl. | |
| DE10335201B4 (de) | Stabilisierungssteg an einer Mehrlochsteige | |
| DE69220582T2 (de) | Blisterpackung und verfahren zu ihrer herstellung | |
| DE20316999U1 (de) | Zuschnitt aus Kraftkarton zur Herstellung eines Flaschenträgers | |
| EP0316890B1 (de) | Einstückiger, vorgefalzter Zuschnitt aus faltbarem Material für eine Becher- oder Stapelsteige | |
| DE4100098C2 (de) | ||
| DE20105509U1 (de) | Ein- oder mehrteiliger Verpackungsbehälter | |
| DE10341879A1 (de) | Mehrlochsteige | |
| EP0639146A1 (de) | Eine schlauchförmige packung mit stirnseitigen haltestreifen für die zusammenfassung von mehreren gegenständen | |
| DE102004021023A1 (de) | Mehrlochsteige |
Legal Events
| Date | Code | Title | Description |
|---|---|---|---|
| PUAI | Public reference made under article 153(3) epc to a published international application that has entered the european phase |
Free format text: ORIGINAL CODE: 0009012 |
|
| AK | Designated contracting states |
Kind code of ref document: A2 Designated state(s): AT BE BG CH CY CZ DE DK EE ES FI FR GB GR HU IE IT LI LU MC NL PL PT RO SE SI SK TR |
|
| AX | Request for extension of the european patent |
Extension state: AL HR LT LV MK |
|
| PUAL | Search report despatched |
Free format text: ORIGINAL CODE: 0009013 |
|
| AK | Designated contracting states |
Kind code of ref document: A3 Designated state(s): AT BE BG CH CY CZ DE DK EE ES FI FR GB GR HU IE IT LI LU MC NL PL PT RO SE SI SK TR |
|
| AX | Request for extension of the european patent |
Extension state: AL HR LT LV MK |
|
| 17P | Request for examination filed |
Effective date: 20061223 |
|
| AKX | Designation fees paid |
Designated state(s): AT BE BG CH CY CZ DE DK EE ES FI FR GB GR HU IE IT LI LU MC NL PL PT RO SE SI SK TR |
|
| 17Q | First examination report despatched |
Effective date: 20070125 |
|
| GRAP | Despatch of communication of intention to grant a patent |
Free format text: ORIGINAL CODE: EPIDOSNIGR1 |
|
| 19U | Interruption of proceedings before grant |
Effective date: 20100226 |
|
| 19W | Proceedings resumed before grant after interruption of proceedings |
Effective date: 20100701 |
|
| GRAS | Grant fee paid |
Free format text: ORIGINAL CODE: EPIDOSNIGR3 |
|
| GRAA | (expected) grant |
Free format text: ORIGINAL CODE: 0009210 |
|
| AK | Designated contracting states |
Kind code of ref document: B1 Designated state(s): AT BE BG CH CY CZ DE DK EE ES FI FR GB GR HU IE IT LI LU MC NL PL PT RO SE SI SK TR |
|
| REG | Reference to a national code |
Ref country code: GB Ref legal event code: FG4D Free format text: NOT ENGLISH |
|
| REG | Reference to a national code |
Ref country code: CH Ref legal event code: EP |
|
| REG | Reference to a national code |
Ref country code: IE Ref legal event code: FG4D Free format text: LANGUAGE OF EP DOCUMENT: GERMAN |
|
| REG | Reference to a national code |
Ref country code: CH Ref legal event code: NV Representative=s name: ISLER & PEDRAZZINI AG |
|
| REF | Corresponds to: |
Ref document number: 502004011767 Country of ref document: DE Date of ref document: 20101125 Kind code of ref document: P |
|
| REG | Reference to a national code |
Ref country code: NL Ref legal event code: VDEP Effective date: 20101013 |
|
| REG | Reference to a national code |
Ref country code: IE Ref legal event code: FD4D |
|
| PG25 | Lapsed in a contracting state [announced via postgrant information from national office to epo] |
Ref country code: SE Free format text: LAPSE BECAUSE OF FAILURE TO SUBMIT A TRANSLATION OF THE DESCRIPTION OR TO PAY THE FEE WITHIN THE PRESCRIBED TIME-LIMIT Effective date: 20101013 Ref country code: FI Free format text: LAPSE BECAUSE OF FAILURE TO SUBMIT A TRANSLATION OF THE DESCRIPTION OR TO PAY THE FEE WITHIN THE PRESCRIBED TIME-LIMIT Effective date: 20101013 Ref country code: PT Free format text: LAPSE BECAUSE OF FAILURE TO SUBMIT A TRANSLATION OF THE DESCRIPTION OR TO PAY THE FEE WITHIN THE PRESCRIBED TIME-LIMIT Effective date: 20110214 Ref country code: SI Free format text: LAPSE BECAUSE OF FAILURE TO SUBMIT A TRANSLATION OF THE DESCRIPTION OR TO PAY THE FEE WITHIN THE PRESCRIBED TIME-LIMIT Effective date: 20101013 Ref country code: BG Free format text: LAPSE BECAUSE OF FAILURE TO SUBMIT A TRANSLATION OF THE DESCRIPTION OR TO PAY THE FEE WITHIN THE PRESCRIBED TIME-LIMIT Effective date: 20110113 Ref country code: NL Free format text: LAPSE BECAUSE OF FAILURE TO SUBMIT A TRANSLATION OF THE DESCRIPTION OR TO PAY THE FEE WITHIN THE PRESCRIBED TIME-LIMIT Effective date: 20101013 Ref country code: MC Free format text: LAPSE BECAUSE OF NON-PAYMENT OF DUE FEES Effective date: 20101031 |
|
| PG25 | Lapsed in a contracting state [announced via postgrant information from national office to epo] |
Ref country code: GR Free format text: LAPSE BECAUSE OF FAILURE TO SUBMIT A TRANSLATION OF THE DESCRIPTION OR TO PAY THE FEE WITHIN THE PRESCRIBED TIME-LIMIT Effective date: 20110114 |
|
| PG25 | Lapsed in a contracting state [announced via postgrant information from national office to epo] |
Ref country code: ES Free format text: LAPSE BECAUSE OF FAILURE TO SUBMIT A TRANSLATION OF THE DESCRIPTION OR TO PAY THE FEE WITHIN THE PRESCRIBED TIME-LIMIT Effective date: 20110124 Ref country code: IE Free format text: LAPSE BECAUSE OF FAILURE TO SUBMIT A TRANSLATION OF THE DESCRIPTION OR TO PAY THE FEE WITHIN THE PRESCRIBED TIME-LIMIT Effective date: 20101013 Ref country code: CZ Free format text: LAPSE BECAUSE OF FAILURE TO SUBMIT A TRANSLATION OF THE DESCRIPTION OR TO PAY THE FEE WITHIN THE PRESCRIBED TIME-LIMIT Effective date: 20101013 Ref country code: EE Free format text: LAPSE BECAUSE OF FAILURE TO SUBMIT A TRANSLATION OF THE DESCRIPTION OR TO PAY THE FEE WITHIN THE PRESCRIBED TIME-LIMIT Effective date: 20101013 |
|
| PLBE | No opposition filed within time limit |
Free format text: ORIGINAL CODE: 0009261 |
|
| STAA | Information on the status of an ep patent application or granted ep patent |
Free format text: STATUS: NO OPPOSITION FILED WITHIN TIME LIMIT |
|
| PG25 | Lapsed in a contracting state [announced via postgrant information from national office to epo] |
Ref country code: DK Free format text: LAPSE BECAUSE OF FAILURE TO SUBMIT A TRANSLATION OF THE DESCRIPTION OR TO PAY THE FEE WITHIN THE PRESCRIBED TIME-LIMIT Effective date: 20101013 Ref country code: RO Free format text: LAPSE BECAUSE OF FAILURE TO SUBMIT A TRANSLATION OF THE DESCRIPTION OR TO PAY THE FEE WITHIN THE PRESCRIBED TIME-LIMIT Effective date: 20101013 Ref country code: PL Free format text: LAPSE BECAUSE OF FAILURE TO SUBMIT A TRANSLATION OF THE DESCRIPTION OR TO PAY THE FEE WITHIN THE PRESCRIBED TIME-LIMIT Effective date: 20101013 Ref country code: SK Free format text: LAPSE BECAUSE OF FAILURE TO SUBMIT A TRANSLATION OF THE DESCRIPTION OR TO PAY THE FEE WITHIN THE PRESCRIBED TIME-LIMIT Effective date: 20101013 |
|
| 26N | No opposition filed |
Effective date: 20110714 |
|
| GBPC | Gb: european patent ceased through non-payment of renewal fee |
Effective date: 20110113 |
|
| REG | Reference to a national code |
Ref country code: DE Ref legal event code: R097 Ref document number: 502004011767 Country of ref document: DE Effective date: 20110714 |
|
| PG25 | Lapsed in a contracting state [announced via postgrant information from national office to epo] |
Ref country code: GB Free format text: LAPSE BECAUSE OF NON-PAYMENT OF DUE FEES Effective date: 20110113 |
|
| PG25 | Lapsed in a contracting state [announced via postgrant information from national office to epo] |
Ref country code: IT Free format text: LAPSE BECAUSE OF FAILURE TO SUBMIT A TRANSLATION OF THE DESCRIPTION OR TO PAY THE FEE WITHIN THE PRESCRIBED TIME-LIMIT Effective date: 20101013 |
|
| PG25 | Lapsed in a contracting state [announced via postgrant information from national office to epo] |
Ref country code: CY Free format text: LAPSE BECAUSE OF FAILURE TO SUBMIT A TRANSLATION OF THE DESCRIPTION OR TO PAY THE FEE WITHIN THE PRESCRIBED TIME-LIMIT Effective date: 20101013 |
|
| PG25 | Lapsed in a contracting state [announced via postgrant information from national office to epo] |
Ref country code: HU Free format text: LAPSE BECAUSE OF FAILURE TO SUBMIT A TRANSLATION OF THE DESCRIPTION OR TO PAY THE FEE WITHIN THE PRESCRIBED TIME-LIMIT Effective date: 20110414 |
|
| PG25 | Lapsed in a contracting state [announced via postgrant information from national office to epo] |
Ref country code: TR Free format text: LAPSE BECAUSE OF FAILURE TO SUBMIT A TRANSLATION OF THE DESCRIPTION OR TO PAY THE FEE WITHIN THE PRESCRIBED TIME-LIMIT Effective date: 20101013 |
|
| PGFP | Annual fee paid to national office [announced via postgrant information from national office to epo] |
Ref country code: LU Payment date: 20141023 Year of fee payment: 11 |
|
| PGFP | Annual fee paid to national office [announced via postgrant information from national office to epo] |
Ref country code: FR Payment date: 20141021 Year of fee payment: 11 Ref country code: CH Payment date: 20141024 Year of fee payment: 11 |
|
| PGFP | Annual fee paid to national office [announced via postgrant information from national office to epo] |
Ref country code: AT Payment date: 20141022 Year of fee payment: 11 |
|
| PGFP | Annual fee paid to national office [announced via postgrant information from national office to epo] |
Ref country code: BE Payment date: 20141020 Year of fee payment: 11 |
|
| PG25 | Lapsed in a contracting state [announced via postgrant information from national office to epo] |
Ref country code: LU Free format text: LAPSE BECAUSE OF NON-PAYMENT OF DUE FEES Effective date: 20151027 |
|
| REG | Reference to a national code |
Ref country code: CH Ref legal event code: PL |
|
| REG | Reference to a national code |
Ref country code: AT Ref legal event code: MM01 Ref document number: 484461 Country of ref document: AT Kind code of ref document: T Effective date: 20151027 |
|
| PG25 | Lapsed in a contracting state [announced via postgrant information from national office to epo] |
Ref country code: CH Free format text: LAPSE BECAUSE OF NON-PAYMENT OF DUE FEES Effective date: 20151031 Ref country code: LI Free format text: LAPSE BECAUSE OF NON-PAYMENT OF DUE FEES Effective date: 20151031 |
|
| REG | Reference to a national code |
Ref country code: FR Ref legal event code: ST Effective date: 20160630 |
|
| PG25 | Lapsed in a contracting state [announced via postgrant information from national office to epo] |
Ref country code: FR Free format text: LAPSE BECAUSE OF NON-PAYMENT OF DUE FEES Effective date: 20151102 Ref country code: AT Free format text: LAPSE BECAUSE OF NON-PAYMENT OF DUE FEES Effective date: 20151027 |
|
| PG25 | Lapsed in a contracting state [announced via postgrant information from national office to epo] |
Ref country code: BE Free format text: LAPSE BECAUSE OF NON-PAYMENT OF DUE FEES Effective date: 20151031 |
|
| PGFP | Annual fee paid to national office [announced via postgrant information from national office to epo] |
Ref country code: DE Payment date: 20181015 Year of fee payment: 15 |
|
| REG | Reference to a national code |
Ref country code: DE Ref legal event code: R119 Ref document number: 502004011767 Country of ref document: DE |
|
| PG25 | Lapsed in a contracting state [announced via postgrant information from national office to epo] |
Ref country code: DE Free format text: LAPSE BECAUSE OF NON-PAYMENT OF DUE FEES Effective date: 20200501 |