EP1426521B1 - Vorbau für Wände - Google Patents

Vorbau für Wände Download PDF

Info

Publication number
EP1426521B1
EP1426521B1 EP03027002A EP03027002A EP1426521B1 EP 1426521 B1 EP1426521 B1 EP 1426521B1 EP 03027002 A EP03027002 A EP 03027002A EP 03027002 A EP03027002 A EP 03027002A EP 1426521 B1 EP1426521 B1 EP 1426521B1
Authority
EP
European Patent Office
Prior art keywords
wall
wire basket
rear wall
holder
wall according
Prior art date
Legal status (The legal status is an assumption and is not a legal conclusion. Google has not performed a legal analysis and makes no representation as to the accuracy of the status listed.)
Expired - Lifetime
Application number
EP03027002A
Other languages
English (en)
French (fr)
Other versions
EP1426521A2 (de
EP1426521A3 (de
Inventor
Manfred Beckert
Current Assignee (The listed assignees may be inaccurate. Google has not performed a legal analysis and makes no representation or warranty as to the accuracy of the list.)
Individual
Original Assignee
Individual
Priority date (The priority date is an assumption and is not a legal conclusion. Google has not performed a legal analysis and makes no representation as to the accuracy of the date listed.)
Filing date
Publication date
Application filed by Individual filed Critical Individual
Publication of EP1426521A2 publication Critical patent/EP1426521A2/de
Publication of EP1426521A3 publication Critical patent/EP1426521A3/de
Application granted granted Critical
Publication of EP1426521B1 publication Critical patent/EP1426521B1/de
Anticipated expiration legal-status Critical
Expired - Lifetime legal-status Critical Current

Links

Images

Classifications

    • EFIXED CONSTRUCTIONS
    • E02HYDRAULIC ENGINEERING; FOUNDATIONS; SOIL SHIFTING
    • E02DFOUNDATIONS; EXCAVATIONS; EMBANKMENTS; UNDERGROUND OR UNDERWATER STRUCTURES
    • E02D29/00Independent underground or underwater structures; Retaining walls
    • E02D29/02Retaining or protecting walls
    • E02D29/0208Gabions
    • EFIXED CONSTRUCTIONS
    • E04BUILDING
    • E04FFINISHING WORK ON BUILDINGS, e.g. STAIRS, FLOORS
    • E04F13/00Coverings or linings, e.g. for walls or ceilings
    • E04F13/07Coverings or linings, e.g. for walls or ceilings composed of covering or lining elements; Sub-structures therefor; Fastening means therefor
    • E04F13/08Coverings or linings, e.g. for walls or ceilings composed of covering or lining elements; Sub-structures therefor; Fastening means therefor composed of a plurality of similar covering or lining elements
    • E04F13/0801Separate fastening elements
    • E04F13/0803Separate fastening elements with load-supporting elongated furring elements between wall and covering elements
    • E04F13/081Separate fastening elements with load-supporting elongated furring elements between wall and covering elements with additional fastening elements between furring elements and covering elements
    • E04F13/0816Separate fastening elements with load-supporting elongated furring elements between wall and covering elements with additional fastening elements between furring elements and covering elements the additional fastening elements extending into the back side of the covering elements
    • EFIXED CONSTRUCTIONS
    • E04BUILDING
    • E04FFINISHING WORK ON BUILDINGS, e.g. STAIRS, FLOORS
    • E04F13/00Coverings or linings, e.g. for walls or ceilings
    • E04F13/07Coverings or linings, e.g. for walls or ceilings composed of covering or lining elements; Sub-structures therefor; Fastening means therefor
    • E04F13/08Coverings or linings, e.g. for walls or ceilings composed of covering or lining elements; Sub-structures therefor; Fastening means therefor composed of a plurality of similar covering or lining elements
    • E04F13/12Coverings or linings, e.g. for walls or ceilings composed of covering or lining elements; Sub-structures therefor; Fastening means therefor composed of a plurality of similar covering or lining elements of metal or with an outer layer of metal or enameled metal
    • E04F13/126Coverings or linings, e.g. for walls or ceilings composed of covering or lining elements; Sub-structures therefor; Fastening means therefor composed of a plurality of similar covering or lining elements of metal or with an outer layer of metal or enameled metal with an outer layer of wire mesh, wire grid or the like, e.g. gabions
    • EFIXED CONSTRUCTIONS
    • E04BUILDING
    • E04FFINISHING WORK ON BUILDINGS, e.g. STAIRS, FLOORS
    • E04F13/00Coverings or linings, e.g. for walls or ceilings
    • E04F13/07Coverings or linings, e.g. for walls or ceilings composed of covering or lining elements; Sub-structures therefor; Fastening means therefor
    • E04F13/08Coverings or linings, e.g. for walls or ceilings composed of covering or lining elements; Sub-structures therefor; Fastening means therefor composed of a plurality of similar covering or lining elements
    • E04F13/14Coverings or linings, e.g. for walls or ceilings composed of covering or lining elements; Sub-structures therefor; Fastening means therefor composed of a plurality of similar covering or lining elements stone or stone-like materials, e.g. ceramics concrete; of glass or with an outer layer of stone or stone-like materials or glass
    • EFIXED CONSTRUCTIONS
    • E04BUILDING
    • E04BGENERAL BUILDING CONSTRUCTIONS; WALLS, e.g. PARTITIONS; ROOFS; FLOORS; CEILINGS; INSULATION OR OTHER PROTECTION OF BUILDINGS
    • E04B2/00Walls, e.g. partitions, for buildings; Wall construction with regard to insulation; Connections specially adapted to walls
    • E04B2/84Walls made by casting, pouring, or tamping in situ
    • E04B2/86Walls made by casting, pouring, or tamping in situ made in permanent forms
    • E04B2/8658Walls made by casting, pouring, or tamping in situ made in permanent forms using wire netting, a lattice or the like as form leaves
    • EFIXED CONSTRUCTIONS
    • E04BUILDING
    • E04FFINISHING WORK ON BUILDINGS, e.g. STAIRS, FLOORS
    • E04F13/00Coverings or linings, e.g. for walls or ceilings
    • E04F13/07Coverings or linings, e.g. for walls or ceilings composed of covering or lining elements; Sub-structures therefor; Fastening means therefor
    • E04F13/08Coverings or linings, e.g. for walls or ceilings composed of covering or lining elements; Sub-structures therefor; Fastening means therefor composed of a plurality of similar covering or lining elements
    • EFIXED CONSTRUCTIONS
    • E04BUILDING
    • E04FFINISHING WORK ON BUILDINGS, e.g. STAIRS, FLOORS
    • E04F13/00Coverings or linings, e.g. for walls or ceilings
    • E04F13/07Coverings or linings, e.g. for walls or ceilings composed of covering or lining elements; Sub-structures therefor; Fastening means therefor
    • E04F13/08Coverings or linings, e.g. for walls or ceilings composed of covering or lining elements; Sub-structures therefor; Fastening means therefor composed of a plurality of similar covering or lining elements
    • E04F13/0801Separate fastening elements

Definitions

  • the invention relates to a wall, such as building wall, retaining wall. Parapet, steel structure and the like, according to the preamble of claim 1.
  • a well-known wall of this kind ( DE 202 07 327 U1 ) has a stem, which is formed of juxtaposed and stacked wire baskets.
  • the wire baskets are provided with mounting parts that have double T-shape.
  • the fasteners are fixedly connected to the wire baskets via connecting parts and project through mesh openings in the rear wall of the wire baskets in the direction of the wall.
  • the fasteners have a plate-shaped connector, with which the wire baskets are attached to the wall.
  • the connector has through-holes, are plugged through the screws, dowels and the like for attachment to the building wall.
  • the connecting parts are rods which are inserted through openings of the fastening parts.
  • the rod-shaped Connecting parts must be cumbersome inserted through the openings of the fasteners. Then the connecting parts must be secured against pulling out.
  • the fasteners themselves must be fastened with the screws and the like in a complex manner in the building wall. If the wire baskets filled with stones, then there is the problem that the bottom of the baskets due to the heavy weight of the stones is deformed obliquely downwards relative to the front wall. Accordingly, the lid is taken along. As a result, the filled wire basket deforms so that in side view it no longer has a rectangular shape but a parallelogram shape. This requires that the thickness of the wire basket is reduced due to this deformation.
  • the assembly of the stem is thus not only costly and laborious, but also affects the uniform appearance of a multi-wire baskets stem.
  • the invention has the object of providing a wall of this type so that individual elements easily filled even standing on the ground and then simply hung on a wall and can be secured.
  • the load-receiving part can be provided above the floor of the building and connected to the holder. This is provided on the stem so that it does not protrude into the space to be filled of the stem. As a result, the stem can be easily filled with the filler before its installation on a building wall, without the load receiving part can hinder the filling process.
  • the load of the individual elements is absorbed by the wall. The individual elements can be made very narrow.
  • the holder is provided substantially outside the filling space of the stem, so that it takes up little space. Since the holder is designed as a hook, it can be easily attached to the stem and connect to the load receiving part. Since the load-carrying part and the holder are separate components, they can be mounted independently of each other easily on the stem and on the wall.
  • the spacer ensures that the front wall and the rear wall are supported against each other. This prevents the stem from being deformed unduly with the stones filled.
  • the spacer holds the stem in shape, so that it is not deformed under load. In this way it is ensured that the stem can be perfectly mounted on the wall.
  • wire basket 1 is used as a stem for walls, in particular building walls, retaining walls, parapets, skeletal structures or similar walls.
  • Several such wire baskets 1 are next to and / or above each other in front of a wall 2 ( Fig. 14 ) arranged.
  • the cuboid wire baskets 1 are made in a known manner from vertically mounted in a mounted position and horizontally extending bars 3 to 8, which intersect each other and are welded together at the crossing points.
  • the free ends 9 to 14 of the bars are formed loop-shaped in a known manner.
  • the wire baskets 1 consist of a front wall 15, a rear wall 16, side walls 24, 25, a bottom 22 and a lid 17, which are formed from the bars 3, 4 and 5, 6 and 7, 8.
  • the walls and the lid 17 are connected via rod-like connecting parts 18, 19 and 20 (FIG. FIGS. 20, 22, 23 ), which are inserted through the mutually aligned loop-shaped ends 9 to 14, as will be described.
  • the wire baskets 1 are mounted in fastening parts 21, which are fastened to the wall 2.
  • the wire baskets 1 are filled at the construction site with natural or artificial stones or other suitable material. After closing the lid 17, the filled wire baskets 1 are hung in the fastening parts 21.
  • the wire baskets and their fasteners made of stainless steel, galvanized steel, plastic-coated galvanized steel or combinations of these materials.
  • FIG. 3 shows, the front grille 15 in side view L-shape with a lower short leg 22, which is formed by bending the lower end portions 23 of the undeformed front grid 15 and forms the bottom of the wire basket 1.
  • the front grid 15 consists of a plurality of equally spaced adjacent longitudinal bars 3 and perpendicular to these transverse bars 4, which are also the same, but greater distance from each other than the longitudinal bars 3.
  • the end portions 23 are projecting through the lower transverse bar 4 longitudinal bar sections educated.
  • the longitudinal and transverse bars 3, 4 can also have the same distance from each other.
  • the ends of all the rods 3, 4 are formed into the loops 9, 10.
  • the rear wall 16 has U-shape in plan view. Like the front wall 15, it is formed by a flat grid with the longitudinal bars 5 and the transverse bars 6. The distance between the longitudinal and transverse bars 5 and 6 from each other corresponds to that of the longitudinal bars 3 and 4 of the front wall 15.
  • the wall 16 is how Fig. 8 shows, bent at their narrow sides to form the side walls 24 and 25 at right angles. To form the side walls, the end portions are bent from the penultimate vertical rod 5 on both sides. The ends 11, 12 of all the wire rods 5, 6 are formed into loops.
  • the lid 17 according to the FIGS. 11 and 12 of the lattice basket 1 consists for example of a longitudinal bar 7 and a greater distance parallel juxtaposed transverse bars 8.
  • the ends 13, 14 of the wire rods 7, 8 are formed into loops.
  • the various walls and the lid 17 are each made of flat wire mesh. These items can already be pre-assembled at the manufacturer to complete baskets, with only the lid 17 remains open and is closed at the site after filling the wire baskets 1.
  • they are arranged so that the loops 9, 10, 11, 12 are immediately adjacent to each other. Due to the aligned loops 10, 12 of the in Fig. 23 shown corner connector 20 inserted. This consists of a straight rod with a hook-shaped bent end 26.
  • the corner connector 20 is from below in the direction of arrow P in Fig. 2 inserted through the aligned loops 10, 12 and through the lower loop of the side walls 24 and 25 respectively. At both side edges of the front grille 15 such a corner connector 20 is provided.
  • the connecting part 19 (FIG. Fig. 22 ). It consists of a round wire whose ends 29 and 30 are bent in a hook shape. Thereafter, the hook-shaped ends 29, 30 of the connecting part 19 are suspended in the legs 27 of the corner connector 20.
  • spacers 47 are (47 Fig. 2 , 24). They consist of a round rod whose ends 48, 49 are hook-shaped in the mounted position inwardly in the direction of each other. Preferably, the spacers 47 are arranged distributed in the height and width direction of the wire basket 1. They can be hung anywhere in the walls 15, 16. The spacers 47 engage with their ends 48, 49, the bars 3, 4 and 5, 6 at their crossing points.
  • the filled wire basket 1 is hooked with the connecting parts 37 in the attached to the wall 2 fasteners 21. They are the same.
  • the fasteners 21 are hanging rails with a flat, applied to the wall 2 system part 33, the lower longitudinal edge 34 is bent hook-shaped.
  • the plant part 33 has spaced apart, in the longitudinal direction of the plant part 33 extending slots 35 (FIG. Fig. 19 ), through the fasteners, such as screws or the like., Can be plugged. About the slots 35 optimal alignment with the wall 2 can be achieved.
  • In the curved longitudinal edge 34 is at least one, preferably a plurality of spaced openings 36, through which in the suspension rail 21 penetrating water or the like can flow.
  • the spacer and suspension parts 47, 21, 37 may also consist of plastic.
  • the suspension rail 21 can also be designed so that its lower longitudinal edge 34 'is U-shaped ( Fig. 18 ).
  • the investment part 33 ' has the slots 35' and the U-shaped longitudinal edge 34 'at least one drain opening 36'.
  • the lower longitudinal edge of the rail 34 ' may also be V-shaped with a lower drain opening 36' is formed.
  • Fig. 18b shows a rail 34 'with a Z-shaped profile. It has a shorter leg 34 ', which merges via a crosspiece 50 in a longer leg 33', which forms the contact part. This has the openings or elongated holes 35 ', while the drain openings 36' are provided in the transition region from the cross bar 50 in the shorter leg 34 '.
  • the rail 21 'after Fig. 18c consists of the part 33 ', which is designed as a flat rail having in its one half the slots 35'. At the attachment points 35 ', a spacer is used and thus the necessary distance from the wall is set.
  • All suspension parts 21, 21 ' can of course also be designed as a single suspension, in order to be used, for example, in inclined structures at the transition to a slope.
  • the wire baskets 1 instead of the two rails ( Fig. 9 and 10 ) at least two Ein vonmaschine 21, 21 'provided at a distance next to each other.
  • the connecting parts 37 are provided on the rear wall 16 of the wire basket 1.
  • two rows of connecting parts 37 may be provided, each row having at least two spaced adjacent connecting members 37.
  • the connecting part 37 is formed from an approximately S-shaped bent sheet metal. This in Fig. 14 upper curved end 38 is slightly lower than the lower curved end 39.
  • the connecting part 37 is hooked with its end 39 from below into one of the transverse wires 6 of the rear wall 16.
  • connection part 37 is thereby held captive on the wire basket 1.
  • a stabilizing bar 44 is fastened to the web 43 connecting the ends 38 and 39. He lies in the mounted position according to Fig. 14 slightly below the free edge 45 of the end 38 and protrudes on both sides via the connecting part 37. With the projecting rod ends 44a, 44b, the connecting part 37 abuts adjacent longitudinal bars 5 of the rear wall 16, so that a non-tilting position is ensured.
  • the connecting member 37 is located with its web 43 within a mesh opening of the rear wall grid 16.
  • the stabilizing rod 44 is located within the wire basket 1.
  • the upper, curved end 38 projects rearwardly over the rear wall 16. With this end 38, the connecting part 37 in the fastening part 21st hooked. Since the fastening and the connection part 21, 37 are made of flat material, a large-area support is ensured. Since advantageously two connection parts 37 are provided in each row, the wire basket 1 can be hung properly. The load is transmitted to the wall via the fixing parts 21.
  • Fig. 9 and 10 show, for attachment of the wire baskets 1 in each case two spaced one above the other arranged hooking parts 21 are provided.
  • the upper and lower hanging rails 21 are used to load and transfer to the wall 2, the lower rail 21 also serves as a spacer and ensures that the wire basket 1 can not be unintentionally posted or can be lifted by wind suction forces from the wall.
  • Fig. 10 are two successive wire baskets 1 are provided, which are mounted in two suspension rails 21 respectively.
  • the wire baskets 1 can be arranged above and / or next to one another in order to completely or partially cover the walls 2 to the desired extent.
  • the baskets 1 can also be narrow and in special forms according to the FIGS. 25 to 32 be educated.
  • the wire basket 1 after Fig. 25 has in side view the shape of a substantially isosceles trapezium with a flat bottom, a parallel thereto Dekkel and inclined side walls 24, 25th
  • the basket 1 after Fig. 26 has the bottom 22 and perpendicular thereto side walls 24, 25, of which one side wall 24 is several times longer than the side wall 25th
  • the basket 1 according to Fig. 27 largely corresponds to the Fig. 26 , However, the lid 17 is curved partially circular outward.
  • the basket after Fig. 28 corresponds to the Fig. 26 with the difference that the lid 17 between the side walls 24 and 25 is straight and inclined.
  • the basket 1 according to Fig. 29 corresponds to the Fig. 27 ; However, he has a partially circular inward, curved towards the bottom 22 lid 17th
  • Fig. 30 shows a basket 1, which has the shape of a right triangle in side view.
  • the basket 1 has a rectangular shape with partially circular outwardly or inwardly curved rear or front wall 16 or 15.
  • the side walls 24, 25 are inclined accordingly.
  • Fig. 32 shows a basket 1, the nach Fig. 25 is similar. However, the lid 17 is shorter and the side walls 24 and 25 have short side wall portions 24a and 25a perpendicular to the bottom 22.
  • the wire baskets 1 By the described design of the wire baskets 1 and their attachment to a wall 2, it is possible to fill the wire baskets before their attachment to the ground standing with the filler.
  • the wire baskets 1 can then be easily and without difficulty suspended in the suspension rails 21 in the filled state.
  • the wire baskets 1 By appropriate arrangement of the suspension rails 21 on the wall, the wire baskets 1 can be fixed in front of the wall so that they can be arranged one above the other without gaps and next to each other.
  • Fig. 33 shows a further embodiment of a grid formed as a lattice basket 1. From the grid basket according to Fig. 1 This grid basket differs essentially in that the front wall 15 in horizontal section U- and in vertical section L-shape and that the rear wall 16 is formed as a simple planar grid. Furthermore, in the grid basket according to Fig. 33 no lid intended. Moreover, the front and rear walls 15, 16 are formed substantially the same as the after Fig. 1 with side by side crossing longitudinal and transverse bars 3, 4 and 5, 6. The side walls 24 and 25 of the mesh basket 1 are formed by the U-legs and the basket bottom 22 through the L-leg of the formed as a molding front wall 15.
  • the side walls 24, 25 and the bottom 22 are integrally formed with the end face 15 'of the front grille 15.
  • the bottom 22 is formed by bending over the lower parts of the longitudinal bars 3 of the front side 15 '.
  • the free ends 9 of the longitudinal bars 3 are like the ends 9 of the bottom 22 according to Fig. 3 looped or looped bent. Through them and in the mounted position of the rear wall 16 to them adjacent and aligned with these ends 11 of the longitudinal bars 5 of the rear wall, a connecting part 19 is inserted, which according to Fig. 22 corresponds and is mounted as this.
  • the free ends 12 of the transverse wires 4 of the side walls 24, 25 are U-shaped bent ( Fig. 36 ). In these hook ends 12, the rear wall 16 is suspended with its peripheral vertical or longitudinal bars 5 during assembly.
  • the longitudinal bars 3 of the front side 15 terminate flush with the upper horizontal transverse wire 4' at its upper edge. This has the advantage that no sharp edges or protrusions are provided on the front of the mesh basket 1, which could lead to injuries when handling the mesh basket 1.
  • a portion of the vertical wires or rods 3, for example four of these wires, the front wall 15 is bent at the upper end over the upper horizontal cross-wire 4 'at right angles to the rear ( Fig. 34 , 36).
  • the free ends 9 'of these wires 3 are like the ends 12 of the side walls 24, 25 bent in a U-shape. They serve as hooks for the upper horizontal cross-wire 6 of the rear wall 16. Since only part of Vertical wires 3 is bent at the upper end, 1 large filling holes are formed on this narrow side of the mesh basket.
  • spacers 47 On the rear wall 16 are more spacers 47 ( Fig. 40 , 41) fastened with a right-angled bent end 48, preferably welded, so that they protrude perpendicularly over the wall surface ( Fig. 38 , 39). Their other ends 49 are bent in a U-shape. The end 49 is rotated by about 45 ° relative to the end 48 (see. Fig. 40c ). Due to the rigid connection of the spacers 47 with the transverse bars 6 of the rear wall 16, the spacers 47 are immovably secured to the rear wall. In the mounted position, the hook ends 49 are suspended in adjacent transverse bars 4 of the front grid 15. The hook-shaped ends 49 in this case surround the bars 4 at the intersection of their transverse and longitudinal wires 3, 4, which is achieved by the twisted formation of the ends 49.
  • the connecting parts 37, 37 ' ( Fig. 42a to 42c or 43a to 43c) for suspending the mesh baskets 1 into the fastening parts 21 provided on the wall (FIG. FIGS. 44 to 46 ) attached to the rear wall 16, preferably welded.
  • They are formed by a hairpin-shaped or U-shaped bent wire, which has two mutually parallel legs 37a, 37b. They are near their 'free ends 38, 38' and welded to the hooks on transverse wires 6 of the rear wall 16.
  • the arcuately merging ends 39, 39 'of the connecting parts 37, 37' are hook-shaped bent outwards and form the Einitatihaken with which the connector is hooked into the holder 21. It is formed as in the embodiments described above as a rail with slot openings 35 and a curved longitudinal edge 34, in which the connecting part 37, 37 'with its hook end 39, 39' is mounted ( FIGS. 44 to 46 ).
  • the legs 37a, 37b of the connecting parts 37 are relatively long, while the connecting parts 37 '( FIGS. 43a to 43c ) are significantly shorter. Since the longer terminal portions 37 are fixed to two transverse wires 6, they are securely held on the rear wall 16 and can not be torn unintentionally under the load of existing in the mesh basket 1 stones or the like.
  • the short connection parts 37 ' secure the basket 1 in its hung on the wall position, for example, when wind forces act on the basket. Without the fuse on the connecting parts 37 'would the baskets 1 under the wind force away from the wall to the outside and swung up, so that the baskets themselves and their contents would not be properly secured.
  • the mesh basket 1 At the top or filling side of the mesh basket 1 no cross-sectional narrowing grille parts are provided as a result of the described training, so that leaves the mesh basket easy to fill. Since the mesh basket 1 has no lid on the filling side, and is thus open at the top, it can be completely filled up to the upper rim of the basket. The stones can even project beyond the upper edge of the basket 1, without affecting the placement of the next mesh basket 1 is affected. In this way, a gapless filling of the stem 1 with stones is possible.
  • two upper and two lower connecting parts 37, 37 ' are provided on the rear wall 16 in each case.
  • all connecting parts 37, 37 'at a distance from the side edges, the upper edge and the lower, loop-like hook ends 11 of the longitudinal bars 5 of the rear wall 16 are provided.
  • the free ends 48 are welded there to the corresponding cross bars 6. It can be advantageous, instead of the two upper suspension parts 37, to provide three hooking parts which are preferably provided at the same distance from each other.

Landscapes

  • Engineering & Computer Science (AREA)
  • Architecture (AREA)
  • Structural Engineering (AREA)
  • Civil Engineering (AREA)
  • Mining & Mineral Resources (AREA)
  • Paleontology (AREA)
  • General Life Sciences & Earth Sciences (AREA)
  • General Engineering & Computer Science (AREA)
  • Life Sciences & Earth Sciences (AREA)
  • Environmental & Geological Engineering (AREA)
  • Chemical & Material Sciences (AREA)
  • Ceramic Engineering (AREA)
  • Finishing Walls (AREA)
  • Pit Excavations, Shoring, Fill Or Stabilisation Of Slopes (AREA)
  • Load-Bearing And Curtain Walls (AREA)
  • Fencing (AREA)
  • Panels For Use In Building Construction (AREA)

Description

  • Die Erfindung betrifft eine Wand, wie Gebäudewand, Stützwand. Brüstung, Stahlkonstruktion und dergleichen, nach dem Oberbegriff des Anspruches 1.
  • Es ist bekannt, als Vorbau für Wände mehrere, zum Beispiel mit Natursteinen, Kunststeinen, Glaskörpern und anderem Füllmaterial gefüllte Drahtkörbe über- und nebeneinander anzuordnen. Solche Drahtkörbe sind auf dem Untergrund abgestützt und am Gebäude über Schrauben oder dergleichen gesichert und müssen an der Wand selbst gefüllt werden. Da hierbei die gesamte Last des Vorbaues von diesem selbst getragen werden muss, müssen die Drahtkörbe relativ breit sein. Infolge der bodenseitigen Abstützung können die Drahtkörbe nur dort eingesetzt werden, wo der Vorbau bis zum Untergrund reicht, in den die hohe Last der Körbe eingeleitet wird.
  • Eine bekannte Wand dieser Art ( DE 202 07 327 U1 ) hat einen Vorbau, der aus neben- und übereinander angeordneten Drahtkörben gebildet wird. Zur Verbindung mit der Wand sind die Drahtkörbe mit Befestigungsteilen versehen, die Doppel-T-Form haben. Die Befestigungsteile sind fest mit den Drahtkörben über Verbindungsteile verbunden und ragen durch Maschenöffnungen in der Rückwand der Drahtkörbe in Richtung auf die Wand. Die Befestigungsteile haben einen plattenförmigen Anschlussteil, mit dem die Drahtkörbe an der Wand befestigt werden. Der Anschlussteil hat Durchstecköffnungen, durch die Schrauben, Dübel und dergleichen zur Befestigung an der Gebäudewand gesteckt werden. Die Verbindungsteile sind Stäbe, die durch Öffnungen der Befestigungsteile gesteckt werden. Die Montage des Vorbaus an der Wand ist aufwändig und schwierig. Die stabförmigen Verbindungsteile müssen umständlich durch die Öffnungen der Befestigungsteile gesteckt werden. Anschließend müssen die Verbindungsteile gegen Herausziehen gesichert werden. Die Befestigungsteile selbst müssen mit den Schrauben und dergleichen in aufwändiger Weise in der Gebäudewand befestigt werden. Werden die Drahtkörbe mit Steinen gefüllt, dann besteht das Problem, dass der Boden der Körbe aufgrund des hohen Gewichts der Steine relativ zur Frontwand schräg nach unten verformt wird. Dementsprechend wird auch der Deckel mitgenommen. Dadurch verformt sich der gefüllte Drahtkorb, so dass er in Seitenansicht nicht mehr Rechteckform, sondern Parallelogrammform hat. Dies bedingt, dass die Dicke des Drahtkorbes infolge dieser Verformung verringert wird. Die Montage des Vorbaus ist somit nicht nur aufwändig und mühsam, sondern beeinträchtigt auch das einheitliche Aussehen eines aus mehreren Drahtkörben bestehenden Vorbaus.
  • Es ist ein Drahtkorb bekannt ( US-A-5,860,551 ), der aus einzelnen Drahtgittern gebildet ist. Diese werden durch stabförmige Verbindungselemente miteinander verbunden.
  • Der Erfindung liegt die Aufgabe zugrunde, eine Wand dieser Art so auszubilden, dass Einzelelemente problemlos auch am Boden stehend befüllt und dann einfach an einer Wand aufgehängt und gesichert werden können.
  • Diese Aufgabe wird bei der gattungsgemäßen Wand erfindungsgemäß mit den kennzeichnenden Merkmalen des Anspruches 1 gelöst.
  • Bei der erfindungsgemäßen Wand kann das Lastaufnahmeteil oberhalb des Bodens am Gebäude vorgesehen und mit dem Halter verbunden werden. Dieser ist am Vorbau so vorgesehen, dass er nicht in den zu befüllenden Raum des Vorbaues ragt. Dadurch kann der Vorbau vor seiner Montage an einer Gebäudewand problemlos mit dem Füllmaterial befüllt werden, ohne dass das Lastaufnahmeteil den Befüllvorgang behindern kann. Die Last der Einzelelemente wird von der Wand aufgenommen. Die Einzelelemente können dadurch sehr schmal ausgebildet sein.
  • Der Halter ist im Wesentlichen außerhalb des Befüllraumes des Vorbaues vorgesehen, so dass er nur noch wenig Raum beansprucht. Da der Halter als Haken ausgebildet ist, lässt er sich problemlos am Vorbau befestigen und mit dem Lastaufnahmeteil verbinden. Da das Lastaufnahmeteil und der Halter voneinander getrennte Bauteile sind, können sie unabhängig voneinander einfach am Vorbau sowie an der Wand befestigt werden. Der Distanzhalter stellt sicher, dass die Frontwand und die Vorbaurückwand gegeneinander abgestützt sind. Dadurch wird verhindert, dass der Vorbau mit den eingefüllten Steinen unzulässig verformt wird. Der Distanzhalter hält den Vorbau in Form, so dass er auch unter Last nicht verformt wird. Auf diese Weise ist gewährleistet, dass der Vorbau einwandfrei an der Wand montiert werden kann.
  • Weitere Merkmale der Erfindung ergeben sich aus den weiteren Ansprüchen, der Beschreibung und den Zeichnungen.
  • Die Erfindung wird nachstehend anhand eines in den Zeichnungen dargestellten Ausführungsbeispieles näher beschrieben. Es zeigen
  • Fig. 1
    in schematischer und perspektivischer Darstellung einen erfindungsgemäßen Vorbau,
    Fig. 2
    den Vorbau gemäß Fig. 1 in Ansicht gemäß Pfeil II in Fig. 1,
    Fig. 3
    ein Frontgitter des Vorbaues gemäß Fig. 2 in Seitenansicht und in verkleinerter Darstellung,
    Fig. 4
    das Gitter nach Fig. 3 in Draufsicht,
    Fig. 5
    das Gitter nach Fig. 4 in Ansicht gemäß Pfeil V in Fig. 4,
    Fig. 6
    ein Rückwandgitter des Vorbaues gemäß Fig. 1 bzw. 2 in Draufsicht und in verkleinerter Darstellung,
    Fig. 7 und 8
    das Gitter nach Fig. 6 in Ansicht gemäß Pfeil VII bzw. VIII in Fig. 6,
    Fig. 9 und 10
    in schematischer Darstellung die Befestigung des Vorbaues,
    Fig. 11
    einen Deckel des Vorbaues gemäß Fig. 1 bzw. 2 in Seitenansicht und verkleinerter Darstellung,
    Fig. 12
    eine Ansicht gemäß Pfeil XII in Fig. 11,
    Fig. 13
    in schematischer und verkleinerter Darstellung und in Seitenansicht den Vorbau gemäß Fig. 2,
    Fig. 14
    einen Teil der Rückwand des Vorbaues gemäß Fig. 1 bzw. 2 mit einem Anschlußteil und einem Befestigungsteil in Seitenansicht,
    Fig. 15
    das Anschlußteil nach Fig. 14 in Seitenansicht,
    Fig. 16
    das Anschlußteil nach Fig. 15 in Ansicht gemäß Pfeil XVI,
    Fig. 17
    das Befestigungsteil nach Fig. 14 in Seitenansicht,
    Fig. 18, 18a bis 18c
    jeweils eine weitere Ausführungsform des Befestigungsteiles in einer Ansicht gemäß Fig. 17,
    Fig. 19
    das Befestigungsteil gemäß Fig. 14 in Ansicht gemäß Pfeil XIX in Fig. 17,
    Fig. 20
    ein Verbindungsteil des Vorbaues gemäß Fig. 2 in Seitenansicht,
    Fig. 21
    das Verbindungsteil nach Fig. 20 in Ansicht gemäß Pfeil XXI,
    Fig. 22
    ein weiteres Verbindungsteil des Vorbaues nach Fig. 2 in Seitenansicht,
    Fig. 23
    einen Eckverbinder des Vorbaues gemäß Fig. 2 in Seitenansicht,
    Fig. 24
    ein Distanzteil des Vorbaues gemäß Fig. 2,
    Fig.25 bis 32
    jeweils in schematischer Darstellung weitere Ausführungsformen von erfindungsgemäßen Vorbauten,
    Fig. 33
    eine weitere Ausführungsform eines erfindungsgemäßen Vorbaus in einer Ansicht gemäß Fig. 2,
    Fig. 34
    das Frontgitter des Vorbaus nach Fig. 33 in Stirnansicht gemäß Pfeil XXXIV in Fig. 35,
    Fig. 35
    das Gitter nach Fig. 34 in Seitenansicht gemäß Pfeil XXXV in Fig. 34,
    Fig. 36
    das Gitter nach Fig. 34 in Draufsicht gemäß Pfeil XXXVI in Fig. 34,
    Fig. 37
    ein Rückwandgitter des Vorbaus nach Fig. 33 in Stirnansicht und in verkleinerter Darstellung,
    Fig. 38
    das Rückwandgitter nach Fig. 37 in Ansicht gemäß Pfeil XXXVIII in Fig. 37,
    Fig. 39
    das Gitter nach Fig. 37 in Draufsicht gemäß Pfeil XXXIX in Fig. 37,
    Fig. 40a
    ein Distanzteil des Vorbaues nach Fig. 33 in Seitenansicht,
    Fig. 40b und 40c
    das Distanzteil nach Fig. 40a in Draufsicht bzw. in Unteransicht,
    Fig. 41
    das Distanzteil nach Fig. 40a in Ansicht gemäß Pfeil XLI in Fig. 40a
    Fig. 42a
    ein Anschlußteil des Vorbaus nach Fig. 33 in Vorderansicht,
    Fig. 42b und 42c
    das Anschlußteil nach Fig. 41 a in Seiten- bzw. Rückansicht
    Fig. 43a und 43c
    eine weitere Ausführungsform eines Anschlußteiles in Darstellungen entsprechend den Fig. 42a bis 42c,
    Fig. 44
    das Anschlußteil gemäß den Fig. 42a bis 42c, das in ein Befestigungsteil eingehängt ist, in Seitenansicht,
    Fig. 45
    das Befestigungsteil nach Fig. 43 in Seitenansicht,
    Fig. 46
    das Befestigungsteil nach Fig. 44 in Ansicht gemäß Pfeil XLVI,
    Fig. 47
    in schematischer Darstellung die Befestigung des Vorbaues gemäß Fig. 33 mit weiteren entsprechenden Vorbauten,
    Fig. 48
    die Einzelheit A in Fig. 47 in Draufsicht.
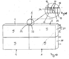
  • Der in den Fig. 1 und 2 dargestellte Drahtkorb 1 wird als Vorbau für Wände, insbesondere Gebäudewände, Stützwände, Brüstungen, Skelettkonstruktionen oder ähnliche Wände verwendet. Mehrere solcher Drahtkörbe 1 werden neben- und/oder übereinander vor einer Wand 2 (Fig. 14) angeordnet.
  • Die quaderförmigen Drahtkörbe 1 sind in bekannter Weise aus in montierter Lage vertikal und horizontal verlaufenden Gitterstäben 3 bis 8 hergestellt, die einander kreuzen und an den Kreuzungspunkten miteinander verschweißt sind. Die freien Enden 9 bis 14 der Gitterstäbe sind in bekannter Weise schlaufenförmig ausgebildet. Die Drahtkörbe 1 bestehen aus einer Frontwand 15, einer Rückwand 16, Seitenwänden 24, 25, einem Boden 22 sowie einem Deckel 17, die aus den Gitterstäben 3, 4 bzw. 5, 6 und 7, 8 gebildet sind. Die Wände sowie der Deckel 17 sind über stabartige Verbindungsteile 18, 19 und 20 (Fig. 20, 22, 23) miteinander verbunden, die durch die miteinander fluchtenden schlaufenförmigen Enden 9 bis 14 gesteckt werden, wie noch beschrieben wird.
  • In montierter Lage gemäß Fig. 9 und 10 sind die Drahtkörbe 1 in Befestigungsteile 21 eingehängt, die an der Wand 2 befestigt werden. Die Drahtkörbe 1 werden auf der Baustelle mit Natur- oder Kunststeinen oder einem anderen geeigneten Material gefüllt. Nach Schließen des Deckels 17 werden die gefüllten Drahtkörbe 1 in die Befestigungsteile 21 eingehängt. Vorteilhaft bestehen die Drahtkörbe und ihre Befestigungsteile aus Edelstahl, verzinktem Stahl, kunststoffbeschichtetem verzinktem Stahl oder auch Kombinationen dieser Werkstoffmaterialien.
  • Wie Fig. 3 zeigt, hat das Frontgitter 15 in Seitenansicht L-Form mit einem unteren kurzen Schenkel 22, der durch Umbiegen der unteren Endabschnitte 23 des unverformten Frontgitters 15 gebildet ist und den Boden des Drahtkorbes 1 bildet. Das Frontgitter 15 besteht aus einer Vielzahl von mit gleichem Abstand nebeneinander liegenden Längsstäben 3 und senkrecht zu diesen verlaufenden Querstäben 4, die ebenfalls gleichen, jedoch größeren Abstand voneinander haben als die Längsstäbe 3. Die Endabschnitte 23 sind durch die über den unteren Querstab 4 ragenden Längsstababschnitte gebildet. Die Längs- und Querstäbe 3, 4 können untereinander auch gleichen Abstand voneinander haben. Die Enden sämtlicher Stäbe 3, 4 sind zu den Schlaufen 9, 10 geformt.
  • Die Rückwand 16 gemäß den Fig. 6 bis 8 hat in Draufsicht U-Form. Sie ist wie die Frontwand 15 durch ein ebenes Gitter mit den Längsstäben 5 und den Querstäben 6 gebildet. Der Abstand der Längs- und Querstäbe 5 bzw. 6 voneinander entspricht dem der Längsstäbe 3 und 4 der Frontwand 15. Die Wand 16 ist, wie Fig. 8 zeigt, an ihren Schmalseiten zur Bildung der Seitenwände 24 und 25 rechtwinklig umgebogen. Zur Bildung der Seitenwände sind die Endabschnitte ab dem vorletzten Vertikalstab 5 an beiden Seiten abgebogen. Die Enden 11, 12 sämtlicher Drahtstäbe 5, 6 sind zu Schlaufen geformt.
  • Der Deckel 17 gemäß den Fig. 11 und 12 des Gitterkorbes 1 besteht beispielhaft aus einem Längsstab 7 und mit größerem Abstand parallel nebeneinander angeordneten Querstäben 8. Die Enden 13, 14 der Drahtstäbe 7, 8 sind zu Schlaufen geformt.
  • Die verschiedenen Wände und der Deckel 17 werden jeweils aus ebenen Drahtgittern hergestellt. Diese Einzelteile können bereits beim Hersteller zu kompletten Körben vormontiert werden, wobei nur der Deckel 17 offen bleibt und auf der Baustelle nach dem Befüllen der Drahtkörbe 1 verschlossen wird. Um die Frontwand 15 mit der Rückwand 16 zu verbinden, werden diese so angeordnet, daß die Schlaufen 9, 10, 11, 12 unmittelbar benachbart zueinander liegen. Durch die miteinander fluchtenden Schlaufen 10, 12 wird der in Fig. 23 dargestellte Eckverbinder 20 gesteckt. Dieser besteht aus einem geraden Rundstab mit einem hakenförmig umgebogenen Ende 26. Der Eckverbinder 20 wird von unten in Richtung des Pfeiles P in Fig. 2 durch die miteinander fluchtenden Schlaufen 10, 12 und durch die untere Schlaufe der Seitenwände 24 bzw. 25 gesteckt. An beiden Seitenrändern des Frontgitters 15 wird ein solcher Eckverbinder 20 vorgesehen.
  • Durch die Schlaufen 9 und 11 des Frontgitters 15 und der Rückwand 16 wird dann das Verbindungsteil 19 (Fig. 22) gesteckt. Es besteht aus einem Runddraht, dessen Enden 29 und 30 hakenförmig umgebogen sind. Danach werden die hakenförmigen Enden 29, 30 des Verbindungsteiles 19 in die Schenkel 27 der Eckverbinder 20 eingehängt.
  • Zur Befestigung des Deckels 17 am Frontgitter 15 wird der Deckel mit den schlaufenförmigen Enden 14 seiner Querstäbe 8 an die oberen Schlaufen 9 der Längsstäbe 3 des Frontgitters 15 angelegt. Durch diese Schlaufen 9, 14 wird dann ein weiteres Verbindungsteil 18 (Fig. 20 und 21) gesteckt, das als einseitig gewinkelter Rundstab ausgebildet ist. Er wird so weit durch die Schlaufen 9, 14 gesteckt, bis er mit dem abgewinkelten Ende 31 in eine der Seitenwände 24, 25 der Rückwand 16 eingefädelt werden kann. Danach wird das Ende 32 rechtwinklig abgebogen (vgl. Fig. 20). Wie sich aus Fig. 2 ergibt, liegen die Enden 31, 32 in dieser Lage parallel zu den Querstäben 8 des Deckels 17. Das Verbindungsteil 18 dient als Schwenkachse für den Deckel 17. Um ihn in der Schließstellung zu sichern, wird durch die miteinander fluchtenden Schlaufen 14 der Querstäbe 8 des Dekkels 17 und den Schlaufen 9 am oberen Rand der Rückwand 16 ein weiteres Verbindungsteil 19 nach dem Befüllen gesteckt.
  • Um zu verhindern, daß sich die Front- und die Rückwand 15, 16 beim Befüllen des Drahtkorbes 1 nach außen wölben, sind Distanzhalter 47 (Fig. 2, 24) vorgesehen. Sie bestehen aus einem Rundstab, dessen Enden 48, 49 in montierter Lage hakenförmig nach innen in Richtung zueinander gebogen sind. Vorzugsweise sind die Distanzhalter 47 in Höhen- und Breitenrichtung des Drahtkorbes 1 verteilt angeordnet. Sie können an beliebiger Stelle in die Wände 15, 16 eingehängt werden. Die Distanzhalter 47 umgreifen mit ihren Enden 48, 49 die Gitterstäbe 3, 4 und 5, 6 an ihren Kreuzungspunkten.
  • Der befüllte Drahtkorb 1 wird mit den Anschlußteilen 37 in die an der Wand 2 befestigten Befestigungsteile 21 eingehängt. Sie sind gleich ausgebildet. Die Befestigungsteile 21 sind Einhängeschienen mit einem ebenen, an der Wand 2 anliegenden Anlageteil 33, dessen unterer Längsrand 34 hakenförmig gebogen ist. Der Anlageteil 33 hat mit Abstand voneinander liegende, in Längsrichtung des Anlageteiles 33 sich erstreckende Langlöcher 35 (Fig. 19), durch die Befestigungsteile, wie Schrauben oder dgl., gesteckt werden können. Über die Langlöcher 35 kann eine optimale Ausrichtung gegenüber der Wand 2 erreicht werden. Im gebogenen Längsrand 34 befindet sich mindestens eine, vorzugsweise mehrere mit Abstand voneinander liegende Öffnungen 36, durch die in die Einhängeschiene 21 eindringendes Wasser oder dgl. abfließen kann.
  • Die Distanz- und Aufhängeteile 47, 21, 37 können auch aus Kunststoff bestehen.
  • Die Einhängeschiene 21 kann auch so ausgebildet sein, daß ihr unterer Längsrand 34' U-förmig ausgebildet ist (Fig. 18). Der Anlageteil 33' hat die Langlöcher 35' und der U-förmige Längsrand 34' mindestens eine Ablauföffnung 36'.
  • Wie Fig. 18a zeigt, kann der untere Längsrand der Schiene 34' auch V-förmig mit einer unteren Ablauföffnung 36' ausgebildet sein.
  • Fig. 18b zeigt eine Schiene 34' mit Z-förmigem Profil. Sie hat einen kürzeren Schenkel 34', der über einen Quersteg 50 in einen längeren Schenkel 33' übergeht, der das Anlageteil bildet. Dieses hat die Öffnungen bzw. Langlöcher 35', während die Ablauföffnungen 36' im Übergangsbereich vom Quersteg 50 in den kürzeren Schenkel 34' vorgesehen sind.
  • Die Schiene 21' nach Fig. 18c besteht aus dem Teil 33', das als flache Schiene ausgebildet ist, die in ihrer einen Hälfte die Langlöcher 35' aufweist. An den Befestigungsstellen 35' wird ein Distanzstück eingesetzt und damit wird der notwendige Wandabstand eingestellt.
  • Sämtliche Einhängeteile 21, 21' können selbstverständlich auch als Einzelaufhängung ausgebildet sein, um beispielsweise bei schrägen Bauten am Übergang zu einer Schräge eingesetzt zu werden. In diesem Fall sind für die Drahtkörbe 1 anstelle der beiden Schienen (Fig. 9 und 10) jeweils wenigstens zwei Einhängeteile 21, 21' mit Abstand nebeneinander vorgesehen.
  • Die Anschlußteile 37 (Fig. 15 und 16) sind an der Rückwand 16 des Drahtkorbes 1 vorgesehen. So können zwei Reihen von Anschlußteilen 37 vorgesehen sein, wobei jede Reihe wenigstens zwei mit Abstand nebeneinander liegende Anschlußteile 37 aufweist. Wie die Fig. 14 bis 16 zeigen, ist das Anschlußteil 37 aus einem etwa S-förmig gebogenen Blech gebildet. Das in Fig. 14 obere gekrümmte Ende 38 ist etwas niedriger als das untere gekrümmte Ende 39. Im freien, nach oben ragenden Schenkel 40 des Endes 39 ist eine Durchstecköffnung 40' für ein Sicherungsteil 41, wie eine Schraube (Fig. 14), vorgesehen. Das Anschlußteil 37 wird mit seinem Ende 39 von unten in einen der Querdrähte 6 der Rückwand 16 eingehängt. Anschließend wird das Sicherungsteil 41 so durch die Öffnung 40 eingesetzt, daß es den Querdraht 6 übergreift. Das Anschlußteil 37 ist dadurch unverlierbar am Drahtkorb 1 gehalten. Um das Anschlußteil 37 gegenüber der Rückwand 16 in seiner aufrechten Lage zu halten, ist an dem die Enden 38 und 39 verbindenden Steg 43 ein Stabilisierungsstab 44 befestigt. Er liegt in der montierten Lage gemäß Fig. 14 etwas unterhalb des freien Randes 45 des Endes 38 und ragt beidseitig über das Anschlußteil 37. Mit den überstehenden Stabenden 44a, 44b liegt das Anschlußteil 37 an benachbarten Längsstäben 5 der Rückwand 16 an, so daß eine kippsichere Lage gewährleistet ist. Das Anschlußteil 37 liegt mit seinem Steg 43 innerhalb einer Maschenöffnung des Rückwandgitters 16. Der Stabilisierungsstab 44 liegt innerhalb des Drahtkorbes 1. Das obere, gekrümmte Ende 38 ragt nach hinten über die Rückwand 16. Mit diesem Ende 38 wird das Anschlußteil 37 in das Befestigungsteil 21 eingehängt. Da das Befestigungs- und das Anschlußteil 21, 37 aus Flachmaterial bestehen, wird eine großflächige Abstützung gewährleistet. Da vorteilhaft zwei Anschlußteile 37 in jeder Reihe vorgesehen sind, kann der Drahtkorb 1 einwandfrei aufgehängt werden. Die Last wird über die Befestigungsteile 21 auf die Wand übertragen.
  • Wie die Fig. 9 und 10 zeigen, sind zur Befestigung der Drahtkörbe 1 jeweils zwei mit Abstand übereinander angeordnete Einhängeteile 21 vorgesehen. Die oberen und unteren Einhängeschienen 21 dienen zur Lastaufnahme und -übertragung an die Wand 2, wobei die untere Schiene 21 außerdem als Abstandshalter dient und gewährleistet, daß der Drahtkorb 1 nicht unbeabsichtigt ausgehängt werden oder sich durch Windsogkräfte von der Wand abheben kann.
  • In Fig. 10 sind zwei aufeinander sitzende Drahtkörbe 1 vorgesehen, die jeweils in zwei Einhängeschienen 21 eingehängt sind. Auf diese Weise können die Drahtkörbe 1 über- und/oder nebeneinander angeordnet werden, um die Wände 2 in gewünschtem Maße ganz oder teilweise zu bedecken.
  • Um auch schräge oder gerundete Wände 2 mit dem Vorbau zu versehen, können die Körbe 1 auch schmal und in Sonderformen gemäß den Fig. 25 bis 32 ausgebildet sein. Der Drahtkorb 1 nach Fig. 25 hat in der Seitenansicht die Form eines im wesentlichen gleichschenkligen Trapezes mit einem ebenen Boden, einem dazu parallelen Dekkel und geneigten Seitenwänden 24, 25.
  • Der Korb 1 nach Fig. 26 hat den Boden 22 und senkrecht dazu verlaufende Seitenwände 24, 25, von denen die eine Seitenwand 24 um ein mehrfaches länger ist als die Seitenwand 25.
  • An die Seitenwand 24 schließt ein zum Boden 22 paralleler, relativ kurzer Abschnitt 17a eines Deckels 17 an, der stumpfwinklig in einen längeren Abschnitt 17b übergeht. Dieser liegt stumpfwinklig zur Seitenwand 25.
  • Der Korb 1 gemäß Fig. 27 entspricht weitgehend dem nach Fig. 26. Der Deckel 17 ist jedoch teilkreisförmig nach außen gekrümmt.
  • Auch der Korb nach Fig. 28 entspricht dem nach Fig. 26 mit dem Unterschied, daß der Deckel 17 zwischen den Seitenwänden 24 und 25 gerade und schräg verläuft.
  • Der Korb 1 gemäß Fig. 29 entspricht dem nach Fig. 27; er hat jedoch einen teilkreisförmig nach innen, in Richtung auf den Boden 22 gekrümmten Deckel 17.
  • Fig. 30 zeigt einen Korb 1, der in Seitenansicht die Form eines rechtwinkligen Dreiecks hat.
  • Gemäß Fig. 31 hat der Korb 1 rechteckige Form mit teilkreisförmig nach außen bzw. innen gekrümmter Rück- bzw. Frontwand 16 bzw. 15. Die Seitenwände 24, 25 sind entsprechend geneigt.
  • Fig. 32 zeigt einen Korb 1, der dem nach Fig. 25 ähnlich ist. Jedoch ist der Deckel 17 kürzer und die Seitenwände 24 und 25 haben kurze senkrecht an den Boden 22 anschließende Seitenwandabschnitte 24a und 25a.
  • Selbstverständlich sind auch noch beliebig andere Aüsführungsformen möglich.
  • Durch die beschriebene Ausbildung der Drahtkörbe 1 und deren Befestigung an einer Wand 2 ist es möglich, die Drahtkörbe bereits vor ihrer Befestigung am Boden stehend mit dem Füllmaterial zu befüllen. Die Drahtkörbe 1 können in gefülltem Zustand dann einfach und ohne Schwierigkeiten in die Einhängeschienen 21 eingehängt werden. Durch entsprechende Anordnung der Einhängeschienen 21 an der Wand lassen sich die Drahtkörbe 1 so vor der Wand befestigen, daß sie lückenlos übereinander und nebeneinander angeordnet werden können. Durch entsprechend lange Ausbildung der Einhängeschienen ist es selbstverständlich möglich, daß an die Schienen mehrere Drahtkörbe 1 nebeneinander angeordnet werden können.
  • Fig. 33 zeigt ein weiteres Ausführungsbeispiel eines als Vorbau ausgebildeten Gitterkorbes 1. Vom Gitterkorb gemäß Fig. 1 unterscheidet sich dieser Gitterkorb im wesentlichen dadurch, daß die Frontwand 15 im Horizontalschnitt U- und im Vertikalschnitt L-Form aufweist und daß die Rückwand 16 als einfaches ebenes Gitter ausgebildet ist. Ferner ist bei dem Gitterkorb gemäß Fig. 33 kein Deckel vorgesehen. Im übrigen sind die Front- und Rückwand 15, 16 im wesentlichen gleich ausgebildet wie die nach Fig. 1 mit einander kreuzenden Längs- und Querstäben 3, 4 und 5, 6. Die Seitenwände 24 und 25 des Gitterkorbes 1 sind durch die U-Schenkel und der Korbboden 22 durch den L-Schenkel der als Formteil ausgebildeten Frontwand 15 gebildet. Die Seitenwände 24, 25 und der Boden 22 sind mit der Stirnseite 15' des Frontgitters 15 einstückig ausgebildet. Der Boden 22 ist durch Umbiegen der unteren Teile der Längsstäbe 3 der Frontseite 15' gebildet. Die freien Enden 9 der Längsstäbe 3 sind wie die Enden 9 des Bodens 22 gemäß Fig. 3 schlaufenartig bzw. ösenartig gebogen. Durch sie und die in montierter Lage der Rückwand 16 zu ihnen benachbarten und mit diesen fluchtenden Enden 11 der Längsstäbe 5 der Rückwand wird ein Verbindungsteil 19 gesteckt, das dem gemäß Fig. 22 entspricht und entsprechend wie dieses montiert wird.
  • Die freien Enden 12 der Querdrähte 4 der Seitenwände 24, 25 sind U-förmig umgebogen (Fig. 36). In diesen Hakenenden 12 wird die Rückwand 16 mit ihren randseitigen Vertikal- bzw. Längsstäben 5 bei der Montage eingehängt.
  • Die Längsstäbe 3 der Frontseite 15' schließen an deren oberem Rand bündig mit dem oberen horizontalen Querdraht 4' ab. Dies hat den Vorteil, daß an der Vorderseite des Gitterkorbes 1 keine scharfen Kanten bzw. Überstände vorgesehen sind, die bei der Handhabung des Gitterkorbes 1 zu Verletzungen führen könnten. Ein Teil der Vertikaldrähte bzw. -stäbe 3, beispielsweise vier dieser Drähte, der Frontwand 15 ist am oberen Ende über den oberen horizontalen Querdraht 4' rechtwinklig nach hinten gebogen (Fig. 34, 36). Die freien Enden 9' dieser Drähte 3 sind wie die Enden 12 der Seitenwände 24, 25 U-förmig gebogen. Sie dienen als Einhängehaken für den oberen horizontalen Querdraht 6 der Rückwand 16. Da nur ein Teil der Vertikaldrähte 3 am oberen Ende umgebogen ist, werden an dieser Schmalseite des Gitterkorbes 1 große Befüllöffnungen gebildet.
  • An der Rückwand 16 sind mehre Distanzhalter 47 (Fig. 40, 41) mit einem rechtwinklig abgebogenen Ende 48 befestigt, vorzugsweise verschweißt, so daß sie senkrecht über die Wandfläche ragen (Fig. 38, 39). Ihre anderen Enden 49 sind U-förmig umgebogen. Das Ende 49 ist um etwa 45° gegenüber dem Ende 48 verdreht (vgl. Fig. 40c). Durch die starre Verbindung der Distanzhalter 47 mit den Querstäben 6 der Rückwand 16 sind die Distanzhalter 47 unverrückbar an der Rückwand gesichert. In montierter Lage sind die Hakenenden 49 in benachbarte Querstäbe 4 des Frontgitters 15 eingehängt. Die hakenförmigen Enden 49 umgreifen hierbei die Gitterstäbe 4 an den Kreuzungsstellen ihrer Quer- und Längsdrähte 3, 4, was durch die verdrehte Ausbildung der Enden 49 erreicht wird.
  • Bei der vorliegenden Ausführungsform sind die Anschlußteile 37, 37' (Fig. 42a bis 42c bzw. 43a bis 43c) zum Einhängen der Gitterkörbe 1 in die an der Wand vorgesehenen Befestigungsteile 21 (Fig. 44 bis 46) an der Rückwand 16 befestigt, vorzugsweise verschweißt. Sie sind durch einen haarnadel- bzw. U-förmig gebogenen Draht gebildet, der zwei zueinander parallele Schenkel 37a, 37b hat. Sie sind nahe ihren, freien Enden 38, 38' und nahe den Einhängehaken an Querdrähten 6 der Rückwand 16 verschweißt. Die bogenförmig ineinander übergehenden Enden 39, 39' der Anschlußteile 37, 37' sind hakenförmig nach außen gebogen und bilden den Einhängehaken, mit dem das Anschlußteil in den Halter 21 eingehängt wird. Er ist wie bei den zuvor beschriebenen Ausführungsformen als Schiene mit Langlochöffnungen 35 und einem gebogenen Längsrand 34 ausgebildet, in den das Anschlußteil 37, 37' mit seinem Hakenende 39, 39' eingehängt wird (Fig. 44 bis 46).
  • An der Rückwand 16 sind zwei obere längere Anschlußteile 37 und zwei untere kürzere Anschlußteile 37' befestigt, die nur an einem der Querdrähte 6 der Rückwand 16 befestigt sind.
  • Die Schenkel 37a, 37b der Anschlußteile 37 (Fig. 42a bis 42c) sind relativ lang, während die Anschlußteile 37' (Fig. 43a bis 43c) wesentlich kürzer sind. Da die längeren Anschlußteile 37 an zwei Querdrähten 6 befestigt sind, sind sie sicher an der Rückwand 16 gehalten und können nicht unbeabsichtigt unter der Last der im Gitterkorb 1 vorhandenen Steine oder dergleichen abgerissen werden. Die kurzen Anschlußteile 37' sichern den Korb 1 in seiner an der Wand eingehängten Lage, wenn beispielsweise Windkräfte auf den Korb wirken. Ohne die Sicherung über die Anschlußteile 37' würden die Gitterkörbe 1 unter der Windkraft von der Wand weg nach aüßen und oben geschwenkt, so daß die Körbe selbst und auch ihr Inhalt nicht mehr einwandfrei gesichert wären.
  • An der Ober- bzw. Befüllseite des Gitterkorbes 1 sind infolge der beschriebenen Ausbildung keine den Querschnitt verengenden Gitterteile vorgesehen, so daß sich der Gitterkorb einfach befüllen läßt. Da der Gitterkorb 1 an der Befüllseite keinen Deckel aufweist, und dadurch nach oben offen ist, läßt er sich bis an den oberen Korbrand vollständig befüllen. Die Steine können sogar über den oberen Rand des Korbes 1 vorstehen, ohne daß dadurch das Aufsetzen des nächsten Gitterkorbes 1 beeinträchtigt wird. Auf diese Weise ist eine lükkenlose Befüllung des Vorbaues 1 mit Steinen möglich.
  • Beim Gitterkorb gemäß den Fig. 33 bis 39 sind die schmalen Seitenwände 24, 25 der Frontwand 15 vorteilhaft leicht nach innen in Richtung zueinander geneigt (Fig. 48). Durch diese konvergierende Anordnung der Seitenwände 24, 25 nimmt die Länge des Gitterkorbes 1 von der Stirnseite 15 zur Rückseite 16 hin ab. Dadurch können mehrere Gitterkörbe 1 praktisch ohne Lücke aneinander gesetzt werden (Fig. 47).
  • Da die Frontseite 15, die Seitenwände 24, 25 und der Boden 22 einstückig miteinander ausgebildet sind, ergibt sich eine sehr hohe Steifigkeit des Frontgitters 15.
  • Im Ausführungsbeispiel sind an der Rückwand 16 jeweils zwei obere und zwei untere Anschlußteile 37, 37' vorgesehen. Vorteilhaft sind sämtliche Anschlußteile 37, 37' mit Abstand von den Seitenrändern, dem oberen Rand und den unteren, ösenartigen Hakenenden 11 der Längsstäbe 5 der Rückwand 16 vorgesehen. Die unteren, kürzeren Anschlußteile 37' liegen jeweils in Höhenrichtung fluchtend zu den oberen Anschlußteilen 37. Zwischen die freien Enden 38, 38' der oberen und unteren Anschlußteile 37 und 37' ragen die freien Enden 48 der Distanzhalter 47 . Die freien Enden 48 sind dort an den entsprechenden Querstäben 6 verschweißt. Vorteilhaft kann es sein, anstelle der beiden oberen Einhängeteile 37 drei mit vorzugsweise gleichem Abstand voneinander vorgesehene Einhängeteile vorzusehen. Dadurch wird verhindert, daß der an der Wand bzw. Fassade eingehängte Gitterkorb 1 im Bereich der Seitenwände 24, 25 von der Fassade weggebogen wird. Dies wird dadurch verhindert, daß die beiden äußeren Anschlußteile 37 bzw. 37' genau in diesem kritischen Bereich vorgesehen sind und dort die Wegbiegekräfte in die Einhängeschiene 21 überleiten. Dadurch liegt der Gitterkorb 1 im Bereich der Seitenwände 24, 25 einwandfrei an der Fassade an.

Claims (22)

  1. Wand, wie Gebäudewand, Stützwand, Brüstung, Stahlkonstruktion und dergleichen, mit mindestens einem Lastaufnahmeteil (21; 21') und einem Vorbau, der wenigstens einen einen Befüllraum enthaltenden Drahtkorb (1) für Fassadenmaterial, wie Natursteine, Kunststeine und dergleichen, aufweist, der eine Vorderwand (15), eine Rückwand (16), und einen Boden (22) aufweist, die jeweils Längsstäbe (3; 5) und Querstäbe (4; 6) haben, und mit mindestens einem Halter (37, 37'), der mit dem Lastaufnahmeteil (21; 21') verbunden ist, dadurch gekennzeichnet, dass der Halter (37, 37') an der Rückwand (16) im wesentlichen außerhalb des Befüllraumes des Drahtkorbes (1) vorgesehen und als Haken ausgebildet ist, der an der Rückwand (16) gehalten ist, dass das Lastaufnahmeteil (21; 21') als Schiene ausgebildet ist, und dass zwischen der Rückwand (16) und der gegenüberliegenden Vorderwand (15) mindestens ein, vorzugsweise mehrere in Höhenrichtung des Drahtkorbes (1) mit Abstand hintereinander liegende Distanzhalter (47) vorgesehen sind, der die Vorderwand (15) und die Rückwand (16) gegeneinander abstützt.
  2. Wand nach Anspruch 1,
    dadurch gekennzeichnet, dass der Halter (37, 37') in das Lastaufnahmeteil (21; 21') und/oder die Rückwand (16) des Drahtkorbes (1) eingehängt ist.
  3. Wand nach Anspruch 1 oder 2,
    dadurch gekennzeichnet, dass das Lastaufnahmeteil (21; 21') als Einhängeteil für den Halter (37, 37') ausgebildet ist.
  4. Wand nach einem der Ansprüche 1 bis 3,
    dadurch gekennzeichnet, dass das Lastaufnahmeteil (21; 21') einen kurzen Schenkel (34) aufweist, in dessen Bodenbereich mindestens eine, vorzugsweise mehrere mit Abstand nebeneinander angeordnete Abflussöffnungen (36) vorgesehen sind.
  5. Wand nach einem der Ansprüche 1 bis 4,
    dadurch gekennzeichnet, dass der Halter (37) im Wesentlichen S-Form hat.
  6. Wand nach einem der Ansprüche 1 bis 5,
    dadurch gekennzeichnet, dass der Halter (37, 37') parallel zueinander verlaufende Schenkel (37a, 37b) hat, und dass der Halter mindestens mit seinen freien Schenkelenden (38, 38') an der Rückwand (16) des Drahtkorbes (1) verschweißt ist.
  7. Wand nach einem der Ansprüche 1 bis 5,
    dadurch gekennzeichnet, dass der Halter (37) mit seinem einen Ende (38) in das Lastaufnahmeteil (21; 21') und mit seinem anderen Ende (39) in die Rückwand (16) des Drahtkorbes (1) eingehängt ist.
  8. Wand nach Anspruch 7,
    dadurch gekennzeichnet, dass ein unteres Halterende (39) in montierter Lage des Halters (37) einen nach oben ragenden freien Endabschnitt (40) aufweist, der mindestens eine Durchstecköffnung (40') für ein Sicherungsteil (41), vorzugsweise eine Schraube, aufweist, das einen horizontal liegenden Gitterstab (6) des Drahtkorbes (1) übergreift.
  9. Wand nach einem der Ansprüche 1 bis 8,
    dadurch gekennzeichnet, dass an einem die Enden (38, 39) des Halters (37) verbindenden Längssteg (43) mindestens ein Stabilisierungsteil (44) befestigt, vorzugsweise verschweißt ist, das vorteilhaft als Stab, vorzugsweise als Rundstab, ausgebildet ist.
  10. Wand nach Anspruch 9,
    dadurch gekennzeichnet, dass das Stabilisierungsteil (44) über beide Seiten des Halters (37) vorsteht und an der Rückwand (16) des Drahtkorbes (1) abgestützt ist.
  11. Wand nach einem der Ansprüche 1 bis 10,
    dadurch gekennzeichnet, dass die Rückwand (16) des Drahtkorbes (1) U-Form zwei Schenkel (24, 25) hat, die die Seitenwände des Drahtkorbes (1) bilden und mit der Vorderwand (15) des Drahtkorbes (1) verbunden sind.
  12. Wand nach Anspruch 11,
    dadurch gekennzeichnet, dass die Vorderwand (15) L-Form mit zwei unterschiedlich langen Schenkeln hat, und dass der kurze Schenkel (22) der Vorderwand (15) den Boden des Drahtkorbes (1) bildet und mit der Rückwand (16) im Bereich zwischen deren Schenkeln (24, 25) verbunden ist.
  13. Wand nach einem der Ansprüche 1 bis 10,
    dadurch gekennzeichnet, dass die Rückwand (16) des Drahtkorbes (1) als ebenes Gitter und die Vorderwand (15) als im Horizontalschnitt U-förmiges und/oder als im Vertikalschnitt L-förmiges Formteil ausgebildet ist.
  14. Wand nach Anspruch 13,
    dadurch gekennzeichnet, dass die im Horizontalschnitt U-förmige Vorderwand (15) Schenkel (24, 25) hat, die in Richtung zueinander geneigt sind.
  15. Wand nach Anspruch 13 oder 14,
    dadurch gekennzeichnet, dass ein Schenkel der L-förmigen Vorderwand (15) den Boden (22) des Drahtkorbes (1) bildet, der durch etwa rechtwinklig abgebogene Längsstäbe (3) der Vorderwand (15) gebildet ist.
  16. Wand nach einem der Ansprüche 1 bis 15,
    dadurch gekennzeichnet, dass mindestens ein Teil der Enden (9 bis 14) der Drähte der Vorderwand (15) und der Rückwand (16) und/oder des Deckels (17) des Drahtkorbes (1) ösen- oder schlaufenförmig ausgebildet sind.
  17. Wand nach Anspruch 16,
    dadurch gekennzeichnet, dass durch die miteinander zu verbindenden Drahtenden (9 bis 14) Verbindungsteile (18 bis 20) gesteckt sind, die vorteilhaft durch Stäbe, vorzugsweise Rundstäbe, gebildet sind.
  18. Wand nach einem der Ansprüche 1 bis 17,
    dadurch gekennzeichnet, dass die Rückwand (16) des Drahtkorbes (1) randseitige Längsstäbe (5) aufweist, an denen die Distanzhalter (47) verschweißt sind.
  19. Wand nach einem der Ansprüche 1 bis 18,
    dadurch gekennzeichnet, dass die Distanzhalter (47) freie Enden (48) aufweisen, mit denen sie an der Rückwand (16) des Drahtkorbes (1) befestigt sind.
  20. Wand nach einem der Ansprüche 14 bis 17,
    dadurch gekennzeichnet, dass der Distanzhalter (47) mit Abstand von den Seitenwänden (24, 25) des Drahtkorbes (1) an mittleren Querstäben (6) der Vorderwand (15) und/oder der Rückwand (16) des Drahtkorbes (1) angeordnet ist.
  21. Wand nach einem der Ansprüche 1 bis 20,
    dadurch gekennzeichnet, dass der Distanzhalter (47) durch einen Stab mit mindestens einem in montierter Lage hakenförmig gebogenen Ende (48, 49) gebildet ist.
  22. Wand nach einem der Ansprüche 1 bis 21,
    dadurch gekennzeichnet, dass der Distanzhalter (47) mit seinen Enden in Längsstäbe (3; 5) und/oder Querstäbe (4; 6) der Vorderwand (15) und/oder der Rückwand (16) des Drahtkorbes (1) eingehängt ist.
EP03027002A 2002-11-23 2003-11-22 Vorbau für Wände Expired - Lifetime EP1426521B1 (de)

Applications Claiming Priority (2)

Application Number Priority Date Filing Date Title
DE20218181U 2002-11-23
DE20218181U DE20218181U1 (de) 2002-11-23 2002-11-23 Vorbau für Wände, wie Gebäudewände, Stützwände, Brüstungen, Stahlkonstruktionen und dgl.

Publications (3)

Publication Number Publication Date
EP1426521A2 EP1426521A2 (de) 2004-06-09
EP1426521A3 EP1426521A3 (de) 2006-03-15
EP1426521B1 true EP1426521B1 (de) 2012-03-14

Family

ID=7977280

Family Applications (1)

Application Number Title Priority Date Filing Date
EP03027002A Expired - Lifetime EP1426521B1 (de) 2002-11-23 2003-11-22 Vorbau für Wände

Country Status (4)

Country Link
EP (1) EP1426521B1 (de)
AT (1) ATE549470T1 (de)
DE (1) DE20218181U1 (de)
ES (1) ES2384043T3 (de)

Families Citing this family (12)

* Cited by examiner, † Cited by third party
Publication number Priority date Publication date Assignee Title
DE202005010395U1 (de) 2005-07-01 2005-09-08 Rothfuss, Thomas Aufhängevorrichtung für eine Fassadenverkleidung mit Drahtgitterkörben
DE102006057175A1 (de) 2006-12-02 2007-12-06 Stones & More Gmbh & Co. Kg Wandverkleidung
DE202008012263U1 (de) 2008-09-16 2008-11-27 Lehrhuber, Konrad Wandverkleidung mit Füllmaterial
EP2163706A2 (de) 2008-09-16 2010-03-17 Konrad Lehrhuber Wandverkleidung mit Füllmaterial
DE202008012264U1 (de) 2008-09-16 2008-11-27 Lehrhuber, Konrad Wandverkleidung mit Füllmaterial und Funktionsschicht
EP2479347A1 (de) * 2009-09-15 2012-07-25 Grupo Leon Lebrero División Geotécnica, S.L. Gabione für alle arten von naturgestein und abfall
EP2390436B1 (de) 2010-05-25 2012-09-19 TRiooo Building Systems GmbH Vorhangfassade mit Dämmung
DE202010007175U1 (de) 2010-05-25 2010-08-26 Triooo Building Systems Gmbh Vorhangfassade mit Dämmung
DE202013011502U1 (de) * 2013-12-30 2014-03-25 Wolfgang Deutschle Fassadenverkleidungsgabione
EP2907763B1 (de) * 2014-02-14 2017-07-05 Axel Friedhoff GmbH & Co. KG Wandverkleidung mit Drahtgitterkörben sowie Drahtgitterkorb
EA035553B1 (ru) * 2015-05-21 2020-07-07 Компромент Холдинг Аф 2007 Апс Направляющая система для установки облицовочных элементов на фасаде
CN110344522B (zh) * 2019-07-25 2021-07-23 李建镇 一次成型墙体的施工方法及一次成型墙体建筑施工方法

Family Cites Families (8)

* Cited by examiner, † Cited by third party
Publication number Priority date Publication date Assignee Title
US3621635A (en) * 1970-03-02 1971-11-23 Cement Enamel Dev Inc Panel wall
NO141225L (de) * 1974-03-25
US3912211A (en) * 1974-06-28 1975-10-14 Jordan Ind Inc Picture hook
DE3110606A1 (de) * 1981-03-18 1982-09-30 Herzog, Thomas, Prof. Dr., 8000 München Vorrichtung zur befestigung einer fassadenplatte
AU1452897A (en) * 1996-01-24 1997-08-20 Glynwed International Plc Improvements in and relating to fasteners
US5860551A (en) 1997-04-07 1999-01-19 Knott, Sr.; James M. Gabion container
NL1019892C2 (nl) * 2001-02-05 2002-09-26 Gelder Pennings Metaal B V Van Vernieuwde schanskorf voor gebruik als wand- of gevelelement.
DE20207327U1 (de) 2002-05-10 2002-08-08 Rothfuss, Thomas, 71735 Eberdingen Vorbau für Fassaden von Gebäuden

Also Published As

Publication number Publication date
EP1426521A2 (de) 2004-06-09
ATE549470T1 (de) 2012-03-15
DE20218181U1 (de) 2003-03-27
EP1426521A3 (de) 2006-03-15
ES2384043T3 (es) 2012-06-28

Similar Documents

Publication Publication Date Title
DE102007045554B3 (de) Stapelbares Flachdach-/Bodengestell für Solarpaneele
DE50104528C5 (de) Steinkorb
EP1426521B1 (de) Vorbau für Wände
DE4208964C2 (de) Steilböschungsbaute
DE3925052C2 (de)
DE202010010148U1 (de) Gerüststütze für eine Gabione
EP0356820B1 (de) Wandhalterung für Fassadenbegrünung
EP2305889B1 (de) Drahtkorb sowie Distanzhalter zur Verwendung bei Drahtkörben
DE2537244A1 (de) Zaun
DE202004003897U1 (de) Zaunpfosten mit Klemmleiste, für Metallgitterzäune
DE1654512A1 (de) Verbindung fuer Konstruktionsteile
DE3920108C1 (de)
DE3822621C2 (de)
EP0821757A1 (de) Zaunpfosten
DE10135909A1 (de) Zaun
EP2324732A1 (de) Lagerregal, insbesondere automatisches Kleinteilelager
EP1739250B1 (de) Aufhängevorrichtung für eine Fassadenverkleidung mit Drahtgitterkörben
EP2312062B1 (de) Gabione
EP3617415B1 (de) Durchstanzbewehrungselement und bauwerk mit einer platte mit einem durchstanzbewehrungselement
EP0158680A1 (de) Befestiger
DE4409538A1 (de) Einrichtung zum Erstellen vorzugsweise begrünbarer Böschungen
DE20218701U1 (de) Gabionenwand
DE10202652A1 (de) Abdeckrost für Entwässerungsrinnen
DE102006041880A1 (de) Steinkorbelement zum Errichten von Stützmauern oder dergleichen
AT237836B (de) Regal mit kombinierbarer Facheinteilung

Legal Events

Date Code Title Description
PUAI Public reference made under article 153(3) epc to a published international application that has entered the european phase

Free format text: ORIGINAL CODE: 0009012

AK Designated contracting states

Kind code of ref document: A2

Designated state(s): AT BE BG CH CY CZ DE DK EE ES FI FR GB GR HU IE IT LI LU MC NL PT RO SE SI SK TR

AX Request for extension of the european patent

Extension state: AL LT LV MK

RTI1 Title (correction)

Free format text: FAEADE FOR WALLS

PUAL Search report despatched

Free format text: ORIGINAL CODE: 0009013

AK Designated contracting states

Kind code of ref document: A3

Designated state(s): AT BE BG CH CY CZ DE DK EE ES FI FR GB GR HU IE IT LI LU MC NL PT RO SE SI SK TR

AX Request for extension of the european patent

Extension state: AL LT LV MK

17P Request for examination filed

Effective date: 20060812

17Q First examination report despatched

Effective date: 20060926

AKX Designation fees paid

Designated state(s): AT BE BG CH CY CZ DE DK EE ES FI FR GB GR HU IE IT LI LU MC NL PT RO SE SI SK TR

GRAP Despatch of communication of intention to grant a patent

Free format text: ORIGINAL CODE: EPIDOSNIGR1

RTI1 Title (correction)

Free format text: FACADE FOR WALLS

GRAS Grant fee paid

Free format text: ORIGINAL CODE: EPIDOSNIGR3

GRAA (expected) grant

Free format text: ORIGINAL CODE: 0009210

AK Designated contracting states

Kind code of ref document: B1

Designated state(s): AT BE BG CH CY CZ DE DK EE ES FI FR GB GR HU IE IT LI LU MC NL PT RO SE SI SK TR

REG Reference to a national code

Ref country code: GB

Ref legal event code: FG4D

Free format text: NOT ENGLISH

REG Reference to a national code

Ref country code: CH

Ref legal event code: EP

Ref country code: AT

Ref legal event code: REF

Ref document number: 549470

Country of ref document: AT

Kind code of ref document: T

Effective date: 20120315

REG Reference to a national code

Ref country code: DE

Ref legal event code: R081

Ref document number: 50314263

Country of ref document: DE

Owner name: AXEL FRIEDHOFF GMBH & CO. KG, DE

Free format text: FORMER OWNER: ROTHFUSS, THOMAS, 71735 EBERDINGEN, DE

REG Reference to a national code

Ref country code: IE

Ref legal event code: FG4D

Free format text: LANGUAGE OF EP DOCUMENT: GERMAN

REG Reference to a national code

Ref country code: DE

Ref legal event code: R096

Ref document number: 50314263

Country of ref document: DE

Effective date: 20120510

REG Reference to a national code

Ref country code: ES

Ref legal event code: FG2A

Ref document number: 2384043

Country of ref document: ES

Kind code of ref document: T3

Effective date: 20120628

REG Reference to a national code

Ref country code: NL

Ref legal event code: VDEP

Effective date: 20120314

PG25 Lapsed in a contracting state [announced via postgrant information from national office to epo]

Ref country code: GR

Free format text: LAPSE BECAUSE OF FAILURE TO SUBMIT A TRANSLATION OF THE DESCRIPTION OR TO PAY THE FEE WITHIN THE PRESCRIBED TIME-LIMIT

Effective date: 20120615

Ref country code: FI

Free format text: LAPSE BECAUSE OF FAILURE TO SUBMIT A TRANSLATION OF THE DESCRIPTION OR TO PAY THE FEE WITHIN THE PRESCRIBED TIME-LIMIT

Effective date: 20120314

PG25 Lapsed in a contracting state [announced via postgrant information from national office to epo]

Ref country code: CY

Free format text: LAPSE BECAUSE OF FAILURE TO SUBMIT A TRANSLATION OF THE DESCRIPTION OR TO PAY THE FEE WITHIN THE PRESCRIBED TIME-LIMIT

Effective date: 20120314

PG25 Lapsed in a contracting state [announced via postgrant information from national office to epo]

Ref country code: SI

Free format text: LAPSE BECAUSE OF FAILURE TO SUBMIT A TRANSLATION OF THE DESCRIPTION OR TO PAY THE FEE WITHIN THE PRESCRIBED TIME-LIMIT

Effective date: 20120314

Ref country code: CZ

Free format text: LAPSE BECAUSE OF FAILURE TO SUBMIT A TRANSLATION OF THE DESCRIPTION OR TO PAY THE FEE WITHIN THE PRESCRIBED TIME-LIMIT

Effective date: 20120314

Ref country code: RO

Free format text: LAPSE BECAUSE OF FAILURE TO SUBMIT A TRANSLATION OF THE DESCRIPTION OR TO PAY THE FEE WITHIN THE PRESCRIBED TIME-LIMIT

Effective date: 20120314

Ref country code: EE

Free format text: LAPSE BECAUSE OF FAILURE TO SUBMIT A TRANSLATION OF THE DESCRIPTION OR TO PAY THE FEE WITHIN THE PRESCRIBED TIME-LIMIT

Effective date: 20120314

Ref country code: SE

Free format text: LAPSE BECAUSE OF FAILURE TO SUBMIT A TRANSLATION OF THE DESCRIPTION OR TO PAY THE FEE WITHIN THE PRESCRIBED TIME-LIMIT

Effective date: 20120314

PG25 Lapsed in a contracting state [announced via postgrant information from national office to epo]

Ref country code: PT

Free format text: LAPSE BECAUSE OF FAILURE TO SUBMIT A TRANSLATION OF THE DESCRIPTION OR TO PAY THE FEE WITHIN THE PRESCRIBED TIME-LIMIT

Effective date: 20120716

Ref country code: SK

Free format text: LAPSE BECAUSE OF FAILURE TO SUBMIT A TRANSLATION OF THE DESCRIPTION OR TO PAY THE FEE WITHIN THE PRESCRIBED TIME-LIMIT

Effective date: 20120314

PLBE No opposition filed within time limit

Free format text: ORIGINAL CODE: 0009261

STAA Information on the status of an ep patent application or granted ep patent

Free format text: STATUS: NO OPPOSITION FILED WITHIN TIME LIMIT

PG25 Lapsed in a contracting state [announced via postgrant information from national office to epo]

Ref country code: DK

Free format text: LAPSE BECAUSE OF FAILURE TO SUBMIT A TRANSLATION OF THE DESCRIPTION OR TO PAY THE FEE WITHIN THE PRESCRIBED TIME-LIMIT

Effective date: 20120314

Ref country code: NL

Free format text: LAPSE BECAUSE OF FAILURE TO SUBMIT A TRANSLATION OF THE DESCRIPTION OR TO PAY THE FEE WITHIN THE PRESCRIBED TIME-LIMIT

Effective date: 20120314

26N No opposition filed

Effective date: 20121217

REG Reference to a national code

Ref country code: DE

Ref legal event code: R097

Ref document number: 50314263

Country of ref document: DE

Effective date: 20121217

BERE Be: lapsed

Owner name: ROTHFUSS, THOMAS, DIPL.-ING.

Effective date: 20121130

REG Reference to a national code

Ref country code: CH

Ref legal event code: PL

GBPC Gb: european patent ceased through non-payment of renewal fee

Effective date: 20121122

PG25 Lapsed in a contracting state [announced via postgrant information from national office to epo]

Ref country code: LI

Free format text: LAPSE BECAUSE OF NON-PAYMENT OF DUE FEES

Effective date: 20121130

Ref country code: BG

Free format text: LAPSE BECAUSE OF FAILURE TO SUBMIT A TRANSLATION OF THE DESCRIPTION OR TO PAY THE FEE WITHIN THE PRESCRIBED TIME-LIMIT

Effective date: 20120614

Ref country code: CH

Free format text: LAPSE BECAUSE OF NON-PAYMENT OF DUE FEES

Effective date: 20121130

REG Reference to a national code

Ref country code: IE

Ref legal event code: MM4A

REG Reference to a national code

Ref country code: FR

Ref legal event code: ST

Effective date: 20130731

PG25 Lapsed in a contracting state [announced via postgrant information from national office to epo]

Ref country code: BE

Free format text: LAPSE BECAUSE OF NON-PAYMENT OF DUE FEES

Effective date: 20121130

PG25 Lapsed in a contracting state [announced via postgrant information from national office to epo]

Ref country code: IE

Free format text: LAPSE BECAUSE OF NON-PAYMENT OF DUE FEES

Effective date: 20121122

PG25 Lapsed in a contracting state [announced via postgrant information from national office to epo]

Ref country code: FR

Free format text: LAPSE BECAUSE OF NON-PAYMENT OF DUE FEES

Effective date: 20121130

Ref country code: GB

Free format text: LAPSE BECAUSE OF NON-PAYMENT OF DUE FEES

Effective date: 20121122

REG Reference to a national code

Ref country code: AT

Ref legal event code: MM01

Ref document number: 549470

Country of ref document: AT

Kind code of ref document: T

Effective date: 20121130

PG25 Lapsed in a contracting state [announced via postgrant information from national office to epo]

Ref country code: AT

Free format text: LAPSE BECAUSE OF NON-PAYMENT OF DUE FEES

Effective date: 20121130

PGFP Annual fee paid to national office [announced via postgrant information from national office to epo]

Ref country code: IT

Payment date: 20131022

Year of fee payment: 11

Ref country code: ES

Payment date: 20131105

Year of fee payment: 11

PG25 Lapsed in a contracting state [announced via postgrant information from national office to epo]

Ref country code: MC

Free format text: LAPSE BECAUSE OF NON-PAYMENT OF DUE FEES

Effective date: 20121130

Ref country code: TR

Free format text: LAPSE BECAUSE OF FAILURE TO SUBMIT A TRANSLATION OF THE DESCRIPTION OR TO PAY THE FEE WITHIN THE PRESCRIBED TIME-LIMIT

Effective date: 20120314

PG25 Lapsed in a contracting state [announced via postgrant information from national office to epo]

Ref country code: LU

Free format text: LAPSE BECAUSE OF NON-PAYMENT OF DUE FEES

Effective date: 20121122

PG25 Lapsed in a contracting state [announced via postgrant information from national office to epo]

Ref country code: HU

Free format text: LAPSE BECAUSE OF FAILURE TO SUBMIT A TRANSLATION OF THE DESCRIPTION OR TO PAY THE FEE WITHIN THE PRESCRIBED TIME-LIMIT

Effective date: 20031122

PG25 Lapsed in a contracting state [announced via postgrant information from national office to epo]

Ref country code: IT

Free format text: LAPSE BECAUSE OF NON-PAYMENT OF DUE FEES

Effective date: 20141122

REG Reference to a national code

Ref country code: DE

Ref legal event code: R082

Ref document number: 50314263

Country of ref document: DE

Representative=s name: JACKISCH-KOHL UND KOHL, DE

Ref country code: DE

Ref legal event code: R081

Ref document number: 50314263

Country of ref document: DE

Owner name: AXEL FRIEDHOFF GMBH & CO. KG, DE

Free format text: FORMER OWNER: ROTHFUSS, THOMAS, 71735 EBERDINGEN, DE

PG25 Lapsed in a contracting state [announced via postgrant information from national office to epo]

Ref country code: ES

Free format text: LAPSE BECAUSE OF NON-PAYMENT OF DUE FEES

Effective date: 20141123

PGFP Annual fee paid to national office [announced via postgrant information from national office to epo]

Ref country code: DE

Payment date: 20230126

Year of fee payment: 20

REG Reference to a national code

Ref country code: DE

Ref legal event code: R071

Ref document number: 50314263

Country of ref document: DE