EP1312743A2 - Sperr- und Sicherungsvorrichtung für einen Hebe- und Schiebeflügel; Treibstangenbeschlag mit einer solchen Vorrichtung; Hebe- und Schiebetür bzw. -fenster mit einer solchen Vorrichtung - Google Patents

Sperr- und Sicherungsvorrichtung für einen Hebe- und Schiebeflügel; Treibstangenbeschlag mit einer solchen Vorrichtung; Hebe- und Schiebetür bzw. -fenster mit einer solchen Vorrichtung Download PDF

Info

Publication number
EP1312743A2
EP1312743A2 EP02024868A EP02024868A EP1312743A2 EP 1312743 A2 EP1312743 A2 EP 1312743A2 EP 02024868 A EP02024868 A EP 02024868A EP 02024868 A EP02024868 A EP 02024868A EP 1312743 A2 EP1312743 A2 EP 1312743A2
Authority
EP
European Patent Office
Prior art keywords
locking
lifting
securing device
drive rod
locking member
Prior art date
Legal status (The legal status is an assumption and is not a legal conclusion. Google has not performed a legal analysis and makes no representation as to the accuracy of the status listed.)
Granted
Application number
EP02024868A
Other languages
English (en)
French (fr)
Other versions
EP1312743A3 (de
EP1312743B1 (de
Inventor
Daniel Dipl.-Ing. Gründler
Frank Beisswenger
Udo Dieners
Current Assignee (The listed assignees may be inaccurate. Google has not performed a legal analysis and makes no representation or warranty as to the accuracy of the list.)
Gretsch Unitas GmbH
Gretsch Unitas GmbH Baubeschlaege
Original Assignee
Gretsch Unitas GmbH
Gretsch Unitas GmbH Baubeschlaege
Priority date (The priority date is an assumption and is not a legal conclusion. Google has not performed a legal analysis and makes no representation as to the accuracy of the date listed.)
Filing date
Publication date
Application filed by Gretsch Unitas GmbH, Gretsch Unitas GmbH Baubeschlaege filed Critical Gretsch Unitas GmbH
Publication of EP1312743A2 publication Critical patent/EP1312743A2/de
Publication of EP1312743A3 publication Critical patent/EP1312743A3/de
Application granted granted Critical
Publication of EP1312743B1 publication Critical patent/EP1312743B1/de
Anticipated expiration legal-status Critical
Expired - Lifetime legal-status Critical Current

Links

Images

Classifications

    • EFIXED CONSTRUCTIONS
    • E05LOCKS; KEYS; WINDOW OR DOOR FITTINGS; SAFES
    • E05BLOCKS; ACCESSORIES THEREFOR; HANDCUFFS
    • E05B65/00Locks or fastenings for special use
    • E05B65/08Locks or fastenings for special use for sliding wings
    • E05B65/0811Locks or fastenings for special use for sliding wings the bolts pivoting about an axis perpendicular to the wings
    • E05B65/0823Locks or fastenings for special use for sliding wings the bolts pivoting about an axis perpendicular to the wings cooperating with the slide guide, e.g. the rail
    • EFIXED CONSTRUCTIONS
    • E05LOCKS; KEYS; WINDOW OR DOOR FITTINGS; SAFES
    • E05DHINGES OR SUSPENSION DEVICES FOR DOORS, WINDOWS OR WINGS
    • E05D15/00Suspension arrangements for wings
    • E05D15/56Suspension arrangements for wings with successive different movements
    • E05D15/565Suspension arrangements for wings with successive different movements for raising wings before sliding
    • EFIXED CONSTRUCTIONS
    • E05LOCKS; KEYS; WINDOW OR DOOR FITTINGS; SAFES
    • E05YINDEXING SCHEME ASSOCIATED WITH SUBCLASSES E05D AND E05F, RELATING TO CONSTRUCTION ELEMENTS, ELECTRIC CONTROL, POWER SUPPLY, POWER SIGNAL OR TRANSMISSION, USER INTERFACES, MOUNTING OR COUPLING, DETAILS, ACCESSORIES, AUXILIARY OPERATIONS NOT OTHERWISE PROVIDED FOR, APPLICATION THEREOF
    • E05Y2201/00Constructional elements; Accessories therefor
    • E05Y2201/60Suspension or transmission members; Accessories therefor
    • E05Y2201/606Accessories therefor
    • E05Y2201/61Cooperation between suspension or transmission members
    • E05Y2201/612Cooperation between suspension or transmission members between carriers and rails
    • E05Y2201/614Anti-derailing means
    • EFIXED CONSTRUCTIONS
    • E05LOCKS; KEYS; WINDOW OR DOOR FITTINGS; SAFES
    • E05YINDEXING SCHEME ASSOCIATED WITH SUBCLASSES E05D AND E05F, RELATING TO CONSTRUCTION ELEMENTS, ELECTRIC CONTROL, POWER SUPPLY, POWER SIGNAL OR TRANSMISSION, USER INTERFACES, MOUNTING OR COUPLING, DETAILS, ACCESSORIES, AUXILIARY OPERATIONS NOT OTHERWISE PROVIDED FOR, APPLICATION THEREOF
    • E05Y2800/00Details, accessories and auxiliary operations not otherwise provided for
    • E05Y2800/40Physical or chemical protection
    • E05Y2800/424Physical or chemical protection against unintended use, e.g. protection against vandalism or sabotage
    • E05Y2800/426Physical or chemical protection against unintended use, e.g. protection against vandalism or sabotage against unauthorised use, e.g. keys
    • EFIXED CONSTRUCTIONS
    • E05LOCKS; KEYS; WINDOW OR DOOR FITTINGS; SAFES
    • E05YINDEXING SCHEME ASSOCIATED WITH SUBCLASSES E05D AND E05F, RELATING TO CONSTRUCTION ELEMENTS, ELECTRIC CONTROL, POWER SUPPLY, POWER SIGNAL OR TRANSMISSION, USER INTERFACES, MOUNTING OR COUPLING, DETAILS, ACCESSORIES, AUXILIARY OPERATIONS NOT OTHERWISE PROVIDED FOR, APPLICATION THEREOF
    • E05Y2900/00Application of doors, windows, wings or fittings thereof
    • E05Y2900/10Application of doors, windows, wings or fittings thereof for buildings or parts thereof
    • E05Y2900/13Type of wing
    • E05Y2900/132Doors
    • EFIXED CONSTRUCTIONS
    • E05LOCKS; KEYS; WINDOW OR DOOR FITTINGS; SAFES
    • E05YINDEXING SCHEME ASSOCIATED WITH SUBCLASSES E05D AND E05F, RELATING TO CONSTRUCTION ELEMENTS, ELECTRIC CONTROL, POWER SUPPLY, POWER SIGNAL OR TRANSMISSION, USER INTERFACES, MOUNTING OR COUPLING, DETAILS, ACCESSORIES, AUXILIARY OPERATIONS NOT OTHERWISE PROVIDED FOR, APPLICATION THEREOF
    • E05Y2900/00Application of doors, windows, wings or fittings thereof
    • E05Y2900/10Application of doors, windows, wings or fittings thereof for buildings or parts thereof
    • E05Y2900/13Type of wing
    • E05Y2900/148Windows

Definitions

  • Building lifting and sliding doors or building lifting and Sliding window that can be opened using a hand or Lifting handle and a connecting rod fitting can be operated manually, in such a way that that the respective wing is lowered in the fully closed state and for Opening or moving is first raised.
  • To get the wing out of the being able to move the lowered position to the raised position is between the top of the wing or the wing frame and a surrounding blend or Floor frames require a movement gap in the rebate area.
  • the object of the invention is to provide a locking and securing device for a lifting and To create sliding door or for a lifting and sliding window, the (locking and Belay device) despite a simple constructive training a very effective protection against unauthorized and violent lifting and opening of the Wing of the door or window guaranteed.
  • the locking and securing device offers in the locking state a very reliable patent against lifting the door or window sash in violent attempts with great effort.
  • the locking members of the locking and Safety device are simple molded parts, for example in the form of a Swivel lever and an associated lifting wedge and consist of a sufficient solid material, for example made of metal and / or a resilient plastic.
  • the blocking members are at least with partial areas placed one above the other so that they completely or the movement gap Fill in at least to the extent that lifting is necessary to open the sash this wing is not possible.
  • 1 is generally a lifting and sliding door for a building referred to, which essentially consists of an outer frame or stick frame 2, from a door leaf 3 with insulating glazing 4 arranged in this frame 2 and possibly from other door elements, not shown, for example there is at least one fixed field.
  • the door leaf level can be raised by a predetermined vertical stroke VH.
  • the way raised and unlocked door leaf 3 can then according to the double arrow H be moved vertically in the door leaf level, to the full or partially moving the door leaf 3 out of the door opening when opening or Moving the door leaf 3 back into the door opening when closing then lowering the door leaf 3 in accordance with the vertical stroke VH '.
  • a frame 2 is provided in the rebate of the door leaf 3, a connecting rod fitting 5, whose drive rod 6 can be actuated via a hand or lifting handle 7 and u.a. Not shown, provided in the sash locks and also carriage 8 for the raising and lowering of the door leaf 3 actuated.
  • the one on the bottom horizontal Spar of the door leaf 3 provided carriage 8 are with their carriage rollers 9 in a horizontal guide rail 10 in the lower, horizontal threshold range of Frame 2 for the horizontal sliding movement (double arrow H) of the door leaf 3 guided.
  • each journal 14 a bearing bore 16, which at the end 12 'opposite side is open, so that the flattened trunnion 14 through this Openings in the bearing bores 16 in a pivoted position of the respective Locking element 12 can be inserted, this in the fully assembled state the locking and securing device can no longer take.
  • the respective lifting wedge 13 attached to the drive rod 6, in such a way that it has an upper wedge surface 13 'in the non-locking state of the locking and securing device one at the free End 12 'of the associated locking element 12 formed control surface 12 "' immediately is adjacent. Furthermore, the respective lifting wedge is at the bottom with one parallel to the longitudinal extension of the drive rod 6 and in one plane guided perpendicular to the plane of the door leaf 3 arranged guide surface 17 ', which at the embodiment shown from the exposed top of a tab 17th of the respective bearing 15 is formed, with the (tab) the bearing in the fold of the door leaf 3 is attached.
  • the lifting wedge 13 is at a greater distance from each other from the joint or journal 14 of the associated locking element 12.
  • lifting wedge 13 fastened to the drive rod 6 in accordance with arrow A in FIGS. 3 and 4 moves in the direction of this joint and thereby with its control surface 12 "'on the rising wedge surface 13' resting locking element 12 in the locking Position pivoted in which it bears against the folding surface 2 'and the Locking element 12 with the end of the control surface 12 "'or with one there, from a projection formed contact area 12 "" against the wedge surface 13 'of Lifting wedge 13 supports, which in turn on the tab 17 on the upper fold of the Casement 3 is supported.
  • Both lifting wedges 13 operated synchronously.
  • the lifting or pivoting of the locking elements 12 through the Lifting wedges 13 take place simultaneously with the lowering of the door leaf 3, so that the Locking elements 12 only assume their locking position when the Door leaf 3 is in its lowered position.
  • the wedge surface 13 ' is designed in such a way that, starting from the end of the lifting wedge 13 closer to the locking element 12, it has a section of greater slope and then a section at which the slope of the wedge surface 13' increasingly diminished.
  • the contact areas 12 "and 12"" are arranged on a common vertical line and the contact area 12""bears against the area at which the wedge surface 13 'has a reduced slope, so that the attempted lifting of the lowered Door leaf 3 forces acting on the locking and securing device as pure pressure forces via the respective lifting wedge 13 and the associated locking element 12 are transmitted from the door leaf 3 to the frame 2, without a force component occurring in the sense of actuating the drive rod 6.
  • the two locking elements 12 and their associated bearing 15 in the rebate of the door leaf 3 each directly in the area Driving rod 6 provided.
  • the two legs 12a of the U-shaped profile Locking element 12 do not overlap the drive rod 6 in the locking position along the entire length of the leg and in the locking position at least in the area of the bearing pins 14.
  • While the respective locking element 12 is on U-profile is, which on the upper side of the fold surface 2 'adjacent by a Leg 12a connecting yoke section 12b is closed over a partial length and with the edge of its legs 12a forms the contact areas 12 "and 12" ', that is Bearing 15 a U-profile open to the top with the two legs 15a and the yoke section 15b connecting these legs, which in its extension the Fastening and guide tab 17 forms.
  • the two legs 15a embrace it Locking element 12 in the area of the bearing pin 14.
  • the lifting wedge 13 is in the illustrated embodiment as a solid injection molded part made of metal with the shape described above, with a opening 18 which extends in the longitudinal direction of the lifting wedge 13 and is open at both ends, which is adapted in cross section to the cross section of the drive rod 6, d. H. at of the illustrated embodiment has a rectangular cross section.
  • the Lifting wedge 13 is pushed with the opening 18 onto the drive rod 6, there by one certain amount adjustable in the longitudinal direction of the drive rod and by a Clamping screw 19 can be fixed by clamping. After attaching it to the Driving rod 6 slides the lifting wedge 13 with its underside 13 "on the as a sliding or Support surface 17 'serving top of the tab 17, which is below the Driving rod 6 is located.
  • the bearing 15 is fastened in the region of the fold of the door leaf 3 below the connecting rod via suitable fasteners, in particular screws that Fastening bores in the yoke section 15b or at the free end of the tab 17 succeed.
  • the training described has the advantage that the locking and Safety device forming elements (locking element 12, lifting wedge 13 and bearing 15) directly and practically without additional space in the area of Drive rod 6 are provided, and that also the respective locking element 12th with its legs 12a, the drive rod 6 is guided over this, and at least at the end having the bearing pin 14.
  • the lifting wedge 13 can be optimally adjusted along the drive rod 6 such that when the Espagnolette fitting 5 the desired locking and unlocking of the door leaf 3 through the locking elements 12 in particular in sync with the lifting and Lowering the door leaf 3 is reached.

Landscapes

  • Engineering & Computer Science (AREA)
  • Mechanical Engineering (AREA)
  • Wing Frames And Configurations (AREA)
  • Window Of Vehicle (AREA)
  • Power-Operated Mechanisms For Wings (AREA)
  • Specific Sealing Or Ventilating Devices For Doors And Windows (AREA)

Abstract

Eine Sperr- und Sicherungsvorrichtung zum Sichern eines mit einem Treibstangenbeschlag versehenen Flügels einer Hebe- und Schiebetür oder eines Hebe- und Schiebefensters besitzt wenigstens zwei Sperrglieder, die an der Oberseite des Türflügels im Bereich eines dortigen Bewegungsspaltes montierbar sind und in ihrem aktivierten Zustand den Bewegungsspalt vollständig oder zumindest zu einem Großteil überbrücken, so daß ein Anheben des Flügels nicht möglich ist.

Description

Bekannt sind Gebäudehebe- und Schiebetüren bzw. Gebäudehebe- und Schiebefenster, die über einen am jeweiligen Flügel vorgesehenen Hand- bzw. Hebegriff und einen Treibstangenbeschlag manuell betätigbar sind, und zwar derart, daß der jeweilige Flügel im vollständig geschlossenen Zustand abgesenkt ist und zum Öffnen bzw. Verschieben zunächst angehoben wird. Um den Flügel aus der abgesenkten Stellung in die angehobene Stellung bewegen zu können, ist zwischen der Oberseite des Flügels bzw. des Flügelrahmens und einem umgebenden Blendoder Stockrahmen im Falzbereich ein Bewegungsspalt erforderlich.
Aufgabe der Erfindung ist es, eine Sperr- und Sicherungsvorrichtung für eine Hebe- und Schiebetür bzw. für ein Hebe- und Schiebefenster zu schaffen, die (Sperr- und Sicherungsvorrichtung) trotz einer einfachen konstruktiven Ausbildung einen sehr wirksamen Schutz gegen ein unbefugtes und gewaltsames Anheben und Öffnen des Flügels der Tür bzw. des Fensters gewährleistet.
Zur Lösung dieser Aufgabe ist eine Sperr- und Sicherungsvorrichtung entsprechend dem Patentanspruch 1 ausgebildet.
Ein Treibstangenbeschlag mit einer solchen Sperr- und Sicherungsvorrichtung und eine Hebe- und Schiebetür bzw. ein Hebe- und Schiebefenster ist entsprechend dem Patentanspruch 11 bzw. 12 ausgebildet.
Die erfindungsgemäße Sperr- und Sicherungsvorrichtung bietet im sperrenden Zustand einen sehr zuverlässigen Patent gegen ein Anheben des Tür- oder Fensterflügels auch bei gewaltsamen Versuchen mit hohem Kraftaufwand. Die Sperrglieder der Sperr- und Sicherungsvorrichtung sind einfache Formteile beispielsweise in Form eines Schwenkhebels und eines zugehörigen Hebekeils und bestehen aus einem ausreichend festen Material, beispielsweise aus Metall und/oder aus einem belastbaren Kunststoff. Im sperrenden Zustand sind die Sperrglieder zumindest mit Teilbereichen übereinander geschoben angeordnet, so daß sie den Bewegungsspalt vollständig oder zumindest soweit ausfüllen, daß das für ein Öffnen des Flügels notwendige Anheben dieses Flügels nicht möglich ist. Bei Öffnungsversuchen auftretende Kräfte wirken auf die übereinander geschobenen Sperrglieder ausschließlich als Druckkräfte, insbesondere auch in der Weise, daß auf den Treibstangenbeschlag bzw. dessen Treibstange, die mit wenigstens einem Sperrglied zusammenwirkt, keine Kräfte im Sinne eines Öffnens der Fenster- oder Türverriegelung einwirken können.
Weiterbildungen der Erfindung sind Gegenstand der Unteransprüche. Die Erfindung wird im Folgenden anhand der Figuren an einem Ausführungsbeispiel näher erläutert, welches sich auf eine Hebe-Schiebe-Tür bezieht. Grundsätzlich eignet sich die erfindungsgemäße Sperreinrichtung aber auch für Hebe- und Schiebefenster.
Die Figuren zeigen:
Fig. 1
in vereinfachter Darstellung und in Innenansicht eine Hebe-Schiebe-Tür, zusammen mit der erfindungsgemäßen Sperr- und Sicherungsvorrichtung im nicht sperrenden Zustand;
Fig. 2
in vereinfachter Darstellung und in Innenansicht eine Hebe-Schiebe-Tür, zusammen mit der erfindungsgemäßen Sperr- und Sicherungsvorrichtung im sperrenden Zustand;
Fig. 3
und 4 in vergrößerter Einzeldarstellung jeweils ein Sperrelement der Sperr- und Sicherungsvorrichtung im nicht sperrenden Zustand (Figur 3) sowie im sperrenden Zustand (Figur 4).
Fig. 5
in vergrößerter Darstellung einen Schnitt entsprechend der Linie I - I der Figur 3;
Fig. 6 - 8
das Sperrelement der Sperr- und Sicherungsvorrichtung in Einzeldarstellung und in Seitenansicht, Unteransicht und Stirnansicht;
Fig. 9, 10 und 11
ein Lagerelement der Sperr- und Sicherungsvorrichtung in Einzeldarstellung und in Seitenansicht, Draufsicht und Stirnansicht;
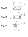
Fig. 12 - 14
das als Hebekeil ausgebildete Sperrelement der Sperr- und Sicherungsvorrichtung in Einzeldarstellung und in Seitenansicht, Draufsicht und in Stirnansicht.
In den Figuren ist mit 1 allgemein eine Hebe- und Schiebetür für ein Gebäude bezeichnet, welche im wesentlichen aus einem äußeren Blend- oder Stockrahmen 2, aus einem in diesen Blendrahmen 2 angeordneten Türflügel 3 mit Isolierverglasung 4 sowie ggf. aus weiteren, nicht dargestellten Türelementen, beispielsweise aus wenigstens einem Festfeld besteht.
Zum Öffnen des geschlossenen Türflügels 3 ist dieser aus einer abgesenkten Stellung in der Türflügelebene um einen vorgegebenen Vertikalhub VH anhebbar. Der so angehobene und entriegelte Türflügel 3 kann dann entsprechend dem Doppelpfeil H in der Türflügelebene vertikal verschoben werden, und zwar zum vollständigen oder teilweisen Herausbewegen des Türflügels 3 aus der Türöffnung beim Öffnen bzw. zum Zurückbewegen des Türflügels 3 in die Türöffnung beim Schließen mit anschließendem Absenken des Türflügels 3 entsprechend dem Vertikalhub VH'.
Unter anderem zum Anheben und Absenken dieses Türflügels 3, aber auch zum zusätzlichen Verriegeln des geschlossenen und abgesenkten Türflügels 3 am Blendrahmen 2 ist im Falz des Türflügels 3 ein Treibstangenbeschlag 5 vorgesehen, dessen Treibstange 6 über einen Hand- bzw. Hebegriff 7 betätigbar ist und u.a. nicht dargestellte, im Flügelfalz vorgesehene Verriegelungen sowie auch Laufwagen 8 für das Anheben und Absenken des Türflügels 3 betätigt. Die an dem unteren horizontalen Holm des Türflügels 3 vorgesehenen Laufwagen 8 sind mit ihren Laufwagenrollen 9 in einer horizontalen Führungsschiene 10 im unteren, horizontalen Schwellenbereich des Blendrahmens 2 für die horizontale Schiebebewegung (Doppelpfeil H) des Türflügels 3 geführt.
Um den Türflügel 3 in seiner geschlossenen, abgesenkten Stellung gegen unbefugtes Anheben zu sichern und insbesondere ein Öffnen des Türflügels 3 durch Anheben von der Gebäudeaußenseite her zu vermeiden, sind an der Oberseite des oberen Holmes des Türflügelrahmens 3 und im Bereich des Falzes zwei Sperr- und Sicherungsvorrichtungen vorgesehen, und zwar im Bereich des dortigen Bewegungsspaltes 11 zwischen dem Stockrahmen 2 und dem Rahmen des Türflügels 3.
Jede Sperr- und Sicherungsvorrichtung besteht aus einem Sperrelement 12 und aus einem Sperrelement oder Hebekeil 13. Das Sperrelement 12 ist als einseitig gelagerter Schwenkhebel ausgebildet, und zwar beispielsweise als Spritzgußteil aus Metall oder als Spritzgießteil aus einem geeigneten hochfesten Kunststoff, und besitzt angeformte Lagerzapfen 14, die an einem Ende des hebelartigen Sperrelementes 12 achsgleich vorgesehen sind und über zwei einander abgewandten Seiten dieses Sperrelementes wegstehen. Mit dem Lagerzapfen 14 ist das Sperrelement 12 in einem Lager 15, beispielsweise in einem Schenkel des U-förmigen Lagers gelagert, und zwar bei am Türflügel 3 montierter Sperr- und Sicherungsvorrichtung um eine Achse senkrecht zur Ebene des Türflügels 3 und damit auch um eine Achse senkrecht zur Längserstreckung der benachbarten Treibstange 6. Durch die schwenkbare Lagerung ist jedes Sperrelement 12 jeweils um einen Winkelbetrag kleiner als 90° schwenkbar, und zwar zwischen
  • einer nicht sperrenden Stellung, in der das im Bewegungsspalt 11 angeordnete Sperrelement 12 mit seinem freien Ende 12' in Richtung des Vertikalhubes VH von einer gegenüberliegenden Falzfläche 2' des Blendrahmens 2 einen Abstand aufweist, der gleich oder etwas größer ist als der Vertikalhub VH beim Anheben des Türflügels 3, und
  • einer sperrenden Stellung, in der das Sperrelement 12 mit seinem freien Ende 12' bzw. mit einer dortigen Anlage 12" gegen die Fläche 2' anliegt oder von dieser Fläche einen Abstand aufweist, der kleiner ist als der Vertikalhub VH, um den der Türflügel 3 für ein Öffnen angehoben werden muß.
Um die Montage des Sperrelementes 12 an dem jeweiligen Lager 15 zu vereinfachen, weist dieses für jeden Lagerzapfen 14 eine Lagerbohrung 16 auf, die an der dem Ende 12' abgewandten Seite offen ist, so daß die abgeflachten Lagerzapfen 14 durch diese Öffnungen in die Lagerbohrungen 16 in einer Schwenkstellung des jeweiligen Sperrelementes 12 eingeführt werden können, die dieses im fertig montierten Zustand der Sperr- und Sicherungsvorrichtung nicht mehr einnehmen kann.
Während das Lager 15 ortsfest am Rahmen des Türflügels 3 oder an einem nicht bewegten Teil des Treibstangenbeschlages 5 vorgesehen ist, ist der jeweilige Hebekeil 13 an der Treibstange 6 befestigt, und zwar derart, daß er mit einer oberen Keilfläche 13' im nicht sperrenden Zustand der Sperr- und Sicherungsvorrichtung einer am freien Ende 12' des zugehörigen Sperrelementes 12 gebildeten Steuerfläche 12"' unmittelbar benachbart liegt. Weiterhin ist der jeweilige Hebekeil mit seiner Unterseite an einer parallel zur Längserstreckung der Treibstange 6 verlaufenden und in einer Ebene senkrecht zur Ebene des Türflügels 3 angeordneten Führungsfläche 17' geführt, die bei der dargestellten Ausführungsform von der frei liegenden Oberseite einer Lasche 17 des jeweiligen Lagers 15 gebildet ist, mit der (Lasche) das Lager im Falz des Türflügels 3 befestigt ist.
Im nicht sperrenden Zustand weist der Hebekeil 13 jeweils einen größeren Abstand von dem Gelenk bzw. Lagerzapfen 14 des zugehörigen Sperrelementes 12 auf. Zum Überführen der Sperr- und Sicherungsvorrichtung in den sperrenden Zustand wird der an der Treibstange 6 befestigte Hebekeil 13 entsprechend dem Pfeil A der Figuren 3 und 4 in Richtung dieses Gelenks bewegt und dadurch das mit seiner Steuerfläche 12"' auf der ansteigenden Keilfläche 13' aufliegende Sperrelement 12 in die sperrende Stellung geschwenkt, in der es gegen die Falzfläche 2' anliegt und sich das Sperrelement 12 mit dem Ende der Steuerfläche 12"' bzw. mit einem dortigen, von einem Vorsprung gebildeten Anlagebereich 12"" gegen die Keilfläche 13' des Hebekeils 13 abstützt, der seinerseits über die Lasche 17 am oberen Falz des Flügelrahmens 3 abgestützt ist. Über die Treibstange werden beide Hebekeile 13 synchron betätigt. Das Anheben bzw. Schwenken der Sperrelemente 12 durch die Hebekeile 13 erfolgt gleichzeitig mit dem Absenken des Türflügels 3, so daß die Sperrelemente 12 ihre sperrende Stellung nur dann einnehmen, wenn auch der Türflügel 3 sich in seiner abgesenkten Stellung befindet.
Wie die Figuren 3 und 4 zeigen, ist die Keilfläche 13' so ausgebildet, daß sie ausgehend von dem dem Sperrelement 12 näher liegenden Ende des Hebekeils 13 einen Abschnitt größerer Steigung und daran anschließend einen Abschnitt aufweist, an dem sich die Steigung der Keilfläche 13' zunehmend verringert.
Im sperrenden Zustand sind die Anlagebereiche 12" und 12"" auf einer gemeinsamen vertikalen Linie angeordnet und der Anlagebereich 12"" liegt gegen den Bereich an, an dem die Keilfläche 13' eine reduzierte Steigung aufweist, so daß die bei einem versuchten Anheben des abgesenkten Türflügels 3 auf die Sperr- und Sicherungsvorrichtung einwirkenden Kräfte als reine Druckkräfte über den jeweiligen Hebekeil 13 und das zugehörige Sperrelement 12 von dem Türflügel 3 auf den Blendrahmen 2 übertragen werden, und zwar ohne daß hierbei eine Kraftkomponente im Sinne einer Betätigung der Treibstange 6 auftritt.
Wie beispielsweise die Figur 5 zeigt, sind die beiden Sperrelemente 12 und ihre zugehörigen Lager 15 im Falz des Türflügels 3 jeweils unmittelbar im Bereich der Treibstange 6 vorgesehen. Die beiden Schenkel 12a des als U-Profil ausgebildeten Sperrelements 12 (hierzu auch Figuren 6 - 8) übergreifen die Treibstange 6 in der nicht sperrenden Stellung auf der gesamten Schenkellänge und in der sperrenden Stellung zumindest im Bereich der Lagerzapfen 14. Während das jeweilige Sperrelement 12 ein U-Profil ist, welches an der der Falzfläche 2' benachbarten Oberseite durch einen die Schenkel 12a verbindenden Jochabschnitt 12b auf einer Teillänge geschlossen ist und mit dem Rand seiner Schenkel 12a die Anlagebereiche 12" und 12"' bildet, ist das Lager 15 ein zur Oberseite hin offenes U-Profil mit den beiden Schenkeln 15a und dem diese Schenkel verbindenden Jochabschnitt 15b, der in seiner Verlängerung die Befestigungs- und Führungslasche 17 bildet. Die beiden Schenkel 15a umgreifen das Sperrelement 12 im Bereich der Lagerzapfen 14.
Der Hebekeil 13 ist bei der dargestellten Ausführungsform als massives Spritzgußteil aus Metall mit der vorstehend beschriebenen Formgebung gefertigt, und zwar mit einer sich in Längsrichtung des Hebekeils 13 erstreckenden, beidendig offenen Öffnung 18, die in ihrem Querschnitt an den Querschnitt der Treibstange 6 angepaßt ist, d. h. bei der dargestellten Ausführungsform einen rechteckförmigen Querschnitt aufweist. Der Hebekeil 13 ist mit der Öffnung 18 auf die Treibstange 6 aufgeschoben, dort um einen bestimmten Betrag in Treibstangenlängsrichtung einstellbar sowie durch eine Klemmschraube 19 durch Festklemmen fixierbar. Nach seiner Befestigung an der Treibstange 6 gleitet der Hebekeil 13 mit seiner Unterseite 13" auf der als Gleit- oder Abstützfläche 17' dienenden Oberseite der Lasche 17, die sich unterhalb der Treibstange 6 befindet.
Die Befestigung des Lagers 15 erfolgt im Bereich des Falzes des Türflügels 3 unterhalb der Treibstange über geeignete Befestigungsmittel, insbesondere Schrauben, die Befestigungsbohrungen im Jochabschnitt 15b bzw. am freien Ende der Lasche 17 durchgreifen.
Die beschriebene Ausbildung hat den Vorteil, daß die die Sperr- und Sicherungsvorrichtung bildenden Elemente (Sperrelement 12, Hebekeil 13 und Lager 15) unmittelbar und praktisch ohne zusätzlichen Platzaufwand im Bereich der Treibstange 6 vorgesehen sind, und daß weiterhin auch das jeweilige Sperrelement 12 mit seinen Schenkeln 12a die Treibstange 6 übergreifend an dieser geführt ist, und zwar zumindest an dem die Lagerzapfen 14 aufweisenden Ende. Der Hebekeil 13 kann entlang der Treibstange 6 optimal derart eingestellt werden, daß beim Betätigen des Treibstangenbeschlages 5 das gewünschte Sperren und Freigeben des Türflügels 3 durch die Sperrelemente 12 insbesondere auch synchron mit dem Anheben und Absenken des Türflügels 3 erreicht wird.
Vorstehend wurde der einfacheren Erläuterung wegen ausgeführt, daß durch die in dem gesperrten Zustand befindliche Sperr- und Sicherungsvorrichtung der Türflügel 3 in seinem abgesenkten und geschlossenen Zustand gegen unerwünschtes Anheben gesichert ist. Selbstverständlich wirkt die Sperr- und Sicherungsvorrichtung auch bei nicht in der Schließstellung befindlichem, aber bei abgesenktem Türflügel 3, d.h. beispielsweise bei teilweise geöffneter Hebe- und Schiebetür 1, einem Anheben des Türflügels 3 ohne Betätigung des Hand- oder Hebegriffs 7 entgegen und sichert damit den abgesenkten Türflügel 3 auch der teilweise geöffneten Hebe- und Schiebetür.
Die Erfindung wurde voranstehend an einem Ausführungsbeispiel beschrieben. Es versteht sich, daß zahlreiche Änderungen sowie Abwandlungen möglich sind, ohne daß dadurch der der Erfindung zugrundeliegende Erfindungsgedanke verlassen wird. So ist es beispielsweise möglich, anstelle von schwenkbar angeordneten oder hebelartig ausgebildeten Sperrelementen 12 auch andere Sperrelemente vorzusehen, die dann durch an der Treibstange 6 vorgesehene Steuerelemente in eine Stellung gebracht werden, in der diese Sperrelemente oder Sperrglieder übereinander liegend den Bewegungsspalt 11 derart überbrücken, daß ein unerwünschtes Anheben des Türflügels 3 nicht möglich ist.
Grundsätzlich besteht weiterhin auch die Möglichkeit, die Hebekeile 13 so auszubilden, daß sie jeweils seitlich auf die Treibstange 6 aufgeschoben und auf dieser dann beispielsweise wiederum durch Klemmen fixiert werden können. Weiterhin besteht auch die Möglichkeit, die die Sperr- und Sicherungsvorrichtung bildenden Elemente, nämlich das Sperrelement 12, das zugehörige Lager 15 und zumindest den die Keilfläche 13' aufweisenden Teil des Hebekeils 13 seitlich von der Treibstange 6 im Falz des Türflügels 3 vorzusehen.
Bezugszeichenliste
1
Hebe- und Schiebetür
2
Blendrahmen
3
Türflügel
4
Verglasung
5
Treibstangenbeschlag
6
Treibstange
7
Hand- und Hebegriff
8
Laufwagen
9
Laufwagenrolle
10
Führungsschiene
11
Bewegungsspalt
12
Sperrelement
12'
freies Ende des Sperrelementes
12", 12""
Anlagebereich
12"'
Steuerfläche
12a
Schenkel
12b
Jochabschnitt
13
Hebekeil
13'
Keil- oder Steuerfläche
13"
Unterseite
14
Lagerzapfen
15
Lager
15a
Schenkel
15b
Jochabschnitt
16
Lagerbohrung
17
Befestigungslasche
17'
Führungs- oder Abstützfläche für Hebekeil
18
Öffnung
19
Klemmschraube
VH
Vertikalhub (nach oben)
VH'
Vertikalhub (nach unten)
H
Horizontalbewegung
A
Bewegung der Treibstange 6

Claims (12)

  1. Sperr- und Sicherungsvorrichtung zum Sichern eines mit einem Treibstangenbeschlag (5) mit Treibstange (6) versehenen Flügels (3) einer Hebeund Schiebetür oder eines Hebe- und Schiebefensters gegen unerwünschtes Anheben aus einer abgesenkten Stellung, dadurch gekennzeichnet, daß die Sperrund Sicherungsvorrichtung wenigstens zwei Sperrglieder (12, 13) aufweist, die an einer Oberseite des Türflügel (3) im Bereich eines dortigen Bewegungsspaltes (11) montierbar sind, der zwischen dem Flügel und einem Blendrahmen (2) für das Anheben des abgesenkten Flügels in einer ersten Achsrichtung (VH) vorgesehen ist, und die durch die Bewegung einer Treibstange (6) aus einem ersten, nicht sperrenden Zustand in einen zweiten, sperrenden Zustand bewegbar sind, in welchem die zumindest mit einem Teilbereich übereinander liegenden Sperrglieder (12, 13) den Bewegungsspalt (11) vollständig oder zumindest zu einem Großteil überbrücken.
  2. Sperr- und Sicherungsvorrichtung nach Anspruch 1, dadurch gekennzeichnet, daß ein erstes Sperrglied (12) zumindest mit einem Teilbereich (12') wenigstens in der ersten Achsrichtung (VH) beweglich an einem ortsfest am Flügel (3) befestigbaren Lager (15) vorgesehen ist und eine erste Steuer- oder Anlagefläche (12"') bildet, und daß ein zweites Sperrglied (13) an der Treibstange (6) des Treibstangenbeschlages (5) befestigbar ist, mit dieser Treibstange (6) in einer zweiten Achsrichtung bewegbar ist und eine zweite Anlage- und Steuerfläche (13') bildet, auf der das erste Sperrglied mit seiner ersten Steuer- oder Anlagefläche (12"') beim Bewegen aus dem nicht sperrenden Zustand in den sperrenden Zustand und umgekehrt gleitet.
  3. Sperr- und Sicherungsvorrichtung nach Anspruch 1 oder 2, dadurch gekennzeichnet, daß die Sperrglieder (12, 13) relativ zueinander bewegbar sind, und daß ein erstes Sperrglied (12) an einem am Flügel (3) ortsfest befestigbaren Lager (15) vorgesehen und das zweite Sperrglied (13) an der Treibstange (6) des Treibstangenbeschlages (5) befestigbar ist.
  4. Sperr- und Sicherungsvorrichtung nach einem der vorhergehenden Ansprüche, dadurch gekennzeichnet, daß das erste Sperrglied (12) sich im sperrenden Zustand zumindest mit einem Teilbereich (12') zwischen dem zweiten Sperrglied (13) und einer den Bewegungsspalt (11) begrenzenden Fläche (2') des Blendrahmens (2) befindet.
  5. Sperr- und Sicherungsvorrichtung nach einem der vorhergehenden Ansprüche, dadurch gekennzeichnet, daß das zweite Sperrglied ein Hebekeil (13) ist, der mit einer Keil- und Steuerfläche (13') mit dem ersten Sperrglied (12) zusammenwirkt, wobei beispielsweise
    sich der Hebekeil (13) mit einer der Keilfläche (13') gegenüberliegenden Fläche (13") an einer Gleit- oder Führungsfläche (17') am Flügelrahmen (3) abstützt.
  6. Sperr- und Sicherungsvorrichtung nach einem der vorhergehenden Ansprüche, dadurch gekennzeichnet, daß das erste Sperrglied ein Sperrhebel (12) ist, der an einem Ende mittels eines Gelenks (14) an dem Lager (15) schwenkbar vorgesehen ist und an seinem anderen Ende (12') die erste Steuer- und Anlagefläche (12"') bildet.
  7. Sperr- und Sicherungsvorrichtung nach einem der vorhergehenden Ansprüche, dadurch gekennzeichnet, daß der Hebekeil (13) in der nicht sperrenden Stellung der Sperr- und Sicherungsvorrichtung (11) einen größeren Abstand von dem Gelenk des Sperrhebels (12) aufweist, als in dem sperrenden Zustand.
  8. Sperr- und Sicherungsvorrichtung nach einem der vorhergehenden Ansprüche, dadurch gekennzeichnet, daß die Sperrglieder (12, 13) seitlich von der Treibstange (6) und/oder unmittelbar an der Treibstange (6) derart vorgesehen sind, daß diese von den Sperrgliedern (12, 13) umgriffen ist.
  9. Sperr- und Sicherungsvorrichtung nach einem der vorhergehenden Ansprüche, dadurch gekennzeichnet, daß das mit der Treibstange (6) verbundene Sperrglied (13) an der Treibstange (6) durch Aufschieben und Festklemmen befestigt ist und/oder an der Treibstange (6) einstellbar vorgesehen ist.
  10. Sperr- und Sicherungsvorrichtung nach einem der vorhergehenden Ansprüche, dadurch gekennzeichnet, daß wenigstens zwei erste Sperrglieder (12) mit jeweils wenigstens einem zweiten Sperrglied (13) vorgesehen sind.
  11. Treibstangenbeschlag für Hebe- und Schiebetüren oder Hebe- und Schiebefenster, gekennzeichnet durch eine Sperr- und Sicherungsvorrichtung nach einem der vorhergehenden Ansprüche 1 - 13.
  12. Hebe- und Schiebetür und/oder -Fenster für Gebäude, gekennzeichnet durch eine Sperr- und Sicherungsvorrichtung nach einem der Ansprüche 1 - 13 oder einen Treibstangenbeschlag nach Anspruch 14.
EP02024868A 2001-11-20 2002-11-08 Sperr- und Sicherungsvorrichtung für einen Hebe- und Schiebeflügel; Treibstangenbeschlag mit einer solchen Vorrichtung; Hebe- und Schiebetür bzw. -fenster mit einer solchen Vorrichtung Expired - Lifetime EP1312743B1 (de)

Applications Claiming Priority (2)

Application Number Priority Date Filing Date Title
DE20118906U 2001-11-20
DE20118906U DE20118906U1 (de) 2001-11-20 2001-11-20 Sperr- und Sicherungsvorrichtung für einen Flügel einer Hebe- und Schiebetür und/oder eines Hebe- und Schiebefensters, Treibstangenbeschlag für eine Hebe- und Schiebetür und/oder ein Hebe- und Schiebefenster sowie Hebe- und Schiebetür oder -Fenster mit einer derartigen Sperr- und Sicherungsvorrichtung

Publications (3)

Publication Number Publication Date
EP1312743A2 true EP1312743A2 (de) 2003-05-21
EP1312743A3 EP1312743A3 (de) 2006-06-28
EP1312743B1 EP1312743B1 (de) 2011-02-16

Family

ID=7964236

Family Applications (1)

Application Number Title Priority Date Filing Date
EP02024868A Expired - Lifetime EP1312743B1 (de) 2001-11-20 2002-11-08 Sperr- und Sicherungsvorrichtung für einen Hebe- und Schiebeflügel; Treibstangenbeschlag mit einer solchen Vorrichtung; Hebe- und Schiebetür bzw. -fenster mit einer solchen Vorrichtung

Country Status (3)

Country Link
EP (1) EP1312743B1 (de)
AT (1) ATE498754T1 (de)
DE (2) DE20118906U1 (de)

Cited By (7)

* Cited by examiner, † Cited by third party
Publication number Priority date Publication date Assignee Title
EP1582677A1 (de) * 2004-03-30 2005-10-05 W. HAUTAU GmbH Beschlag für Hebe-Schiebe-Türen
EP1728956A1 (de) 2005-05-30 2006-12-06 HAUTAU GmbH Gegen ein Aushebeln von aussen sichernder Beschlag für eine Hebe-Schiebe-Tür
EP1970514A2 (de) 2007-03-14 2008-09-17 GSG INTERNATIONAL S.p.A. Schiebetür oder -Fenster
WO2009153732A1 (en) 2008-06-17 2009-12-23 Gsg International S.P.A. A sliding door or window
WO2018046285A1 (de) * 2016-09-06 2018-03-15 Roto Frank Ag Aushebesicherung für einen verschiebbaren und zum verschieben anhebbaren flügel
EP3708752A1 (de) * 2019-03-12 2020-09-16 Secco Sistemi S.p.A. Beschlaganordnung für ein hebe-schiebeelement
US20240368928A1 (en) * 2023-05-02 2024-11-07 PrevEntry USA LLC Sliding door blocking system

Families Citing this family (7)

* Cited by examiner, † Cited by third party
Publication number Priority date Publication date Assignee Title
DE20209459U1 (de) 2002-06-18 2002-11-21 H & K Teckentrup KG, 33415 Verl Schiebetür oder -tor vorzugsweise als Brand- und Rauchschutzschiebetor
ITBO20080366A1 (it) * 2008-06-10 2009-12-11 Gsg Int Spa Dispositivo anti sollevamento per infissi scorrevoli.
DE102010037021A1 (de) 2010-08-14 2012-02-16 Hautau Gmbh Sicherung für den oberen Falzraum eines Hebe- Schiebeflügels (Verfahren und Vorrichtung)
DE202016104340U1 (de) 2016-08-05 2017-11-08 Johannes Aichner Zusatzsicherung für eine Hebe- und Schiebetür
HRP20230782T1 (hr) 2020-03-20 2023-10-27 Gretsch-Unitas GmbH Baubeschläge Sklop kliznih vrata
DE102022107792A1 (de) * 2022-04-01 2023-10-05 Maco Technologie Gmbh Gewichtsoptimierte Beschlaganordnung für Fenster oder Türen
DE102023117279A1 (de) 2023-06-30 2025-01-02 Gretsch-Unitas GmbH Baubeschläge Schiebetüranordnung

Citations (1)

* Cited by examiner, † Cited by third party
Publication number Priority date Publication date Assignee Title
GB2134968A (en) 1983-02-08 1984-08-22 Siegenia Frank Kg Locking mechanism for a window or door

Family Cites Families (3)

* Cited by examiner, † Cited by third party
Publication number Priority date Publication date Assignee Title
AT325988B (de) * 1973-05-16 1975-11-25 Lapp Finze Ag Verschluss bzw. einlasstreibriegel für fenster und türen od.dgl., insbesondere für dreh-kipp- und schwingflügelbeschlage
EP0678639B1 (de) * 1994-02-26 1996-10-23 Hespe & Woelm GmbH & Co. KG Verriegelung für Schiebeläden, Schiebetüren und dgl. entlang einer feststehenden Schiene verfahrbare Elemente
US6010168A (en) * 1995-11-13 2000-01-04 Johnson; James B. High security rotary latch

Patent Citations (1)

* Cited by examiner, † Cited by third party
Publication number Priority date Publication date Assignee Title
GB2134968A (en) 1983-02-08 1984-08-22 Siegenia Frank Kg Locking mechanism for a window or door

Cited By (10)

* Cited by examiner, † Cited by third party
Publication number Priority date Publication date Assignee Title
EP1582677A1 (de) * 2004-03-30 2005-10-05 W. HAUTAU GmbH Beschlag für Hebe-Schiebe-Türen
EP1728956A1 (de) 2005-05-30 2006-12-06 HAUTAU GmbH Gegen ein Aushebeln von aussen sichernder Beschlag für eine Hebe-Schiebe-Tür
EP1970514A2 (de) 2007-03-14 2008-09-17 GSG INTERNATIONAL S.p.A. Schiebetür oder -Fenster
EP1970514A3 (de) * 2007-03-14 2010-05-12 GSG INTERNATIONAL S.p.A. Schiebetür oder -Fenster
WO2009153732A1 (en) 2008-06-17 2009-12-23 Gsg International S.P.A. A sliding door or window
US8281519B2 (en) 2008-06-17 2012-10-09 Gsg International S.P.A. Sliding door or window
WO2018046285A1 (de) * 2016-09-06 2018-03-15 Roto Frank Ag Aushebesicherung für einen verschiebbaren und zum verschieben anhebbaren flügel
ES2708867R1 (es) * 2016-09-06 2019-06-21 Roto Frank Ag Dispositivo de seguridad anti-desencajamiento para una ventana o una puerta, y tal ventana o puerta
EP3708752A1 (de) * 2019-03-12 2020-09-16 Secco Sistemi S.p.A. Beschlaganordnung für ein hebe-schiebeelement
US20240368928A1 (en) * 2023-05-02 2024-11-07 PrevEntry USA LLC Sliding door blocking system

Also Published As

Publication number Publication date
EP1312743A3 (de) 2006-06-28
EP1312743B1 (de) 2011-02-16
DE20118906U1 (de) 2002-04-18
DE50214911D1 (de) 2011-03-31
ATE498754T1 (de) 2011-03-15

Similar Documents

Publication Publication Date Title
EP1437471B1 (de) Beschlag für Hebe-Schiebe-Türen oder -Fenster
DE202008018015U1 (de) Beschlag für einen Schiebeflügel
EP1312743B1 (de) Sperr- und Sicherungsvorrichtung für einen Hebe- und Schiebeflügel; Treibstangenbeschlag mit einer solchen Vorrichtung; Hebe- und Schiebetür bzw. -fenster mit einer solchen Vorrichtung
DE3041399A1 (de) Fenster kipp und spaltkipp
DE69328827T2 (de) Schiebefenster, bestehend aus mindestens einem rahmen mit einem darin vertikal verschiebbaren flügel
EP1688573B1 (de) Schiebefenster
DE2451556A1 (de) Feststellvorrichtung zur oeffnungsbegrenzung von kipp- und klappfluegeln, insbesondere kipp-schwenkfluegeln, an fenstern, tueren o.dgl.
EP0096744A2 (de) Drehkippbeschlag
EP0572988B1 (de) Schliessblech
DE963933C (de) Beschlag fuer Tueren, Fenster od. dgl., deren Fluegel wahlweise um eine lotrechte Achse schwenkbar oder um eine waagerechte Achse kippbar ist
DE2243916C2 (de) Kippriegel Verschluß für Drehkippfenster, -türen od.dgl.
EP1614844A2 (de) Drehlagervorrichtung
DE29717409U1 (de) Fenster- und Türanordnung
DE4225328C2 (de) Falzschere für Kippflügel von Fenstern, Türen oder dergl.
DE29513098U1 (de) Fenster/Tür mit Dreh-Kipp-Beschlag
EP1582677B1 (de) Beschlag für Hebe-Schiebe-Türen
DE2116144A1 (de) Verschluß- und/oder Riegel vorrichtung an Treibstangenbeschlägen für Fenster, Türen od. dgl
DE9409388U1 (de) Dreh-Kipp-Beschlag für Fenster, Türen o.dgl.
DE2646905C2 (de) Beschlag für einen kipp- und schiebbaren Flügel von Fenstern, Türen od. dgl.
DE3812834C2 (de) Fensterbeschlag für Drehkippfenster
DE973610C (de) Mit einem Scharnier vereinigte Hebevorrichtung fuer Tuer- oder Fensterfluegel od. dgl.
EP0811741A2 (de) Schiebetür, Schiebefenster od.dgl.
EP0429981B1 (de) Verdeckt im Falz angeordneter Beschlag für Kipp-Schwenk-flügelfenster oder -türen, insb. mit Holzrahmen
EP1582672B1 (de) Eckumlenkung für feststellbare Spalt-Lüftungsöffnungen und Öffnungsbegrenzung bei einem Zentralverschluss
EP3444417B1 (de) Ladensystem für gebäudeöffnungen

Legal Events

Date Code Title Description
PUAI Public reference made under article 153(3) epc to a published international application that has entered the european phase

Free format text: ORIGINAL CODE: 0009012

AK Designated contracting states

Designated state(s): AT BE BG CH CY CZ DE DK EE ES FI FR GB GR IE IT LI LU MC NL PT SE SK TR

AX Request for extension of the european patent

Extension state: AL LT LV MK RO SI

PUAL Search report despatched

Free format text: ORIGINAL CODE: 0009013

AK Designated contracting states

Kind code of ref document: A3

Designated state(s): AT BE BG CH CY CZ DE DK EE ES FI FR GB GR IE IT LI LU MC NL PT SE SK TR

AX Request for extension of the european patent

Extension state: AL LT LV MK RO SI

17P Request for examination filed

Effective date: 20060811

AKX Designation fees paid

Designated state(s): AT BE BG CH CY CZ DE DK EE ES FI FR GB GR IE IT LI LU MC NL PT SE SK TR

17Q First examination report despatched

Effective date: 20090210

GRAP Despatch of communication of intention to grant a patent

Free format text: ORIGINAL CODE: EPIDOSNIGR1

GRAS Grant fee paid

Free format text: ORIGINAL CODE: EPIDOSNIGR3

GRAA (expected) grant

Free format text: ORIGINAL CODE: 0009210

AK Designated contracting states

Kind code of ref document: B1

Designated state(s): AT BE BG CH CY CZ DE DK EE ES FI FR GB GR IE IT LI LU MC NL PT SE SK TR

REG Reference to a national code

Ref country code: GB

Ref legal event code: FG4D

Free format text: NOT ENGLISH

REG Reference to a national code

Ref country code: CH

Ref legal event code: EP

REG Reference to a national code

Ref country code: IE

Ref legal event code: FG4D

Free format text: LANGUAGE OF EP DOCUMENT: GERMAN

REF Corresponds to:

Ref document number: 50214911

Country of ref document: DE

Date of ref document: 20110331

Kind code of ref document: P

REG Reference to a national code

Ref country code: DE

Ref legal event code: R096

Ref document number: 50214911

Country of ref document: DE

Effective date: 20110331

Ref country code: CH

Ref legal event code: NV

Representative=s name: LUCHS & PARTNER AG PATENTANWAELTE

REG Reference to a national code

Ref country code: NL

Ref legal event code: VDEP

Effective date: 20110216

PG25 Lapsed in a contracting state [announced via postgrant information from national office to epo]

Ref country code: ES

Free format text: LAPSE BECAUSE OF FAILURE TO SUBMIT A TRANSLATION OF THE DESCRIPTION OR TO PAY THE FEE WITHIN THE PRESCRIBED TIME-LIMIT

Effective date: 20110527

Ref country code: PT

Free format text: LAPSE BECAUSE OF FAILURE TO SUBMIT A TRANSLATION OF THE DESCRIPTION OR TO PAY THE FEE WITHIN THE PRESCRIBED TIME-LIMIT

Effective date: 20110616

Ref country code: SE

Free format text: LAPSE BECAUSE OF FAILURE TO SUBMIT A TRANSLATION OF THE DESCRIPTION OR TO PAY THE FEE WITHIN THE PRESCRIBED TIME-LIMIT

Effective date: 20110216

Ref country code: GR

Free format text: LAPSE BECAUSE OF FAILURE TO SUBMIT A TRANSLATION OF THE DESCRIPTION OR TO PAY THE FEE WITHIN THE PRESCRIBED TIME-LIMIT

Effective date: 20110517

PG25 Lapsed in a contracting state [announced via postgrant information from national office to epo]

Ref country code: NL

Free format text: LAPSE BECAUSE OF FAILURE TO SUBMIT A TRANSLATION OF THE DESCRIPTION OR TO PAY THE FEE WITHIN THE PRESCRIBED TIME-LIMIT

Effective date: 20110216

Ref country code: CY

Free format text: LAPSE BECAUSE OF FAILURE TO SUBMIT A TRANSLATION OF THE DESCRIPTION OR TO PAY THE FEE WITHIN THE PRESCRIBED TIME-LIMIT

Effective date: 20110216

Ref country code: BG

Free format text: LAPSE BECAUSE OF FAILURE TO SUBMIT A TRANSLATION OF THE DESCRIPTION OR TO PAY THE FEE WITHIN THE PRESCRIBED TIME-LIMIT

Effective date: 20110516

Ref country code: FI

Free format text: LAPSE BECAUSE OF FAILURE TO SUBMIT A TRANSLATION OF THE DESCRIPTION OR TO PAY THE FEE WITHIN THE PRESCRIBED TIME-LIMIT

Effective date: 20110216

REG Reference to a national code

Ref country code: IE

Ref legal event code: FD4D

PG25 Lapsed in a contracting state [announced via postgrant information from national office to epo]

Ref country code: EE

Free format text: LAPSE BECAUSE OF FAILURE TO SUBMIT A TRANSLATION OF THE DESCRIPTION OR TO PAY THE FEE WITHIN THE PRESCRIBED TIME-LIMIT

Effective date: 20110216

Ref country code: DK

Free format text: LAPSE BECAUSE OF FAILURE TO SUBMIT A TRANSLATION OF THE DESCRIPTION OR TO PAY THE FEE WITHIN THE PRESCRIBED TIME-LIMIT

Effective date: 20110216

Ref country code: IE

Free format text: LAPSE BECAUSE OF FAILURE TO SUBMIT A TRANSLATION OF THE DESCRIPTION OR TO PAY THE FEE WITHIN THE PRESCRIBED TIME-LIMIT

Effective date: 20110216

PG25 Lapsed in a contracting state [announced via postgrant information from national office to epo]

Ref country code: SK

Free format text: LAPSE BECAUSE OF FAILURE TO SUBMIT A TRANSLATION OF THE DESCRIPTION OR TO PAY THE FEE WITHIN THE PRESCRIBED TIME-LIMIT

Effective date: 20110216

Ref country code: CZ

Free format text: LAPSE BECAUSE OF FAILURE TO SUBMIT A TRANSLATION OF THE DESCRIPTION OR TO PAY THE FEE WITHIN THE PRESCRIBED TIME-LIMIT

Effective date: 20110216

PLBE No opposition filed within time limit

Free format text: ORIGINAL CODE: 0009261

STAA Information on the status of an ep patent application or granted ep patent

Free format text: STATUS: NO OPPOSITION FILED WITHIN TIME LIMIT

26N No opposition filed

Effective date: 20111117

REG Reference to a national code

Ref country code: DE

Ref legal event code: R097

Ref document number: 50214911

Country of ref document: DE

Effective date: 20111117

BERE Be: lapsed

Owner name: GRETSCH-UNITAS G.M.B.H. BAUBESCHLAGE

Effective date: 20111130

PG25 Lapsed in a contracting state [announced via postgrant information from national office to epo]

Ref country code: IT

Free format text: LAPSE BECAUSE OF FAILURE TO SUBMIT A TRANSLATION OF THE DESCRIPTION OR TO PAY THE FEE WITHIN THE PRESCRIBED TIME-LIMIT

Effective date: 20110216

PG25 Lapsed in a contracting state [announced via postgrant information from national office to epo]

Ref country code: MC

Free format text: LAPSE BECAUSE OF NON-PAYMENT OF DUE FEES

Effective date: 20111130

GBPC Gb: european patent ceased through non-payment of renewal fee

Effective date: 20111108

REG Reference to a national code

Ref country code: FR

Ref legal event code: ST

Effective date: 20120731

PG25 Lapsed in a contracting state [announced via postgrant information from national office to epo]

Ref country code: BE

Free format text: LAPSE BECAUSE OF NON-PAYMENT OF DUE FEES

Effective date: 20111130

PG25 Lapsed in a contracting state [announced via postgrant information from national office to epo]

Ref country code: GB

Free format text: LAPSE BECAUSE OF NON-PAYMENT OF DUE FEES

Effective date: 20111108

PG25 Lapsed in a contracting state [announced via postgrant information from national office to epo]

Ref country code: FR

Free format text: LAPSE BECAUSE OF NON-PAYMENT OF DUE FEES

Effective date: 20111130

PG25 Lapsed in a contracting state [announced via postgrant information from national office to epo]

Ref country code: LU

Free format text: LAPSE BECAUSE OF NON-PAYMENT OF DUE FEES

Effective date: 20111108

PG25 Lapsed in a contracting state [announced via postgrant information from national office to epo]

Ref country code: TR

Free format text: LAPSE BECAUSE OF FAILURE TO SUBMIT A TRANSLATION OF THE DESCRIPTION OR TO PAY THE FEE WITHIN THE PRESCRIBED TIME-LIMIT

Effective date: 20110216

PGFP Annual fee paid to national office [announced via postgrant information from national office to epo]

Ref country code: CH

Payment date: 20141119

Year of fee payment: 13

REG Reference to a national code

Ref country code: CH

Ref legal event code: PL

PG25 Lapsed in a contracting state [announced via postgrant information from national office to epo]

Ref country code: CH

Free format text: LAPSE BECAUSE OF NON-PAYMENT OF DUE FEES

Effective date: 20151130

Ref country code: LI

Free format text: LAPSE BECAUSE OF NON-PAYMENT OF DUE FEES

Effective date: 20151130

PGFP Annual fee paid to national office [announced via postgrant information from national office to epo]

Ref country code: DE

Payment date: 20191121

Year of fee payment: 18

PGFP Annual fee paid to national office [announced via postgrant information from national office to epo]

Ref country code: AT

Payment date: 20191121

Year of fee payment: 18

REG Reference to a national code

Ref country code: DE

Ref legal event code: R119

Ref document number: 50214911

Country of ref document: DE

REG Reference to a national code

Ref country code: AT

Ref legal event code: MM01

Ref document number: 498754

Country of ref document: AT

Kind code of ref document: T

Effective date: 20201108

PG25 Lapsed in a contracting state [announced via postgrant information from national office to epo]

Ref country code: AT

Free format text: LAPSE BECAUSE OF NON-PAYMENT OF DUE FEES

Effective date: 20201108

PG25 Lapsed in a contracting state [announced via postgrant information from national office to epo]

Ref country code: DE

Free format text: LAPSE BECAUSE OF NON-PAYMENT OF DUE FEES

Effective date: 20210601