EP1308591B1 - Scharnier - Google Patents
Scharnier Download PDFInfo
- Publication number
- EP1308591B1 EP1308591B1 EP02021585A EP02021585A EP1308591B1 EP 1308591 B1 EP1308591 B1 EP 1308591B1 EP 02021585 A EP02021585 A EP 02021585A EP 02021585 A EP02021585 A EP 02021585A EP 1308591 B1 EP1308591 B1 EP 1308591B1
- Authority
- EP
- European Patent Office
- Prior art keywords
- arm
- folding
- hinge
- fixing
- hinge according
- Prior art date
- Legal status (The legal status is an assumption and is not a legal conclusion. Google has not performed a legal analysis and makes no representation as to the accuracy of the status listed.)
- Expired - Lifetime
Links
- 238000007373 indentation Methods 0.000 claims 2
- 238000005553 drilling Methods 0.000 description 5
- 238000004519 manufacturing process Methods 0.000 description 1
Images
Classifications
-
- E—FIXED CONSTRUCTIONS
- E05—LOCKS; KEYS; WINDOW OR DOOR FITTINGS; SAFES
- E05D—HINGES OR SUSPENSION DEVICES FOR DOORS, WINDOWS OR WINGS
- E05D3/00—Hinges with pins
- E05D3/06—Hinges with pins with two or more pins
- E05D3/12—Hinges with pins with two or more pins with two parallel pins and one arm
-
- E—FIXED CONSTRUCTIONS
- E05—LOCKS; KEYS; WINDOW OR DOOR FITTINGS; SAFES
- E05D—HINGES OR SUSPENSION DEVICES FOR DOORS, WINDOWS OR WINGS
- E05D3/00—Hinges with pins
- E05D3/06—Hinges with pins with two or more pins
-
- E—FIXED CONSTRUCTIONS
- E05—LOCKS; KEYS; WINDOW OR DOOR FITTINGS; SAFES
- E05D—HINGES OR SUSPENSION DEVICES FOR DOORS, WINDOWS OR WINGS
- E05D15/00—Suspension arrangements for wings
- E05D15/26—Suspension arrangements for wings for folding wings
- E05D15/264—Suspension arrangements for wings for folding wings for bi-fold wings
-
- E—FIXED CONSTRUCTIONS
- E05—LOCKS; KEYS; WINDOW OR DOOR FITTINGS; SAFES
- E05F—DEVICES FOR MOVING WINGS INTO OPEN OR CLOSED POSITION; CHECKS FOR WINGS; WING FITTINGS NOT OTHERWISE PROVIDED FOR, CONCERNED WITH THE FUNCTIONING OF THE WING
- E05F1/00—Closers or openers for wings, not otherwise provided for in this subclass
- E05F1/08—Closers or openers for wings, not otherwise provided for in this subclass spring-actuated, e.g. for horizontally sliding wings
- E05F1/10—Closers or openers for wings, not otherwise provided for in this subclass spring-actuated, e.g. for horizontally sliding wings for swinging wings, e.g. counterbalance
- E05F1/12—Mechanisms in the shape of hinges or pivots, operated by springs
- E05F1/1246—Mechanisms in the shape of hinges or pivots, operated by springs with a coil spring perpendicular to the pivot axis
- E05F1/1253—Mechanisms in the shape of hinges or pivots, operated by springs with a coil spring perpendicular to the pivot axis with a compression spring
-
- E—FIXED CONSTRUCTIONS
- E05—LOCKS; KEYS; WINDOW OR DOOR FITTINGS; SAFES
- E05Y—INDEXING SCHEME ASSOCIATED WITH SUBCLASSES E05D AND E05F, RELATING TO CONSTRUCTION ELEMENTS, ELECTRIC CONTROL, POWER SUPPLY, POWER SIGNAL OR TRANSMISSION, USER INTERFACES, MOUNTING OR COUPLING, DETAILS, ACCESSORIES, AUXILIARY OPERATIONS NOT OTHERWISE PROVIDED FOR, APPLICATION THEREOF
- E05Y2800/00—Details, accessories and auxiliary operations not otherwise provided for
- E05Y2800/40—Physical or chemical protection
- E05Y2800/41—Physical or chemical protection against finger injury
-
- E—FIXED CONSTRUCTIONS
- E05—LOCKS; KEYS; WINDOW OR DOOR FITTINGS; SAFES
- E05Y—INDEXING SCHEME ASSOCIATED WITH SUBCLASSES E05D AND E05F, RELATING TO CONSTRUCTION ELEMENTS, ELECTRIC CONTROL, POWER SUPPLY, POWER SIGNAL OR TRANSMISSION, USER INTERFACES, MOUNTING OR COUPLING, DETAILS, ACCESSORIES, AUXILIARY OPERATIONS NOT OTHERWISE PROVIDED FOR, APPLICATION THEREOF
- E05Y2900/00—Application of doors, windows, wings or fittings thereof
- E05Y2900/10—Application of doors, windows, wings or fittings thereof for buildings or parts thereof
- E05Y2900/13—Type of wing
- E05Y2900/132—Doors
-
- Y—GENERAL TAGGING OF NEW TECHNOLOGICAL DEVELOPMENTS; GENERAL TAGGING OF CROSS-SECTIONAL TECHNOLOGIES SPANNING OVER SEVERAL SECTIONS OF THE IPC; TECHNICAL SUBJECTS COVERED BY FORMER USPC CROSS-REFERENCE ART COLLECTIONS [XRACs] AND DIGESTS
- Y10—TECHNICAL SUBJECTS COVERED BY FORMER USPC
- Y10S—TECHNICAL SUBJECTS COVERED BY FORMER USPC CROSS-REFERENCE ART COLLECTIONS [XRACs] AND DIGESTS
- Y10S16/00—Miscellaneous hardware, e.g. bushing, carpet fastener, caster, door closer, panel hanger, attachable or adjunct handle, hinge, window sash balance
- Y10S16/43—Hinge mounting bracket
Definitions
- the invention relates to a hinge for a folding flap with a first folding element and a second folding element which in a closed position on a common vertical plane are arranged, for connecting the first folding element with the second folding element comprising a fastening element, a first Arm and a second arm.
- the fastener has a first mounting surface with which it to the first folding element fitting can be fastened.
- the first arm is around a first Swivel axis between a first position and a second position pivotally connected to the fastener.
- the second arm has attachment means on, with which the second arm can be fastened to the second folding element. furthermore it is about a second pivot axis, which is arranged parallel to the first pivot axis is pivotable between a first position and a second position connected to the first arm. In a closed position, the folding elements in each case one abutting edge, which are arranged parallel to one another.
- Such a hinge is shown in FR 1 508 270 with a fastener that has a has first mounting surface and is attachable to a first door. Further the hinge has a first arm pivotable about a pivot axis is connected to the fastening element. Furthermore, a second arm is provided, which can be fastened via fastening means with a second door leaf. About that In addition, the second arm is pivotable about a second pivot axis with the first Arm connected.
- hinges include a first fastener fixedly attached to a surface of the first pleat member and a second fastener fixedly attached to a surface of the second pleat member.
- the two fastening elements are pivotally connected to each other about a pivot axis, which extends along the abutting edges of the folding elements.
- Problems occur when fold flaps and folding doors which are asymmetrical foldably to each other, that is, in which the pivot axis does not extend close to the joint edges, but in which the pivot axis relative to the surface of one of Fa l tele elements displaced parallel to the joint edges is arranged.
- an arm of the first fastening element projects in the plane of the folding element beyond the respective abutment edge.
- the first fastener is pivotally connected to the second fastener.
- the pivot axis has approximately the same distance to the abutting edge of the first folding element as to the second folding element.
- the object of the present invention is to provide a hinge which is asymmetrical Split flaps or folding doors can be used without for A person is in danger of getting hurt if the folding door or the folding door is closed.
- the object is achieved by an aforementioned hinge, wherein the first arm in the first position, which occupies this in the closed position and an open position of the folding lid, a smallest angle to the mounting surface, the first arm in the second position, which assumes this in an intermediate position of the folding lid, enclosing a largest angle to the mounting surface, in the first position of the second arm, which occupies this in the closed position of the Faltdeckels, the first arm and the second arm the smallest angle to each other and include in the second position of the second arm, which occupies this in the open position of the Faltdeckels, the first arm and the second arm enclose the largest angle to each other.
- this hinge in a folding flap or a folding door can thus, starting from a closed position in which the two folding elements on a common Lie flat and the first arm in its first position and the second arm in its first position, the abutting edge of the first folding element is from the second Folding be moved away, the first arm transferred to its second position is and is slightly pivoted relative to the second arm.
- the abutting edge of the first folding element and the abutting edge of the second Folding a gap.
- the first arm starting from the first pivot axis, a lever be formed, by means of a spring element is supported against the fastener.
- the lever serves as a stop against the fastener.
- a simple structure of the hinge especially in a Manufacture of the hinge made of plastic, can be ensured be that the first arm by means of a film hinge is connected to the fastening element.
- a separate spring element can be avoided by the fact that the film hinge is resilient and thus as spring means serves.
- the lock slider achieved with the control contour when the first arm in his second position is convicted, a constant distance to the first pivot axis. This will ensure that the lock slider only when moving out of the Locking recess must be moved against a spring force. in the further course of the pivoting path of the first arm to the second Position, the lock slider is no longer against the spring force moved, so that no torque exerted on the first arm becomes.
- the second attachment means are by a second attachment surface shown, with which the second Arm can be fastened to the second folding element.
- first mounting surface and the second attachment surface is arranged on a common plane, when the first arm in the first position and the second arm is in the first position.
- FIG. 1 shows the individual parts of a hinge according to the invention in an exploded view
- Figure 2 shows the inventive Hinge in assembled state.
- Figures 1 and 2 will be described together below.
- the hinge comprises a fastening element 1, on which a first arm 2 pivotally mounted about a first pivot axis 3 is. With the first arm 2 is a second arm 4 pivotally a second pivot axis 5 is connected.
- the fastening element 1 has a first fastening plate 6, which forms a first fastening surface 7.
- the fastener 1 can be at a first folding a Fold the flap or a folding door, with the first mounting surface 7 on a surface of the first folding element is applied.
- To the fastener 1 against rotation on the To secure the surface of the first folding element are outgoing formed by the first mounting surface 7 securing lugs 8, which dip into a hole in the first folding element can.
- the first mounting plate 6 also has through holes 9, through the fastening screws inserted can be.
- the fastener 1 at the one side facing away from the first attachment surface 7 Joint approach 10, which provided with an opening 11 is.
- the first arm 2 is U-shaped in profile, with a first leg 12 and a second leg 13 of the U-shaped Profiles in the mounted state of the first arm 2, the joint approach 10 enclose.
- a bore 14 which are aligned with the opening 11 in the hinge extension 10.
- a hinge pin 15 sits in the holes 14 and the opening 11, so that the first arm 2 and the fastener 1 pivotally connected to each other.
- a lever 16 is formed.
- a coil spring 17 relies on the one hand against the lever 16 and on the other hand against the fastener 1 from.
- the coil spring 17 is inside a bore 18 is guided in the hinge extension 10 and supports against the bottom of the bore 16 from.
- the first arm 2 is thus biased toward a first position, in the first arm 2 a smallest angle to the first mounting surface 7 takes.
- the first arm 2 can be out of this Position against the spring force of the coil spring 17 in a second Transfer position in which the first arm 2 a largest Angle to the first mounting surface 7 occupies.
- the lever 16 is like the entire first arm 2 U-shaped design and forms Support surfaces 19, 20, which in the second position of the first Arms 2 are supported against the first mounting plate 6. Thus, the pivotal path of the first arm 2 is limited.
- the second arm 4 has a connecting portion 22, in a bore 23 is provided.
- the bore 23 is coaxial arranged to the second pivot axis 5.
- the first leg 12 and the second leg 13 of the first arm 2 enclose the Connecting portion 22, wherein bores 24 in the two Legs 12, 13 with the bore 23 of the connecting portion 22 are aligned.
- In the holes 24 and the bore 23 is seated second hinge pin 21, so that the first arm 2 and the second Arm 4 are pivotally connected together.
- the illustrated Position is the second arm 4 in a first Position relative to the first arm 2, in which the first arm second and the second arm 4 occupy a smallest angle to each other.
- the second arm 4 has a fastening section 25.
- the second mounting plate 26 With the second mounting plate 26, the second arm 4 on a second folding element the folding flap or the folding door are attached, wherein the second attachment surface 27 on a surface of the second Folding element rests.
- Securing lugs 28 molded, which in the assembled state of Hinge protrude into holes of the second folding element.
- FIG. 3 shows a folding flap with a first folding element 30 and a second folding member 31 vertically stacked are arranged.
- the first folding element 30 is at its vertical the upper end pivotally connected to a body of a piece of furniture.
- a hinge according to Figures 1 and 2 is attached. Matching components of the hinge are given the same reference numerals provided and described in Figures 1 and 2.
- the second attachment surface 27 of the second attachment plate 26 is flat against the first surface 32.
- a second surface 33 of the second folding element 31 is the fastening element 1 attached.
- the first attachment surface 7 of the fastener 1 lies flat on a second Surface 33 of the second folding element 31 at.
- the folding elements 31, 32nd in a normal position of the closed position.
- the first attachment surface 7 and the second attachment surface 27 on a common plane.
- the second pivot axis 5 at a distance to a first abutting edge 34 of the first folding element 30 and to a second abutting edge 35 of the second folding element 31 is arranged.
- the two abutting edges 34, 35 of the folding elements 30, 31 run parallel to each other.
- the pivot axis is approximately equal to the two abutting edges of Folding elements.
- FIG. 4 shows the folding flap according to FIG. 3 in an anti-pinch position the closed position.
- the first folding element 30 is in the same position as in Figure 3.
- the first arm 2 is transferred to its second position, in which he the largest angle to the first mounting surface. 7 of the fastener 1 occupies.
- the first arm 2 and the second arm 4 in an intermediate position to each other, in which the two arms 2, 4 a larger angle enclose each other as shown in Figure 3.
- the mounting surface 7 of the fastener 1 and the mounting surface 27 of the second attachment plate 26 are thereby arranged at an angle to each other; as well as the first Surface 32 of the first folding element 30 and the second surface 33 of the second folding element 31.
- the two abutting edges 34, 35 of the folding elements 30, 31 a gap, which is big enough that a person with his fingers can reach into the gap without jamming.
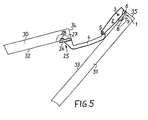
- FIG. 5 shows the folding flap according to FIG. 3 in an open position.
- the first arm 2 is in his first position in which he has the same angular position to Fastener 1 occupies as in the closed position according to Figure 3.
- the second arm 4 is located relative to the first Arm 2 in its second position, in which the two arms 2, 4 take the biggest angle to each other.
- the second folding element 31 is thus about the pivot axis 5 to the first folding element 30 folded up, wherein the first folding element 30 to the Swivel axis to which it is connected to the body of the furniture is, is pivoted upwards.
- FIG. 6 shows a further embodiment of a hinge.
- Components associated with components of the hinge according to the figures 1 to match 5, are provided with reference numerals to are increased to 100, and described in Figures 1 to 5.
- FIG. 6 is described below together with FIG. 7, the first arm 102 in a different perspective shows.
- the Fastener 101 and the first arm 102 are integrally formed.
- the fastener 101 and the first arm 102nd are integral with the fastener via film hinges 36 101 connected.
- the film hinges 27 serve for a to, the first arm 102 hinged to the fastener 101 to connect.
- the film hinge 36 is elastic formed so that the first arm 102 toward his first position is charged.
- the first arm 102 has a first rib 37 and a second rib 38, which in each case via the film hinges 36 are connected to the fastener 101 and the in Direction of the second pivot axis 5 spaced from each other are.
- the first rib 37 and the second rib 38 are further connected by a web 39 with each other.
- the first rib 37, the second rib 38 and the web 39 thus form a recess, into the first arm 104 in its first position can dive.
- the first arm 104 is in this case both with the first rib 37 as well as the second rib 38 of the first Arms 102 pivotally connected. This will be an embodiment allows starting from the first mounting surface 107 has a lower height. Also let the components are made of plastic.
- FIG. 8 shows the individual parts of a further embodiment a hinge according to the invention in an exploded view.
- a lock slider 40 is displaceable guided. This is supported by a coil spring 217 against the second arm 204 from.
- the lock slider 40 a Centering lug 41, which in the turns of the coil spring 217 is led into it.
- the lock slider 40 has further a footprint 43, with the lock slider 40th by means of the coil spring 217 against a setting contour 44 of the fastening element 201 is supported. In the first position of the first arm 202 engages the lock slider 40 with his Footprint 43 in a locking recess 45 a.
- the setting contour 44 has, starting from the latching recess 45, a constant Distance from the first pivot axis 203, so that when pivoting the first arm 202 to the second position of the lock slider 40 is not moved against the spring force of the coil spring 217 must be so that no torque on the first arm 202th is exercised.
- the lock slider 40 Located in the second position of the first arm 202 the lock slider 40 in abutment with an end stop 46 of the adjusting contour 44.
Landscapes
- Engineering & Computer Science (AREA)
- Mechanical Engineering (AREA)
- Hinges (AREA)
- Vehicle Step Arrangements And Article Storage (AREA)
- Pivots And Pivotal Connections (AREA)
Priority Applications (1)
| Application Number | Priority Date | Filing Date | Title |
|---|---|---|---|
| DK02021585T DK1308591T3 (da) | 2001-10-30 | 2002-09-27 | Hængsel |
Applications Claiming Priority (4)
| Application Number | Priority Date | Filing Date | Title |
|---|---|---|---|
| DE10152436 | 2001-10-30 | ||
| DE10152436A DE10152436C1 (de) | 2001-12-14 | 2001-10-30 | Scharnier |
| DE10161645A DE10161645C2 (de) | 2001-10-30 | 2001-12-14 | Scharnier |
| DE10161645 | 2001-12-14 |
Publications (2)
| Publication Number | Publication Date |
|---|---|
| EP1308591A1 EP1308591A1 (de) | 2003-05-07 |
| EP1308591B1 true EP1308591B1 (de) | 2005-02-09 |
Family
ID=7709319
Family Applications (1)
| Application Number | Title | Priority Date | Filing Date |
|---|---|---|---|
| EP02021585A Expired - Lifetime EP1308591B1 (de) | 2001-10-30 | 2002-09-27 | Scharnier |
Country Status (12)
| Country | Link |
|---|---|
| US (1) | US7520023B2 (enExample) |
| EP (1) | EP1308591B1 (enExample) |
| JP (1) | JP4005024B2 (enExample) |
| KR (1) | KR100571462B1 (enExample) |
| CN (1) | CN100360759C (enExample) |
| AT (1) | ATE288988T1 (enExample) |
| CA (1) | CA2462936A1 (enExample) |
| DE (3) | DE10152436C1 (enExample) |
| DK (1) | DK1308591T3 (enExample) |
| ES (1) | ES2234967T3 (enExample) |
| PT (1) | PT1308591E (enExample) |
| WO (1) | WO2003038218A1 (enExample) |
Cited By (1)
| Publication number | Priority date | Publication date | Assignee | Title |
|---|---|---|---|---|
| DE102015117021B3 (de) * | 2015-10-06 | 2016-09-22 | Samet Kalip Ve Maden Esya San. Ve Tic. A.S. | Scharnier für eine Faltklappe |
Families Citing this family (13)
| Publication number | Priority date | Publication date | Assignee | Title |
|---|---|---|---|---|
| DE10335709A1 (de) * | 2003-08-05 | 2005-02-24 | Hetal-Werke Franz Hettich Gmbh & Co | Scharnier zum gelenkigen Verbinden zweier Faltelemente einer Faltklappe oder Falttüre |
| DE102004055481B3 (de) * | 2004-11-17 | 2005-11-17 | Hetal-Werke Franz Hettich Gmbh & Co | Scharnier zum gelenkigen Verbinden zweier Faltelemente einer Faltklappe oder Falttüre |
| ITTV20040142A1 (it) * | 2004-11-26 | 2005-02-26 | Perin Spa | Cerniera di sicurezza, per dispositivo d'apertura verticale di due antine tra loro incernierate, di cui una prima antina fulcrata al mobile d'arredamento. |
| US8375520B2 (en) * | 2008-10-14 | 2013-02-19 | Craft, Inc. a Massachusettes Corporation | Back closure |
| JP2010185232A (ja) * | 2009-02-13 | 2010-08-26 | Takigen Mfg Co Ltd | ヒンジ装置 |
| DE102009045095C5 (de) * | 2009-09-29 | 2019-04-18 | Fresenius Medical Care Deutschland Gmbh | Gehäuse mit Verschlussklappe |
| KR101143762B1 (ko) * | 2010-03-22 | 2012-05-11 | 박장호 | 은폐형 도어 힌지 |
| DE102011107957B4 (de) * | 2011-07-20 | 2012-04-19 | Rittal Gmbh & Co. Kg | Scharnierbauteil mit Clipbefestigung |
| AU2016413288A1 (en) * | 2016-06-27 | 2019-01-17 | Po-Kung LO | Folding and unfolding structure of blade of ceiling fan |
| US20220170301A1 (en) * | 2016-11-10 | 2022-06-02 | John B Lampsa | Cargo containment structure 360 degree door system |
| CN107226276B (zh) * | 2017-07-06 | 2019-06-11 | 北京吾天科技有限公司 | 一种保护盖开合机构 |
| CN111043146A (zh) * | 2019-10-22 | 2020-04-21 | 合肥兰舟智能科技有限公司 | 一种快拆式双轴铰链机构 |
| DE202020106992U1 (de) | 2020-12-04 | 2022-03-07 | Grass Gmbh | Scharnier zum schwenkbaren Verbinden eines ersten Klappenelements und eines zweiten Klappenelements |
Family Cites Families (16)
| Publication number | Priority date | Publication date | Assignee | Title |
|---|---|---|---|---|
| GB413393A (en) * | 1933-02-02 | 1934-07-19 | John Gibbs Ltd | Improvements in hinges |
| DE835714C (de) * | 1950-06-28 | 1952-04-03 | Peter Hesemann | Spaltlueftungsfenster |
| DE935349C (de) * | 1952-04-02 | 1955-11-17 | Hubert Riegels | Verschluss- und Feststellvorrichtung von parallelzuruecksetzbaren und anschliessend schwenkbaren Fluegeln von Fenstern, Tueren od. dgl. mit einer Hubvorrichtung |
| FR1508270A (fr) * | 1966-11-22 | 1968-01-05 | Charnière double invisible permettant l'ouverture à 180 deg. d'une porte en applique | |
| DE2918659A1 (de) * | 1979-05-09 | 1980-11-20 | Praemeta | Weitwinkel-scharnier, insbesondere moebelscharnier |
| EP0027481A1 (en) * | 1979-10-23 | 1981-04-29 | P.C. Henderson Group Ltd. | Door hinge mechanism and sectional slide-over door equipped with such a hinge |
| AT375139B (de) * | 1980-09-26 | 1984-07-10 | Lautenschlaeger Kg Karl | Einstecktopf fuer gelenkscharniere |
| AT372152B (de) * | 1981-12-24 | 1983-09-12 | Blum Gmbh Julius | Zwischenstueck fuer eine zuhalteeinrichtung eines moebelscharnieres |
| AT379851B (de) * | 1983-03-21 | 1986-03-10 | Blum Gmbh Julius | Scharnier, insbesondere fuer moebeltueren |
| AT383642B (de) * | 1984-08-24 | 1987-07-27 | Blum Gmbh Julius | Scharniertopf |
| US4736491A (en) * | 1986-08-01 | 1988-04-12 | Mertes Paul M | Flush mounted, fully concealed cabinet hinges |
| GB2209558B (en) * | 1987-09-05 | 1992-04-01 | Universal Panels | Rear face hinge assembly |
| US4837894A (en) * | 1988-05-23 | 1989-06-13 | Lin Tsong Chi | Spring biased arm snap-toggle hinge |
| DE3915502A1 (de) * | 1989-05-12 | 1990-11-15 | Roland Dipl Ing Knauer | Scharnier-einrichtung |
| TW363106B (en) * | 1997-02-25 | 1999-07-01 | Sugatsune Kogyo | Twisting chain |
| CN2415113Y (zh) * | 2000-01-26 | 2001-01-17 | 何伟佳 | 合页式通用铰链 |
-
2001
- 2001-10-30 DE DE10152436A patent/DE10152436C1/de not_active Expired - Fee Related
- 2001-12-14 DE DE10161645A patent/DE10161645C2/de not_active Expired - Fee Related
-
2002
- 2002-09-27 EP EP02021585A patent/EP1308591B1/de not_active Expired - Lifetime
- 2002-09-27 DK DK02021585T patent/DK1308591T3/da active
- 2002-09-27 DE DE50202202T patent/DE50202202D1/de not_active Expired - Lifetime
- 2002-09-27 CA CA002462936A patent/CA2462936A1/en not_active Abandoned
- 2002-09-27 ES ES02021585T patent/ES2234967T3/es not_active Expired - Lifetime
- 2002-09-27 CN CNB028213661A patent/CN100360759C/zh not_active Expired - Lifetime
- 2002-09-27 AT AT02021585T patent/ATE288988T1/de active
- 2002-09-27 PT PT02021585T patent/PT1308591E/pt unknown
- 2002-09-27 JP JP2003540469A patent/JP4005024B2/ja not_active Expired - Fee Related
- 2002-09-27 US US10/491,407 patent/US7520023B2/en not_active Expired - Lifetime
- 2002-09-27 WO PCT/EP2002/010876 patent/WO2003038218A1/de not_active Ceased
- 2002-09-27 KR KR1020047006367A patent/KR100571462B1/ko not_active Expired - Fee Related
Cited By (1)
| Publication number | Priority date | Publication date | Assignee | Title |
|---|---|---|---|---|
| DE102015117021B3 (de) * | 2015-10-06 | 2016-09-22 | Samet Kalip Ve Maden Esya San. Ve Tic. A.S. | Scharnier für eine Faltklappe |
Also Published As
| Publication number | Publication date |
|---|---|
| CA2462936A1 (en) | 2003-05-08 |
| US20050005398A1 (en) | 2005-01-13 |
| WO2003038218A8 (de) | 2004-06-03 |
| PT1308591E (pt) | 2005-06-30 |
| ATE288988T1 (de) | 2005-02-15 |
| CN1575369A (zh) | 2005-02-02 |
| DE10161645A1 (de) | 2003-06-26 |
| EP1308591A1 (de) | 2003-05-07 |
| JP4005024B2 (ja) | 2007-11-07 |
| US7520023B2 (en) | 2009-04-21 |
| DE50202202D1 (de) | 2005-03-17 |
| WO2003038218A1 (de) | 2003-05-08 |
| KR100571462B1 (ko) | 2006-04-17 |
| ES2234967T3 (es) | 2005-07-01 |
| JP2005507472A (ja) | 2005-03-17 |
| CN100360759C (zh) | 2008-01-09 |
| DE10161645C2 (de) | 2003-12-24 |
| DK1308591T3 (da) | 2005-05-02 |
| DE10152436C1 (de) | 2003-04-10 |
| KR20040060953A (ko) | 2004-07-06 |
Similar Documents
| Publication | Publication Date | Title |
|---|---|---|
| EP1308591B1 (de) | Scharnier | |
| DE69922901T2 (de) | Schnappscharnier zum Tragen von Türpaneelen | |
| EP3580420B1 (de) | Möbelscharnier mit einem sperrelement für einen lineardämpfer | |
| DE202010015092U1 (de) | Möbelbeschlag und Möbel | |
| DE10323174A1 (de) | Stangenhaltevorrichtung | |
| DE202010015094U1 (de) | Möbelbeschlag und Möbel | |
| EP0620346B1 (de) | Scharnier zur gelenkigen Verbindung zweier Teilflügel eines Türflügels | |
| DE29602424U1 (de) | Tragteil für ein Verschlußelement, vorzugsweise für einen Türflügel einer Faltschiebetür | |
| EP0383003B1 (de) | Feststellvorrichtung für die Flügel von Festern, Türen od. dgl. | |
| DE202012005738U1 (de) | Verschluß für ein Möbel oder ein Gerät | |
| EP0097177A1 (de) | Scharnier | |
| DE2800985A1 (de) | Scherenaussteller fuer schrankklappen | |
| DE3874729T2 (de) | Scharnier. | |
| EP1291481B1 (de) | Scharnier | |
| EP3569806A1 (de) | Deckelbeschlag zum schwenkbaren befestigen eines möbeldeckels an einem möbelkorpus | |
| DE60203732T2 (de) | Gegengewicht-scharnier-vorrichtung mit vertikalbewegung für eine tür | |
| DE10237353B4 (de) | Halteelement | |
| EP0543190B1 (de) | In ausgeschwenkter Position selbsttätig arretierbares Scharnier | |
| DE102021102435B4 (de) | Scharnieranordnung mit Dämpfungsvorrichtung | |
| EP0003323B1 (de) | Scharnier | |
| EP0590258A1 (de) | Scharnierbeschlag für Fenster, Türen od. dgl. | |
| EP3623558B1 (de) | Deckelbeschlag zum schwenkbaren befestigen eines deckels an einem möbelkorpus | |
| DE19809274C2 (de) | Scharnier für Möbeltüren | |
| DE60318051T2 (de) | Verriegelungsvorrichtung für ein tragbares elektronisches Gerät | |
| EP0450626A1 (de) | Zweiteiliges Scharnier für eine Klappe vorzugsweise an einem MÀ¶belteil |
Legal Events
| Date | Code | Title | Description |
|---|---|---|---|
| PUAI | Public reference made under article 153(3) epc to a published international application that has entered the european phase |
Free format text: ORIGINAL CODE: 0009012 |
|
| AK | Designated contracting states |
Designated state(s): AT BE BG CH CY CZ DE DK EE ES FI FR GB GR IE IT LI LU MC NL PT SE SK TR |
|
| AX | Request for extension of the european patent |
Extension state: AL LT LV MK RO SI |
|
| 17P | Request for examination filed |
Effective date: 20030922 |
|
| AKX | Designation fees paid |
Designated state(s): AT BE BG CH CY CZ DE DK EE ES FI FR GB GR IE IT LI LU MC NL PT SE SK TR |
|
| AXX | Extension fees paid |
Extension state: RO Payment date: 20030922 Extension state: SI Payment date: 20030922 |
|
| 17Q | First examination report despatched |
Effective date: 20040316 |
|
| GRAP | Despatch of communication of intention to grant a patent |
Free format text: ORIGINAL CODE: EPIDOSNIGR1 |
|
| GRAS | Grant fee paid |
Free format text: ORIGINAL CODE: EPIDOSNIGR3 |
|
| GRAA | (expected) grant |
Free format text: ORIGINAL CODE: 0009210 |
|
| AK | Designated contracting states |
Kind code of ref document: B1 Designated state(s): AT BE BG CH CY CZ DE DK EE ES FI FR GB GR IE IT LI LU MC NL PT SE SK TR |
|
| AX | Request for extension of the european patent |
Extension state: RO SI |
|
| REG | Reference to a national code |
Ref country code: GB Ref legal event code: FG4D Free format text: NOT ENGLISH |
|
| RBV | Designated contracting states (corrected) |
Designated state(s): AT BE DE DK ES FR GB IT NL PT SE TR |
|
| REG | Reference to a national code |
Ref country code: IE Ref legal event code: FG4D Free format text: GERMAN |
|
| REF | Corresponds to: |
Ref document number: 50202202 Country of ref document: DE Date of ref document: 20050317 Kind code of ref document: P |
|
| GBT | Gb: translation of ep patent filed (gb section 77(6)(a)/1977) |
Effective date: 20050322 |
|
| REG | Reference to a national code |
Ref country code: DK Ref legal event code: T3 |
|
| REG | Reference to a national code |
Ref country code: SE Ref legal event code: TRGR |
|
| REG | Reference to a national code |
Ref country code: PT Ref legal event code: SC4A Free format text: AVAILABILITY OF NATIONAL TRANSLATION Effective date: 20050502 |
|
| REG | Reference to a national code |
Ref country code: ES Ref legal event code: FG2A Ref document number: 2234967 Country of ref document: ES Kind code of ref document: T3 |
|
| PLBE | No opposition filed within time limit |
Free format text: ORIGINAL CODE: 0009261 |
|
| STAA | Information on the status of an ep patent application or granted ep patent |
Free format text: STATUS: NO OPPOSITION FILED WITHIN TIME LIMIT |
|
| 26N | No opposition filed |
Effective date: 20051110 |
|
| ET3 | Fr: translation filed ** decision concerning opposition | ||
| PGFP | Annual fee paid to national office [announced via postgrant information from national office to epo] |
Ref country code: DK Payment date: 20070925 Year of fee payment: 6 |
|
| PGFP | Annual fee paid to national office [announced via postgrant information from national office to epo] |
Ref country code: BE Payment date: 20070921 Year of fee payment: 6 Ref country code: NL Payment date: 20070917 Year of fee payment: 6 Ref country code: SE Payment date: 20070924 Year of fee payment: 6 |
|
| PGFP | Annual fee paid to national office [announced via postgrant information from national office to epo] |
Ref country code: FR Payment date: 20070926 Year of fee payment: 6 |
|
| BERE | Be: lapsed |
Owner name: *HUWIL-WERKE G.M.B.H. MOBELSCHLOSS- U. BESCHLAGFAB Effective date: 20080930 |
|
| REG | Reference to a national code |
Ref country code: PT Ref legal event code: MM4A Free format text: LAPSE DUE TO NON-PAYMENT OF FEES Effective date: 20090327 |
|
| REG | Reference to a national code |
Ref country code: DK Ref legal event code: EBP |
|
| PG25 | Lapsed in a contracting state [announced via postgrant information from national office to epo] |
Ref country code: PT Free format text: LAPSE BECAUSE OF NON-PAYMENT OF DUE FEES Effective date: 20090327 Ref country code: NL Free format text: LAPSE BECAUSE OF NON-PAYMENT OF DUE FEES Effective date: 20090401 |
|
| NLV4 | Nl: lapsed or anulled due to non-payment of the annual fee |
Effective date: 20090401 |
|
| REG | Reference to a national code |
Ref country code: FR Ref legal event code: ST Effective date: 20090529 |
|
| PG25 | Lapsed in a contracting state [announced via postgrant information from national office to epo] |
Ref country code: BE Free format text: LAPSE BECAUSE OF NON-PAYMENT OF DUE FEES Effective date: 20080930 |
|
| PG25 | Lapsed in a contracting state [announced via postgrant information from national office to epo] |
Ref country code: FR Free format text: LAPSE BECAUSE OF NON-PAYMENT OF DUE FEES Effective date: 20080930 |
|
| PGFP | Annual fee paid to national office [announced via postgrant information from national office to epo] |
Ref country code: PT Payment date: 20070910 Year of fee payment: 6 |
|
| PG25 | Lapsed in a contracting state [announced via postgrant information from national office to epo] |
Ref country code: DK Free format text: LAPSE BECAUSE OF NON-PAYMENT OF DUE FEES Effective date: 20090331 |
|
| PG25 | Lapsed in a contracting state [announced via postgrant information from national office to epo] |
Ref country code: SE Free format text: LAPSE BECAUSE OF NON-PAYMENT OF DUE FEES Effective date: 20080928 |
|
| REG | Reference to a national code |
Ref country code: GB Ref legal event code: 732E Free format text: REGISTERED BETWEEN 20101007 AND 20101013 |
|
| REG | Reference to a national code |
Ref country code: ES Ref legal event code: PC2A Owner name: TOPLIFTER BETEILIGUNGS-UND VERTRIEBS-GMBH & CO.KG Effective date: 20110217 |
|
| REG | Reference to a national code |
Ref country code: DE Ref legal event code: R081 Ref document number: 50202202 Country of ref document: DE Owner name: HUWIL BUTORIPARI ES UEZIETBERENDEZESI RENDSZER, HU Free format text: FORMER OWNER: HUWIL-WERKE GMBH MOEBELSCHLOSS- UND BESCHLAGFABRIKEN, 53809 RUPPICHTEROTH, DE Effective date: 20110916 Ref country code: DE Ref legal event code: R082 Ref document number: 50202202 Country of ref document: DE Representative=s name: NEUMANN MUELLER OBERWALLENEY & PARTNER PATENTA, DE Effective date: 20110916 Ref country code: DE Ref legal event code: R081 Ref document number: 50202202 Country of ref document: DE Owner name: HUWIL BUTORIPARI ES UEZLETBERENDEZESI RENDSZER, HU Free format text: FORMER OWNER: HUWIL-WERKE GMBH MOEBELSCHLOSS- UND BESCHLAGFABRIKEN, 53809 RUPPICHTEROTH, DE Effective date: 20110916 Ref country code: DE Ref legal event code: R081 Ref document number: 50202202 Country of ref document: DE Owner name: FLAP COMPETENCE CENTER KFT, HU Free format text: FORMER OWNER: HUWIL-WERKE GMBH MOEBELSCHLOSS- UND BESCHLAGFABRIKEN, 53809 RUPPICHTEROTH, DE Effective date: 20110916 |
|
| REG | Reference to a national code |
Ref country code: GB Ref legal event code: 732E Free format text: REGISTERED BETWEEN 20111110 AND 20111116 |
|
| REG | Reference to a national code |
Ref country code: ES Ref legal event code: PC2A Owner name: HUWIL BUTORIPARI ES UZLETBERENDEZESI Effective date: 20120206 |
|
| REG | Reference to a national code |
Ref country code: DE Ref legal event code: R082 Ref document number: 50202202 Country of ref document: DE Representative=s name: NEUMANN MUELLER OBERWALLENEY & PARTNER PATENTA, DE |
|
| REG | Reference to a national code |
Ref country code: DE Ref legal event code: R082 Ref document number: 50202202 Country of ref document: DE Representative=s name: NEUMANN MUELLER OBERWALLENEY & PARTNER PATENTA, DE Effective date: 20120702 Ref country code: DE Ref legal event code: R081 Ref document number: 50202202 Country of ref document: DE Owner name: HUWIL BUTORIPARI ES UEZLETBERENDEZESI RENDSZER, HU Free format text: FORMER OWNER: TOPLIFTER BETEILIGUNGS- UND VERTRIEBS-GMBH & CO. KG, 49152 BAD ESSEN, DE Effective date: 20120702 Ref country code: DE Ref legal event code: R081 Ref document number: 50202202 Country of ref document: DE Owner name: FLAP COMPETENCE CENTER KFT, HU Free format text: FORMER OWNER: TOPLIFTER BETEILIGUNGS- UND VERTRIEBS-GMBH & CO. KG, 49152 BAD ESSEN, DE Effective date: 20120702 |
|
| REG | Reference to a national code |
Ref country code: AT Ref legal event code: PC Ref document number: 288988 Country of ref document: AT Kind code of ref document: T Owner name: HUWIL BUTORIPARI ES UEZLETBERENDEZESI RENDSZER, HU Effective date: 20121005 |
|
| REG | Reference to a national code |
Ref country code: DE Ref legal event code: R082 Ref document number: 50202202 Country of ref document: DE Representative=s name: NEUMANN MUELLER OBERWALLENEY & PARTNER PATENTA, DE |
|
| REG | Reference to a national code |
Ref country code: DE Ref legal event code: R081 Ref document number: 50202202 Country of ref document: DE Owner name: HUWIL BUTORIPARI ES UEZLETBERENDEZESI RENDSZER, HU Free format text: FORMER OWNER: HUWIL BUTORIPARI ES UEZIETBERENDEZESI RENDSZEREK KFT, BUDAPEST, HU Effective date: 20140416 Ref country code: DE Ref legal event code: R082 Ref document number: 50202202 Country of ref document: DE Representative=s name: NEUMANN MUELLER OBERWALLENEY & PARTNER PATENTA, DE Effective date: 20140416 Ref country code: DE Ref legal event code: R081 Ref document number: 50202202 Country of ref document: DE Owner name: FLAP COMPETENCE CENTER KFT, HU Free format text: FORMER OWNER: HUWIL BUTORIPARI ES UEZIETBERENDEZESI RENDSZEREK KFT, BUDAPEST, HU Effective date: 20140416 |
|
| REG | Reference to a national code |
Ref country code: DE Ref legal event code: R082 Ref document number: 50202202 Country of ref document: DE Representative=s name: NEUMANN MUELLER OBERWALLENEY & PARTNER PATENTA, DE |
|
| REG | Reference to a national code |
Ref country code: DE Ref legal event code: R082 Ref document number: 50202202 Country of ref document: DE Representative=s name: NEUMANN MUELLER OBERWALLENEY & PARTNER PATENTA, DE Effective date: 20150511 Ref country code: DE Ref legal event code: R081 Ref document number: 50202202 Country of ref document: DE Owner name: FLAP COMPETENCE CENTER KFT, HU Free format text: FORMER OWNER: HUWIL BUTORIPARI ES UEZLETBERENDEZESI RENDSZEREK KFT, BUDAPEST, HU Effective date: 20150511 |
|
| REG | Reference to a national code |
Ref country code: AT Ref legal event code: HC Ref document number: 288988 Country of ref document: AT Kind code of ref document: T Owner name: FLAP COMPETENCE CENTER KORLATOLT FELELOSSEGUE , HU Effective date: 20160816 |
|
| REG | Reference to a national code |
Ref country code: ES Ref legal event code: PC2A Owner name: FLAP COMPETENCE CENTER KORLATOLT FELELOESSEGUE TAR Effective date: 20161116 |
|
| PGFP | Annual fee paid to national office [announced via postgrant information from national office to epo] |
Ref country code: IT Payment date: 20210930 Year of fee payment: 20 Ref country code: AT Payment date: 20210917 Year of fee payment: 20 |
|
| PGFP | Annual fee paid to national office [announced via postgrant information from national office to epo] |
Ref country code: GB Payment date: 20210923 Year of fee payment: 20 Ref country code: TR Payment date: 20210922 Year of fee payment: 20 Ref country code: DE Payment date: 20210921 Year of fee payment: 20 |
|
| PGFP | Annual fee paid to national office [announced via postgrant information from national office to epo] |
Ref country code: ES Payment date: 20211019 Year of fee payment: 20 |
|
| REG | Reference to a national code |
Ref country code: DE Ref legal event code: R071 Ref document number: 50202202 Country of ref document: DE |
|
| REG | Reference to a national code |
Ref country code: ES Ref legal event code: FD2A Effective date: 20221004 |
|
| REG | Reference to a national code |
Ref country code: GB Ref legal event code: PE20 Expiry date: 20220926 |
|
| PG25 | Lapsed in a contracting state [announced via postgrant information from national office to epo] |
Ref country code: GB Free format text: LAPSE BECAUSE OF EXPIRATION OF PROTECTION Effective date: 20220926 Ref country code: ES Free format text: LAPSE BECAUSE OF EXPIRATION OF PROTECTION Effective date: 20220928 |
|
| REG | Reference to a national code |
Ref country code: AT Ref legal event code: MK07 Ref document number: 288988 Country of ref document: AT Kind code of ref document: T Effective date: 20220927 |
|
| P01 | Opt-out of the competence of the unified patent court (upc) registered |
Effective date: 20230320 |