EP1190974B1 - Spulmaschine für insbesondere empfindliches Spulgut - Google Patents
Spulmaschine für insbesondere empfindliches Spulgut Download PDFInfo
- Publication number
- EP1190974B1 EP1190974B1 EP01121322A EP01121322A EP1190974B1 EP 1190974 B1 EP1190974 B1 EP 1190974B1 EP 01121322 A EP01121322 A EP 01121322A EP 01121322 A EP01121322 A EP 01121322A EP 1190974 B1 EP1190974 B1 EP 1190974B1
- Authority
- EP
- European Patent Office
- Prior art keywords
- roller
- winding
- bending
- cantilever
- spulgut
- Prior art date
- Legal status (The legal status is an assumption and is not a legal conclusion. Google has not performed a legal analysis and makes no representation as to the accuracy of the status listed.)
- Expired - Lifetime
Links
- 238000004804 winding Methods 0.000 title claims abstract description 75
- 239000000463 material Substances 0.000 title claims description 16
- 238000005452 bending Methods 0.000 claims abstract description 65
- 238000007572 expansion measurement Methods 0.000 abstract 1
- 238000005303 weighing Methods 0.000 abstract 1
- 238000011156 evaluation Methods 0.000 description 6
- 238000009434 installation Methods 0.000 description 2
- 238000000034 method Methods 0.000 description 2
- 238000011144 upstream manufacturing Methods 0.000 description 2
- 229920000049 Carbon (fiber) Polymers 0.000 description 1
- 239000004917 carbon fiber Substances 0.000 description 1
- 230000003247 decreasing effect Effects 0.000 description 1
- 238000013461 design Methods 0.000 description 1
- 238000006073 displacement reaction Methods 0.000 description 1
- 239000000428 dust Substances 0.000 description 1
- 238000005516 engineering process Methods 0.000 description 1
- 239000003365 glass fiber Substances 0.000 description 1
- 238000004519 manufacturing process Methods 0.000 description 1
- 238000005259 measurement Methods 0.000 description 1
- 238000012545 processing Methods 0.000 description 1
- 230000003313 weakening effect Effects 0.000 description 1
Images
Classifications
-
- B—PERFORMING OPERATIONS; TRANSPORTING
- B65—CONVEYING; PACKING; STORING; HANDLING THIN OR FILAMENTARY MATERIAL
- B65H—HANDLING THIN OR FILAMENTARY MATERIAL, e.g. SHEETS, WEBS, CABLES
- B65H59/00—Adjusting or controlling tension in filamentary material, e.g. for preventing snarling; Applications of tension indicators
- B65H59/40—Applications of tension indicators
-
- B—PERFORMING OPERATIONS; TRANSPORTING
- B65—CONVEYING; PACKING; STORING; HANDLING THIN OR FILAMENTARY MATERIAL
- B65H—HANDLING THIN OR FILAMENTARY MATERIAL, e.g. SHEETS, WEBS, CABLES
- B65H2553/00—Sensing or detecting means
- B65H2553/20—Sensing or detecting means using electric elements
- B65H2553/21—Variable resistances, e.g. rheostats, potentiometers or strain gauges
-
- B—PERFORMING OPERATIONS; TRANSPORTING
- B65—CONVEYING; PACKING; STORING; HANDLING THIN OR FILAMENTARY MATERIAL
- B65H—HANDLING THIN OR FILAMENTARY MATERIAL, e.g. SHEETS, WEBS, CABLES
- B65H2701/00—Handled material; Storage means
- B65H2701/30—Handled filamentary material
- B65H2701/31—Textiles threads or artificial strands of filaments
Definitions
- the invention relates to a winding machine for a feed device supplied, in particular sensitive Spulgut, with a driven winding spindle, a traversing device and means for detecting one of the voltages in Spulgut proportional signal, a sensor, a movable cantilever and a mounted at the free end has only role over which the Spulgut between the Feeding device and the traversing device under Avoiding further pulleys is guided directly.
- the Feeding device is often not part of the winder, but is in the end of one of the winder upstream manufacturing plant, z. B. a spin line, a finishing plant o. The like. Realized. But it can too a separate inlet with guide rollers on the winder be provided.
- a winding machine of the type described above is from the US 4,546,656. At the winder is via a feeder fed Spulgut, with one over a Motor driven winding spindle and a traversing device in Form of a spiral wound up. Between an applicator and The spiral is a device for determining one of the voltage in Spulgut proportional signal and to display this Voltage provided a movable cantilever in the form of a Bending beam and at least two arranged on the bending beam Pointer and at least two associated and mounted on the housing side Has sensors. The two pairs each from a pointer and a sensor are placed in 90 ° arrangement to each other.
- the movable cantilever At the free end of the movable cantilever is a single role stored over which the Spulgut between the feeder and the traversing device while avoiding further Guide rollers is guided directly.
- a Evaluation electronics for the generation and processing of Provided signals that are supplied to the display.
- the device for determining the voltage in the product to be spooled Signal is elaborately designed and requires an the measurement adapted in the two levels appropriate Evaluation.
- the drive requires the winding spindle one independent of the determination of the voltage signals additional control.
- the winding machine has a winding spindle, which has a variable drive is driven. On the winding spindle is a sleeve attached, which receives the winding material to be wound up.
- the Spulgut is using a traversing device or a other Fadenleitwerkes distributed distributed on the sleeve. In front the traversing device is a Tänzerarm issued, the one of the voltage (tensile force) in Spulgut proportional signal determined and used to control the drive of the winding spindle.
- the known Tänzerarman extract has two stationary arranged pulleys and between these a movable Dancer arm up.
- the Spulgut wrapped around these three roles by type a pulley arrangement A change in the thread tension causes a movement of the dancer arm, the size and direction is detected. This signal is used as a manipulated variable in one Used loop, the drive motor influenced so is that the tension in the Spulgut again their original Takes value.
- the tension in the Spulgut is ansich by the Dancer arm self generated. For this purpose, the dancer arm is over affects a spring force and / or a weight force. The on On the other hand, this tension generated in the product to be spooled must be avoided during the process Winding applied by the drive motor of the winding spindle or be overcome.
- the torque delivered by the drive motor on the winding spindle depends on the control voltage of the Motor and the speed according to the motor characteristic. It there is a torque control.
- the speed of the winding spindle depends on the delivery speed of the material to be spooled and of the diameter of forming on the winding spindle Kitchen sink.
- a winding machine for a with constant speed running thread known.
- the dishwasher has a traversing device for reciprocating the thread transverse to its direction. It is a winding spindle provided, which is driven by a motor.
- a device for determining one of the stresses in the product to be cooked Signal also serves here a Tänzerarm adopted of two stationary pulleys and one mounted on the dancer arm Pulley.
- the disadvantage here is that the Spulgut several Pulleys with sometimes considerable wrap angles in revolves in opposite directions. This is the Spulgut with considerable bending stress, also alternating bending, and with corresponding friction forces applied, which in particular in the case of sensitive material to damage or destroy the product Can lead to coarse material.
- From DE 29 05 713 C2 is a device for measuring the Tension of a running yarn with fixed yarn guides known ensure a straight path of the running yarn.
- the yarn passes through a feeder a first fixed head thread guide and about intermediary devices to a second fixed Thread guide, before it runs on a traversing device and finally wound up on the driven winding spindle becomes.
- the two fixed guides is a power transformer and associated with a Garnauslenk issued.
- the power transformer has a yarn contact surface along which the yarn passes rubs and in this way a cantilever in time with the Yarn deflection device bends.
- About a strain gauge The tension of the yarn is at maximum deflection and measured at the zero crossing of the traversing device.
- the device for determining the voltage in the Spulgut at least two stationary guides on. The disadvantage is in this winder that the Spulgut multiply and in considerable Is stressed on friction, which is sensitive Spulgut is not acceptable.
- the invention has the object of providing a winder the to provide initially described type, with the one of the Voltage in the product to be conveyed proportional to as simple as possible Art is generated, which is used to control the drive of the winder under particularly gentle treatment of Spulgutes serves.
- the device for determining a voltage in the Spulgut proportional Signal has only a single sensor on one of the Cantilever formed predetermined bending range is arranged that the Cantilever with its intended bending range and the sensor in association to the angle bisector according to arrow between the on the roll incoming and outgoing dough is positioned, and that the signal determined by the device to control the Drive of the winding spindle is used.
- the invention is based on the idea of a movable bendable Cantilever arm with a single, stored at its free end Role in the area of the establishment of a to use the voltage proportional to the winding material. This happens at one point and to control the drive of Winding spindle, on the in the prior art, three pulleys be used. It becomes a cantilever arm with a predetermined bending range and a single sensor arranged there. Thus, the effort is particularly low. However, it is required that the cantilever with its intended bending area and the sensor in association with the bisecting line between the positioned on the roll running up and running Spulgut is, so that the movement or deflection relative to the bisector he follows.
- the device for determining one of the voltages in the Spulgut proportional signal comes with a comparatively small number of items and is thus compact and inexpensive to produce. Even without additional mechanical Components, such as pulleys, it is possible to different Characteristics of voltage curves during a winding cycle to create. This is therefore easily achievable because the thread tension applied solely by the drive motor of the winding spindle becomes. So z. B. decreasing in the form of software tables, increasing or constant voltage values stored which are easily and reproducibly retrievable. Since that Spulgut only a single role wraps around, is the bending stress Spulgutes and the friction forces considerably reduced. The movement of the only role at the free end of the Kragarms is only a few tenths of a millimeter, d. H. the wrap angle of the dough at the single roll changes only insignificantly and the inlet geometry of the Spulgutes stays almost constant throughout the winding cycle.
- the bending beam must have a predetermined bending range in which the strain gauges are arranged.
- a desired bending range can be designed as a weakening of the bending beam, to the elastic bending deformation at this point especially make effective, arranged on the strain gauges are.
- the bending beam usually rod-cylindrical shapes has, the predetermined bending range by flattening with be provided flat surfaces on which the strain gauges are particularly easy and effective applicable.
- movable cantilever is designed as a bending beam or one Bending beam has.
- the cantilever is formed directly as a bending beam, so it only is required, the cantilever clamped on one side store and a bend conveys the over the only role current Spulgutes to use.
- the cantilever arm acts only as a lever arm and in turn communicating with a bending beam that passes over the lever arm is bent. In this way it is possible at appropriate Installation conditions to increase the lever arm deliberately.
- the Sensor is located directly on the bending beam. As sensors come in particular strain gauges, but also force sensors, Displacement sensors and the like in question.
- the respective Sensor can be provided directly with an evaluation with whose help the deflection into an electric Signal, in particular an electrical voltage is transformed.
- the combination of the sensor with the transmitter allows a small compact design.
- the preferred embodiment of the cantilever is the bending beam, which is covered with strain gauges. It is easy possible, the bending beam at its one end in the frame of the Spulmaschine mounted clamped, about in the middle of the Kragarms the desired bending area and the strain gauges to arrange and provide the only role at the free end. It is necessary, the strain gauges in allocation to arrange to the bending plane of the bending beam on the bending beam.
- the limited bendable bending beam can in a housing tube be stored. Adjustable stops for limiting the Flexibility are then provided in the housing tube. The adjustable Stops can be realized by adjusting screws become.
- the housing tube also provides protection for the Bending beam, the sensors and the evaluation electronics.
- the winding machine several Spulkexcellent each with one Drive spindle and each has a traversing device can be assigned to each of the Spulkexcellent facilities for Determining a signal proportional to the voltage in the product to be debulked each a single role summarized in a separate machine unit be arranged.
- the facilities with the only one Roll are then relative in the separate machine unit far from the traversing mechanism of each winding head arranged so that the laying triangle is particularly long and the voltage differences in the Spulgut be small.
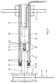
- the winding machine 1 has a machine frame 2, which carries a front panel 3.
- a Winding spindle 4 rotatably mounted, which in a known manner extends through the front panel 3 and free to the outside ends.
- the winding spindle 4 is driven by a drive motor, which is not shown for clarity.
- the winding spindle 4 is limited pivotally about a bearing 5 stored. To enable this pivoting movement is in the Front plate 3 a slot 6 is provided.
- On the winding spindle 4 a sleeve 7 is attached, on which the Spulgut 8 wound becomes.
- solid lines is the beginning of Winding process, so the winding cycle, shown.
- double dotted dashed lines is the position of Winding spindle 4 with the winding formed at the end of Winding travel indicated.
- a rotatable contact roller 9 mounted stationary.
- the sleeve 7 on the winding spindle 4 is located at the beginning of the winding cycle on the circumference the contact roller 9 at. This contact will be during the winding cycle through the surface of the forming coil of the Spulgutes. 8 replaced.
- the contact roller 9 and in particular the winding spindle 4th is associated with a traversing device 10, with the help of known manner, the Spulgut 8 laid over the length of the sleeve 7 becomes.
- the Spulgut 8 is the winder 1 via a feed device 11 fed in the direction of arrow 12.
- the Feeder 11 is not part of the Winder 1 but sits at the end, for example, a Production unit for the Spulgut 8, with the Spulgut 8 is continuously fed to the winder 1. But it is also possible, the charging device 11 in the field of Winding machine 1 to order.
- the charging device 11 here consists of two the Spulgut 8 leading rollers or rollers with which the Spulgut 8 is performed without change of direction.
- a device 14 for Determining one of the tension in Spulgut 8 proportional Signal for controlling the drive of the winding spindle 4 is provided on a separate machine unit 13, which is also on the Machine frame 2 is mounted.
- the device 14 has a cantilever 15, which is substantially is designed as a cylindrical axis.
- the cantilever 15 is at its one, the machine unit 13 facing the end stored firmly clamped and carries on its freely cantilevered End of a roll 16 over which the Spulgut 8 is passed.
- the Roller 16 represents the only role or deflection for the Spulgut between the charging device 11 and the traversing device 10 is the cantilever 15 with the roller 16 is relative to the charging device 11 and the traversing device 10 arranged and positioned so that the Spulgut 8 the roller 16 in a corresponding wrap angle wraps.
- the roller 16 is freely rotatable on the cantilever 15 stored to deflect the Spulgut 8 as gently as possible.
- the Spulgut 8 is inevitable here a bending stress exposed. It is, however, here - for example in contrast to normal Tänzerarman füren only one bend after a Page, but not a change of bending.
- the Diameter of the roller 16 selected comparatively large to the Bending stress to keep small.
- the device 14 with the roller 16 replaces the known Tänzerarman extract from the state of the art, consisting of two fixed arranged pulleys and a movable, on the dancer arm arranged roll consists. It can be seen that when Subject of the application came the two pulleys in the absence are and the Spulgut free of an alternating bending stress remains.
- the arrangement of the device 14 on a separate Machine unit 13 provides the possibility of removal between the traversing device 10 and the device 14 as large as possible to make the laying triangle large. But it is also possible, the device 14 in one to arrange other area of the machine frame 2.
- the device 14 for determining a the voltages in Spulgut 8 proportional signal for control the drive of the winding spindle 4 basically works differently known Tänzerarm wornen. While using a Dancerarmes the tension in Spulgut 8 through the dancer arm is generated, which is loaded by springs, weights or the like and the drive motor of the winding spindle 4 only differences in Tension equalizes the application and deployment the tension in Spulgut 8 at the subject of the application alone the drive motor of the winding spindle 4.
- the only roller 16 of the The subject of the application also fulfills the functions of the two Deflection pulleys in the prior art. The tension in the Spulgut 8 in the prior art between the two pulleys generated.
- the subject of the application is the tension in the product generated between the winding spindle 4 and the roller 16.
- the technology creates the laying triangle between the Changier worn upstream last pulley of Dancer arm device and the traversing device.
- the subject of the application creates the laying triangle between the only one Roller 16 and the traversing device 10.
- Fig. 2 shows a section along the line II-II in Figure 1 taking into account the direction of arrow 17.
- the Device 14 illustrates.
- the device 14 has the Cylindrically shaped cantilever 15 in the form of a bending beam 18 on.
- the bending beam 18 is at its one end 19 mounted clamped in a housing tube 20.
- the housing tube 20 is in turn mounted on the machine unit 13. This will be held one end 20 of the bending beam 18 so fixed that the other end 21 of the bending beam 18 cantilevered.
- the roller 16 is freely rotatably mounted.
- the Bending beam 18 has in its central region a predetermined bending range 22 on.
- the desired bending region 22 is by flattening and tapers of the bending beam 18 formed.
- the bending beam has a plate-shaped part 23 with even Surfaces on which z. B. strain gages 24 arranged are a sensor 25 for detecting the deflection of the Bending beam 18 due to the tension in Spulgut 8 form.
- z. B. strain gages 24 arranged are a sensor 25 for detecting the deflection of the Bending beam 18 due to the tension in Spulgut 8 form.
- in the Area of the end 19 of the bending beam 18 or at least in Housing tube 20 is provided with an evaluation 26, with their help via a cable 27 that of the bending of the bending beam 18 corresponding voltage signal of the not shown Control device for driving the winding spindle 4 supplied becomes.
- the housing tube 20 carries adjustable stops 28 for the Limiting the bendability of the bending beam 18 in the direction of the arrow 17.
- the adjustable stops 28 can as Be set screws.
- a seal 29 against the Ingress of dust and other foreign bodies into the interior the housing tube 20 is provided.
- Fig. 3 shows a winder 1, on the machine frame second five winding heads 30 are arranged.
- Each winding head 30 is like this formed, as already described with reference to FIG. 1 has been.
- a separate machine unit 13 is provided here, on each of which a winding head 30 assigned Facilities 14 are arranged together.
- the respectively formed laying triangles are different in size. This is not disadvantageous because even the smallest installation triangle still has a considerable length, allowing voltage changes in Spulgut 8 as a result of laying negligible are. These voltage changes are so small that they are aware be damped by the control device for driving the Winding spindle 4 does not respond to such voltage changes.
Landscapes
- Tension Adjustment In Filamentary Materials (AREA)
- Manufacture Of Motors, Generators (AREA)
- Filamentary Materials, Packages, And Safety Devices Therefor (AREA)
- Winding Of Webs (AREA)
- Controlling Rewinding, Feeding, Winding, Or Abnormalities Of Webs (AREA)
Applications Claiming Priority (2)
| Application Number | Priority Date | Filing Date | Title |
|---|---|---|---|
| DE10046844 | 2000-09-20 | ||
| DE10046844A DE10046844A1 (de) | 2000-09-20 | 2000-09-20 | Spulmaschine für insbesondere empfindliches Spulgut |
Publications (3)
| Publication Number | Publication Date |
|---|---|
| EP1190974A2 EP1190974A2 (de) | 2002-03-27 |
| EP1190974A3 EP1190974A3 (de) | 2003-03-05 |
| EP1190974B1 true EP1190974B1 (de) | 2005-05-11 |
Family
ID=7657135
Family Applications (1)
| Application Number | Title | Priority Date | Filing Date |
|---|---|---|---|
| EP01121322A Expired - Lifetime EP1190974B1 (de) | 2000-09-20 | 2001-09-06 | Spulmaschine für insbesondere empfindliches Spulgut |
Country Status (5)
| Country | Link |
|---|---|
| US (1) | US20030019970A1 (cg-RX-API-DMAC7.html) |
| EP (1) | EP1190974B1 (cg-RX-API-DMAC7.html) |
| JP (1) | JP2002145527A (cg-RX-API-DMAC7.html) |
| AT (1) | ATE295326T1 (cg-RX-API-DMAC7.html) |
| DE (2) | DE10046844A1 (cg-RX-API-DMAC7.html) |
Cited By (3)
| Publication number | Priority date | Publication date | Assignee | Title |
|---|---|---|---|---|
| DE102008032643B3 (de) * | 2008-07-10 | 2009-12-24 | Georg Sahm Gmbh & Co. Kg | Fadenumlenkeinheit für eine Spulmaschine |
| DE202010008846U1 (de) | 2010-10-20 | 2010-12-23 | Starlinger & Co Ges.M.B.H. | Spulmaschine |
| EP2557061A2 (de) | 2011-08-12 | 2013-02-13 | Georg Sahm Gmbh & Co. Kg | Spulmaschine und Verfahren zur Steuerung derselben |
Families Citing this family (10)
| Publication number | Priority date | Publication date | Assignee | Title |
|---|---|---|---|---|
| US6901818B1 (en) * | 2002-12-05 | 2005-06-07 | Maxwell C. Cheung | Tension measuring device for mooring line |
| CN102928148B (zh) * | 2012-10-22 | 2015-08-05 | 浙江工业大学 | 一种张力测量值的修正方法 |
| CN102928149B (zh) * | 2012-10-22 | 2014-11-12 | 浙江工业大学 | 可消除摩擦力影响的张力传感器装置 |
| CN103306075B (zh) * | 2013-06-05 | 2015-12-23 | 冯小斌 | 卷绕车头 |
| AT517296B1 (de) | 2015-06-11 | 2017-03-15 | Bsw Machinery Handels-Gmbh | Spulmaschine zum Aufwickeln von Spulgut |
| CN105883476B (zh) * | 2016-05-24 | 2018-10-23 | 广东溢达纺织有限公司 | 自动卸纱的绕纱装置 |
| ES2863423T3 (es) * | 2018-09-19 | 2021-10-11 | Sahm Georg Fa | Máquina de bobinado |
| CN111350023B (zh) * | 2020-04-24 | 2021-12-03 | 宁夏灵智科技有限公司 | 一种新型针织设备纺线张力的拉紧装置 |
| CN114701673B (zh) * | 2022-03-22 | 2023-06-02 | 中国人民解放军战略支援部队航天工程大学 | 可展开臂对接机构及其设计方法以及航天器对接系统 |
| CN117326402A (zh) * | 2023-11-16 | 2024-01-02 | 江苏欣晨雅新材料有限公司 | 一种用于阻水纱生产的收卷装置 |
Family Cites Families (15)
| Publication number | Priority date | Publication date | Assignee | Title |
|---|---|---|---|---|
| US3526130A (en) * | 1968-04-08 | 1970-09-01 | Owens Corning Fiberglass Corp | Apparatus and method for measuring tension in linear material |
| JPS5751300Y2 (cg-RX-API-DMAC7.html) * | 1977-07-30 | 1982-11-09 | ||
| JPS6023065B2 (ja) * | 1978-02-16 | 1985-06-05 | 東レ株式会社 | 糸条巻取装置 |
| US4233837A (en) * | 1979-02-08 | 1980-11-18 | Owens-Corning Fiberglas Corporation | Apparatus for measuring tension in a linear material |
| DE3343286A1 (de) * | 1983-11-30 | 1985-06-05 | Licentia Patent-Verwaltungs-Gmbh, 6000 Frankfurt | Verfahren und anordnung zum aufspulen eines wickelguts |
| US4546656A (en) * | 1983-12-14 | 1985-10-15 | Ppg Industries, Inc. | Tension measuring device and method for filamentary material |
| US4548085A (en) * | 1983-12-14 | 1985-10-22 | Ppg Industries, Inc. | Tension measuring device and method for flexible linear material |
| JPH0658273B2 (ja) * | 1985-06-10 | 1994-08-03 | ピ−ピ−ジ− インダストリ−ズ,インコ−ポレ−テツド | 可撓性線状材料の張力測定装置と測定方法 |
| JPH01150678A (ja) * | 1987-12-04 | 1989-06-13 | Toa Nenryo Kogyo Kk | 脆弱繊維束の解舒合糸装置 |
| DE9113098U1 (de) * | 1990-03-30 | 1992-02-06 | Honigmann Industrielle Elektronik GmbH, 5600 Wuppertal | Zugkraftmeßeinrichtung |
| DE4110429C2 (de) * | 1990-03-30 | 1995-06-29 | Honigmann Ind Elektronik Gmbh | Zugkraftmeßeinrichtung |
| DE4037065A1 (de) * | 1990-11-22 | 1992-05-27 | Hottinger Messtechnik Baldwin | Kraftmessvorrichtung zur messung der zugspannung von faeden |
| DE4204231C2 (de) * | 1992-02-13 | 1995-04-06 | Honigmann Ind Elektronik Gmbh | Zugkraftmeßeinrichtung |
| JPH07285739A (ja) * | 1994-04-19 | 1995-10-31 | Fujikura Ltd | 光ファイバ線引工程における張力測定方法 |
| DE29713328U1 (de) * | 1997-07-26 | 1997-10-09 | Tensometric-Meßtechnik Ströhmann & Co GmbH, 42289 Wuppertal | Zugkraftmeßeinrichtung |
-
2000
- 2000-09-20 DE DE10046844A patent/DE10046844A1/de not_active Withdrawn
-
2001
- 2001-09-06 EP EP01121322A patent/EP1190974B1/de not_active Expired - Lifetime
- 2001-09-06 AT AT01121322T patent/ATE295326T1/de active
- 2001-09-06 DE DE50106182T patent/DE50106182D1/de not_active Expired - Lifetime
- 2001-09-12 US US09/954,875 patent/US20030019970A1/en not_active Abandoned
- 2001-09-19 JP JP2001284789A patent/JP2002145527A/ja active Pending
Cited By (8)
| Publication number | Priority date | Publication date | Assignee | Title |
|---|---|---|---|---|
| DE102008032643B3 (de) * | 2008-07-10 | 2009-12-24 | Georg Sahm Gmbh & Co. Kg | Fadenumlenkeinheit für eine Spulmaschine |
| EP2143681A1 (de) | 2008-07-10 | 2010-01-13 | Georg Sahm Gmbh & Co. Kg | Fadenumlenkeinheit für eine Spulmaschine |
| DE202010008846U1 (de) | 2010-10-20 | 2010-12-23 | Starlinger & Co Ges.M.B.H. | Spulmaschine |
| EP2557061A2 (de) | 2011-08-12 | 2013-02-13 | Georg Sahm Gmbh & Co. Kg | Spulmaschine und Verfahren zur Steuerung derselben |
| DE102011052699A1 (de) | 2011-08-12 | 2013-02-14 | Georg Sahm Gmbh & Co. Kg | Spulmaschine und Verfahren zur Steuerung derselben |
| KR20130018171A (ko) * | 2011-08-12 | 2013-02-20 | 게오르그 샴 게젤샤프트 미트 베슈랭크터 하프퉁 운트 콤파니 코만디트 게젤샤프트 | 권취장치 및 그 제어방법 |
| DE102011052699B4 (de) * | 2011-08-12 | 2015-12-31 | Georg Sahm Gmbh & Co. Kg | Spulmaschine und Verfahren zur Steuerung derselben |
| KR101867628B1 (ko) * | 2011-08-12 | 2018-06-14 | 게오르그 샴 게젤샤프트 미트 베슈랭크터 하프퉁 운트 콤파니 코만디트 게젤샤프트 | 권취장치 및 그 제어방법 |
Also Published As
| Publication number | Publication date |
|---|---|
| EP1190974A3 (de) | 2003-03-05 |
| US20030019970A1 (en) | 2003-01-30 |
| EP1190974A2 (de) | 2002-03-27 |
| DE50106182D1 (de) | 2005-06-16 |
| ATE295326T1 (de) | 2005-05-15 |
| DE10046844A1 (de) | 2002-04-18 |
| JP2002145527A (ja) | 2002-05-22 |
Similar Documents
| Publication | Publication Date | Title |
|---|---|---|
| EP1190974B1 (de) | Spulmaschine für insbesondere empfindliches Spulgut | |
| DE102004020465B3 (de) | Drahtzugregler für Wickelmaschinen | |
| DE2633351C2 (de) | Einrichtung zum Messen der Planheit von Metallbändern | |
| EP0192835B1 (de) | Vorrichtung zum kontinuierlichen Ermitteln der Masse eines Faserbandes | |
| WO1996017701A1 (de) | Verfahren und vorrichtung zur optimierten herstellung von schraubenfedern auf federwindeautomaten | |
| EP0503238B1 (de) | Vorrichtung zum Messen der Länge fadenförmigen textilen Guts | |
| WO1987001059A1 (fr) | Guidage d'entree a rouleaux | |
| EP0467117A1 (de) | Vorrichtung zum Messen der Dicke und/oder der Ungleichmässigkeit von Vliesen oder Watten an Spinnereivorbereitungsmaschinen | |
| DE3903214C2 (cg-RX-API-DMAC7.html) | ||
| DE1933749A1 (de) | Verfahren und Vorrichtung zur Messung der Kabelzugkraft | |
| DE3411395A1 (de) | Vorrichtung zum wickeln von strangfoermigem gut | |
| AT517296B1 (de) | Spulmaschine zum Aufwickeln von Spulgut | |
| DE10140645B4 (de) | Verfahren zum Betreiben eines Streckwerks sowie Streckwerk | |
| DE69300271T2 (de) | Vorrichtung zur Detektion von Oberflächenfehlern in bewegten Metallstangen oder Draht. | |
| DE4300633A1 (en) | Synthetic multifilament yarn prodn. - in which yarn tension measurement is based on the movement of a flat spring in line with the yarn | |
| DE1103634B (de) | Anordnung zum Messen und Regeln des Zuges an Maschinen mit durchlaufendem Material bei ungleichmaessiger Laufgeschwindigkeit | |
| DE19538423C2 (de) | Vorrichtung zum Kräuseln von synthetischen Fadenbündeln oder -bändern | |
| DE3236942A1 (de) | Aufspulvorrichtung fuer synthetische faeden | |
| CH649012A5 (de) | Messvorrichtung zur erfassung des spaltes eines arbeitswalzenpaares. | |
| DE4032158A1 (de) | Vorrichtung zur ermittlung des durchhanges einer laufenden materialbahn quer zu ihrer laengsrichtung | |
| DE4443503A1 (de) | Verfahren und Vorrichtung zur Drahtzuführung | |
| DE2404763C2 (de) | Meßvorrichtung zur Erfassung des Spaltes eines Arbeitswalzenpaares | |
| DE2724334C2 (cg-RX-API-DMAC7.html) | ||
| EP1873099A1 (de) | Walze zum Führen und Breitstrecken von Bandmaterial | |
| EP3380422B1 (de) | Gesteuerte abspulvorrichtung |
Legal Events
| Date | Code | Title | Description |
|---|---|---|---|
| PUAI | Public reference made under article 153(3) epc to a published international application that has entered the european phase |
Free format text: ORIGINAL CODE: 0009012 |
|
| AK | Designated contracting states |
Kind code of ref document: A2 Designated state(s): AT BE CH CY DE DK ES FI FR GB GR IE IT LI LU MC NL PT SE TR |
|
| AX | Request for extension of the european patent |
Free format text: AL;LT;LV;MK;RO;SI |
|
| PUAL | Search report despatched |
Free format text: ORIGINAL CODE: 0009013 |
|
| AK | Designated contracting states |
Kind code of ref document: A3 Designated state(s): AT BE CH CY DE DK ES FI FR GB GR IE IT LI LU MC NL PT SE TR Designated state(s): AT BE CH CY DE DK ES FI FR GB GR IE IT LI LU MC NL PT SE TR |
|
| AX | Request for extension of the european patent |
Extension state: AL LT LV MK RO SI |
|
| 17P | Request for examination filed |
Effective date: 20030322 |
|
| 17Q | First examination report despatched |
Effective date: 20030925 |
|
| AKX | Designation fees paid |
Designated state(s): AT CH DE FR GB LI TR |
|
| GRAP | Despatch of communication of intention to grant a patent |
Free format text: ORIGINAL CODE: EPIDOSNIGR1 |
|
| GRAS | Grant fee paid |
Free format text: ORIGINAL CODE: EPIDOSNIGR3 |
|
| GRAA | (expected) grant |
Free format text: ORIGINAL CODE: 0009210 |
|
| AK | Designated contracting states |
Kind code of ref document: B1 Designated state(s): AT CH DE FR GB LI TR |
|
| PG25 | Lapsed in a contracting state [announced via postgrant information from national office to epo] |
Ref country code: TR Free format text: LAPSE BECAUSE OF FAILURE TO SUBMIT A TRANSLATION OF THE DESCRIPTION OR TO PAY THE FEE WITHIN THE PRESCRIBED TIME-LIMIT Effective date: 20050511 |
|
| REG | Reference to a national code |
Ref country code: GB Ref legal event code: FG4D Free format text: NOT ENGLISH |
|
| REG | Reference to a national code |
Ref country code: CH Ref legal event code: NV Representative=s name: RIEDERER HASLER & PARTNER PATENTANWAELTE AG Ref country code: CH Ref legal event code: EP |
|
| GBT | Gb: translation of ep patent filed (gb section 77(6)(a)/1977) |
Effective date: 20050511 |
|
| REG | Reference to a national code |
Ref country code: IE Ref legal event code: FG4D Free format text: LANGUAGE OF EP DOCUMENT: GERMAN |
|
| REF | Corresponds to: |
Ref document number: 50106182 Country of ref document: DE Date of ref document: 20050616 Kind code of ref document: P |
|
| ET | Fr: translation filed | ||
| PLBE | No opposition filed within time limit |
Free format text: ORIGINAL CODE: 0009261 |
|
| STAA | Information on the status of an ep patent application or granted ep patent |
Free format text: STATUS: NO OPPOSITION FILED WITHIN TIME LIMIT |
|
| 26N | No opposition filed |
Effective date: 20060214 |
|
| PGFP | Annual fee paid to national office [announced via postgrant information from national office to epo] |
Ref country code: AT Payment date: 20130919 Year of fee payment: 13 Ref country code: CH Payment date: 20130923 Year of fee payment: 13 Ref country code: DE Payment date: 20130903 Year of fee payment: 13 |
|
| PGFP | Annual fee paid to national office [announced via postgrant information from national office to epo] |
Ref country code: GB Payment date: 20130920 Year of fee payment: 13 |
|
| PGFP | Annual fee paid to national office [announced via postgrant information from national office to epo] |
Ref country code: FR Payment date: 20130918 Year of fee payment: 13 |
|
| REG | Reference to a national code |
Ref country code: DE Ref legal event code: R119 Ref document number: 50106182 Country of ref document: DE |
|
| REG | Reference to a national code |
Ref country code: CH Ref legal event code: PL |
|
| REG | Reference to a national code |
Ref country code: AT Ref legal event code: MM01 Ref document number: 295326 Country of ref document: AT Kind code of ref document: T Effective date: 20140906 |
|
| GBPC | Gb: european patent ceased through non-payment of renewal fee |
Effective date: 20140906 |
|
| REG | Reference to a national code |
Ref country code: DE Ref legal event code: R119 Ref document number: 50106182 Country of ref document: DE Effective date: 20150401 |
|
| REG | Reference to a national code |
Ref country code: FR Ref legal event code: ST Effective date: 20150529 |
|
| PG25 | Lapsed in a contracting state [announced via postgrant information from national office to epo] |
Ref country code: CH Free format text: LAPSE BECAUSE OF NON-PAYMENT OF DUE FEES Effective date: 20140930 Ref country code: GB Free format text: LAPSE BECAUSE OF NON-PAYMENT OF DUE FEES Effective date: 20140906 Ref country code: DE Free format text: LAPSE BECAUSE OF NON-PAYMENT OF DUE FEES Effective date: 20150401 Ref country code: LI Free format text: LAPSE BECAUSE OF NON-PAYMENT OF DUE FEES Effective date: 20140930 |
|
| PG25 | Lapsed in a contracting state [announced via postgrant information from national office to epo] |
Ref country code: AT Free format text: LAPSE BECAUSE OF NON-PAYMENT OF DUE FEES Effective date: 20140906 Ref country code: FR Free format text: LAPSE BECAUSE OF NON-PAYMENT OF DUE FEES Effective date: 20140930 |