EP1153552A2 - Schieber für ein Verschlussband, vorzugsweise aus Kunststoff - Google Patents

Schieber für ein Verschlussband, vorzugsweise aus Kunststoff Download PDF

Info

Publication number
EP1153552A2
EP1153552A2 EP01108160A EP01108160A EP1153552A2 EP 1153552 A2 EP1153552 A2 EP 1153552A2 EP 01108160 A EP01108160 A EP 01108160A EP 01108160 A EP01108160 A EP 01108160A EP 1153552 A2 EP1153552 A2 EP 1153552A2
Authority
EP
European Patent Office
Prior art keywords
slide
slider
fastener tape
centerpiece
flanks
Prior art date
Legal status (The legal status is an assumption and is not a legal conclusion. Google has not performed a legal analysis and makes no representation as to the accuracy of the status listed.)
Granted
Application number
EP01108160A
Other languages
English (en)
French (fr)
Other versions
EP1153552A3 (de
EP1153552B1 (de
Inventor
Karl-Heinz Dr. Siegel
Current Assignee (The listed assignees may be inaccurate. Google has not performed a legal analysis and makes no representation or warranty as to the accuracy of the list.)
ASF Verwaltungs GmbH
Original Assignee
ASF Verwaltungs GmbH
Priority date (The priority date is an assumption and is not a legal conclusion. Google has not performed a legal analysis and makes no representation as to the accuracy of the date listed.)
Filing date
Publication date
Application filed by ASF Verwaltungs GmbH filed Critical ASF Verwaltungs GmbH
Publication of EP1153552A2 publication Critical patent/EP1153552A2/de
Publication of EP1153552A3 publication Critical patent/EP1153552A3/de
Application granted granted Critical
Publication of EP1153552B1 publication Critical patent/EP1153552B1/de
Anticipated expiration legal-status Critical
Expired - Lifetime legal-status Critical Current

Links

Images

Classifications

    • BPERFORMING OPERATIONS; TRANSPORTING
    • B65CONVEYING; PACKING; STORING; HANDLING THIN OR FILAMENTARY MATERIAL
    • B65DCONTAINERS FOR STORAGE OR TRANSPORT OF ARTICLES OR MATERIALS, e.g. BAGS, BARRELS, BOTTLES, BOXES, CANS, CARTONS, CRATES, DRUMS, JARS, TANKS, HOPPERS, FORWARDING CONTAINERS; ACCESSORIES, CLOSURES, OR FITTINGS THEREFOR; PACKAGING ELEMENTS; PACKAGES
    • B65D33/00Details of, or accessories for, sacks or bags
    • B65D33/16End- or aperture-closing arrangements or devices
    • B65D33/25Riveting; Dovetailing; Screwing; using press buttons or slide fasteners
    • B65D33/2508Riveting; Dovetailing; Screwing; using press buttons or slide fasteners using slide fasteners with interlocking members having a substantially uniform section throughout the length of the fastener; Sliders therefor
    • B65D33/2584Riveting; Dovetailing; Screwing; using press buttons or slide fasteners using slide fasteners with interlocking members having a substantially uniform section throughout the length of the fastener; Sliders therefor characterized by the slider
    • B65D33/2588Riveting; Dovetailing; Screwing; using press buttons or slide fasteners using slide fasteners with interlocking members having a substantially uniform section throughout the length of the fastener; Sliders therefor characterized by the slider being provided with flexing or moving parts
    • AHUMAN NECESSITIES
    • A44HABERDASHERY; JEWELLERY
    • A44BBUTTONS, PINS, BUCKLES, SLIDE FASTENERS, OR THE LIKE
    • A44B19/00Slide fasteners
    • A44B19/24Details
    • A44B19/26Sliders
    • A44B19/267Sliders for slide fasteners with edges of stringers having uniform section throughout the length thereof
    • YGENERAL TAGGING OF NEW TECHNOLOGICAL DEVELOPMENTS; GENERAL TAGGING OF CROSS-SECTIONAL TECHNOLOGIES SPANNING OVER SEVERAL SECTIONS OF THE IPC; TECHNICAL SUBJECTS COVERED BY FORMER USPC CROSS-REFERENCE ART COLLECTIONS [XRACs] AND DIGESTS
    • Y10TECHNICAL SUBJECTS COVERED BY FORMER USPC
    • Y10TTECHNICAL SUBJECTS COVERED BY FORMER US CLASSIFICATION
    • Y10T24/00Buckles, buttons, clasps, etc.
    • Y10T24/25Zipper or required component thereof
    • Y10T24/2511Zipper or required component thereof with distinct, stationary means for anchoring slider
    • YGENERAL TAGGING OF NEW TECHNOLOGICAL DEVELOPMENTS; GENERAL TAGGING OF CROSS-SECTIONAL TECHNOLOGIES SPANNING OVER SEVERAL SECTIONS OF THE IPC; TECHNICAL SUBJECTS COVERED BY FORMER USPC CROSS-REFERENCE ART COLLECTIONS [XRACs] AND DIGESTS
    • Y10TECHNICAL SUBJECTS COVERED BY FORMER USPC
    • Y10TTECHNICAL SUBJECTS COVERED BY FORMER US CLASSIFICATION
    • Y10T24/00Buckles, buttons, clasps, etc.
    • Y10T24/25Zipper or required component thereof
    • Y10T24/2532Zipper or required component thereof having interlocking surface with continuous cross section
    • YGENERAL TAGGING OF NEW TECHNOLOGICAL DEVELOPMENTS; GENERAL TAGGING OF CROSS-SECTIONAL TECHNOLOGIES SPANNING OVER SEVERAL SECTIONS OF THE IPC; TECHNICAL SUBJECTS COVERED BY FORMER USPC CROSS-REFERENCE ART COLLECTIONS [XRACs] AND DIGESTS
    • Y10TECHNICAL SUBJECTS COVERED BY FORMER USPC
    • Y10TTECHNICAL SUBJECTS COVERED BY FORMER US CLASSIFICATION
    • Y10T24/00Buckles, buttons, clasps, etc.
    • Y10T24/25Zipper or required component thereof
    • Y10T24/2532Zipper or required component thereof having interlocking surface with continuous cross section
    • Y10T24/2534Opposed interlocking surface having dissimilar cross section
    • YGENERAL TAGGING OF NEW TECHNOLOGICAL DEVELOPMENTS; GENERAL TAGGING OF CROSS-SECTIONAL TECHNOLOGIES SPANNING OVER SEVERAL SECTIONS OF THE IPC; TECHNICAL SUBJECTS COVERED BY FORMER USPC CROSS-REFERENCE ART COLLECTIONS [XRACs] AND DIGESTS
    • Y10TECHNICAL SUBJECTS COVERED BY FORMER USPC
    • Y10TTECHNICAL SUBJECTS COVERED BY FORMER US CLASSIFICATION
    • Y10T24/00Buckles, buttons, clasps, etc.
    • Y10T24/25Zipper or required component thereof
    • Y10T24/2561Slider having specific configuration, construction, adaptation, or material
    • YGENERAL TAGGING OF NEW TECHNOLOGICAL DEVELOPMENTS; GENERAL TAGGING OF CROSS-SECTIONAL TECHNOLOGIES SPANNING OVER SEVERAL SECTIONS OF THE IPC; TECHNICAL SUBJECTS COVERED BY FORMER USPC CROSS-REFERENCE ART COLLECTIONS [XRACs] AND DIGESTS
    • Y10TECHNICAL SUBJECTS COVERED BY FORMER USPC
    • Y10TTECHNICAL SUBJECTS COVERED BY FORMER US CLASSIFICATION
    • Y10T24/00Buckles, buttons, clasps, etc.
    • Y10T24/26Slit closing means including guides on opposite edges of slit and slidable bridging component

Definitions

  • the invention relates to a slide for a fastener tape. It also affects one Closure tape with such a slider and a bag, preferably made of Plastic, with such a fastener tape.
  • Such sliders and fastener tapes which also as profile strip closures or Sliding closure strips or tapes can already be called known.
  • Most of the known slides are injection molded individually manufactured and then automatically individually using complicated devices the slide fastener tapes applied.
  • Most of these sliders do necessary that they are aligned in the direction of assembly using so-called vibrating pots - Be supplied to a device that spreads the slide and then it astride the previously opened fastener tape.
  • Such a device is known for example from DE-PS 31 36 075.
  • the slides are fed one after the other to a rotor, which is the upper part of the slide is detected while the side parts (wings) of the slide in one Stator spread slowly and then through the rotor onto the slide fastener tape be postponed.
  • DE-OS 21 01 875 describes a device for applying slides on complementary locking elements that are intermittent on the device slide past, each consisting of an endless chain of elastic sliders a slider from the chain is pressed onto the belt.
  • the slide side parts (Wings) are flexurally elastic, so that they can be easily spread and pressed open spring back and hold the fastener tape properly. With this Method is a trouble-free production at a relatively high speed possible.
  • a major disadvantage is that the slide due to their small size can only be accepted to a limited extent by consumers. she are not very handy and can be removed from the fastener tape with rough handling to be torn down.
  • Another disadvantage is that these sliders only in the front part a very short arrow-like centerpiece with inwards reaching Have flanks.
  • the object of the invention is to provide an improved slide for a fastener tape to propose.
  • the slider that preferably consists of plastic, comprises a centerpiece, two towards each other running inner surfaces and two supporting flanks.
  • the slider can be essentially one Have a U-shaped shape. In this case it consists of a base part and two adjoining side parts or wings.
  • the fastener tape the preferably consists of plastic, generally comprises two parts or sub-bands with profiles that can interlock.
  • the slider is used for sliding or pushing assembly and separation of the fastener tape or the interlocking profiles or parts.
  • the slide Centerpiece there is another in the area of the inner surfaces of the slide Centerpiece provided.
  • This is preferably a proportionate one small centerpiece or a centerpiece that is smaller than the actual centerpiece.
  • the other centerpiece is located between the inner surfaces of the slide. It is also located between the actual heart and the supporting flanks.
  • the other centerpiece holds the two profile parts with its side flanks of the slide fastener tape safely up to the middle part of the slide firmly and prevents the slide end from tipping upwards.
  • the slide closure band halves are firmly guided up to the middle of the slide and held; they are then taken over by the narrower end of the slide.
  • the slide is then on the now closed fastener tape still held by the smaller supporting flanks. If the side parts of the slider bent slightly apart due to the use of force, such as tugging should be, the slider tilts up at its end prevents since the further centerpiece in the middle of the slider the fastener tape holds on.
  • the invention includes one Improvement of a method for applying an endless chain of slides on a slide fastener tape.
  • the further centerpiece is preferably connected to the other centerpiece.
  • the connection is preferably made by a web. It is advantageous to have one to provide a thin web.
  • the slider has a U-shaped shape, locate it the attachments preferably on the base part, namely on the side walls or wings opposite side of the base part.
  • the essays serve for Spread or spread the slide open when the slide is attached a fastener tape.
  • the slide is preferably made of HDPE, i.e. low-pressure polyethylene (high density polyethylene).
  • HDPE can be made with high pressure polyethylene (low density polyethylene, NDPE) from which most bags or pouches are made are well recyclable, but also with polypropylene, from which more and more Bags and fastener tapes are made.
  • the invention further relates to a fastener tape, preferably made of plastic, the has a slide according to the invention, and a bag, preferably made of Plastic, which is characterized by a fastener tape according to the invention.
  • Fig. 1 shows a slide of the known type in a perspective view.
  • the slider 30 is essentially U-shaped. It has a base part 6 on and two protruding side parts 4 and 5, also called wings can be.
  • the inner surfaces 31, 32 of the side parts 4, 5 converge. Their distance from each other decreases in a direction that the direction of the Arrow 33 is opposite.
  • a frog 1 is arranged at one end of the inner surfaces 31, 32. It is at the end of the slide at which the distance between the inner surfaces 31, 32 is the largest.
  • the heart shaped arrow-shaped towards the bottom 1 has side flanks 2, 3, which together with smaller flanks of the side walls 4, 5 and the side walls 4, 5 and corresponding side walls of the The centerpiece 1 form separate inlet channels for the closure profile parts.
  • the slider 30 is pressed down onto a fastener tape. Give here the side walls 4, 5 to the outside until the fastener tape in the Slide is located. In this position, a closure profile runs through one the two inlet channels on both sides of the centerpiece 1. At the other end of the slider run the locked or assembled fastener tapes through the outlet channel.
  • the rear part of the slider 30 facing away from the centerpiece 1 is on the fastener tape only by short flanks or support flanks z, which are from the side parts 4 and 5 protrude inwards, held. This allows the slider 30 on this Place by stretching the side parts 4, 5 slip over the closure profile and tilt upwards, which leads to malfunction.
  • Figures 2 to 6 show a slide according to the invention.
  • Fig. 2 there is another (second), smaller centerpiece 7, which is between the front (first, actual), larger heart 8 and the rear End of the slide.
  • the further centerpiece 7 is also located between the inner surfaces 31, 32. It has outward-facing support flanks 12, 13. Furthermore, the second frog 7 with the frog 8 through a thin one Web 24 connected.
  • the outer ends of the support flanks 16, 17 of the core 8 are from the inner Ends of the support flanks 18, 19 projecting inwards from the side walls 20, 21 spaced. As a result, slots 9, 10 for the halves of the fastener tape educated.
  • Support flanks 14, 15 are provided which protrude inwards from the inner surfaces 31, 32. The inner ends of the support flanks 14, 15 are spaced apart from one another, whereby an opening 11 is formed.
  • the two halves of the slide fastener tape run separated by the two slots 9, 10 when the slide in the direction of Arrow 33 is moved.
  • the fastener halves are in the thinner rear part the slide is closed. They come out of the opening as a closed closure 11 out.
  • the further, second, smaller centerpiece 7 holds the side flanks 12, 13 of the two profile parts of the slide fastener tape safely up to the middle part of the slide and prevents the opposite of the frog 8 from tipping over Slider end up.
  • the slide fastener halves are according to the invention firmly guided and held to the middle of the slide; you will be then taken from the narrower end of the slider.
  • On the now closed The slider is then closed by the smaller support flanks 14, 15 held. Should one then pull the side parts 20, 21 of the Bend the slide slightly apart and threatens the slide on its the centerpiece Tilting 8 opposite end upward holds the other, smaller one Centerpiece 7 in the middle of the slide this slide on the fastener tape firmly.
  • FIG. 3 shows the slide according to FIG. 2 from the front (from the slots 9, 10) off, i.e. at the inlet of the two halves of the fastener tape.
  • the support flanks 16, 17 the centerpiece 8 hold the fastener halves from the inside, while the support flanks 18, 19 of the side walls 20, 21 firmly from the outside on the slide hold.
  • attachments 22, 23 are on the upper part of the slide, that is, on the Base part 6, attachments 22, 23 are provided which are substantially rectangular Have cross-section, which is however somewhat rounded at the corners. This Attachments 22, 23 are used to spread the slide by means of a pusher, such as shown in Figures 7 and 8.
  • FIG. 4 shows a section along the line A-A in FIG. 2.
  • the heart pieces 8 and 7 are connected to each other by a thin web 24.
  • the frogs 8, 7 not connected by a web, but separated from each other.
  • This embodiment has the advantage that material is saved and that the side parts spread more easily when shooting open the slider.
  • Fig. 6 shows the slide in a top view from above.
  • On the (middle, smaller) further centerpiece 7 are the supporting flanks 12, 13 to see.
  • the base part 6 has openings 34, 35.
  • the small support flanks 14, 15 are located on the side parts 20, 21.
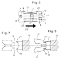
  • Figures 7 and 8 show the interaction of the slide with a plunger 26 for spreading the slide.
  • the plunger 26 has projections 27, 28, which are spaced apart.
  • the mutually facing surfaces of the projections 27, 28 are inclined to each other, in such a way that the distance between these surfaces with increasing distance from the plunger 26 enlarged. In this way, the mutually facing inner surfaces of the Projections 27, 28 formed a conical recess.
  • Slider is its flexural elasticity. On the one hand, the slide must be after the Spread back to its original position, on the other hand this may Spreading is not too difficult. Furthermore, the slide body may Spread out and don't become brittle for a long time afterwards. He is also not allowed to Get cracks. Finally, the slider should move together with the sealing bag and have the sliding closure tape reused (recycled).
  • the material must be made of the same or similar basic material consist of like the pockets or the pouches from which the slide closure pouch is made is made.
  • a particularly suitable plastic material is low pressure polyethylene (high density polyethylene HDPE), which is made with high pressure polyethylene (low density polyethylene, NDPE) from which most bags or bags are made, can be recycled well.
  • the bags and more and more the fastener tape is also made of polypropylene. Even with this material together, the sliders made of HDPE can be recycled, i.e. ground and reuse.
  • a material is, for example, an HDPE from Borealis A / S with a melt flow rate of 12g / 10 min and a Shore hardness of 62.
  • the bending elasticity of the slide has been investigated by numerous tests and can e.g. can be defined as follows: attempts at the end of the slide, starting measured from an end opening on the molded 20-piece strand from 0.45 to 0.60 mm on the free passage including the outer small support flanks 14, 15.
  • a slider is molded on its two connecting sides of the chain attached to a spring balance by means of two clamps and the end opening in a tensile test the slider so far loaded that it is on the profile-encompassing outer Support flanks 14, 15 to the thickness of the fastener tape, about 1.8 mm, opens. This requires a tensile load between 700 and 1300 grams. After completion the tensile load on the slide is reset by the end opening Elasticity to 0.9 to 1.0 mm.
  • the slide is now permanently functional, i.e. it opens and closes it Closure tape securely without becoming brittle or tearing. It then has an end opening of approx. 1.8 mm, minus outer support flanks encompassing the profile of approx. 0.4 mm, i.e. about 1.0 mm, and the closing pressure is permanent.

Landscapes

  • Engineering & Computer Science (AREA)
  • Mechanical Engineering (AREA)
  • Slide Fasteners (AREA)
  • Bag Frames (AREA)
  • Clamps And Clips (AREA)
  • Package Frames And Binding Bands (AREA)
  • Sliding-Contact Bearings (AREA)

Abstract

Ein Schieber für ein Verschlußband umfaßt ein Herzstück (8), zwei aufeinander zu laufende Innenflächen (31, 32) und zwei Stützflanken (14, 15). Um einen derartigen Schieber zu verbessern ist im Bereich der Innenflächen (31, 32) ein weiteres Herzstück (7) vorgesehen (Fig. 2).

Description

Die Erfindung betrifft einen Schieber für ein Verschlußband. Sie betrifft ferner ein Verschlußband mit einem derartigen Schieber und einem Beutel, vorzugsweise aus Kunststoff, mit einem derartigen Verschlußband.
Derartige Schieber und Verschlußbänder, die auch als Profilleistenverschlüsse oder Schiebeverschluß-Streifen oder -Bänder bezeichnet werden können, sind bereits bekannt. Die meisten der bekannten Schieber werden einzeln im Spritzgußverfahren gefertigt und dann mittels komplizierter Vorrichtungen automatisch einzeln auf die Schiebeverschluß-Bänder aufgebracht. Bei den meisten dieser Schieber ist es notwendig, daß sie über sogenannte Rütteltöpfe - in Montagerichtung ausgerichtet - einer Vorrichtung zugeführt werden, die den Schieber aufspreizt und ihn dann dem vorher geöffneten Verschlußband rittlings aufdrückt.
Eine solche Vorrichtung ist zum Beispiel aus der DE-PS 31 36 075 bekannt. Hier werden die Schieber der Reihe nach einem Rotor zugeführt, der den oberen Teil des Schiebers erfaßt, während die Seitenteile (Flügel) des Schiebers in einem Stator langsam aufgespreizt und dann durch den Rotor auf das Schiebeverschluß-Band aufgeschoben werden.
Andere Systeme verwenden komplizierte faltbare Schieber, deren Seitenteile (Flügel) waagrecht stehen und bei der Montage auf das Band scharnierartig zugeklappt werden. Ein derartiger Schieber ist aus der PCT/WO 95/35057 bekannt.
Alle diese Methoden haben den Nachteil, daß einerseits die Schieberherstellung kostspielig ist und andererseits die Montage der Schieber komplizierte Einrichtungen erfordert, die sehr störanfällig sind und nur eine relativ langsame Produktion erlauben.
Aus der DE-PS 16 32 574 sind Schieber und ein Verfahren zu ihrer Aufbringung bekannt, bei dem die U-förmigen Schieber auf Schiebeverschluß-Streifen rittlings aufgesetzt werden. Die ein fortlaufendes Band bildenden Verschluß-Streifen werden schrittweise fortbewegt, und dabei wird jeweils ein Schieber bei ruhendem Verschlußband durch einen Stössel auf das Band aufgedrückt.
Die DE-OS 21 01 875 beschreibt eine Vorrichtung zum Aufbringen von Schiebern auf komplementäre Verschlußelemente, die sich intermittierend an der Vorrichtung vorbeischieben, wobei aus einer endlosen Kette von elastischen Schiebern jeweils ein Schieber aus der Kette auf das Band aufgedrückt wird. Die Schieber-Seitenteile (Flügel) sind biegeelastisch, so daß sie nach dem leichten Aufspreizen und Aufdrücken zurückfedern und das Verschlußband funktionstüchtig umfassen. Mit dieser Methode ist eine störungsarme Fertigung mit relativ hoher Geschwindigkeit möglich. Ein wesentlicher Nachteil besteht aber darin, daß die Schieber aufgrund ihrer geringen Größe von den Verbrauchern nur bedingt angenommen werden. Sie sind nicht sehr handlich und können bei grober Handhabung vom Verschlußband heruntergerissen werden. Ein weiterer Nachteil besteht darin, daß diese Schieber nur im vorderen Teil ein sehr kurzes pfeilartiges Herzstück mit nach innen greifenden Flanken haben. Diese Flanken verhindern durch Festhalten der Profilteile des Verschlußbandes das Abziehen des Schiebers nach oben, dies aber nur im vorderen Drittel des Schiebers. Am Ende des Schiebers befinden sich zwar an den Seitenteilen kleine, nach innen gerichtete Flanken, die das Verschlußband von außen umfassen und ein Abziehen oder Abkippen des Schiebers verhindern sollen. Diese Flanken sind allerdings so kurz, daß sie bereits bei geringer Gewalt über das Profil des Verschlußbandes rutschen können und der Schieber dann in seinem hinteren Teil nach oben abkippt. Dadurch ist die Schließfunktion des Schiebers dann nicht mehr gegeben.
Aufgabe der Erfindung ist es, einen verbesserten Schieber für ein Verschlußband vorzuschlagen.
Diese Aufgabe wird durch die Merkmale des Anspruchs 1 gelöst. Der Schieber, der vorzugsweise aus Kunststoff besteht, umfaßt ein Herzstück, zwei aufeinander zu laufende Innenflächen und zwei Stützflanken. Der Schieber kann eine im wesentlichen U-förmige Gestalt aufweisen. In diesem Fall besteht er aus einem Basisteil und zwei daran anschließenden Seitenteilen bzw. Flügeln. Das Verschlußband, das vorzugsweise aus Kunststoff besteht, umfaßt im allgemeinen zwei Teile bzw. Teilbänder mit Profilen, die ineinandergreifen können. Der Schieber dient zum gleitenden bzw. schiebenden Zusammenfügen und Trennen des Verschlußbandes bzw. der ineinandergreifenden Profile bzw. Teile. Durch die aufeinander zu laufenden Innenflächen des Schiebers werden die ineinandergreifenden Teile des Verschlußbandes aufeinander zu bewegt. Dies wird erreicht durch den sich verringernden Abstand der Innenflächen des Schiebers. Am einen Ende dieser Innenflächen ist das Herzstück vorgesehen, durch das die ineinandergreifenden Teile auf Abstand gehalten werden. Am anderen Ende der Innenflächen des Schiebers sind die Stützflanken vorgesehen. In diesem Bereich sind die ineinandergreifenden Teile zusammengefügt; das Verschlußband ist verhakt bzw. geschlossen.
Gemäß der Erfindung ist im Bereich der Innenflächen des Schiebers ein weiteres Herzstück vorgesehen. Hierbei handelt es sich vorzugsweise um ein verhältnismäßig kleines Herzstück bzw. ein Herzstück, das kleiner ist als das eigentliche Herzstück. Das weitere Herzstück befindet sich zwischen den Innenflächen des Schiebers. Es befindet sich ferner zwischen dem eigentlichen Herzstück und den Stützflanken. Das weitere Herzstück hält mit seinen Seitenflanken die beiden Profilteile des Schiebeverschluß-Bandes sicher auch bis zum mittleren Teil des Schiebers fest und verhindert ein Abkippen des Schieber-Endes nach oben. Gemäß der Erfindung sind die Schiebeverschlußband-Hälften bis zur Mitte des Schiebers fest geführt und gehalten; sie werden dann von dem engeren Ende des Schiebers übernommen. Auf dem jetzt geschlossenen Verschlußband wird der Schieber dann noch von den kleineren Stützflanken gehalten. Wenn die Seitenteile des Schiebers durch eine Gewalteinwirkung, beispielsweise durch Zerren, etwas auseinander gebogen werden sollten, wird ein Abkippen des Schiebers an seinem Ende nach oben verhindert, da das weitere Herzstück in der Mitte des Schiebers das Verschlußband festhält.
Durch die Erfindung wird ein Schieber geschaffen, mit dem die eingangs angegebenen Nachteile vermieden werden können. Der Schieber weist eine handliche Größe auf. Er ist dennoch leicht in Kette herzustellen, so daß eine schnelle störungsarme Produktion ermöglicht wird. Durch die Erfindung wird der Nachteil des zu leichten Abkippens des Schiebers im hinteren Teil verhindert, indem zwei getrennte Herzstücke mit Führungsflanken hintereinander angeordnet sind. Außerdem wird die für das Funktionieren des Schiebers notwendige Biegeelastizität des jeweils verwendeten Kunststoffes definiert. Schließlich umfaßt die Erfindung eine Verbesserung eines Verfahrens zum Aufbringen einer Endloskette von Schiebern auf ein Schiebeverschlußband.
Vorteilhafte Weiterbildungen sind in den Unteransprüchen beschrieben.,
Vorzugsweise ist das weitere Herzstück mit dem anderen Herzstück verbunden. Die Verbindung erfolgt vorzugsweise durch einen Steg. Vorteilhaft ist es, einen dünnen Steg vorzusehen.
Nach einer weiteren vorteilhaften Weiterbildung sind an der Oberseite des Schiebers Aufsätze vorgesehen. Wenn der Schieber eine U-förmige Gestalt hat, befinden sich die Aufsätze vorzugsweise am Basisteil, und zwar an der den Seitenwänden bzw. Flügeln gegenüberliegenden Seite des Basisteils. Die Aufsätze dienen zum Aufspreizen bzw. Vorspreizen des Schiebers beim Aufbringen des Schiebers auf ein Verschlußband.
Der Schieber ist vorzugsweise aus HDPE hergestellt, also aus Niederdruck-Polyethylen (high density polyethylen). HDPE läßt sich mit Hochdruck-Polyethylen (low density polyethylen, NDPE), aus dem die meisten Taschen oder Beutel hergestellt sind, gut recyceln, aber auch mit Polypropylen, aus dem zunehmend mehr Beutel und Verschlußbänder hergestellt werden.
Die Erfindung betrifft ferner ein Verschlußband, vorzugsweise aus Kunststoff, das einen erfindungsgemäßen Schieber aufweist, und einen Beutel, vorzugsweise aus Kunststoff, der durch ein erfindungsgemäßes Verschlußband gekennzeichnet ist.
Ausführungsbeispiele der Erfindung werden nachstehend anhand der beigefügten Zeichung im einzelnen erläutert. In der Zeichnung zeigt
Fig. 1
einen Schieber nach der DE-OS 16 32 574 in einer perspektivischen Darstellung,
Fig. 2
einen erfindungsgemäßen Schieber in einer Draufsicht von unten,
Fig. 3
den Schieber gemäß Fig. 2 in einer Ansicht von vorne (auf die in Fig. 2 links gezeigte Seite des Schiebers),
Fig. 4
einen Schnitt längs der Linie A-A in Fig. 2,
Fig. 5
eine abgewandelte Ausführungsform, bei der das weitere kleinere Herzstück nicht durch einen Steg mit dem ersten größeren Herzstück verbunden ist,
Fig. 6
den Schieber gemäß Fig. 2 bis 5 in einer Draufsicht von oben,
Fig. 7
den Schieber und einen Stößel, wobei sich der Stössel in zurückgezogener Stellung befindet und
Fig. 8
den Stössel beim Aufdrücken des Schiebers auf das Verschlußband.
Die Fig. 1 zeigt einen Schieber der bekannten Art in einer perspektivischen Ansicht. Der Schieber 30 ist im wesentlichen U-förmig gestaltet. Er weist einen Basisteil 6 auf und zwei davon abstehende Seitenteile 4 und 5, die auch als Flügel bezeichnet werden können. Die Innenflächen 31, 32 der Seitenteile 4, 5 laufen aufeinander zu. Ihr Abstand voneinander verringert sich in einer Richtung, die der Richtung des Pfeils 33 entgegengesetzt ist.
An einem Ende der Innenflächen 31, 32 ist ein Herzstück 1 angeordnet. Es befindet sich an demjenigen Ende des Schiebers, an dem der Abstand der Innenflächen 31, 32 am größten ist. Das in Richtung nach unten pfeilförmig ausgestaltete Herzstück 1 weist seitliche Flanken 2, 3 auf, die zusammen mit kleineren Flanken der Seitenwände 4, 5 sowie den Seitenwänden 4, 5 und entsprechenden Seitenwänden des Herzstücks 1 voneinander getrennte Einlaufkanäle für die Verschlußprofilteile bilden.
Am anderen Ende der Innenflächen 31, 32 sind Stützflanken z vorgesehen, die von den Innenflächen 31, 32 nach innen abstehen und die gemeinsam mit den Innenflächen einen Auslaufkanal bilden.
Der Schieber 30 wird nach unten auf ein Verschlußband aufgedrückt. Hierbei geben die Seitenwände 4, 5 nach außen nach, bis sich das Verschlußband in dem Schieber befindet. In dieser Stellung läuft jeweils ein Verschlußprofil durch einen den beiden Einlaufkanäle auf beiden Seiten des Herzstücks 1. Am anderen Ende des Schiebers laufen die verrasteten bzw. zusammengefügten Verschlußbänder durch den Auslaufkanal.
Bei dem in Fig. 1 gezeigten Schieber der bekannten Art sind die Flanken 2, 3 des Herzstücks 1 nur sehr kurz. Diese Flanken 2, 3 halten den Schieber zusammen mit den Flanken der Seitenwände 4, 5 in seinem vorderen Teil auf dem Schiebeverschluß-Profil fest. Das andere, dem Herzstück 1 abgewandte Ende des Schiebers ist verjüngt und drückt die beiden Verschlußprofilteile beim Bewegen des Schiebers in Richtung des Pfeils 33 zusammen, so daß dann das Verschlußband geschlossen ist. Beim Bewegen des Schiebers in Gegenrichtung (entgegen der Richtung des Pfeils 33) trennt das Herzstück 1 die beiden Verschlußprofilteile zum Öffnen des Verschlusses.
Der hintere, dem Herzstück 1 abgewandte Teil des Schiebers 30 wird auf dem Verschlußband nur durch kurze Flanken bzw. Stützflanken z, die von den Seitenteilen 4 und 5 nach innen ragen, festgehalten. Dadurch kann der Schieber 30 an dieser Stelle durch Dehnung der Seitenteile 4, 5 über das Verschlußprofil rutschen und nach oben kippen, was zum Funktionsausfall führt.
Die Figuren 2 bis 6 zeigen einen erfindungsgemäßen Schieber. Wie aus Fig. 2 ersichtlich, ist dort ein weiteres (zweites), kleineres Herzstück 7 vorhanden, das sich zwischen dem vorderen (ersten, eigentlichen), größeren Herzstück 8 und dem hinteren Ende des Schiebers befindet. Das weitere Herzstück 7 befindet sich ferner zwischen den Innenflächen 31, 32. Es besitzt nach außen weisende Stützflanken 12, 13. Ferner ist das zweite Herzstück 7 mit dem Herzstück 8 durch einen dünnen Steg 24 verbunden.
Die äußeren Enden der Stützflanken 16, 17 des Herzstücks 8 sind von den inneren Enden der von den Seitenwänden 20, 21 nach innen ragenden Stützflanken 18, 19 beabstandet. Hierdurch werden Schlitze 9, 10 für die Hälften des Verschlußbandes gebildet. An dem dem Herzstück 8 gegenüberliegenden Ende des Schiebers sind Stützflanken 14, 15 vorhanden, die von den Innenflächen 31, 32 nach innen abstehen. Die inneren Enden der Stützflanken 14, 15 sind voneinander beabstandet, wodurch eine Öffnung 11 gebildet wird.
Beim Betrieb laufen die beiden Verschlußbandhälften des Schiebeverschlußbandes getrennt durch die beiden Schlitze 9, 10 ein, wenn der Schieber in Richtung des Pfeils 33 bewegt wird. Die Verschlußbandhälften werden im dünneren hinteren Teil des Schiebers geschlossen. Sie treten als geschlossener Verschluß aus der Öffnung 11 aus.
Das weitere, zweite, kleinere Herzstück 7 hält mit seinen Seitenflanken 12, 13 die beiden Profilteile des Schiebeverschlußbandes sicher auch bis zum mittleren Teil des Schiebers fest und verhindert ein Abkippen des dem Herzstück 8 gegenüberliegenden Schieber-Endes nach oben. Die Schiebeverschlußband-Hälften sind gemäß der Erfindung bis zur Mitte des Schiebers fest geführt und gehalten; sie werden dann von dem engeren Ende des Schiebers übernommen. Auf dem jetzt geschlossenen Verschlußband wird der Schieber dann noch von den kleineren Stützflanken 14, 15 gehalten. Sollte man sodann durch Zerren die Seitenteile 20, 21 des Schiebers etwas auseinanderbiegen und droht der Schieber an seinem dem Herzstück 8 abgewandten Ende nach oben abzukippen, hält dennoch das weitere, kleinere Herzstück 7 in der Mitte des Schiebers diesen Schieber an dem Verschlußband fest.
In Fig. 3 sieht man den Schieber gemäß Fig. 2 von vorne (von den Schlitzen 9, 10) aus, also am Einlauf der beiden Verschlußband-Hälften. Die Stützflanken 16, 17 des Herzstücks 8 halten die Verschlußband-Hälften von innen, während die Stützflanken 18, 19 der Seitenwände 20, 21 diese von außen fest auf dem Schieber halten.
Wie ferner aus Fig. 3 ersichtlich, sind am oberen Teil des Schiebers, also an dessen Basisteil 6, Aufsätze 22, 23 vorgesehen, die einen im wesentlichen rechteckigen Querschnitt aufweisen, der allerdings an den Ecken etwas abgerundet ist. Diese Aufsätze 22, 23 dienen zum Vorspreizen des Schiebers durch einen Stössel, wie in den Figuren 7 und 8 gezeigt.
Die Fig. 4 zeigt einen Schnitt längs der Linie A-A in Fig. 2. Die Herzstücke 8 und 7 sind durch einen dünnen Steg 24 miteinander verbunden.
Bei der in Fig. 5 gezeigten, abgewandelten Ausführungsform sind die Herzstücke 8, 7 nicht durch einen Steg verbunden, sondern voneinander getrennt. Diese Ausführungsform hat den Vorteil, daß Material gespart wird und daß sich die Seitenteile beim Aufschießen der Schieber leichter aufspreizen.
Fig. 6 zeigt den Schieber in einer Draufsicht von oben. Neben den Verschlußband-Einlauföffnungen 9, 10 sieht man die Stützflanken 16, 17 des (ersten, eigentlichen, größeren) Herzstücks 8 sowie die äußeren, kleineren Stützflanken 18, 19 an den Seitenteilen 20, 21. Am (mittleren, kleineren) weiteren Herzstück 7 sind die Stützflanken 12, 13 zu sehen. Das Basisteil 6 weist Durchbrüche 34, 35 auf. An dem Ende des Schiebers, aus dem das geschlossene Schiebeverschluß-Band austritt, befinden sich an den Seitenteilen 20, 21 die kleinen Stützflanken 14, 15.
Die Figuren 7 und 8 zeigen das Zusammenwirken des Schiebers mit einem Stössel 26 zum Aufspreizen des Schiebers. Der Stössel 26 weist Vorsprünge 27, 28 auf, die voneinander beabstandet sind. Die einander zugewandten Flächen der Vorsprünge 27, 28 verlaufen geneigt zueinander, und zwar derart, daß sich der Abstand zwischen diesen Flächen mit zunehmendem Abstand von dem Stössel 26 vergrößert. Auf diese Weise wird von den einander zugewandten Innenflächen der Vorsprünge 27, 28 eine konischen Ausnehmung gebildet.
In der in Fig. 7 gezeigten Stellung sind die Vorsprünge 27, 28 des Stössels 26 von den Aufsätzen 22, 23 des Schiebers beabstandet. Zum Aufschießen des Schiebers auf das Verschlußband wird der Abstand zwischen dem Schieber und dem Stössel 26 verringert, bis die in Fig. 8 gezeigte Stellung erreicht ist. Beim Vorrücken des Stössels 26 greifen die Innenflächen der Vorsprünge 27, 28 an die Aufsätze 22, 23. Hierdurch wird ein Druck auf die Aufsätze 22, 23 ausgeübt, der diese Aufsätze 22, 23 dann in der aus Fig. 8 ersichtlichen Weise aufeinander zu bewegt. Dadurch spreizen sich die Seitenwände 20, 21 des Schiebers in der ebenfalls aus Fig. 8 ersichtlichen Weise etwas auf, so daß der Schieber leichter auf das Verschlußband gedrückt werden kann. Durch die Biege-Elastizität des Schiebers springen die Seitenwände 20, 21 nach dem Aufdrücken wieder zurück; sie umfassen dann das Verschlußband.
Von erheblicher Bedeutung für das störungsfreie Aufbringen des erfindungsgemäßen Schiebers ist seine Biege-Elastizität. Zum einem muß der Schieber nach dem Aufspreizen wieder in seine Ausgangsstellung zurückfedern, zum anderen darf dieses Aufspreizen nicht zu schwer gehen. Ferner darf der Schieberkörper beim Aufspreizen und noch lange Zeit danach nicht spröde werden. Er darf auch keine Risse bekommen. Schließlich soll sich der Schieber zusammen mit dem Verschlußbeutel und dem Schiebeverschlußband wiederverwenden (recyclen) lassen.
Um dies zu erreichen muß das Material aus dem gleichen oder ähnlichen Grundmaterial bestehen wie die Taschen oder die Beutel, aus dem der Schiebeverschluß-Beutel hergestellt ist. Ein besonders geeignetes Kunststoffmaterial ist Niederdruck-Polyethylen (high density polyethylen HDPE), welches sich mit Hochdruckpolyethylen (low density polyethylen, NDPE), aus dem die meisten Taschen oder Beutel hergestellt sind, gut recyclen läßt. Immer mehr werden die Beutel und das Verschlußband auch aus Polypropylen hergestellt. Auch mit diesem Material zusammen lassen sich die Schieber aus HDPE recyclen, das heißt vermahlen und wiederverwenden. Ein solches Material ist beispielsweise ein HDPE der Firma Borealis A/S mit einer Melt Flow Rate von 12g/10 min und einer Shore-Härte von 62.
Die Biegeelastitzität des Schiebers wurde durch zahlreiche Versuche untersucht und kann z.B. wie folgt definiert werden: Versuche am Schieber-Ende, ausgehend von einer Endöffnung am gespritzten 20-Stück-Strang von 0,45 bis 0,60 mm, gemessen am freien Durchgang inklusive der äußeren kleinen Stützflanken 14, 15.
Ein Schieber wird an seinen beiden angespritzten Verbindungsseiten der Kette mittels zweier Klemmen an einer Federwaage befestigt und im Zugversuch die Endöffnung des Schiebers soweit belastet, das es sich an den profilumgreifenden äußeren Stützflanken 14, 15 auf die Stärke des Verschlußbandes, ca. 1,8 mm, öffnet. Dies erfordert eine Zugbelastung zwischen 700 bis 1300 Gramm. Nach Beendigung der Zugbelastung erfolgt am Schieber eine Rückstellung der Endöffnung durch seine Elastizität auf 0,9 bis 1,0 mm.
Der Schieber ist nun dauerhaft funktionsfähig, das heißt er öffnet und schließt das Verschlußband sicher ohne zu verspröden oder einzureißen. Er hat dann eine Endöffnung von ca. 1,8 mm, minus profilumgreifende äußere Stützflanken von je ca. 0,4 mm, also etwa 1,0 mm, und der Schließdruck hält dauerhaft an.

Claims (6)

  1. Schieber für ein Verschlußband mit einem Herzstück (8), zwei aufeinander zu laufenden Innenflächen (31, 32) und zwei Stützflanken (14, 15),
    dadurch gekennzeichnet, daß im Bereich der Innenflächen (31, 32) ein weiteres Herzstück (7) vorgesehen ist.
  2. Schieber nach Anspruch 1, dadurch gekennzeichnet, daß das weitere Herzstück (7) mit dem Herzstück (8) verbunden ist, vorzugsweise durch einen Steg (24).
  3. Schieber nach Anspruch 1 oder 2, dadurch gekennzeichnet, daß an der Oberseite des Schiebers Aufsätze (22, 23) vorgesehen sind.
  4. Schieber nach einem der vorhergehenden Ansprüche, dadurch gekennzeichnet, daß der Schieber aus HDPE hergestellt ist.
  5. Verschlußband, vorzugsweise aus Kunststoff gekennzeichnet durch einen Schieber nach einem der Ansprüche 1 bis 4.
  6. Tasche oder Beutel, vorzugsweist aus Kunststoff, gekennzeichnet durch ein Verschlußband nach Anspruch 5.
EP01108160A 2000-05-11 2001-03-30 Schieber für ein Verschlussband, vorzugsweise aus Kunststoff Expired - Lifetime EP1153552B1 (de)

Applications Claiming Priority (2)

Application Number Priority Date Filing Date Title
DE10023059A DE10023059B4 (de) 2000-05-11 2000-05-11 Schieber für ein Verschlußband, Verschlußband und Tasche oder Beutel, vorzugsweise aus Kunststoff
DE10023059 2000-05-11

Publications (3)

Publication Number Publication Date
EP1153552A2 true EP1153552A2 (de) 2001-11-14
EP1153552A3 EP1153552A3 (de) 2004-02-18
EP1153552B1 EP1153552B1 (de) 2006-06-21

Family

ID=7641636

Family Applications (1)

Application Number Title Priority Date Filing Date
EP01108160A Expired - Lifetime EP1153552B1 (de) 2000-05-11 2001-03-30 Schieber für ein Verschlussband, vorzugsweise aus Kunststoff

Country Status (6)

Country Link
US (1) US6490769B2 (de)
EP (1) EP1153552B1 (de)
AT (1) ATE330501T1 (de)
DE (2) DE10023059B4 (de)
DK (1) DK1153552T3 (de)
ES (1) ES2266043T3 (de)

Cited By (1)

* Cited by examiner, † Cited by third party
Publication number Priority date Publication date Assignee Title
FR2903087A1 (fr) * 2006-06-29 2008-01-04 S2F Flexico Sarl Dispositif de fermeture a curseur pour sachet, comprenant des moyens anti-arrachement

Families Citing this family (21)

* Cited by examiner, † Cited by third party
Publication number Priority date Publication date Assignee Title
US7454823B2 (en) * 1999-06-10 2008-11-25 The Glad Products Company Method and apparatus for assembling slider members onto interlocking fastening strips
US6691375B1 (en) * 1999-06-10 2004-02-17 The Glad Products Company Closure device and method of assembly
US6584666B1 (en) * 1999-06-10 2003-07-01 The Glad Products Company Method and apparatus for assembling slider members onto interlocking fastening strips using a rail
MXPA04003600A (es) * 2001-10-17 2005-06-06 Pliant Corp Deslizaderas para recipientes resellables.
US6983573B2 (en) * 2002-06-07 2006-01-10 Reynolds Consumer Products, Inc. Method of applying a slider device to an open closure mechanism on a resealable bag
US6951421B2 (en) * 2003-02-14 2005-10-04 Illinois Tool Works Inc. Reclosable packaging having slider-operated string zipper
US6811528B1 (en) * 2004-02-09 2004-11-02 Chun-Shan Chen Machine for installing a zipper slider to a zipper bag
US7574781B2 (en) 2004-04-09 2009-08-18 S.C. Johnson Home Storage, Inc. Closure assembly with slider
US7670051B2 (en) * 2004-10-11 2010-03-02 Ashok Chaturvedi Leak proof re-closable flexible pouch
US7188394B2 (en) * 2005-01-31 2007-03-13 S.C. Johnson Home Storage, Inc. Hollow ribbed slider for a reclosable pouch
US20060171610A1 (en) * 2005-01-31 2006-08-03 Buchman James E Internal gripping slider and method
DE602005025537D1 (de) * 2005-02-03 2011-02-03 Ashok Chaturvedi Kindersicherer wiederverschliessbarer beutel
US7461434B2 (en) * 2005-05-26 2008-12-09 S.C. Johnson Home Storage, Inc. Slider for closure assembly
US20060269171A1 (en) * 2005-05-26 2006-11-30 Turvey Robert R Slider with laterally displaceable engagement members
CA2548184A1 (en) * 2005-05-26 2006-11-26 S. C. Johnson Home Storage, Inc. Apparatus and method of operatively retaining an actuating member on an elongated closure mechanism
US7797802B2 (en) 2007-11-29 2010-09-21 S.C. Johnson & Son, Inc. Actuating member for a closure assembly and method
US8245364B2 (en) * 2008-04-23 2012-08-21 S.C. Johnson & Son, Inc. Closure mechanism having internal projections to decrease slider pull-off
US9126724B2 (en) * 2013-03-15 2015-09-08 Exopack Llc Child-resistant zipper assemblies and packages utilizing the same
US9456663B1 (en) * 2014-03-18 2016-10-04 Rodawg Holdings Llc Child-proof locking system
US10869526B2 (en) 2019-01-04 2020-12-22 Target Brands, Inc. Slide closure with stabilizing fins and associated garment
US11077989B2 (en) * 2019-06-21 2021-08-03 Reynolds Presto Products Inc. Slider device, zipper closure system, and methods of use

Family Cites Families (13)

* Cited by examiner, † Cited by third party
Publication number Priority date Publication date Assignee Title
FR1529652A (fr) * 1967-03-07 1968-06-21 Curseur pour fermeture de sachets constitués par des bandes profilées complémentaires
FR2076728A5 (de) * 1970-01-26 1971-10-15 Minigrip Europ As
FR2491742A1 (fr) * 1980-10-14 1982-04-16 Flexico France Sarl Machine pour la pose automatique de curseurs sur des bandes de fermeture a profiles d'accouplement
DE3208245A1 (de) * 1982-03-08 1983-09-15 ASF Gleitverschluß GmbH, 8500 Nürnberg Verfahren zum aufbringen eines schiebers auf verschlussleisten eines profilleistenverschlusses und schieber und einrichtung zum durchfuehren des verfahrens
US5007142A (en) * 1990-03-07 1991-04-16 Mobil Oil Corp. Method of assembling a snapped-together multipart plastic slider with a plastic reclosable fastener
US5010627A (en) * 1990-03-07 1991-04-30 Mobil Oil Corporation Foldable plastic slider and method of assembly with a plastic reclosable fastener
FR2667225B1 (fr) * 1990-10-01 1992-12-31 Flexico France Sarl Curseur pour sachets ou sacs munis d'une fermeture plastique a deux profils emboitables.
WO1992019450A1 (en) * 1991-04-26 1992-11-12 Mobil Oil Corporation Method for assembling a multipart plastic slider with a plastic reclosable fastener by ultrasonic welding
AU645414B2 (en) * 1991-04-27 1994-01-13 Ykk Corporation Slider with yoke for slide fastener and its joining method
US5283932A (en) * 1993-06-10 1994-02-08 Mobil Oil Corporation Flexible plastic zipper slider with rigidizing structure for assembly with profiled plastic zipper
FR2721381B1 (fr) * 1994-06-20 1996-08-02 Seb Sa Dispositif de production d'eau chaude ou de vapeur.
US5871281A (en) * 1996-11-25 1999-02-16 Kcl Corporation Zipper slider pivoting wedge
US6059456A (en) * 1997-04-23 2000-05-09 Reynolds Consumer Products, Inc. Reclosable profile arrangement using slidable closure strip

Cited By (3)

* Cited by examiner, † Cited by third party
Publication number Priority date Publication date Assignee Title
FR2903087A1 (fr) * 2006-06-29 2008-01-04 S2F Flexico Sarl Dispositif de fermeture a curseur pour sachet, comprenant des moyens anti-arrachement
EP1873072A3 (de) * 2006-06-29 2008-03-05 S2F Flexico Schließvorrichtung mit Läufer für Beutel, die Abreissschutzmittel umfasst
US7976219B2 (en) 2006-06-29 2011-07-12 S2F Flexico Closing device with slider for sachet, comprising anti-engagement means

Also Published As

Publication number Publication date
US6490769B2 (en) 2002-12-10
DE10023059B4 (de) 2013-04-11
EP1153552A3 (de) 2004-02-18
US20010039698A1 (en) 2001-11-15
DE50110208D1 (de) 2006-08-03
DE10023059A1 (de) 2001-11-15
ATE330501T1 (de) 2006-07-15
EP1153552B1 (de) 2006-06-21
DK1153552T3 (da) 2006-07-31
ES2266043T3 (es) 2007-03-01

Similar Documents

Publication Publication Date Title
DE10023059B4 (de) Schieber für ein Verschlußband, Verschlußband und Tasche oder Beutel, vorzugsweise aus Kunststoff
DE3345661C2 (de) Schnürung
DE19924539C2 (de) Fluiddichter Reißverschluß
DE69127966T2 (de) Reissverschlussprofil mit rollender schliessbewegung und entsprechender schieber
DE69925347T2 (de) Trennbarer unterer Endanschlag für Reissverschlüsse
DE2505206C3 (de) Reißverschlußschieber
DE2063493C3 (de) Verfahren und Vorrichtung zum Aufsetzen von Schiebern auf eine Reißverschlußgliederreihe
DE2815638C2 (de) Reißverschlußschieber
DE68909560T2 (de) Trennbarer Reissverschluss.
EP0847246A1 (de) Reissverschluss
DE3419238A1 (de) Loesbares schloss
AT389805B (de) Reissverschluss
CH641019A5 (de) Trennbarer reissverschluss.
DE1610466A1 (de) Reissverschluss
DE2537059C2 (de) Reißverschlußkette und Vorrichtung zu deren Herstellung
DE2940496C2 (de) Reißverschluß
DE4230730B4 (de) Umreifungsmaschine mit einem Bandführungsrahmen
DE2733532C2 (de) Verfahren zum Anbringen eines aus einem Einsteckteil und aus einem mit einem Stift versehenen Kastenteil bestehenden Teilbarkeitselementes an zwei Reißverschlußbändern
DE2610071A1 (de) Verfahren zum herstellen endseitig versiegelter reissverschlusshaelften
DE2336162A1 (de) Oberer endanschlag fuer reissverschluesse
DE2461510A1 (de) Oberer endanschlag fuer reissverschluesse
DE2930918C2 (de) Reißverschluß mit dreiteiliger Endverbindung
DE2941137C2 (de) Teilbare Reißverschlußkette
DE7007100U (de) Reissverschluss.
DE1278775B (de) Trennbares, aus spritzbarem Kunststoff bestehendes Endglied fuer einen Reissverschluss

Legal Events

Date Code Title Description
PUAI Public reference made under article 153(3) epc to a published international application that has entered the european phase

Free format text: ORIGINAL CODE: 0009012

AK Designated contracting states

Kind code of ref document: A2

Designated state(s): AT BE CH CY DE DK ES FI FR GB GR IE IT LI LU MC NL PT SE TR

AX Request for extension of the european patent

Free format text: AL;LT;LV;MK;RO;SI

PUAL Search report despatched

Free format text: ORIGINAL CODE: 0009013

AK Designated contracting states

Kind code of ref document: A3

Designated state(s): AT BE CH CY DE DK ES FI FR GB GR IE IT LI LU MC NL PT SE TR

AX Request for extension of the european patent

Extension state: AL LT LV MK RO SI

17P Request for examination filed

Effective date: 20040609

AKX Designation fees paid

Designated state(s): AT BE CH CY DE DK ES FI FR GB GR IE IT LI LU MC NL PT SE TR

17Q First examination report despatched

Effective date: 20050630

GRAP Despatch of communication of intention to grant a patent

Free format text: ORIGINAL CODE: EPIDOSNIGR1

GRAS Grant fee paid

Free format text: ORIGINAL CODE: EPIDOSNIGR3

GRAA (expected) grant

Free format text: ORIGINAL CODE: 0009210

AK Designated contracting states

Kind code of ref document: B1

Designated state(s): AT BE CH CY DE DK ES FI FR GB GR IE IT LI LU MC NL PT SE TR

PG25 Lapsed in a contracting state [announced via postgrant information from national office to epo]

Ref country code: IT

Free format text: LAPSE BECAUSE OF FAILURE TO SUBMIT A TRANSLATION OF THE DESCRIPTION OR TO PAY THE FEE WITHIN THE PRESCRIBED TIME-LIMIT;WARNING: LAPSES OF ITALIAN PATENTS WITH EFFECTIVE DATE BEFORE 2007 MAY HAVE OCCURRED AT ANY TIME BEFORE 2007. THE CORRECT EFFECTIVE DATE MAY BE DIFFERENT FROM THE ONE RECORDED.

Effective date: 20060621

Ref country code: FI

Free format text: LAPSE BECAUSE OF FAILURE TO SUBMIT A TRANSLATION OF THE DESCRIPTION OR TO PAY THE FEE WITHIN THE PRESCRIBED TIME-LIMIT

Effective date: 20060621

Ref country code: IE

Free format text: LAPSE BECAUSE OF FAILURE TO SUBMIT A TRANSLATION OF THE DESCRIPTION OR TO PAY THE FEE WITHIN THE PRESCRIBED TIME-LIMIT

Effective date: 20060621

REG Reference to a national code

Ref country code: GB

Ref legal event code: FG4D

Free format text: NOT ENGLISH

REG Reference to a national code

Ref country code: CH

Ref legal event code: EP

REG Reference to a national code

Ref country code: IE

Ref legal event code: FG4D

Free format text: LANGUAGE OF EP DOCUMENT: GERMAN

REG Reference to a national code

Ref country code: DK

Ref legal event code: T3

REF Corresponds to:

Ref document number: 50110208

Country of ref document: DE

Date of ref document: 20060803

Kind code of ref document: P

PG25 Lapsed in a contracting state [announced via postgrant information from national office to epo]

Ref country code: SE

Free format text: LAPSE BECAUSE OF FAILURE TO SUBMIT A TRANSLATION OF THE DESCRIPTION OR TO PAY THE FEE WITHIN THE PRESCRIBED TIME-LIMIT

Effective date: 20060921

GBT Gb: translation of ep patent filed (gb section 77(6)(a)/1977)

Effective date: 20060924

PG25 Lapsed in a contracting state [announced via postgrant information from national office to epo]

Ref country code: PT

Free format text: LAPSE BECAUSE OF FAILURE TO SUBMIT A TRANSLATION OF THE DESCRIPTION OR TO PAY THE FEE WITHIN THE PRESCRIBED TIME-LIMIT

Effective date: 20061121

REG Reference to a national code

Ref country code: IE

Ref legal event code: FD4D

ET Fr: translation filed
REG Reference to a national code

Ref country code: ES

Ref legal event code: FG2A

Ref document number: 2266043

Country of ref document: ES

Kind code of ref document: T3

PLBE No opposition filed within time limit

Free format text: ORIGINAL CODE: 0009261

STAA Information on the status of an ep patent application or granted ep patent

Free format text: STATUS: NO OPPOSITION FILED WITHIN TIME LIMIT

26N No opposition filed

Effective date: 20070322

REG Reference to a national code

Ref country code: CH

Ref legal event code: PL

BERE Be: lapsed

Owner name: ASF VERWALTUNGS G.M.B.H.

Effective date: 20070331

PG25 Lapsed in a contracting state [announced via postgrant information from national office to epo]

Ref country code: BE

Free format text: LAPSE BECAUSE OF NON-PAYMENT OF DUE FEES

Effective date: 20070331

PG25 Lapsed in a contracting state [announced via postgrant information from national office to epo]

Ref country code: MC

Free format text: LAPSE BECAUSE OF NON-PAYMENT OF DUE FEES

Effective date: 20070331

PG25 Lapsed in a contracting state [announced via postgrant information from national office to epo]

Ref country code: LI

Free format text: LAPSE BECAUSE OF NON-PAYMENT OF DUE FEES

Effective date: 20070331

Ref country code: CH

Free format text: LAPSE BECAUSE OF NON-PAYMENT OF DUE FEES

Effective date: 20070331

PG25 Lapsed in a contracting state [announced via postgrant information from national office to epo]

Ref country code: GR

Free format text: LAPSE BECAUSE OF FAILURE TO SUBMIT A TRANSLATION OF THE DESCRIPTION OR TO PAY THE FEE WITHIN THE PRESCRIBED TIME-LIMIT

Effective date: 20060922

PG25 Lapsed in a contracting state [announced via postgrant information from national office to epo]

Ref country code: AT

Free format text: LAPSE BECAUSE OF NON-PAYMENT OF DUE FEES

Effective date: 20070330

PG25 Lapsed in a contracting state [announced via postgrant information from national office to epo]

Ref country code: CY

Free format text: LAPSE BECAUSE OF FAILURE TO SUBMIT A TRANSLATION OF THE DESCRIPTION OR TO PAY THE FEE WITHIN THE PRESCRIBED TIME-LIMIT

Effective date: 20060621

Ref country code: LU

Free format text: LAPSE BECAUSE OF NON-PAYMENT OF DUE FEES

Effective date: 20070330

PG25 Lapsed in a contracting state [announced via postgrant information from national office to epo]

Ref country code: TR

Free format text: LAPSE BECAUSE OF FAILURE TO SUBMIT A TRANSLATION OF THE DESCRIPTION OR TO PAY THE FEE WITHIN THE PRESCRIBED TIME-LIMIT

Effective date: 20060621

PGFP Annual fee paid to national office [announced via postgrant information from national office to epo]

Ref country code: IT

Payment date: 20120321

Year of fee payment: 12

PGFP Annual fee paid to national office [announced via postgrant information from national office to epo]

Ref country code: ES

Payment date: 20130326

Year of fee payment: 13

Ref country code: DK

Payment date: 20130321

Year of fee payment: 13

PGFP Annual fee paid to national office [announced via postgrant information from national office to epo]

Ref country code: NL

Payment date: 20130321

Year of fee payment: 13

REG Reference to a national code

Ref country code: DK

Ref legal event code: EBP

Effective date: 20140331

REG Reference to a national code

Ref country code: NL

Ref legal event code: V1

Effective date: 20141001

PG25 Lapsed in a contracting state [announced via postgrant information from national office to epo]

Ref country code: NL

Free format text: LAPSE BECAUSE OF NON-PAYMENT OF DUE FEES

Effective date: 20141001

PG25 Lapsed in a contracting state [announced via postgrant information from national office to epo]

Ref country code: IT

Free format text: LAPSE BECAUSE OF NON-PAYMENT OF DUE FEES

Effective date: 20140330

REG Reference to a national code

Ref country code: ES

Ref legal event code: FD2A

Effective date: 20150427

PG25 Lapsed in a contracting state [announced via postgrant information from national office to epo]

Ref country code: DK

Free format text: LAPSE BECAUSE OF NON-PAYMENT OF DUE FEES

Effective date: 20140331

PG25 Lapsed in a contracting state [announced via postgrant information from national office to epo]

Ref country code: ES

Free format text: LAPSE BECAUSE OF NON-PAYMENT OF DUE FEES

Effective date: 20140331

REG Reference to a national code

Ref country code: FR

Ref legal event code: PLFP

Year of fee payment: 16

PGFP Annual fee paid to national office [announced via postgrant information from national office to epo]

Ref country code: GB

Payment date: 20160321

Year of fee payment: 16

Ref country code: FR

Payment date: 20160328

Year of fee payment: 16

PGFP Annual fee paid to national office [announced via postgrant information from national office to epo]

Ref country code: DE

Payment date: 20160330

Year of fee payment: 16

REG Reference to a national code

Ref country code: DE

Ref legal event code: R119

Ref document number: 50110208

Country of ref document: DE

GBPC Gb: european patent ceased through non-payment of renewal fee

Effective date: 20170330

REG Reference to a national code

Ref country code: FR

Ref legal event code: ST

Effective date: 20171130

PG25 Lapsed in a contracting state [announced via postgrant information from national office to epo]

Ref country code: DE

Free format text: LAPSE BECAUSE OF NON-PAYMENT OF DUE FEES

Effective date: 20171003

Ref country code: FR

Free format text: LAPSE BECAUSE OF NON-PAYMENT OF DUE FEES

Effective date: 20170331

PG25 Lapsed in a contracting state [announced via postgrant information from national office to epo]

Ref country code: GB

Free format text: LAPSE BECAUSE OF NON-PAYMENT OF DUE FEES

Effective date: 20170330