EP1010809B1 - Räumgerät mit Räumbrett aus Kunststoff - Google Patents

Räumgerät mit Räumbrett aus Kunststoff Download PDF

Info

Publication number
EP1010809B1
EP1010809B1 EP99113621A EP99113621A EP1010809B1 EP 1010809 B1 EP1010809 B1 EP 1010809B1 EP 99113621 A EP99113621 A EP 99113621A EP 99113621 A EP99113621 A EP 99113621A EP 1010809 B1 EP1010809 B1 EP 1010809B1
Authority
EP
European Patent Office
Prior art keywords
mouldboard
gap
clearing device
frame
clearing
Prior art date
Legal status (The legal status is an assumption and is not a legal conclusion. Google has not performed a legal analysis and makes no representation as to the accuracy of the status listed.)
Expired - Lifetime
Application number
EP99113621A
Other languages
English (en)
French (fr)
Other versions
EP1010809A3 (de
EP1010809A2 (de
Inventor
Robert V. Vickers
Current Assignee (The listed assignees may be inaccurate. Google has not performed a legal analysis and makes no representation or warranty as to the accuracy of the list.)
Louis Berkman Co
Original Assignee
Louis Berkman Co
Priority date (The priority date is an assumption and is not a legal conclusion. Google has not performed a legal analysis and makes no representation as to the accuracy of the date listed.)
Filing date
Publication date
Application filed by Louis Berkman Co filed Critical Louis Berkman Co
Publication of EP1010809A2 publication Critical patent/EP1010809A2/de
Publication of EP1010809A3 publication Critical patent/EP1010809A3/de
Application granted granted Critical
Publication of EP1010809B1 publication Critical patent/EP1010809B1/de
Anticipated expiration legal-status Critical
Expired - Lifetime legal-status Critical Current

Links

Images

Classifications

    • EFIXED CONSTRUCTIONS
    • E01CONSTRUCTION OF ROADS, RAILWAYS, OR BRIDGES
    • E01HSTREET CLEANING; CLEANING OF PERMANENT WAYS; CLEANING BEACHES; DISPERSING OR PREVENTING FOG IN GENERAL CLEANING STREET OR RAILWAY FURNITURE OR TUNNEL WALLS
    • E01H5/00Removing snow or ice from roads or like surfaces; Grading or roughening snow or ice
    • E01H5/04Apparatus propelled by animal or engine power; Apparatus propelled by hand with driven dislodging or conveying levelling elements, conveying pneumatically for the dislodged material
    • E01H5/06Apparatus propelled by animal or engine power; Apparatus propelled by hand with driven dislodging or conveying levelling elements, conveying pneumatically for the dislodged material dislodging essentially by non-driven elements, e.g. scraper blades, snow-plough blades, scoop blades
    • E01H5/065Apparatus propelled by animal or engine power; Apparatus propelled by hand with driven dislodging or conveying levelling elements, conveying pneumatically for the dislodged material dislodging essentially by non-driven elements, e.g. scraper blades, snow-plough blades, scoop blades characterised by the form of the snow-plough blade, e.g. flexible, or by snow-plough blade accessories

Definitions

  • the invention relates generally to clearing devices and in particular an improvement of a clearing device and similar devices for clearing snow and other fillings, of roads, paths and similar surfaces.
  • the invention is particularly applicable to snow plows, whereby an improved plow or clearing device is created.
  • the invention is described below with reference to a snow removal device described.
  • the invention can be used in others Broaches or plows, e.g. used in agriculture will find application.
  • a plow as a snow clearing device for clearing or removing of snow from streets has a shovel that Snow rolls up and then across the front of the Shovel moves.
  • the clearing device a scraper with a curved structure on the bottom in a lower clearing edge or a scraper blade ends.
  • the Scraper blade usually extends in the direction of travel forward to dig into the snow and the snow to squeeze into the curved scraper.
  • the contour of the Clearing boards conduct a twist in the upward moving Snow and forcing the snow over the front of the clearing board across to the side of the clearing device.
  • a typical snow plow construction is one Low carbon steel plate, usually with a thickness of about 3.2 mm (1/8 ") into an arc shape to make the Training clearing board.
  • the frame construction the usual is constructed from angle profile components, is then welded to the back of the clearing board to support it and to prevent the scraper from breaking or kinking when it does hits stones or other piles on the street, whereby the frame construction also for fastening the for operation necessary components of the clearing device. Examples of such Constructions can be found in patents US 3,432,947 and US 3,465,456, which have been assigned to the applicant.
  • a clearing board is made of steel not desirable.
  • a steel clearing board requires higher loads the vehicle to which it is attached, and in particular it requires a stronger broach attachment and larger ones Lifting systems than would otherwise be possible.
  • the snow plows have been significantly improved as a polyethylene material with a high molecular weight used as a clearing board has been designed to be durable, lightweight and to create significantly improved snow clearing plows as he does in the patents US 4,803,790 and US 4,845,866.
  • This in U.S. Patent 4,803,790 clearing device has a conventional one Frame on, the upper and lower longitudinally extending Mounting elements with approximately the same length as that Plow shovel and a variety of vertically extending, has transversely spaced transverse struts. Every cross strut is included one end to the top mounting member and the other End attached to the lower mounting element and has one concave (inward) curved front face, the extends between the upper and lower mounting members.
  • An essentially rectangular and concave curve High molecular weight polyethylene scraper is by means of screw fasteners on the upper and lower Mounting element in a curved or prestressed manner attached.
  • the back of the attached clearing board has from the front end faces of the cross struts pointing in the direction of travel a fixed distance, so that between the dozer board and cross strut a space remains free. This distance or space one contact is sufficient in normal operation of the clearing device between the dozer board or dozer blade and the cross struts to prevent during extreme impact impacts from fillings contact with the struts becomes possible.
  • the clearing board bends springily into the space or out when heavy or wet snow needs to be cleared, and this Bending improves the lateral movement and rolling movement of the Snow over the front surface of the snowboard. So far they worry Frame / clearing board mounting arrangements for a transverse support of the Clearing boards to prevent breakage of the clearing board when the clearing board is impacted by heavy fillings. Therefore, this construction has for a significant improvement of the state of the art.
  • Snow plows are usually in inhospitable environments used and are low temperatures, moisture, freezing rain, Ice, salt and violent blows like solid protrusions Curbs, boulders and rubble exposed. While the continuous or continued operation of the clearing device can rubble into the gap between the scraper and the road Arrive cross braces and get stuck in them. If the operator not cleaning the gaps regularly, they can completely filled with solid rubble, which means that the spring travel of the clearing board created by the gap the frame is lost or reduced. Even more significant is that the operating temperatures of the clearing device such Temperature ranges show that there is water in the space collect and to ice, ice blocks or ice inclusions in the gaps can freeze. In such cases, it goes into that Clearing board / the space constructed in the frame construction lost or drastically reduced. While the scraper then its improved snow removal properties due to of the low coefficient of friction is the improved Property of the clearing board for moving and rolling up of the snow reduced across the front of the clearing device.
  • the object of the invention is a clearing device with a fastening arrangement for a clearing board or clearing blade made of plastic to create that allows the scraper board to be independent the operating conditions to which the clearing device is exposed is its desired resilient or elastic bendability maintains.
  • This task is invented together with further advantages with a broaching device that can be attached to a vehicle (Plow) for clearing snow, piles and the like from roads and similar surfaces solved that a clearing board or dozer blade made of plastic and one with a side on a vehicle attachable solid frame, on the opposite Side the clearing board is mounted.
  • the frame has at least an essentially vertically extending cross strut, that of the scraper at least over a partial area its height keeps a distance and so between itself and the Clearing board forms a vertically extending space.
  • the space is at least partially resilient or elastically deformable material, so that it Is possible to bend resiliently even then, if foreign material such as Pieces of ice, with ice inclusions staggered foreign material or solid road rubble in that Area of the gap that is not elastic with the deformable material is filled.
  • elastic deformable material any solid-like, elastic Material to be understood, even at temperatures, to which the clearing device or plow is normally exposed maintains a certain degree of elasticity. With elasticity is the property of the material meant to act under force to deform and its original shape and dimensions to resume when the force ceases.
  • the frame preferably has an upper and lower length extending mounting elements on each other by means of several Cross struts are arranged at a vertical distance.
  • the cross braces are spaced side by side along the mounting elements arranged from each other, the one inserted into the frame Clearing board is connected to the mounting elements.
  • the clearing board and the areas of each cross strut facing it are concavely curved forward or inward to the space limit arched. The curvature can be even or uneven be over the height of the plow.
  • the elastically deformable material can essentially fill in every space, whereby a build-up of foreign matter that the resilient bend of the clearing board in the intermediate space would be avoided becomes.
  • the clearing board by means of fasteners on the mounting elements mounted and the elastically deformable material extends over a distance or a length section that essentially same size as the vertical length of the space (or even larger than the space), so that's elastic deformable material touches (or even touches) the dozer board is slightly compressed) when the fasteners are tightened are.
  • This can ensure that a space is present when the clearing board is inserted into the frame causing any accumulation of material in the space is prevented while the resilient installation of the clearing board is maintained in the frame.
  • this is Clearing board by means of fastening elements on the assembly elements attached and the elastically deformable material extends over a length that is smaller or shorter than the space is when the scraper board is built into the frame, being even a collection of foreign material in the open rest room of the only partially filled space not the resilient one Bending of the clearing board in the space prevented.
  • a clearing device with a plastic clearing board built into a frame is created that is independent of one Accumulation of foreign material such as Ice formations between the Clearing board and the frame, can bend resiliently.
  • Another advantage achieved is that a clearing device with a plastic clearing board inserted in a frame in a resilient manner is created, on the one hand, a collection foreign material between the clearing board and the frame is prevented and on the other hand it enables the clearing board is to be able to perform the desired resilient deflections.
  • An important advantage achievable with the invention is that a device and a method for retrofitting existing, a resiliently integrated plastic clearing board in a frame Plows or clearers is created, the fastening arrangement on its own ensures that this Dozer regardless of the operation of the snowplough unfavorable resulting in harsh environmental conditions Resiliently bend environmental influences.
  • the embodiments according to the invention also offer the advantage that a clearing device with a clearing board or clearing blade Plastic is created that all of the previously described Can have properties, the reamer simply assembled and can be repaired if necessary.
  • Another advantage of the invention is that a Clearing device is created with a plastic clearing board, which has previously described properties and that comparatively is inexpensive.
  • a clearing device 10 is shown, the for clearing snow, snow drifts and the like. of snow covered Driveways, parking bays etc. as an attachment to motor trucks, Pickup vehicles, four-wheel drive vehicles and the like. used and is usually about 2 m (78 inches) wide.
  • the broader, heavier plows from municipalities or government agencies Road authorities responsible for clearing snow and debris from Motorways are usually wide of approximately 2.30 m (90 inch) and can be a frame construction have, which differs from that shown. The expert will recognize that the invention works equally well on large plows as with small plows shown here can.
  • the clearing device 10 shown in FIGS. 1, 2 and 3 has in generally a frame structure 14, one at the bottom of the frame 14 attached scratch sheet 16 and a concave to the front and inwardly curved scraper 18.
  • the concave curve Clearing board 18 has a front end pointing in the direction of travel or clearing Surface 19 and a rear, the frame 14 facing Area 17 (back).
  • the definitions used here are to be understood as follows: “Scratching Blade” is the interchangeable, lower edge section of the clearing device meant while Sheet “the concavely curved frontal surface 19 of the clearing board 18th and the scraper blade 16. Under plow or clearing device 10 are the frame 14, the clearing board 18 and the scraper blade 16 to understand.
  • auxiliary elements include a support crossbeam 20, which with Suspensions 21 is provided on a vehicle, not shown are attached. Extend from the support crossbeam 20 struts 23 that pivot at 25 on a box-shaped Frame 26 are articulated.
  • the box-shaped frame 26 is by means of a pivot connection 28 pivotable on the bottom portion the frame structure 14 attached.
  • the pivot connection 28 allows forward or backward tilting of the Clearing device 10 about a horizontal axis.
  • Cylinder 30, the side are mounted on the struts 23, allow a horizontal Swiveling the plow 10 about the swivel suspension 25, so that the angle of inclination of the plow 10 relative to Vehicle (or the direction of travel) can be adjusted to Snow to one side or to the other side of the plow 10 to be able to leave.
  • a first mounting arm 33 attached to the box-like frame 26 is attached, and a second mounting arm 34, the attached to the upper end of the frame structure 14 serve for mounting one or more springs 36, which the clearing device 10 keep in an upright position. If the scratch sheet 16 on a Hitting an obstacle on the road, etc., the plow 10 swings the pivot 28 against the force of the springs 36 that the clearing device or the plow 10 after passing the obstacle in his Move the normal position back. The tension of the springs 36 is in in a known manner by means of screwed into the mounting arms 34 Adjustment arms 38 set.
  • auxiliary elements described above are for generic Plows are known and therefore need no further explanation become. It should be noted, however, that it is lightweight Clearing board 18 is made possible, the auxiliary elements as well to construct the frame 14 in a manner that the Weight and manufacturing costs compared to building this Components in conventional steel clearing boards can be reduced can.
  • the frame 14 shown in Figs. 1, 2 and 3 is similar constructed like a conventional frame for a snow clearing plow with steel clearing board.
  • the scope of the invention but should not exclusively be based on a special frame construction be limited.
  • the frame 14 a longitudinally extending upper mounting member 40 that A lower mounting element extends across the full width of the plow 41, which extends accordingly over the width of the plow, as well as several spaced apart and over the Width of the plow side by side, concave curved Cross struts 44, which are between the upper mounting member 40 and the lower mounting element 41 and extend to this are attached.
  • the upper mounting element is usually an angle profile with a mounting leg 47 and one in the right Angle to this essentially radially extending Leg 48.
  • the cross struts 44 are also here, as shown in the drawings to make angle profiles with a V-shaped Cross-section.
  • the legs 49 of the "V" end in concave curved front end faces 50, the curvature of the Cross struts or the end faces similar to the curvature of the concave curved clearing board 18 is executed.
  • the end faces 50 of the cross struts 44 are curved in an arc and have a radius of curvature that matches the radius of curvature of the Clearing boards 18 is adapted.
  • Each cross strut 44 has an upper angle profile end 52, the cut along a radial line or a radial plane is through the center of the curvature of the front face 50 goes.
  • the radially extending leg 48 of the Upper mounting element 40 is aligned with the upper end of the angle 52 created and welded to this, so that with this coplanar contact line the position of the fastening leg 47 is ensured relative to the clearing board 18.
  • each cross strut 44 is cut in a similar manner, preferably along a radial plane through the Center of the radius of curvature of the front face 50 passes.
  • the lower mounting member 41 has in the preferred Embodiment a lower angle profile 56 and a flat Mounting plate 57, which is preferably on the radially extending leg 60 of the angle profile 56 abuts so that the mounting leg 59 of the angle profile 56 and the mounting plate 57 are essentially coplanar.
  • the frame 14 is composed in that the angle profiles be cut precisely so that the cross struts 44th are bent with the desired radius of curvature and that using conventional stops or fittings to keep the elements in their exact assignment to each other, the elements are welded together.
  • FIGS. 1, 2 and 3 Frame around a conventional frame.
  • the general structure of all frames is similar in some points. So there are preferably at least four cross struts 44 on at least one, but preferably two (upper and lower) Mounting plates (longitudinal struts) attached.
  • the profile shapes of the mounting plates and cross struts can vary.
  • the clearing board 18 is preferably made of a polyethylene plastic with ultra high molecular weight (UHMW: ultra high molecular weight) and is usually 9.55 mm thick (3/8 ").
  • UHMW ultra high molecular weight
  • a suitable UHMW plastic is among the registered Brand names HOSTALEN GUR412LS and GUR422 distributed and is available from Hoechst (in America).
  • the UHMW polyethylene material has a very low coefficient of friction, a relatively high abrasion resistance and sufficient flexural strength and thermal stretch limit to Snow clearance conditions to work. With the preferred Embodiment, the material is initially flat Sheet material into the curved one shown in the drawings Arrangement rolled or rolled. The material would be without a support this curved shape does not last for an extended period of time maintained.
  • FIGS. 1 to 3 Frame 14 the clearing board 18 on the upper fastening leg 47 and on the lower mounting plate 57 by means of Fasteners 61 mounted, preferably a Have square shank, preferably through square holes fits in the clearing board 18.
  • cross struts 44 for a curved support of the clearing board 18 care when the plow is in use, taking the scraper the opportunity is open to himself during his deployment bend or "jump" to the operation of the plow to improve.
  • gap X in the preferred embodiment appropriately designed such that it is between a minimal Distance near the top portion of the clearing board 18 and one maximum distance near the lower portion of the clearing board 18 varies, i.e. resembles half a sickle.
  • Gaps can cause the clearing board to jump or bend over one wide area of the clearing board can be controlled, resulting in a improved application behavior of the clearing board when rolling up and Lateral removal of the snow with the front Surface 19 leads.
  • FIGS. 21 and 22 The features of the plow described so far are known as also shown in FIGS. 21 and 22, in which the described Arrangement from the prior art is shown.
  • the vertically extending gap i.e. the space between the clearing board 18 and the section thereof facing the Cross strut 44 can be clearly seen in FIG. 21 as distance X. 22 is shown even more clearly in the cross-sectional view, that the gap X is the distance between the Back 17 of the clearing board 18 and the curved front face 50 of the leg 49 of the cross strut 44 is. That gap X starts bending the clearing board 18 in operation.
  • Foreign material which is provided with the reference symbol 62 in FIG. 21, collects in gap X and fills it up. This foreign material gets between the legs 49 of the cross strut 44 and is jammed there.
  • the foreign material can not only street dirt, but also ice formations or chunks of ice, when operating the plow in severe weather conditions may occur.
  • the foreign particles prevent the desired one Deflection of the clearing board 18 or leave the desired one Deflection only partially.
  • the plow 10 is therefore due to the low friction properties of the clearing board 18 made of polyethylene even with the jammed foreign material work and work better than plows with conventional ones Steel sheets are equipped.
  • clearing boards are thwarted or reduced.
  • FIGS. 1 to 6 provided that a body made of elastic or elastically deformable material 70 between the cross strut 44 and the clearing board 18 is inserted such that at least one Section of the gap X filled with the elastic material is.
  • any block or solid-like, elastic or flexible material be understood, even at the temperatures that the clearing device or plow 10 is normally exposed, maintains a degree of elasticity. With elasticity is the property of the material meant to act under force deform and resume the original shape, when the force ceases. The elastically deformable material "springs" back to its original shape.
  • elastic deformable material includes natural elastic materials, thermosetting materials and thermoplastics, in particular those characterized as natural or synthetic elastomers are or the natural or synthetic elastomers contain as constituents, polymers or composite materials thereof, including but not limited to natural rubber, Fluorine elastomers, polyurethane elastomers, styrene butadiene rubber, CIS-1,4-polybutaties, CIS-1,4, polyisoprene, butyl rubber, Ethylene propylene polymer, ethylene butyl polymer, neoprene, Nitrile rubber, silicone rubber, polysulfide rubber, Polyacrylate rubber and thermoplastic polyolefins.
  • natural rubber Fluorine elastomers, polyurethane elastomers, styrene butadiene rubber, CIS-1,4-polybutaties, CIS-1,4, polyisoprene, butyl rubber, Ethylene propylene polymer, ethylene
  • Elastic deformable material should also include liquid Foams and sprays that become flexible, elastically deformable solid-like materials in dried or hardened Solidify condition, as well as polymer foams and in particular one- or two-component, flexible polyurethane foams understood that are particularly suitable for retrofitting.
  • the elastically deformable Material a thermoplastic elastomer, which is under the brand name Santoprene 101-64 available from Mile Rubber & Packaging Co. is. This material has a degree of compression of approximately 23% at 25 ° C and an elongation limit of about 400%.
  • the Test hardness is about 50 (the usable hardness range is between 20 and 80, preferably between 40 to 60) and the material shows no brittle fracture at low temperatures.
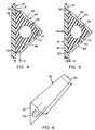
  • the elastically deformable material 70 has a triangular shape Blocks 72 with one extending through the block central, cylindrical opening 73.
  • the triangular block is dimensioned such that it is between the legs 49 of the Cross strut 44 fits into it.
  • the triangular block 72 extends in the idle state of the Plow 10 beyond the curved front faces 50, to completely fill the gap X and the rear or rear surface 17 of the clearing board 18 touch.
  • Fig. 6 it can be clearly seen that the outer surfaces of the triangular block 72 are straight.
  • the length dimension of the triangular Blocks 72 are larger than the vertically extending curved one Length over which the clearing board 18 bends, and this The length of the block is designated by the reference symbol Y in FIG. 6.
  • Reference character "Y" is used throughout the description, around the vertical longitudinal extent of the elastically deformable To designate material 70 in the gap X.
  • the excess material or the end regions 74 (only one end region 74 is shown in FIG.
  • FIGS. 1 to 6 shows the triangular block 72 in contact with the back 17 of the Clearing boards across the vertical length Y of the gap X. This is only for drawing and illustration purposes. Indeed the triangular block 72 does not or need not necessarily the back 17 of the clearing board 18 over the Touch the vertical length Y of the gap X.
  • FIGS. 4A and 5A show an alternative embodiment the invention in a representation that corresponds to FIGS. 4 and 5.
  • the triangular block 72 is all over itself vertically extending longitudinal dimension Y changed to smaller To have outer surface dimensions. Even the modified block 72A has a central cylindrical passage 73A.
  • the end sections 74 of the modified block 72A are like the triangular one Block 72 is formed for the aforementioned purposes.
  • There the changed block 72A extends in the gap X, the Gap X reduced by an amount that in the drawing with the reference symbol A is designated in FIGS. 4A and 5A, this Distance A between the back 17 of the clearing board and one front outer surface 75 formed on the modified block 72A is.
  • Gap A can get foreign material like road debris, here with Reference number 62 denotes, or ice plates, here with reference numbers 64 labeled collect.
  • the gap X is consequently thereby completely filled in that foreign material 62, 64 before modified block 72A protrudes. If the arrow in Fig. 5A shown snow force on the front surface 19 of the Clearing board 18 acts, the clearing board 18 can still bend resiliently and the gap X to the dimension X ', as shown out.
  • the reduced gap X 'in FIG. 5A is larger than the reduced gap X 'in Fig. 5, but the scraper board is further able to bend and as a result suitable the roll-up and lateral removal movement of the Improve snow over its area.
  • the invention is therefore not necessarily limited to that elastically deformable material fills the gap X, because that Clearing board still according to its design advantages will bend or jump if elastically deformable material 70 the gap X as shown in FIGS. 4A and 5A only partially filled. It is understood that the suspension quality of the clearing board 18 is optimized when the elastically deformable Material 70 essentially completely fills the gap.
  • FIG. 6 Another modification of the triangular block 72 is with the triangular block 72B shown in FIG.
  • the additional Change is the removal of the end portions 74 of the triangular block 72 which, as with reference to FIG 1 to 6 has been explained, between the cross strut 44 and the upper fastening leg 47 on the one hand and between the cross strut 44 and the lower mounting plate 57 is clamped.
  • the modified block 72B therefore only extends over the length Y as shown in Fig. 6. Hold the legs 49 of the cross strut 44 the modified triangular block 72B within the Cross strut 44 fixed.
  • a rectangular block made of elastically deformable Material 70 has.
  • the rectangular block is 77 dimensioned such that it extends over a length Y or alternatively extends over a greater length to the one hand the radial extending leg 48 of the upper mounting element 40 and on the other hand the radially extending lower leg 60 of the lower mounting element 41 in the assembled rest position to touch.
  • the cross section of the rectangular block 77 is dimensioned such that the two rear edges 78 touch the V-leg 49 of the cross strut 44, while doing so a sealed cavity 79 between the rectangular Release block 77 and the crown of the cross strut in the Foreign material cannot enter.
  • the vertex cavity 79 enables a deformation of the elastically deformable material of the rectangular block 77 when the scraper 18, such as shown in Fig. 9 bends regardless of the presence of any Foreign material between the leg end faces 50, the clearing board 18 and the rectangular block 77.
  • Embodiments has the elastically deformable material Form of an elastically deformable strip 80.
  • the elastic deformable strip 80 is on one side of a double-sided Adhesive tape 81 attached, which is preferably a elastically deformable coated on both sides with an adhesive or damping material.
  • the other side of the double-sided Band 81 is attached to the back 17 of the clearing board 18.
  • the band 81 and the one have elastically deformable Strips 80 together a thickness slightly larger than the gap is X, so that in the assembled idle state, like it is shown in Fig. 12, the front curved end faces 50 of the cross strut 44 touch the strip 80 firmly.
  • the double-sided Band 81 enables precise positioning of the elastic deformable strip 80 for the installation of the clearing board 18 in the frame 14. Depending on the assembly technology, this can double-sided adhesive tape 81 replaced by other assembly techniques become. Alternatively, the elastically deformable material of the double-sided adhesive tape 81 alone the elastically deformable Form material 70 and a separate or additional damping Strip 81 (with an adhesive coating on only one side) can replace the elastically deformable strip 80. The elastic deformable strips 80 can also just instead with an adhesive layer for attachment to the back 17 of the Clearing boards can be coated. From Fig. 11 it is clear that the Length Y of the elastically deformable strip 80 is not greater can be as the distance between the exposed edge of the upper mounting leg 47 and the exposed edge of the lower mounting plate 57.
  • FIGS. 1 to 17 Another embodiment of the invention is in 13 to 17 shown.
  • the one shown in Figs. 13 and 14 Frame 14A has one of frame 14 of FIGS. 1 through 12 different structure, but is in the essential elements as the frame described above, so that the Description of the frame 14A shown in Figs. 13 and 14 for same components same reference numerals as in the description of the frame 14 can be used in FIGS. 1 to 3.
  • the cross strut 44A has no V-shape, but is included as a flat plate executed only one leg 49A, the front or front End face 50A is curved.
  • the cross strut 44A is on one locked lower mounting member 41, which, as described, has an angle profile 56 and a flat lower mounting plate 57.
  • the upper mounting element 40A (now in the form of segments between adjacent cross struts 44A) is approximately in the middle, i.e. halfway up the Cross brace 44A positioned with its mounting leg 47A and its radially extending leg 48A with the Leg 49A of the cross strut 44A are welded, as with Reference numeral 83 in Fig. 14 is indicated.
  • the cross strut 44A therefore differs from the cross strut described above 44 through an upper end region 84, which extends radially extending leg 48A protrudes. It is more important that the cross strut 44A of that described in FIGS. 1 to 12 Cross strut 44 differs in that the front curved Face 50A a progressively increasing gap X between itself and the rear surface 17 of the clearing board 18.
  • the progressive gap X is in that assembled hibernation right from the start in the frame construction constructed so that the clearing board 18 a little Bounce back or bend at its top section and a significantly greater bending at its lower, transversely extending Section can have.
  • the intentional one Gap improves the property of the plow, the snow in roll up the curvature of the clearing board 18.
  • the provision of one increasing gap is known in itself.
  • the increasing gap X serves its intended purpose. It is understood that the Gap X on purpose (as in this embodiment) or at random (as in the embodiments in FIGS. 1 to 12) due to of manufacturing tolerances, the assembly process etc. non-uniform can be.
  • the elastically deformable material 70 is in the form of a grooved Strip 85 with a formed on one of its sides, extending groove or channel 86.
  • the Groove 86 has side walls 87 which define the leg 49A of the cross strut 44A, and a groove base 88 which is in contact with the front curved end surface 50A of the cross strut 44A.
  • the Grooved strip 85 is preferably dimensioned such that its thickness between an outer strip back 89, which the back surface 17 of the clearing board 18 is opposite, and the Groove bottom 88 varies progressively according to the gap X. An important difference is that that shown as dimension Y in FIG.
  • the length of the grooved strip 85 in the gap X is not the vertical length of the clearing board 18 as in the previously described Embodiments must correspond.
  • the trained as an increasing gap ensures Gap X bending the clearing board 18 over its lower itself transversely extending section. Accordingly, the grooved needs Strip 85 only over the lower section of the cross strut 44A to accommodate the bending of the clearing board this scraper section, as shown in Figs. 13 and 14, sure.
  • a collection of foreign material in the section of the gap X, which is not partially or completely with elastically deformable material 70 is filled, the desired Do not negatively affect the operation of the plow 10.
  • Strip 85A in Fig. 17 is a modification of the grooved strip 85 shown, which to that explained with reference to FIGS. 11 and 12 and described embodiment is based.
  • Strip 85A in Fig. 17 the groove is omitted.
  • the stripe 85A can be attached to the rear surface 17 of the clearing board 18 a double-sided adhesive tape 81 (not shown) or by means of an adhesive coating on the outer strip back 89A be attached.
  • FIGS. 1 to 12 the frame in Fig. 18 is with the frame 14 according to FIGS. 1 to 12 almost identical. Extends differently the fastening leg 47 of the upper mounting element 40 vertically upwards and not, as in FIGS. 1 to 12, in the vertical direction downward. This is only intended to illustrate that 14 variations are possible with the frame. It is not for any of them in both embodiments, the alignment of the top Mounting element 40 to change to an elastically deformable material in a deliberately constructed, varying gap X, as shown in Fig. 13 apply. With Fig. 18 clarifies that the concave, i.e.
  • the triangular block 72A shown in Fig. 19 has a thickness which preferably extends from its upper end 89 to its lower End 90, adapted to the increasing change in gap X, reduced. This dimensional coordination is preferred, for functionality as shown in the 4A and 5A, this is not necessary and the width of the triangular blocks 72A could be constant.
  • Fig. 19 shows also that the triangular block is one extending inside may have central opening 73A.
  • 20A, 20B, 20C and 20D are alternative embodiments of the elastically deformable material 70 in shape of modified triangular blocks 72.
  • a solid triangular block 72B is shown. If the scraper 18 bends, the elastically deformable Material spread on both sides of the cross strut 44, wherein the elastically deformable material behind the front curved end face 50 bulges.
  • the dimensionally stable shown in Fig. 20 C. triangular block 72C has one in its apex trained semicircular extending over its entire length Throat 91.
  • triangular block 72D is a combination of the triangular blocks 72A and 72C.
  • 20C is a triangular block 72E shown which is a central triangular Has recess 93, the outer surfaces of the triangular Blocks 72E as wall sections with substantially the same Thicknesses are formed.
  • the recess 93 is not complete triangular, as optional a semicircular throat 91A may be provided in the apex, as is related to FIG 20C has been explained, so that a semicircular wall section is formed in the recess 93.
  • the selection of the special construction depends on various factors including the dimensions of the elastically deformable mass and the properties of the selected elastically deformable Material.
  • the elastically deformable material should be of its Hardness and bending stiffness should not be such that bending of the clearing board 18 is prevented, but the elastically deformable Material should preferably allow that Bend the clearing board 18 in the same or approximately the same dimensions as if there was no foreign material in gap X.
  • the elastically deformable material 70 must be sufficient Have stability that is a build-up of foreign material completely prevented in gap X or prevented as far as that the gap X is only to a certain extent with foreign material crowded.
  • the construction of the body of the elastically deformable Material as through the numerous embodiments has been disclosed taking these considerations into account.
  • the 23 and 23A, 24 and 24A and 25 are embodiments shown for retrofit applications of the invention.
  • the 23 and 23A disclose an elastically deformable insert 94, which is U-shaped and has a longitudinal groove 95, the The bottom of the "U” touches the clearing board 18 or alternatively at least fills a section of the gap X.
  • the cross strut 44 is a Angular profile with frontal end faces 50 that are desired Curvature are cut. 23 is can be seen that the front face 50A of each Leg 49 of the cross strut is provided with an oblique edge. This inclined edge matches the inclined groove base 96 in the groove 95 of the elastically deformable insert 94.
  • This Design enables the side walls 97, 98 of the Let groove 95 spread open so that the elastically deformable insert 94 are clamped onto the leg 49 of the cross strut 44 can.
  • the sole of the U-shaped, elastically deformable insert 94 is then pressed against the rear surface 17 of the clearing board, so that the sloping groove bottom 96 clinging against the front face 50A of the leg 49 creates.
  • FIGS 23 and 23A Another elastically deformable insert 94A for retrofitting is shown in Figures 24 and 24A.
  • the elastically deformable Insert 94A has two tapered outer surfaces 100, 101 converging at the tip 102 and a wedge-shaped form elastically deformable insert.
  • One outer surface 100 is facing the rear surface 17 of the clearing board and the other outer surface 101 includes a groove 95A which is like that in FIGS 23 and 23A shown and described groove of the elastically deformable Insert 94 is formed.
  • the wedge shape of the elastic deformable insert 34A allows a comparative easy retrofitting. It is understood that neither the elastic deformable insert 94 or insert 94A on the retrofit application are limited, but also as elastically deformable Material can be used with new plows.
  • Fig. 25 shows still another embodiment, which under the inventive definition of an elastically deformable material falls.
  • this embodiment which is particularly for Is suitable cross struts that have an angle profile structure, is the gap X on one side of the cross strut 44 by means of a removable clip or other suitable sheet or bar temporarily closed while in the interior of the Cross strut 44 from the other, open side of the cross strut 44 forth from a foam container 105 an expandable polymer Foam is injected.
  • the volume changes of the foam which as a liquid from the pressurized Container 105 is released when it meets Humidity in a foam covering the interior of the cross brace 44 completely filled out.
  • a coarse-celled or flexible Foam is used so that the foam has the desired suspension properties to expand and contract.
  • the degree the flexibility of the foam depends on its composition from. For example, known one-component or two-component flexible polyurethane foams can be used.
  • the previously described Configurations of the elastically deformable material Have a size that extends laterally beyond the gap X (likewise as within) or optionally behind the gap extends.
  • the composition of elastically deformable Material within each of the "blocks" from the for different "blocks” disclosed material or structure varies not only the accumulation of foreign material in the Gap is prevented, but this also becomes a desired one Deflection movement of the clearing board leads.
  • the cross strut 44 can also be an "L-profile", “U-profile” or “H-profile” or the cross strut is manufactured in a different way.

Landscapes

  • Engineering & Computer Science (AREA)
  • Architecture (AREA)
  • Civil Engineering (AREA)
  • Structural Engineering (AREA)
  • Soil Working Implements (AREA)
  • Cleaning Of Streets, Tracks, Or Beaches (AREA)
  • Road Paving Structures (AREA)
  • Storage Of Harvested Produce (AREA)
  • Control And Other Processes For Unpacking Of Materials (AREA)
  • Disintegrating Or Milling (AREA)
  • Distribution Board (AREA)
  • Paper (AREA)
  • Auxiliary Devices For And Details Of Packaging Control (AREA)
  • Knives (AREA)
  • Shielding Devices Or Components To Electric Or Magnetic Fields (AREA)

Description

Die Erfindung betrifft ganz allgemein Räumgeräte und insbesondere eine Verbesserung eines Räumgerätes und ähnlicher Vorrichtungen zum Räumen von Schnee und anderer Aufschüttungen, von Straßen, Wegen und ähnlichen Oberflächen.
Die Erfindung ist insbesondere anwendbar für Schneepflüge, wobei ein verbesserter Pflug bzw. Räumgerät geschaffen wird. Die Erfindung wird im folgenden mit Bezug auf ein Schneeräumgerät beschrieben. Die Erfindung kann jedoch auch bei anderen Räumgeräten oder Pflügen, die z.B. in der Landwirtschaft eingesetzt werden, Anwendung finden.
Die beiden US-Patente US 4,845,866, erteilt am 11.07.1989 und US 5,088,215, erteilt am 18.02.1992, enthalten die Hintergrundinformationen für die vorliegende Erfindung. Auf Details der in diesen Patenten beschriebenen Pflugkonstruktion wird nicht weiter eingegangen.
Ein Pflug als Schneeräumgerät zum Räumen bzw. Entfernen des Schnees von Straßen weist eine Schaufel auf, die den Schnee aufrollt und anschließend quer zur Frontfläche der Schaufel bewegt. Um dies zu bewerkstelligen, weist das Räumgerät ein Räumbrett mit gekrümmtem Aufbau auf, das unten in einer unteren Räumkante oder einem Kratzerblatt endet. Das Kratzerblatt erstreckt sich normalerweise in Fahrtrichtung nach vorne, um sich in den Schnee einzugraben und den Schnee in das gekrümmte Räumbrett hineinzuzwängen. Die Kontur des Räumbretts leitet einen Drall in den sich aufwärtsbewegenden Schnee ein und zwängt den Schnee über die Frontseite des Räumbretts quer zur Seite des Räumgerätes ab.
Im Laufe der Zeit wurden eine Vielzahl von Räumbrettkonfigurationen mit verschiedenen Kurvenformen ausprobiert, bis eine Form gefunden wurde, die ein gleichmäßiges Aufrollen und Querbewegen sowohl von nassem als auch pulverigem Schnee quer zur Frontfläche des Räumbretts sicherstellt. Eine solche Räumbrettkurve, die im wesentlichen bogenförmig ist und sich in nur einer Krümmungsebene erstreckt, hat sich als akzeptable, weithin verwendete geometrische Konfiguration für das Räumbrett bewährt.
Eine typische Schneeräumbrettkonstruktion besteht darin, eine Platte aus niedrig gekohltem Stahl, gewöhnlich mit einer Dikke von etwa 3,2 mm (1/8"),in eine Bogenform zu walzen, um das Räumbrett auszubilden. Die Rahmenkonstruktion, die gewöhnlich aus Winkelprofilbauteilen konstruiert ist, wird anschließend an der Rückseite des Räumbretts angeschweißt, um dieses abzustützen und zu verhindern, daß das Räumbrett bricht oder knickt, wenn es auf Steine oder andere Aufhäufungen auf der Straße trifft, wobei die Rahmenkonstruktion auch zur Befestigung der für den Betrieb des Räumgeräts notwendigen Komponenten dient. Beispiele für derartige Konstruktionen finden sich in den Patenten US 3,432,947 und US 3,465,456, die auf die Anmelderin überschrieben wurden.
Wegen seines großen Gewichts ist ein Räumbrett aus Stahl nicht wünschenswert. Ein Stahlräumbrett bedingt höhere Beanspruchungen an das Fahrzeug, an dem es befestigt ist, und insbesondere erfordert es eine stärkere Räumgerätbefestigung und größere Hebesysteme, als sonst möglich wären.
Es wurden eine Reihe von Versuchen unternommen, die Effizienz des Stahlräumbretts in den vorgenannten Pflügen zu steigern, um die Rollbewegung und die Querbewegung des Schnees quer zur Frontseite des Räumbretts zu verbessern. Viele dieser Vorschläge sehen eine Erniedrigung des Reibungskoeffizienten an der Frontfläche des Räumbretts vor. Beispielsweise wurde von den Schneepflugbetreibern lange Zeit ein auf den Räumbrettern aufgetragenes Wachs verwendet. Räumbretter wurden auch mit verschiedenen Substanzen dauerhaft beschichtet. Solche Beschichtungen versagen jedoch, wenn sie durch Steine, Felsbrocken und anderen Straßenschutt, die mit hoher Wucht auf das Räumbrett stoßen, abgeschlagen werden.
Im Stand der Technik gibt es eine Vielzahl verschiedener Materialien mit extrem niedrigem Reibungskoeffizienten. Insbesondere wurde ein Polyethylen mit ultrahohem Molekulargewicht entwickelt und dort industriell eingesetzt, wo es auf einen Gleitkontakt ankommt, wie bei Gleitstreifen, Gleitplatten, Gleitlager oder Lagerschalen. Bis vor einiger Zeit war die Ansicht verbreitet, daß wegen der mechanischen Eigenschaften derartiger Materialien ein Einsatz als Räumbretter in Schneeräumgerätanwendungen ausgeschlossen ist.
Aus Erwägungen zum Gewicht und den Kosten wurden für die Räumbretter von Schneepflügen verschiedene Kunststoffmaterialien eingesetzt, aber keine Polyethylene mit ultrahohem Molekulargewicht. Diese Kunststoffe wurden mit der gewünschten Kurvenform vorgeformt und stumpf aufliegend an dem Rahmen angebracht, wo sie vor Ort gebohrt und in gleicher Weise befestigt wurden, wie die Stahlräumbretter konventionell am Rahmen angebracht wurden. Abhängig von den Eigenschaften des Kunststoffs und seiner Dauerbeständigkeit haben Kunststoffräumbretter begrenzten Erfolg gehabt.
Die Schneepflüge wurden signifikant verbessert, als ein Polyethylenmaterial mit hochmolekularem Gewicht als Räumbrett verwendet wurde, um einen dauerbeständigen, leichtgewichtigen und signifikant verbessertes Schneeräumpflug zu schaffen, wie er in den Patenten US 4,803,790 und US 4,845,866 offenbart ist. Das in dem US-Patent 4,803,790 offenbarte Räumgerät weist einen konventionellen Rahmen auf, der obere und untere sich längs erstrekkende Montageelemente mit annähernd gleicher Länge wie die Pflugschaufel und eine Vielzahl von vertikal sich erstreckenden, quer beabstandeten Querstreben aufweist. Jede Querstrebe ist mit ihrem einen Ende an dem oberen Montageelement und mit ihrem anderen Ende an dem unteren Montageelement befestigt und hat eine konkav (nach innen) gekrümmte, frontseitige Stirnfläche, die sich zwischen dem oberen und dem unteren Montageelement erstreckt. Ein im wesentlichen rechteckförmiges und konkav gekrümmtes Räumbrett aus Polyethylen mit hohem Molekulargewicht ist mittels Schraubbefestigungsmitteln an dem oberen und unteren Montageelement in gekrümmter oder vorverspannter Weise befestigt. Die Rückseite des befestigten Räumbretts hat von den vorderen, in Fahrtrichtung weisenden Stirnflächen der Querstreben einen festen Abstand, so daß zwischen Räumbrett und Querstrebe ein Zwischenraum freibleibt. Dieser Abstand oder Zwischenraum reicht im Normalbetrieb des Räumgeräts aus, einen Kontakt zwischen den Räumbrett bzw. Räumschild und den Querstreben zu verhindern, während bei extremen Schlagstößen durch Aufschüttungen eine Berührung mit den Streben möglich wird. Das Räumbrett biegt sich also federnd in den Zwischenraum hinein oder heraus, wenn schwerer oder nasser Schnee zu räumen ist, und dieses Verbiegen verbessert die Querbewegung und Rollbewegung des Schnees über die Frontfläche des Räumbretts. Bisher sorgen die Rahmen/Räumbrettmontageanordnungen für eine Querabstützung des Räumbretts, um einen Bruch des Räumbretts zu verhindern, wenn das Räumbrett durch schwere Aufschüttungen stoßbeansprucht ist. Daher hat diese Konstruktion für eine erhebliche Verbesserung des Standes der Technik gesorgt.
Eine Weiterverbesserung der vorgenannten Anordnung ist im US-Patent 5,088,215 offenbart. In diesem Patent wurde das Räumbrett aus Polyethylen mit hohem Molekulargewicht mit einer gewünschten Krümmung vorgeformt und die oberen und unteren Montageleisten wurden geändert, damit das Räumbrett im bzw. auf dem Rahmen eingeklemmt und mittels üblicher Befestigungsmittel gesichert werden kann. Während bei diesem Patent die Anordnung der Rahmenbefestigung verbessert ist, bleibt der Spalt zwischen dem Räumbrett und den Querstreben erhalten, so daß das Räumbrett auch seine verbesserten Schneeräumcharakteristiken beibehält.
Beide Konstruktionen sind nicht nur wegen ihres geringen Gewichts und günstigen Preises erfolgreich, sondern auch wegen der verbesserten Betriebs des Räumbretts, der mit den Materialeigenschaften des Polyethylenmaterials und der Ausnutzung der Fähigkeit des Materials zusammenhängt, sich in den konstruktiv in der Befestigungsanordnung vorgesehenen Zwischenraum hineinzubiegen bzw. zu "springen".
Schneepflüge werden normalerweise in unwirtlichen Umgebungen eingesetzt und sind tiefen Temperaturen, Feuchtigkeit, Eisregen, Eis, Salz und heftigen Stoßschlägen gegen feste Vorsprünge wie Bordsteine, Felsbrocken und Straßenschutt ausgesetzt. Während des kontinuierlichen oder fortgesetzten Betriebs des Räumgeräts kann Straßenschutt in die Spalte zwischen dem Räumbrett und den Querstreben gelangen und darin steckenbleiben. Falls der Betreiber nicht regelmäßig die Zwischenräume säubert, können diese vollständig mit festem Schutt gefüllt werden, was zur Folge hat, daß der durch den Spalt geschaffene Federweg des Räumbretts an dem Rahmen verlorengeht oder vermindert wird. Noch bedeutsamer ist, daß die Betriebstemperaturen des Räumgeräts eine solche Temperaturspanne zeigen, daß sich Wasser in dem Zwischenraum sammeln und zu Eis, Eisblöcken oder Eiseinschlüssen in den Zwischenräumen erstarren kann. In derartigen Fällen geht der in das Räumbrett/die Rahmenkonstruktion hineinkonstruierte Zwischenraum verloren oder wird drastisch reduziert. Während das Räumbrett dann noch seine verbesserten Schneentfernungseigenschaften aufgrund des niedrigen Reibungskoeffizienten hat, ist die verbesserte Eigenschaft des Räumbretts zum Querbewegen und Aufrollen des Schnees quer zur Frontseite des Räumgeräts vermindert.
Aufgabe der Erfindung ist es, ein Räumgerät mit einer Befestigungsanordnung für ein Räumbrett oder Räumschild aus Kunststoff zu schaffen, die es ermöglicht, daß das Räumbrett unabhängig von den Betriebsbedingungen, denen das Räumgerät ausgesetzt ist, seine gewünschte federnde bzw. elastische Verbiegbarkeit beibehält.
Diese Aufgabe wird zusammen mit weiteren Vorteilen erfindungsgemäß mit einem an ein Fahrzeug anbaubaren Räumgerät (Pflug) zum Räumen von Schnee, Aufhäufungen und dgl. von Straßen und ähnlichen Oberflächen gelöst, das ein Räumbrett bzw. Räumschild aus Kunststoff und einen mit einer Seite an einem Fahrzeug befestigbaren soliden Rahmen aufweist, an dessen gegenüberliegender Seite das Räumbrett montiert ist. Der Rahmen hat zumindest eine sich im wesentlichen vertikal erstreckende Querstrebe, die von dem Räumbrett mindestens über einen Teilbereich seiner Höhe einen Abstand hält und so zwischen sich und dem Räumbrett einen sich vertikal erstreckenden Zwischenraum bildet. Der Zwischenraum wird zumindest teilweise von einem federnden oder elastisch verformbaren Material ausgefüllt, so daß es dem Räumbrett möglich ist, sich selbst dann federnd zu verbiegen, wenn sich Fremdmaterial, wie z.B. Eisstücke, mit Eiseinschlüssen versetztes Fremdmaterial oder fester Straßenschutt in demjenigen Bereich des Zwischenraumes ansammelt, der nicht mit dem elastisch verformbaren Material gefüllt ist.
In der Beschreibung und in den Ansprüchen soll unter "elastisch verformbares Material" jegliches festkörperartiges, elastisches Material verstanden werden, das auch bei den Temperaturen, denen das Räumgerät bzw. der Pflug normalerweise ausgesetzt ist, einen gewissen Grad an Elastizität beibehält. Mit Elastizität ist die Eigenschaft des Materials gemeint, sich unter Krafteinwirkung zu verformen und seine ursprüngliche Form und Abmessungen wieder einzunehmen, wenn die Krafteinwirkung aufhört.
Vorzugsweise weist der Rahmen obere und untere sich längs erstreckende Montageelemente auf, die voneinander mittels mehrerer Querstreben im Vertikalabstand angeordnet sind. Die Querstreben sind nebeneinander entlang der Montageelemente im Abstand voneinander angeordnet, wobei das in den Rahmen eingesetzte Räumbrett mit den Montageelementen verbunden ist. Das Räumbrett und die ihm zugewandten Bereiche einer jeden Querstrebe sind konkav nach vorne bzw. innen gekrümmt, um den Zwischenraum bogenförmig zu begrenzen. Die Krümmung kann gleichmäßig oder ungleichmäßig über die Höhe des Pflugs sein.
Das elastisch verformbare Material kann bei einer Ausführungsform im wesentlichen jeden Zwischenraum ausfüllen, wodurch eine Ansammlung von Fremdmaterial, das die federnde Verbiegung des Räumbretts in dem Zwischenraum verhindert würde, vermieden wird.
Nach einer besonderen Ausführungsform der Erfindung bestehen die Querstreben aus Winkelprofilen, wobei jede Querstrebe einen V-förmigen Querschnitt hat und derart ausgerichtet ist, daß sie mit den Kanten bzw. der Stirnfläche der die V-Form ausbildenden Schenkel konkav gekrümmt ist, so daß sich zwischen den Schenkelstirnflächen und der Rückseite des Räumbretts der gebogene Zwischenraum ausbildet. Das elastisch verformbare Material ist jeweils zwischen den Stirnflächen der Schenkel einer jeden Querstrebe und der Rückseite des in den Rahmen eingebauten Räumbretts angeordnet und füllt den Spalt bzw. Zwischenraum vollständig oder teilweise aus. Die Anordnung kann bei verschiedenen erfindungsgemäßen Ausführungsformen bspw. folgendermaßen getroffen sein:
  • a) Das elastisch verformbare Material weist einen innerhalb des V der Querstreben positionierten Materialblock auf, der bis über die Schenkelkanten hinausragt, um den Zwischenraum vollständig zu verschließen; oder
  • b) der Materialblock nach a) ist in seinem Inneren mit einer längs verlaufenden Öffnung versehen, die verzerrt wird, wenn das elastisch verformbare Blockmaterial zusammengepreßt ist; oder
  • c) der Materialblock nach a) oder b) weist einen im wesentlichen V-förmigen Querschnitt auf, so daß der Materialblock in die V-Form der Querstrebe hineinpaßt; oder
  • d) das elastisch verformbare Material ist ein sich vertikal erstreckender Streifen aus elastisch verformbarem Material, der jeweils zwischen jeder Schenkelstirnfläche und dem Räumbrett zwischengelegt ist; oder
  • e) der Streifen nach d) weist eine Dicke auf, die näherungsweise gleich dick wie der Zwischenraum ist, und der Streifen ist durch eine Klebverbindung mit dem Räumbrett verbunden; oder
  • f) der Streifen nach e) ist mit einem elastisch verformbaren doppelseitigen Klebeband an dem Räumbrett befestigt; oder
  • g) der Streifen nach d) weist eine in einer seiner Seiten ausgebildete Nut auf, wobei der Nutgrund an die Stirnfläche der Schenkel angepaßt ist und die Nutflanken an die Seiten eines Schenkels der Querstrebe angepaßt sind, so daß ein Kontakt zwischen diesen Flächen entsteht; oder
  • h) das elastisch verformbare Material ist in Form eines streifenförmigen Einsatzes ausgebildet, der eine speziell ausgebildete Nut hat, die es erlaubt, den Streifen in einen Nutsitz mit einem Schenkel einer Querstrebe zu bringen, nachdem das Räumbrett in den Rahmen eingesetzt wurde, so daß mit dem Einsatz ggf. auch konventionelle Räumgeräte nachgerüstet werden können; oder
  • i) der Einsatz nach h) ist dreieckförmig mit einer in einer ersten Seite ausgebildeten Nut, einer nahe der ersten angeordneten zweiten Seite, die mit dem Räumbrett in Kontakt ist, so daß zwischen der ersten und der zweite Seite des Dreiecks ein Scheitel ausgebildet ist, wobei der Einsatz, festsitzend durch die Nut, zwischen dem Räumbrett und einem Schenkel einer Querstrebe eingeklemmt wird.
  • Nach einer weiteren erfindungsgemäßen Ausführungsform ist das Räumbrett mittels Befestigungsmitteln an den Montageelementen montiert und das elastisch verformbare Material erstreckt sich über eine Distanz bzw. einen Längenabschnitt, die im wesentlichen gleich groß wie die vertikale Länge des Zwischenraums (oder sogar größer als der Zwischenraum) ist, so daß das elastisch verformbare Material das Räumbrett berührt (oder sogar leicht zusammengepreßt ist), wenn die Befestigungsmittel angezogen sind. Hierdurch kann sichergestellt werden, daß ein Zwischenraum vorhanden ist, wenn das Räumbrett in den Rahmen eingesetzt wird, wodurch jegliche Anhäufung von Material in dem Zwischenraum verhindert wird, während der federnde Einbau des Räumbretts in den Rahmen aufrechterhalten bleibt.
    Nach noch einer weiteren Ausgestaltung der Erfindung ist das Räumbrett mittels Befestigungselementen an den Montageelementen befestigt und das elastisch verformbare Material erstreckt sich über eine Länge, die kleiner bzw. kürzer als der Zwischenraum ist, wenn das Räumbrett in den Rahmen eingebaut ist, wobei selbst eine Ansammlung von Fremdmaterial in dem offenen Restraum des nur teilweise gefüllten Zwischenraumes nicht das federnde Verbiegen des Räumbretts in den Zwischenraum hinein verhindert.
    Erfindungsgemäß ist auch ein Verfahren zum Zusammensetzen eines Räumgerätes vorgesehen, daß die Schritte
  • a) Bereitstellen eines Polyethylenräumbretts;
  • b) Bilden eines Rahmens durch Befestigen einer Mehrzahl von sich vertikal erstreckenden Querstreben an der einen Seite von oberen und unteren sich längs erstreckenden Montageelementen;
  • c) Befestigen des Räumbretts an der gegenüberliegenden Seite der Montageelemente unter Ausbilden eines Zwischenraumes zwischen den sich gegenüberliegenden Flächen der Querstreben und des Räumbretts; und
  • d) Anordnen eines elastisch verformbaren Materials an dem Räumbrett und/oder den Querstreben, bevor oder nachdem das Räumbrett in den Rahmen eingesetzt wurde, um zumindest einen Teilbereich des Zwischenraumes teilweise auszufüllen.
  • Es ist daher ein mit der Erfindung erzielter Vorteil, daß ein Räumgerät mit einem in einen Rahmen eingebauten Kunststoffräumbrett geschaffen wird, das sich, unabhängig von einer Ansammlung von Fremdmaterial wie z.B. Eisgebilden zwischen dem Räumbrett und dem Rahmen, federnd verbiegen kann.
    Ein weiterer erreichter Vorteil ist, daß ein Räumgerät mit einem in einen Rahmen in federnder Weise eingesetzten Kunststoffräumbrett geschaffen wird, bei dem einerseits eine Ansammlung von Fremdmaterial zwischen dem Räumbrett und dem Rahmen verhindert wird und andererseits es dem Räumbrett ermöglicht ist, die gewünschte federnde Durchbiegungen vollziehen zu können.
    Ein wichtiger mit der Erfindung erzielbarer Vorteil ist, daß eine Vorrichtung und ein Verfahren zum Nachrüsten bestehender, ein federnd in einen Rahmen eingebautes Kunststoffräumbrett aufweisender Pflüge bzw. Räumgeräte geschaffen wird, wobei die Befestigungsanordnung von sich aus sicherstellt, daß sich das Räumbrett unabhängig von den aus dem Betrieb des Schneeräumgeräts in harten Umgebungsbedingungen resultierenden ungünstigen Umgebungseinflüssen federnd verbiegen kann.
    Die erfindungsgemäßen Ausführungsformen bieten auch den Vorteil, daß ein Räumgerät mit einem Räumbrett bzw. Räumschild aus Kunststoff geschaffen wird, das sämtliche der zuvor beschriebenen Eigenschaften haben kann, wobei das Räumgerät einfach zusammengebaut und im Bedarfsfalle repariert werden kann.
    Ein weiterer Vorteil der Erfindung liegt darin, daß ein Räumgerät mit einem Kunststoffräumbrett geschaffen wird, das die zuvor beschriebenen Eigenschaften hat und das vergleichsweise kostengünstig ist.
    Mit der Erfindung wird für ein Schneeräumgeräts auch eine Rahmenkonstruktion für ein Räumbrett aus hochdichtem Polyethylen geschaffen, wobei die Rahmenkonstruktion unabhängig von den mit den unwirtlichen Schneepflugbetriebsbedingungen zusammenhängenden Effekten die gewünschte Durchbiegung des Räumbretts bzw. das Freihalten des gewünschten Federwegs sichert.
    Diese und weitere Aufgaben und Vorteile der Erfindung werden aus der nachfolgenden detaillierten Beschreibung der Erfindung unter Bezugnahme auf die Zeichnungen deutlich.
    Die Erfindung kann in verschiedenen Ausführungsformen mit variierenden Bauelementen und Anordnungen von Bauelementen ausgeführt werden, wobei bevorzugte Ausführungsformen unter Bezugnahme auf die beigefügten Zeichnungen nachfolgend beschrieben werden. In der Zeichnung zeigen:
  • Fig. 1 eine perspektivische Rückansicht eines normalerweise an einen Lastwagen mit Ladefläche oder an einem ähnlichen Fahrzeug montierten Schneeräumgerätes (d.h. "kleiner" Schneepflug), wobei zu Illustrationszwecken einige Teile aufgebrochen gezeigt sind;
  • Fig. 2 eine Rückansicht eines Abschnitts des Schneepflugs aus Fig. 1, teilweise aufgebrochen;
  • Fig. 3 eine Schnittansicht des Räumgerätes entlang der Linie 3-3 in Fig. 2, wobei einige Teile aufgebrochen gezeigt sind, um ein Ausführungsbeispiel für das erfindungsgemäß verwendete elastisch verformbare Material zu zeigen;
  • Fig. 4 eine Schnittansicht des Räumbretts und der Querstrebe entlang der Linie 4-4 in Fig. 3;
  • Fig. 4A eine alternative Ausführungsform des elastisch verformbaren Materials in einer Darstellung ähnlich zu der aus Fig. 4;
  • Fig. 5 eine Schnittansicht der Ausführungsform nach Fig. 4, in der allerdings das elastische Material in dem Zustand gezeigt ist, wenn das Räumbrett gebogen ist;
  • Fig. 5A eine Schnittansicht der Ausführungsform nach Fig. 4A, wobei das elastisch verformbare Material in einem Zustand gezeigt ist, wenn das Räumbrett nachgibt;
  • Fig. 6 eine perspektivische Ansicht des in den Fig. 3, 4 und 5 dargestellten elastisch verformbaren Materials;
  • Fig. 7 eine Schnittansicht eines Räumbretts mit einer alternativen Ausführungsform des elastisch verformbaren Materials, ähnlich zu der Darstellung nach Fig. 3;
  • Fig. 8 eine Schnittansicht der Ausführungsform des elastisch verformbaren Materials nach Fig. 7;
  • Fig. 9 die Ausführungsform aus Fig. 8 in dem Zustand, wenn das Räumbrett gebogen ist;
  • Fig. 10 eine perspektivische Ansicht des in der Ausführungsform nach den Fig. 7 bis 9 dargestellten elastisch verformbaren Materials;
  • Fig. 11 eine Seitenansicht einer weiteren Ausführungsform eines Räumbretts mit einer abweichenden Anordnung eines elastisch verformbaren Materials;
  • Fig. 12 eine Schnittansicht entlang der Linie 12-12 in Fig. 11;
  • Fig. 13 eine Seitenansicht einer Ausführungsform mit einer Querstrebe und einem Rahmen, die abweichend von den Ausführungsformen nach den Fig. 1 bis 12 sind;
  • Fig. 14 eine Rückansicht eines Ausschnitts des Räumbretts nach Fig. 13;
  • Fig. 15 eine Schnittansicht des mit der Querstrebe nach den Fig. 13 und 14 verwendeten elastisch verformbaren Materials;
  • Fig. 16 eine perspektivische Ansicht des in der Ausführungsform nach Fig. 15 verwendeten elastisch verformbaren Materials;
  • Fig. 17 eine abweichende Ausführungsform der Konfiguration des elastisch verformbaren Materials nach Fig. 15 zusammen mit der in den Fig. 13 und 14 gezeigten Querstrebe;
  • Fig. 18 eine Seitenansicht mit einer weiteren alternativen Ausführungsform des Zwischenraums zwischen Räumbrett und Querstrebe;
  • Fig. 19 eine perspektivische Ansicht des zum Füllen des Zwischenraums nach Fig. 18 verwendeten elastisch verformbaren Materials;
  • Fig. 20A, 20B, 20C u. 20D perspektivische Ansichten verschiedener Formen von elastisch verformbaren Materialkörpern, die in dem Spalt zwischen Räumbrett und dem tieferliegenden Stirnflächenabschnitt der Querstrebe eingesetzt werden können;
  • Fig. 21 eine aus dem Stand der Technik bekannte Ausführungsform in einer Darstellung wie in den Fig. 3, 7, 11, 13 und 18;
  • Fig. 22 eine Schnittansicht entlang der Linie 22-22 des Standes der Technik nach Fig. 21;
  • Fig. 23 eine Darstellung einer weiteren erfindungsgemäßen Ausführungsform des elastisch verformbaren Materials in ähnlicher Darstellung wie die Fig. 4, 4A, 8, 12, 15, 17 und 23;
  • Fig. 24A eine perspektivische Ansicht des in Fig. 24 gezeigten elastisch verformbaren Materials; und
  • Fig. 25 eine weitere alternative Ausführungsform eines elastisch verformbaren Materials sowie eine Illustration eines Verfahrens zum Aufbringen verschiedener Arten von elastisch verformbarem Material.
  • Es wird nun Bezug genommen auf die Zeichnungen, in denen bevorzugte Ausführungsformen der Erfindung zu Erläuterungszwecken gezeigt sind, ohne daß die Darstellungen den Schutzbereich beschränken sollen. In Fig. 1 ist ein Räumgerät 10 gezeigt, das zum Räumen von Schnee, Schneeverwehungen u.dgl. von schneebedeckten Einfahrten, Parkbuchten etc. als Anbaugerät an Motorlastwagen, Pickup-Fahrzeugen, Allradfahrzeugen u.dgl. eingesetzt wird und gewöhnlich eine Breite von etwa 2 m (78 inch) hat. Die breiteren, schwereren Einsatzpflüge von Kommunen oder staatlichen Straßenbehörden, die zum Räumen von Schnee und Geröll von Kraftfahrstraßen eingesetzt werden, haben gewöhnlich eine Breite von etwa 2,30 m (90 inch) und können eine Rahmenkonstruktion aufweisen, die von der dargestellten abweicht. Der Fachmann wird erkennen, daß die Erfindung bei großen Pflügen genausogut wie bei kleinen, hier dargestellten Pflügen, Anwendung finden kann.
    Das in den Fig. 1, 2 und 3 gezeigte Räumgerät 10 weist im allgemeinen eine Rahmenkonstruktion 14, ein am Boden des Rahmens 14 befestigtes Kratzerblatt 16 und ein konkav nach vorne und nach innen gekrümmtes Räumbrett 18 auf. Das konkav gekrümmte Räumbrett 18 hat eine vordere, in Fahrt- bzw. Räumrichtung weisende Fläche 19 und eine rückseitige, dem Rahmen 14 zugewandte Fläche 17 (Rückseite). Die hier verwendeten Begriffsbestimmungen sind wie folgt zu verstehen: Mit "Kratzerblatt" ist der austauschbare, untere Randabschnitt des Räumgeräts gemeint, während Blatt" die konkav gekrümmte Frontalfläche 19 des Räumbretts 18 und des Kratzerblatts 16 bezeichnet. Unter Pflug bzw. Räumgerät 10 sind der Rahmen 14, das Räumbrett 18 und das Kratzerblatt 16 zu verstehen. Unter "Ruhestellung" soll die Relativlage zwischen Rahmen 14, Räumbrett 18 und Kratzerblatt 16 verstanden werden, wenn das Räumgerät 10 zwar zusammengebaut und an einem Fahrzeug befestigt ist, sich aber nicht im Einsatz zum Räumen von Schnee u.dgl. befindet, d.h. in Ruhestellung ist. Mit "gebogen" ist eine federnde Rückwärtsverbiegung des Räumbretts 18 relativ zu dem Rahmen 14 gemeint.
    An dem Rahmen 14 sind für den Betrieb des Pfluges 10 notwendige Hilfsaggregate und -elemente angeordnet oder befestigt. Diese Hilfselemente schließen eine Stütztraverse 20 ein, die mit Aufhängungen 21 versehen ist, die an einem nicht gezeigten Fahrzeug befestigt sind. Von der Stütztraverse 20 aus erstrecken sich Streben 23, die bei 25 schwenkbar an einem kastenförmigen Gestell 26 angelenkt sind. Das kastenförmige Gestell 26 ist mittels einer Drehzapfenverbindung 28 schwenkbar an dem Bodenabschnitt der Rahmenkonstruktion 14 befestigt. Die Drehzapfenverbindung 28 ermöglicht ein Vorwärts- oder Rückwärtskippen des Räumgerätes 10 um eine horizontale Achse. Zylinder 30, die seitlich an den Streben 23 montiert sind, ermöglichen ein horizontales Verschwenken des Pfluges 10 um die Schwenkaufhängung 25, so daß der Winkel der Schrägstellung des Pfluges 10 relativ zum Fahrzeug (bzw. zur Fahrtrichtung) verstellt werden kann, um Schnee zur einen Seite oder zur anderen Seite des Pfluges 10 austreten lassen zu können.
    Ein erster Befestigungsarm 33, der an dem kastenartigen Gestell 26 befestigt ist, und ein zweiter Befestigungsarm 34, der am oberen Ende der Rahmenkonstruktion 14 befestigt ist, dienen zur Montage einer bzw. mehrerer Federn 36, die das Räumgerät 10 in aufrechter Stellung halten. Wenn das Kratzerblatt 16 auf ein Hindernis auf der Straße etc. trifft, schwenkt der Pflug 10 um den Drehzapfen 28 gegen die Kraft der Federn 36, die das Räumgerät bzw. den Pflug 10 nach Passieren des Hindernisses in seine Normalstellung zurückbewegen. Die Spannung der Federn 36 wird in an sich bekannter Weise mittels in die Befestigungsarme 34 eingeschraubter Einstellarme 38 eingestellt.
    Die zuvor beschriebenen Hilfselemente sind für gattungsgemäße Pflüge bekannt und brauchen daher nicht näher erläutert zu werden. Es ist allerdings zu beachten, daß es mit einem leichtgewichtigen Räumbrett 18 ermöglicht wird, die Hilfselemente sowie den Rahmen 14 in einer Weise zu konstruieren, bei der das Gewicht und die Herstellkosten im Vergleich zu dem Aufbau dieser Bauteile bei konventionellen Stahlräumbrettern reduziert werden können.
    Der in den Fig. 1, 2 und 3 gezeigte Rahmen 14 ist ähnlich aufgebaut wie ein konventioneller Rahmen für einen Schneeräumpflug mit Räumbrett aus Stahl. Der Schutzbereich der Erfindung soll aber nicht ausschließlich auf eine spezielle Rahmenkonstruktion beschränkt sein. Ganz allgemein weist der Rahmen 14 ein sich längs erstreckendes oberes Montageelement 40, das sich über die volle Breite des Pflugs erstreckt, ein unteres Montageelement 41, das sich entsprechend über die Breite des Pflugs erstreckt, sowie mehrere voneinander beabstandete und über die Breite des Pfluges nebeneinander angeordnete, konkav gekrümmte Querstreben 44 auf, die sich zwischen dem oberen Montagelement 40 und dem unteren Montageelement 41 erstrecken und an diesen befestigt sind. Meist ist das obere Montageelement ein Winkelprofil mit einem Befestigungsschenkel 47 und einem im rechten Winkel zu diesem im wesentlichen radial sich erstreckenden Schenkel 48. Auch bei den Querstreben 44 handelt es sich hier, wie in den Zeichnungen gezeigt, um Winkelprofile mit einem V-förmigen Querschnitt. Die Schenkel 49 des "V" enden in konkav gekrümmten vorderen Stirnflächen 50, wobei die Krümmung der Querstreben bzw. der Stirnflächen ähnlich zu der Krümmung des konkav gekrümmten Räumbretts 18 ausgeführt ist. Vorzugsweise sind die Stirnflächen 50 der Querstreben 44 bogenförmig gekrümmt und haben einen Krümmungsradius, der an den Krümmungsradius des Räumbretts 18 angepaßt ist. Bei der Erfindung können eine Vielzahl von Rahmen verwendet werden, allerdings muß wenigstens eine Querstrebe hinter der Rückseite 17 des Räumbretts 18 vorhanden und im Abstand von dem Räumbrett angeordnet sein.
    Jede Querstrebe 44 hat ein oberes Winkelprofilende 52, das entlang einer Radiallinie bzw. einer Radialebene zugeschnitten ist, die durch den Mittelpunkt der Krümmung der vorderen Stirnfläche 50 geht. Der radial sich erstreckende Schenkel 48 des oberen Montageelementes 40 ist fluchtend gegen das obere Winkelende 52 angelegt und mit diesem verschweißt, so daß mit dieser koplanaren Kontaktlinie die Lage des Befestigungsschenkels 47 relativ zu dem Räumbrett 18 sichergestellt ist. Durch Veränderung der Winkelverhältnisse zwischen dem oberen Winkelprofilende 52 der Querstrebe 44 relativ zu dem Krümmungsradius der vorderen Stirnfläche 50 kann die Anordnung zwischen Räumbrett 18 und vorderer Stirnfläche 50 variiert werden. Alternativ können auch Anschläge oder Beschläge verwendet werden, um die Relativlage zwischen Räumbrett 18 und Rahmen 14 festzulegen. Das untere Winkelprofilende 53 jeder Querstrebe 44 ist in ähnlicher Weise zugeschnitten, vorzugsweise entlang einer Radialebene, die durch den Mittelpunkt des Krümmungsradius der frontseitigen Stirnfläche 50 hindurchgeht. Das untere Montageelement 41 weist bei der bevorzugten Ausführungsform ein unteres Winkelprofil 56 und eine flache Montageplatte 57 auf, die vorzugsweise an dem radial sich erstreckenden Schenkel 60 des Winkelprofils 56 anliegt, so daß der Befestigungsschenkel 59 des Winkelprofils 56 und die Montageplatte 57 im wesentlichen koplanar sind.
    Der Rahmen 14 wird dadurch zusammengesetzt, daß die Winkelprofile genauestens zugeschnitten werden, daß die Querstreben 44 mit dem gewünschten Krümmungsradius gebogen werden und daß anschließend, unter Verwendung herkömmlicher Anschläge oder Beschläge zum Festhalten der Elemente in ihrer genauen Zuordnung zueinander, die Elemente fest miteinander verschweißt werden. Wie gesagt handelt es sich bei dem in Fig. 1, 2 und 3 gezeigten Rahmen um einen konventionellen Rahmen. Alternativ kann auch der in dem US-Patent 5,088,215 gezeigte Rahmen verwendet werden. Der allgemeine Aufbau sämtlicher Rahmen ist in manchen Punkten ähnlich. So sind vorzugsweise zumindest vier Querstreben 44 an wenigstens einer, vorzugsweise jedoch an zwei (oberen und unteren) Montageplatten (Längsstreben) befestigt. Die Profilformen der Montageplatten und Querstreben können variieren.
    Das Räumbrett 18 besteht vorzugsweise aus einem Polyethylen-Kunststoff mit ultrahohem Molekulargewicht (UHMW: ultra high molecular weight) und hat normalerweise eine Dicke von 9,55 mm (3/8"). Ein geeigneter UHMW-Kunststoff wird unter den registrierten Markennamen HOSTALEN GUR412LS und GUR422 vertrieben und ist von der Firma Hoechst (in Amerika) erhältlich. Das UHMW-Polyethylenmaterial hat einen ausgesprochen niedrigen Reibungskoeffizienten, einen relativ hohen Abriebswiderstand und eine ausreichende Biegefestigkeit und Wärmstreckgrenze, um bei Schneeräumbedingungen funktionieren zu können. Bei der bevorzugten Ausführungsform wird das Material anfänglich von einem flachen Blattmaterial in die in den Zeichnungen gezeigte gekrümmte Anordnung gerollt oder gewalzt. Das Material würde ohne Stützeinrichtung diese gekrümmte Form nicht über einen längeren Zeitraum beibehalten. Aus diesem Grunde wurde dieses Material industriell nur für Führungsmäntel und Gleitringen eingesetzt, bei denen es angemessen abgestützt ist. Der in den Fig. 1 bis 3 gezeigte Rahmen oder alternativ der in dem US-Patent Nr. 5,088,215 dargestellte Rahmen stützen das Räumbrett in seinem gewünschten konkav gekrümmten Zustand. Bei dem in den Fig. 1 bis 3 dargestellten Rahmen 14 ist das Räumbrett 18 an dem oberen Befestigungsschenkel 47 und an der unteren Befestigungsplatte 57 mittels Befestigungsmitteln 61 montiert, die vorzugsweise einen Vierkantschaft aufweisen, der vorzugsweise durch Vierkantlöcher in dem Räumbrett 18 paßt. Bedeutsam für die Erfindung ist, daß die Querstreben 44 für eine gekrümmte Abstützung des Räumbretts 18 sorgen, wenn der Pflug im Einsatz ist, wobei dem Räumbrett die Möglichkeit eröffnet ist, während seines Einsatzes sich zu verbiegen oder zu "springen", um die Funktionweise des Pfluges zu verbessern.
    Gemäß der Lehren der Patente US 4,803,790; US 4,845,866 und US 5,088,215 wird das Verbiegen des Räumbretts durch Vorsehen eines sich vertikal erstreckenden Zwischenraumes oder Spaltes zwischen der vorderen, in Fahrtrichtung weisenden Stirnfläche 50 der Querstrebe 44 und der Rückseite 17 des Räumbretts 18 bewerkstelligt. Dieser Spalt oder Zwischenraum ist vorhanden, wenn das Räumbrett in der zusammengesetzten bzw. Ruhestellung innerhalb des Rahmens 14 ist, d.h. wenn der Pflug 10 nicht in Betrieb ist. Dieser sich vertikal erstreckende Spalt, in den Zeichnungen mit dem Bezugszeichen "X" versehen, muß nicht notwendigerweise gleichförmig über seine vertikale Längserstreckung sein. Tatsächlich ist der Spalt X in der bevorzugten Ausführungsform zweckmäßig derart ausgebildet, daß er zwischen einem minimalen Abstand nahe des oberen Abschnitts des Räumbretts 18 und einem maximalen Abstand nahe des unteren Abschnitts des Räumbretts 18 variiert, d.h. einer halben Sichel ähnelt. Durch Variation des Spaltes kann das Springen oder Verbiegen des Räumbretts über einen weiten Bereich des Räumbretts gesteuert werden, was zu einem verbesserten Einsatzverhalten des Räumbretts beim Aufrollen und seitlichen Abtransportieren des Schnees mit der frontseitigen Fläche 19 führt.
    Die bisher beschriebenen Merkmale des Pflugs sind bekannt, wie auch aus den Fig. 21 und 22 hervorgeht, in denen die beschriebene Anordnung aus dem Stand der Technik dargestellt ist. Der sich vertikal erstreckende Spalt, d.h. der Zwischenraum zwischen dem Räumbrett 18 und dem diesem zugewandten Abschnitt der Querstrebe 44 ist deutlich in Fig. 21 als Abstand X zu erkennen. Noch deutlicher ist in der Querschnittansicht nach Fig. 22 gezeigt, daß es sich beim Spalt X um den Abstand zwischen der Rückseite 17 des Räumbretts 18 und der gekrümmten Frontstirnfläche 50 des Schenkels 49 der Querstrebe 44 handelt. Dieser Spalt X nimmt das Verbiegen des Räumbretts 18 im Betrieb auf. Fremdmaterial, das in Fig. 21 mit dem Bezugszeichen 62 versehen ist, sammelt sich im Spalt X und füllt diesen auf. Dieses Fremdmaterial gelangt zwischen die Schenkel 49 der Querstrebe 44 und wird dort eingeklemmt. Bei dem Fremdmaterial kann es sich nicht nur um Straßendreck, sondern auch um Eisgebilde oder Eisbrocken handeln, die beim Betrieb des Pflugs bei strengen Witterungsbedingungen auftreten können. Die Fremdpartikel verhindern die gewünschte Durchbiegung des Räumbretts 18 oder lassen die gewünschte Durchbiegung nur teilweise zu. Der Pflug 10 wird daher aufgrund der niedrigen Reibungseigenschaften des Räumbretts 18 aus Polyethylen selbst mit dem eingeklemmten Fremdmaterial noch funktionieren und besser funktionieren als Pflüge, die mit konventionellen Stahlblättern ausgestattet sind. Die mit dem Spalt X in den Pflug integrierte Verbiege- und Springfunktion des Räumbretts wird jedoch vereitelt oder vermindert.
    Daher ist, wie auch aus den Fig. 1 bis 6 ersichtlich ist, erfindungsgemäß vorgesehen, daß ein Körper aus elastischem bzw. elastisch verformbaren Material 70 zwischen der Querstrebe 44 und dem Räumbrett 18 derart eingesetzt ist, daß zumindest ein Abschnitt des Spaltes X mit dem elastischen Material ausgefüllt ist.
    In der Beschreibung und in den Ansprüchen soll, wie bereits erwähnt, unter "elastisch verformbares Material" jegliches block- oder festkörperartiges, elastisches bzw. nachgiebiges Material verstanden werden, das auch bei den Temperaturen, denen das Räumgerät bzw. der Pflug 10 normalerweise ausgesetzt ist, einen gewissen Grad an Elastizität beibehält. Mit Elastizität ist die Eigenschaft des Materials gemeint, sich unter Krafteinwirkung zu verformen und die Originalform wieder einzunehmen, wenn die Krafteinwirkung aufhört. Das elastisch verformbare Material "federt" mithin in seine Originalform zurück. Elastisch verformbares Material schließt natürliche elastische Materialien, warmhärtende Materialien und Thermoplaste ein, insbesondere solche, die als natürliche oder synthetische Elastomere charakterisiert sind oder die natürliche oder synthetische Elastomere als Bestandteile, Polymere oder Verbundwerkstoffe derselben enthalten, einschließlich aber nicht begrenzt auf Naturkautschuk, Fluor-Elastomere, Polyurethan-Elastomere, Styrol-Butadien-Kautschuk, CIS-1,4-Polybutatien, CIS-1,4,Polyisopren, Butylkautschuk, Ethylen-Propylen-Polymer, Ethylen-Buthyl-Polymer, Neoprene, Nitril-Kautschuk, Silikon-Kautschuk, Polysulfid-Kautschuk, Polyacrylat-Kautschuk und thermoplastische Polyolefine. Unter "elastisch verformbarem Material" sollen auch flüssige Schäume und Sprays, die zu flexiblen, elastisch verformbaren festkörperartigen Materialien in ausgetrocknetem oder ausgehärtetem Zustand erstarren, sowie Polymerschäume und insbesondere ein- oder zweikomponentige, flexible Polyurethanschäume verstanden werden, die insbesondere zum Nachrüsten geeignet sind. Bei der bevorzugten Ausführungsform ist das elastisch verformbare Material ein thermoplastisches Elastomer, das unter dem Markennamen Santoprene 101-64 von Mile Rubber & Packaging Co. erhältlich ist. Dieses Material hat einen Kompressionsgrad von etwa 23% bei 25° C und eine Bruchdehnungsgrenze von etwa 400%. Die Prüfhärte ist etwa 50 (der verwendbare Härtenbereich liegt zwischen 20 und 80, vorzugsweise zwischen 40 bis 60) und das Material zeigt keinen Sprödbruch bei niedrigen Temperaturen.
    Bei der bevorzugten Ausführungsform nach den Fig. 1 bis 6 hat das elastisch verformbare Material 70 die Form eines dreieckförmigen Blocks 72 mit einer sich durch den Block erstreckenden zentralen, zylindrischen Öffnung 73. Der dreieckige Block ist derart dimensioniert, daß er zwischen die Schenkel 49 der Querstrebe 44 hineinpaßt. Wie am besten in Fig. 4 zu sehen ist, erstreckt sich der dreieckförmige Block 72 im Ruhezustand des Pflugs 10 über die gekrümmten frontseitigen Stirnflächen 50 hinaus, um den Spalt X im wesentlichen vollständig auszufüllen und die Rückseite bzw. rückseitige Fläche 17 des Räumbretts 18 zu berühren. In Fig. 6 ist gut zu erkennen, daß die Außenflächen des dreieckförmigen Blocks 72 gerade sind. Die Länge des dreieckförmigen Blocks 72 zusammen mit den flexiblen Eigenschaften des elastisch verformbaren Materials 70 jedoch ermöglicht es dem dreieckförmigen Block 72, die vertikale Krümmung der Querstrebe 44 vollständig anzunehmen. Die Längenabmessung des dreieckförmigen Blocks 72 ist größer als die vertikal sich erstreckende gekrümmte Länge, auf der sich das Räumbrett 18 verbiegt, und diese Länge des Blocks ist mit dem Bezugszeichen Y in Fig. 6 bezeichnet. Bezugszeichen "Y" wird in der gesamten Beschreibung verwendet, um die vertikale Längsausdehnung des elastisch verformbaren Materials 70 im Spalt X zu bezeichnen. Das überschüssige Material oder die Endbereiche 74 (nur ein Endbereich 74 ist in Fig. 6 gezeigt) ist zwischen der Querstrebe 44 und dem oberen Befestigungsschenkel 47 sowie zwischen der Querstrebe 44 und der flachen unteren Befestigungsplatte 57 eingeklemmt. Wenn der Pflug in der zusammengebauten Ruhestellung ist, wird die zentrale Öffnung 73 in den Endbereichen 74 verzerrt, um sicherzustellen, daß der dreieckförmige Block 72 in der richtigen Lage gehalten wird. In Fig. 5 ist gut zu erkennen, daß sich das elastisch verformbare Material 70 in die zentrale Öffnung 73 hinein unter Verzerren oder Aufblähen der Öffnung ausdehnt, wenn im Betrieb durch den Schnee eine mittels des Pfeiles dargestellte Kraft auf die Frontfläche 19 des Räumbretts 18 einwirkt und dieses nach hinten bewegt. Genau genommen erlaubt die zentrale Öffnung 73 eine ungehinderte Kompression des elastisch verformbaren Materials 70, so daß das Räumbrett 18 sich ungehindert in den Spalt X hinein verbiegen bzw. in diesen springen kann. Gleichzeitig ermöglicht der dreieckförmige Aufbau des dreieckförmigen Block 72, daß sich seine Außenflächen um einen größeren Weg quer durch den Spalt X hindurchschieben kann als die Spannweite der Querstrebe 44 beträgt, um sicherzustellen, daß kein Geröll und Eis irgendwie in den Spalt X zwischen Querstrebe 44 und Räumbrett 18 eintritt.
    Die bevorzugte Ausführungsform nach den Fig. 1 bis 6 zeigt den dreieckförmigen Block 72 in Kontakt mit der Rückseite 17 des Räumbretts über die Vertikallänge Y des Spaltes X. Dies ist nur aus zeichnerischen Gründen und Illustrationszwecken so. Tatsächlich wird der dreieckförmige Block 72 nicht bzw. muß er nicht notwendigerweise die Rückseite 17 des Räumbretts 18 über die Vertikallänge Y des Spaltes X berühren.
    Die Fig. 4A und 5A zeigen eine alternative Ausführungsform der Erfindung in einer Darstellung, die den Fig. 4 bzw. 5 entspricht. Der dreieckförmige Block 72 ist über seine gesamte sich vertikal erstreckende Längsausdehnung Y verändert, um kleinere Außenflächenabmessungen zu haben. Auch der modifizierte Block 72A hat einen zentralen zylindrischen Durchgang 73A. Die Endabschnitte 74 des modifizierten Blocks 72A sind wie beim dreieckförmigen Block 72 für die vorgenannten Zwecke ausgebildet. Da sich der veränderte Block 72A im Spalt X ausdehnt, wird der Spalt X um ein Maß reduziert, das in der Zeichnung mit dem Bezugszeichen A in den Fig. 4A und 5A bezeichnet ist, wobei dieser Abstand A zwischen der Rückseite 17 des Räumbretts und einer frontseitigen Außenfläche 75 am veränderten Block 72A gebildet ist. In diesem mit dem Bezugszeichen "A" bezeichneten Spalt A können sich Fremdmaterial wie Straßenschutt, hier mit Bezugszeichen 62 bezeichnet, oder Eisplatten, hier mit Bezugszeichen 64 bezeichnet, sammeln. Der Spalt X wird folglich dadurch vollständig ausgefüllt, daß Fremdmaterial 62, 64 vor dem veränderten Block 72A vorsteht. Wenn die mittels des Pfeiles in Fig. 5A dargestellte Schneekraft auf die Frontfläche 19 des Räumbretts 18 einwirkt, kann sich das Räumbrett 18 immer noch federnd verbiegen und den Spalt X auf das Maß X', wie gezeigt, verkleinern. Der reduzierte Spalt X' in Fig. 5A ist zwar größer als der reduzierte Spalt X' in Fig. 5, das Räumbrett ist aber weiter in der Lage, sich zu verbiegen, und als Folge davon geeignet, die Aufroll- und seitliche Abtransportbewegung des Schnees über seine Fläche zu verbessern. Demzufolge ist die Erfindung daher nicht notwendigerweise darauf beschränkt, daß das elastisch verformbare Material den Spalt X ausfüllt, da das Räumbrett immer noch gemäß seiner Konstruktionsvorteile sich verbiegen oder springen wird, wenn elastisch verformbares Material 70 den Spalt X, wie in den Fig. 4A und 5A gezeigt, nur teilweise ausfüllt. Es versteht sich, daß die Federungsqualität des Räumbretts 18 optimiert ist, wenn das elastisch verformbare Material 70 den Spalt im wesentlichen vollständig ausfüllt.
    Eine weitere Modifikation des dreieckförmigen Blocks 72 ist mit dem dreieckförmigen Block 72B in Fig. 7 gezeigt. Die zusätzliche Veränderung besteht in dem Entfernen der Endabschnitte 74 des dreieckförmigen Blocks 72 die, wie unter Bezugnahme auf die Fig. 1 bis 6 erläutert wurde, zwischen der Querstrebe 44 und dem oberen Befestigungsschenkel 47 einerseits und zwischen der Querstrebe 44 und der unteren Befestigungsplatte 57 eingeklemmt ist. Der veränderte Block 72B erstreckt sich daher nur über die Länge Y, wie in Fig. 6 gezeigt. Die Schenkel 49 der Querstrebe 44 halten den veränderten dreieckförmigen Block 72B innerhalb der Querstrebe 44 fest.
    In den Fig. 8, 9 und 10 ist eine alternative Ausführungsform für das elastisch verformbare Material 70 gezeigt, wobei diese Ausführungsform einen rechteckförmigen Block aus elastisch verformbarem Material 70 aufweist. Der rechteckförmige Block 77 ist derart dimensioniert, daß er sich auf einer Länge Y oder alternativ über eine größere Länge erstreckt, um einerseits den radial sich erstreckenden Schenkel 48 des oberen Montageelementes 40 und andererseits den sich radial erstreckenden unteren Schenkel 60 des unteren Montageelementes 41 in der zusammengebauten Ruhestellung zu berühren. Der Querschnitt des rechteckförmigen Blokkes 77 ist derart dimensioniert, daß die beiden hinteren Randkanten 78 die V-Schenkel 49 der Querstrebe 44 berühren, und dabei einen abgedichteten Hohlraum 79 zwischen dem rechteckförmigen Block 77 und dem Scheitel der Querstrebe freilassen, in den Fremdmaterial nicht eintreten kann. Der Scheitelhohlraum 79 ermöglicht eine Deformation des elastisch verformbaren Materials des rechteckförmigen Blocks 77, wenn sich das Räumbrett 18, wie in Fig. 9 gezeigt, verbiegt, ungeachtet des Vorhandenseins irgendwelchen Fremdmaterials zwischen den Schenkelstirnflächen 50, dem Räumbrett 18 und dem rechteckförmigen Block 77.
    Bei der in den Fig. 11 und 12 gezeigten weiteren alternativen Ausführungsformen hat das elastisch verformbare Material die Form eines elastisch verformbaren Streifens 80. Der elastisch verformbare Streifen 80 ist an einer Seite eines doppelseitigen Klebebandes 81 befestigt, bei dem es sich vorzugsweise um ein beidseitig mit einem Kleber beschichtetes elastisch verformbares oder dämpfendes Material handelt. Die andere Seite des doppelseitigen Bandes 81 ist an der Rückseite 17 des Räumbretts 18 befestigt. Vorzugsweise haben das Band 81 und der elastisch verformbare Streifen 80 zusammen eine Dicke, die etwas größer als der Spalt X ist, so daß in dem zusammengebauten Ruhezustand, wie er in Fig. 12 gezeigt ist, die vorderen gekrümmten Stirnflächen 50 der Querstrebe 44 den Streifen 80 fest berühren. Das doppelseitige Band 81 ermöglicht eine genaue Positionierung des elastisch verformbaren Streifens 80 für den Einbau des Räumbretts 18 in den Rahmen 14. Abhängig von der Montagetechnik kann das doppelseitige Klebeband 81 durch andere Montagetechniken ersetzt werden. Alternativ kann das elastisch verformbare Material des doppelseitigen Klebebandes 81 alleine das elastisch verformbare Material 70 bilden und ein separater oder zusätzlicher dämpfender Streifen 81 (mit einer Klebebeschichtung an nur einer Seite) kann den elastisch verformbaren Streifen 80 ersetzen. Der elastisch verformbare Streifen 80 kann stattdessen auch einfach nur mit einer Klebeschicht zur Befestigung an der Rückseite 17 des Räumbretts beschichtet sein. Aus Fig. 11 wird deutlich, daß die Länge Y des elastisch verformbaren Streifens 80 nicht größer sein kann als der Abstand zwischen der freiliegenden Kante des oberen Befestigungsschenkels 47 und der freiliegenden Kante der unteren Befestigungsplatte 57.
    Ein weiteres Ausführungsbeispiel für die Erfindung ist in den Fig. 13 bis 17 gezeigt. Der in den Fig. 13 und 14 wiedergegebene Rahmen 14A hat eine von dem Rahmen 14 aus den Fig. 1 bis 12 abweichenden Aufbau, ist aber in den wesentlichen Elementen so wie der zuvor beschriebene Rahmen aufgebaut, so daß bei der Beschreibung des in den Fig. 13 und 14 gezeigten Rahmens 14A für gleiche Bauteile gleiche Bezugszeichen wie bei der Beschreibung des Rahmens 14 in den Fig. 1 bis 3 verwendet werden. Die Querstrebe 44A hat keine V-Form, sondern ist als flache Platte mit nur einem Schenkel 49A ausgeführt, dessen vordere bzw. frontseitige Stirnfläche 50A gekrümmt ist. Die Querstrebe 44A ist an einem unteren Montageelement 41 arretiert, das, wie beschrieben, ein Winkelprofil 56 und eine flache untere Montageplatte 57 aufweist. Das obere Montageelement 40A (nun in der in Form von Segmenten zwischen nebeneinanderliegenden Querstreben 44A ausgeführt) ist näherungsweise mittig, d.h. auf halber Länge der Querstrebe 44A, positioniert, wobei sein Befestigungsschenkel 47A und sein radial sich erstreckender Schenkel 48A mit dem Schenkel 49A der Querstrebe 44A verschweißt sind, wie dies mit Bezugszeichen 83 in Fig. 14 angedeutet ist. Die Querstrebe 44A unterscheidet sich daher von der zuvor beschriebenen Querstrebe 44 durch einen oberen Endbereich 84, der über den sich radial erstreckenden Schenkel 48A hinausragt. Bedeutsamer ist, daß sich die Querstrebe 44A von der in den Fig. 1 bis 12 beschriebenen Querstrebe 44 dadurch unterscheidet, daß die vordere gekrümmte Stirnfläche 50A einen progressiv ansteigenden Spalt X zwischen sich und der rückseitigen Fläche 17 des Räumbretts 18 ausbildet. Dies ist in Fig. 13 durch die Spaltabmessungen X-1, X-2, X-3 ... X-N dargestellt, die sich von dem oberen Ende des Räumbretts 18 zu seinem unteren Ende ansteigend verändern. Vorzugsweise variieren die Spaltabmessungen derart, daß ein Spalt in der Form einer Halbsichel (mondförmig) erzeugt wird, wobei auch andere Konfigurationen möglich sind. Der progressive Spalt X ist in dem zusammengebauten Ruhezustand von Anfang an in die Rahmenkonstruktion hineinkonstruiert, so daß das Räumbrett 18 ein geringes Zurückspringen oder Verbiegen an seinem oberen Abschnitt und ein deutlich größeres Verbiegen an seinem unteren, sich quer erstreckenden Abschnitt aufweisen kann. Der absichtlich vorgesehene Spalt verbessert die Eigenschaft des Pflugs, den Schnee in die Krümmung des Räumbretts 18 einzurollen. Das Vorsehen eines ansteigenden Spaltes ist für sich genommen bekannt. Erfindungsgemäß ist allerdings sichergestellt, daß der ansteigende Spalt X zu seinem gewünschten Zwecke dient. Es versteht sich, daß der Spalt X absichtlich (wie bei dieser Ausführungsform) oder zufällig (wie bei den Ausführungsformen in den Fig. 1 bis 12) aufgrund von Fertigungstoleranzen, des Montageprozesses etc. ungleichförmig sein kann.
    Bei der in den Fig. 13 bis 17 gezeigten Ausführungsform hat das elastisch verformbare Material 70 die Form eines genuteten Streifens 85 mit einer auf einer seiner Seiten ausgebildeten, sich über die Länge erstreckenden Nut oder einen Kanal 86. Die Nut 86 hat Seitenwände 87, die den Schenkel 49A der Querstrebe 44A aufnehmen, sowie einen Nutgrund 88, der in Kontakt mit der vorderen gekrümmten Stirnfläche 50A der Querstrebe 44A ist. Der genutete Streifen 85 ist vorzugsweise derart dimensioniert, daß seine Dicke zwischen einer äußeren Streifenrückseite 89, die der rückseitigen Fläche 17 des Räumbretts 18 gegenüberliegt, und dem Nutgrund 88 entsprechend dem Spalt X fortschreitend variiert. Ein wichtiger Unterschied ist, daß die in Fig. 16 als Maß Y dargestellte Länge des genuteten Streifens 85 in dem Spalt X nicht der Vertikallänge des Räumbretts 18 wie bei den zuvor beschriebenen Ausführungsformen entsprechen muß. Wie zuvor beschrieben wurde, gewährleistet der als zunehmender Spalt ausgebildete Spalt X das Verbiegen des Räumbretts 18 über seinen unteren sich quer erstreckenden Abschnitt. Entsprechend braucht sich der genutete Streifen 85 nur über den unteren Teilabschnitt der Querstrebe 44A zu erstrecken, um das Verbiegen des Räumbretts an diesem Räumbrettabschnitt, wie in den Fig. 13 und 14 gezeigt, sicherzustellen. Eine Ansammlung von Fremdmaterial in dem Abschnitt des Spaltes X, der nicht teilweise oder vollständig mit elastisch verformbarem Material 70 ausgefüllt ist, wird die gewünschte Funktionsweise des Pflugs 10 nicht negativ beeinflussen.
    In Fig. 17 ist eine Modifikation des genuteten Streifens 85 gezeigt, die an die unter Bezugnahme auf die Fig. 11 und 12 erläuterte und beschriebene Ausführungsform angelehnt ist. Bei dem Streifen 85A in Fig. 17 ist die Nut weggelassen. Der Streifen 85A kann an der rückseitigen Fläche 17 des Räumbretts 18 mittels eines doppelseitigen Klebebandes 81 (nicht gezeigt) oder mittels einer Klebebeschichtung auf der äußeren Streifenrückseite 89A befestigt werden.
    In den Fig. 18 und 19 ist nun gezeigt, daß der in Zusammenhang mit dem Rahmen 14A in den Fig. 13 und 14 beschriebene variierende Spalt X auch bei dem in den Fig. 1 bis 12 gezeigten Rahmen 14 anwendbar ist. Der Rahmen in Fig. 18 ist mit dem Rahmen 14 nach den Fig. 1 bis 12 nahezu identisch. Abweichend erstreckt sich der Befestigungsschenkel 47 des oberen Montagelementes 40 vertikal nach oben und nicht, wie in den Fig. 1 bis 12, in Vertikalrichtung nach unten. Dies soll nur verdeutlichen, daß auch beim Rahmen 14 Variationen möglich sind. Es ist für keine der beiden Ausführungsformen notwendig, die Ausrichtung des oberen Montageelementes 40 zu ändern, um ein elastisch verformbares Material in einem absichtlich konstruierten, variierenden Spalt X, wie er in Fig. 13 gezeigt ist, anzuwenden. Mit der Fig. 18 wird verdeutlicht, daß die konkav, d.h. nach innen gekrümmte, frontseitige Stirnfläche 50A der Querstrebe 44 in ihrer Krümmung variiert werden kann, um einen abweichenden Spalt X zu schaffen. Der in Fig. 19 gezeigte dreieckförmige Block 72A hat eine Dicke, die sich vorzugsweise von seinem oberen Ende 89 zu seinem unteren Ende 90, angepaßt an die zunehmende Änderung im Spalt X, verringert. Diese dimensionale Abstimmung wird zwar bevorzugt, für die Funktionstüchtigkeit entsprechend der Darstellung in den Fig. 4A und 5A ist dies aber nicht notwendig und die Breite des dreieckförmigen Blocks 72A könnte konstant sein. Fig. 19 zeigt auch, daß der dreieckförmige Block eine sich innerhalb erstrekkende zentrale Öffnung 73A aufweisen kann.
    In den Fig. 20A, 20B, 20C und 20D sind alternative Ausführungsbeispiele des elastisch verformbaren Materials 70 in Gestalt von veränderten dreieckförmigen Blöcken 72 gezeigt. In Fig. 20A ist ein solider dreieckförmiger Block 72B gezeigt. Wenn sich das Räumbrett 18 durchbiegt, wird das elastisch verformbare Material zu beiden Seiten der Querstrebe 44 gespreizt, wobei sich das elastisch verformbare Material hinter die frontseitige gekrümmte Stirnfläche 50 wölbt. Der in Fig. 20 C gezeigte formstabile dreieckförmige Block 72C hat eine in seinem Scheitel ausgebildete, sich über seine gesamte Länge erstreckende halbkreisförmige Kehle 91. Die Kehle 91 paßt in den V-Scheitel der Schenkel 49 der Querstrebe 44, um einen abgedichteten Expansionsraum für das elastisch verformbare Material 70 auszubilden, ähnlich wie dies mit Bezugszeichen 79 in den Ausführungsformen nach Fig. 8 und 9 gezeigt ist. Bei dem in Fig. 20 B gezeigten dreieckförmigen Block 72D handelt es sich um eine Kombination der dreieckförmigen Blöcke 72A und 72C. In Fig. 20C ist ein dreieckförmiger Block 72E gezeigt, der eine zentrale dreieckförmige Aussparung 93 aufweist, wobei die Außenflächen des dreieckförmigen Blocks 72E als Wandabschnitte mit im wesentlichen gleichen Dicken ausgebildet sind. Die Aussparung 93 ist nicht vollständig dreieckförmig, da optional eine halbkreisförmige Kehle 91A im Scheitel vorgesehen sein kann, wie dies mit Bezug zu der Fig. 20C erläutert wurde, so daß ein halbkreisförmiger Wandabschnitt in der Aussparung 93 ausgebildet ist. Die Auswahl des speziellen Aufbaus hängt von verschiedenen Faktoren ab, einschließlich den Abmessungen der elastisch verformbaren Masse sowie den Eigenschaften des ausgewählten elastisch verformbaren Materials. Das elastisch verformbare Material sollte von seiner Härte und Biegesteifigkeit nicht derart sein, daß ein Verbiegen des Räumbretts 18 verhindert wird, sondern das elastisch verformbare Material sollte vorzugsweise ermöglichen, daß sich das Räumbrett 18 in gleichen oder annähernd gleichen Maßen verbiegen kann, als ob im Spalt X kein Fremdmaterial vorhanden wäre. Gleichzeitig muß das elastisch verformbare Material 70 eine ausreichende Stabilität besitzen, die eine Ansammlung von Fremdmaterial im Spalt X vollständig verhindert oder soweit verhindert, daß sich der Spalt X nur bis zu einem gewissen Ausmaß mit Fremdmaterial füllt. Die Konstruktion des Körpers des elastisch verformbaren Materials, wie durch die zahlreichen Ausführungsformen offenbart wurde, erfolgt unter Berücksichtigung dieser Überlegungen.
    In den Fig. 23 und 23A, 24 und 24A sowie 25 sind Ausführungsformen für Nachrüstanwendungen der Erfindung gezeigt. Die Fig. 23 und 23A offenbaren einen elastisch verformbaren Einsatz 94, der U-förmig ist und eine Längsnut 95 aufweist, wobei der Nutgrund des "U" das Räumbrett 18 berührt oder alternativ zumindest einen Abschnitt des Spaltes X ausfüllt. Wie bei den Ausführungsformen zuvor erläutert wurde, ist die Querstrebe 44 ein Winkelprofil mit frontseitigen Stirnflächen 50, die auf eine gewünschte Krümmung zurechtgeschnitten sind. Aus der Fig. 23 ist ersichtlich, daß die frontseitige Stirnfläche 50A eines jeden Schenkels 49 der Querstrebe mit einer Schrägkante versehen ist. Diese Schrägkante paßt zu dem schräg ausgebildeten Nutgrund 96 in der Nut 95 des elastisch verformbaren Einsatzes 94. Diese Ausgestaltung ermöglicht, daß sich die Seitenwände 97, 98 der Nut 95 aufspreizen lassen, so daß der elastisch verformbare Einsatz 94 auf den Schenkel 49 der Querstrebe 44 aufgeklemmt werden kann. Die Sohle des U-för-migen elastisch verformbaren Einsatzes 94 wird dann gegen die rückseitige Fläche 17 des Räumbretts gedrückt, so daß sich der schräge Nutgrund 96 umklammernd gegen die frontseitige Stirnfläche 50A des Schenkels 49 anlegt.
    Ein anderer elastisch verformbarer Einsatz 94A zum Nachrüsten ist in den Fig. 24 und 24A gezeigt. Der elastisch verformbare Einsatz 94A hat zwei sich verjüngende Außenflächen 100, 101, die an der Spitze 102 zusammenlaufen und einen keilförmigen elastisch verformbaren Einsatz bilden. Die eine Außenfläche 100 ist der rückseitigen Fläche 17 des Räumbretts zugewandt und die andere Außenfläche 101 enthält eine Nut 95A, die wie die in den Fig. 23 und 23A gezeigte und beschriebene Nut des elastisch verformbaren Einsatzes 94 ausgebildet ist. Die Keilform des elastisch verformbaren Einsatzes 34A ermöglicht eine vergleichsweise einfache Nachrüstung. Es versteht sich, daß weder der elastisch verformbare Einsatz 94 noch der Einsatz 94A auf die Nachrüstanwendung beschränkt sind, sondern auch als elastisch verformbares Material bei neuen Pflügen eingesetzt werden können.
    Fig. 25 zeigt noch eine weitere Ausführungsform, die unter die erfindungsgemäße Definition eines elastisch verformbaren Materials fällt. Bei dieser Ausführungsform, die besonders für Querstreben geeignet ist, die einen Winkelprofilaufbau aufweisen, wird der Spalt X an einer Seite der Querstrebe 44 mittels eines entfernbaren Klipps oder eines anderen geeigneten Blechs oder Leiste temporär verschlossen, während in den Innenraum der Querstrebe 44 von der anderen, offenen Seite der Querstrebe 44 her aus einem Schaumbehälter 105 ein ausdehnungsfähiger polymerer Schaum eingespritzt wird. Wie bekannt wandelt sich das Volumen des Schaums, der als Flüssigkeit von dem unter Druck stehenden Behälter 105 freigegeben wird, beim Zusammentreffen mit Luftfeuchtigkeit in einen Schaum, der den Innenraum der Querstrebe 44 vollständig ausfüllt. Ein grobzelliger oder flexibler Schaum wird verwendet, so daß der Schaum die gewünschte Federungseigenschaft zum Ausdehnen und Zusammenziehen hat. Der Grad der Flexibilität des Schaumes hängt von seiner Zusammensetzung ab. Beispielsweise können an sich bekannte einkomponentige oder zweikomponentige flexible Polyurethanschäume verwendet werden.
    Zahlreiche Ausführungsbeispiele für die Erfindung wurden unter Bezugnahme auf die Fig. erläutert. Für den Fachmann ergeben sich eine Reihe von Abweichungen und Modifikationen beim Lesen und Verstehen der detaillierten Beschreibung der Erfindung. So wurde die Erfindung zuvor rein beispielhaft und ohne Beschränkung des Schutzumfanges hauptsächlich beschrieben als ein Mechanismus, der es dem konstruierten Spalt X ermöglicht, zu dem beabsichtigten Zwecke zu funktionieren. Der Aufbau des Räumbretts wurde im Detail nur insoweit beschrieben, daß das Räumbrett sich verbiegt und daß die Verbiegung über ausgewählte Abschnitte des Räumbretts durch die Größe (und mithin die Lage) des Spaltes X kontrolliert wird. Es fällt in den Schutzbereich der Erfindung, daß die Ausgestaltungen das elastisch verformbare Material und der Aufbau des Räumbretts kombiniert werden können, um eine gewünschte Durchbiegung des Räumbretts und ein gewünschtes Verbiegen des Räumbretts über ausgewählte Abschnitte zu erzeugen. Es ist daher auch im Sinne der Erfindung, daß die zuvor beschriebenen Konfigurationen des elastisch verformbaren Materials eine Größe haben, die sich über den Spalt X seitlich hinaus (genauso wie innerhalb) erstreckt oder sich wahlweise hinter dem Spalt erstreckt. Auch kann die Zusammensetzung von elastisch verformbarem Material innerhalb eines jeden der "Blöcke" aus dem für verschiedene "Blöcke" offenbarten Material bzw. Aufbau variiert werden, wobei nicht nur die Ansammlung von Fremdmaterial in dem Spalt verhindert wird, sondern dies auch zu einer gewünschten Durchbiegungsbewegung des Räumbretts führt. Die Querstrebe 44 kann auch ein "L-Profil", "U-Profil" oder "H-Profil" sein oder die Querstrebe wird auf andere Weise gefertigt.

    Claims (31)

    1. Räumgerät, insbesondere als Anbaugerät für Fahrzeuge, zum Räumen von Schnee, Anhäufungen, Erdmaterial u.dgl. von Straßen, Wegen und ähnlichen Oberflächen, mit einem Räumbrett (18) aus Kunststoffmaterial, das an einer stabilen, mit einer Seite an einem Fahrzeug montierten oder montierbaren Rahmenkonstruktion (14;14A) befestigt ist, die zumindest eine sich im wesentlichen vertikal erstreckende Querstrebe (44;44A) aufweist, die von dem Räumbrett (18) zum Begrenzen eines Zwischenraumes (X) zwischen sich und dem Räumbrett (18) beabstandet ist, dadurch gekennzeichnet, daß wenigstens ein Bereich des Zwischenraumes (X) zumindest teilweise mit einem elastisch verformbaren Material (70) ausgefüllt ist.
    2. Räumgerät nach Anspruch 1, dadurch gekennzeichnet, daß die Rahmenkonstruktion (14;14A) ein paar sich längs erstreckender Montageelemente (40,41;40A,41A) aufweist, die durch die eine oder mehrere Querstreben (44;44A) vertikal voneinander beabstandet sind, die entlang der Montageelemente (40,41;40A,41A) verteilt angeordnet ist/sind, wobei das Räumbrett (18) an den Montageelementen (40,41;40A,41A) befestigt ist und das Räumbrett (18) und die Querstrebe(n) (44;44A) konkav gekrümmt sind, um den Zwischenraum (X) als bogenförmig zu begrenzen.
    3. Räumgerät nach Anspruch 1, dadurch gekennzeichnet, daß die Rahmenkonstruktion im am Fahrzeug montierten Zustand obere und untere sich längs erstreckende Montageelemente und zumindest ein sich nicht längs erstreckendes Montageelement aufweist, wobei das flexible, gekrümmte Räumbrett, dessen Frontseite einen konkav gekrümmten Abschnitt aufweist, und eine Räumbrettverbindungseinrichtung zum Sichern des Räumbretts an der Rahmenkonstruktion vorgesehen sind, wobei das sich nicht längs erstreckende Element an dem oberen und unteren sich längs erstreckenden Montageelement befestigt ist und wobei die Rahmenkonstruktion eine einen Abstand von dem Räumbrett haltende Querstrebe aufweist, die einen Zwischenraum begrenzt, und wobei ein Dämpfungsmaterial zum Dämpfen der Bewegung des Räumbretts in der Rahmenkonstruktion vorgesehen ist.
    4. Räumgerät nach einem der Ansprüche 1 bis 3, dadurch gekennzeichnet, daß der Zwischenraum (X) im wesentlichen vollständig mit dem elastisch verformbaren Material (70) gefüllt ist.
    5. Räumgerät nach einem der Ansprüche 1 bis 3, dadurch gekennzeichnet, daß der Zwischenraum (X)bezüglich des Abstands zwischen dem Räumbrett (18) und der zumindest einen Querstrebe (44) über seine vertikale Längserstreckung ungleichförmig ist.
    6. Räumgerät nach einem der Ansprüche 1 bis 5, dadurch gekennzeichnet, daß sich der Zwischenraum (X) von dem im am Fahrzeug montierten Zustand oberen zum unteren Ende des Räumbretts (18) hin vergrößert.
    7. Räumgerät nach einem der Ansprüche 1 bis 6, dadurch gekennzeichnet, daß das elastisch verformbare Material (70) an ausgewählten der den Zwischenraum (X) begrenzenden Querstreben (44;44A) angeordnet ist.
    8. Räumgerät nach einem der Ansprüche 1 bis 7, dadurch gekennzeichnet, daß das elastisch verformbare Material (70) an der Querstrebe (40;44A) und/oder dem Räumbrett (18) befestigt ist.
    9. Räumgerät nach einem der Ansprüche 1 bis 8, dadurch gekennzeichnet, daß das elastisch verformbare Material (70) in ausgewählten Bereichen einiger ausgewählter Zwischenräume (X) angeordnet ist und zusammenpreßbar ist, wenn Schnee, Geröll od.dgl. ein Verbiegen des Räumbretts (18) während des Betriebs des Pflugs (10) verursacht.
    10. Räumgerät nach einem der Ansprüche 1 bis 9, dadurch gekennzeichnet, daß die Querstreben (44) aus Winkelprofilen bestehen, wobei jede Querstrebe (44) einen V-förmigen Querschnitt hat und die Stirnflächen (50) der die V-Form bildenden Schenkel (49) konkav gekrümmt sind, wobei die Stirnflächen (50) und die Rückseite (17) des Räumbretts (18) den bogenförmigen Zwischenraum (X) begrenzen und das elastisch verformbare Material (70) zwischen den Schenkelstirnflächen (50) einer jeden Querstrebe (44) und der Rückseite (17) des Räumbretts (18) zum Ausfüllen des Zwischenraumes (X) zwischengelegt ist.
    11. Räumgerät nach einem der Ansprüche 1 bis 9, dadurch gekennzeichnet, daß die Querstrebe (44A) eine einen einzelnen Schenkel (49A) bildende flache Platte mit einer konkav gekrümmten, dem Räumbrett (18) gegenüberliegenden vorderen Stirnfläche (50A) ist, wobei das elastisch verformbare Material (70) zwischen der Innenstirnfläche (50A) einer jeden Querstrebe (44A) und dem Räumbrett (18) angeordnet ist, um zumindest einen Bereich des Zwischenraumes (X) im wesentlichen zu füllen, wenn das Räumbrett (18) im Rahmen (14;14A) montiert ist.
    12. Räumgerät nach Anspruch 10 oder 11, dadurch gekennzeichnet, daß das elastisch verformbare Material (70) ein Materialblock (72;72A; 72B;72C;72D;72E) ist, der innerhalb des V jeder Querstrebe (44) angeordnet ist und vorzugsweise die Schenkelstirnflächen (50) seitlich überragt, um den Zwischenraum (X) im wesentlichen zu verschließen.
    13. Räumgerät nach Anspruch 12, dadurch gekennzeichnet, daß der Materialblock (72;72A;72D;72E) eine sich innerhalb erstreckende Öffnung (73;73A;93) aufweist, die beim Zusammenpressen des elastisch verformbaren Materials (70) deformierbar ist.
    14. Räumgerät nach Anspruch 12 oder 13, dadurch gekennzeichnet, daß der Materialblock (72;72A;72B;72C;72D;72E) einen im wesentlichen an die V-Form der Querstrebe (44) angepaßten Querschnitt aufweist, so daß der Materialblock in das V der Querstrebe (44) einsetzbar ist.
    15. Räumgerät nach einem der Ansprüche 10 bis 14, dadurch gekennzeichnet, daß das elastisch verformbare Material (70) ein zwischen den Schenkelstirnflächen (50;50A) und dem Räumbrett (18) zwischengelegter Streifen (80;85;85A) aus elastisch verformbarem Material ist.
    16. Räumgerät nach Anspruch 15, dadurch gekennzeichnet, daß der Streifen (80;85;85A) aus elastisch verformbarem Material eine Dicke hat, die näherungsweise dem Zwischenraum (X) entspricht, wobei der Streifen (80;85;85A) vorzugsweise mit dem Räumbrett (18) verklebt ist.
    17. Räumgerät nach Anspruch 15 oder 16, dadurch gekennzeichnet, daß der Streifen (80;85;85A) ein Band (81) mit Klebstoff auf beiden Seiten zum Befestigen des elastisch verformbaren Materials (70) an dem Räumbrett (18) aufweist, wobei der Streifen (80;85;85A) zumindest in einem Bereich der Längsausdehnung (Y) des Zwischenraumes eine Dicke hat, die größer als der Zwischenraum (X) ist, so daß der Streifen (80;85;85A) zusammengepreßt ist, wenn das Räumbrett (18) in den Rahmen (14;14A) eingebaut ist.
    18. Räumgerät nach einem der Ansprüche 10 bis 17, dadurch gekennzeichnet, daß das elastisch verformbare Material (70) mehrere Seiten hat und eine in seiner ersten Seite ausgebildete Nut (86;95;95A) aufweist, wobei der Nutgrund (88;96) zum Kontakt mit den Schenkelstirnflächen (50;50A) angepaßt ist und die Nutflanken (87;97;98) zum Kontakt mit den Flanken der Schenkel (49;49A) der Querstrebe (44;44A) angepaßt sind.
    19. Räumgerät nach Anspruch 18, dadurch gekennzeichnet, daß die Nut einen ersten Wandabschnitt hat, der im wesentlichen senkrecht zu der ersten Seite ist und einen zweiten Wandabschnitt hat, der im wesentlichen winklig zu der ersten Seite ist, wobei der Streifen in einen Nutkontaktsitz mit einem Schenkel der Querstrebe einklemmbar ist, um ein in den Rahmen eingebautes Räumbrett nachzurüsten.
    20. Räumgerät nach einem der Ansprüche 15 bis 19, dadurch gekennzeichnet, daß der Streifen (94A) einen dreieckförmigen Querschnitt hat mit einer in einer Seite (101) des Streifens ausgebildeten Nut (95A) und einer in Berührung mit dem Räumbrett befindlichen zweiten Seite (100) hat, so daß die erste und die zweite Seite (100;101) einen Scheitel (102) eines Dreiecks bilden, wodurch der Streifen (94A) zwischen dem Räumbrett (18) und einem Schenkel (49;49A) einer Querstrebe (44;44A) einklemmbar ist.
    21. Räumgerät nach einem der Ansprüche 1 bis 20, dadurch gekennzeichnet, daß die Querstrebe die Form einer L-förmigen Platte hat, deren Basis konkav gekrümmt und dem Räumbrett gegenüberliegend angeordnet ist, wobei das elastisch verformbare Material zwischen der Querstrebenbasis und dem Räumbrett angeordnet ist, um zumindest einen Bereich des Zwischenraumes im wesentlichen zu füllen, wenn das Räumbrett in den Rahmen eingesetzt ist.
    22. Räumgerät nach einem der Ansprüche 1 bis 21, dadurch gekennzeichnet, daß das elastisch verformbare Material (70) ein Polymerschaum ist.
    23. Räumgerät nach einem der Ansprüche 1 bis 21 dadurch gekennzeichnet, daß das elastisch verformbare Material (70) auf Kautschuk basiert.
    24. Räumgerät nach einem der Ansprüche 1 bis 23 dadurch gekennzeichnet, daß das Kunststoffräumbrett (18) aus Polyethylen ist.
    25. Räumgerät nach einem der Ansprüche 1 bis 24, dadurch gekennzeichnet, daß das Räumbrett (18) ein Kratzerblatt (16) umfaßt, das an der Sohle des Räumbretts (18) befestigt ist.
    26. Räumgerät nach Anspruch 25, dadurch gekennzeichnet, daß das Kratzerblatt (16) als ein sich im wesentlichen längs erstreckendes Bauteil ausgeführt ist, das sich im wesentlichen vollständig über die Sohle des Räumbretts (18) erstreckt.
    27. Verfahren zum Zusammenbauen eines Räumgeräts mit den Schritten:
      a) Bereitstellen eines Räumbretts (18) aus Polyethylen;
      b) Aufbauen eines Rahmens (14;14A) mittels Befestigen einer Mehrzahl von sich nicht längs erstreckender Querstreben (44;44A) an einer Seite eines oberen sich längs erstreckenden Montageelementes (40;40A) und eines unteren sich längs erstreckenden Montageelementes (41;41A);
      c) Befestigen des Räumbretts (18) an der gegenüberliegenden Seite der Montageelemente (40,41;40A;41A) unter Ausbilden eines Zwischenraumes (X) zwischen den sich gegenüberliegenden Stirnflächen (50;50A) der Querstreben (44;44A) und der Rückseite (17) des Räumbretts (18); und
      d) Anbringen eines elastisch verformbaren Materials (70) an dem Räumbrett (18) und/oder den Querstreben (44;44A) vor oder nach dem Einbauen des Räumbretts (18) in den Rahmen (14;14A), wobei ein Bereich des Zwischenraumes (X) zumindest teilweise gefüllt wird.
    28. Verfahren nach Anspruch 27, dadurch gekennzeichnet, daß das Räumbrett (18) in unmontiertem Zustand im allgemeinen eben ist und zu einer konkav gekrümmten Form gewalzt oder gebogen wird, wenn es an dem Rahmen (14;14A) und den eine konkav gekrümmte Stirnfläche (50;50A) aufweisenden Querstreben (44;44A) befestigt wird, wobei der Zwischenraum (X) bogenförmig ausgebildet wird.
    29. Verfahren nach Anspruch 27, dadurch gekennzeichnet, daß das Räumbrett (18) in unmontiertem Zustand eine konkav gekrümmte Form aufweist und die Querstrebe (44;44A) eine konkav gekrümmte Stirnfläche (50;50A) aufweist, wobei der Zwischenraum (X) bogenförmig ist.
    30. Verfahren nach einem der Ansprüche 27 bis 29, dadurch gekennzeichnet, daß das elastisch verformbare Material (70) ein ausdehnbarer polymerer Schaum oder ein Materialblock aus besonders geformtem Gummiwerkstoff ist.
    31. Verfahren nach einem der Ansprüche 27 bis 30, dadurch gekennzeichnet, daß ein Teilabschnitt des elastisch verformbaren Materials (70) zusammengepreßt wird, wenn das Räumbrett (18) in den Rahmen (14;14A) eingebaut wird.
    EP99113621A 1998-12-18 1999-07-12 Räumgerät mit Räumbrett aus Kunststoff Expired - Lifetime EP1010809B1 (de)

    Applications Claiming Priority (2)

    Application Number Priority Date Filing Date Title
    US215812 1998-12-18
    US09/215,812 US6134813A (en) 1998-12-18 1998-12-18 Plastic moldboard plow

    Publications (3)

    Publication Number Publication Date
    EP1010809A2 EP1010809A2 (de) 2000-06-21
    EP1010809A3 EP1010809A3 (de) 2002-03-20
    EP1010809B1 true EP1010809B1 (de) 2004-08-18

    Family

    ID=22804505

    Family Applications (1)

    Application Number Title Priority Date Filing Date
    EP99113621A Expired - Lifetime EP1010809B1 (de) 1998-12-18 1999-07-12 Räumgerät mit Räumbrett aus Kunststoff

    Country Status (9)

    Country Link
    US (2) US6134813A (de)
    EP (1) EP1010809B1 (de)
    JP (1) JP3236964B2 (de)
    AT (1) ATE274106T1 (de)
    CA (1) CA2266738C (de)
    DE (1) DE59910268D1 (de)
    HU (1) HUP9903301A3 (de)
    NO (1) NO326716B1 (de)
    PL (1) PL189866B1 (de)

    Families Citing this family (47)

    * Cited by examiner, † Cited by third party
    Publication number Priority date Publication date Assignee Title
    US20040079540A1 (en) * 1993-08-23 2004-04-29 Zambahlen Stanley E. Manure scraper
    US6354025B1 (en) 1998-08-04 2002-03-12 Cives Corporation Adjustable mounting arrangement for moldboard
    US6574890B2 (en) * 1999-04-15 2003-06-10 Bateman Services, Inc. Combination snowplow and bucket
    US6594923B1 (en) 1999-11-29 2003-07-22 The Louis Berkman Company Snowplow mount
    US6354024B1 (en) * 1999-11-29 2002-03-12 The Louis Berkman Company Snowplow mount
    CA2313291C (en) * 2000-06-30 2007-09-18 Champion Road Machinery Limited Grader moldboard assembly
    KR100408486B1 (ko) * 2001-01-19 2003-12-06 (주)태성공업 트랙터 로우더 탈부착형 제설장치
    US6688021B2 (en) * 2001-04-19 2004-02-10 General Electric Company Locomotive snow removal enhancement
    US7707753B2 (en) * 2001-11-12 2010-05-04 Agri-Cover, Inc. Multifunctional plow blade positioning apparatus and method
    US6817118B2 (en) * 2001-11-12 2004-11-16 Charles M. Schmeichel Self-adjusting snow plow
    US7735245B2 (en) * 2001-11-12 2010-06-15 Agri-Cover, Inc. Snow plow having catch structure
    US7676963B2 (en) 2001-11-12 2010-03-16 Agri-Cover, Inc. Snow plow including mold board having back plate
    US7676964B2 (en) * 2001-11-12 2010-03-16 Agri-Cover, Inc. Snow plow having wear minimizing apparatus
    US7669353B2 (en) 2001-11-12 2010-03-02 Agri-Cover, Inc. Snow plow having hitch tongue connecting member
    US7676962B2 (en) 2001-11-12 2010-03-16 Agri-Cover, Inc. Snow plow having reinforced mold board
    US7735247B2 (en) * 2001-11-12 2010-06-15 Agri-Cover, Inc. Snow plow for all terrain vehicle
    US8875419B2 (en) 2001-11-12 2014-11-04 Agri-Cover, Inc. Snow plow
    US7681335B2 (en) 2001-11-12 2010-03-23 Agri-Cover, Inc. Snow plow having attachable biasing member
    US7784199B2 (en) 2001-11-12 2010-08-31 Agri-Cover, Inc. Snow plow having pivotal mounting apparatus
    US7627965B2 (en) 2001-11-12 2009-12-08 Agri-Cover, Inc. Plow blade having integrally formed attachment channel
    US7743534B2 (en) * 2001-11-12 2010-06-29 Agri-Cover, Inc. Snow plow having two-piece mold board
    USD491520S1 (en) 2002-05-01 2004-06-15 William B. Hutton Wood pellet
    US6860039B2 (en) 2002-07-10 2005-03-01 Sno-Way International, Inc. Snow plow quick connect/disconnect hitch mechanism and method
    US6618965B1 (en) 2002-07-10 2003-09-16 Sno-Way International, Inc. Cushion stop and method for absorbing bidirectional impact of snow plow blade tripping
    US6775933B2 (en) * 2002-07-10 2004-08-17 Sno-Way International, Inc. Snow plow having an in-line frame design and method of making the same
    US20040006895A1 (en) * 2002-07-10 2004-01-15 Schultz Lynn W. Back blade wearstrip for efficient backward operation of snow plows and method for facilitating the same
    US6874260B2 (en) * 2002-07-12 2005-04-05 Covenant Resolutions, Inc. Plow system for a vehicle
    US6941685B2 (en) * 2002-10-29 2005-09-13 Douglas Dynamics, L.L.C. Snowplow assembly
    US8037625B2 (en) 2003-03-31 2011-10-18 Agri-Cover, Inc. Snow plow having pivotal mounting apparatus
    CA2426735C (en) * 2003-04-24 2013-05-21 Willem Jager Snowplow
    FI116800B (fi) * 2004-10-11 2006-02-28 Patria Vammas Oy Lumiauran siipi
    CA2566988C (en) 2005-11-03 2014-09-02 Pro-Tech Manufacturing And Distribution, Inc. Improved snow pusher for ice and snow removal
    US20080072464A1 (en) * 2006-09-21 2008-03-27 Kost James A Snowplow formed of thermoplastic
    ITBO20070654A1 (it) * 2007-09-25 2009-03-26 Assaloni 1920 S R L Lama sgombraneve estensibile
    US8999501B2 (en) * 2007-11-30 2015-04-07 Ricoh Company, Ltd Urethane foam member, seal structure, toner storage container, process cartridge, image forming apparatus
    US20090307934A1 (en) * 2008-06-17 2009-12-17 Wendorff Terry C Durable, coated snow plow blades and method of forming a coated snow plow blade
    US7685748B1 (en) 2008-12-17 2010-03-30 Cycle Country Accessories Corporation Vehicular plow
    US7793440B1 (en) 2009-08-19 2010-09-14 Louis Berkman Winter Products Company Method and apparatus for attaching a moldboard to a moldboard frame
    US20130174452A1 (en) * 2012-01-06 2013-07-11 Kennametal Inc. Plow Blade Assembly
    US9151006B2 (en) 2012-02-09 2015-10-06 Pro-Tech Manufacturing And Distribution, Inc. Material pusher with control system
    US20130276335A1 (en) * 2012-02-13 2013-10-24 David Hansen Composite snow plow apparatus and method
    US9139175B2 (en) * 2012-04-25 2015-09-22 International Business Machines Corporation Automotive vehicle skid recovery system
    SI24290A (sl) * 2013-02-01 2014-08-29 Riko Ekos D.O.O. Koničast snežni plug
    CN106284177A (zh) * 2016-08-26 2017-01-04 王玮 一种结构强度高的推雪铲
    US10550544B1 (en) 2019-04-17 2020-02-04 Edwin A. Erickson Spring loaded feeding device
    US10544563B1 (en) 2019-04-17 2020-01-28 Edwin A. Erickson Spring loaded feeding device
    US20230064889A1 (en) * 2021-08-31 2023-03-02 Ironhawk Industrial Distribution, LLC Road maintenance guard

    Family Cites Families (9)

    * Cited by examiner, † Cited by third party
    Publication number Priority date Publication date Assignee Title
    US3432947A (en) * 1966-07-05 1969-03-18 Meyer Products Inc Deflector for blown snow over snowplow blades
    US3465456A (en) * 1966-11-18 1969-09-09 Meyer Products Inc Blade for snowplows and similar devices
    US3994081A (en) * 1975-09-12 1976-11-30 Middleton Carlisle A Hand-propelled snow plow with motor oscillated blade
    FR2394239A1 (fr) * 1977-06-15 1979-01-12 Weber Marcel Perfectionnement aux faucheuses a disques entraines par le bas
    US4845866A (en) * 1988-03-28 1989-07-11 The Louis Berkman Company Plastic moldboards for snow plows and the like
    US4803790A (en) * 1988-03-28 1989-02-14 The Louis Berkman Company Plastic moldboards for snow plows and the like
    US4844195A (en) * 1988-06-17 1989-07-04 Komatsu Dresser Company Resilient mounting of crawler tractor frame
    US5088215A (en) * 1990-12-03 1992-02-18 The Lewis Berkman Company Plastic moldboards for snowplows and the like
    US5692855A (en) * 1994-06-21 1997-12-02 Farmers' Factory Co. Automatic quick-connect coupler for implements

    Also Published As

    Publication number Publication date
    ATE274106T1 (de) 2004-09-15
    NO992398L (no) 2000-06-19
    JP3236964B2 (ja) 2001-12-10
    PL189866B1 (pl) 2005-09-30
    HUP9903301A3 (en) 2002-08-28
    PL336867A1 (en) 2000-06-19
    EP1010809A3 (de) 2002-03-20
    HUP9903301A2 (hu) 2000-09-28
    CA2266738C (en) 2003-07-15
    HU9903301D0 (en) 1999-11-29
    DE59910268D1 (de) 2004-09-23
    CA2266738A1 (en) 2000-06-18
    US6134813A (en) 2000-10-24
    EP1010809A2 (de) 2000-06-21
    NO326716B1 (no) 2009-02-02
    JP2000178935A (ja) 2000-06-27
    NO992398D0 (no) 1999-05-19
    US6564479B1 (en) 2003-05-20

    Similar Documents

    Publication Publication Date Title
    EP1010809B1 (de) Räumgerät mit Räumbrett aus Kunststoff
    EP2079628B1 (de) Kettenfahrzeug
    DE4204109C2 (de) Schneepflug
    DE2803021A1 (de) Baugruppe zur bildung eines niveaugleichen uebergangs einer strasse ueber ein bahnschienenpaar
    DE2519112C3 (de) Anordnung einer Schürfleiste an der Pflugschar eines Straßenräumgerätes, insbesondere Schneepfluges
    DE3311019C2 (de) Gleitschuh
    EP0211380B1 (de) Pistenfahrzeug mit höhenverstellbarer Bodenbearbeitungs-, insbesondere Schneefräsvorrichtung
    DE3404030C1 (de) Räumleiste für den Räumschild eines Schneepfluges
    EP1247906A2 (de) Schneepflug mit einer aus mehreren Scharsegmenten bestehenden Pflugschar
    DE3542479C2 (de)
    DE102006021910A1 (de) Gewellte Räumleiste
    DE102008026661A1 (de) Verkehrsleitwand
    DE3814240C2 (de) Räumleiste für den Räumschild eines Schneepfluges
    DE102005030308B4 (de) Auswechselbare Räumleiste für den Räumschild eines Schneepfluges
    EP0414208A1 (de) Stahlsteg für Gleisketten
    EP0580978A1 (de) Schneepflug
    EP0678132A1 (de) Einbaubohle
    DE2911705A1 (de) Vortriebsmaschine fuer den tief- oder untertaegigen bergbau
    DE9303466U1 (de) Kettenelement
    AT504910B1 (de) Schneepflug mit einem traggestell für eine ein- bzw. mehrteilige räumschar
    DE102011118341A1 (de) Förderbandabstreifer
    DE2900683C2 (de) Bodenplatte für Gleisketten von Gleiskettenfahrzeugen
    DE4113004A1 (de) Schi mit einem ober- und untergurt sowie seitenwangen
    DE102011056401B4 (de) Räumschildleiste, Räumschild und Räumschildleistenherstellungsverfahren
    DE3012604C2 (de) Bodenplatte für Gleisketten von Gleiskettenfahrzeugen

    Legal Events

    Date Code Title Description
    PUAI Public reference made under article 153(3) epc to a published international application that has entered the european phase

    Free format text: ORIGINAL CODE: 0009012

    AK Designated contracting states

    Kind code of ref document: A2

    Designated state(s): AT BE CH CY DE DK ES FI FR GB GR IE IT LI LU MC NL PT SE

    AX Request for extension of the european patent

    Free format text: AL;LT;LV;MK;RO;SI

    PUAL Search report despatched

    Free format text: ORIGINAL CODE: 0009013

    AK Designated contracting states

    Kind code of ref document: A3

    Designated state(s): AT BE CH CY DE DK ES FI FR GB GR IE IT LI LU MC NL PT SE

    AX Request for extension of the european patent

    Free format text: AL;LT;LV;MK;RO;SI

    17P Request for examination filed

    Effective date: 20020301

    AKX Designation fees paid

    Free format text: AT BE CH CY DE DK ES FI FR GB GR IE IT LI LU MC NL PT SE

    17Q First examination report despatched

    Effective date: 20030730

    GRAP Despatch of communication of intention to grant a patent

    Free format text: ORIGINAL CODE: EPIDOSNIGR1

    GRAS Grant fee paid

    Free format text: ORIGINAL CODE: EPIDOSNIGR3

    GRAA (expected) grant

    Free format text: ORIGINAL CODE: 0009210

    AK Designated contracting states

    Kind code of ref document: B1

    Designated state(s): AT BE CH CY DE DK ES FI FR GB GR IE IT LI LU MC NL PT SE

    PG25 Lapsed in a contracting state [announced via postgrant information from national office to epo]

    Ref country code: IT

    Free format text: LAPSE BECAUSE OF FAILURE TO SUBMIT A TRANSLATION OF THE DESCRIPTION OR TO PAY THE FEE WITHIN THE PRE;WARNING: LAPSES OF ITALIAN PATENTS WITH EFFECTIVE DATE BEFORE 2007 MAY HAVE OCCURRED AT ANY TIME BEFORE 2007. THE CORRECT EFFECTIVE DATE MAY BE DIFFERENT FROM THE ONE RECORDED.SCRIBED TIME-LIMIT

    Effective date: 20040818

    Ref country code: IE

    Free format text: LAPSE BECAUSE OF FAILURE TO SUBMIT A TRANSLATION OF THE DESCRIPTION OR TO PAY THE FEE WITHIN THE PRESCRIBED TIME-LIMIT

    Effective date: 20040818

    Ref country code: GB

    Free format text: LAPSE BECAUSE OF FAILURE TO SUBMIT A TRANSLATION OF THE DESCRIPTION OR TO PAY THE FEE WITHIN THE PRESCRIBED TIME-LIMIT

    Effective date: 20040818

    REG Reference to a national code

    Ref country code: GB

    Ref legal event code: FG4D

    Free format text: NOT ENGLISH

    REG Reference to a national code

    Ref country code: CH

    Ref legal event code: EP

    REG Reference to a national code

    Ref country code: CH

    Ref legal event code: NV

    Representative=s name: PATENTANWAELTE SCHAAD, BALASS, MENZL & PARTNER AG

    REG Reference to a national code

    Ref country code: IE

    Ref legal event code: FG4D

    Free format text: GERMAN

    REF Corresponds to:

    Ref document number: 59910268

    Country of ref document: DE

    Date of ref document: 20040923

    Kind code of ref document: P

    PG25 Lapsed in a contracting state [announced via postgrant information from national office to epo]

    Ref country code: GR

    Free format text: LAPSE BECAUSE OF FAILURE TO SUBMIT A TRANSLATION OF THE DESCRIPTION OR TO PAY THE FEE WITHIN THE PRESCRIBED TIME-LIMIT

    Effective date: 20041118

    Ref country code: DK

    Free format text: LAPSE BECAUSE OF FAILURE TO SUBMIT A TRANSLATION OF THE DESCRIPTION OR TO PAY THE FEE WITHIN THE PRESCRIBED TIME-LIMIT

    Effective date: 20041118

    PG25 Lapsed in a contracting state [announced via postgrant information from national office to epo]

    Ref country code: ES

    Free format text: LAPSE BECAUSE OF FAILURE TO SUBMIT A TRANSLATION OF THE DESCRIPTION OR TO PAY THE FEE WITHIN THE PRESCRIBED TIME-LIMIT

    Effective date: 20041129

    REG Reference to a national code

    Ref country code: SE

    Ref legal event code: TRGR

    GBV Gb: ep patent (uk) treated as always having been void in accordance with gb section 77(7)/1977 [no translation filed]

    Effective date: 20040818

    REG Reference to a national code

    Ref country code: IE

    Ref legal event code: FD4D

    PLBE No opposition filed within time limit

    Free format text: ORIGINAL CODE: 0009261

    STAA Information on the status of an ep patent application or granted ep patent

    Free format text: STATUS: NO OPPOSITION FILED WITHIN TIME LIMIT

    PG25 Lapsed in a contracting state [announced via postgrant information from national office to epo]

    Ref country code: LU

    Free format text: LAPSE BECAUSE OF NON-PAYMENT OF DUE FEES

    Effective date: 20050712

    Ref country code: CY

    Free format text: LAPSE BECAUSE OF FAILURE TO SUBMIT A TRANSLATION OF THE DESCRIPTION OR TO PAY THE FEE WITHIN THE PRESCRIBED TIME-LIMIT

    Effective date: 20050712

    ET Fr: translation filed
    PG25 Lapsed in a contracting state [announced via postgrant information from national office to epo]

    Ref country code: MC

    Free format text: LAPSE BECAUSE OF NON-PAYMENT OF DUE FEES

    Effective date: 20050731

    26N No opposition filed

    Effective date: 20050519

    PGFP Annual fee paid to national office [announced via postgrant information from national office to epo]

    Ref country code: AT

    Payment date: 20060614

    Year of fee payment: 8

    PGFP Annual fee paid to national office [announced via postgrant information from national office to epo]

    Ref country code: NL

    Payment date: 20060616

    Year of fee payment: 8

    PGFP Annual fee paid to national office [announced via postgrant information from national office to epo]

    Ref country code: FR

    Payment date: 20060705

    Year of fee payment: 8

    PGFP Annual fee paid to national office [announced via postgrant information from national office to epo]

    Ref country code: CH

    Payment date: 20060707

    Year of fee payment: 8

    PGFP Annual fee paid to national office [announced via postgrant information from national office to epo]

    Ref country code: BE

    Payment date: 20060726

    Year of fee payment: 8

    PGFP Annual fee paid to national office [announced via postgrant information from national office to epo]

    Ref country code: FI

    Payment date: 20060728

    Year of fee payment: 8

    PGFP Annual fee paid to national office [announced via postgrant information from national office to epo]

    Ref country code: DE

    Payment date: 20060731

    Year of fee payment: 8

    PG25 Lapsed in a contracting state [announced via postgrant information from national office to epo]

    Ref country code: PT

    Free format text: LAPSE BECAUSE OF NON-PAYMENT OF DUE FEES

    Effective date: 20050118

    BERE Be: lapsed

    Owner name: THE LOUIS *BERKMAN CY

    Effective date: 20070731

    PGFP Annual fee paid to national office [announced via postgrant information from national office to epo]

    Ref country code: SE

    Payment date: 20060706

    Year of fee payment: 8

    REG Reference to a national code

    Ref country code: CH

    Ref legal event code: PL

    EUG Se: european patent has lapsed
    NLV4 Nl: lapsed or anulled due to non-payment of the annual fee

    Effective date: 20080201

    PG25 Lapsed in a contracting state [announced via postgrant information from national office to epo]

    Ref country code: SE

    Free format text: LAPSE BECAUSE OF NON-PAYMENT OF DUE FEES

    Effective date: 20070713

    Ref country code: NL

    Free format text: LAPSE BECAUSE OF NON-PAYMENT OF DUE FEES

    Effective date: 20080201

    Ref country code: LI

    Free format text: LAPSE BECAUSE OF NON-PAYMENT OF DUE FEES

    Effective date: 20070731

    Ref country code: DE

    Free format text: LAPSE BECAUSE OF NON-PAYMENT OF DUE FEES

    Effective date: 20080201

    Ref country code: CH

    Free format text: LAPSE BECAUSE OF NON-PAYMENT OF DUE FEES

    Effective date: 20070731

    PG25 Lapsed in a contracting state [announced via postgrant information from national office to epo]

    Ref country code: FI

    Free format text: LAPSE BECAUSE OF NON-PAYMENT OF DUE FEES

    Effective date: 20070712

    REG Reference to a national code

    Ref country code: FR

    Ref legal event code: ST

    Effective date: 20080331

    PG25 Lapsed in a contracting state [announced via postgrant information from national office to epo]

    Ref country code: AT

    Free format text: LAPSE BECAUSE OF NON-PAYMENT OF DUE FEES

    Effective date: 20070712

    PG25 Lapsed in a contracting state [announced via postgrant information from national office to epo]

    Ref country code: BE

    Free format text: LAPSE BECAUSE OF NON-PAYMENT OF DUE FEES

    Effective date: 20070731

    PG25 Lapsed in a contracting state [announced via postgrant information from national office to epo]

    Ref country code: FR

    Free format text: LAPSE BECAUSE OF NON-PAYMENT OF DUE FEES

    Effective date: 20070731