EP1007461B1 - Stauchfalzwerk mit zwei oder drei falztaschen - Google Patents

Stauchfalzwerk mit zwei oder drei falztaschen Download PDF

Info

Publication number
EP1007461B1
EP1007461B1 EP98909278A EP98909278A EP1007461B1 EP 1007461 B1 EP1007461 B1 EP 1007461B1 EP 98909278 A EP98909278 A EP 98909278A EP 98909278 A EP98909278 A EP 98909278A EP 1007461 B1 EP1007461 B1 EP 1007461B1
Authority
EP
European Patent Office
Prior art keywords
folder
folding
folder block
machine frame
block
Prior art date
Legal status (The legal status is an assumption and is not a legal conclusion. Google has not performed a legal analysis and makes no representation as to the accuracy of the status listed.)
Expired - Lifetime
Application number
EP98909278A
Other languages
English (en)
French (fr)
Other versions
EP1007461A1 (de
Inventor
Walter Okelmann
Helmut Jörg
Current Assignee (The listed assignees may be inaccurate. Google has not performed a legal analysis and makes no representation or warranty as to the accuracy of the list.)
Boewe Systec AG
Original Assignee
Boewe Systec AG
Priority date (The priority date is an assumption and is not a legal conclusion. Google has not performed a legal analysis and makes no representation as to the accuracy of the date listed.)
Filing date
Publication date
Application filed by Boewe Systec AG filed Critical Boewe Systec AG
Publication of EP1007461A1 publication Critical patent/EP1007461A1/de
Application granted granted Critical
Publication of EP1007461B1 publication Critical patent/EP1007461B1/de
Anticipated expiration legal-status Critical
Expired - Lifetime legal-status Critical Current

Links

Images

Classifications

    • BPERFORMING OPERATIONS; TRANSPORTING
    • B65CONVEYING; PACKING; STORING; HANDLING THIN OR FILAMENTARY MATERIAL
    • B65HHANDLING THIN OR FILAMENTARY MATERIAL, e.g. SHEETS, WEBS, CABLES
    • B65H45/00Folding thin material
    • B65H45/12Folding articles or webs with application of pressure to define or form crease lines
    • B65H45/14Buckling folders
    • B65H45/142Pocket-type folders
    • B65H45/144Pockets or stops therefor
    • BPERFORMING OPERATIONS; TRANSPORTING
    • B65CONVEYING; PACKING; STORING; HANDLING THIN OR FILAMENTARY MATERIAL
    • B65HHANDLING THIN OR FILAMENTARY MATERIAL, e.g. SHEETS, WEBS, CABLES
    • B65H45/00Folding thin material
    • B65H45/12Folding articles or webs with application of pressure to define or form crease lines
    • B65H45/14Buckling folders
    • B65H45/142Pocket-type folders
    • B65H45/147Pocket-type folders folding rollers therefor

Definitions

  • the invention relates to a compression folder with two or three folding pockets, with several folding rollers, in one folding unit block detachable from the machine frame and with one outside of the folder block arranged drive, the folder block on its one side has a sheet inlet and on the opposite Side has a sheet outlet and where the sheets to the folder block over transport devices fed along an inlet plane in the direction of paper travel and along an outlet plane in the same Direction are transported away.
  • the folding pockets are permanently installed in the paper running direction.
  • Two fold pocket configurations are possible, namely the first fold pocket at the bottom and the second fold pocket at the top and vice versa in the direction of paper travel.
  • the first folding pocket is arranged below or above, there are different folding options. If such folding units with two folding pockets are used on inserting machines or similar machines, the form must have a certain position after leaving the folding unit. If, for example, the inserting machine provides the envelope with the window on top, the form must be folded so that the address behind the folder is on the top, otherwise an additional device for turning the form would be necessary.
  • an upsetting folder could be used, which has one folding pocket and one pair of folding rollers more than folds are required in the relevant form, i.e. for folding a form with two folds, an upsetting folder with three folding pockets and for folding a form with three folds , a compression folder with four folding pockets.
  • One of the folding pockets can then be switched off by suitable switches and the form can be folded so that the address after the folding unit is either up or down.
  • the larger number of folding pockets and folding rollers creates additional costs and sources of error as well as cycle time losses due to the lengthening of the running distance in the folding unit.
  • a paper folding machine is also known (DE-PS 517 549) in which one of the folding rollers is movably mounted, so that you can choose with two different other folding rollers can work together and also have a the folding pockets from one machine side to the other is feasible. In this way, one can choose either opposite Produce directional folds, however, lies Sheet outlet depending on the position of the movable folding roller and the convertible folding pocket either on the inlet side of the bend or on the opposite side of the inlet side Page.
  • the invention is therefore based on the object Compression folder with two or three folding pockets at the beginning mentioned type to create which is inexpensive is producible and so convertible with little effort is that with him the different mentioned above Folds can be made.
  • the Inlet level and the outlet level of the transport devices arranged essentially in a common plane are that the folding rollers and folding pockets in Folding unit block are arranged so that the sheet inlet and the sheet outlet in the respective installation position of the folder in the machine frame in Area of this common level is that all folding rollers in the folder block via coupling gearwheels one end of each folding roller is arranged, are coupled in terms of drive that the Drive is arranged in the machine frame and in the area of the folder block is stored in the machine frame Has drive gear, which is in a first installation position of the folder block with one of the coupling gearwheels combs, and that one of the folding rollers on her the other end carries an output gear, which in a second installation position of the folder block, in which compared to its first installation position by one imaginary running parallel to the direction of the paper Axis rotated through 180 ° inserted into the machine frame is meshing with the drive gear.
  • the invention is therefore based on the idea of installing one and the same folding block in the machine frame in two different installation positions rotated by 180 ° with respect to one another.
  • the first folding pocket below and the second folding pocket above and in a second installation position of the folder block are arranged, so that depending on the installation position of the folder block in the machine frame, different folds of the paper sheet or form can be generated.
  • the sheet infeed and sheet outfeed of the folder block are arranged in the same common plane as the entry level and the exit level, regardless of the respective installation position, it is not necessary to adjust the transport devices upstream and downstream of the upsetting folder when the folder block is 180 ° in both of them twisted installation positions in the machine frame.
  • the only changeover measure is to detach the folder block from the machine frame, turn it through 180 °, reinsert it into the machine frame and screw it there.
  • the drive gear mounted in the machine frame depending on the installation position of the folder block, meshes with either one of the coupling gears or with the driven gear arranged on the other side of the folder block, no further assembly work is required to connect the drive to one of the folding rollers.
  • the output gear can be assigned to one of these four folds in such a way that reversing the direction of rotation of the drive motor is not necessary in order to drive the folding rollers in the correct direction of rotation regardless of the respective installation position of the folder block.
  • this Machine frame positioning devices on, by means of which the folder unit in its two installation positions can be positioned in relation to the machine frame is that the sheet inlet and outlet are in the common plane and the drive gear alternately with one of the coupling gears or the output gear meshes.
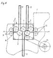
  • the upsetting folder has a machine frame 1 and one of this detachable folder block 2.
  • Positioning device provided in the form of guides 3, into which the folder block can be inserted from above is.
  • screws 4 can be provided.
  • the folder block 2 has lateral bearing plates 2a on, which are connected to each other via cross struts 2b are.
  • the one shown in FIGS. 7 and 8 The embodiment is still a folding roller 9 provided.
  • the one shown in Figures 1-6 Embodiment has the folder block 2 two Folding pockets 11, 12, while in the case of FIG and 8 shown embodiment, a third Folding pocket 13 is present.
  • the folder block In front of the folder block is one through two transport rollers 14 for example indicated transport device provided with the the sheets of paper to be folded, e.g. printed forms F1 or F2 (see Figures 2a and 5a), the folder block are fed along an inlet plane E. Behind the folder unit 2 is a further transport device, which is indicated by rollers 15, provided with which the folded forms along one Outlet level A can be transported further.
  • the entry level E and outlet level A are essentially in a common plane M-M arranged.
  • the folding rollers 5 - 8 or 5 - 9 and the folding pockets 11, 12 or 11 - 13 are arranged in the folder 2 so that also its sheet inlet 16 and its sheet outlet 17 in the respective installation position of the folder block 2 in the machine frame in the area of this common level M-M lie. At sheet inlet 16 or Sheet outlet 17 are also provided baffles 18, 19.
  • the direction of paper travel is indicated by the arrows P indicated.
  • the folding roller 8 has an output gear at its other end 26, which is in the second installation position of the folder block 2, as shown in Figures 4 and 6 is engaged in the drive gear 25.
  • the folding rollers without changing the direction of rotation of the drive motor 24 is turned over, according to Figure 4 driven in the direction indicated by arrows.
  • the person skilled in the art can readily do that Find out the folding roller that he the output gear 26th must assign so that it is in both installation positions of the Folder the direction of rotation of the drive motor 24 can maintain.
  • the output gear of the folding roller 6 be assigned when the drive gear 25 is arranged so that it is in the first installation position meshes with the coupling gear 22 and in the second Installation position of the folder block 2 with the then the output gear assigned to the folding roller 6.
  • the folder block an imaginary one that runs across the common plane Rotate the axis by 180 ° to get it from its one installation position in its other installation position.
  • the output gear would have to be another Folding roller can be assigned.

Landscapes

  • Folding Of Thin Sheet-Like Materials, Special Discharging Devices, And Others (AREA)

Description

Die Erfindung betrifft ein Stauchfalzwerk mit zwei oder drei Falztaschen, mit mehreren Falzwalzen, die in einem vom Maschinengestell lösbaren Falzwerksblock gelagert sind, und mit einem außerhalb des Falzwerksblockes angeordneten Antrieb, wobei der Falzwerksblock an seiner einen Seite einen Bogeneinlauf und an seiner gegenüberliegenden Seite einen Bogenauslauf aufweist und wobei die Bögen dem Falzwerksblock über Transporteinrichtungen entlang einer Einlaufebene in Papierlaufrichtung zugeführt und entlang einer Auslaufebene in der gleichen Richtung abtransportiert werden.
Bei den üblichen Stauchfalzwerken mit zwei Falztaschen sind die Falztaschen in Papierlaufrichtung fest eingebaut. Dabei sind zwei Anordnungen der Falztaschen möglich, nämlich in Papierlaufrichtung die erste Falztasche unten und die zweite Falztasche oben bzw. umgekehrt. Je nachdem ob die erste Falztasche unten oder oben angeordnet ist, ergeben sich unterschiedliche Falzmöglichkeiten. Werden solche Falzwerke mit zwei Falztaschen an Kuvertiermaschinen oder ähnlichen Maschinen eingesetzt, so muß das Formular nach Verlassen des Falzwerkes eine bestimmte Lage aufweisen. Stellt z.B. die Kuvertiermaschine das Kuvert mit oben liegendem Fenster zur Verfügung, so muß das Formular so gefalzt werden, daß die Anschrift hinter dem Falzwerk oben liegt, da sonst eine zusätzliche Vorrichtung zum Wenden des Formulars notwendig wäre. Zur Lösung dieses Problems könnte zwar ein Stauchfalzwerk verwendet werden, welches eine Falztasche und ein Falzwalzenpaar mehr aufweist als Falzungen in dem betreffenden Formular erforderlich sind, also zum Falzen eines Formulars mit zwei Falzen, ein Stauchfalzwerk mit drei Falztaschen und zum Falzen eines Formulars mit drei Falzen, ein Stauchfalzwerk mit vier Falztaschen.
Durch geeignete Weichen kann dann jeweils eine der Falztaschen ausgeschaltet und das Formular so gefaltet werden, daß die Anschrift nach dem Falzwerk wahlweise oben oder unten liegt. Durch die größere Anzahl von Falztaschen und Falzwalzen entstehen jedoch zusätzliche Kosten und Fehlerquellen sowie außerdem Taktzeitverluste durch Laufstreckenverlängerung im Falzwerk.
Bei einem bekannten Stauchfalzwerk der eingangs erwähnten Art (DE 24 59 294 C2, Figur 3) besteht der Falzwerksblock aus einem Antriebsblock und einem auf diesen aufgesetzten und auswechselbar befestigten, die Falzwalzen und die Falztaschen aufnehmenden Falzwerkskopf. Der Bogeneinlauf sowie der Bogenauslauf sind im Falzwerkskopf, ebenso wie die Einlauf- und die Auslaufebene, in unterschiedlicher Höhe angeordnet. Der Falzuerkskopf kann gegen andere Falzwerksköpfe mit unterschiedlichem Aufbau und unterschiedlicher Ausstattung ausgewechselt werden, so daß es hier möglich wäre, einen Falzwerkskopf, dessen erste Falztasche unten liegt, gegen einen anderen mit oben liegender erster Falztasche zu ersetzen. Es werden jedoch dann in jedem Fall zwei unterschiedliche Falzwerksköpfe benötigt, wodurch sich die Herstellungskosten und Wartungskosten des Stauchfalzwerkes erhöhen und man außerdem Platz für die Lagerung des nicht benützten Falzwerkskopfes schaffen müßte.
Ferner ist eine Papierfalzmaschine bekannt (DE-PS 517 549) bei der eine der Falzwalzen beweglich gelagert ist, so daß sie wahlweise mit zwei verschiedenen anderen Falzwalzen zusammenarbeiten kann und bei der außerdem eine der Falztaschen von der einen Maschinenseite zur anderen umsetzbar ist. Hierdurch kann man zwar wahlweise entgegengesetzt gerichtete Falze herstellen, jedoch liegt der Bogenauslauf je nach Stellung der beweglichen Falzwalze und der umsetzbaren Falztasche entweder auf der Einlaufseite des Bogens oder an der der Einlaufseite gegenüberliegenden Seite. Dies hat jedoch zur Folge, daß die Transporteinrichtung, mit der der gefaltete Bogen wegtransportiert wird, je nach Falzrichtung an unterschiedlichen Seiten des Stauchfalzwerks angeordnet sein müßte, was in der Praxis erhebliche Umbauarbeiten erfordern würde, oder überhaupt nicht möglich wäre, weil die verschiedenen Arbeits- und Förderaggregate, welche dem Stauchfalzwerk nachgeschaltet sind, nicht einfach aus ihrer ursprünglichen Anordnung in eine entgegengesetzt gerichtete gebracht werden können.
Der Erfindung liegt daher die Aufgabe zugrunde, ein Stauchfalzwerk mit zwei oder drei Falztaschen der eingangs erwähnten Art zu schaffen, welches kostengünstig herstellbar ist und mit geringem Arbeitsaufwand so umstellbar ist, daß mit ihm die eingangs erwähnten unterschiedlichen Falzungen durchgeführt werden können.
Dies wird nach der Erfindung dadurch erreicht, daß die Einlaufebene und die Auslaufebene der Transporteinrichtungen im wesentlichen in einer gemeinsamen Ebene angeordnet sind, daß die Falzwalzen und Falztaschen im Falzwerksblock so angeordnet sind, daß auch der Bogeneinlauf und der Bogenauslauf in der jeweiligen Einbaustellung des Falzwerksblockes im Maschinengestell im Bereich dieser gemeinsamen Ebene liegen, daß alle Falzwalzen im Falzwerksblock über Koppelzahnräder, die an jeweils einem Ende jeder Falzwalze angeordnet sind, antriebsmäßig miteinander gekoppelt sind, daß der Antrieb im Maschinengestell angeordnet ist und im Bereich des Falzwerksblockes ein im Maschinengestell gelagertes Antriebszahnrad aufweist, welches in einer ersten Einbaustellung des Falzwerksblockes mit einem der Koppelzahnräder kämmt, und daß eine der Falzwalzen an ihrem anderen Ende ein Abtriebszahnrad trägt, das in einer zweiten Einbaustellung des Falzwerksblockes, bei welcher dieser gegenüber seiner ersten Einbaustellung um eine parallel zur Papierlaufrichtung verlaufende, gedachte Achse um 180° gedreht in das Maschinengestell eingesetzt ist, mit dem Antriebszahnrad kämmt.
Die Erfindung geht also von dem Gedanken aus, ein und denselben Falzuerksblock in zwei verschiedenen, um 180° zueinander gedrehten Einbaustellungen in das Maschinengestell einzubauen. Hierdurch ist in einer ersten Einbaustellung in Papierlaufrichtung gesehen die erste Falztasche unten und die zweite Falztasche oben und in einer zweiten Einbaustellung des Falzwerksblockes die erste Falztasche oben und die zweite Falztasche unten angeordnet, wodurch je nach Einbaustellung des Falzwerksblockes im Maschinengestell unterschiedliche Faltungen des Papierbogens oder Formulars erzeugt werden können. Da jedoch der Bogeneinlauf und Bogenauslauf des Falzwerksblockes unabhängig von der jeweiligen Einbaustellung in der gleichen gemeinsamen Ebene angeordnet sind wie die Einlaufebene und die Auslaufebene, ist es nicht erforderlich, die dem Stauchfalzwerk vorund nachgeschalteten Transporteinrichtungen zu verstellen, wenn der Falzwerksblock in seinen beiden um 180° verdrehten Einbaustellungen in das Maschinengestell eingesetzt wird. Die einzige Umstellmaßnahme besteht darin, den Falzwerksblock vom Maschinengestell zu lösen, um 180° zu drehen, wieder in das Maschinengestell einzusetzen und dort festzuschrauben. Da das im Maschinengestell gelagerte Antriebszahnrad je nach Einbaustellung des Falzwerksblockes entweder mit einem der Koppelzahnräder oder mit dem an der anderen Seite des Falzwerksblockes angeordneten Abtriebszahnrad kämmt, sind auch keine weiteren Montagearbeiten erforderlich, um den Antrieb mit einer der Falzwalzen zu verbinden.
Da bei einem Stauchfalzwerk mit zwei Taschen vier Falzwalzen vorhanden sind, kann man das Abtriebszahnrad einer dieser vier Falzfalzen so zuordnen, daß eine Drehrichtungsumkehr des Antriebsmotors nicht erforderlich ist, um die Falzwalzen unabhängig von der jeweiligen Einbaustellung des Falzwerksblockes in der richtigen Drehrichtung anzutreiben.
In weiterer Ausgestaltung der Erfindung weist das Maschinengestell Positioniereinrichtungen auf, mittels denen der Falzwerksblock in seinen beiden Einbaustellungen so gegenüber dem Maschinengestell positionierbar ist, daß Bogeneinlauf und Bogenauslauf in der gemeinsamen Ebene liegen und das Antriebszahnrad wechselweise mit dem einen der Koppelzahnräder oder dem Abtriebszahnrad kämmt. Durch eine derartige Positioniereinrichtung, die durch ein geeignetes Führungssystem gebildet sein kann, kann die erforderliche Umstellzeit wesentlich verkürzt werden, denn es ist dann zum Umstellen des Falzwerksblockes aus seiner einen Einbaustellung in seine andere Einbaustellung nur noch das Lösen von einigen wenigen Halteschrauben, das Herausnehmen des Falzwerksblockes aus der Positioniereinrichtung, das Drehen des Falzuerksblockes um 180°, das Wiedereinsetzen desselben in die Positioniereinrichtungen und das Festziehen der Halteschrauben erforderlich. Weitere Umstellungen, wie das Anpassen an die Transporteinrichtungen, das Verbinden mit der Antriebseinrichtung, der Anschluß an Sicherheitsschalter und dgl. sind nicht erforderlich.
Die Erfindung wird in folgendem, anhand von in der Zeichnung dargestellten Ausführungsbeispielen näher erläutert. Es zeigen:
Figur 1
einen Längsschnitt des Stauchfalzwerkes in schematischer Darstellung mit dem Falzwerksblock in einer ersten Einbaustellung,
Figur 2a und 2b
die mit dieser Einbaustellung erreichbare Verarbeitungsmöglichkeit eines Formulars,
Figur 3
eine Draufsicht in Richtung III der Figur 1 unter Weglassung der oberen Falztasche,
Figur 4
einen Längsschnitt mit einer zueiten Einbaustellung des Falzuerksblockes,
Figur 5a und 5b
mit dieser Einbaustellung erreichbare Verarbeitungsmöglichkeit eines Formulars,
Figur 6
eine Draufsicht in Richtung VI der Figur 4 unter Weglassung der oberen Falztasche,
Figur 7 und 8
Längsschnitte eines zweiten Ausführungsbeispieles eines Stauchfalzwerkes mit drei Falztaschen und zwei verschiedenen Einbaustellungen des Falzwerksblockes.
Das Stauchfalzwerk weist ein Maschinengestell 1 und einen von diesem lösbaren Falzwerksblock 2 auf. Zur Halterung und Positionierung des Falzwerksblocks 2 gegenüber dem Maschinengestell ist zweckmäßig eine Positioniereinrichtung in Form von Führungen 3 vorgesehen, in welche der Falzwerksblock von oben einschiebbar ist. Zur Fixierung des Falzwerksblockes 2 im Maschinengestell 1 können Schrauben 4 vorgesehen sein. Der Falzwerksblock 2 weist seitliche Lagerplatten 2a auf, die über Querstreben 2b miteinander verbunden sind. In dem Falzwerksblock sind mehrere Falzwalzen 5 - 8 drehbar gelagert. Bei dem in Figur 7 und 8 dargestellten Ausführungsbeispiel ist noch eine Falzwalze 9 vorgesehen. Bei der in Figur 1 - 6 dargestellten Ausführungsform weist der Falzwerksblock 2 zwei Falztaschen 11, 12 auf, während bei der in Figur 7 und 8 dargestellten Ausführungsform noch eine dritte Falztasche 13 vorhanden ist. Vor dem Falzwerksblock ist ein durch zwei Transportwalzen 14 beispielsweise angedeutete Transporteinrichtung vorgesehen, mit der die zu faltenden Papierbögen, z.B. bedruckte Formulare F1 bzw. F2 (siehe Figur 2a und 5a), dem Falzwerksblock entlang einer Einlaufebene E zugeführt werden. Hinter dem Falzwerksblock 2 ist eine weitere Transporteinrichtung, die durch Walzen 15 angedeutet ist, vorgesehen, mit der die gefalteten Formulare entlang einer Auslaufebene A weitertransportiert werden. Die Einlaufebene E und Auslaufebene A sind im wesentlichen in einer gemeinsamen Ebene M-M angeordnet. Die Falzwalzen 5 - 8 bzw. 5 - 9 und die Falztaschen 11, 12 bzw. 11 - 13 sind so im Falzwerksblock 2 angeordnet, daß auch dessen Bogeneinlauf 16 und dessen Bogenauslauf 17 in der jeweiligen Einbaustellung des Falzwerksblockes 2 im Maschinengestell im Bereich dieser gemeinsamen Ebene M-M liegen. Am Bogeneinlauf 16 bzw. Bogenauslauf 17 sind ferner Leitbleche 18, 19 vorgesehen. Die Papierlaufrichtung ist mit den Pfeilen P angedeutet.
Aus Figur 3 und 6 ist zu entnehmen, daß an jeweils einem Ende jeder Falzwalze 5 - 8 ein Koppelzahnrad 20 - 23 angeordnet ist. Die Koppelzahnräder 20 - 23 kämmen miteinander, wodurch alle vier Falzwalzen 5 - 8 antriebsmäßig miteinander verbunden sind. Das gleiche gilt auch bezüglich der weiteren Falzwalzen 9, 10 bei dem in Figur 7 und 8 dargestellten Ausführungsbeispiel.
In dem Maschinengestell 1 ist ferner ein Antriebsmotor 24 angeordnet, der ein im Maschinengestell 1 gelagertes Antriebszahnrad 25 antreibt. In der ersten, in Figur 1 und 3 dargestellten Einbaustellung des Falzwerksblockes 2 kämmt dieses Antriebszahnrad 25 mit einem der Koppelzahnräder, nämlich dem Koppelzahnrad 22, welches der Falzwalze 7 zugeordnet ist. Hierdurch werden die Falzwalzen 5 - 8 in der in Figur 1 mit Pfeilen angedeuteten Drehrichtung angetrieben.
Die Falzwalze 8 weist an ihrem anderen Ende ein Abtriebszahnrad 26 auf, welches in der zweiten Einbaustellung des Falzwerksblockes 2, wie es in Figur 4 und 6 dargestellt ist, in das Antriebszahnrad 25 eingreift. Hierdurch werden die Falzwalzen, ohne daß die Drehrichtung des Antriebsmotors 24 umgedreht wird, gemäß Figur 4 in der mit Pfeilen angedeuteten Richtung angetrieben. Der Fachmann kann ohne weiteres diejenige Falzwalze herausfinden, der er das Abtriebszahnrad 26 zuordnen muß, damit er in beiden Einbaustellungen des Falzwerksblockes die Drehrichtung des Antriebsmotors 24 beibehalten kann. So könnte bei dem beschriebenen Ausführungsbeispiel das Abtriebszahnrad auch der Falzwalze 6 zugeordnet sein, wenn das Antriebszahnrad 25 so angeordnet wird, daß es in der ersten Einbaustellung mit dem Koppelzahnrad 22 kämmt und in der zweiten Einbaustellung des Falzwerksblockes 2 mit dem dann der Falzwalze 6 zugeordneten Abtriebszahnrad.
Anhand der Figuren 2a und 2b ist dargestellt, wie ein Formular F1, bei dem die Anschrift oben angeordnet ist, mittels des erfindungsgemäßen Stauchfalzwerkes so gefaltet werden kann, daß gemäß Figur 2b bei dem gefalteten Formular die Anschrift ebenfalls oben ist. Zu diesem Zweck ist der Falzwerksblock 2 in seiner ersten, in Figur 1 und 3 dargestellten Einbaustellung im Maschinengestell 1 montiert.
Soll hingegen ein Formular F2 gemäß Figur 5a mit nach unten gerichteter Anschrift gefaltet werden, dann werden die Halteschrauben 4 gelöst und der Falzwerksblock nach oben aus den Führungen 3 des Maschinengestells 1 herausgezogen. Er wird dann um eine parallel zur Papierlaufrichtung P verlaufende, gedachte Achse um 180° gedreht, wie es in Figur 3 mit dem Pfeil D angedeutet ist. Nach dem Drehen um 180° wird der Falzwerksblock 2 wieder in die Führungen 3 eingeschoben und die Halteschrauben 4 werden festgezogen. Damit ist die gesamte Umstellarbeit beendet.
Wie man anhand der Figur 4 erkennen kann, ist nunmehr die in Papierlaufrichtung P erste Falztasche 12 des Falzwerksblockes 2 nach oben gerichtet und die zweite Falztasche 11 nach unten. Der zwischen der Falzwalze 5 und dem Leitblech 18 gebildete Bogeneinlauf 16 und auch der zwischen der Falzwalze 8 und dem Leitblech 19 gebildete Bogenauslauf 17 liegen auch in der um 180° gedrehten Stellung des Falzwerksblockes 2 im Bereich der gemeinsamen Ebene M-M. Die von der Transporteinrichtung 14 entlang der Einlaufebene E zugeführten Papierbögen oder Formulare können somit auch in der zweiten Einbaustellung des Falzwerksblockes 2 in dessen Bogeneinlauf 16 gelangen, ohne daß eine Höhenverstellung der Transporteinrichtung 14 erforderlich wäre. Das gleiche gilt auch bezüglich der Transporteinrichtung 15, welche die aus dem Bogenauslauf 17 austretenden, gefalteten Papierbögen oder Formulare in Papierlaufrichtung P weitertransportiert. Mit dem in der zweiten Einbaustellung im Maschinengestell 1 montierten Falzwerksblock können nun gemäß Figur 5a und 5b Papierbögen oder Formulare F2, bei denen gemäß Figur 5a die Anschrift nach unten gerichtet ist, so gefaltet werden, daß die Anschrift auch nach dem Falten gemäß Figur 5b im gefalteten Bogen nach unten gerichtet ist.
Vorstehende Beschreibung trifft sinngemäß auch auf das in Figur 7 und 8 dargestellte Stauchfalzwerk, welches mit drei Falztaschen 11, 12, 13 versehen ist, zu, so daß sich eine nochmalige Beschreibung erübrigt. Mit dem in Figur 7 und 8 dargestellten Stauchfalzwerk können Papierbögen oder Formulare mit drei Faltungen versehen werden, wobei dann je nach Einbaustellung des Falzwerksblockes die Anschrift oder ein sonstiger Aufdruck auch nach dem Falten zu der gleichen Seite gerichtet ist wie vor dem Falten.
Gegebenenfalls könnte man den Falzwerksblock auch um eine quer zur gemeinsamen Ebene verlaufende, gedachte Achse um 180° drehen, um ihn von seiner einen Einbaustellung in seine andere Einbaustellung zu bringen. Allerdings müßte dann das Abtriebszahnrad einer anderen Falzwalze zugeordnet werden.

Claims (2)

  1. Stauchfalzwerk mit zwei oder drei Falztaschen (11, 12, 13), mit mehreren Falzwalzen, die in einem vom Maschinengestell lösbaren Falzwerksblock (2) gelagert sind, und mit einem außerhalb des Falzwerksblockes angeordneten Antrieb (24), wobei der Falzwerksblock an seiner einen Seite einen Bogeneinlauf (16) und an seiner gegenüberliegenden Seite einen Bogenauslauf (17) aufweist und wobei die Bögen dem Falzwerksblock über Transporteinrichtungen entlang einer Einlaufebene (E) in Papierlaufrichtung (P) zugeführt und entlang einer Auslaufebene (A) in der gleichen Richtung abtransportiert werden, dadurch gekennzeichnet, daß die Einlaufebene (E) und die Auslaufebene (A) der Transporteinrichtungen (14, 15) im wesentlichen in einer gemeinsamen Ebene (M-M) angeordnet sind, daß die Falzwalzen (5 - 9) und Falztaschen (11 - 13) im Falzwerksblock (2) so angeordnet sind, daß auch der Bogeneinlauf (16) und der Bogenauslauf (17) in der jeweiligen Einbaustellung des Falzwerksblockes (2) im Maschinengestell (1) im Bereich dieser gemeinsamen Ebene (M-M) liegen, daß alle Falzwalzen (5 - 9) im Falzwerksblock (2) über Koppelzahnräder (20 - 23), die an jeweils einem Ende jeder Falzwalze (5-9) angeordnet sind, antriebsmäßig miteinander gekoppelt sind, daß der Antrieb (24) im Maschinengestell (1) angeordnet ist und im Bereich des Falzwerksblockes (2) ein im Maschinengestell gelagertes Antriebszahnrad (25) aufweist, welches in einer ersten Einbaustellung des Falzwerksblockes (2) mit einem (22) der Koppelzahnräder kämmt, und daß eine (8) der Falzwalzen an ihrem anderen Ende ein Abtriebszahnrad (26) trägt, das in einer zweiten Einbaustellung des Falzwerksblockes, bei welcher dieser gegenüber seiner ersten Einbaustellung um eine parallel zur Papierlaufrichtung verlaufende, gedachte Achse um 180° gedreht in das Maschinengestell (1) eingesetzt ist, mit dem Antriebszahnrad (25) kämmt.
  2. Stauchfalzwerk nach Anspruch 1, dadurch gekennzeichnet, daß das Maschinengestell (1) Positioniereinrichtungen (3) zur Halterung und Positionierung des Falzwerksblocks (2) in seinen beiden Einbaustellungen gegenüber dem Maschinengestell aufweist.
EP98909278A 1997-03-08 1998-01-22 Stauchfalzwerk mit zwei oder drei falztaschen Expired - Lifetime EP1007461B1 (de)

Applications Claiming Priority (3)

Application Number Priority Date Filing Date Title
DE19709643 1997-03-08
DE19709643A DE19709643C1 (de) 1997-03-08 1997-03-08 Stauchfalzwerk mit zwei oder drei Falztaschen
PCT/DE1998/000206 WO1998040300A1 (de) 1997-03-08 1998-01-22 Stauchfalzwerk mit zwei oder drei falztaschen

Publications (2)

Publication Number Publication Date
EP1007461A1 EP1007461A1 (de) 2000-06-14
EP1007461B1 true EP1007461B1 (de) 2002-07-24

Family

ID=7822738

Family Applications (1)

Application Number Title Priority Date Filing Date
EP98909278A Expired - Lifetime EP1007461B1 (de) 1997-03-08 1998-01-22 Stauchfalzwerk mit zwei oder drei falztaschen

Country Status (7)

Country Link
US (1) US6224530B1 (de)
EP (1) EP1007461B1 (de)
JP (1) JP2001521477A (de)
CA (1) CA2274041A1 (de)
DE (2) DE19709643C1 (de)
ES (1) ES2179468T3 (de)
WO (1) WO1998040300A1 (de)

Families Citing this family (16)

* Cited by examiner, † Cited by third party
Publication number Priority date Publication date Assignee Title
US6665838B1 (en) 1999-07-30 2003-12-16 International Business Machines Corporation Web page thumbnails and user configured complementary information provided from a server
US6405192B1 (en) 1999-07-30 2002-06-11 International Business Machines Corporation Navigation assistant-method and apparatus for providing user configured complementary information for data browsing in a viewer context
US6356908B1 (en) 1999-07-30 2002-03-12 International Business Machines Corporation Automatic web page thumbnail generation
DE10132910A1 (de) * 2001-06-28 2003-01-16 Baeuerle Gmbh Mathias Falzvorrichtung für Bogen aus Papier, Kunststoff und dergleichen
US20030073560A1 (en) * 2001-10-11 2003-04-17 Baldini Gerardo E. Stops for sheet media folding apparatus
EP1599386B1 (de) 2003-02-25 2010-02-24 Philip Morris Products S.A. Verfahren und vorrichtung zum falten und anbringen von ansätzen an gebrauchsgütern
US6981938B2 (en) * 2003-08-15 2006-01-03 Xerox Corporation Booklet maker with crease rolls having a slip clutch
US6899664B2 (en) * 2003-09-24 2005-05-31 Gregory R. Gale Device for returning folded paper and folding apparatus including same
US7217232B2 (en) * 2004-10-26 2007-05-15 Sop Services, Inc. Automatic paper folder
ITBO20060291A1 (it) * 2006-04-14 2007-10-15 Tech S R L S Apparecchiatura per la piegatura ordinata di nastri.
DE502007003292D1 (de) * 2006-12-08 2010-05-12 Ravensburger Spieleverlag Gmbh Vorrichtung zum Erzeugen dreifach gefalteter Papierstreifen in einem Durchlauf
CN201195647Y (zh) * 2007-12-19 2009-02-18 世庆实业股份有限公司 折纸机
US9604493B2 (en) 2009-11-25 2017-03-28 Bell And Howell, Llc Method and system to manufacture an integrated return mailpiece on wrapping document processing system
US20110192892A1 (en) 2010-02-09 2011-08-11 Bowe Bell + Howell Company Mailpiece with personalized communication and return slip and related method utilizing wrapper system
IT1400065B1 (it) * 2010-05-17 2013-05-17 Bacciottini Group S R L Macchina piegatrice
CN116674258A (zh) * 2023-04-27 2023-09-01 吴江古乐包装有限公司 一种纸勺折叠机构

Family Cites Families (10)

* Cited by examiner, † Cited by third party
Publication number Priority date Publication date Assignee Title
DE517549C (de) * 1929-04-06 1931-02-09 Camco Machinery Ltd Papierfalzmaschine
DE730387C (de) 1936-04-04 1943-01-11 Brehmer Geb Stauchfalzmaschine fuer zwei- oder mehrfachen Kreuzbruch
DD114579A1 (de) * 1974-02-22 1975-08-12
US4565046A (en) * 1984-12-24 1986-01-21 Simmons U.S.A. Corporation Apparatus for manufacturing pocketed coil springs
DE4114105C2 (de) * 1991-04-30 1994-09-15 Baeuerle Gmbh Mathias Stauchfalzmaschine
DE4123499C2 (de) * 1991-07-16 1998-03-19 Kodak Ag Vorrichtung zur Papierführung an einem Weiterverarbeitungsgerät für Kopieblätter
US5514066A (en) * 1994-09-01 1996-05-07 Pitney Bowes Inc. Buckle chute folding machine for different length sheets
FR2729939B1 (fr) * 1995-01-31 1997-04-18 Neopost Ind Dispositif d'assistance au reglage de dimensions de pliage dans une machine plieuse insereuse
US5697880A (en) * 1995-03-17 1997-12-16 Pitney Bowes Inc. Inserter including a pivoting conveyor module with staging capability
US5967963A (en) * 1996-11-26 1999-10-19 Grapha-Holding Ag Apparatus for folding paper sheets

Also Published As

Publication number Publication date
JP2001521477A (ja) 2001-11-06
ES2179468T3 (es) 2003-01-16
WO1998040300A1 (de) 1998-09-17
US6224530B1 (en) 2001-05-01
DE19709643C1 (de) 1998-07-16
EP1007461A1 (de) 2000-06-14
DE59804915D1 (de) 2002-08-29
CA2274041A1 (en) 1998-09-17

Similar Documents

Publication Publication Date Title
EP1007461B1 (de) Stauchfalzwerk mit zwei oder drei falztaschen
EP0741020B1 (de) Rotationsdruckmaschine mit frei aufstellbarem Falzapparat
EP0085751B1 (de) Offset-Bogen-Rotationsdruckmaschine
EP0481172B1 (de) Rollenrotationsdruckmaschine für Bücher- und Kalenderdruck mit zwei Längsfalzvorrichtungen
EP0107126A1 (de) Papierbahnführung in Rollenrotationsdruckmaschinen
DE29501537U1 (de) Bogenleiteinrichtung mit Luftversorgungskästen
DE19516443A1 (de) Einzeln angetriebener Falzapparat für eine Rotationsdruckmaschine
EP1634832B1 (de) Druckmaschine mit wenigstens einem Druckwerk, einem Falzapparat mit einem Falztrichter und wenigstens einer Wende- und Mischstufe
EP0054326A2 (de) Transporteinrichtung zum Zuführen und Abführen eines Endlosformulares zu einer Schreibwalze
DE19610900A1 (de) Falzapparat mit einem heftebildenden Zusatzmodul
EP1498353B1 (de) Verpackungsmaschine
EP1456107A1 (de) Vorrichtung zur herstellung von falzprodukten
EP1762527A2 (de) Falzwerkoberteil
DE602004001294T2 (de) Falttisch einer Schwertfalzvorrichtung
EP0303556B1 (de) Papierführungsvorrichtung für Büromaschinen, insbes. für Matrixdrucker
DE4329688C1 (de) Falzschwertanordnung für Schwertfalzwerke
DE9312170U1 (de) Falzapparat für Rollenrotationsdruckmaschinen
DE1761377A1 (de) Papierbogenfalzmaschine
EP0351480B1 (de) Druckstation mit Ausgabevorrichtung für Einzelblätter
DE29704263U1 (de) Stauchfalzwerk mit zwei oder drei Falztaschen
DE10163211C2 (de) Vorrichtung zur Herstellung von Falzprodukten
DE2408351C3 (de) Kombinierte Vierbruchfalzmaschine
EP0153668B1 (de) Falzmaschine
EP0170251B1 (de) Faltmaschine
EP1348665A2 (de) Falzmaschine mit einem Kreuzbruchmodul

Legal Events

Date Code Title Description
PUAI Public reference made under article 153(3) epc to a published international application that has entered the european phase

Free format text: ORIGINAL CODE: 0009012

17P Request for examination filed

Effective date: 19990812

AK Designated contracting states

Kind code of ref document: A1

Designated state(s): CH DE ES FR GB IT LI NL SE

GRAG Despatch of communication of intention to grant

Free format text: ORIGINAL CODE: EPIDOS AGRA

GRAG Despatch of communication of intention to grant

Free format text: ORIGINAL CODE: EPIDOS AGRA

GRAH Despatch of communication of intention to grant a patent

Free format text: ORIGINAL CODE: EPIDOS IGRA

17Q First examination report despatched

Effective date: 20010711

GRAH Despatch of communication of intention to grant a patent

Free format text: ORIGINAL CODE: EPIDOS IGRA

RIN1 Information on inventor provided before grant (corrected)

Inventor name: JOERG, HELMUT

Inventor name: OKELMANN, WALTER

GRAA (expected) grant

Free format text: ORIGINAL CODE: 0009210

AK Designated contracting states

Kind code of ref document: B1

Designated state(s): CH DE ES FR GB IT LI NL SE

REG Reference to a national code

Ref country code: GB

Ref legal event code: FG4D

Free format text: NOT ENGLISH

REG Reference to a national code

Ref country code: CH

Ref legal event code: EP

GBT Gb: translation of ep patent filed (gb section 77(6)(a)/1977)

Effective date: 20020724

REG Reference to a national code

Ref country code: CH

Ref legal event code: NV

Representative=s name: LUCHS & PARTNER PATENTANWAELTE

REF Corresponds to:

Ref document number: 59804915

Country of ref document: DE

Date of ref document: 20020829

PG25 Lapsed in a contracting state [announced via postgrant information from national office to epo]

Ref country code: SE

Free format text: LAPSE BECAUSE OF FAILURE TO SUBMIT A TRANSLATION OF THE DESCRIPTION OR TO PAY THE FEE WITHIN THE PRESCRIBED TIME-LIMIT

Effective date: 20021024

ET Fr: translation filed
REG Reference to a national code

Ref country code: ES

Ref legal event code: FG2A

Ref document number: 2179468

Country of ref document: ES

Kind code of ref document: T3

PLBE No opposition filed within time limit

Free format text: ORIGINAL CODE: 0009261

STAA Information on the status of an ep patent application or granted ep patent

Free format text: STATUS: NO OPPOSITION FILED WITHIN TIME LIMIT

26N No opposition filed

Effective date: 20030425

PGFP Annual fee paid to national office [announced via postgrant information from national office to epo]

Ref country code: NL

Payment date: 20031231

Year of fee payment: 7

PG25 Lapsed in a contracting state [announced via postgrant information from national office to epo]

Ref country code: NL

Free format text: LAPSE BECAUSE OF NON-PAYMENT OF DUE FEES

Effective date: 20050801

NLV4 Nl: lapsed or anulled due to non-payment of the annual fee

Effective date: 20050801

PGFP Annual fee paid to national office [announced via postgrant information from national office to epo]

Ref country code: ES

Payment date: 20100125

Year of fee payment: 13

PGFP Annual fee paid to national office [announced via postgrant information from national office to epo]

Ref country code: IT

Payment date: 20100126

Year of fee payment: 13

REG Reference to a national code

Ref country code: CH

Ref legal event code: PUE

Owner name: BOEWE SYSTEC GMBH

Free format text: BOEWE SYSTEC AG#WERNER-VON-SIEMENS-STRASSE 1#86159 AUGSBURG (DE) -TRANSFER TO- BOEWE SYSTEC GMBH#WERNER-VON-SIEMENS-STR. 1#86159 AUGSBURG (DE)

PGFP Annual fee paid to national office [announced via postgrant information from national office to epo]

Ref country code: FR

Payment date: 20110202

Year of fee payment: 14

Ref country code: DE

Payment date: 20110121

Year of fee payment: 14

Ref country code: CH

Payment date: 20110124

Year of fee payment: 14

REG Reference to a national code

Ref country code: GB

Ref legal event code: 732E

Free format text: REGISTERED BETWEEN 20110519 AND 20110525

REG Reference to a national code

Ref country code: DE

Ref legal event code: R081

Ref document number: 59804915

Country of ref document: DE

Owner name: BOEWE SYSTEC GMBH, DE

Free format text: FORMER OWNER: BOEWE SYSTEC AG, 86159 AUGSBURG, DE

Effective date: 20110429

PGFP Annual fee paid to national office [announced via postgrant information from national office to epo]

Ref country code: GB

Payment date: 20110120

Year of fee payment: 14

REG Reference to a national code

Ref country code: FR

Ref legal event code: TP

Owner name: BOWE SYSTEC GMBH, DE

Effective date: 20110831

PG25 Lapsed in a contracting state [announced via postgrant information from national office to epo]

Ref country code: IT

Free format text: LAPSE BECAUSE OF NON-PAYMENT OF DUE FEES

Effective date: 20110122

REG Reference to a national code

Ref country code: ES

Ref legal event code: FD2A

Effective date: 20120220

PG25 Lapsed in a contracting state [announced via postgrant information from national office to epo]

Ref country code: ES

Free format text: LAPSE BECAUSE OF NON-PAYMENT OF DUE FEES

Effective date: 20110123

REG Reference to a national code

Ref country code: CH

Ref legal event code: PL

GBPC Gb: european patent ceased through non-payment of renewal fee

Effective date: 20120122

REG Reference to a national code

Ref country code: FR

Ref legal event code: ST

Effective date: 20120928

PG25 Lapsed in a contracting state [announced via postgrant information from national office to epo]

Ref country code: GB

Free format text: LAPSE BECAUSE OF NON-PAYMENT OF DUE FEES

Effective date: 20120122

Ref country code: LI

Free format text: LAPSE BECAUSE OF NON-PAYMENT OF DUE FEES

Effective date: 20120131

Ref country code: CH

Free format text: LAPSE BECAUSE OF NON-PAYMENT OF DUE FEES

Effective date: 20120131

Ref country code: DE

Free format text: LAPSE BECAUSE OF NON-PAYMENT OF DUE FEES

Effective date: 20120801

REG Reference to a national code

Ref country code: DE

Ref legal event code: R119

Ref document number: 59804915

Country of ref document: DE

Effective date: 20120801

PG25 Lapsed in a contracting state [announced via postgrant information from national office to epo]

Ref country code: FR

Free format text: LAPSE BECAUSE OF NON-PAYMENT OF DUE FEES

Effective date: 20120131