EP0993003A2 - Sicherheitskontaktschiene oder Sicherheitskontaktelement - Google Patents

Sicherheitskontaktschiene oder Sicherheitskontaktelement Download PDF

Info

Publication number
EP0993003A2
EP0993003A2 EP99117389A EP99117389A EP0993003A2 EP 0993003 A2 EP0993003 A2 EP 0993003A2 EP 99117389 A EP99117389 A EP 99117389A EP 99117389 A EP99117389 A EP 99117389A EP 0993003 A2 EP0993003 A2 EP 0993003A2
Authority
EP
European Patent Office
Prior art keywords
safety contact
contact element
projections
contact rail
safety
Prior art date
Legal status (The legal status is an assumption and is not a legal conclusion. Google has not performed a legal analysis and makes no representation as to the accuracy of the status listed.)
Granted
Application number
EP99117389A
Other languages
English (en)
French (fr)
Other versions
EP0993003B1 (de
EP0993003A3 (de
Inventor
Jürgen Menz
Karlheinz Beckhausen
Current Assignee (The listed assignees may be inaccurate. Google has not performed a legal analysis and makes no representation or warranty as to the accuracy of the list.)
Individual
Original Assignee
Individual
Priority date (The priority date is an assumption and is not a legal conclusion. Google has not performed a legal analysis and makes no representation as to the accuracy of the date listed.)
Filing date
Publication date
Application filed by Individual filed Critical Individual
Publication of EP0993003A2 publication Critical patent/EP0993003A2/de
Publication of EP0993003A3 publication Critical patent/EP0993003A3/de
Application granted granted Critical
Publication of EP0993003B1 publication Critical patent/EP0993003B1/de
Anticipated expiration legal-status Critical
Expired - Lifetime legal-status Critical Current

Links

Images

Classifications

    • HELECTRICITY
    • H01ELECTRIC ELEMENTS
    • H01BCABLES; CONDUCTORS; INSULATORS; SELECTION OF MATERIALS FOR THEIR CONDUCTIVE, INSULATING OR DIELECTRIC PROPERTIES
    • H01B7/00Insulated conductors or cables characterised by their form
    • H01B7/10Contact cables, i.e. having conductors which may be brought into contact by distortion of the cable
    • H01B7/104Contact cables, i.e. having conductors which may be brought into contact by distortion of the cable responsive to pressure
    • HELECTRICITY
    • H01ELECTRIC ELEMENTS
    • H01HELECTRIC SWITCHES; RELAYS; SELECTORS; EMERGENCY PROTECTIVE DEVICES
    • H01H2203/00Form of contacts
    • H01H2203/036Form of contacts to solve particular problems
    • H01H2203/054Form of contacts to solve particular problems for redundancy, e.g. several contact pairs in parallel
    • HELECTRICITY
    • H01ELECTRIC ELEMENTS
    • H01HELECTRIC SWITCHES; RELAYS; SELECTORS; EMERGENCY PROTECTIVE DEVICES
    • H01H3/00Mechanisms for operating contacts
    • H01H3/02Operating parts, i.e. for operating driving mechanism by a mechanical force external to the switch
    • H01H3/14Operating parts, i.e. for operating driving mechanism by a mechanical force external to the switch adapted for operation by a part of the human body other than the hand, e.g. by foot
    • H01H3/141Cushion or mat switches
    • H01H3/142Cushion or mat switches of the elongated strip type

Definitions

  • the invention relates to a safety contact rail for power-operated systems and the like or a safety contact element as a switching hose and the like with an elastic Hollow profile, within which several strip-like, electrically conductive Protrusions are provided that are mutually non-conductive Cross sections are insulated, the conductive protrusions being mutual Touch to generate a switching pulse.
  • the object of the present invention is the generic safety contact rail or a safety contact element improve that there is always redundant contacting, and regardless of the direction in which the trigger force on the Safety contact rail or the safety contact element acts.
  • the object of the invention is achieved in that at least four strip-like, electrically conductive projections are provided and that these projections are uniform and even within of the hollow profile are distributed.
  • the cross-sectional areas the projections are preferably chosen and arranged so that they are point symmetrical to the central axis of the hollow profile run. It does not matter from which direction the force is applied on the safety contact rail or the safety contact element is initiated because there are always at least two projections touch each other and generate switching impulses against each other.
  • the cross-sectional areas of the projections are shaped so that they are essentially two right-angled triangles with different ones long legs can be defined. They exist of course not from two triangles, but they can be in corresponding ones Triangles divided and described thereby.
  • the Large triangles border the inner circumference with their hypotenuses of the hollow profile or form a partial circumference of the hollow profile itself, the hypotenuses are not designed as a straight line, but rather corresponding to the inner circumference of the hollow profile or the outer circumference of the hollow profile are curved.
  • the big triangles small triangles join in such a way that they align with the long ones Thighs of the large triangles ajar with their long thighs so that the short legs of the large and small triangles form a straight line.
  • strip-like noses attached, essentially in extension of the hypotenuses of the small triangles and the surfaces of the small legs tower over the small triangles.
  • This configuration of the Cross-sectional areas of the projections arise in the interior of the hollow profiles a cavity along the safety contact rail or the safety contact element, the one in the center by a square Cross-sectional area is defined, on the side faces of each one Edge then cavity strips are formed by the strip-like Noses are narrowed, being angled at these strips staggeredly connect further cavity strips up to the non-conductive Cross section of the hollow profile are sufficient. It became conscious small contact area, especially via the strip-like noses chosen. This leads to a high contact pressure, which leads to self-cleaning of the contact surfaces.
  • Carbon or graphite fibers can be incorporated.
  • the safety contact rail or the safety contact element can have two different types of non-conductive areas.
  • the sheath from not conductive material is made.
  • the cross sections the strip-like projections themselves part of the outer circumference of the hollow profile, with non-conductive sections between them are provided.
  • the outer circumference of the hollow profile completely non-conductive because of the non-conductive shell is surrounded, while in other cases conductive and non-conductive areas are provided which cover the outer circumference of the Form hollow profile.
  • the profile is also insensitive to external influences such as moisture and the like, because no "external contact" can take place.
  • the safety contact rail or the Safety contact element with the elastic hollow profile made of extrudable Material, especially rubber or polymers and in one piece including any embedded wires or strands preferably produced as an endless profile in an extruder, so that a homogeneous profile is created.
  • Hollow profiles can also be used 6 or 8 or more protrusions can be made and used.
  • connection side is then connected to a four-channel evaluator, ie to a connection line with four poles.
  • the safety contact element 2 according to FIG. 3 differs from Fig. 2 essentially in that no sleeve 5 is provided and that instead between the electrically conductive projections 6 electrically non-conductive sections 8 are arranged. Both the safety contact rail as well as the safety contact element extruded in one piece including the copper strands.
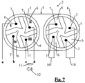
  • FIG. 7 to 9 are the two end cross sections of an arbitrarily long safety contact element, with the top and bottom lines connecting the two Profile cross sections represents the safety contact element. Left is reproduced the connection side and on the right is the connection opposite end of the safety contact element shown.
  • the copper strands of the conductive protrusions 6 are one above the other are arranged by parallel bracket 10 on the right Side of the figure interconnected.
  • On the left are the Connections that are connected to the copper strands there with a to d designated. They are all used when a four-way connection is chosen with the appropriate technology. Becomes a bipartite Connection selected, then the connections c and d via a Resistor 11 or a diode 12 bridges.
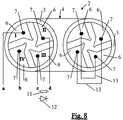
  • Fig. 8 differs from Fig. 7 only in that on the the end of the safety contact element facing away from the connection the copper strands 7 of the projections 6 diagonally over corresponding diagonal bridges 13 are interconnected. On the connection side can choose either two or four wire technology become.
  • Fig. 9 shows the same sketched safety contact element as that in Figs. 7 and 8, but with changed connections.
  • the four copper strands 7 are connected to one another via four diodes 12 or resistors 11 on the end opposite the connection, that is to say the right side of the figure.
  • On the left side all connections a to d are connected to a four-channel evaluator. Table "contact / angular force effect" in the circuit diagram according to Fig.

Landscapes

  • Push-Button Switches (AREA)
  • Gloves (AREA)
  • Elimination Of Static Electricity (AREA)
  • Switches Operated By Changes In Physical Conditions (AREA)

Abstract

Sicherheitskontaktschiene für kraftbetätigte Anlagen oder Sicherheitskontaktelement als Schlauchelement mit einem elastischen Hohlkörper, innerhalb dessen mehrere leistenartige, elektrisch leitende Vorsprünge vorgesehen sind, die gegeneinander durch nicht leitende Querschnitte isoliert sind, wobei die leitenden Vorsprünge bei gegenseitiger Berührung einen Schaltimpuls erzeugen. Dabei weist das elastische Hohlprofil zumindest vier leistenartige, elektrisch leitende Vorsprünge auf, wobei diese Vorsprünge gleichförmig ausgebildet und gleichmäßig innerhalb des Hohlprofils verteilt angeordnet sind.

Description

Die Erfindung bezieht sich auf eine Sicherheitskontaktschiene für kraftbetätigte Anlagen und dergleichen oder ein Sicherheitskontaktelement als Schaltschlauch und dergleichen mit einem elastischen Hohlprofil, innerhalb dessen mehrere leistenartige, elektrisch leitende Vorsprünge vorgesehen sind, die gegeneinander durch nicht leitende Querschnitte isoliert sind, wobei die leitenden Vorsprünge bei gegenseitiger Berührung einen Schaltimpuls erzeugen.
Aus der DE 39 21 533 A1 ist eine gattungsgemäße Sicherheitskontaktschiene für kraftbetätigte Anlagen bekannt, bei der im Innern des Hohlprofils zwei leistenartige, elektrisch leitende Vorsprünge und eine ebenfalls elektrisch leitende Gegenfläche vorgesehen sind. Durch diese Maßnahme soll eine zuverlässige kontaktgabe gewährleistet sein. Weiterhin soll durch diese dreieckförmige Anordnung nach der Impulsauslösung ein Nachverformungsweg vorgesehen sein.
Aufgabe der vorliegenden Erfindung ist es, die gattungsgemäße Sicherheitskontaktschiene bzw. ein Sicherheitskontaktelement so zu verbessern, daß immer eine redundante Kontaktgabe erfolgt, und zwar unabhängig davon, in welcher Richtung die Auslösekraft auf die Sicherheitskontaktschiene oder das Sicherheitskontaktelement einwirkt. Die Aufgabe der Erfindung wird dadurch gelöst, daß zumindest vier leistenartige, elektrisch leitende Vorsprünge vorgesehen sind und daß diese Vorsprünge gleichförmig ausgebildet und gleichmäßig innerhalb des Hohlprofils verteilt angeordnet sind. Die Querschnittsflächen der Vorsprünge sind dabei vorzugsweise so gewählt und so angeordnet, daß sie punktsymmetrisch zur Mittelachse des Hohlprofils verlaufen. Dabei ist es gleich, aus welcher Richtung die Krafteinwirkung auf die Sicherheitskontaktschiene oder das Sicherheitskontaktelement eingeleitet wird, da immer zumindest zwei Vorsprünge sich gegenseitig berühren und gegeneinander Schaltimpulse erzeugen.
Die Querschnittsflächen der Vorsprünge sind dabei so geformt, daß sie im wesentlichen durch zwei rechtwinklige Dreiecke mit unterschiedliche langen Schenkeln definiert werden können. Sie bestehen natürlich nicht aus zwei Dreiecken, sondern sie können in entsprechende Dreiecke aufgeteilt und dadurch beschrieben werden. Die großen Dreiecke grenzen mit ihren Hypotenusen an den Innenumfang des Hohlprofils oder bilden einen Teilumfang des Hohlprofils selbst, wobei die Hypotenusen nicht als Gerade ausgeführt sind, sondern entsprechend dem Innenumfang des Hohlprofils bzw. dem Außenumfang des Hohlprofils gekrümmt sind. An die großen Dreiecke schließen sich kleine Dreiecke an, und zwar so, daß sie an die langen Schenkel der großen Dreiecke mit ihren langen Schenkeln angelehnt sind, so daß die kurzen Schenkel der großen und der kleinen Dreiecke eine Gerade bilden. Zur weiteren Verbesserung der Kontaktgabe untereinander sind an den Ecken zwischen den Hypotenusen und den kurzen Schenkeln der kleinen Dreiecke leistenartige Nasen angebracht, die im wesentlichen in Verlängerung der Hypotenusen der kleinen Dreiecke verlaufen und die Flächen der kleinen Schenkel der kleinen Dreiecke überragen. Durch diese Ausgestaltung der Querschnittsflächen der Vorsprünge entsteht im Innern der Hohlprofile ein Hohlraum entlang der Sicherheitskontaktschiene bzw. des Sicherheitskontaktelements, der im Zentrum durch eine quadratische Querschnittsfläche definiert ist, an dessen Seitenflächen je an einer Kante anschließend Hohlraumstreifen gebildet sind, die durch die leistenartigen Nasen verengt sind, wobei sich an diese Streifen winklig versetzt weitere Hohlraumstreifen anschließen, die bis zum nicht leitenden Querschnitt des Hohlprofils reichen. Es wurde bewußt eine geringe Kontaktfläche insbesondere über die leistenartigen Nasen gewählt. Diese führt zu einem hohen Kontaktdruck, der zur Selbstreinigung der Kontaktflächen beiträgt.
Zur Verbesserung der Leitfähigkeit in den Querschnittsflächen der Vorsprünge, können elektrisch leitende Drähte oder Litzen aus Metall, Kohlephasern oder Graphitphasern eingelagert sein.
Die Sicherheitskontaktschiene bzw. das Sicherheitskontaktelement kann zwei verschiedenartige nicht leitende Bereiche aufweisen. Zum einen können die leistenartigen Vorsprünge innerhalb einer Hülle mit ringförmigem Querschnitt angeordnet sein, wobei die Hülle aus nicht leitendem Material hergestellt ist. Zum anderen können die Querschnitte der leistenartigen Vorsprünge selbst Teil des Außenumfangs des Hohlprofils sein, wobei zwischen diesen nicht leitende Abschnitte vorgesehen sind. In dem einen Fall ist der äußere Umfang des Hohlprofils vollständig nicht leitend, weil er von der nicht leitenden Hülle umgeben ist, während im anderen Fall abschnittsweise leitende und nicht leitende Bereiche vorgesehen sind, die den Außenumfang des Hohlprofils bilden. Im erstgenannten Fall mit Hülle ist das Profil auch gegen äußere Einflüsse wie Nässe und dergleichen unempfindlich, weil keine "Fremdkontaktgabe" erfolgen kann.
In vorteilhafter Weise wird die Sicherheitskontaktschiene bzw. das Sicherheitskontaktelement mit dem elastischen Hohlprofil aus extrudierbarem Material, insbesondere Gummi oder Polymeren, hergestellt und einstückig einschließlich ggf. der eingebetteten Drähte oder Litzen vorzugsweise als endloses Profil in einem Extruder hergestellt, so daß ein homogenes Profil entsteht. Es können auch Hohlprofile mit 6 oder 8 oder auch mehr Vorsprüngen hergestellt und benutzt werden.
Dadurch, daß in jedem Fall vier leitende Querschnitte entlang einer Sicherheitskontaktschiene oder eines Sicherheitskontaktelements vorgesehen sind, können verschiedene Anschlüsse bzw. Schaltungen vorgenommen werden. Wenn die Sicherheitskontaktschiene oder das Sicherheitskontaktelement einseitig an eine Übertragungsleitung angeschlossen werden, können auf der Gegenseite je zwei nebeneinanderliegende, elektrisch leitende Querschnitte durch flexible Kontaktbrücken parallel oder diagonal miteinander verbunden sein, wobei an der Anschlußseite wahlweise eine Zwei- oder Vierdrahttechnik gewählt werden kann. Wird eine Zweidrahttechnik gewählt, so sind vorzugsweise die beiden freien Querschnitte an der Anschlußseite mittels eines Widerstandes oder einer Diode überbrückt.
Die leitenden Querschnitte können aber auch an dem dem Anschluß abgewandten Ende der Sicherheitskontaktschiene oder des Sicherheitskontaktelements mit vier Widerständen oder Dioden flexibel miteinander verbunden sein. Die Anschlußseite ist dann an einen vierkanaligen Auswerter angeschlossen, d. h. an einer Anschlußleitung mit vier Polen.
Zur weiteren Erläuterung der Erfindung wird auf die Zeichnung verwiesen, in denen Ausführungsbeispiele der Erfindung vereinfacht dargestellt sind.
Es zeigen:
Fig. 1:
einen Querschnitt durch eine Sicherheitskontaktschiene,
Fig. 2:
einen Querschnitt durch ein Sicherheitskontaktelement,
Fig. 3:
einen Querschnitt durch ein modifiziertes Sicherheitskontaktelement,
Fig. 4 + 5:
Querschnitte, in denen Verformungen und Berührungen der leistenartigen Vorsprünge untereinander skizziert sind,
Fig. 6:
einen Querschnitt durch ein Sicherheitskontaktelement entsprechend Fig. 2, bei dem zusätzlich Pfeile mit Gradeinteilungen angebracht sind, um die Kontaktgabemöglichkeiten gegenüber der Richtung der äußeren Kraft verdeutlichen zu können,
Fig. 7:
ein Schaltschema einer Sicherheitskontaktschiene oder eines Sicherheitskontaktelements, bei dem auf dem dem Anschluß gegenüberliegenden Ende je zwei nebeneinanderliegende elektrisch leitende Vorsprünge durch einen Kontaktbrücke miteinander verbunden sind,
Fig. 8:
ein Schaltschema entsprechend Fig. 7, bei dem die leitenden Vorsprünge an dem dem Anschluß abgewandten Ende diagonal mittels einer Kontaktbrücke elektrisch miteinander verbunden sind und
Fig. 9:
ein Schaltschema entsprechend den Fig. 7 und 8, bei dem die elektrisch leitenden Vorsprünge an dem dem Anschluß abgewandten Ende mittels vier Widerständen oder vier Dioden flexibel miteinander verbunden sind.
In den Fig. 1 bis 6 ist, soweit im einzelnen dargestellt, mit 1 eine Sicherheitskontaktschiene und mit 2 ein Sicherheitskontaktelement bezeichnet, die - abgesehen von dem Anschlußfuß 3 bei der Sicherheitskontaktschiene 1 - identisch ausgebildet sind. Sowohl die Sicherheitskontaktschiene 1 als auch das Sicherheitskontaktelement 2 weisen ein im wesentlichen rundes, elastisches Hohlprofil 4 auf, das gemäß den Fig. 1, 2 und 6 bis 9 eine Hülle 5 aufweist, die aus nicht leitendem Material hergestellt ist. Innerhalb der Hülle 5 sind elektrisch leitende Vorsprünge 6 angeordnet, deren Form in der allgemeinen Beschreibung ausführlich erläutert wurde. Entlang der Vorsprünge 6 sind vorzugsweise unisolierte Kupferlitzen 7 eingelagert, die die elektrische Leitfähigkeit der Vorsprünge entlang der Sicherheitskontaktschiene bzw. des Sicherheitskontaktelements verbessern. An dem inneren Ende der Vorsprünge 6 sind leistenartige Nasen 9 angeformt.
Das Sicherheitskontaktelement 2 nach Fig. 3 unterscheidet sich von Fig. 2 im wesentlichen dadurch, daß keine Hülle 5 vorgesehen ist und daß stattdessen zwischen den elektrisch leitenden Vorsprüngen 6 elektrisch nicht leitende Abschnitte 8 angeordnet sind. Sowohl die Sicherheitskontaktschiene als auch das Sicherheitskontaktelement sind einstückig einschließlich der Kupferlitzen extrudiert.
Wie insbesondere den Fig. 4 und 5 zu entnehmen ist, berühren beim Verformen der Sicherheitskontaktschiene oder des Sicherheitskontaktelements zumindest zwei leitende Vorsprünge 6 sich gegenseitig insbesondere durch die leistenartigen Nasen 9 und erzeugen Kontaktimpulse.
In den Schaltschemen nach Fig. 7 bis 9 sind die beiden Endquerschnitte eines beliebig langen Sicherheitskontaktelements dargestellt, wobei der obere und untere Verbindungsstrich zwischen den beiden Profilquerschnitten das Sicherheitskontaktelement darstellt. Links ist die Anschlußseite wiedergegeben und rechts ist das dem Anschluß entgegengesetzte Ende des Sicherheitskontaktelements dargestellt. In Fig. 7 sind die Kupferlitzen der leitenden Vorsprünge 6, die übereinander angeordnet sind, durch Parallelbügel 10 auf der rechten Seite der Figur miteinander verbunden. Auf der linken Seite sind die Anschlüsse, die dort mit den Kupferlitzen verbunden sind, mit a bis d bezeichnet. Sie werden alle benutzt, wenn ein vierartiger Anschluß mit der entsprechenden Technik gewählt wird. Wird ein zweiartiger Anschluß gewählt, dann werden die Anschlüsse c und d über einen Widerstand 11 oder eine Diode 12 überbrückt.
Fig. 8 unterscheidet sich von Fig. 7 lediglich dadurch, daß auf dem dem Anschluß abgewandten Ende des Sicherheitskontaktelements die Kupferlitzen 7 der Vorsprünge 6 diagonal über entsprechend Diagonalbrücken 13 miteinander verbunden sind. An der Anschlußseite kann wieder wahlweise eine Zwei- oder Vierdrahttechnik gewählt werden.
Fig. 9 zeigt dasselbe skizzierte Sicherheitskontaktelement wie die in den Fig. 7 und 8, allerdings mit geänderten Anschlüssen. Auf dem dem Anschluß entgegengesetzten Ende, also der rechten Seite der Figur, sind die vier Kupferlitzen 7 über je vier Dioden 12 oder Widerstände 11 miteinander verbunden. Auf der linken Seite werden alle Anschlüsse a bis d an einen vierkanaligen Auswerter angeschlossen.
Tabelle "Kontaktgabe/Winkelkrafteinwirkung" bei dem Schaltschema nach Fig. 7:
A und B = Kontaktgabe
Sektoren 1, 2 und 3, 4 verbunden
Winkel Sektor
1 2 3 4
0 A B B A
45 A A, B B
90 Keine A A B B
135 A A, B B
180 A B B A
225 A B A, B
270 Keine A A B B
315 A, B A B
360 A B B A
Tabelle "Kontaktgabe/Winkelkrafteinwirkung" bei dem Schaltschema nach Fig. 9:
A und B = Kontaktgabe
Winkel Sektor
1 2 3 4
0 A B B A
45 A A, B B
90 A A B B
135 A A, B B
180 A B B A
225 A B A, B
270 A A B B
315 A, B A B
360 A B B A

Claims (11)

  1. Sicherheitskontaktschiene (1) für kraftbetätigte Anlagen und dergleichen oder Sicherheitskontaktelement (2) als Schaltschlauch und dergleichen mit einem elastischen Hohlprofil (4), innerhalb dessen mehrere leistenartige, elektrisch leitende Vorsprünge (6) vorgesehen sind, die gegeneinander durch nicht leitende Querschnitte isoliert sind, wobei die leitenden Vorsprünge (6) bei gegenseitiger Berührung einen Schaltimpuls erzeugen,
    dadurch gekennzeichnet, daß zumindest vier leistenartige elektrisch leitende Vorsprünge (6) vorgesehen sind und daß diese Vorsprünge (6) gleichförmig ausgebildet und gleichmäßig innerhalb des Hohlprofils (4) verteilt angeordnet sind.
  2. Sicherheitskontaktschiene oder Sicherheitskontaktelement nach Anspruch 1,
    dadurch gekennzeichnet, daß die Querschnittsflächen der Vorsprünge (6) so gewählt und so angeordnet sind, daß sie punktsymmetrisch zur Mittelachse des Hohlprofils (4) verlaufen.
  3. Sicherheitskontaktschiene oder Sicherheitskontaktelement nach den Ansprüchen 1 oder 2,
    dadurch gekennzeichnet, daß die Querschnittsflächen der Vorsprünge (6) im wesentlichen durch zwei rechtwinklige Dreiecke mit unterschiedlich langen Schenkeln definierbar sind, wobei große Dreiecke mit ihren Hypotenusen mit dem Innenumfang des Hohlprofils (4) in Verbindung stehen oder den Außenumfang des Hohlprofils (4) bilden und die Hypotenusen entsprechend gekrümmt sind und wobei kleine Dreiecke sich an die langen Schenkel der großen Dreiecke so anlehnen, daß die kurzen Schenkel der großen und der kleinen Dreiecke eine Gerade bilden.
  4. Sicherheitskontaktschiene oder Sicherheitskontaktelement nach Anspruch 3,
    dadurch gekennzeichnet, daß an den Ecken zwischen den Hypotenusen und den kurzen Schenkeln der kleinen Dreiecke leistenartige Nasen (9) vorgesehen sind, die im wesentlichen in Verlängerung der Hypotenusen der kleinen Dreiecke verlaufen und die Flächen der kleinen Schenkel überragen.
  5. Sicherheitskontaktschiene oder Sicherheitskontaktelement nach einem der vorherigen Ansprüche,
    dadurch gekennzeichnet, daß innerhalb der leistenartigen Vorsprünge (6) zumindest ein elektrisch leitender Draht oder Litze (7) aus Metall, Kohle- bzw. Graphitphasern eingelagert ist.
  6. Sicherheitskontaktschiene oder Sicherheitskontaktelement nach einem der vorherigen Ansprüche,
    dadurch gekennzeichnet, daß die leistenartigen Vorsprünge (6) innerhalb von Hüllen (5) mit ringförmigem Querschnitt angeordnet sind, wobei die Hüllen (5) aus nicht gleitendem Material hergestellt sind.
  7. Sicherheitskontaktschiene oder Sicherheitskontaktelement nach einem der vorherigen Ansprüche,
    dadurch gekennzeichnet, daß die gekrümmten Hypotenusen der großen Dreiecke Außenumfangsbereiche des Hohlprofils (4) bilden und daß zwischen den leistenartigen Vorsprünge (6) nicht leitende Abschnitte vorgesehen sind.
  8. Sicherheitskontaktschiene oder Sicherheitskontaktelement nach einem der vorherigen Ansprüche,
    dadurch gekennzeichnet, daß die Sicherheitskontaktschiene (1) und das Sicherheitskontaktelement (2) mit dem elastischen Hohlprofil (4) aus extrudierbarem Material, insbesondere Gummi oder Polymeren, hergestellt und einstückig einschließlich ggf. eingebetteter Drähte oder Litzen (7), vorzugsweise als endloses Profil, extrudiert sind.
  9. Sicherheitskontaktschiene oder Sicherheitskontaktelement nach einem der vorherigen Ansprüche,
    dadurch gekennzeichnet, daß bei einseitigem elektrischen Anschluß der Sicherheitskontaktschiene (1) oder des Sicherheitskontaktelements (2) an dem dem Anschluß entgegengesetzten Ende bei vier leistenartigen Vorsprünge (6) diese diagonal mit zwei flexiblen Kontaktbrücken (13) elektrisch miteinander verbunden sind und an der Anschlußstelle wahlweise zwei nebeneinander gelagerte Vorsprünge (6) elektrisch angeschlossen sind und die beiden übrigen an der Anschlußseite mittels eines Widerstandes (11) oder einer Diode (12) überbrückt sind oder an der Anschlußstelle ein Auswerter in Vierdrahttechnik angeschlossen ist.
  10. Sicherheitskontaktschiene oder Sicherheitskontaktelement nach einem der vorherigen Ansprüche,
    dadurch gekennzeichnet, daß bei einseitigem elektrischen Anschluß der Sicherheitskontaktschiene (1) oder des Sicherheitskontaktelements (2) an dem dem Anschluß entgegengesetzten Ende bei vier leistenartigen Vorsprünge (6) diese parallel mit zwei flexiblen Kontaktbrücken (10) elektrisch miteinander verbunden sind und an der Anschlußstelle wahlweise zwei nebeneinander gelagerte Vorsprünge (6) elektrisch angeschlossen sind und die beiden übrigen an der Anschlußseite mittels eines Widerstandes (11) oder einer Diode (12) überbrückt sind oder an der Anschlußstelle ein Auswerter in Vierdrahttechnik angeschlossen ist.
  11. Sicherheitskontaktschiene oder Sicherheitskontaktelement nach einem der vorherigen Ansprüche,
    dadurch gekennzeichnet, daß bei einseitigem elektrischen Anschluß der Sicherheitskontaktschiene (1) oder des Sicherheitskontaktelements (2) an dem dem Anschluß entgegengesetzten Ende die elektrisch leitenden Vorsprünge (6) mit vier Widerständen (11) oder Dioden (12) flexibel miteinander verbunden sind und daß an der Anschlußseite ein vierkanaliger Auswerter angeschlossen ist.
EP99117389A 1998-10-07 1999-09-04 Sicherheitskontaktschiene oder Sicherheitskontaktelement Expired - Lifetime EP0993003B1 (de)

Applications Claiming Priority (3)

Application Number Priority Date Filing Date Title
DE19846081 1998-10-07
DE19846081A DE19846081A1 (de) 1998-10-07 1998-10-07 Sicherheitskontaktschiene oder Sicherheitskontaktelement
US09/549,139 US6429375B1 (en) 1998-10-07 2000-04-11 Safety contact rail or safety contact element

Publications (3)

Publication Number Publication Date
EP0993003A2 true EP0993003A2 (de) 2000-04-12
EP0993003A3 EP0993003A3 (de) 2001-01-10
EP0993003B1 EP0993003B1 (de) 2007-02-28

Family

ID=26049341

Family Applications (1)

Application Number Title Priority Date Filing Date
EP99117389A Expired - Lifetime EP0993003B1 (de) 1998-10-07 1999-09-04 Sicherheitskontaktschiene oder Sicherheitskontaktelement

Country Status (5)

Country Link
US (1) US6429375B1 (de)
EP (1) EP0993003B1 (de)
AT (1) ATE355595T1 (de)
DE (2) DE19846081A1 (de)
ES (1) ES2281947T3 (de)

Cited By (2)

* Cited by examiner, † Cited by third party
Publication number Priority date Publication date Assignee Title
EP2532820A3 (de) * 2011-06-06 2015-04-22 Mayser GmbH & Co. KG Hohlprofil für eine elektrische Schaltleiste und Verfahren zum Erfassen von Hindernissen mit einer elektrischen Schaltleiste
CN107437442A (zh) * 2017-07-27 2017-12-05 安徽新沪电缆有限公司 一种电气装备用智能控制电缆

Families Citing this family (4)

* Cited by examiner, † Cited by third party
Publication number Priority date Publication date Assignee Title
DE102005016929A1 (de) * 2005-04-13 2006-10-19 Menz, Jürgen Sicherheitsschaltprofil
DE102012003382A1 (de) 2012-02-22 2013-08-22 Jürgen Menz Sicherheitsschalteinrichtung
JP7037721B2 (ja) * 2017-12-08 2022-03-17 日立金属株式会社 感圧センサおよび感圧センサの製造方法
JP6341346B1 (ja) * 2018-02-15 2018-06-13 日立金属株式会社 挟み込み検知スイッチ

Family Cites Families (8)

* Cited by examiner, † Cited by third party
Publication number Priority date Publication date Assignee Title
EP0353332B2 (de) * 1988-08-05 1997-09-03 Karlheinz Beckhausen Sicherheitskontaktschiene
DE3921533A1 (de) * 1989-06-30 1991-01-03 Karlheinz Beckhausen Sicherheitskontaktschiene
DE19509682C1 (de) * 1994-09-05 1996-02-29 Dancho Zochev Dipl Ing Donkov Auflaufsicherung
DE19502033C1 (de) * 1995-01-25 1996-06-13 Daimler Benz Ag Schutzeinrichtung für ein mittels eines Antriebs betätigbares Schließteil eines Kraftfahrzeugs
DE19602744C2 (de) * 1996-01-19 1999-04-29 Mayser Gmbh & Co Sicherheitsschaltleistenanordnung
DE19701412A1 (de) * 1997-01-17 1998-07-23 Dewitron Elektronik Gmbh Bandförmige und flexible Schaltungsanordnungen
DE19711600A1 (de) * 1997-03-20 1998-09-24 Karlheinz Beckhausen Sicherheitskontaktelement
EP0935268A3 (de) * 1998-02-09 2000-09-06 Shinmei Rubber Ind. Co., Ltd. Omnidirektioneller Kabelschalter

Cited By (2)

* Cited by examiner, † Cited by third party
Publication number Priority date Publication date Assignee Title
EP2532820A3 (de) * 2011-06-06 2015-04-22 Mayser GmbH & Co. KG Hohlprofil für eine elektrische Schaltleiste und Verfahren zum Erfassen von Hindernissen mit einer elektrischen Schaltleiste
CN107437442A (zh) * 2017-07-27 2017-12-05 安徽新沪电缆有限公司 一种电气装备用智能控制电缆

Also Published As

Publication number Publication date
ATE355595T1 (de) 2006-03-15
DE59914217D1 (de) 2007-04-12
US6429375B1 (en) 2002-08-06
EP0993003B1 (de) 2007-02-28
EP0993003A3 (de) 2001-01-10
DE19846081A1 (de) 2000-04-13
ES2281947T3 (es) 2007-10-01

Similar Documents

Publication Publication Date Title
DE3103305C2 (de) Elektrisch schweißbare Muffe zum Verbinden von Leitungselementen
DE2729067A1 (de) Elektrisches mittel- oder hochspannungskabel
DE3202854C2 (de) Elektrisch leitfähige Schlauchleitung
DE3884459T2 (de) Ununterbrochener biegsamer elektrischer Leiter, funktionsfähig wie ein elektrischer Schalter.
EP0993003A2 (de) Sicherheitskontaktschiene oder Sicherheitskontaktelement
EP1451497B1 (de) Kunststoffschlauch, insbesondere pneumatikschlauch
DE3408251C2 (de)
DE2347927B2 (de) Steuerelektrode fuer einen im wesentlichen trichterfoermigen stuetzisolator einer gekapselten, gasisolierten rohrleitung
EP0654575A1 (de) Sicherheitskontaktschiene mit Schutzschicht
CH662901A5 (de) Verfahren zur herstellung eines elektrischen kunststoffisolators und nach dem verfahren hergestellter kunststoffisolator.
DE2925853C2 (de) Verfahren zum festen Anspritzen eines Kupplungsteils an eine elektrische Leitung
DE19744527A1 (de) Isolierter Kunststoff-Leiter
DE19711600A1 (de) Sicherheitskontaktelement
DE2714275C2 (de)
DE3439943A1 (de) Klemme zur halterung von leiterplatten im galvenikbad
DE10323533A1 (de) Klemme für chirurgische Anwendungen
DE3211540A1 (de) Miniaturisierte stromschiene hoher kapazitanz und verfahren zur herstellung derselben
DE4124841C2 (de) Mehrlagige elektrische und/oder optische Leitung
DE3743270C2 (de) Garnitur zum Anschluß eines Starkstromkabels an ein elektrisches Gerät
DE102018210659A1 (de) Kabelstrang sowie Kraftfahrzeug mit einem Kabelstrang
DE8632797U1 (de) Elektrischer Steckverbinder mit festangeschlossener Leitung
DE9308344U1 (de) Sicherheits-Kontaktschiene
DE7635629U1 (de) Distanzhalter für durch Schutzrohre hindurchgeführte Rohre
DE1790020C (de) Vorrichtung zur Verbindung von zwei steifen elektrischen Leitern
DE19638766A1 (de) Handlauf

Legal Events

Date Code Title Description
PUAI Public reference made under article 153(3) epc to a published international application that has entered the european phase

Free format text: ORIGINAL CODE: 0009012

AK Designated contracting states

Kind code of ref document: A2

Designated state(s): AT BE CH CY DE DK ES FI FR GB GR IE IT LI LU MC NL PT SE

AX Request for extension of the european patent

Free format text: AL;LT;LV;MK;RO;SI

PUAL Search report despatched

Free format text: ORIGINAL CODE: 0009013

AK Designated contracting states

Kind code of ref document: A3

Designated state(s): AT BE CH CY DE DK ES FI FR GB GR IE IT LI LU MC NL PT SE

AX Request for extension of the european patent

Free format text: AL;LT;LV;MK;RO;SI

17P Request for examination filed

Effective date: 20010530

AKX Designation fees paid

Free format text: AT BE CH CY DE DK ES FI FR GB GR IE IT LI LU MC NL PT SE

17Q First examination report despatched

Effective date: 20040924

GRAP Despatch of communication of intention to grant a patent

Free format text: ORIGINAL CODE: EPIDOSNIGR1

GRAS Grant fee paid

Free format text: ORIGINAL CODE: EPIDOSNIGR3

GRAA (expected) grant

Free format text: ORIGINAL CODE: 0009210

AK Designated contracting states

Kind code of ref document: B1

Designated state(s): AT BE CH CY DE DK ES FI FR GB GR IE IT LI LU MC NL PT SE

PG25 Lapsed in a contracting state [announced via postgrant information from national office to epo]

Ref country code: NL

Free format text: LAPSE BECAUSE OF FAILURE TO SUBMIT A TRANSLATION OF THE DESCRIPTION OR TO PAY THE FEE WITHIN THE PRESCRIBED TIME-LIMIT

Effective date: 20070228

Ref country code: IE

Free format text: LAPSE BECAUSE OF FAILURE TO SUBMIT A TRANSLATION OF THE DESCRIPTION OR TO PAY THE FEE WITHIN THE PRESCRIBED TIME-LIMIT

Effective date: 20070228

Ref country code: FI

Free format text: LAPSE BECAUSE OF FAILURE TO SUBMIT A TRANSLATION OF THE DESCRIPTION OR TO PAY THE FEE WITHIN THE PRESCRIBED TIME-LIMIT

Effective date: 20070228

Ref country code: DK

Free format text: LAPSE BECAUSE OF FAILURE TO SUBMIT A TRANSLATION OF THE DESCRIPTION OR TO PAY THE FEE WITHIN THE PRESCRIBED TIME-LIMIT

Effective date: 20070228

REG Reference to a national code

Ref country code: GB

Ref legal event code: FG4D

Free format text: NOT ENGLISH

REG Reference to a national code

Ref country code: CH

Ref legal event code: EP

REF Corresponds to:

Ref document number: 59914217

Country of ref document: DE

Date of ref document: 20070412

Kind code of ref document: P

REG Reference to a national code

Ref country code: IE

Ref legal event code: FG4D

Free format text: LANGUAGE OF EP DOCUMENT: GERMAN

REG Reference to a national code

Ref country code: CH

Ref legal event code: NV

Representative=s name: R. A. EGLI & CO. PATENTANWAELTE

REG Reference to a national code

Ref country code: SE

Ref legal event code: TRGR

GBT Gb: translation of ep patent filed (gb section 77(6)(a)/1977)

Effective date: 20070531

PG25 Lapsed in a contracting state [announced via postgrant information from national office to epo]

Ref country code: PT

Free format text: LAPSE BECAUSE OF FAILURE TO SUBMIT A TRANSLATION OF THE DESCRIPTION OR TO PAY THE FEE WITHIN THE PRESCRIBED TIME-LIMIT

Effective date: 20070730

NLV1 Nl: lapsed or annulled due to failure to fulfill the requirements of art. 29p and 29m of the patents act
ET Fr: translation filed
REG Reference to a national code

Ref country code: ES

Ref legal event code: FG2A

Ref document number: 2281947

Country of ref document: ES

Kind code of ref document: T3

REG Reference to a national code

Ref country code: IE

Ref legal event code: FD4D

PLBE No opposition filed within time limit

Free format text: ORIGINAL CODE: 0009261

STAA Information on the status of an ep patent application or granted ep patent

Free format text: STATUS: NO OPPOSITION FILED WITHIN TIME LIMIT

26N No opposition filed

Effective date: 20071129

BERE Be: lapsed

Owner name: BECKHAUSEN, KARLHEINZ

Effective date: 20070930

PG25 Lapsed in a contracting state [announced via postgrant information from national office to epo]

Ref country code: MC

Free format text: LAPSE BECAUSE OF NON-PAYMENT OF DUE FEES

Effective date: 20070930

Ref country code: GR

Free format text: LAPSE BECAUSE OF FAILURE TO SUBMIT A TRANSLATION OF THE DESCRIPTION OR TO PAY THE FEE WITHIN THE PRESCRIBED TIME-LIMIT

Effective date: 20070529

PG25 Lapsed in a contracting state [announced via postgrant information from national office to epo]

Ref country code: BE

Free format text: LAPSE BECAUSE OF NON-PAYMENT OF DUE FEES

Effective date: 20070930

PG25 Lapsed in a contracting state [announced via postgrant information from national office to epo]

Ref country code: CY

Free format text: LAPSE BECAUSE OF FAILURE TO SUBMIT A TRANSLATION OF THE DESCRIPTION OR TO PAY THE FEE WITHIN THE PRESCRIBED TIME-LIMIT

Effective date: 20070228

PG25 Lapsed in a contracting state [announced via postgrant information from national office to epo]

Ref country code: LU

Free format text: LAPSE BECAUSE OF NON-PAYMENT OF DUE FEES

Effective date: 20070904

REG Reference to a national code

Ref country code: GB

Ref legal event code: 732E

Free format text: REGISTERED BETWEEN 20100826 AND 20100901

REG Reference to a national code

Ref country code: CH

Ref legal event code: PUE

Owner name: GELBAU GMBH & CO. KG

Free format text: BECKHAUSEN, KARLHEINZ#LANDGRAFENSTRASSE 109#50931 KOELN (DE) -TRANSFER TO- GELBAU GMBH & CO. KG#GRANDKAULE 8-10#53859 NIEDERKASSEL (DE)

REG Reference to a national code

Ref country code: FR

Ref legal event code: TP

REG Reference to a national code

Ref country code: FR

Ref legal event code: PLFP

Year of fee payment: 18

REG Reference to a national code

Ref country code: FR

Ref legal event code: PLFP

Year of fee payment: 19

REG Reference to a national code

Ref country code: DE

Ref legal event code: R082

Ref document number: 59914217

Country of ref document: DE

Representative=s name: GOSDIN, CARSTENSEN & PARTNER PATENTANWAELTE PA, DE

Ref country code: DE

Ref legal event code: R082

Ref document number: 59914217

Country of ref document: DE

Representative=s name: CARSTENSEN & CARSTENSEN PATENTANWAELTE PARTG M, DE

REG Reference to a national code

Ref country code: FR

Ref legal event code: PLFP

Year of fee payment: 20

PGFP Annual fee paid to national office [announced via postgrant information from national office to epo]

Ref country code: DE

Payment date: 20180927

Year of fee payment: 20

Ref country code: FR

Payment date: 20180925

Year of fee payment: 20

PGFP Annual fee paid to national office [announced via postgrant information from national office to epo]

Ref country code: AT

Payment date: 20180830

Year of fee payment: 20

Ref country code: SE

Payment date: 20180917

Year of fee payment: 20

REG Reference to a national code

Ref country code: DE

Ref legal event code: R082

Ref document number: 59914217

Country of ref document: DE

Representative=s name: GOSDIN, CARSTENSEN & PARTNER PATENTANWAELTE PA, DE

PGFP Annual fee paid to national office [announced via postgrant information from national office to epo]

Ref country code: IT

Payment date: 20180927

Year of fee payment: 20

Ref country code: ES

Payment date: 20181001

Year of fee payment: 20

Ref country code: GB

Payment date: 20181001

Year of fee payment: 20

Ref country code: CH

Payment date: 20181224

Year of fee payment: 20

REG Reference to a national code

Ref country code: DE

Ref legal event code: R071

Ref document number: 59914217

Country of ref document: DE

REG Reference to a national code

Ref country code: CH

Ref legal event code: PL

REG Reference to a national code

Ref country code: GB

Ref legal event code: PE20

Expiry date: 20190903

REG Reference to a national code

Ref country code: AT

Ref legal event code: MK07

Ref document number: 355595

Country of ref document: AT

Kind code of ref document: T

Effective date: 20190904

REG Reference to a national code

Ref country code: SE

Ref legal event code: EUG

PG25 Lapsed in a contracting state [announced via postgrant information from national office to epo]

Ref country code: GB

Free format text: LAPSE BECAUSE OF EXPIRATION OF PROTECTION

Effective date: 20190903

REG Reference to a national code

Ref country code: ES

Ref legal event code: FD2A

Effective date: 20220127

PG25 Lapsed in a contracting state [announced via postgrant information from national office to epo]

Ref country code: ES

Free format text: LAPSE BECAUSE OF EXPIRATION OF PROTECTION

Effective date: 20190905