EP0940633B1 - Dunstabzugshaube - Google Patents

Dunstabzugshaube Download PDF

Info

Publication number
EP0940633B1
EP0940633B1 EP99104376A EP99104376A EP0940633B1 EP 0940633 B1 EP0940633 B1 EP 0940633B1 EP 99104376 A EP99104376 A EP 99104376A EP 99104376 A EP99104376 A EP 99104376A EP 0940633 B1 EP0940633 B1 EP 0940633B1
Authority
EP
European Patent Office
Prior art keywords
air
flaps
extractor hood
fume extractor
fan
Prior art date
Legal status (The legal status is an assumption and is not a legal conclusion. Google has not performed a legal analysis and makes no representation as to the accuracy of the status listed.)
Expired - Lifetime
Application number
EP99104376A
Other languages
English (en)
French (fr)
Other versions
EP0940633A3 (de
EP0940633A2 (de
Inventor
Hans-Gerd Dipl.-Ing. Keller
Egon Dipl.-Ing. Feisthammel (FH)
Current Assignee (The listed assignees may be inaccurate. Google has not performed a legal analysis and makes no representation or warranty as to the accuracy of the list.)
BSH Hausgeraete GmbH
Original Assignee
BSH Bosch und Siemens Hausgeraete GmbH
Priority date (The priority date is an assumption and is not a legal conclusion. Google has not performed a legal analysis and makes no representation as to the accuracy of the date listed.)
Filing date
Publication date
Application filed by BSH Bosch und Siemens Hausgeraete GmbH filed Critical BSH Bosch und Siemens Hausgeraete GmbH
Publication of EP0940633A2 publication Critical patent/EP0940633A2/de
Publication of EP0940633A3 publication Critical patent/EP0940633A3/de
Application granted granted Critical
Publication of EP0940633B1 publication Critical patent/EP0940633B1/de
Anticipated expiration legal-status Critical
Expired - Lifetime legal-status Critical Current

Links

Images

Classifications

    • FMECHANICAL ENGINEERING; LIGHTING; HEATING; WEAPONS; BLASTING
    • F24HEATING; RANGES; VENTILATING
    • F24CDOMESTIC STOVES OR RANGES ; DETAILS OF DOMESTIC STOVES OR RANGES, OF GENERAL APPLICATION
    • F24C15/00Details
    • F24C15/20Removing cooking fumes

Definitions

  • the invention relates to an extractor hood according to the preamble of claim 1.
  • An extractor hood of this type is from the utility model DE-GM 78 02 041 U1 known.
  • the radial fan housings are each about one Third of its scope open. Your open pages face each other. Between they have vertical swivel axes of two flaps. With recirculation mode of the flaps they extend in front of a vertical plane in which the two Rotation axes of the radial fans lie in the radial fans in close to them Rotors and thereby prevent their air flows between the two rotors can get into the rear part of the extractor hood.
  • the flaps When the flaps are in the exhaust mode, their free ends extend forward to a front opening edge of the blower housing, so that the Air flows from both radial fans between their rotors into the rear Guide part of the extractor hood.
  • the rotor of the radial fan arranged on the right seen in plan view rotates clockwise, and the rotor of the left one Radial blower seen from above in a counterclockwise direction.
  • the blowers have spiral casings through which the one formed between them and their rotors Distance in the direction of rotor rotation is increasingly wider.
  • a radial fan with spiral casing of this type is also from the utility model DE-G 83 08 512.2 U1 known.
  • the bottom of the extractor hoods is usually through one Grid or perforated plate or another air-permeable plate-like element is formed, over which a grease filter is arranged.
  • DE utility model 1 987 333 is an extractor hood with a grease filter, an odor filter with activated carbon known for separating odors and a fan, which in this order are arranged in a housing.
  • DE utility model 91 05 430.3 an extractor hood is known, in which a fan in the air flow path is arranged between a grease filter and an odor filter.
  • Recirculation mode means that the extracted from the extractor hood over a hotplate in a kitchen Air after passing through the grease filter and any Odor filter is poured back into the kitchen.
  • Exhaust air operation means that the air cleaned in the extractor hood from the kitchen into the Free is headed.
  • Extractor hoods according to the invention are used in particular as undercounter hoods Use, which can be mounted under an upper cabinet, which over a hotplate is arranged in the kitchen.
  • the object of the invention is to be achieved with a technically simple one Construction to improve the efficiency of the extractor hood.
  • the air flow paths of the two fans are separated from one another by the invention kept separate until they flow out of the blowers. Outside the blower Avoided in each mode that the air flows of the two fans against each other plump. As a result, both on the air intake side and on the air discharge side of the two fans prevents the fans from working against each other and thereby losing energy for air transportation.
  • the invention has the advantage that the extractor hood is a simple one Construction with few parts.
  • the extractor hood can be manufactured in this way by the factory that they can be easily selected without the need for many additional parts can be used for recirculation mode or for exhaust air mode.
  • Another The advantage of the invention is that the flaps for both recirculation mode and exhaust air mode serve as walls to limit the air flow, and in the recirculation mode additionally as partitions between the fan outlet air flows and one rear area of the extractor hood.
  • the flaps are over their Swivel axes extended to the rear by air guiding elements.
  • These air control elements are preferably connected to the flaps or are made to move together with them from a single piece of material so that they are each together can be pivoted with the flaps.
  • the air guiding elements serve a similar purpose like the flaps both in the recirculation mode and in the exhaust mode of the flaps as side walls of the air flows. This is not necessary with these guide elements Requirement that different additional elements are required for recirculation mode and for exhaust air mode become.
  • Figures 1, 2 and 3 each schematically show a horizontal plan view Cross section through an extractor hood 2 according to the invention along the plane I-I from Fig.4.
  • the extractor hood 2 has a housing 4 with a front wall 6, Side walls 7, a rear wall 8, a top wall 10 and a bottom 12.
  • a left radial blower 14 and a right radial blower are located side by side 16, the vertical of which are arranged parallel and spaced apart Rotor axes of rotation 18 and 20 are shown schematically.
  • the extractor hood 2 is arranged above a hotplate, not shown, in a kitchen.
  • the blowers 14 and 16 suck through the air-permeable floor 12 haze or air into the Housing 4 and in the housing 4 by a grease filter, not shown, and, if desired, through an odor filter, and then drive the cleaned air depending on the setting the extractor hood 2 in recirculation mode through recirculation outlet openings 22 and 24 in the front area of the ceiling 10 back into the kitchen according to FIG. 3; or in exhaust air operation according to FIG. 1 through a ceiling exhaust air opening 26 in the ceiling 10 and an unillustrated exhaust pipe from the kitchen connected to it out into the open; or according to an exhaust air operation variant shown in FIG through a rear wall exhaust opening 28 of the rear wall 8 and an attached, Exhaust duct, not shown, from the kitchen to the outside.
  • the bottom 12 is air-permeable in the suction area of the blowers 14 and 16, for example formed by expanded metal or a perforated plate or grid.
  • the rotors 30 and 32 of the radial blowers 14 and 16 each convey the air tangentially through an air outlet opening 34 and 36 in parallel air flows 38 and 39 from front to back.
  • the left rotor rotates counterclockwise 40 and the right rotor 32 rotates clockwise 41, as seen in plan view.
  • the housing 42 and 44 of the two fans 14 and 16 are facing each other on their Sides from front to back are curved and converging then through a common partition 48 to the rear to one behind the Extended rotors 30 and 32 located area where on both sides of the partition 48 in rear blower area opening edges 50 and 52 of the housing are arranged. These opening edges 50 and 52 form together with that arranged between them Partition 48 lateral boundaries of the air outlet openings 34 and 36.
  • blower duct 54 and 55 which increases in the direction of rotation of the rotor is formed.
  • Flaps 60 and 62 are about pivot axes 61 and 63 between one in the figures 1 and 2 shown exhaust air operating position and one shown in Fig.3 Recirculation mode position swiveling.
  • the pivot axes 61 and 63 are parallel to the rotor axes 18 and 20 arranged vertically.
  • the pivot axes 61 and 63 are located far behind the opening edges 50 and 52.
  • the flaps 60 and 62 have such a size that they are in position for exhaust air operation according to FIGS and 2 as far as the fan housings 42 and 44 and one between them
  • Exhaust duct section 64 which extends from the air outlet openings 34 and 36 of the two fans extends to the rear.
  • Each flap 60 and 62 is through an air baffle 66 and 68 to the opposite Swing axis side extended.
  • Exhaust air operating position of the flaps extends that of flaps 60 and 62 exhaust air section 64 bounded on both sides to the rear up to the rear wall 8, where the rear wall exhaust air opening 28 is located between the air guiding elements 66 and 68. 1, the rear wall exhaust opening 28 is closed while it is open in the exhaust air operation shown in Fig.2.
  • the air guiding elements 66 and 68 form the side walls of the one delimited by them on both sides in FIGS Abluftwegabiteses.
  • the ceiling exhaust air opening 26 is located between the pivot axes 61 and 63 the flaps 60 and 64 and is open in the exhaust air operation of Fig.1, but in the Exhaust mode variant of Fig. 2 closed.
  • an air guide 70 is used, which the of the flaps 60 and 62 limited exhaust air section 64 deflected upwards and extended to the ceiling exhaust opening 26.
  • the air guiding elements 66 and 68 are connected with their flaps 60 and 62 in a manner fixed against movement, consist, for example, of a single one together with their flap Piece of material so that they are together with the flaps 60 and 62 respectively Pivot axes 61 and 63 are pivotable.
  • the ceiling exhaust opening 26 and the rear wall exhaust opening 28 remain during the Production of the housing 4 is preferably closed and perforated marked at which the removable opening area can be separated.
  • the exhaust openings 26 and 28 can already at Formed housing production and then optionally closed with a closure element become.
  • flaps 60 and 62 are put together for the recirculation mode shown in FIG with their air guide elements 66 and 68 about the pivot axes 61 and 63 in the in Fig.3 position shown rotated. In this position, flaps 60 and 62 extend of their pivot axes 61 and 63 towards each other, so that they the exhaust duct section 36 close the back by placing their free flap ends 72 and 73 close together lie at a distance behind the rear end 74 of the partition 48. Die Air guiding elements 66 and 68 extend in FIG.
  • the two air circulation ducts are identified by arrows 82 and 84 in FIG.
  • the air circulation ducts 82 and 84 extend in a horizontal plane.
  • the air of the left blower 14 flows from its air outlet opening 34 only to those located in front of the blowers on the left Forced air outlet openings 22.
  • the air of the right blower 16 flows from whose air outlet opening 36 only to the circulating air outlet openings arranged on the right in front of the fans 24th
  • a good degree of efficiency is achieved by the invention because the air currents two blowers 14 and 16 neither in the area of their air outlet openings 34 and 36 still at the end of the flow path at the circulating air outlet openings 22 and 24 to disturb.
  • Another advantage is that through the partition 48 between the two blowers 14 and 16, the flow path within these blowers 14 and 16 extends over the full 360 degrees of the housing circumference and thus the blowers have a long flow path within their housing in which they can develop their support.
  • the flow conditions of the blowers 14 and 16 remain for exhaust air operation according to FIGS. 1 and 2 and for recirculated air operation according to FIG. 3 each the same, because in both modes of operation the air outlet openings 34 and 36 between the rear end 74 of the partition 48 and the opening edges 50 and 52 remains unchanged.

Landscapes

  • Engineering & Computer Science (AREA)
  • Chemical & Material Sciences (AREA)
  • Combustion & Propulsion (AREA)
  • Mechanical Engineering (AREA)
  • General Engineering & Computer Science (AREA)
  • Ventilation (AREA)

Description

Die Erfindung betrifft eine Dunstabzugshaube gemäß dem Oberbegriff von Anspruch 1.
Eine Dunstabzugshaube dieser Art ist aus dem Gebrauchsmuster DE-GM 78 02 041 U1 bekannt. In ihr sind zwei Radialgebläse mit vertikalen Rotationsachsen parallel nebeneinander angeordnet. Die Gehäuse der Radialgebläse sind je über ungefähr ein Drittel ihres Umfanges offen. Ihre offenen Seiten sind einander zugewandt. Zwischen ihnen befinden sich vertikale Schwenkachsen von zwei Klappen. Bei Umluftbetrieb-Stellung der Klappen erstrecken sie sich vor einer Vertikalebene, in welcher die beiden Rotationsachsen der Radialgebläse liegen, in die Radialgebläse hinein bis nahe zu deren Rotoren und verhindern dadurch, daß deren Luftströme zwischen den beiden Rotoren hindurch in den hinteren Teil der Dunstabzugshaube gelangen können. Die Luftströme der beiden Radialgebläse prallen vor den Klappen frontal gegeneinander und strömen dann durch eine gelochte Deckenplatte im vorderen Abschnitt der Dunstabzugshaube. Bei Abluftbetrieb-Stellung der Klappen erstrecken sich ihre freien Enden nach vorne bis zu einem vorderen Öffnungsrand der Gebläsegehäuse, so daß sie die Luftströme von beiden Radialgebläsen zwischen deren Rotoren hindurch in den hinteren Teil der Dunstabzugshaube leiten. Der Rotor des rechts angeordneten Radialgebläses dreht sich in Draufsicht gesehen im Uhrzeigersinn, und der Rotor des links angeordneten Radialgebläses in Draufsicht gesehen im Gegenuhrzeigersinn. Die Gebläse haben Spiralgehäuse, durch welche der zwischen ihnen und ihren Rotoren gebildete Abstand in Rotordrehrichtung zunehmend breiter ausgebildet ist. Ein Radialgebläse mit Spiralgehäuse dieser Art ist auch aus dem Gebrauchsmuster DE-G 83 08 512.2 U1 bekannt. Der Boden der Dunstabzugshauben ist normalerweise durch ein Gitter oder Lochblech oder ein anderes luftdurchlässiges plattenartiges Element gebildet, über welchem ein Fettfilter angeordnet ist. Aus dem DE-Gebrauchsmuster 1 987 333 ist eine Dunstabzugshaube mit einem Fettfilter, einem Geruchsfilter mit Aktivkohle zum Abscheiden von Gerüchen und einem Gebläse bekannt, welche in dieser Reihenfolge in einem Gehäuse angeordnet sind. Aus dem DE-Gebrauchsmuster 91 05 430.3 ist eine Dunstabzugshaube bekannt, bei welcher ein Gebläse im Luftströmungsweg zwischen einem Fettfilter und einem Geruchsfilter angeordnet ist. "Umluftbetrieb" bedeutet, daß die von der Dunstabzugshaube über einer Kochstelle in einer Küche abgesaugte Luft, nachdem sie durch den Fettfilter und den gegebenenfalls vorhandenen Geruchsfilter geströmt ist, wieder in die Küche zurückgeleitet wird. "Abluftbetrieb" bedeutet, daß die in der Dunstabzugshaube gereinigte Luft aus der Küche heraus in das Freie geleitet wird.
Dunstabzugshauben gemäß der Erfindung finden insbesondere als Unterbauhauben Verwendung, welche unter einen Oberschrank montiert werden können, welcher über einer Kochstelle in der Küche angeordnet ist.
Durch die Erfindung soll die Aufgabe gelöst werden, mit einer technisch einfachen Konstruktion den Wirkungsgrad der Dunstabzugshaube zu verbessern.
Diese Aufgabe wird gemäß der Erfindung durch die Merkmale von Anspruch 1 gelöst.
Durch die Erfindung werden die Luftströmungswege der beiden Gebläse voneinander getrennt gehalten, bis sie aus den Gebläsen ausströmen. Außerhalb der Gebläse wird bei jeder Betriebsart vermieden, daß die Luftströme der beiden Gebläse gegeneinander prallen. Dadurch wird sowohl auf der Lufteinzugsseite als auch auf der Luftabgabeseite der beiden Gebläse verhindert, daß die Gebläse gegeneinander arbeiten und dadurch Energie für die Luftförderung verloren geht.
Gleichzeitig hat die Erfindung den Vorteil, daß die Dunstabzugshaube eine einfache Konstruktion mit wenigen Teilen ist. Die Dunstabzugshaube kann fabrikseitig so hergestellt werden, daß sie ohne viele Zusatzteile zu benötigen auf einfache Weise wahlweise für Umluftbetrieb oder für Abluftbetrieb verwendet werden kann. Ein weiterer Vorteil der Erfindung ist, daß die Klappen sowohl für Umluftbetrieb als auch für Abluftbetrieb als Wände zur Begrenzung der Luftströmung dienen, und bei Umluftbetriebs-Stellung zusätzlich als Trennwände zwischen den Gebläse-Auslaßluftströmen und einem hinteren Bereich der Dunstabzugshaube wirken.
Gemäß einer besonderen Ausführungsform der Erfindung sind die Klappen über ihre Schwenkachsen hinaus nach hinten durch Luftleitelemente verlängert. Diese Luftleitelemente sind vorzugsweise mit den Klappen bewegungsfest verbunden oder bestehen zusammen mit ihnen aus einem einzigen Materialstück, so daß sie jeweils zusammen mit den Klappen verschwenkt werden. Die Luftleitelemente dienen ähnlich wie die Klappen sowohl in Umluftbetriebs-Stellung als auch in Abluftbetriebs-Stellung der Klappen als Seitenwände der Luftströme. Durch diese Leitelemente entfällt das Erfordernis, daß für Umluftbetrieb und für Abluftbetrieb je andere Zusatzelemente benötigt werden.
Weitere Merkmale der Erfindung sind in den Unteransprüchen enthalten.
Die Erfindung wird im folgenden mit Bezug auf die Zeichnungen anhand einer bevorzugten Ausführungsform als Beispiel beschrieben.
Fig.1
schematisch in Draufsicht einen Horizontalschnitt durch eine Dunstabzugshaube nach der Erfindung bei Abluftbetrieb mit durch eine Gehäusedecke nach oben abgeleiteter Abluft,
Fig.2
schematisch in Draufsicht einen Horizontalschnitt durch die Dunstabzugshaube von Fig.1 bei Abluftbetrieb mit Abführung der Abluft durch eine Rückwand der Dunstabzugshaube,
Fig.3
schematisch eine Draufsicht auf einen Horizontalschnitt der Dunstabzugshaube nach den Figuren 1 und 2 bei Umluftbetrieb,
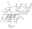
Fig.4
verkleinert und perspektivisch eine Außenansicht der Dunstabzugshaube der Figuren 1 bis 3.
Die Figuren 1,2 und 3 zeigen je schematisch und in Draufsicht einen horizontalen Querschnitt durch eine Dunstabzugshaube 2 nach der Erfindung längs der Ebene I-I von Fig.4.
Gemäß Fig.4 hat die Dunstabzugshaube 2 ein Gehäuse 4 mit einer Vorderwand 6, Seitenwänden 7, einer Rückwand 8, einer Deckwand 10 und einem Boden 12. Im Gehäuse 4 befinden sich nebeneinander ein linkes Radialgebläse 14 und ein rechtes Radialgebläse 16, deren parallel mit Abstand nebeneinander angeordneten vertikalen Rotor-Rotationsachsen 18 und 20 schematisch dargestellt sind. Die Dunstabzugshaube 2 ist über einer nicht dargestellten Kochstelle in einer Küche angeordnet. Die Gebläse 14 und 16 saugen durch den luftdurchlässigen Boden 12 Dunst oder Luft in das Gehäuse 4 und im Gehäuse 4 durch einen nicht dargestellten Fettfilter sowie, falls gewünscht, durch einen Geruchsfilter, und treiben dann die gereinigte Luft je nach Einstellung der Dunstabzugshaube 2 bei Umluftbetrieb durch Umluft-Auslaßöffnungen 22 und 24 im vorderen Bereich der Decke 10 wieder in die Küche zurück gemäß Fig.3; oder bei Abluftbetrieb gemäß Fig.1 durch eine Decken-Abluftöffnung 26 in der Decke 10 und eine nicht dargestellte, an sie angeschlossene Abluftleitung aus der Küche heraus in das Freie; oder gemäß einer in Fig.2 dargestellten Abluftbetriebs-Variante durch eine Rückwand-Abluftöffnung 28 der Rückwand 8 und eine daran angeschlossene, nicht dargestellte Abluftleitung aus der Küche heraus in das Freie.
Der Boden 12 ist im Ansaugbereich der Gebläse 14 und 16 luftdurchlässig, beispielsweise durch Streckmetall oder eine Lochplatte oder Gitter gebildet.
Die Rotoren 30 und 32 der Radialgebläse 14 und 16 fördern die Luft tangential je durch eine Luftauslaßöffnung 34 bzw. 36 in zueinander parallelen Luftströmen 38 und 39 von vorne nach hinten. Der linke Rotor dreht sich im Gegenuhrzeigersinnn 40 und der rechte Rotor 32 dreht sich im Uhrzeigersinn 41, je in Draufsicht gesehen. Die Gehäuse 42 bzw. 44 der beiden Gebläse 14 und 16 sind auf ihren einander zugewandten Seiten von vorne nach hinten bogenförmig aufeinander zulaufend ausgebildet und dann durch eine ihnen gemeinsame Trennwand 48 nach hinten bis in einen hinter den Rotoren 30 und 32 gelegenen Bereich verlängert, wo beidseitig der Trennwand 48 im hinteren Gebläsebereich Öffnungsränder 50 und 52 der Gehäuse angeordnet sind. Diese Öffnungsränder 50 und 52 bilden zusammen mit der zwischen ihnen angeordneten Trennwand 48 seitliche Begrenzungen der Luftaustrittsöffnungen 34 und 36.
Zwischen den Rotoren 30 und 32 und ihren spiralförmigen Gehäusen 42 und 44 ist je ein sich in Rotordrehrichtung vergrößernder Gebläsekanal 54 und 55 gebildet.
Klappen 60 und 62 sind um Schwenkachsen 61 und 63 zwischen einer in den Figuren 1 und 2 dargestellten Abluftbetriebs-Stellung und einer in Fig.3 dargestellten Umluftbetriebs-Stellung schwenkbar. Die Schwenkachsen 61 und 63 sind parallel zu den Rotorachsen 18 und 20 vertikal angeordnet. Die Schwenkachsen 61 und 63 befinden sich mit Abstand hinter den Öffnungsrändern 50 und 52. Die Klappen 60 und 62 haben eine solche Größe, daß sie in Stellung für Abluftbetrieb gemäß den Figuren 1 und 2 bis an die Gebläsegehäuse 42 bzw. 44 heranreichen und zwischen sich einen Abluftkanalabschnitt 64 begrenzen, welcher sich von den Luftauslaßöffnungen 34 und 36 der beiden Gebläse nach hinten erstreckt.
Jede Klappe 60 und 62 ist durch ein Luftleitelement 66 bzw. 68 auf die entgegengesetzte Schwenkachsenseite hin verlängert. Bei der in den Figuren 1 und 2 dargestellten Abluftbetriebs-Stellung der Klappen verlängern sie den von den Klappen 60 und 62 beidseitig begrenzten Abluftwegabschnitt 64 nach hinten bis zur Rückwand 8, wo sich zwischen den Luftleitelementen 66 und 68 die Rückwand-Abluftöffnung 28 befindet. Bei dem Abluftbetrieb von Fig.1 ist die Rückwand-Abluftöffnung 28 verschlossen, während sie bei dem in Fig.2 dargestellten Abluftbetrieb offen ist. Die Luftleitelemente 66 und 68 bilden in den Figuren 1 und 2 beidseitig die Seitenwände des von ihnen begrenzten Abluftwegabschnittes.
Die Decken-Abluftöffnung 26 befindet sich zwischen den Schwenkachsen 61 und 63 der Klappen 60 und 64 und ist bei dem Abluftbetrieb von Fig.1 offen, jedoch bei der Abluftbetriebs-Variante von Fig.2 geschlossen. Bei dem Abluftbetrieb von Fig.1 wird zwischen die Schwenkachsen 61 und 63 ein Luftleitkörper 70 eingesetzt, welcher den von den Klappen 60 und 62 begrenzten Abluftwegabschnitt 64 nach oben umlenkt und bis zur Deckenabluftöffnung 26 verlängert.
Die Luftleitelemente 66 und 68 sind mit ihrer Klappe 60 bzw. 62 bewegungsfest verbunden, bestehen beispielsweise zusammen mit ihrer Klappe aus einem einzigen Materialstück, so daß sie jeweils zusammen mit den Klappen 60 bzw. 62 um deren Schwenkachsen 61 bzw. 63 schwenkbar sind.
Die Decken-Abluftöffnung 26 und die Rückwand-Abluftöffnung 28 bleiben während der Produktion des Gehäuses 4 vorzugsweise geschlossen und werden durch eine Perforation markiert, an welcher der herausnehmbare Öffnungsbereich abtrennbar ist. Gemäß anderer Ausführungsform können die Abluftöffnungen 26 und 28 bereits bei der Gehäuseproduktion gebildet und dann wahlweise mit einem Verschlußelement verschlossen werden.
Für den in Fig.3 dargestellten Umluftbetrieb werden die Klappen 60 und 62 zusammen mit ihren Luftleitelementen 66 und 68 um die Schwenkachsen 61 und 63 in die in Fig.3 dargestellte Position gedreht. In dieser Position erstrecken sich die Klappen 60 und 62 von ihren Schwenkachsen 61 und 63 aufeinander zu, so daß sie den Abluftkanalabschnitt 36 hinten verschließen, indem ihre freien Klappenenden 72 und 73 dicht nebeneinander liegen, mit Abstand hinter dem hinteren Ende 74 der Trennwand 48. Die Luftleitelemente 66 und 68 erstrecken sich in Fig.3 von den Schwenkachsen 61 und 63 in voneinander entgegengesetzten Richtungen nach links bzw. rechts weg und begrenzen zwischen sich und den mit radialem Abstand gegenüberliegenden Gebläsegehäusen 42 und 46 je einen Anfangsabschnitt 78 bzw. 80 von zwei Umluftkanälen 82 und 84, welche sich von den Luftauslaßöffnungen 34 und 36 um den Außenumfang des zugehörigen Gebläsegehäuses 42 bzw. 44 bis unter die Umluft-Auslaßöffnungen 22 bzw. 24 im vorderen Abschnitt der Decke 10 erstrecken, wo die gereinigte Luft wieder in die Küche zurückströmt. Die Umluft-Auslaßöffnungen 22 und 24 der beiden Gebläse 14 und 16 sind durch eine Wand 90 voneinander getrennt, welche sich unter der Gehäusedecke 10 in Richtung von vorne nach hinten erstreckt und verhindert, daß die Luftströme der beiden Gebläse 14 und 16 aufeinander prallen. Die beiden Umluftkanäle sind in Fig.3 durch Pfeile 82 und 84 gekennzeichnet. Die Umluftkanäle 82 und 84 erstrecken sich in einer horizontalen Ebene. Die Luft des linken Gebläses 14 strömt von seiner Luftauslaßöffnung 34 nur zu den vor den Gebläsen auf der linken Seite angeordneten Umluft-Auslaßöffnungen 22. Die Luft des rechten Gebläses 16 strömt von dessen Luftauslaßöffnung 36 nur zu den vor den Gebläsen rechts angeordneten Umluft-Auslaßöffnungen 24.
Durch die Erfindung wird ein guter Wirkungsgrad erzielt, weil sich die Luftströme der beiden Gebläse 14 und 16 weder im Bereich ihrer Luftauslaßöffnungen 34 und 36 noch am Ende des Strömungsweges bei den Umluft-Auslaßöffnungen 22 und 24 gegenseitig stören. Ein weiterer Vorteil ist, daß durch die Trennwand 48 zwischen den beiden Gebläsen 14 und 16 der Strömungsweg innerhalb dieser Gebläse 14 und 16 sich über die vollen 360 Grad des Gehäuseumfanges erstreckt und dadurch die Gebläse innerhalb ihres Gehäuses einen langen Strömungsweg haben, in welchem sie ihre Förderwirkung entwickeln können. Die Strömungsverhältnisse der Gebläse 14 und 16 bleiben für Abluftbetrieb nach den Figuren 1 und 2 und für Umluftbetrieb nach Fig.3 jeweils gleich, weil bei beiden Betriebsarten die Luftauslaßöffnungen 34 und 36 zwischen dem hinteren Ende 74 der Trennwand 48 und den Öffnungsrändern 50 und 52 unverändert gleich bleibt. Ferner entstehen keine oder nur sehr geringe Leckströme, weil die Klappen 60 und 62 und ihre Luftleitelemente 66 und 68 zusammen mit Teilen des Gehäuses 4 ein unerwünschtes Entweichen von Teilen der Gebläseluft verhindern.

Claims (9)

  1. Dunstabzugshaube mit zwei nebeneinander angeordneten Radialgebläsen (14, 16), deren Luftauslässe (34, 36) nebeneinander und zur gleichen Seite der Dunstabzugshaube hin gerichtet angeordnet sind; mit Klappen (60, 62), welche zwischen einer Stellung für Umluftbetrieb und einer Stellung für Abluftbetrieb um zueinander parallele, vertikale Schwenkachsen (61, 63) verstellbar angeordnet sind, dadurch gekennzeichnet, daß die Luftauslässe (34, 36) der beiden Gebläse (14, 16) auf deren hinteren Seite und in der Dunstabzugshaube nach hinten gerichtet angeordnet sind; daß die Schwenkachsen (61, 63) der Klappen (60, 62) mit Abstand hinter den Luftauslässen(34, 36) angeordnet sind; daß die Klappen (60, 62) eine solche Größe haben, daß sie in Stellung für Abluftbetrieb bis an die Gebläsegehäuse (42, 44) heranreichen und zwischen sich einen Abluftkanalabschnitt (64) begrenzen, welcher sich von den Gebläse-Luftauslässen (34, 36) nach hinten erstreckt, wohingegen die Klappen (60, 62) in Stellung für Umluftbetrieb sich in Dunstabzugshauben-Querrichtung mit Abstand von den Gebläse-Luftauslässen (34, 36) und quer zu diesen erstrecken, so daß sie einen zwischen ihnen und den Gebläse-Luftauslässen (34, 36) verlaufenden Anfangsabschnitt von zwei Umluftkanälen (82,84) begrenzen; daß der eine Umluftkanal (82) sich um den Außenumfang des einen Gebläsegehäuses (42) und der andere Umluftkanal (84) sich um den Außenumfang des anderen Gebläsegehäuses (46) je bis zu Umluftauslaßöffnungen (22, 24) erstreckt, welche vor den Gebläsen (14, 16) in einem Gehäuse (4) der Dunstabzugshaube gebildet sind.
  2. Dunstabzugshaube nach Anspruch 1, dadurch gekennzeichnet, daß jeder der Umluftkanäle (82, 84) eigene Umluftauslaßöffnungen (22, 24) hat, welche derart angeordnet sind, daß ihre Luftströme nicht gegeneinander prallen.
  3. Dunstabzugshaube nach einem der vorhergehenden Ansprüche, dadurch gekennzeichnet, daß die Klappen ( 60, 62) um ihre Schwenkachsen (61, 63) zueinander hin schwenkbar sind und eine solche Länge haben, daß sie in einer solchen zueinander hin geschwenkten Stellung für Umluftbetrieb aneinander anliegen und eine Sperrwand bilden, welche die Luft der Luftauslässe (34, 36) daran hindert, in den hinteren Teil der Dunstabzugshaube zu strömen.
  4. Dunstabzugshaube nach einem der vorhergehenden Ansprüche, dadurch gekennzeichnet, daß für jede Klappe (60, 62) ein sie zur entgegengesetzten Schwenkachsenseite hin verlängerndes Luftleitelement (66, 68) vorgesehen ist, welche bei Positionierung der Klappen auf Abluftbetrieb den von diesen Klappen (60, 62) beidseitig begrenzten Abluftwegabschnitt (64) in Richtung zur hinteren Dunstabzugsseite hin verlängem, jedoch bei Umluftbetrieb-Stellung der Klappen einen Abschnitt der Umluftkanäle (82, 84) begrenzen, welcher sich zwischen diesen Luftleitelementen und den Gebläsegehäusen (42, 46) erstreckt.
  5. Dunstabzugshaube nach Anspruch 4, dadurch gekennzeichnet, daß die Luftleitelemente (66, 68) mit den Klappen (60, 62) drehfest verbunden sind, so daß sie jeweils zusammen mit den Klappen um die Schwenkachsen (61, 63) schwenkbar sind.
  6. Dunstabzugshaube nach einem der vorhergehenden Ansprüche, gekennzeichnet durch einen wahlweise zwischen die Schwenkachsen (61, 63) einsetzbaren, den zwischen cen Klappen (60, 62) in ihrer Abluftbetriebs-Stellung gebildeten horizontalen Abluftkanalabschnitt (64) nach hinten begrenzenden und nach oben umlenkenden Luftleitkörper (70).
  7. Dunstabzugshaube nach einem der vorhergehenden Ansprüche, dadurch gekennzeichnet, daß sie in einer Decke eine wahlweise aufmachbare Abluft-Austrittsöffnung (26) aufweist, welche sich über den Klappen (60, 62) in dem durch ihre Schwenkachsen (61, 63) definierten Abstandsbereich befindet.
  8. Dunstabzugshaube nach einem der Ansprüche 3 bis 8, dadurch gekennzeichnet, daß in einer Dunstabzugshauben-Rückwand (8) eine wahlweise aufmachbare Abluft-Austrittsöffnung (28) gebildet ist, und daß in Abluftbetriebs-Stellung der Klappen und der Luftleitelemente diese Luftleitelemente (66, 68) mit ihren von den Schwenkachsen entfernten freien Enden bis zu der Dunstabzugshauben-Rückwand (8) reichen und den von den Klappen (60, 62) beidseitig begrenzten Abluftkanalabschnitt (64) bis zu dieser Abluft-Austrittsöffnung (28) verlängern.
  9. Dunstabzugshaube nach einem der vorhergehenden Ansprüche, dadurch gekennzeichnet, daß die beiden Luftauslässe (34, 35) in Gebläseumfangsrichtung je einerseits durch einen Gehäuserandteil (50, 52) und eine zwischen diesen Gehäuserandteilen angeordnete vertikale Trennwand (48) begrenzt sind, welche die Luftströme in den beiden Radialgebläsen (14, 16) voneinander trennt und sich von vorne nach hinten mindestens bis zu einer theoretischen Tangentenverbindung an der Rückseite der beiden Gebläse-Rotoren (30, 32) erstreckt.
EP99104376A 1998-03-05 1999-03-04 Dunstabzugshaube Expired - Lifetime EP0940633B1 (de)

Applications Claiming Priority (2)

Application Number Priority Date Filing Date Title
DE19809559A DE19809559A1 (de) 1998-03-05 1998-03-05 Dunstabzugshaube
DE19809559 1998-03-05

Publications (3)

Publication Number Publication Date
EP0940633A2 EP0940633A2 (de) 1999-09-08
EP0940633A3 EP0940633A3 (de) 2000-11-22
EP0940633B1 true EP0940633B1 (de) 2003-07-02

Family

ID=7859891

Family Applications (1)

Application Number Title Priority Date Filing Date
EP99104376A Expired - Lifetime EP0940633B1 (de) 1998-03-05 1999-03-04 Dunstabzugshaube

Country Status (3)

Country Link
EP (1) EP0940633B1 (de)
DE (2) DE19809559A1 (de)
ES (1) ES2201582T3 (de)

Families Citing this family (13)

* Cited by examiner, † Cited by third party
Publication number Priority date Publication date Assignee Title
JP2006010122A (ja) * 2004-06-23 2006-01-12 Matsushita Electric Ind Co Ltd レンジフード付き高周波加熱装置
DE102011051103A1 (de) * 2011-06-16 2012-12-20 Miele & Cie. Kg Dunstabzugshaube für einen Herd oder eine Kochstelle
CN102563731A (zh) * 2011-09-09 2012-07-11 宁波舜韵电子有限公司 一种外排和内循环抽油烟机
CN102261690A (zh) * 2011-09-09 2011-11-30 宁波舜韵电子有限公司 一种外排和内循环式薄型抽油烟机
EP2789921B1 (de) * 2013-04-09 2017-04-05 Silverline Küchengeräte und Handel GmbH Dunstabzugshaube
DE102014108250A1 (de) * 2014-06-12 2015-12-17 Miele & Cie. Kg Plattformeinrichtung
EP3112759B1 (de) * 2014-09-12 2019-01-30 Wuhu Midea Kitchen Applicances Manufacturing Co., Ltd. Dunstabzugshaube und spiralgehäuse dafür
WO2017041415A1 (zh) 2015-09-08 2017-03-16 广东美的厨房电器制造有限公司 吸油烟机
CN105570158B (zh) * 2016-02-18 2018-11-13 广东美的厨房电器制造有限公司 吸油烟机及其风机组件
CN105673567B (zh) * 2016-02-18 2018-11-13 广东美的厨房电器制造有限公司 吸油烟机及其风机组件
CN107023867A (zh) * 2017-05-03 2017-08-08 广东美的厨房电器制造有限公司 应用于双风机吸油烟机的油烟引流结构和双风机吸油烟机
CN109595639B (zh) * 2017-09-30 2024-01-16 宁波方太厨具有限公司 一种近吸式吸油烟机
CN109595645B (zh) * 2017-09-30 2024-01-16 宁波方太厨具有限公司 一种近吸式吸油烟机

Family Cites Families (2)

* Cited by examiner, † Cited by third party
Publication number Priority date Publication date Assignee Title
DE7802041U1 (de) * 1978-01-24 1978-05-03 G. Bauknecht Gmbh, Elektrotechnische Fabriken, 7000 Stuttgart Dunstabzugshaube
US5230327A (en) * 1992-07-28 1993-07-27 Jang Sun Sing Kitchen smoke exhauster

Also Published As

Publication number Publication date
DE59906137D1 (de) 2003-08-07
DE19809559A1 (de) 1999-09-09
ES2201582T3 (es) 2004-03-16
EP0940633A3 (de) 2000-11-22
EP0940633A2 (de) 1999-09-08

Similar Documents

Publication Publication Date Title
EP0940633B1 (de) Dunstabzugshaube
DE69616249T2 (de) Kühlluftanlage für eine Brennkraftmaschine
DE102018211809A1 (de) Gehäuse für einen Ventilator und Ventilator
DE4008012C2 (de) Lüftungsanordnung für ein einen Gefrierraum und einen Kühlraum aufweisendes Kühlgerät
DE1779378A1 (de) Kombinierte Einblas- und Absaug-Belueftungsvorrichtung
DE2742734A1 (de) Axialventilator
DE69713561T2 (de) Küchenventilator
DE102008041739A1 (de) Dunstabzugsvorrichtung
EP3232127B1 (de) Dunstabzugshaube mit auslassgitter
EP2937015A1 (de) Arbeitstisch
EP0940632B1 (de) Dunstabzugshaube
EP3710755B1 (de) Dunstabzugsvorrichtung für ein kochfeld und küchenmöbel mit dunstabzugsvorrichtung
EP2662636A2 (de) Zwischenelement für Dunstabzugshaube, insbesondere Esse und Dunstabzugshaube
WO2017212379A1 (de) Dunstabzugshaube und verfahren zum betreiben einer dunstabzugshaube
EP2615383A1 (de) Dunstabzugshaube
EP2829808A1 (de) Dunstabzugshaube
DE2816669C2 (de) Lüftungsgerät
DE1946127U (de) Entluefterhauben.
DE2804027A1 (de) Abdeckhaube fuer einen in eine wand eingebauten ventilator
EP0609727A1 (de) Lüftergehäuse zur Anordnung in einer Durchlassöffnung
EP0943871B1 (de) Dunstabzugsvorichtung für Küchen
DE102005013806A1 (de) Dunstabzugshaube
DE9416271U1 (de) Dunstabzugsvorrichtung
DE102007060802A1 (de) Dunstabzugshaube, Filter für Dunstabzugshaube sowie diesbezügliches Verfahren
DE202018104101U1 (de) Aerodynamisches Element für einen Luftführungsapparat einer Abzugshaube für den Hausgebrauch, mit diesem aerodynamischen Element ausgestatteter Luftführungsapparat und mit diesem Luftführungsapparat ausgestattete Abzugshaube für den Hausgebrauch

Legal Events

Date Code Title Description
PUAI Public reference made under article 153(3) epc to a published international application that has entered the european phase

Free format text: ORIGINAL CODE: 0009012

AK Designated contracting states

Kind code of ref document: A2

Designated state(s): DE ES FR GB IT SE

AX Request for extension of the european patent

Free format text: AL;LT;LV;MK;RO;SI

PUAL Search report despatched

Free format text: ORIGINAL CODE: 0009013

AK Designated contracting states

Kind code of ref document: A3

Designated state(s): AT BE CH CY DE DK ES FI FR GB GR IE IT LI LU MC NL PT SE

AX Request for extension of the european patent

Free format text: AL;LT;LV;MK;RO;SI

17P Request for examination filed

Effective date: 20001206

AKX Designation fees paid

Free format text: DE ES FR GB IT SE

GRAH Despatch of communication of intention to grant a patent

Free format text: ORIGINAL CODE: EPIDOS IGRA

GRAH Despatch of communication of intention to grant a patent

Free format text: ORIGINAL CODE: EPIDOS IGRA

GRAA (expected) grant

Free format text: ORIGINAL CODE: 0009210

AK Designated contracting states

Designated state(s): DE ES FR GB IT SE

REG Reference to a national code

Ref country code: GB

Ref legal event code: FG4D

Free format text: NOT ENGLISH

REF Corresponds to:

Ref document number: 59906137

Country of ref document: DE

Date of ref document: 20030807

Kind code of ref document: P

REG Reference to a national code

Ref country code: SE

Ref legal event code: TRGR

GBT Gb: translation of ep patent filed (gb section 77(6)(a)/1977)
RAP2 Party data changed (patent owner data changed or rights of a patent transferred)

Owner name: BSH BOSCH UND SIEMENS HAUSGERAETE GMBH

REG Reference to a national code

Ref country code: ES

Ref legal event code: FG2A

Ref document number: 2201582

Country of ref document: ES

Kind code of ref document: T3

ET Fr: translation filed
PLBE No opposition filed within time limit

Free format text: ORIGINAL CODE: 0009261

STAA Information on the status of an ep patent application or granted ep patent

Free format text: STATUS: NO OPPOSITION FILED WITHIN TIME LIMIT

26N No opposition filed

Effective date: 20040405

PGFP Annual fee paid to national office [announced via postgrant information from national office to epo]

Ref country code: GB

Payment date: 20070323

Year of fee payment: 9

Ref country code: ES

Payment date: 20070323

Year of fee payment: 9

PGFP Annual fee paid to national office [announced via postgrant information from national office to epo]

Ref country code: SE

Payment date: 20070326

Year of fee payment: 9

PGFP Annual fee paid to national office [announced via postgrant information from national office to epo]

Ref country code: FR

Payment date: 20070321

Year of fee payment: 9

EUG Se: european patent has lapsed
GBPC Gb: european patent ceased through non-payment of renewal fee

Effective date: 20080304

REG Reference to a national code

Ref country code: FR

Ref legal event code: ST

Effective date: 20081125

PG25 Lapsed in a contracting state [announced via postgrant information from national office to epo]

Ref country code: SE

Free format text: LAPSE BECAUSE OF NON-PAYMENT OF DUE FEES

Effective date: 20080305

PG25 Lapsed in a contracting state [announced via postgrant information from national office to epo]

Ref country code: FR

Free format text: LAPSE BECAUSE OF NON-PAYMENT OF DUE FEES

Effective date: 20080331

REG Reference to a national code

Ref country code: ES

Ref legal event code: FD2A

Effective date: 20080305

PG25 Lapsed in a contracting state [announced via postgrant information from national office to epo]

Ref country code: GB

Free format text: LAPSE BECAUSE OF NON-PAYMENT OF DUE FEES

Effective date: 20080304

PG25 Lapsed in a contracting state [announced via postgrant information from national office to epo]

Ref country code: ES

Free format text: LAPSE BECAUSE OF NON-PAYMENT OF DUE FEES

Effective date: 20080305

REG Reference to a national code

Ref country code: DE

Ref legal event code: R081

Ref document number: 59906137

Country of ref document: DE

Owner name: BSH HAUSGERAETE GMBH, DE

Free format text: FORMER OWNER: BSH BOSCH UND SIEMENS HAUSGERAETE GMBH, 81739 MUENCHEN, DE

Effective date: 20150402

PGFP Annual fee paid to national office [announced via postgrant information from national office to epo]

Ref country code: DE

Payment date: 20150331

Year of fee payment: 17

PGFP Annual fee paid to national office [announced via postgrant information from national office to epo]

Ref country code: IT

Payment date: 20150330

Year of fee payment: 17

REG Reference to a national code

Ref country code: DE

Ref legal event code: R119

Ref document number: 59906137

Country of ref document: DE

PG25 Lapsed in a contracting state [announced via postgrant information from national office to epo]

Ref country code: DE

Free format text: LAPSE BECAUSE OF NON-PAYMENT OF DUE FEES

Effective date: 20161001

PG25 Lapsed in a contracting state [announced via postgrant information from national office to epo]

Ref country code: IT

Free format text: LAPSE BECAUSE OF NON-PAYMENT OF DUE FEES

Effective date: 20160304