EP0936643A2 - Drehschaltervorrichtung für elektrische Haushaltsgeräte - Google Patents

Drehschaltervorrichtung für elektrische Haushaltsgeräte Download PDF

Info

Publication number
EP0936643A2
EP0936643A2 EP99101667A EP99101667A EP0936643A2 EP 0936643 A2 EP0936643 A2 EP 0936643A2 EP 99101667 A EP99101667 A EP 99101667A EP 99101667 A EP99101667 A EP 99101667A EP 0936643 A2 EP0936643 A2 EP 0936643A2
Authority
EP
European Patent Office
Prior art keywords
opening
toggle
rotary switch
axis
rotation
Prior art date
Legal status (The legal status is an assumption and is not a legal conclusion. Google has not performed a legal analysis and makes no representation as to the accuracy of the status listed.)
Granted
Application number
EP99101667A
Other languages
English (en)
French (fr)
Other versions
EP0936643B1 (de
EP0936643A3 (de
Inventor
Joachim Grützke
Horst Krenz
Current Assignee (The listed assignees may be inaccurate. Google has not performed a legal analysis and makes no representation or warranty as to the accuracy of the list.)
BSH Hausgeraete GmbH
Original Assignee
Bosch Siemens Hausgerate GmbH
BSH Bosch und Siemens Hausgeraete GmbH
Priority date (The priority date is an assumption and is not a legal conclusion. Google has not performed a legal analysis and makes no representation as to the accuracy of the date listed.)
Filing date
Publication date
Application filed by Bosch Siemens Hausgerate GmbH, BSH Bosch und Siemens Hausgeraete GmbH filed Critical Bosch Siemens Hausgerate GmbH
Publication of EP0936643A2 publication Critical patent/EP0936643A2/de
Publication of EP0936643A3 publication Critical patent/EP0936643A3/de
Application granted granted Critical
Publication of EP0936643B1 publication Critical patent/EP0936643B1/de
Anticipated expiration legal-status Critical
Expired - Lifetime legal-status Critical Current

Links

Images

Classifications

    • HELECTRICITY
    • H01ELECTRIC ELEMENTS
    • H01HELECTRIC SWITCHES; RELAYS; SELECTORS; EMERGENCY PROTECTIVE DEVICES
    • H01H19/00Switches operated by an operating part which is rotatable about a longitudinal axis thereof and which is acted upon directly by a solid body external to the switch, e.g. by a hand
    • H01H19/02Details
    • H01H19/10Movable parts; Contacts mounted thereon
    • H01H19/14Operating parts, e.g. turn knob
    • GPHYSICS
    • G05CONTROLLING; REGULATING
    • G05GCONTROL DEVICES OR SYSTEMS INSOFAR AS CHARACTERISED BY MECHANICAL FEATURES ONLY
    • G05G1/00Controlling members, e.g. knobs or handles; Assemblies or arrangements thereof; Indicating position of controlling members
    • G05G1/08Controlling members for hand actuation by rotary movement, e.g. hand wheels
    • HELECTRICITY
    • H01ELECTRIC ELEMENTS
    • H01HELECTRIC SWITCHES; RELAYS; SELECTORS; EMERGENCY PROTECTIVE DEVICES
    • H01H19/00Switches operated by an operating part which is rotatable about a longitudinal axis thereof and which is acted upon directly by a solid body external to the switch, e.g. by a hand
    • H01H19/02Details
    • H01H19/025Light-emitting indicators
    • HELECTRICITY
    • H01ELECTRIC ELEMENTS
    • H01HELECTRIC SWITCHES; RELAYS; SELECTORS; EMERGENCY PROTECTIVE DEVICES
    • H01H3/00Mechanisms for operating contacts
    • H01H3/02Operating parts, i.e. for operating driving mechanism by a mechanical force external to the switch
    • H01H3/08Turn knobs
    • H01H2003/085Retractable turn knobs, e.g. flush mounted
    • HELECTRICITY
    • H01ELECTRIC ELEMENTS
    • H01HELECTRIC SWITCHES; RELAYS; SELECTORS; EMERGENCY PROTECTIVE DEVICES
    • H01H2223/00Casings
    • H01H2223/058Casings flush mounted
    • HELECTRICITY
    • H01ELECTRIC ELEMENTS
    • H01HELECTRIC SWITCHES; RELAYS; SELECTORS; EMERGENCY PROTECTIVE DEVICES
    • H01H25/00Switches with compound movement of handle or other operating part
    • H01H25/06Operating part movable both angularly and rectilinearly, the rectilinear movement being along the axis of angular movement
    • HELECTRICITY
    • H01ELECTRIC ELEMENTS
    • H01HELECTRIC SWITCHES; RELAYS; SELECTORS; EMERGENCY PROTECTIVE DEVICES
    • H01H3/00Mechanisms for operating contacts
    • H01H3/02Operating parts, i.e. for operating driving mechanism by a mechanical force external to the switch
    • H01H3/20Operating parts, i.e. for operating driving mechanism by a mechanical force external to the switch wherein an auxiliary movement thereof, or of an attachment thereto, is necessary before the main movement is possible or effective, e.g. for unlatching, for coupling

Definitions

  • the invention relates to a rotary switch device for electrical household appliances according to the preamble of claim 1.
  • Devices with at least one rotary switch of this type are known from DE-C-33 45 312 known. It shows a rotary switch with a retractable toggle, which is relative to the actual switch part and axially to an axis of rotation between an outer Axial position (working position) in front of an aperture and an inner axial position (Rest position) is slidable in an opening of the diaphragm and in the outer axial position is rotatable about the axis of rotation in front of the aperture.
  • a lighting device for lighting can be arranged behind the diaphragm the circumferential gap between the edge of the diaphragm and the gag and / or for lighting symbols which are provided on the gag for identification its set function.
  • the aperture and / or the gag can be completely or in parts made of translucent
  • a web is arranged on the gag, which interacts with a non-rotatably arranged counterpart an axial adjustment of the Toggle allowed only in a predetermined rotational position of the toggle.
  • the gag can activate a lighting device depending on its axial position. In the inner axial position, the flat outer face of the gag is flush with the outer surface of the bezel.
  • From DE-C-23 64 667 is an actuator for switching or regulating devices of stoves arranged behind a panel known for setting certain temperature ranges with a gag, which against the force of a compression spring can be inserted into the panel and inserted Position is held by a resilient locking element. By pressing the It is gagged by the compression spring from the inner axial position to the outer axial position postponed.
  • the well-known retractable gags are round.
  • the object of the invention is to achieve the switch-on state and the To make the toggle switch-off state more easily recognizable and increase operational safety.
  • the invention is characterized in that the outer circumference of the through the opening movable section of the toggle unequal radial center distances from the Has axis of rotation and that the edge of the opening also matched uneven Has center distances from the axis of rotation, such that the toggle only in a zero rotational position fits through the opening, but in no other rotational position.
  • the gag is in the inner axial position or in the outer axial position whether it is in a zero rotary position in the outer axial position, in which it can be moved into the opening of the diaphragm to the inner axial position or whether it is in a different rotational position in the outer axial position.
  • the knob is only in its zero rotary position from the outer Axial position can be moved into the opening to the inner axial position no additional funds required.
  • the following functions are provided be: With the toggle in the inner axial position, there is a certain one Heating device (cooking zone, hot plate, oven) and lighting of the Knebels or its surroundings turned off. With zero rotary position in the outer Only the lighting is switched on in the axial position. With a non-zero The lighting and heating are switched on, depending on the Rotary position of the toggle a predetermined heating power is turned on.
  • Heating device cooking zone, hot plate, oven
  • the invention also offers a reliable one Child protection "against unauthorized or unintentional actuation of the switch and also protection against touching a hot cooking zone of the cooker by children or adults.
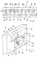
  • a Electric stove 12 described, but can also be used for any other household appliances used, for example for dishwashers, washing machines, Mixers, etc.
  • a front panel 14 of the electric oven 12 is a symbol field 16 deepened, i.e. with respect to the front surface 18 of the panel 14 rear set back.
  • the symbol field 16 contains symbols (not shown), which one operator the various functions of the stove Show.
  • a plurality of rotary switches 20 are arranged behind the diaphragm 14. Any rotary switch is adjustable by a toggle 22, which is relative to the switch 20 and axially to one Axis of rotation 24, which is defined by a shaft 26, between an outer Axial position and an inner axial position through an opening 28 of the aperture axially displaceable and in the outer axial position from 0 ° to 360 ° or vice versa is rotatable about the axis of rotation 24 in different rotational positions.
  • arrows 30 show the directions of rotation and arrows 32 the axial directions in which the Gag 22 is movable.
  • the respective rotational position of the toggle 22 is by a Mark 34 on the symbol field 16 and by markings, for example 0, 1, 2 and 3, recognizable on the gag 22 for an operator.
  • the outer periphery 40 of the portion of the toggle movable through the opening 28 22 has unequal radial center distances from the axis of rotation 24, and the edge of the opening 28 also has matched unequal center distances from the axis of rotation 24, such that the toggle 22 only through the opening 28 in the zero rotational position fits, but in no other rotational position.
  • the axis of rotation 24 is for The center 41 of the oval shape or the ellipse is offset eccentrically and lies accordingly Fig.2 preferably on the long diameter axis of the oval shape or the long central axis of the ellipse.
  • the outer circumference 40 lies in the outer axial position of the toggle 22 outside the opening 28 so that the toggle 22 can be rotated.
  • the outer circumference 40 of the toggle 22 has a small in all axial positions of the toggle 22 Distance from the edge of the opening 28, so that one arranged behind the aperture 14 electric lighting device 42 light through the opening slit on the Front of the panel 14 can reach when the gag 22 from its inner Axial position is moved into its outer axial position and, preferably by this movement, the lighting device 42 is turned on.
  • the front end face 44 of the toggle 22 is aligned with the front surface 18 of the Aperture 14 when the gag is in its inner axial position. This allows the Front of the panel 14 and the gag 22 can be easily cleaned and there will be Accidents, especially of children, are avoided since the recessed gag 22 can neither hit nor get caught.
  • the gag 22 can be made from the part shown with the outer circumference 40 exist or have a further section behind this shown part, which extends through the opening 28 but has such a small diameter that it cannot collide with the opening edge.
  • FIG. 2 shows the toggle 22 in its recessed, inner axial position, and in dashed lines Lines in its outer axial position, each in its zero-degree rotation position.
  • 1 shows the toggle 22 in further rotational positions.
  • Fig. 1 shows the good visibility the various rotational positions of the knob 22 for an operator. At any rotational position of the toggle 22 that deviates from the zero-degree rotational position is this on state of the switch 20 not only at the rotational position of the Knobs 22 recognizable, but also through the exposed part 28a of the opening 28, through which the light of the lighting device 42 then shines and an operator clearly signals that the associated switch electrical part, for example the oven, or a cooking zone or hotplate turned on and hot.
  • the outer circumference 40 of the toggle 22 can also be other than an oval or elliptical To have shape. It is important that the outer circumference 40 of the opening 28 movable section of the toggle 22 unequal radial center distances from the Has axis of rotation 24 and that the edge of the opening 28 adapted uneven Has center distances from the axis of rotation 24, such that the gag only at his Zero rotational position through the opening 28 fits, but in no other of it 360 ° distributed rotary positions.

Landscapes

  • Physics & Mathematics (AREA)
  • General Physics & Mathematics (AREA)
  • Engineering & Computer Science (AREA)
  • Automation & Control Theory (AREA)
  • Rotary Switch, Piano Key Switch, And Lever Switch (AREA)
  • Tumbler Switches (AREA)
  • Switches With Compound Operations (AREA)

Abstract

Drehschaltervorrichtung für elektrische Haushaltsgeräte. Der Außenumfang eines durch eine Öffnung (28) einer Blende (14) versenkbaren Knebels (22) hat ungleiche radiale Achsabstände von einer Drehachse (24) in gleicher Weise wie die Öffnung (28), so daß der Knebel (22) nur in einer Null-Drehstellung durch die Öffnung (28) passt, jedoch in keiner anderen Drehstellung.

Description

Die Erfindung betrifft eine Drehschaltervorrichtung für elektrische Haushaltsgeräte gemäß dem Oberbegriff von Anspruch 1.
Vorrichtungen mit mindestens einem Drehschalter dieser Art sind aus der DE-C-33 45 312 bekannt. Sie zeigt einen Drehschalter mit einem Versenkknebel, welcher relativ zum eigentlichen Schalterteil und axial zu einer Drehachse zwischen einer äußeren Axialposition (Arbeitsposition) vor einer Blende und einer inneren Axialposition (Ruheposition) in einer Öffnung der Blende verschiebbar ist und in der äußeren Axialposition vor der Blende in verschiedene Drehstellungen um die Drehachse drehbar ist. Hinter der Blende kann eine Beleuchtungseinrichtung angeordnet sein zur Beleuchtung des Umfangsspaltes zwischen dem Rand der Blende und dem Knebel und/oder zur Beleuchtung von Symbolen, welche auf dem Knebel vorgesehen sind zur Kennzeichnung seiner eingestellten Funktion. Die Blende und/oder der Knebel können vollständig oder in Teilbereichen aus lichtdurchlässigem
Material bestehen. Auf dem Knebel ist ein Steg angeordnet, welcher in Zusammenwirkung mit einem nicht-drehbar angeordneten Gegenstück eine axiale Verstellung des Knebels nur in einer vorbestimmten Drehstellung des Knebels erlaubt. Der Knebel kann eine Beleuchtungseinrichtung in Abhängigkeit von seiner Axialposition aktivieren. In der inneren Axialposition fluchtet die flache äußere Stirnfläche des Knebels mit der äußeren Oberfläche der Blende. Aus der DE-C-23 64 667 ist eine Betätigungsvorrichtung für hinter einer Blende angeordnete Schalt- oder Regeleinrichtungen von Herden zum Einstellen bestimmter Temperaturbereiche mit einem Knebel bekannt, welcher entgegen der Kraft einer Druckfeder in die Blende einschiebbar ist und in eingeschobener Stellung durch ein federndes Rastelement gehalten wird. Durch Druck auf den Knebel wird er von der Druckfeder von der inneren Axialposition in die äußere Axialposition verschoben. Die bekannten versenkbaren Knebel sind rund.
Durch die Erfindung soll die Aufgabe gelöst werden, den Einschaltzustand und den Ausschaltzustand des Knebels auf einfache Weise besser erkennbar zu machen und die Bediensicherheit zu erhöhen.
Diese Aufgabe wird gemäß der Erfindung durch die kennzeichnenden Merkmale von Anspruch 1 gelöst.
Die Erfindung ist dadurch gekennzeichnet, daß der Außenumfang des durch die Öffnung bewegbaren Abschnitts des Knebels ungleiche radiale Achsabstände von der Drehachse hat und daß der Rand der Öffnung ebenfalls daran angepaßte ungleiche Achsabstände von der Drehachse hat, derart, daß der Knebel nur in einer Null-Drehstellung durch die Öffnung paßt, jedoch in keiner anderen Drehstellung.
Durch die Erfindung werden insbesondere zwei Vorteile erzielt. Einerseits ist gut erkennbar, ob sich der Knebel in der inneren Axialposition oder in der äußeren Axialposition befindet, ob er sich in der äußeren Axialposition in einer Null-Drehstellung befindet, bei welcher er in die Öffnung der Blende hinein zur inneren Axialstellung verschiebbar ist, oder ob er in der äußeren Axialposition in einer anderen Drehstellung ist. Für die Funktion, daß der Knebel nur in seiner Null-Drehstellung von der äußeren Axialposition in die Öffnung hinein zur inneren Axialposition bewegt werden kann, sind keine zusätzlichen Mittel erforderlich.
Bei Verwendung bei einem Elektroherd können z.B. folgende Funktionen vorgesehen sein: Bei Null-Drehstellung des Knebels in der inneren Axialposition sind eine bestimmte Heizvorrichtung (Kochzone, Kochplatte, Backofen) und eine Beleuchtung des Knebels oder seiner Umgebung ausgeschaltet. Bei Null-Drehstellung in der äußeren Axialposition ist nur die Beleuchtung eingeschaltet. Bei einer von Null abweichenden Drehstellung sind die Beleuchtung und die Heizung eingeschaltet, wobei je nach Drehstellung des Knebels eine vorbestimmte Heizleistung eingeschaltet ist.
Die Erfindung bietet auch eine zuverlässige
Figure 00030001
Kindersicherung" gegen eine unerlaubte oder unbeabsichtigte Betätigung des Schalters und auch eine Sicherung gegen Berührungen einer heißen Kochzone des Herdes durch Kinder oder Erwachsene. Durch die Möglichkeit des Versenken des Knebels in die Blenden-Öffnung so weit, daß die vordere Stirnfläche des Knebels mit der vorderen Fläche der Blende fluchtet, gibt es keine vorstehenden Teile, welche zu Unfällen und Vertetrungen von Personen führen können, und ein Bedienfeld, welches solche Drehschalter aufweist, kann leicht gereinigt werden.
Weitere Merkmale der Erfindung sind in den Unteransprüchen enthalten.
Die Erfindung wird im folgenden mit Bezug auf die Zeichnungen anhand einer bevorzugten Ausführungsform als Beispiel beschrieben.
Es zeigen:
Figur 1
eine abgebrochene Vorderansicht eines Elektroherdes mit einer Drehschaltervorrichtung, die mehrere Drehschalter gemäß der Erfindung enthält,
Figur 2
eine perspektivische Vorderansicht eines Teiles von Figur 1 mit einem versenkbaren Knebel eines Drehschalters gemäß der Erfindung.
Die Erfindung wird im folgenden mit Bezug auf die Zeichnungen in Verbindung mit einem Elektroherd 12 beschrieben, kann jedoch auch für beliebige andere Haushaltsgeräte verwendet werden, beispielsweise für Geschirrspüler, Waschmaschinen, Rührmaschinen, usw. In einer vorderen Blende 14 des Elektroherdes 12 ist ein Symbolfeld 16 vertieft, d.h. mit Bezug auf die vordere Oberfläche 18 der Blende 14 nach hinten zurückversetzt angeordnet. Das Symbolfeld 16 enthält Symbole (nicht dargestellt), welche einer Bedienungsperson die verschiedenen Funktionen des Herdes anzeigen.
Hinter der Blende 14 sind mehrere Drehschalter 20 angeordnet. Jeder Drehschalter ist durch einen Knebel 22 einstellbar, welcher relativ zum Schalter 20 und axial zu einer Drehachse 24, die durch eine Welle 26 definiert ist, zwischen einer äußeren Axialposition und einer inneren Axialposition durch eine Öffnung 28 der Blende hindurch axial verschiebbar und in der äußeren Axialposition von 0° bis 360° oder umgekehrt in verschiedene Drehstellungen um die Drehachse 24 drehbar ist. In Figur 2 zeigen Pfeile 30 die Drehrichtungen und Pfeile 32 die Axialrichtungen, in welche der Knebel 22 bewegbar ist. Die jeweilige Drehstellung des Knebels 22 ist durch eine Markierung 34 auf dem Symbolfeld 16 und durch Markierungen, beispielsweise 0, 1, 2 und 3, auf dem Knebel 22 für eine Bedienungsperson erkennbar.
Der Außenumfang 40 des durch die Öffnung 28 bewegbaren Abschnitt des Knebels 22 hat ungleiche radiale Achsabstände von der Drehachse 24, und der Rand der Öffnung 28 hat ebenfalls daran angepasste ungleiche Achabstände von der Drehachse 24, derart, daß der Knebel 22 nur in der Null-Drehstellung durch die Öffnung 28 passt, jedoch in keiner anderen Drehstellung.
Der Außenumfang 40 des Knebels 22 und die daran angepasste Öffnung 28 haben eine ovale Form, beispielsweise die Form einer Ellipse. Die Drehachse 24 ist zum Mittelpunkt 41 der ovalen Form oder der Ellipse exzentrisch versetzt und liegt entsprechend Fig.2 vorzugsweise auf der langen Durchmesserachse der ovalen Form bzw. der langen Mittelachse der Ellipse.
In der äußeren Axialposition des Knebels 22 liegt sein genannter Außenumfang 40 außerhalb der Öffnung 28, damit der Knebel 22 gedreht werden kann. Der Außenumfang 40 des Knebels 22 hat bei allen Axialpositionen des Knebels 22 einen kleinen Abstand vom Rand der Öffnung 28, so daß von einer hinter der Blende 14 angeordneten elektrischen Beleuchtungsvorrichtung 42 Licht durch den Öffnungsspalt auf die Vorderseite der Blende 14 gelangen kann, wenn der Knebel 22 von seiner inneren Axialposition in seine äußere Axialposition bewegt wird und, vorzugsweise durch diese Bewegung, die Beleuchtungsvorrichtung 42 eingeschaltet wird.
Die vordere Stirnseite 44 des Knebels 22 fluchtet mit der vorderen Oberfläche 18 der Blende 14, wenn der Knebel in seiner inneren Axialposition ist. Dadurch kann die Vorderseite der Blende 14 und der Knebel 22 leicht gereinigt werden und es werden Unfälle, inbesondere von Kindern, vermieden, da man an dem versenkten Knebel 22 weder anstoßen noch hängenbleiben kann.
Der Knebel 22 kann insgesamt aus dem dargestellten Teil mit dem Außenumfang 40 bestehen oder hinter diesem dargestellten Teil einen weiteren Abschnitt haben, welcher sich durch die Öffnung 28 erstreckt, jedoch einen so kleinen Durchmesser hat, daß er mit dem Öffnungsrand nicht kollidieren kann.
Fig.2 zeigt den Knebel 22 in seiner versenkten, inneren Axialposition, und in gestrichelten Linien in seiner äußeren Axialposition, je in seiner Null-Grad-Drehstellung. Fig.1 zeigt den Knebel 22 in weiteren Drehstellungen. Fig.1 zeigt die gute Erkennbarkeit der verschiedenen Drehstellungen des Knebels 22 für eine Bedienungsperson. Bei jeder von der Null-Grad-Drehstellung abweichenden Drehstellung des Knebels 22 ist dieser eingeschaltete Zustand des Schalters 20 nicht nur an der Drehstellung des Knebels 22 erkennbar, sondern auch durch den dabei freigelegten Teil 28a der Öffnung 28, durch welche dann das Licht der Beleuchtungsvorrichtung 42 scheint und einer Bedienungsperson deutlich signalisiert daß das diesem Schalter zugehörige elektrische Teil, beispielsweise der Backofen, oder eine Kochzone oder Kochplatte eingeschaltet und heiß ist.
Der Außenumfang 40 des Knebels 22 kann auch eine andere als eine ovale oder elliptische Form haben. Wichtig ist, daß der Außenumfang 40 des durch die Öffnung 28 bewegbaren Abschnitts des Knebels 22 ungleiche radiale Achsabstände von der Drehachse 24 hat und daß auch der Rand der Öffnung 28 daran angepasste ungleiche Achsabstände von der Drehachse 24 hat, derart, daß der Knebel nur bei seiner Null-Drehstellung durch die Öffnung 28 paßt, jedoch in keiner anderen seiner über 360° verteilten Drehstellungen.

Claims (6)

  1. Drehschaltervorrichtung für elektrische Haushaltsgeräte, mit mindestens einem, hinter einer Blende (14) angeordneten Drehschalter (20) und mit einem Knebel (22) zur Betätigung des Drehschalters (20), wobei der Knebel relativ zum Schalter und relativ zu einer theoretischen Drehachse zwischen einer aus der Blende (14) hervorragenden äußeren Axialposition und einer in die Blende versenkten inneren Axialposition durch eine, dem Außenumfang (40) des Knebels (22) angepasste Öffnung (28) in der Blende (14) verschiebbar ist und in der äußeren Axialposition um die Drehachse drehbar ist, dadurch gekennzeichnet, daß der Außenumfang (40) des durch die Öffnung (29) bewegbaren Abschnitts des Knebels (22) ungleiche radiale Achsabstände von der Drehachse (24) hat und daß der Rand der Öffnung (28) ebenfalls daran angepaßte ungleiche Achsabstände von der Drehachse hat, derart, daß der Knebel (22) nur in einer Null-Drehstelung durch die Öffnung passt, jedoch in keiner anderen Drehstellung.
  2. Drehschaltervorrichtung nach Anspruch 1, dadurch gekennzeichnet, daß der Außenumfang (40) des Knebels (22) und die daran angepasste Öffnung (28) eine ovale Form haben und die Drehachse (24) exzentrisch versetzt zum Mittelpunkt der ovalen Form angeordnet ist.
  3. Drehschaltervorrichtung nach Anspruch 1, dadurch gekennzeichnet, daß der Außenumfang (40) des Knebels (22) und die daran angepasste Öffnung (28), im Querschnitt gesehen, die Form einer Ellipse haben.
  4. Drehschaltervorrichtung nach Anspruch 2 oder 3, dadurch gekennzeichnet, daß die Drehachse (24) sich durch die lange Durchmesserachse des Knebels (22) erstreckt.
  5. Drehschaltervorrichtung nach einem der vorhergehenden Ansprüche, dadurch gekennzeichnet, daß zwischen dem Außenumfang (40) des Knebels (22) und dem Rand der Öffnung (28) ein lichtdurchlässiger Spalt gebildet ist, wenn sich der Knebel (22) in der Null-Drehstellung befindet.
  6. Drehschaltervorrichtung nach einem der vorhergehenden Ansprüche, dadurch gekennzeichnet daß die vordere Stirnseite (44) des Knebels (22) mit der Vorderseite (18) der Blende (14) fluchtet, wenn der Knebel (22) in der inneren Axialposition ist.
EP99101667A 1998-02-11 1999-02-04 Drehschaltervorrichtung für elektrische Haushaltsgeräte Expired - Lifetime EP0936643B1 (de)

Applications Claiming Priority (2)

Application Number Priority Date Filing Date Title
DE1998105558 DE19805558A1 (de) 1998-02-11 1998-02-11 Drehschaltervorrichtung für elektrische Haushaltsgeräte
DE19805558 1998-02-11

Publications (3)

Publication Number Publication Date
EP0936643A2 true EP0936643A2 (de) 1999-08-18
EP0936643A3 EP0936643A3 (de) 2000-11-02
EP0936643B1 EP0936643B1 (de) 2007-08-15

Family

ID=7857382

Family Applications (1)

Application Number Title Priority Date Filing Date
EP99101667A Expired - Lifetime EP0936643B1 (de) 1998-02-11 1999-02-04 Drehschaltervorrichtung für elektrische Haushaltsgeräte

Country Status (3)

Country Link
EP (1) EP0936643B1 (de)
DE (2) DE19805558A1 (de)
ES (1) ES2292213T3 (de)

Cited By (1)

* Cited by examiner, † Cited by third party
Publication number Priority date Publication date Assignee Title
EP1387371A2 (de) 2002-08-03 2004-02-04 Electrolux Home Products Corporation N.V. Versenkbare Drehknebeleinheit

Families Citing this family (6)

* Cited by examiner, † Cited by third party
Publication number Priority date Publication date Assignee Title
DE10214920A1 (de) * 2002-04-04 2003-10-16 Bsh Bosch Siemens Hausgeraete Bedieneinheit und Gargerät
DE102004049691A1 (de) * 2004-10-12 2006-04-13 BSH Bosch und Siemens Hausgeräte GmbH Bedieneinrichtung
DE102006048418A1 (de) * 2006-10-12 2008-04-17 BSH Bosch und Siemens Hausgeräte GmbH Haushaltsgerät mit Drehknebel
DE102006061201A1 (de) * 2006-12-22 2008-06-26 BSH Bosch und Siemens Hausgeräte GmbH Hausgeräteinstellvorrichtung
DE102009008192A1 (de) 2009-02-03 2010-08-05 E.G.O. Elektro-Gerätebau GmbH Bedieneinrichtung für ein Elektrogerät und Bedienverfahren
US12163668B2 (en) 2020-09-11 2024-12-10 Midea Group Co., Ltd. Apparatus for reducing undesired change in cooking appliance configuration

Family Cites Families (6)

* Cited by examiner, † Cited by third party
Publication number Priority date Publication date Assignee Title
US2367892A (en) * 1943-09-23 1945-01-23 Charles A Schallis Control handle
DE2364667C2 (de) * 1973-12-24 1982-08-05 Neff - Werke, Carl Neff Gmbh, 7518 Bretten Betätigungsvorrichtung für die hinter einer Schalterblende angeordneten Schalt- oder Regeleinrichtungen von Herden
DE3345312C2 (de) * 1983-12-14 1986-02-06 Bosch-Siemens Hausgeräte GmbH, 7000 Stuttgart Drehschalter für Hausgeräte mit einem in der Gerätefront axial verschieblich versenkbaren Drehknebel
DE3702291A1 (de) * 1987-01-27 1988-08-04 Buderus Kuechentechnik Vorrichtung zum einstellen der schalter und regelvorrichtungen eines haushaltgeraetes
GB8825104D0 (en) * 1988-10-26 1988-11-30 New World Domestic Appliances Rotary control knobs
DE8905409U1 (de) * 1989-04-28 1989-07-06 Wilfer, Hertwig, 6083 Biebesheim Schaltknopf mit Kindersicherung für Haushaltsgeräte

Cited By (3)

* Cited by examiner, † Cited by third party
Publication number Priority date Publication date Assignee Title
EP1387371A2 (de) 2002-08-03 2004-02-04 Electrolux Home Products Corporation N.V. Versenkbare Drehknebeleinheit
EP1387371A3 (de) * 2002-08-03 2005-09-28 Electrolux Home Products Corporation N.V. Versenkbare Drehknebeleinheit
EP2546845A3 (de) * 2002-08-03 2013-03-13 Electrolux Home Products Corporation N.V. Versenkbare Drehknebeleinheit

Also Published As

Publication number Publication date
DE19805558A1 (de) 1999-08-12
ES2292213T3 (es) 2008-03-01
DE59914450D1 (de) 2007-09-27
EP0936643B1 (de) 2007-08-15
EP0936643A3 (de) 2000-11-02

Similar Documents

Publication Publication Date Title
EP2543053B1 (de) Blende für ein haushaltsgerät mit drehschalter, sowie haushaltsgerät
EP1869368B1 (de) Bedienvorrichtung für ein elektrogerät
DE2830249C2 (de) Ausrückvorrichtung für eine Kupplung
DE10255676B4 (de) Bedieneinheit für ein elektrisches Gerät
DE4017422C2 (de)
DE3345312A1 (de) Drehschalter fuer hausgeraete mit einem in der geraetefront axial verschieblich versenkbaren drehknebel
EP0936643B1 (de) Drehschaltervorrichtung für elektrische Haushaltsgeräte
DE69013351T2 (de) Steuerungshebel.
DE3637451A1 (de) Drehknopf zur temperatureinstellung
DE2702839B2 (de) Von innen elektrisch beleuchteter Drehschalter für Fahrzeuge mit Symbolbeleuchtung und Stellungsanzeige
EP3748234B1 (de) Bedieneinrichtung für ein elektrogerät und verfahren zur bedienung eines elektrogeräts
DE3637505A1 (de) Drehknopf mit einer drehverriegelungs- und entriegelungseinrichtung
DE29824658U1 (de) Drehschaltervorrichtung für elektrische Haushaltsgeräte
DE1665800B2 (de) Drehschalterantrieb
EP2224832B1 (de) Gehäuse mit einer darin angeordneten baugruppe
DE4309033C2 (de) Sicherheitsschaltvorrichtung für elektrische Geräte
DE4013074A1 (de) Einstellbares geraet, insbesondere elektrisches schalt-, steuer- oder regelgeraet
EP0177811B1 (de) Steuerschalter
EP2092644A2 (de) Bedienungseinrichtung für ein elektrogerät mit berührungsschaltern und verfahren zum zuschalten einer zusatz-heizeinrichtung
DE4331551B4 (de) Hauptschalter für ein elektrisches Haushaltsgerät
DE4203427C2 (de) Nockendrehschalter
DE10324251A1 (de) Tastenblock
DE19820446C2 (de) Energieregler eines Elektroherdes
DE102004020977A1 (de) Vorrichtung zur variablen Einstellung der Leistung einer Heizeinrichtung mit mindestens zwei Heizkreisen
EP2136145A2 (de) Knebel für ein Haushaltsgerät

Legal Events

Date Code Title Description
PUAI Public reference made under article 153(3) epc to a published international application that has entered the european phase

Free format text: ORIGINAL CODE: 0009012

AK Designated contracting states

Kind code of ref document: A2

Designated state(s): DE ES FR GB IT

AX Request for extension of the european patent

Free format text: AL;LT;LV;MK;RO;SI

PUAL Search report despatched

Free format text: ORIGINAL CODE: 0009013

AK Designated contracting states

Kind code of ref document: A3

Designated state(s): AT BE CH CY DE DK ES FI FR GB GR IE IT LI LU MC NL PT SE

AX Request for extension of the european patent

Free format text: AL;LT;LV;MK;RO;SI

17P Request for examination filed

Effective date: 20001114

AKX Designation fees paid

Free format text: DE ES FR GB IT

EL Fr: translation of claims filed
RAP1 Party data changed (applicant data changed or rights of an application transferred)

Owner name: BSH BOSCH UND SIEMENS HAUSGERAETE GMBH

GRAP Despatch of communication of intention to grant a patent

Free format text: ORIGINAL CODE: EPIDOSNIGR1

GRAS Grant fee paid

Free format text: ORIGINAL CODE: EPIDOSNIGR3

GRAA (expected) grant

Free format text: ORIGINAL CODE: 0009210

AK Designated contracting states

Kind code of ref document: B1

Designated state(s): DE ES FR GB IT

REG Reference to a national code

Ref country code: GB

Ref legal event code: FG4D

Free format text: NOT ENGLISH

REF Corresponds to:

Ref document number: 59914450

Country of ref document: DE

Date of ref document: 20070927

Kind code of ref document: P

GBT Gb: translation of ep patent filed (gb section 77(6)(a)/1977)

Effective date: 20071122

REG Reference to a national code

Ref country code: ES

Ref legal event code: FG2A

Ref document number: 2292213

Country of ref document: ES

Kind code of ref document: T3

EN Fr: translation not filed
PLBE No opposition filed within time limit

Free format text: ORIGINAL CODE: 0009261

STAA Information on the status of an ep patent application or granted ep patent

Free format text: STATUS: NO OPPOSITION FILED WITHIN TIME LIMIT

26N No opposition filed

Effective date: 20080516

PGFP Annual fee paid to national office [announced via postgrant information from national office to epo]

Ref country code: ES

Payment date: 20100219

Year of fee payment: 12

PGFP Annual fee paid to national office [announced via postgrant information from national office to epo]

Ref country code: IT

Payment date: 20100227

Year of fee payment: 12

PGFP Annual fee paid to national office [announced via postgrant information from national office to epo]

Ref country code: GB

Payment date: 20100219

Year of fee payment: 12

Ref country code: DE

Payment date: 20100228

Year of fee payment: 12

GBPC Gb: european patent ceased through non-payment of renewal fee

Effective date: 20110204

PG25 Lapsed in a contracting state [announced via postgrant information from national office to epo]

Ref country code: IT

Free format text: LAPSE BECAUSE OF NON-PAYMENT OF DUE FEES

Effective date: 20110204

REG Reference to a national code

Ref country code: DE

Ref legal event code: R119

Ref document number: 59914450

Country of ref document: DE

Effective date: 20110901

PG25 Lapsed in a contracting state [announced via postgrant information from national office to epo]

Ref country code: GB

Free format text: LAPSE BECAUSE OF NON-PAYMENT OF DUE FEES

Effective date: 20110204

REG Reference to a national code

Ref country code: ES

Ref legal event code: FD2A

Effective date: 20120411

PG25 Lapsed in a contracting state [announced via postgrant information from national office to epo]

Ref country code: ES

Free format text: LAPSE BECAUSE OF NON-PAYMENT OF DUE FEES

Effective date: 20110205

PG25 Lapsed in a contracting state [announced via postgrant information from national office to epo]

Ref country code: FR

Free format text: LAPSE BECAUSE OF FAILURE TO SUBMIT A TRANSLATION OF THE DESCRIPTION OR TO PAY THE FEE WITHIN THE PRESCRIBED TIME-LIMIT

Effective date: 20080411

PG25 Lapsed in a contracting state [announced via postgrant information from national office to epo]

Ref country code: DE

Free format text: LAPSE BECAUSE OF NON-PAYMENT OF DUE FEES

Effective date: 20110901