EP0933033A2 - Reibungskletterschuh - Google Patents
Reibungskletterschuh Download PDFInfo
- Publication number
- EP0933033A2 EP0933033A2 EP99101345A EP99101345A EP0933033A2 EP 0933033 A2 EP0933033 A2 EP 0933033A2 EP 99101345 A EP99101345 A EP 99101345A EP 99101345 A EP99101345 A EP 99101345A EP 0933033 A2 EP0933033 A2 EP 0933033A2
- Authority
- EP
- European Patent Office
- Prior art keywords
- shoe
- area
- midsole
- toe
- friction
- Prior art date
- Legal status (The legal status is an assumption and is not a legal conclusion. Google has not performed a legal analysis and makes no representation as to the accuracy of the status listed.)
- Withdrawn
Links
- 238000000576 coating method Methods 0.000 claims abstract description 26
- 239000011248 coating agent Substances 0.000 claims abstract description 25
- 239000013013 elastic material Substances 0.000 claims abstract description 6
- 210000003371 toe Anatomy 0.000 claims description 21
- 230000009194 climbing Effects 0.000 claims description 20
- 210000001255 hallux Anatomy 0.000 claims description 6
- 239000000463 material Substances 0.000 claims description 6
- 238000009825 accumulation Methods 0.000 claims description 2
- 230000000630 rising effect Effects 0.000 claims 1
- 210000002683 foot Anatomy 0.000 description 5
- 230000035945 sensitivity Effects 0.000 description 4
- 230000006978 adaptation Effects 0.000 description 2
- 240000003517 Elaeocarpus dentatus Species 0.000 description 1
- 238000005452 bending Methods 0.000 description 1
- 238000010073 coating (rubber) Methods 0.000 description 1
- 230000000694 effects Effects 0.000 description 1
- 230000001771 impaired effect Effects 0.000 description 1
- 238000000034 method Methods 0.000 description 1
- 230000002093 peripheral effect Effects 0.000 description 1
- 210000000453 second toe Anatomy 0.000 description 1
- 230000007704 transition Effects 0.000 description 1
Images
Classifications
-
- A—HUMAN NECESSITIES
- A43—FOOTWEAR
- A43B—CHARACTERISTIC FEATURES OF FOOTWEAR; PARTS OF FOOTWEAR
- A43B5/00—Footwear for sporting purposes
- A43B5/002—Mountain boots or shoes
- A43B5/003—Mountain boots or shoes for free climbing
-
- A—HUMAN NECESSITIES
- A43—FOOTWEAR
- A43B—CHARACTERISTIC FEATURES OF FOOTWEAR; PARTS OF FOOTWEAR
- A43B9/00—Footwear characterised by the assembling of the individual parts
Definitions
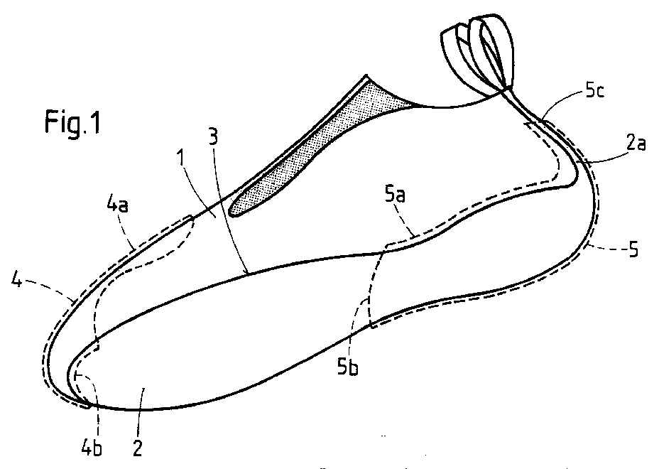
- Very light friction climbing shoes for free climbing are known which especially in the area of the toe and heel, a Have rubber coating. It is also known to have a loop to provide elastic material which is on both sides of the area of Shoe joint extends over the heel area; on these coatings a rubber sole attached which also a circumferential, the Upper shoe forms partially covering edge.
- the new climbing techniques of free climbing and especially climbing Art climbing walls require a shoe that is completely attached to the foot hugs, allows great sensitivity and is equipped so that it Gripping areas both at the tip and at the heel.
- the invention has as its object a climbing shoe of the type described above Art, especially for free climbing, which is built so that the elastic adaptation to the shape of the foot is given and also at the toe an area deformable by the toes, in particular by the big toe has, wherein this deformability is not affected by the sole; a additional gripping area should be provided on the heel.
- the invention provides that the area of the toe and the Back of the big toe and the neighboring second toe with one elastic coating element is provided, but care is taken that between the edge formed by the midsole and said Coating element at the toe part of the upper shoe remains free around to favor the adaptability of the shoe and, under the influence of the Toes that maintain sensitivity and deformability.
- the shoe according to the invention is of the type with on upper shoe 1 by seam 3 attached insole 2 which with a rear extension 2a on the upper Edge of the shoe ends over the heel area.
- the insole prevents the seam from being located where the greatest pressure on the heel occurs.
- the area at the toe is marked by a Front cap 4 coated from elastic material which with the strip 4a also covers the upper middle area of the toe, while the edge 4b on the opposite lower side, the seam 3 between upper shoe 1 and Insole 2 covers.
- a Rear cap 5 made of elastic material provided the lateral Cover edges of seam 3, the upper edge 5c, however, ends above of the heel area but somewhat lower than the upper edge of the upper shoe 1 while the lower edge 5b in the area of the shoe joint, the insole covers. No heel or sole is attached to this rear cap 5.
- the midsole 6 is attached, which seam 3 covers and forms a side edge 6a, further the edge 4b is the previous attached front cap 4 and the edge 5b of the previously attached Back cap 5 covered.
- the midsole 6 forms with the heel loop 6b a single piece, this extends behind, above the heel area, along the top of upper shoe 1 and only covers with her lower Part of the upper edge 5c of the rear cap 5, then the Loop under the midsole 6 where the edge 6c at the end of it is covered.
- the front cap can 4 have a rib extending in the longitudinal direction in the central region which is formed for example by a larger wall thickness and in The area between the big toe and the adjacent toe is provided around with loads acting tangentially on the shoe, Slipping (twisting) of the shoe would counteract.
- the outsole 7 is attached to the midsole 6 according to the invention only covers the front lower area of the shoe and with its edge area at the tip of the shoe, the edge 4b of the front cap 4 and the Covering the edge of the midsole.
- the deformability of the tip in particular Get the big toe moving; this deformability is also not through the side edge 6a of possibly more elastic material with respect to the Material of the outsole 7 impaired.
- the outsole 7 a has a predominantly flat shape and is free from laterally standing edges They are slightly bent in the area of the toe attachments, thereby giving the user a greater sensitivity is conveyed and an effective gripping movement is made possible.
- the invention does not exclude that the outsole, which on the Midsole 6 is attached, extends over the entire length of the shoe and possibly also covers the heel area.
- All coating elements 4, 5, the midsole 6 including loop 6b and Outsole 7 have a tapering of the wall thickness on all of their edges, with the exception of the upper edge portion of the loop 6b which is the upper Forms the edge of the shoe above the heel area.
Landscapes
- Health & Medical Sciences (AREA)
- General Health & Medical Sciences (AREA)
- Physical Education & Sports Medicine (AREA)
- Footwear And Its Accessory, Manufacturing Method And Apparatuses (AREA)
- Carbon And Carbon Compounds (AREA)
- Compositions Of Oxide Ceramics (AREA)
Abstract
Description
Claims (11)
- Reibungskletterschuh insbesondere für Free Climbing welcher aus einem Oberschuh (1) und einer an diesem befestigter Brandsohle (2) besteht und mit einer Vorderkappe und einer Hinterkappe (4, 5) aus elastischem Werkstoff beschichtet ist, dadurch gekennzeichnet, daß die besagten Beschichtungselemente (4, 5) auch die entsprechenden Abschnitte der Naht (3) zwischen Oberschuh (1) und Brandsohle (2) abdecken, daß die verbleibenden Abschnitte der Naht (3) durch die Seitenränder einer anschließend angebrachten Zwischensohle (6) abgedeckt werden und daß diese Zwischensohle mit einem rechtsseitigen oder linksseitigen Ansatz die Fersenschlaufe (6b) bildet deren Endbereich (6c) von der Zwischensohle (6) selbst überdeckt wird.
- Reibungskletterschuh gemäß Anspruch 1, dadurch gekennzeichnet, daß an der Zwischensohle (6) eine wesentlich flache Laufsohle (7), ohne seitlich aufstehenden den Schuh seitlich beschichtenden Rändern angebracht ist, daß diese Laufsohle (7) an der Schuhspitze sei es den unteren Rand (4b) der Vorderkappe (4) als auch den entsprechenden Rand der Zwischensohle (6) abdeckt.
- Reibungsschuh gemäß Anspruch 1, dadurch gekennzeichnet, daß die seitlichen Bereiche des Schuhes durch die seitlichen Ränder (6a) der Zwischensohle (6) abgedeckt sind und daß sich diese Sohle nur über den Vorderteil der Brandsohle bis in den ersten Bereich des Schuhgelenkes erstreckt.
- Reibungskletterschuh gemäß Anspruch 1, dadurch gekennzeichnet, daß die Laufsohle (7) sich nur über den vorderen Bereich der Brandsohle (2) erstreckt ohne den Bereich des Schuhgelenkes und/oder den hinteren Bereich des Absatzes abzudecken.
- Reibungskletterschuh gemäß Anspruch 1, dadurch gekennzeichnet, daß die Laufsohle (7) sich über die gesamte Länge des Schuhes erstreckt und gegebenenfalls auch den Fersenbereich abdeckt.
- Reibungskletterschuh gemäß Anspruch 1, dadurch gekennzeichnet, daß seitlich an der Schuhspitze zwischen dem oberen mittleren durch den Ansatz (4a) der Vorderkappe (4) abgedeckten Bereich und dem seitlichen Rand (6a) der Zwischensohle (6) ein unbeschichteter längsverlaufender Bereich des Oberschuhes (1) vorgesehen ist.
- Reibungskletterschuh gemäß Anspruch 1, dadurch gekennzeichnet, daß sämtliche Beschichtungselemente (4, 5), die Zwischensohle (6) samt einstückiger Fersnschlaufe (6b) sowie die Laufsohle (7) längs aller ihrer Ränder eine Verjüngung der Wandstärke aufweisen, mit Ausnahme des oberen Randabschnittes der Fersenschlaufe (6b) welcher dem Bereich oberhalb der Ferse entspricht, und daß diese Verjüngungen ein kontinuierliches Abnehmen der Wandstärke und Zunehmen der Dehnbarkeit in Richtung Randkante bewirken wodurch eine übermäßige Materialhäufung an den Überdeckungsbereichen zwischen zwei oder mehreren Rändern vermieden wird.
- Reibungsschuh gemäß Anspruch 1, dadurch gekennzeichnet, daß insbesondere im Bereich der Schuhspitze mehrschichtige Beschichtungsbereiche geschaffen werden welche unterschiedliche Stärke aufweisen können und von der Vorderkappe (4), vom vorderen Rand der Zwischensohle (6) und/oder vom vorderen Rand der Laufsohle (7) gebildet werden.
- Reibungskletterschuh gemäß Anspruch 1, dadurch gekennzeichnet, daß die Vorderkappe (4) welche die Schuhspitze beschichtet im Mittelbereich eine, sich in Längsrichtung erstreckende, Rippe aufweisen kann welche dem Bereich zwischen der großen Zehe und der benachbarten Zehe entspricht und daß diese Rippe durch eine größere Wandstärke gebildet ist.
- Reibungskletterschuh gemäß Anspruch 1, dadurch gekennzeichnet, daß sei es der Werkstoff als auch die Wandstärke der einzelnen Beschichtungselemente (4, 5), der Zwischensohle (6) samt Fersenschlaufe (6b) und der Laufsohle (7) gleich oder verschieden sein können.
- Reibungskletterschuh gemäß Anspruch 1, dadurch gekennzeichnet, daß wegen der hohen Biegsamkeit und Verformbarkeit durch welche sich der Schuh auszeichnet, dieser derart zusammengebogen werden kann daß die Schuhspitze innen in den eigenen Fersenbereich gesteckt werden kann um einen minimalen Platzbedarf zu beanspruchen.
Applications Claiming Priority (2)
| Application Number | Priority Date | Filing Date | Title |
|---|---|---|---|
| ITBZ980002 IT1303472B1 (it) | 1998-01-28 | 1998-01-28 | Scarpetta particolarmente adatta per arrampicata libera. |
| ITBZ980002 | 1998-01-28 |
Publications (2)
| Publication Number | Publication Date |
|---|---|
| EP0933033A2 true EP0933033A2 (de) | 1999-08-04 |
| EP0933033A3 EP0933033A3 (de) | 2003-10-22 |
Family
ID=11346834
Family Applications (1)
| Application Number | Title | Priority Date | Filing Date |
|---|---|---|---|
| EP99101345A Withdrawn EP0933033A3 (de) | 1998-01-28 | 1999-01-25 | Reibungskletterschuh |
Country Status (2)
| Country | Link |
|---|---|
| EP (1) | EP0933033A3 (de) |
| IT (1) | IT1303472B1 (de) |
Cited By (16)
| Publication number | Priority date | Publication date | Assignee | Title |
|---|---|---|---|---|
| FR2840163A1 (fr) * | 2002-05-30 | 2003-12-05 | Salomon Sa | Chausson d'escalade comportant un insert de renfort |
| EP1428444A1 (de) * | 2002-12-11 | 2004-06-16 | Salomon S.A. | Kletterschuh |
| EP1428445A1 (de) * | 2002-12-12 | 2004-06-16 | Salomon S.A. | Schuhwerk, insbesondere zum Klettern |
| WO2007006828A1 (es) * | 2005-07-07 | 2007-01-18 | Arenal Montalvillo Jose Carlos | ZAPATlLLA DE ESCALADA CON SUELA RECAMBIABLE Y TESTIGO DE DESGASTE |
| EP1880622A1 (de) * | 2006-07-21 | 2008-01-23 | Calzaturificio S.C.A.R.P.A. S.p.A. | Kletterschuh |
| ITTV20090146A1 (it) * | 2009-07-15 | 2011-01-16 | Scarpa Calzaturificio Spa | Scarpa da arrampicata |
| CZ305534B6 (cs) * | 2009-06-25 | 2015-11-25 | Rp Climbing S. R. O. | Lezecká bota |
| EP2949233A1 (de) * | 2014-05-29 | 2015-12-02 | Calzaturificio S.C.A.R.P.A. S.p.A. | Kletterschuh |
| EP2949232A1 (de) * | 2014-05-29 | 2015-12-02 | Calzaturificio S.C.A.R.P.A. S.p.A. | Kletterschuh |
| EP2949231A1 (de) * | 2014-05-29 | 2015-12-02 | Calzaturificio S.C.A.R.P.A. S.p.A. | Kletterschuh |
| KR101724036B1 (ko) | 2016-07-11 | 2017-04-07 | (주)부토라 | 신축성을 갖는 발 뒤꿈치부가 적용된 암벽화 |
| CN109123892A (zh) * | 2017-06-16 | 2019-01-04 | 斯卡帕鞋业股份公司 | 攀岩鞋 |
| IT201800005616A1 (it) * | 2018-05-23 | 2019-11-23 | Scarpa da arrampicata | |
| IT201800010719A1 (it) * | 2018-11-30 | 2020-05-30 | Scarpa Calzaturificio Spa | Scarpa da arrampicata |
| US20220346496A1 (en) * | 2021-05-03 | 2022-11-03 | Calzaturificio S.C.A.R.P.A. S.P.A. | Climbing shoe |
| EP4085781A1 (de) | 2021-05-03 | 2022-11-09 | Calzaturificio S.C.A.R.P.A. S.p.A. | Kletterschuh |
Family Cites Families (3)
| Publication number | Priority date | Publication date | Assignee | Title |
|---|---|---|---|---|
| DE4133265A1 (de) * | 1991-10-08 | 1993-04-15 | Joachim Baun | Schutzueberzugssohle fuer extremkletterschuhe |
| DE4309106A1 (de) * | 1992-03-24 | 1993-09-30 | Stefan Worlitzer | Kletterschuh |
| ES2119589B1 (es) * | 1994-06-20 | 1999-05-16 | Borfir Int Sl | Proceso de fabricacion de calzado tecnico de escalada y el producto obtenido. |
-
1998
- 1998-01-28 IT ITBZ980002 patent/IT1303472B1/it active IP Right Grant
-
1999
- 1999-01-25 EP EP99101345A patent/EP0933033A3/de not_active Withdrawn
Non-Patent Citations (1)
| Title |
|---|
| None |
Cited By (28)
| Publication number | Priority date | Publication date | Assignee | Title |
|---|---|---|---|---|
| FR2840163A1 (fr) * | 2002-05-30 | 2003-12-05 | Salomon Sa | Chausson d'escalade comportant un insert de renfort |
| EP1428444A1 (de) * | 2002-12-11 | 2004-06-16 | Salomon S.A. | Kletterschuh |
| FR2848388A1 (fr) * | 2002-12-11 | 2004-06-18 | Salomon Sa | Article chaussant notamment pour l'ecalade |
| EP1428445A1 (de) * | 2002-12-12 | 2004-06-16 | Salomon S.A. | Schuhwerk, insbesondere zum Klettern |
| FR2848390A1 (fr) * | 2002-12-12 | 2004-06-18 | Salomon Sa | Article chaussant notamment pour l'escalade |
| WO2007006828A1 (es) * | 2005-07-07 | 2007-01-18 | Arenal Montalvillo Jose Carlos | ZAPATlLLA DE ESCALADA CON SUELA RECAMBIABLE Y TESTIGO DE DESGASTE |
| EP1880622A1 (de) * | 2006-07-21 | 2008-01-23 | Calzaturificio S.C.A.R.P.A. S.p.A. | Kletterschuh |
| US7895772B2 (en) | 2006-07-21 | 2011-03-01 | Calzaturificio S.C.A.R.P.A. S.P.A. | Climbing shoe |
| CZ305534B6 (cs) * | 2009-06-25 | 2015-11-25 | Rp Climbing S. R. O. | Lezecká bota |
| ITTV20090146A1 (it) * | 2009-07-15 | 2011-01-16 | Scarpa Calzaturificio Spa | Scarpa da arrampicata |
| EP2274994A1 (de) * | 2009-07-15 | 2011-01-19 | Calzaturificio S.C.A.R.P.A. S.p.A. | Kletterschuh |
| EP2949233A1 (de) * | 2014-05-29 | 2015-12-02 | Calzaturificio S.C.A.R.P.A. S.p.A. | Kletterschuh |
| EP2949232A1 (de) * | 2014-05-29 | 2015-12-02 | Calzaturificio S.C.A.R.P.A. S.p.A. | Kletterschuh |
| EP2949231A1 (de) * | 2014-05-29 | 2015-12-02 | Calzaturificio S.C.A.R.P.A. S.p.A. | Kletterschuh |
| US9801427B2 (en) | 2014-05-29 | 2017-10-31 | Calzaturificio S.C.A.R.P.A. S.P.A. | Climbing shoe |
| KR101724036B1 (ko) | 2016-07-11 | 2017-04-07 | (주)부토라 | 신축성을 갖는 발 뒤꿈치부가 적용된 암벽화 |
| CN109123892A (zh) * | 2017-06-16 | 2019-01-04 | 斯卡帕鞋业股份公司 | 攀岩鞋 |
| IT201800005616A1 (it) * | 2018-05-23 | 2019-11-23 | Scarpa da arrampicata | |
| EP3571948A1 (de) * | 2018-05-23 | 2019-11-27 | Calzaturificio S.C.A.R.P.A. S.p.A. | Kletterschuh |
| US11134743B2 (en) | 2018-05-23 | 2021-10-05 | Calzaturificio S.C.A.R.P.A S.p.A. | Climbing shoe |
| IT201800010719A1 (it) * | 2018-11-30 | 2020-05-30 | Scarpa Calzaturificio Spa | Scarpa da arrampicata |
| EP3659455A1 (de) * | 2018-11-30 | 2020-06-03 | Calzaturificio S.C.A.R.P.A. S.p.A. | Kletterschuh |
| US11547173B2 (en) | 2018-11-30 | 2023-01-10 | Calzaturificio S.C.A.R.P.A. S.P.A | Climbing shoe |
| US20220346496A1 (en) * | 2021-05-03 | 2022-11-03 | Calzaturificio S.C.A.R.P.A. S.P.A. | Climbing shoe |
| EP4085781A1 (de) | 2021-05-03 | 2022-11-09 | Calzaturificio S.C.A.R.P.A. S.p.A. | Kletterschuh |
| EP4085782A1 (de) | 2021-05-03 | 2022-11-09 | Calzaturificio S.C.A.R.P.A. S.p.A. | Kletterschuh |
| US12042005B2 (en) | 2021-05-03 | 2024-07-23 | Calzaturificio S.C.A.R.P.A. S.P.A. | Climbing shoe |
| US12150515B2 (en) * | 2021-05-03 | 2024-11-26 | Calzaturificio S.C.A.R.P.A. S.P.A. | Climbing shoe |
Also Published As
| Publication number | Publication date |
|---|---|
| EP0933033A3 (de) | 2003-10-22 |
| IT1303472B1 (it) | 2000-11-06 |
| ITBZ980002A1 (it) | 1999-07-28 |
Similar Documents
| Publication | Publication Date | Title |
|---|---|---|
| EP0933033A2 (de) | Reibungskletterschuh | |
| DE69000752T2 (de) | Sohle fuer sportschuh. | |
| DE69908056T2 (de) | Schuh mit verformbarer besohlung | |
| EP1203602B1 (de) | Handschuh mit Versteifungsstreifen | |
| DE2139151C2 (de) | Schuh, insbesondere Kinderlauflernschuh | |
| EP0815758B1 (de) | Schuh- bzw. Laufsohle und Schuh mit dieser Sohle | |
| EP2739176B1 (de) | Sohlenchassis für schuhe | |
| DE3741015A1 (de) | Laufsohle fuer einen sportschuh | |
| DE2003478A1 (de) | Sohle und Absatz aus Gummi oder Kunststoff | |
| CH670939A5 (de) | ||
| EP1559337A1 (de) | Laufsohle für einen Sportschuh, insbesondere Skilanglauf- oder Telemark-Schuh | |
| WO2018091530A2 (de) | Schuh | |
| EP0172159B1 (de) | Skischuh | |
| DE7902981U1 (de) | Schuh, insbesondere für die ersten Schritte eines Kindes | |
| DE4243490A1 (de) | Halbschuh | |
| DE2730365A1 (de) | Skistiefel | |
| DE3115618A1 (de) | Halterungsgesamtheit eines langlaufskischuhes auf einem ski | |
| DE19721702A1 (de) | Schuh, insbesondere hochschäftiger Schuh | |
| DE60009076T2 (de) | Schuh und sohle mit torsionsversteifung | |
| EP0389752B1 (de) | Sportschuh, insbesondere zur Verwendung für Rasensportarten | |
| AT403112B (de) | Skischuh | |
| EP3020299B1 (de) | Schuh | |
| DE2847152C2 (de) | Sportschuhsohle, insbesondere für Fußballschuhe | |
| DE1188475B (de) | Sohle fuer Schuhwerk | |
| DE2130628A1 (de) | Brandsohle fuer Schuhwerk |
Legal Events
| Date | Code | Title | Description |
|---|---|---|---|
| PUAI | Public reference made under article 153(3) epc to a published international application that has entered the european phase |
Free format text: ORIGINAL CODE: 0009012 |
|
| AK | Designated contracting states |
Kind code of ref document: A2 Designated state(s): AT BE CH CY DE DK ES FI FR GB GR IE IT LI LU MC NL PT SE |
|
| AX | Request for extension of the european patent |
Free format text: AL;LT;LV;MK;RO;SI |
|
| PUAL | Search report despatched |
Free format text: ORIGINAL CODE: 0009013 |
|
| AK | Designated contracting states |
Kind code of ref document: A3 Designated state(s): AT BE CH CY DE DK ES FI FR GB GR IE IT LI LU MC NL PT SE |
|
| AX | Request for extension of the european patent |
Extension state: AL LT LV MK RO SI |
|
| RIC1 | Information provided on ipc code assigned before grant |
Ipc: 7A 43B 9/00 B Ipc: 7A 43B 5/00 A |
|
| AKX | Designation fees paid |
Designated state(s): DE ES FR GB |
|
| STAA | Information on the status of an ep patent application or granted ep patent |
Free format text: STATUS: THE APPLICATION IS DEEMED TO BE WITHDRAWN |
|
| 18D | Application deemed to be withdrawn |
Effective date: 20040423 |

