EP0860562A2 - Verlegesystem und Spanneinrichtung für ein Verlegesystem sowie Verlegeverfahren - Google Patents

Verlegesystem und Spanneinrichtung für ein Verlegesystem sowie Verlegeverfahren Download PDF

Info

Publication number
EP0860562A2
EP0860562A2 EP98103044A EP98103044A EP0860562A2 EP 0860562 A2 EP0860562 A2 EP 0860562A2 EP 98103044 A EP98103044 A EP 98103044A EP 98103044 A EP98103044 A EP 98103044A EP 0860562 A2 EP0860562 A2 EP 0860562A2
Authority
EP
European Patent Office
Prior art keywords
plate elements
recesses
devices
alignment devices
laying
Prior art date
Legal status (The legal status is an assumption and is not a legal conclusion. Google has not performed a legal analysis and makes no representation as to the accuracy of the status listed.)
Granted
Application number
EP98103044A
Other languages
English (en)
French (fr)
Other versions
EP0860562A3 (de
EP0860562B1 (de
Inventor
Karl Böckl
Current Assignee (The listed assignees may be inaccurate. Google has not performed a legal analysis and makes no representation or warranty as to the accuracy of the list.)
Individual
Original Assignee
Individual
Priority date (The priority date is an assumption and is not a legal conclusion. Google has not performed a legal analysis and makes no representation as to the accuracy of the date listed.)
Filing date
Publication date
Priority claimed from DE19706777A external-priority patent/DE19706777A1/de
Application filed by Individual filed Critical Individual
Publication of EP0860562A2 publication Critical patent/EP0860562A2/de
Publication of EP0860562A3 publication Critical patent/EP0860562A3/de
Priority to AU27061/99A priority Critical patent/AU2706199A/en
Priority to PCT/AU1999/000104 priority patent/WO1999042681A1/en
Application granted granted Critical
Publication of EP0860562B1 publication Critical patent/EP0860562B1/de
Anticipated expiration legal-status Critical
Expired - Lifetime legal-status Critical Current

Links

Images

Classifications

    • EFIXED CONSTRUCTIONS
    • E04BUILDING
    • E04FFINISHING WORK ON BUILDINGS, e.g. STAIRS, FLOORS
    • E04F15/00Flooring
    • E04F15/22Resiliently-mounted floors, e.g. sprung floors
    • EFIXED CONSTRUCTIONS
    • E04BUILDING
    • E04FFINISHING WORK ON BUILDINGS, e.g. STAIRS, FLOORS
    • E04F15/00Flooring
    • E04F15/02Flooring or floor layers composed of a number of similar elements
    • E04F15/02005Construction of joints, e.g. dividing strips
    • E04F15/02027Means for spacing the flooring from an adjoining wall
    • EFIXED CONSTRUCTIONS
    • E04BUILDING
    • E04FFINISHING WORK ON BUILDINGS, e.g. STAIRS, FLOORS
    • E04F15/00Flooring
    • E04F15/02Flooring or floor layers composed of a number of similar elements
    • E04F15/04Flooring or floor layers composed of a number of similar elements only of wood or with a top layer of wood, e.g. with wooden or metal connecting members
    • EFIXED CONSTRUCTIONS
    • E04BUILDING
    • E04FFINISHING WORK ON BUILDINGS, e.g. STAIRS, FLOORS
    • E04F15/00Flooring
    • E04F15/02Flooring or floor layers composed of a number of similar elements
    • E04F15/04Flooring or floor layers composed of a number of similar elements only of wood or with a top layer of wood, e.g. with wooden or metal connecting members
    • E04F15/048Flooring or floor layers composed of a number of similar elements only of wood or with a top layer of wood, e.g. with wooden or metal connecting members with a top surface of assembled elongated wooden strip type
    • EFIXED CONSTRUCTIONS
    • E04BUILDING
    • E04FFINISHING WORK ON BUILDINGS, e.g. STAIRS, FLOORS
    • E04F21/00Implements for finishing work on buildings
    • E04F21/20Implements for finishing work on buildings for laying flooring
    • E04F21/22Implements for finishing work on buildings for laying flooring of single elements, e.g. flooring cramps ; flexible webs
    • EFIXED CONSTRUCTIONS
    • E04BUILDING
    • E04FFINISHING WORK ON BUILDINGS, e.g. STAIRS, FLOORS
    • E04F19/00Other details of constructional parts for finishing work on buildings
    • E04F19/02Borders; Finishing strips, e.g. beadings; Light coves
    • E04F19/04Borders; Finishing strips, e.g. beadings; Light coves for use between floor or ceiling and wall, e.g. skirtings
    • EFIXED CONSTRUCTIONS
    • E04BUILDING
    • E04FFINISHING WORK ON BUILDINGS, e.g. STAIRS, FLOORS
    • E04F15/00Flooring
    • E04F15/02Flooring or floor layers composed of a number of similar elements
    • E04F15/02044Separate elements for fastening to an underlayer
    • E04F2015/0205Separate elements for fastening to an underlayer with load-supporting elongated furring elements between the flooring elements and the underlayer
    • EFIXED CONSTRUCTIONS
    • E04BUILDING
    • E04FFINISHING WORK ON BUILDINGS, e.g. STAIRS, FLOORS
    • E04F19/00Other details of constructional parts for finishing work on buildings
    • E04F19/02Borders; Finishing strips, e.g. beadings; Light coves
    • E04F19/04Borders; Finishing strips, e.g. beadings; Light coves for use between floor or ceiling and wall, e.g. skirtings
    • E04F2019/0404Borders; Finishing strips, e.g. beadings; Light coves for use between floor or ceiling and wall, e.g. skirtings characterised by the material
    • E04F2019/0422Borders; Finishing strips, e.g. beadings; Light coves for use between floor or ceiling and wall, e.g. skirtings characterised by the material of organic plastics with or without reinforcements or filling materials
    • EFIXED CONSTRUCTIONS
    • E04BUILDING
    • E04FFINISHING WORK ON BUILDINGS, e.g. STAIRS, FLOORS
    • E04F2201/00Joining sheets or plates or panels
    • E04F2201/02Non-undercut connections, e.g. tongue and groove connections
    • E04F2201/025Non-undercut connections, e.g. tongue and groove connections with tongue and grooves alternating transversally in the direction of the thickness of the panel, e.g. multiple tongue and grooves oriented parallel to each other
    • EFIXED CONSTRUCTIONS
    • E04BUILDING
    • E04FFINISHING WORK ON BUILDINGS, e.g. STAIRS, FLOORS
    • E04F2201/00Joining sheets or plates or panels
    • E04F2201/04Other details of tongues or grooves
    • E04F2201/042Other details of tongues or grooves with grooves positioned on the rear-side of the panel

Definitions

  • the invention relates to a laying system and a laying method with plate elements according to the preambles of the claim 1 or claim 9. Furthermore, the invention is concerned with tensioning devices according to the preamble of the claim 8th.
  • Such laying systems and laying methods are used to manufacture of floor coverings, such as parquet floors in particular.
  • the latter consists of individual plate elements in Form of parquet flooring, planks or bars, on one Be laid underground and connected to each other.
  • the plate elements are on are glued or nailed to the surface in the meantime in practice loose or so-called floating Parquet floors became known.
  • a floating laying of a parquet floor has opposite a firm attachment of the plate elements to the substrate several advantages. The most important thing is that a floating parquet floor easily dismantled and can be relocated elsewhere without that individual plate elements are damaged or destroyed will. In the case of a floating installation, it is also advantageous that repairs on the parquet floor by replacing individual Plate elements made particularly simple and inexpensive can be. Compared to the glue, the floating laying of a parquet floor also the advantage that no harmful solvent vapors and unpleasant Odors arise that often do not last for a very long time completely disappear. Parquet floors nailed to the ground have the floating installation Disadvantages that this type of attachment is very material and time consuming and is negative when sanding the parquet floor affects.
  • DE-PS 800 915 also shows a parquet board, which consists of individual parquet strips, which are aligned with each other Contain grooves in which ridges are inserted and are attached.
  • This parquet board cannot be disassembled will. In addition, it cannot be adapted to any room size will.
  • the aim of the present invention is a laying system and to create a laying process to easily slab elements, to be able to lay and dismantle safely and precisely.
  • one top and one Have underside and intermediate circumferential sides, in which recesses for receiving alignment devices for the positive connection of at least two adjacent panel elements to be installed in the direction perpendicular and in are included in a direction parallel to the top, that the recesses and the alignment devices dimensioned so are that the latter is loosely slidable into the recesses fit, and that tensioning devices are provided, by means of those connected to one another via the alignment devices Plate elements can be acted upon one another.
  • the alignment devices only form an adjustment and Attachment aid when laying the panel elements and must in any case no fixed fixation of the panel elements during installation accomplish each other. Take care of that at the latest after completion of a corresponding floor covering the tensioning devices. In any case, no force has to be applied the alignment devices into the recesses introduce. Furthermore, there is no special skill required for the smooth insertion of the alignment devices to make in the recesses. Thus in simple misalignment of the plate elements to each other excluded and the laying effort significantly reduced.
  • the clamping devices reliably ensure sufficient Cohesion of the installed panel elements. Neither that Shrinkage / expansion behavior of some materials, still sliding loads when used, the connections separate the plate elements.
  • the tensioning devices can either from plate element to plate element that is not immediate must be adjacent, directly when laying or preferably after laying partial areas or especially preferably used after laying the entire area.
  • the Laying system provided that the alignment devices dowels and / or contain lasts between two or continuous over at least two plate elements to be laid adjacent can be used in their recesses.
  • Last are particularly preferred, the length of which is more than two, for example five to seven, plate elements enough.
  • Parquet floors are e.g. the problem that fluctuations the ambient temperature and humidity to expand and contract the plate elements.
  • stretching the material can generally be two plate elements from the installation area to make room for the To create expansion of the entire parquet floor.
  • the plate elements that are erected would be damaged, especially when the individual plate elements through Tongue and groove connections are connected because then the female connectors abort.
  • This problem does not only exist with plate elements made of wood, but also with other materials, partly in more or less drastic effects and due to other effects, e.g. Sliding loads on the installed panel elements.
  • Especially the version with Alignment devices in the form of strips with a length over more than two plate elements are sure to remedy this.
  • the Setting up individual plate elements is effectively prevented and there may at most be a slight curvature of the entire Floor area come.
  • the invention contain dowels and / or strips with a profile, such as. a round profile, a triangular profile or one Dovetail profile.
  • a profile such as. a round profile, a triangular profile or one Dovetail profile.
  • the recesses in the plate elements it is further preferred if the recesses in the plate elements to the profile of the dowels and / or Last have a suitable profile.
  • strips are used as alignment devices, it is preferred if these have lengths that are greater than the dimensions of two plate elements through which they pass run, as already explained above. In particular, can it should also be provided that the strips are different Have lengths. As a result, not all strips end, e.g. Ridges, on a line on which it depends on the Material of the plate elements come to a weak point could, but the ends of the strips and thus the joints to subsequent strips are spread over an area.
  • the dowels and / or ledges tapered ends for insertion have in the recesses. This is the threading the dowels and / or strips in the recesses or plugging the recesses on the dowels and / or strips facilitated.
  • Laying system contains plate elements that are attached to their in Alignment devices used parallel to the recesses Circumferential sides have positive locking devices, the one Positive locking in the direction perpendicular to that in the recesses used alignment devices with an adjacent Result in plate element, e.g. Dovetail or hook designs on a plate element and corresponding groove on adjacent plate element.
  • This can create further cohesion of the plate elements also in the direction perpendicular to the Alignment devices used in the recesses and Top of the plate elements can be reached.
  • Particularly advantageous is this connection to plate elements on the edge of the Laying area, if not more space for entire panel elements is, so that any alignment devices may no longer be arranged can be. In such a case they are partial Panel elements not completely loosely inserted at the edge and would have to use nails or similar be fixed but are over the positive locking devices with the perpendicular to each aligning devices used in the recesses adjacent Plate elements connected.
  • the recesses in the peripheral sides of the plate elements like a hole with a round or square profile and in particular closer to them Undersides lie.
  • the one in the lower half the thickness of the plate elements lying down or groove-like recesses offer especially when later Parquet floors to be sanded down to about the To be able to grind half of their thickness without the connection the plate elements through the alignment devices is affected.
  • the alignment devices are dimensioned in this way are that they are completely within the groove-like recesses lie and in particular with the underside of the plate elements form a flat surface. This makes the contact surface the plate elements with alignment devices on the surface optimal.
  • the alignment devices can be so be dimensioned so that when they are plugged together with the recesses are over the bottom of the plate elements protrude from the groove-like recesses.
  • the plate elements are then only on the alignment devices and it is a cavity between the pad and the plate elements educated. Such a cavity can on ceilings Walls or floors, for example for routing cabling be desirable. Can continue this way e.g. Adjust the unevenness of the base accordingly of the alignment devices are balanced.
  • the plate elements In the case of alignment devices protruding from groove-like recesses can depend on the elastic properties the plate elements also have a spring action, for example the can be achieved with the latter occupied floor by the plate elements in their areas between the alignment devices can yield resiliently under load. This can e.g. by strengthening or optimizing that elastic means are provided, via which the alignment devices can be placed on a laying surface, such as a mat.
  • elastic means such as elastic Material or individual springs
  • this configuration can e.g. Swinging floors, but also in the event of an impact muffled wall coverings are produced.
  • the installation system can also e.g. on a Beam underlay can be used.
  • the distance of the groove-like Recesses should then correspond to the distance between the bars and the alignment devices could then simply be on the beams be attached.
  • the cohesion and the alignment of the plate elements can are promoted in that the peripheral sides of the plate elements are profiled, in such a way that the peripheral side profiles match adjacent plate elements.
  • Suitable Shapes are zigzag, wave, crown formations etc. These shapes preferably extend over the entire height of the peripheral sides of the plate elements, since then, for example, after repeated grinding of Panel elements made of wood.
  • a preferred further development of the configuration specified above provides that the profiling of the peripheral pages of the plate elements in addition to the alignment devices Forms coupling devices, such as Tongue and groove connections, via which adjacent plate elements can be connected.
  • Such coupling devices are basically for cohesion installed plate elements not necessary, but only contribute to the stability of the connection.
  • the Coupling devices should also not be firmly connected be, but easily e.g. can be pushed into one another.
  • a base for laying the plate elements is included.
  • a base preferably has a mat-like or preferably mesh-like layer of or with preferably cork, rubber, caoutchouc, jute, sisal, hemp, Wool felt, coconut fibers, preferably a braided coconut fiber and particularly preferably a rubber pressed or siliconized coconut fiber braid.
  • the document can be in Case of the version described above with on the bottom of the plate elements protruding alignment devices only be provided between the latter, i.e. in the formed Gaps between the surface and the panel elements as well as neighboring parallel alignment devices. In the latter Fall can also, as in the case that the alignment devices not from the undersides of the plate elements protrude downwards, the underlay over the entire installation area be provided.
  • any network form with Natural fibers, a rubber net, a coconut roll mat, a net with integrated braid, an air chamber or tube network, a full-surface thin air mattress, depending on the desired Vibration behavior of the floor can be inflated can, etc. used to exemplify just a few ways to call.
  • the tensioning devices from the outside at least two connected to each other via the alignment devices
  • Pressure elements acting on their peripheral sides such as wood springs, metal springs, cork parts, Foam rubber parts and the like
  • the clamping devices can also be between two neighboring ones connected via the alignment devices and / or not immediately adjacent plate elements include usable tension elements, such as Brackets, Tension straps and the like, which preferably over and / or to the Bottom of the plate elements are performed.
  • usable tension elements such as Brackets, Tension straps and the like
  • For internal bracing of partial areas can also be a bracing of several sub-areas with each other be provided.
  • Particularly suitable for one Partial surface tensioning straps or belts these can either attack only in edge areas of the partial areas, or but on the undersides of individual plate elements of the partial areas attack using claws, hooks, clamps, etc. Should only cover a small area with plate elements individual ones between two neighboring ones are also suitable Plate elements used by means of which the two plate elements connected thereby pulled towards each other will.
  • two-part edge strips can be provided, one Base bar for attachment to panel elements, an outer bar for attachment to an edge of the installation surface and compensation devices included, at least on the outer bar or are attached to the base bar and by means of which when moving the panel elements with the base strips gap occurring between the latter and the outer strips can be covered and / or locked.
  • the compensation devices can be simple bands be made of elastic or non-elastic material. Elastic Bands are similar due to reversible stretching or Shrinkage according to the gap to be covered. in the In the case of non-elastic tapes, these must be made accordingly be dimensioned and placed according to the maximum expected column e.g. if the column is reduced, for example by expanding the wood material of the plate elements in folds together.
  • Preferred materials for the panel elements are: wood, cork, Stone, plastic, composite material, laminate material, rubber, Metal. The same materials can be used for the alignment devices be used.
  • the plate elements can preferably have an elongated shape have and in particular rod, slat or plank-like be.
  • the recesses then run in particular transversely for the longitudinal expansion of the plate elements.
  • positive locking devices it is preferred that, on the shorter circumferential end faces, positive locking devices, such as. one dovetail feather each and a dovetail groove are provided through which two adjacent plate elements fit and preferably firmly are interconnectable.
  • Laying system can thereby according to further embodiments be taken care of that if the recesses do not have the entire plate element run through, on two opposite circumferential sides of the plate elements Recesses are preferably not aligned are. In the other case, if the recesses over the The recesses are the entire plate element preferred with respect to a center line parallel to them of the plate element are arranged asymmetrically or vertically in adjacent panel elements are at different points along their direction.
  • each in a parallel to it Recessing circumferential side of the plate element is only half a recess, so alignment devices also run simultaneously in two plate elements, which thereby be aligned together.
  • This is useful if for example parts of plate elements depending on remaining dimensions of the area to be covered are too small are to accommodate complete recesses.
  • Such parts of Panel elements benefit in terms of their alignment and possibly also their connection to neighboring plate elements alignment devices common to the latter.
  • a such formation of the recesses also makes sense to be just the edges of the plate elements relative to each other to determine and fix if necessary.
  • This method of laying applies to panel elements that have a Top and a bottom and intermediate peripheral pages have in which recesses are included, with the Connect the plate elements alignment devices in the Recesses are introduced. According to the invention, this is further provided that the plate elements loosely on the alignment devices be pushed over the alignment devices interconnected plate elements by clamping devices towards each other.
  • a preferred development of the invention provides that the Alignment devices and / or the recesses before assembly with a lubricant, such as soap, oil, Wax, etc. This makes it easy to slide into each other of the alignment devices and recesses.
  • a lubricant such as soap, oil, Wax, etc.
  • Tension elements e.g. Brackets, straps and the like preferably over and / or on the undersides of the plate elements are used.
  • Another object of the present invention is Clamping devices for a laying system to create panel elements Lay, dismantle easily, safely and precisely to be able to.
  • tensioning devices according to claim 8 reached.
  • the clamping devices for a laying system to move adjacent panel elements towards each other act upon.
  • Pressure medium such as wood springs, metal springs, Cork parts, sponge rubber parts, etc. included, which are designed for this are under pretension between the peripheral sides Panel elements and the area around the installed panel elements to be clamped, especially so that the pressure medium over an expansion and contraction area of the installed Always maintain a pre-tension in the panel elements.
  • tensioners have the advantage that they relocated Always center plate elements as it were. Besides, will by such tensioners on the peripheral sides of the plate elements applied force optimally even distributed.
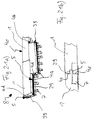
  • FIG. 1 shows a schematic perspective view first embodiment of the invention. Are in the right part a parquet stick as plate element 1 and then to the left another plate element 1 shown, the only is partially shown.
  • Each plate element 1 has one Top 2 and a bottom not visible in the illustration 3 and peripheral pages 4a, 4b, 4c and 4d.
  • the peripheral pages 4a and 4c become the long sides and the peripheral sides The end faces are called 4b and 4d.
  • the peripheral pages 4a, 4b, 4c and 4d are profiled. In Fig. 1 it is is a zigzag profile 5.
  • recesses 6 which one to Groove opening narrowing cross section.
  • alignment devices 7 burrs as alignment devices 7, the have a cross section corresponding to the recesses, so added that the plate elements 1 easily on the aligners 7 can be moved. Because of the Profiles of the recesses 6 and the alignment devices 7 is a form fit against movements of the plate elements 1 relative to the alignment devices 7 on the one hand in the direction perpendicular to the top 2 of the plate elements and the other in the direction parallel to the long sides (peripheral sides 4a and 4c), i.e. perpendicular to the end faces (peripheral sides 4b and 4d), the plate elements 1 created.
  • each plate element 1 in its Bottom side 3 each with a half recess 6 'at the edge (see Fig. 3) and in the middle position a complete recess 6 has.
  • the half recesses 6 ' i.e. the respective half grooves, are therefore also in the peripheral pages 4b and 4d, i.e. in the end faces, because the division, so to speak the groove in its longitudinal direction, i.e. parallel to the end faces took place.
  • the two half recesses result 6 '(see FIG. 3) together an entire recess 6.
  • FIGS. 1 and 2 have Embodiments that from the plate elements 1 above Burr strips different free protruding lengths. This is because ridges, i.e. Alignment devices 7 were used, which have different lengths. As a result, the connections of further burr strips or in general Alignment devices 7, which extend in the longitudinal direction connect so that further plate elements 1 are laid can, not all in one line, what the stability of the Laying system 8 increased.
  • FIG. 3 are two assembled plate elements 1 in a schematic side view as a third embodiment a laying system 8 shown, so that the cross section the grooves or general recesses 6 are clear.
  • the Recess 6 shown on the right lies entirely within a plate element 1.
  • the left of the two recesses 6 is half each by a half recess 6 'in one Plate element 1 formed, which thereby when they are assembled form a complete recess 6.
  • the recesses 6 have a dovetail groove Cross-section.
  • the cross section could be general but also triangular, circular, oval or otherwise be as long as the interlocks are perpendicular and parallel to Top 2 of the plate elements 1 can be realized thereby.
  • the recesses 6 extend in the thickness direction of the Plate elements 1, as in Fig. 3, but also Figs. 1 and 2, can be clearly seen, not even over half the thickness of the panel elements 1. This means that with this laying system 8 manufactured parquet floors are sanded down several times, without the recesses 6 by the removal of material the top 4a of the plate elements 1 can be reached, so that the combination of the Plate elements 1 over those contained in the recesses 6 Alignment devices 7 is maintained.
  • This composite of the plate elements 1 on the in the recesses 6 contained alignment devices 7 is by the Profile 5 of the peripheral pages 4a, 4b, 4c and 4d supported. Only 4 are schematic examples in cross section Exemplary embodiments of different profiles 5 shown with which the peripheral sides 4a, 4b, 4c and 4d of Plate elements 1 can be provided. So the picture show I a crown profile, Figure II a cone profile, Figure III a deep wave profile, Figure IV a zigzag profile and Figure V a flat wave profile.
  • FIG. 5 is in connection with a fourth embodiment of the laying system 8 to see a wall 11 in front of the plate elements 1 at a distance, each only partially are shown. Because of this distance there is between the wall 11 and the plate elements 1, a gap 12 that is required will when the plate elements 1 due to changes expand the ambient temperature and humidity, so that the plate elements 1 are not immediately on the Line 11 up.
  • the gap 12 is thus an expansion joint.
  • clamping devices 13 in the form of pressure media clamped in the present embodiment are formed by wooden springs 14.
  • the wooden springs 14 are in pre-stressed state inserted in the gap 12 and act therefore the plate elements 1 towards each other. Shrink the plate elements 1 from their initial size or after an expansion, the clamping devices 13 press the Plate elements 1 together again, so that between the latter there are no gaps that are unattractive to look at, in which dirt can accumulate and pose a risk of stumbling.
  • the tensioning devices 13 ensure that the loose or easily displaceable with the recesses 6 on the alignment devices 7, as in the previous embodiments Burr strips, pushed-on plate elements 1 safely be held together. Other types of attachment are not required.
  • tensioning devices 13 are another variant of the tensioning devices 13 in a further exemplary embodiment of a laying system 8 shown.
  • These are tensioning straps 15 with claws 16, which is why the strap 15 are also called claw strap can.
  • the tensioning strap 15 forms a tension element and runs under the laid plate elements 1 so that its claws 16 project upwards and into engagement openings 17, e.g. Relief cuts in the underside 3 of the plate elements 1 intervention.
  • the claws 16 get caught due to their design in the engagement openings 17 so that they are fixed there are anchored.
  • the tensioning strap 15 has an inherent elasticity on and is with claws hooked in the engagement openings 17 16 under tension so that it is the individual plate elements 1 towards each other.
  • Such tensioning devices 13 can applied to partial areas of laid plate elements 1 and are therefore suitable for very large installation areas 9. 15 can be held together by means of straps for example, in turn, coupled by other straps and be held together.
  • Fig. 7 is an edge termination schematically in cross section a sixth embodiment of a laying system 8 is shown.
  • Document 27 consists of a mat-like or preferably mesh-like Layer of or with preferably cork, rubber, caoutchouc, jute, Sisal, hemp, wool felt, coconut fibers, preferably a braided coconut fiber and particularly preferably one with rubber pressed or siliconized coconut fiber braid.
  • the Pad 27 can from the bottom 3 of the plate elements 1 above alignment devices 7 only between the latter be provided, that is in the spaces formed between Substrate 10 and plate elements 1 and neighboring parallel alignment devices 7.
  • the pad 27 can even if the alignment devices 7 are not from the undersides 3 of the plate elements 1 protrude down over the entire Laying surface 9 may be provided.
  • Other design options for the pad 27 are air mattresses, Hose systems, mattresses, tube systems, etc.
  • One preferably Design of a coconut fiber mat is coarse and about 3 to 6 mm thick.
  • a laying system 8 as a floor covering Underlay 27 is particularly advantageous as impact sound insulation.
  • the mesh can be large or small achieved a number of advantages. So this material is very resistant, flame-retardant, 100% moth-proof, rot-proof, moisture-resistant, electrostatically not chargeable, moisture regulating, fully biodegradable, and has high insulating properties against impact sound propagation and Heat loss as well as air chamber formation and air circulation, which ensures optimal ventilation of the underside of the parquet results.
  • the aforementioned advantages can be fully or partially also with the other materials and embodiments mentioned achieve.
  • any network form with Natural fibers, a rubber net, a coconut roll mat, a net with integrated braid, an air chamber or tube network, a full-surface thin air mattress, depending on the desired Vibration behavior of the floor can be inflated can, etc. used to exemplify just a few ways to call.
  • the plate elements 1 laid on the base 27 end shortly before a wall 11, from which it is a gap or an expansion joint 12 separates, as can be seen in FIG. 7.
  • tensioning devices 13 are used under prestress, so that they act on the plate elements 1 towards each other.
  • clamping devices 13 are cork pieces here or strips 18 pressed into the gap 12.
  • Cork pieces or strips 18 can be used as tensioning devices 13 for example, also foam rubber material, metal springs and the like are used that all serve the same purpose, namely that the plate elements 1 pressed together will.
  • an edge strip 19 is also shown, the one Base bar 20, which in the edge region of the plate elements 1 are closest to the wall 11 on the plate elements 1 are, and contains an outer bar 21 which is on the wall 11 is attached.
  • the attachment of the base bar 20 to the Plate elements 1 and the outer bar 21 on the wall 11 for example by screws (not designated), such as the representation in Fig. 7 can be seen.
  • the baseboard 20 and the outer bar 21 are through their course Compensators 22 connected, the gap 23 between cover the base bar 20 and the outer bar 21.
  • the reason for the gap 23 is the same as for the expansion joint 12 and lies in the fact that the plate elements 1 expand and can move in together. So that the expansion joint 12 is not visible is, the border 19 is provided. Through the compensation facilities 22 becomes the gap 23.
  • the present exemplary embodiment is an elastic one Profile rubber, which has extensions that in the Base bar 20 and inserted into the outer bar 21.
  • the base bar 20 Since the base bar 20 is firmly connected to the plate elements 1 , it can also be used to support tensioning devices 13 can be used against the wall, as in the embodiment 7 is shown. There is a clamping screw 24 screwed into the base bar 20 and is supported by a Spring element 25 against the wall 11, which is why the clamping screw 24 together with the spring element 25 also as a spring screw can be designated. Should that of the cork pieces or strips 18 and the spring element 25 applied force not to compress the plate elements 1 towards each other can be sufficient by screwing in the clamping screw 24 the compressive force in the area of the spring element 25 can be increased. In addition, a manual readjustment of the position, so to speak the parquet floor via the clamping screw 24.
  • FIG. 8 Another embodiment is shown schematically in cross section in FIG. 8 for an edge closure of a laying system 8 shown. It can be seen that the wall 11 is closest lying plate element 1 was shortened so that it at all still between the penultimate plate element 1 and the wall 11 fits and so that the expansion joint 12 remains free. Furthermore, as alignment devices 7 and 7 'are a penultimate one Burr bar in front of wall 11 or a last burr bar shown in front of the wall 11. The last ridge (alignment devices 7 ') in front of the wall 11 in its longitudinal direction (Direction in the sheet plane) a distance from the penultimate Burr strip (alignment devices 7) in front of the wall 11.
  • the e.g. plate elements made of solid material can with a corresponding arrangement of the alignment devices from the Initial strength almost to the strength of the alignment devices be sanded.
  • This additional connection is supported the cohesion of the plate elements even after repeated Sanding, e.g. temporarily with parquet floors is common and necessary.
  • Through the circumferential side profiles, such as. Waves, crown milling, zigzag, etc. can be there these profiles in particular the full strength of the panel elements capture, e.g. a parquet floor to a thickness approximately the alignment devices, such as ridge bars, be sanded without losing the strength of the connections the plate elements suffer significantly.
  • All types of flooring, but also wall or ceiling coverings, can be made with the laying system where there are basically no material restrictions, so that wood, stone, metal, rubber, plastics etc. can be used. Because the plate elements are floating installed, they can be easily removed and removed can be reused, and the laying system can differ Purposes of use depending on the area of application and requirements are used: in sports halls on elastic substrates, in the exhibition stand for dismantling, in squash courts, in Rental area to take away when moving, etc. Other areas of application are e.g. Dance floors, floors for biologically pure build if only natural materials are used, Protective coverings or covers for high-quality floors, etc.
  • Dovetail grooves can always be at the same distance and with half a recess on the end faces of the plate elements (Dovetail groove) can be such that there is an arrangement with subsequent plate elements offset by a groove width gives what the overall strength of the connection promotes.
  • Dovetail groove When two end faces meet turn a full recess, such as Dovetail groove that with the following plate element again is solidified.
  • the alignment devices which in particular contain burr strips can and run in the dovetail groove, hold the plate elements exactly in line.
  • the underside of the plate elements can be a flat Area if there is no protrusion through the connection Ridge ledge / dovetail groove is present.
  • the lateral and elongated drifting apart and the expansion / shrinking the panel elements can be used to form a laying surface surrounding wall through resilient material counteracted, such as wood springs, metal springs, Cork strips, foam rubber strips or other spring material, an insertion of these generally spring means under preload is particularly preferred.
  • resilient material counteracted such as wood springs, metal springs, Cork strips, foam rubber strips or other spring material
  • an insertion of these generally spring means under preload is particularly preferred.
  • Alternatively or additionally can, if necessary, cause the individual to drift apart To prevent plate elements, even a continuous rubber band with pull claws e.g. in located on the bottom Relaxation joints are clawed.
  • the alignment devices e.g. Ridges or dowels
  • the ridges or general alignment devices are like this long so that the panel elements can be easily pushed open, such as for example boards. It is not meant to be one Canting and pinching can come.
  • the beginning of laying the plate elements are made with different lengths Alignment devices.
  • the final connection at the end of the laying can be through a straight groove as a recess on the bottom the plate elements, similar to the dovetail grooves are formed by such plate elements on a ridge put on and fastened with wooden nails.
  • the last ridge bar can be a distance from the penultimate ridge bar have to have an agility one fastened with a wooden nail to enable the last plate element.
  • the plate elements After completing the laying of the panel elements for formation e.g. a parquet or plank floor can the plate elements contracted, the edge of the plate elements exactly cut at a suitable distance from the wall so that a uniform expansion joint to one surrounding the laying surface Wall, and an elastic spacer (cork, Foam rubber, wooden or metal spring, etc.) can be incorporated, so that the plate elements cannot drift apart is and the plate elements are held together.
  • an elastic spacer cork, Foam rubber, wooden or metal spring, etc.
  • the installation system for manufacturing e.g. a solid wood floor, but also other floors with an expansion and contraction behavior depending on the ambient temperature and / or moisture, swelling and shrinking behavior, can the, between the plate elements and a
  • the resulting joints become wider and thinner from a wall two-part or similar bar especially with one Expansion profile between the two last parts are covered.
  • a special bar can also be used, the spacer screws to the wall to a changing distance of the To be able to correct plate elements to the wall. Fading and Expansion can also be done with wooden springs, metal springs, springy and / or pressing spacers can be corrected.
  • a vapor barrier can be installed to protect against moisture will.
  • impact sound insulation and compensation for small bumps of the substrate can be in mat, mesh or Mesh form materials that are as natural as possible, such as rubber, rubber, Coconut fiber, jute, sisal, hemp, cork, felt, wool felt and generally so-called geotextiles and all other than Suitable materials, but also wood storage or old ones Carpets, etc. be used.
  • a major advantage of the laying system is that at any time and possible disassembly of the plate elements without great effort, by only using the tensioners applied tension takes away and the individual plate elements from the alignment devices (e.g. burr strips).
  • Figure 9 shows exemplary profile shapes of the recesses 6 and the alignment devices 7, the strips, e.g. Ridges, and / or dowels can contain, by schematic Cross-sectional representations shown.
  • Figure 1 shows one Dovetail cross-section, Figure II a triangular cross-section, Figure III a circular cross section, Figure IV an oval cross-section and Figure V a cut Circular cross-section, although other cross-sectional shapes are also suitable as long as they ensure the required positive locking, if this is not possible without a profile.
  • FIG. 10 shows a further exemplary embodiment of a laying system 8 with plate elements running at an angle to one another 1 and alignment devices 7, which in turn as Degree bars are indicated. So far rectangular Orders have been specified or referred to, these details also apply to the present exemplary embodiment to implement.
  • All conceivable laying patterns can be done with the laying system 8 can be realized, e.g. Herringbone pattern, Longstrip flooring, plank floors, and much more, but also any Shapes of the plate elements 1 can be used, such as Parquet strips or any plate shape.
  • the preferred thickness the plate elements 1 is at least 6 mm, preferably at least 8 mm.
  • the plate elements can also be multi-layered Plates, e.g. Panels of several layers of wood, coated cork or plastic plates, coated metal plates, Particle boards, laminated boards, linoleum boards etc. For large plate elements 1, it is preferable to continuous strips only dowels as alignment devices 7 to use.
  • FIG. 11 Assembly of the laying system on beams 28 is shown in FIG. 11 shown.
  • the alignment devices 7, for example be screwed to the beam 28.
  • the alignment devices 7 before pushing on the plate elements 1, for example oiled or greased so that the sliding of the Plate elements 1 on the alignment devices 7 improved becomes. This means that even when using a possibly produced by means of the laying system 8 occurring noises, such as creaking or the like, are reduced.
  • the first alignment devices 7 directly on a wall begin and the last aligners 7 not from that protrude penultimate plate element 1.
  • the last plate element 1 in front of the wall will then be the size of the remaining one Space minus the expansion joint 12 cut and inserted.
  • the alignment devices 7 can then e.g. from the first Plate element 1 are punched through so that they too extend into the recesses of the last plate element 1.
  • edge pieces of the plate elements 1 that are so small that for example a ridge bar as alignment devices 7 cannot be used, e.g. Dowels inserted that are smaller than ridge bars to such To connect edge pieces with the adjacent plate elements 1.
  • This pressure medium which can be seen in the figure in a top view a wave spring made of wood veneer in the position shown is inserted from above into an expansion joint 12.
  • Such wave springs can be manufactured in a corrugation mold by in the wavy shape pressed together several layers of veneer will. After curing one between the veneer layers If the adhesive is inserted, the wavy shape is retained.
  • FIG. 13 An alternative to the wave spring is shown in FIG. 13 in the form of a only a wooden spring consisting of a bow or a clasp 14.
  • a wooden spring consisting of a bow or a clasp 14.
  • the strengths of the veneer layers can also influence the spring force as well as the material of the veneer layers.
  • we only preferred one total material thickness for wooden springs is about 4 to 8 mm.
  • FIG. 14 show variants for steel springs 31.
  • Figures I show a zigzag metal spring 31, II a metal spring 13 from a closed Metal band in oval shape, III an arch metal spring with wooden bearings 32 and IV a bow metal spring with bent End up.
  • Fig. 15 it is shown how the one on one side of the Laying surface 9 missing wall 11 as an abutment for clamping devices 13 in the form of pressure medium firmly with the underground 10, for example, connected by screws 32 closure element 33 used as an abutment for the pressure medium can be.
  • the clamping devices are in this variant Pieces or strips of cork 18.
  • the installation system can 8 also contain a resilient bearing.
  • a corresponding Variant is shown in FIG. 16.
  • This is a tension band 35, which is longitudinal the undersides 3 of the plate elements 1 runs.
  • bracket 36 and 36 'on On the edges of the outer plate elements 1 grab bracket 36 and 36 'on. With the bracket 36 on one side of the installation surface 9, the strap 35 is firmly connected.
  • roller 37 with a ratchet 38 is attached, so that the roller 37 by actuating the ratchet 38 to wind the tensioning strap or belt 35 are rotated can, without them by the tensile force of the strap 35th turns back again, since the ratchet 38 has reached a winding position locked.
  • This lock is preferably for dismantling of the laying system 9 releasable.
  • the tension band 35 has in particular an inherent elasticity.
  • the roller 37 with ratchet mechanism 38 can be in the expansion joint 12 or a separate one Recess of a wall.
  • FIG. 18 An alternative embodiment of tensioning devices 13 in The shape of a tension band or strap 35 is shown in FIG. 18.
  • the strap 35 runs around the free Circumferential sides of the plate elements lying on the laying surface 9 1.
  • brackets 36 are arranged, but only for guiding of the strap 35 serve.
  • a bracket 36 ' is arranged, which again, as in previously described embodiment, having a roller 37 a ratchet mechanism 38 to thereby tighten the strap 35 to tighten the installed plate elements 1 around.
  • Figures I to IV of Fig. 20 show various positive locking devices 39, in particular on the end circumference sides can be provided by plate elements 1.
  • Essential in the form-locking devices 39 is that they have undercuts included, so that a positive connection against movements perpendicular to the top 2 of the plate element 1.
  • Alignment devices 7 in the form of dowels are shown in FIGS. 21a) and 21b) shown
  • the plate elements connected by means of the dowels also have on their peripheral sides 4a, 4b, 4c, and 4d Profile 5.
  • the profiles 5 on the end faces 4b and 4d are designed as positive locking devices 39, and the Profiles 5 on the long sides 4a and 4c serve as coupling devices 29.

Landscapes

  • Engineering & Computer Science (AREA)
  • Architecture (AREA)
  • Civil Engineering (AREA)
  • Structural Engineering (AREA)
  • Life Sciences & Earth Sciences (AREA)
  • Wood Science & Technology (AREA)
  • Floor Finish (AREA)
  • Road Paving Structures (AREA)

Abstract

Die Erfindung betrifft ein Verlegesystem mit Plattenelementen (1), die eine Ober- und eine Unterseite (2,3) und dazwischenliegende Umfangsseiten (4a,4b,4c,4d) aufweisen, in denen Ausnehmungen (6) zur Aufnahme von Ausrichteinrichtungen (7) zum formschlüssigen Verbinden von wenigstens zwei benachbart zu verlegenden Plattenelementen (1) in Richtung senkrecht und in einer Richtung parallel zur Oberseite (2) enthalten sind. Bei diesem Verlegesystem ist weiter vorgesehen, daß die Ausnehmungen (6) und die Ausrichteinrichtungen (7) so dimensioniert sind, daß letztere locker verschiebbar in die Ausnehmungen (6) passen, und daß Spanneinrichtungen vorgesehen sind, mittels denen über die Ausrichteinrichtungen (7) miteinander verbundene Plattenelemente (1) aufeinander zu beaufschlagbar sind. <IMAGE>

Description

Die Erfindung betrifft ein Verlegesystem und ein Verlegeverfahren mit Plattenelementen nach den Oberbegriffen des Anspruchs 1 bzw. des Anspruchs 9. Ferner befaßt sich die Erfindung mit Spanneinrichtungen nach dem Oberbegriff des Anspruchs 8.
Derartige Verlegesysteme und Verlegeverfahren werden zum Herstellen von Bodenbelägen, wie insbesondere Parkettböden, verwendet. Letzterer besteht aus einzelnen Plattenelementen in Form von Parkettdielen, -brettern oder -stäben, die auf einen Untergrund gelegt und miteinander verbunden werden. Neben den althergebrachten Systemen, bei denen die Plattenelemente auf den Untergrund geklebt oder genagelt werden, sind zwischenzeitlich in der Praxis lose oder sogenannte schwimmend verlegte Parkettböden bekannt geworden.
Eine schwimmende Verlegung eines Parkettbodens hat gegenüber einer festen Befestigung der Plattenelemente auf dem Untergrund mehrere Vorteile. Am bedeutendsten ist es, daß ein schwimmend verlegter Parkettboden ohne weiteres wieder abgebaut und an anderer Stelle wieder verlegt werden kann, ohne daß dabei einzelne Plattenelemente beschädigt oder zerstört werden. Vorteilhaft ist bei einer schwimmenden Verlegung weiterhin, daß Reparaturen am Parkettboden durch Austausch einzelner Plattenelemente besonders einfach und unaufwendig ausgeführt werden können. Gegenüber der Verklebung hat die schwimmende Verlegung eines Parkettbodens ferner den Vorteil, daß keine gesundheitsschädlichen Lösungsmitteldämpfe und unangenehmen Gerüche entstehen, die oft über sehr lange Zeit nicht vollständig verschwinden. Auf den Untergrund genagelte Parkettböden haben gegenüber einer schwimmenden Verlegung die Nachteile, daß diese Befestigungsart sehr material- und zeitintensiv ist und sich negativ beim Abschleifen des Parkettbodens auswirkt.
Das Verlegen der bisher in der Praxis bekannten losen oder schwimmenden Parkettböden ist deshalb sehr aufwendig, da feste Verbindungen der Platten erforderlich sind, die durch geeignete passende Profile hergestellt werden, wozu ein großer Kraftaufwand und Geschick erforderlich sind. In der Querrichtung der üblicherweise länglichen Plattenelemente werden benachbarte Plattenelemente beispielsweise durch federnde Klammern zusammengezogen, wie aus der Praxis bekannt wurde. In ihrer Längsrichtung müssen solche Plattenelemente aber ausschließlich von Hand sehr dicht aneinander gesetzt werden. Dadurch erfordert es nicht nur viel Kraft und verursacht entsprechenden Lärm durch Hämmern, sondern verlangt es auch sehr viel Geschick, Plattenelemente dieses Verlegesystems zu verlegen.
Aus der DE-PS 800 915 sind Parkettplatten bekannt, deren Verbindung untereinander durch Nut und Feder, durch Dübel, durch U-förmige Verbindungsstege, die von unten in die Platten eingreifen, o.dgl. erzielt wird. Die Verbindung durch Dübel schafft zwar eine formschlüssige Verbindung von zwei benachbart liegenden Plattenelementen zum einen in Richtung senkrecht und zum anderen in einer Richtung parallel zu ihrer Oberseite, jedoch ist es schwer, die Verbindung über die Dübel herzustellen, die neben der Verbindungswirkung auch eine Ausrichtwirkung haben. Wie oben bereits beschrieben wurde, gehört neben dem Kraftaufwand für diese Arbeit auch Geschick dazu, um die Dübel richtig und sicher in entsprechende Ausnehmungen einzustecken und beim Zusammenklopfen der Platten letztere nicht zu beschädigen. Außerdem lassen sich über Dübel fest verbundene Plattenelemente nicht leicht wieder voneinander trennen, so daß ein solcher Parkettboden nicht ohne weiteres und ohne Verluste an Plattenelementen wieder abgebaut werden kann.
Der DE-PS 800 915 ist ferner eine Parkettplatte zu entnehmen, die aus einzelnen Parkettstäben besteht, die miteinander ausgerichtete Nute enthalten, in denen Gratleisten eingesetzt und befestigt sind. Diese Parkettplatte kann nicht wieder zerlegt werden. Außerdem kann sie nicht an beliebige Raumgrößen angepaßt werden.
Die vorliegende Erfindung hat zum Ziel, ein Verlegesystem und ein Verlegeverfahren zu schaffen, um Plattenelemente leicht, sicher und genau verlegen und wieder abbauen zu können.
Dieses Ziel wird durch die Erfindung vorrichtungsmäßig mit einem Verlegesystem nach dem Anspruch 1 erreicht.
Erfindungsgemäß ist zur Erreichung des genannten Ziels bei einem Verlegesystem mit Plattenelementen, die eine Ober- und eine Unterseite und dazwischenliegende Umfangsseiten aufweisen, in denen Ausnehmungen zur Aufnahme von Ausrichteinrichtungen zum formschlüssigen Verbinden von wenigstens zwei benachbart zu verlegenden Plattenelementen in Richtung senkrecht und in einer Richtung parallel zur Oberseite enthalten sind, vorgesehen, daß die Ausnehmungen und die Ausrichteinrichtungen so dimensioniert sind, daß letztere locker verschiebbar in die Ausnehmungen passen, und daß Spanneinrichtungen vorgesehen sind, mittels denen über die Ausrichteinrichtungen miteinander verbundene Plattenelemente aufeinander zu beaufschlagbar sind.
Dadurch wird erreicht, daß die einzelnen Plattenelemente nicht nur leichtgängig und miteinander ausgerichtet verlegt werden können, sondern auch, daß die einzelnen Plattenelemente ohne große Mühen und die Gefahr von Beschädigungen wieder abgebaut werden können. Für den notwendigen Zusammenhalt der Plattenelemente sind die Spanneinrichtungen ausreichend.
Die Ausrichteinrichtungen bilden lediglich eine Justier- und Ansetzhilfe beim Verlegen der Plattenelemente und müssen jedenfalls während des Verlegens keine feste Fixierung der Plattenelemente aneinander bewerkstelligen. Dafür sorgen spätestens nach Fertigstellung eines entsprechenden Bodenbelages die Spanneinrichtungen. Es muß jedenfalls keine Kraft aufgebracht werden, um die Ausrichteinrichtungen in die Ausnehmungen einzuführen. Ferner ist auch kein sonderliches Geschick erforderlich, um das leichtgängige Einschieben der Ausrichteinrichtungen in die Ausnehmungen vorzunehmen. Somit sind in einfacher Weise Fehlausrichtungen der Plattenelemente zueinander ausgeschlossen und der Verlegeaufwand wesentlich reduziert.
Die Spanneinrichtungen sorgen zuverlässig für einen ausreichenden Zusammenhalt der verlegten Plattenelemente. Weder das Schwund-/Ausdehnungsverhalten einiger Materialien, noch Schiebebelastungen bei der Benutzung können dadurch die Verbindungen der Plattenelemente trennen. Die Spanneinrichtungen können entweder von Plattenelement zu Plattenelement, die nicht unmittelbar benachbart sein müssen, direkt beim Verlegen oder vorzugsweise nach dem Verlegen von Teilflächen oder besonders bevorzugt nach dem Verlegen der Gesamtfläche eingesetzt werden.
Bei einer bevorzugten Ausgestaltung der Erfindung ist bei dem Verlegesystem vorgesehen, daß die Ausrichteinrichtungen Dübel und/oder Leisten enthalten, die zwischen zwei oder durchgehend über wenigstens zwei benachbart zu verlegenden Plattenelementen in deren Ausnehmungen einsetzbar sind.
Besonders bevorzugt sind Leisten, deren Länge über mehr als zwei, beispielsweise fünf bis sieben, Plattenelemente hinweg reicht. Bei derzeit in der Praxis bekannten schwimmend zu verlegenden Parkettböden besteht z.B. das Problem, daß Schwankungen der Umgebungstemperatur und -feuchtigkeit zu einem Ausdehnen und Zusammenziehen der Plattenelemente führen. Beim Ausdehnen des Materials können sich allgemein zwei Plattenelemente aus der Verlegefläche heraus aufstellen, um Platz für die Ausdehnung des gesamten Parkettbodens zu schaffen. Dadurch würden aber die sich aufstellenden Plattenelemente beschädigt, insbesondere dann, wenn die einzelnen Plattenelemente durch Nut/Feder-Verbindungen verbunden sind, da dann die Federleisten abbrechen. Dieses Problem besteht nicht nur bei Plattenelementen aus Holz, sondern auch bei anderen Materialien, teilweise in mehr oder weniger drastischen Auswirkungen und auf Grund evtl. anderer Effekte, wie z.B. Schiebebelastungen auf die verlegten Plattenelementen. Gerade die Version mit Ausrichteinrichtungen in Form von Leisten mit einer Länge über mehr als zwei Plattenelemente schafft hier sicher Abhilfe. Das Aufstellen einzelner Plattenelemente wird wirksam verhindert und es kann höchstens zu einer geringfügigen Wölbung der gesamten Bodenfläche kommen.
Vorzugsweise Weiterbildungen der vorstehenden Ausgestaltungen der Erfindung enthalten Dübel und/oder Leisten mit einem Profil, wie z.B. einem Rundprofil, einem Dreiecksprofil oder einem Schwalbenschwanzprofil. Im Zusammenhang mit dieser Variante der Erfindung ist es ferner bevorzugt, wenn die Ausnehmungen in den Plattenelementen ein zum Profil der Dübel und/oder Leisten passendes Profil aufweisen.
Gerade bei Plattenelementen aus Holz beispielsweise für einen Parkettboden, der nach einiger Zeit abgeschliffen werden soll, ist es vorteilhaft, wenn die Dübel und/oder Leisten maximal die halbe Dicke der Plattenelemente aufweisen.
Werden als Ausrichteinrichtungen Leisten verwendet, so ist es bevorzugt, wenn diese Längen haben, die größer als die Abmessungen von zwei Plattenelementen sind, durch die sie hindurch verlaufen, wie oben bereits erläutert wurde. Insbesondere kann dabei weiter vorgesehen werden, daß die Leisten unterschiedliche Längen haben. Dadurch enden nicht alle Leisten, wie z.B. Gratleisten, auf einer Linie, auf der es in Abhängigkeit vom Material der Plattenelemente zu einer Schwachstelle kommen könnte, sondern die Enden der Leisten und damit die Stoßstellen zu nachfolgenden Leisten verteilen sich auf eine Fläche.
Weiterhin ist es von Vorteil und daher ein bevorzugtes Merkmal, wenn die Dübel und/oder Leisten verjüngte Enden zur Einführung in die Ausnehmungen haben. Dadurch wird das Einfädeln der Dübel und/oder Leisten in die Ausnehmungen oder das Aufstecken der Ausnehmungen auf die Dübel und/oder Leisten erleichtert.
Eine andere bevorzugte Weiterbildung des erfindungsgemäßen Verlegesystems enthält Plattenelemente, die an ihren zu den in den Ausnehmungen eingesetzten Ausrichteinrichtungen parallelen Umfangsseiten Formschlußeinrichtungen aufweisen, die einen Formschluß in Richtung senkrecht zu den in den Ausnehmungen eingesetzten Ausrichteinrichtungen mit einem benachbarten Plattenelement ergeben, wie z.B. Schwalbenschwanz- oder Hakenausbildungen an einem Plattenelement und entsprechende Nute am benachbarten Plattenelement. Dadurch kann ein weiterer Zusammenhalt der Plattenelemente auch in Richtung senkrecht zu den in den Ausnehmungen eingesetzten Ausrichteinrichtungen und der Oberseite der Plattenelemente erreicht werden. Besonders vorteilhaft ist diese Verbindung zu Plattenelementen am Rand der Verlegefläche, wenn nicht mehr für ganze Plattenelemente Platz ist, so daß eventuell keine Ausrichteinrichtungen mehr angeordnet werden können. In einem solchen Fall sind die teilweisen Plattenelemente am Rand nicht vollständig lose eingelegt und müßten mit Nägeln o.ä. befestigt werden, sondern sind über die Formschlußeinrichtungen mit den jeweils senkrecht zu den in den Ausnehmungen eingesetzten Ausrichteinrichtungen benachbarten Plattenelementen verbunden.
Bei einer weiteren bevorzugten Ausgestaltung des erfindungsgemäßen Verlegesystems ist vorgesehen, daß die Ausnehmungen in den Umfangsseiten der Plattenelemente bohrlochartig mit rundem oder eckigem Profil ausgebildet und insbesondere näher bei deren Unterseiten liegen. Alternativ können die Ausnehmungen nutartig in den Unterseiten offen und so profiliert sein, daß ein Formschluß zwischen in den Ausnehmungen eingefügten Ausrichteinrichtungen und Plattenelementen in Richtung senkrecht zu deren Oberseiten gewährleistet ist, bevorzugt in Form einer Schwalbenschwanznut, und sich insbesondere von der Unterseite in Richtung zur Oberseite der Plattenelemente über nicht mehr als deren halbe Dicke erstrecken. Die in der unteren Hälfte der Dicke der Plattenelemente liegenden bohrlochartigen oder nutartigen Ausnehmungen bieten insbesondere bei später einmal abzuschleifenden Parkettböden die Möglichkeit, bis etwa die Hälfte deren Dicke abschleifen zu können, ohne daß die Verbindung der Plattenelemente durch die Ausrichteinrichtungen dadurch beeinträchtigt wird.
Im Fall von nutartigen Ausnehmungen ist es weiterhin bevorzugt, wenn die Ausrichteinrichtungen so dimensioniert sind, daß sie vollständig innerhalb der nutartigen Ausnehmungen liegen und insbesondere mit der Unterseite der Plattenelemente eine plane Fläche bilden. Dadurch ist die Auflagefläche der Plattenelemente mit Ausrichteinrichtungen auf dem Untergrund optimal. Alternativ können die Ausrichteinrichtungen so dimensioniert sein, daß sie, wenn sie mit den Ausnehmungen zusammengesteckt sind, über die Unterseite der Plattenelemente hinaus aus den nutartigen Ausnehmungen vorstehen. Die Plattenelemente liegen dann nur auf den Ausrichteinrichtungen auf und es ist ein Hohlraum zwischen der Unterlage und den Plattenelementen gebildet. Ein solcher Hohlraum kann an Decken, an Wänden oder auf Böden beispielsweise zur Führung von Verkabelungen wünschenswert sein. Weiterhin können auf diese Weise z.B. Unebenheiten der Unterlage durch entsprechendes Anpassen der Ausrichteinrichtungen ausgeglichen werden.
Bei aus nutartigen Ausnehmungen vorstehenden Ausrichteinrichtungen kann in Abhängigkeit von den Elastizitätseigenschaften der Plattenelemente auch eine Federwirkung beispielsweise des mit letzteren belegten Bodens erreicht werden, indem die Plattenelemente in ihren Flächenbereichen zwischen den Ausrichteinrichtungen bei Belastung federnd nachgeben können. Dies läßt sich z.B. dadurch verstärken oder optimieren, daß Elastikmittel vorgesehen sind, über die die Ausrichteinrichtungen auf eine Verlegefläche, wie eine Unterlage, auflegbar sind. In Verbindung mit den Elastikmitteln, wie beispielsweise elastisches Material oder einzelne Federn, ist es nicht erforderlich, daß die Ausrichteinrichtungen aus den nutartigen Ausnehmungen vorstehen können, solange die Plattenelemente über die Elastikmittel vom Untergrund beabstandet gehalten werden, so daß ein Federweg zur Verfügung steht. Mittels dieser Ausgestaltung können z.B. Schwingböden, aber auch bei einem Aufprall gedämpfte Wandverkleidungen hergestellt werden.
Wenn die Ausrichteinrichtungen an einer Verlegefläche befestigbar sind, kann das Verlegesystem auch z.B. auf einer Balkenunterlage verwendet werden. Der Abstand der nutartigen Ausnehmungen müßte dann dem Abstand der Balken entsprechen und die Ausrichteinrichtungen könnten dann einfach auf den Balken befestigt werden.
Der Zusammenhalt und die Ausrichtung der Plattenelemente kann dadurch gefördert werden, daß die Umfangsseiten der Plattenelemente profiliert sind, und zwar so, daß die Umfangsseitenprofile benachbarter Plattenelemente zusammenpassen. Geeignete Formgebungen sind dabei Zickzack-, Wellen-, Kronenausbildungen u.ä. Vorzugsweise erstrecken sich diese Formgebungen über die gesamte Höhe der Umfangsseiten der Plattenelemente, da dann auch nach beispielsweise mehrmaligem Abschleifen von Plattenelementen aus Holz .
Eine bevorzugte Weiterbildung der vorstehend angegebenen Ausgestaltung sieht vor, daß die Profilierung der Umfangsseiten der Plattenelemente zusätzlich zu den Ausrichteinrichtungen Kopplungseinrichtungen ausbildet, wie z.B. Nut/Feder-Verbindungen, über die benachbarte Plattenelemente verbindbar sind.
Grundsätzlich sind solche Kopplungseinrichtungen für den Zusammenhalt verlegter Plattenelemente nicht erforderlich, sondern tragen lediglich zur Stabilität der Verbindung bei. Die Kopplungseinrichtungen sollen auch nicht fest zusammengefügt sein, sondern leicht z.B. ineinanderschiebbar sein.
Bei dem Verlegesystem nach der Erfindung kann mit Vorteil vorgesehen sein, daß eine Unterlage zum Auflegen der Plattenelemente enthalten ist. Vorzugsweise weist eine solche Unterlage eine mattenartige oder bevorzugt netzartige Schicht aus oder mit vorzugsweise Kork, Gummi, Kautschuk, Jute, Sisal, Hanf, Wollfilz, Kokosfasern, vorzugsweise einem Kokosfasergeflecht und besonders bevorzugt einem mit Kautschuk verpreßten oder silikonisierten Kokosfasergeflecht auf. Die Unterlage kann im Fall der weiter oben beschriebenen Ausführung mit an der Unterseite der Plattenelemente vorstehenden Ausrichteinrichtungen nur zwischen letzteren vorgesehen sein, also in den gebildeten Zwischenräumen zwischen Untergrund und Plattenelementen sowie benachbarten parallelen Ausrichteinrichtungen. Im letzteren Fall kann aber auch, wie in dem Fall, daß die Ausrichteinrichtungen nicht aus den Unterseiten der Plattenelemente nach unten vorstehen, die Unterlage über die gesamte Verlegefläche vorgesehen sein.
Gerade bei einem Verlegesystem als Bodenbelag ist eine solche Unterlage insbesondere als Trittschalldämmung vorteilhaft. Bei den o.g. bevorzugten Materialien handelt es sich in vorteilhafter Weise um nachwachsende Naturprodukte. Insbesondere bei einem Netz aus mit Kautschuk verpreßten Kokosfasern, wobei das Netz große oder kleine Maschen haben kann, werden eine Reihe von Vorteilen erreicht. So ist dieses Material sehr widerstandsfähig, schwer entflammbar, 100% mottensicher, fäulnissicher, nässebeständig, elektrostatisch nicht aufladbar, feuchtigkeitsregulierend, voll biologisch abbaubar, und hat hohe Isoliereigenschaften gegen Trittschallausbreitung und Wärmeverlust sowie eine Luftkammerbildung und Luftzirkulation, wodurch sich eine optimale Unterlüftung der Parkettunterseite ergibt. Die vorgenannten Vorteile lassen sich ganz oder teilweise auch bei den anderen genannten Materialien und Ausführungsformen erzielen. So können z.B. beliebige Netzformen mit Naturfasern, ein Kautschuknetz, eine Kokosrollmatte, ein Netz mit eingearbeitetem Geflecht, ein Luftkammern- oder -röhrennetz, eine vollflächige dünne Luftmatratze, die je nach gewünschtem Schwingungsverhalten des Bodens aufgepumpt werden kann, u.dgl. verwendet werden, um nur einige Möglichkeiten exemplarisch zu nennen.
Nachfolgend werden einige bevorzugte Ausgestaltungen der Spanneinrichtungen angegeben.
Bei einer anderen besonders bevorzugten Ausgestaltung der Erfindung enthalten die Spanneinrichtungen von außen auf wenigstens zwei über die Ausrichteinrichtungen miteinander verbundenen Plattenelemente auf deren Umfangsseiten wirkende Druckmittel, wie beispielsweise Holzfedern, Metallfedern, Korkteile, Moosgummiteile u.ä. Durch diese Ausgestaltung wird gleichsam eine Zentrierwirkung des verlegten Bodenbelages erreicht, so daß beispielsweise zu begrenzenden Wänden hin überall zumindest annähernd gleiche Abstände eingehalten werden.
Beispielsweise können die Spanneinrichtungen aber auch zwischen zwei über die Ausrichteinrichtungen verbundenen, benachbarten und/oder nicht unmittelbar benachbarten Plattenelementen einsetzbare Zugelemente enthalten, wie z.B. Klammern, Spannbänder u.dgl., die vorzugsweise über die und/oder an den Unterseiten der Plattenelemente geführt werden. Gerade bei größeren zu belegenden Flächen kann es vorteilhaft sein, Teilflächen zusammenzuspannen, da der Aufwand für die Gesamtfläche zu groß wäre. Beim internen Verspannen von Teilflächen kann auch eine Verspannung von mehreren Teilflächen untereinander vorgesehen werden. Besonders eigenen sich für eine Teilflächenverspannung Spannbänder oder -gurte. diese können entweder nur in Randbereichen der Teilflächen angreifen, oder aber an den Unterseiten einzelner Plattenelemente der Teilflächen beispielsweise über Krallen, Haken, Klammern usw. angreifen. Soll nur eine kleine Fläche mit Plattenelementen belegt werden, so eigenen sich auch einzelne zwischen zwei benachbarten Plattenelementen eingesetzte Klammern, mittels denen die beiden dadurch verbundenen Plattenelemente aufeinander zu gezogen werden.
Mit Vorzug können ferner bei einem Verlegesystem nach der Erfindung zweiteilige Randleisten vorgesehen sein, die eine Grundleiste zum Anbringen an Plattenelementen, eine Außenleiste zum Anbringen an einem Rand der Verlegefläche und Ausgleichseinrichtungen enthalten, die zumindest an der Außenleiste oder an der Grundleiste angebracht sind und mittels denen bei einer Verschiebung der Plattenelemente mit den Grundleisten zwischen letzteren und den Außenleisten auftretende Spalte abdeckbar und/oder verschließbar sind. Dadurch lassen sich die an den Rändern der verlegten Fläche zu Begrenzungen, wie z.B. Wänden freigelassenen oder auftretenden Spalte abdecken und somit ein optimales Aussehen des gesamten Bodenbelages erreichen. Die Ausgleichseinrichtungen können einfache Bänder aus elastischem oder nichtelastischem Material sein. Elastische Bänder gleichen sich durch reversible Dehnung oder Schrumpfung entsprechend dem zu überdeckenden Spalt an. Im Fall von nichtelastischen Bändern müssen diese entsprechend dem maximal zu erwartenden Spalten bemessen sein und legen sich z.B. bei einer Verkleinerung der Spalte beispielsweise durch Ausdehnung des Holzmaterials der Plattenelemente in Falten zusammen.
Bevorzugte Materialien der Plattenelemente sind: Holz, Kork, Stein, Kunststoff, Verbundmaterial, Laminatmaterial, Kautschuk, Metall. Dieselben Materialien können für die Ausrichteinrichtungen verwendet werden.
Die Plattenelemente können vorzugsweise eine längliche Form aufweisen und insbesondere stab-, latten- oder dielenartig sein. Dabei verlaufen dann die Ausnehmungen insbesondere quer zur Längsausdehnung der Plattenelemente. Hinsichtlich der weiter vorne bereits angegebenen Formschlußeinrichtungen ist es dabei bevorzugt, daß an den kürzeren Umfangsstirnseiten, Formschlußeinrichtungen, wie z.B. jeweils eine Schwalbenschwanzfeder und ein Schwalbenschwanznut, vorgesehen sind, durch die zwei benachbarte Plattenelemente passend und bevorzugt fest miteinander verbindbar sind. Die damit erzielbaren Vorteile wurden bereits weiter oben erläutert.
Für eine besonders gute Stabilität bei dem erfindungsgemäßen Verlegesystem kann gemäß weiteren Ausführungsbeispielen dadurch gesorgt werden, daß, wenn die Ausnehmungen nicht über das gesamte Plattenelement hindurchgehend verlaufen, an zwei entgegengesetzten Umfangsseiten der Plattenelemente liegende Ausnehmungen vorzugsweise nicht miteinander ausgerichtet angeordnet sind. Im anderen Fall, wenn die Ausnehmungen über das gesamte Plattenelement hindurchgehend verlaufen, sind die Ausnehmungen bevorzugt bezüglich einer zu ihnen parallelen Mittellinie des Plattenelements unsymmetrisch angeordnet sind oder in benachbart zu verlegenden Plattenelementen senkrecht zu ihrer Verlaufsrichtung an unterschiedlichen Stellen liegen.
Dadurch wird erreicht, daß über größere Flächen keine durchgehenden Linien entstehen, längs die Ausrichteinrichtungen verlaufen. Der Verbund der verlegten Plattenelemente wird dadurch verbessert.
Wird vorgesehen, daß jede in einer zu ihr parallel verlaufenden Umfangsseite des Plattenelementes verlaufende Ausnehmung nur eine halbe Ausnehmung ist, so können Ausrichteinrichtungen auch gleichzeitig in zwei Plattenelementen verlaufen, die dadurch gemeinsam ausgerichtet werden. Dies ist nützlich, wenn beispielsweise Teile von Plattenelementen in Abhängigkeit von verbleibenden Abmessungen der zu belegenden Fläche zu klein sind, um komplette Ausnehmungen aufzunehmen. Solche Teile von Plattenelementen profitieren hinsichtlich ihrer Ausrichtung und eventuell auch ihrer Verbindung zu benachbarten Plattenelementen von mit letzteren gemeinsamen Ausrichteinrichtungen. In Abhängigkeit vom Material der Plattenelemente kann eine derartige Ausbildung der Ausnehmungen aber auch sinnvoll sein, um gerade die Ränder der Plattenelemente relativ zueinander festzulegen und ggf. zu fixieren.
Das der Erfindung zu Grunde liegende Ziel, wie es weiter oben bereits angegeben wurde, wird auch durch ein Verlegeverfahren nach dem Anspruch 9 erreicht.
Dieses Verlegeverfahren betrifft Plattenelemente, die eine Ober- und eine Unterseite und dazwischenliegende Umfangsseiten aufweisen, in denen Ausnehmungen enthalten sind, wobei zum Verbinden der Plattenelemente Ausrichteinrichtungen in die Ausnehmungen eingeführt werden. Erfindungsgemäß ist dabei weiter vorgesehen, daß die Plattenelemente locker auf die Ausrichteinrichtungen geschoben werden, daß über die Ausrichteinrichtungen miteinander verbundene Plattenelemente durch Spanneinrichtungen aufeinander zu beaufschlagt werden.
Bezüglich der damit erreichbaren Vorteil wird zur Vermeidung von Wiederholungen auf die Darstellungen weiter oben zur vorrichtungsmäßigen Umsetzung der Erfindung verwiesen.
Eine bevorzugte Weiterbildung der Erfindung sieht vor, daß die Ausrichteinrichtungen und/oder die Ausnehmungen vor dem Zusammenfügen mit einem Gleitmittel, wie beispielsweise Seife, Öl, Wachs, etc., versehen werden. Dadurch wird ein leichtes Ineinandergleiten der Ausrichteinrichtungen und Ausnehmungen erreicht.
Bei einer anderen mit Vorzug durchgeführten Variante der Erfindung werden bei dem Verlegeverfahren als Spanneinrichtungen zwischen zwei über die Ausrichteinrichtungen verbundene, benachbarte und/oder nicht unmittelbar benachbarte Plattenelemente Zugelemente, wie z.B. Klammern, Spannbänder u.dgl., die vorzugsweise über die und/oder an den Unterseiten der Plattenelemente geführt werden, eingesetzt.
Zusätzlich dazu oder aber vorzugsweise alternativ können als Spanneinrichtungen von außen auf wenigstens zwei über die Ausrichteinrichtungen miteinander verbundene Plattenelemente auf deren Umfangsseiten wirkende Druckmittel, wie beispielsweise Holzfedern, Metallfedern, Korkteile, Moosgummiteile u.ä. angebracht werden. Damit wird eine gleichmäßige Druckverteilung über die Verlegefläche und eine automatische Zentrierung der verlegten Plattenelemente erreicht.
Ein weiteres Ziel der vorliegenden Erfindung besteht darin, Spanneinrichtungen für ein Verlegesystem zu schaffen, um Plattenelemente leicht, sicher und genau verlegen und wieder abbauen zu können.
Dieses Ziel wird mit Spanneinrichtungen nach dem Anspruch 8 erreicht. Ausgehend von aus der Praxis bekannten Klammern, die zwischen einzelnen Plattenelementen einzusetzen sind, dienen die Spanneinrichtungen für ein Verlegesystem grundsätzlich dazu, um benachbart verlegte Plattenelemente aufeinander zu zu beaufschlagen. Durch die erfindungsgemäße Verbesserung ist dabei weiter vorgesehen, die Spanneinrichtungen von außen auf Umfangsseiten benachbart verlegter Plattenelemente wirkende Druckmittel, wie beispielsweise Holzfedern, Metallfedern, Korkteile, Moosgummiteile u.ä., enthalten, die dazu ausgelegt sind, unter Vorspannung zwischen den Umfangsseiten verlegter Plattenelemente und der Umgebung der verlegten Plattenelemente eingespannt zu werden, insbesondere so, daß die Druckmittel über einen Dehnungs- und Zusammenziehbereich der verlegten Plattenelemente immer eine Vorspannung beibehalten.
Solche Spanneinrichtungen haben den Vorteil, daß sie verlegte Plattenelemente immer gleichsam zentrieren. Außerdem wird durch derartige Spanneinrichtungen die auf die Umfangsseiten der Plattenelemente aufgebrachte Kraft optimal gleichmäßig verteilt.
Weitere bevorzugte Ausgestaltungen und deren Vorteile ergeben sich aus den jeweils abhängigen Ansprüchen und deren Kombinationen.
Die Erfindung wird nachfolgend unter Bezugnahme auf in der Zeichnung dargestellte Ausführungsbeispiele näher erläutert, die jedoch nicht beschränkend, sondern lediglich exemplarisch und erklärend zu verstehen sind. In der Zeichnung zeigen:
  • Fig. 1 schematisch in perspektivischer Teilansicht ein erstes Ausführungsbeispiel des Verlegesystems,
  • Fig. 2 schematisch in perspektivischer Teilansicht ein zweites Ausführungsbeispiel des Verlegesystems,
  • Fig. 3 schematisch in teilweiser Vorderansicht ein drittes Ausführungsbeispiel des Verlegesystems,
  • Fig. 4 in Abbildungen I bis V verschiedene Ausführungsbeispiele von Profilen der Umfangsseiten der Plattenelemente,
  • Fig. 5 schematisch in teilweiser Draufsicht ein viertes Ausführungsbeispiel des Verlegesystems,
  • Fig. 6 schematisch in teilweiser Vorderansicht ein fünftes Ausführungsbeispiel des Verlegesystems,
  • Fig. 7 schematisch in teilweiser Vorderansicht ein sechstes Ausführungsbeispiel des Verlegesystems,
  • Fig. 8 schematisch in teilweiser Vorderansicht ein siebtes Ausführungsbeispiel des Verlegesystems,
  • Fig. 9 in Abbildungen I bis V exemplarische Profilformen der Ausnehmungen und der Ausrichteinrichtungen in schematischer Querschnittsdarstellung,
  • Fig. 10 schematisch in teilweiser Draufsicht ein achtes Ausführungsbeispiel des Verlegesystems,
  • Fig. 11 schematisch in teilweiser Vorderansicht ein neuntes Ausführungsbeispiel des Verlegesystems,
  • Fig. 12 ein Ausführungsbeispiel für Spanneinrichtungen schematisch in Draufsicht,
  • Fig. 13 ein weiteres Ausführungsbeispiel für Spanneinrichtungen schematisch in Draufsicht,
  • Fig. 14 in Abbildungen I bis IV weitere Varianten für Spanneinrichtungen schematisch in Draufsicht,
  • Fig. 15 schematisch in teilweiser Vorderansicht ein zehntes Ausführungsbeispiel des Verlegesystems,
  • Fig. 16 schematisch in teilweiser Vorderansicht ein elftes Ausführungsbeispiel des Verlegesystems,
  • Fig. 17a) in einer schematischen seitlichen Schnittansicht und Fig. 17b) in einer Draufsicht ein zwölftes Ausführungsbeispiel des Verlegesystems,
  • Fig. 18 in einer Draufsicht ein dreizehntes Ausführungsbeispiel des Verlegesystems,
  • Fig. 19 in Abbildungen I bis V verschiedene weitere Ausführungsbeispiele von Profilen der Umfangsseiten der Plattenelemente,
  • Fig. 20 in Abbildungen verschiedene Ausführungen von Profilen der Umfangsseiten der Plattenelemente als Formschlußeinrichtungen, und
  • Fig. 21a) und 21b) in einer perspektivischen Schemazeichnung bzw. im Schnitt ein vierzehntes Ausführungsbeispiel des Verlegesystems.
  • In der Zeichnung sind gleiche oder gleichartige oder gleich oder gleichwirkende Teile oder Merkmale durchgehend mit denselben Bezugszeichen versehen. Der Übersichtlichkeit halber sind nicht in allen Figuren der Zeichnung alle Teile oder Merkmale mit Bezugszeichen versehen, wobei jedoch aus den Darstellungen der Figuren insbesondere durch die vergleichende Betrachtung der letzteren auch solche Teile und Merkmale deutlich werden, die in einzelnen Figuren nicht mit Bezugszeichen versehen sind. Außerdem sind weitere nicht mit Bezugszeichen versehene Einzelheiten in den Figuren für einen Fachmann ohne weiteres erkennbar, so daß sie zur Verdeutlichung der Erfindung beitragen und zum Offenbarungsgehalt der vorliegenden Unterlagen gehören.
    Die Fig. 1 zeigt schematisch in perspektivischer Ansicht ein erstes Ausführungsbeispiel der Erfindung. Im rechten Teil sind ein Parkettstab als Plattenelement 1 sowie links daran anschließend ein weiteres Plattenelement 1 gezeigt, das lediglich teilweise dargestellt ist. Jedes Plattenelement 1 hat eine Oberseite 2 und eine in der Darstellung nicht sichtbare Unterseite 3 sowie Umfangsseiten 4a, 4b, 4c und 4d. Die Umfangsseiten 4a und 4c werden die Längsseiten und die Umfangsseiten 4b und 4d werden die Stirnseiten genannt. Die Umfangsseiten 4a, 4b, 4c und 4d sind profiliert. In der Fig. 1 handelt es sich dabei um ein Zickzackprofil 5.
    Unten in den Plattenelementen 1, d.h. in deren Unterseiten 3 sind Nute als Ausnehmungen 6 enthalten, die einen sich zur Nutöffnung hin verengenden Querschnitt haben. In diesen Ausnehmungen 6 sind Gratleisten als Ausrichteinrichtungen 7, die einen den Ausnehmungen entsprechenden Querschnitt haben, so aufgenommen, daß die Plattenelemente 1 leicht auf den Ausrichteinrichtungen 7 verschoben werden können. Auf Grund des Profils der Ausnehmungen 6 und der Ausrichteinrichtungen 7 wird ein je Formschluß gegen Bewegungen der Plattenelemente 1 relativ zu den Ausrichteinrichtungen 7 zum einen in Richtung senkrecht zur Oberseite 2 der Plattenelemente und zum anderen in Richtung parallel zu den Längsseiten (Umfangsseiten 4a und 4c), d.h. senkrecht zu den Stirnseiten (Umfangsseiten 4b und 4d), der Plattenelemente 1 geschaffen. In den Zeichnungen nicht deutlich zu sehen ist, daß sich die Ausrichteinrichtungen 7, wie die Gratleisten, an ihren in Längsrichtung freien Enden verjüngen, was das Aufschieben der Plattenelemente 1 erleichtert.
    Dadurch, daß die Ausrichteinrichtungen 7 leichtgängig mit den Ausnehmungen 6 zusammengeschoben werden können, lassen sich die Plattenelemente 1 im Rahmen eines Verlegesystems 8 ohne große Mühen aneinandersetzen.
    Wird dies auf einer Verlegefläche 9, wie einer Unterlage 10, durchgeführt, kann beispielsweise eine Anordnung von Plattenelementen 1 erhalten werden, wie sie in der Fig. 2 gezeigt ist. Hier ist eine andere Ausführung des Verlegesystems 8 schematisch illustriert, wobei jedes Plattenelement 1 in seiner Unterseite 3 jeweils am Rand eine halbe Ausnehmung 6' (siehe Fig. 3) und in der Mittenlage eine vollständige Ausnehmung 6 hat. Die halben Ausnehmungen 6', d.h. die jeweiligen halben Nute, sind somit auch in den Umfangsseiten 4b und 4d, d.h. in den Stirnseiten, vorhanden, da sozusagen die Teilung der Nute in ihrer Längsrichtung, also parallel zu den Stirnseiten erfolgte. Werden zwei Plattenelemente 1 an ihren Stirnseiten aneinander gelegt, so ergeben die beiden halben Ausnehmungen 6' (siehe Fig. 3) zusammen eine ganze Ausnehmung 6.
    Im Unterschied zu der Ausführung der Fig. 2 sind bei dem Ausführungsbeispiel in der Fig. 1 außer den beiden halben Ausnehmungen 6' (siehe Fig. 3) längs den Stirnseiten noch drei vollständige Ausnehmungen 6 über die Längsausdehnung des Parkettstabes verteilt, und zwar insbesondere in gleichmäßigen Abständen.
    Wie den Fig. 1 und 2 weiter zu entnehmen ist, haben bei diesen Ausführungsbeispielen die aus den Plattenelementen 1 vorstehenden Gratleisten unterschiedliche freie herausstehende Längen. Dies liegt daran, daß Gratleisten, d.h. Ausrichteinrichtungen 7 verwendet wurden, die unterschiedliche Längen haben. Dadurch liegen die Anschlüsse weiterer Gratleisten oder allgemein Ausrichteinrichtungen 7, die sich in deren Längsausdehnung anschließen, damit weitere Plattenelemente 1 verlegt werden können, nicht alle auf einer Linie, was die Stabilität des Verlegesystems 8 erhöht.
    In der Fig. 3 sind zwei zusammengefügte Plattenelemente 1 in einer schematischen Seitenansicht als drittes Ausführungsbeispiel eines Verlegesystems 8 gezeigt, so daß der Querschnitt der Nute oder allgemein Ausnehmungen 6 deutlich sind. Die rechts dargestellte Ausnehmung 6 liegt vollständig innerhalb eines Plattenelementes 1. Die linke der beiden Ausnehmungen 6 wird je zur Hälfte durch eine halbe Ausnehmung 6' in einem Plattenelement 1 gebildet, die dadurch bei ihrem Zusammenfügen eine komplette Ausnehmung 6 bilden. Wie in der Fig. 3 weiter zu erkennen ist haben die Ausnehmungen 6 einen schwalbenschwanznutförmigen Querschnitt. Der Querschnitt könnte allgemein aber auch dreiecksförmig, kreisrund, oval oder anders sein, solange die Formschlüsse senkrecht und parallel zur Oberseite 2 der Plattenelemente 1 dadurch realisiert werden.
    Die Ausnehmungen 6 erstrecken sich in der Dickenrichtung der Plattenelemente 1, wie in der Fig. 3, aber auch den Fig. 1 und 2, deutlich zu erkennen ist, nicht einmal über die halbe Dicke der Plattenelemente 1. Dadurch kann der mit diesem Verlegesystem 8 hergestellte Parkettboden mehrmals abgeschliffen werden, ohne daß die Ausnehmungen 6 durch den Materialabtrag von der Oberseite 4a der Plattenelemente 1 her erreicht werden, so daß über mehrere Abschleifvorgänge hinweg der Verbund der Plattenelemente 1 über die in den Ausnehmungen 6 enthaltenen Ausrichteinrichtungen 7 aufrecht erhalten bleibt.
    Dieser Verbund der Plattenelemente 1 über die in den Ausnehmungen 6 enthaltenen Ausrichteinrichtungen 7 wird durch das Profil 5 der Umfangsseiten 4a, 4b, 4c und 4d unterstützt. Lediglich exemplarisch sind in der Fig. 4 schematisch im Querschnitt Ausführungsbeispiele von unterschiedlichen Profilen 5 gezeigt, mit denen die Umfangsseiten 4a, 4b, 4c und 4d der Plattenelemente 1 versehen sein können. So zeigen die Abbildung I ein Kronenprofil, die Abbildung II ein Zapfenprofil, die Abbildung III ein tiefes Wellenprofil, die Abbildung IV ein Zickzackprofil und die Abbildung V ein flaches Wellenprofil.
    In der Fig. 5 ist im Zusammenhang mit einem vierten Ausführungsbeispiel des Verlegesystems 8 eine Wand 11 zu sehen, vor der in einem Abstand Plattenelemente 1, die jeweils nur teilweise abgebildet sind. Durch diesen Abstand besteht zwischen der Wand 11 und den Plattenelementen 1 ein Spalt 12, der benötigt wird, wenn sich die Plattenelemente 1 auf Grund von Änderungen der Umgebungstemperatur und -feuchtigkeit ausdehnen, damit die Plattenelemente 1 dann nicht gleich direkt an der Wand 11 anstehen. Der Spalt 12 ist somit eine Dehnfuge. In diesem Spalt 12 sind Spanneinrichtungen 13 in Form von Druckmitteln eingespannt, die im vorliegenden Ausführungsbeispiel durch Holzfedern 14 gebildet sind. Die Holzfedern 14 werden im vorgespannten Zustand in den Spalt 12 eingesetzt und beaufschlagen daher die Plattenelemente 1 aufeinander zu. Schrumpfen die Plattenelemente 1 aus ihrer Ausgangsgröße oder nach einer Ausdehnung, so drücken die Spanneinrichtungen 13 die Plattenelemente 1 wieder zusammen, so daß zwischen letzteren keine Spalte entstehen, die unschön anzusehen sind, in denen sich Schmutz ansammeln kann, und die eine Stolpergefahr bedeuten.
    Die Spanneinrichtungen 13 sorgen dafür, daß die locker oder leicht verschiebbar mit den Ausnehmungen 6 auf die Ausrichteinrichtungen 7, wie in den bisher angegebenen Ausführungsbeispielen Gratleisten, aufgeschobenen Plattenelemente 1 sicher zusammengehalten werden. Andere Befestigungsarten sind nicht erforderlich.
    In der Fig. 6 ist eine andere Variante der Spanneinrichtungen 13 bei einem weiteren Ausführungsbeispiel eines Verlegesystems 8 gezeigt. Hierbei handelt es sich um Spannbänder 15 mit Krallen 16, weshalb das Spannband 15 auch Krallenband genannt werden kann. Das Spannband 15 bildet ein Zugelement und verläuft unter den verlegten Plattenelementen 1 so, daß seine Krallen 16 nach oben vorstehen und in Eingriffsöffnungen 17, wie z.B. Entlastungsschnitte, in der Unterseite 3 der Plattenelemente 1 eingreifen. Die Krallen 16 verhaken sich auf Grund ihrer Ausgestaltung in den Eingriffsöffnungen 17, so daß sie dort fest verankert sind. Das Spannband 15 weist eine Eigenelastizität auf und ist bei in den Eingriffsöffnungen 17 verhakten Krallen 16 unter Vorspannung, so daß es die einzelnen Plattenelemente 1 aufeinander zu zieht. Derartige Spanneinrichtungen 13 können auf Teilflächen von verlegten Plattenelementen 1 angewandt werden und eigenen sich daher für sehr große Verlegeflächen 9. Dabei können über Spannbänder 15 zusammengehaltene Teilflächen beispielsweise wiederum durch andere Spannbänder gekoppelt und zusammengehalten werden.
    In der Fig. 7 ist im Querschnitt schematisch ein Randabschluß eines sechsten Ausführungsbeispiels eines Verlegesystems 8 gezeigt. Auf dem Untergrund 10 liegt zunächst eine Unterlage 27, auf der die Plattenelemente 1 verlegt sind. Die Unterlage 27 besteht aus einer mattenartigen oder bevorzugt netzartigen Schicht aus oder mit vorzugsweise Kork, Gummi, Kautschuk, Jute, Sisal, Hanf, Wollfilz, Kokosfasern, vorzugsweise einem Kokosfasergeflecht und besonders bevorzugt einem mit Kautschuk verpreßten oder silikonisierten Kokosfasergeflecht auf. Die Unterlage 27 kann bei aus der Unterseite 3 der Plattenelemente 1 vorstehenden Ausrichteinrichtungen 7 nur zwischen letzteren vorgesehen sein, also in den gebildeten Zwischenräumen zwischen Untergrund 10 und Plattenelementen 1 sowie benachbarten parallelen Ausrichteinrichtungen 7. Die Unterlage 27 kann aber auch, wenn die Ausrichteinrichtungen 7 nicht aus den Unterseiten 3 der Plattenelemente 1 nach unten vorstehen, über die gesamte Verlegefläche 9 vorgesehen sein. Weitere Ausgestaltungsmöglichkeiten für die Unterlage 27 sind Luftmatratzen, Schlauchsysteme, Isomatten, Röhrensysteme, u.ä. Eine vorzugsweise Ausgestaltung einer Kokosfasermatte ist grobmaschig und etwa 3 bis 6 mm dick.
    Gerade bei einem Verlegesystem 8 als Bodenbelag ist eine solche Unterlage 27 insbesondere als Trittschalldämmung vorteilhaft. Bei den o.g. bevorzugten Materialien handelt es sich in vorteilhafter Weise um nachwachsende Naturprodukte. Insbesondere bei einem Netz aus mit Kautschuk verpreßten Kokosfasern, wobei das Netz große oder kleine Maschen haben kann, werden eine Reihe von Vorteilen erreicht. So ist dieses Material sehr widerstandsfähig, schwer entflammbar, 100% mottensicher, fäulnissicher, nässebeständig, elektrostatisch nicht aufladbar, feuchtigkeitsregulierend, voll biologisch abbaubar, und hat hohe Isoliereigenschaften gegen Trittschallausbreitung und Wärmeverlust sowie eine Luftkammerbildung und Luftzirkulation, wodurch sich eine optimale Unterlüftung der Parkettunterseite ergibt. Die vorgenannten Vorteile lassen sich ganz oder teilweise auch bei den anderen genannten Materialien und Ausführungsformen erzielen. So können z.B. beliebige Netzformen mit Naturfasern, ein Kautschuknetz, eine Kokosrollmatte, ein Netz mit eingearbeitetem Geflecht, ein Luftkammern- oder -röhrennetz, eine vollflächige dünne Luftmatratze, die je nach gewünschtem Schwingungsverhalten des Bodens aufgepumpt werden kann, u.dgl. verwendet werden, um nur einige Möglichkeiten exemplarisch zu nennen.
    Die auf der Unterlage 27 verlegten Plattenelemente 1 enden kurz vor einer Wand 11, von der sie ein Spalt oder eine Dehnfuge 12 trennt, wie in der Fig. 7 zu erkennen ist. In der Dehnfuge 12 sind Spanneinrichtungen 13 unter Vorspannung eingesetzt, so daß sie die Plattenelemente 1 aufeinander zu beaufschlagen. Als Spanneinrichtungen 13 sind bei dem hier Korkstücke oder -streifen 18 in den Spalt 12 gedrückt. neben den bereits weiter oben im Zusammenhang mit dem Ausführungsbeispiel der Fig. 5 angegebenen Holzfedern 14 und den nun angeführten Korkstücken oder -streifen 18 können als Spanneinrichtungen 13 beispielsweise auch Moosgummimaterial, Metallfedern u.dgl. verwendet werden, die alle denselben Zweck erfüllen, nämlich, daß die Plattenelemente 1 aufeinander zu zusammengedrückt werden.
    In der Fig. 7 ist ferner eine Randleiste 19 gezeigt, die eine Grundleiste 20, die im Randbereich der Plattenelemente 1, die der Wand 11 am nächsten sind, auf den Plattenelementen 1 befestigt sind, und eine Außenleiste 21 enthält, die an der Wand 11 befestigt ist. Die Befestigung der Grundleiste 20 an den Plattenelementen 1 und der Außenleiste 21 an der Wand 11 erfolgt beispielsweise durch Schrauben (nicht bezeichnet), wie der Darstellung in der Fig. 7 zu entnehmen ist. Die Grundleiste 20 und die Außenleiste 21 sind über ihren Verlauf durch Ausgleichseinrichtungen 22 verbunden, die einen Spalt 23 zwischen der Grundleiste 20 und der Außenleiste 21 überdecken. Der Grund für den Spalt 23 ist derselbe, wie für die Dehnfuge 12 und liegt darin, daß sich die Plattenelemente 1 ausdehnen und zusammenziehen können. Damit die Dehnfuge 12 nicht sichtbar ist, ist die Randleiste 19 vorgesehen. Durch die Ausgleichseinrichtungen 22 wird der Spalt 23. Um sicherzustellen, daß der Spalt 23 bei jeder Lage der Grundleiste 20 relativ zur Außenleiste 21 von den Ausgleichseinrichtungen 22 verdeckt ist, sind letztere aus einem elastischen Material. Bei dem vorliegenden Ausführungsbeispiel handelt es sich um einen elastischen Profilgummi, der über Fortsätze verfügt, die in die Grundleiste 20 und in die Außenleiste 21 gesteckt sind.
    Da die Grundleiste 20 fest mit den Plattenelementen 1 verbunden ist, kann sie auch zum Abstützen von Spanneinrichtungen 13 gegen die Wand verwendet werden, wie dies bei dem Ausführungsbeispiel der Fig. 7 gezeigt ist. Dazu ist eine Spannschraube 24 in die Grundleiste 20 geschraubt und stützt sich über ein Federelement 25 gegen die Wand 11 ab, weshalb die Spannschraube 24 mit dem Federelement 25 zusammen auch als Federschraube bezeichnet werden kann. Sollte einmal die von den Korkstücken oder -streifen 18 und des Federelementes 25 aufgebrachte Kraft zum Zusammendrücken der Plattenelemente 1 aufeinander zu nicht mehr ausreichen, so kann durch Eindrehen der Spannschraube 24 die Druckkraft im Bereich des Federelementes 25 erhöht werden. Außerdem kann sozusagen ein manuelles Nachjustieren der Lage des Parkettbodens über die Spannschraube 24 erfolgen.
    In der Fig. 8 ist schematisch im Querschnitt ein anderes Ausführungsbeispiel für einen Randabschluß eines Verlegesystems 8 gezeigt. Hierbei ist zu sehen, daß das der Wand 11 am nächsten liegende Plattenelement 1 gekürzt wurde, damit es überhaupt noch zwischen das vorletzte Plattenelement 1 und die Wand 11 paßt und damit zusätzlich noch die Dehnfuge 12 frei bleibt. Weiterhin sind als Ausrichteinrichtungen 7 und 7' eine vorletzte Gratleiste vor der Wand 11 bzw. eine letzte Gratleiste vor der Wand 11 dargestellt. Die letzte Gratleiste (Ausrichteinrichtungen 7') vor der Wand 11 hat in ihrer Längsrichtung (Richtung in der Blattebene) einen Abstand von der vorletzten Gratleiste (Ausrichteinrichtungen 7) vor der Wand 11. Das letzte Plattenelement 1 vor der Wand 11 ist mittels eines Holznagels 26 fest mit der letzten Gratleiste (Ausrichteinrichtungen 7') vor der Wand 11 verbunden. In der Dehnfuge 12 sind wieder vorgespannte Korkstücke oder -streifen 18 eingesetzt, um die Plattenelemente 1 aufeinander zu zu beaufschlagen.
    Schrumpfen die Plattenelemente 1 bei dieser Ausführung, so drücken die Korkstücke oder -streifen 18 die Plattenelemente 1 von der Wand 11 her zusammen. Dabei wird das letzte Plattenelement 1, das mit dem Holznagel 26 mit der letzten Gratleiste (Ausrichteinrichtungen 7') vor der Wand 11 verbunden ist, zusammen mit der letzten Gratleiste (Ausrichteinrichtungen 7') vor der Wand 11 verschoben, was durch den Abstand der letzten Gratleiste (Ausrichteinrichtungen 7') vor der Wand 11 zur vorletzten Gratleiste (Ausrichteinrichtungen 7) vor der Wand 11 möglich ist.
    Nachfolgend werden noch einige allgemeine Angaben zu dem Verlegesystem und dem Verlegeverfahren sowie weitere konkrete Ausführungsbeispiele dazu insbesondere im Rahmen der vorstehend behandelten Ausführungsvarianten angegeben.
    Die z.B. aus Vollmaterial gefertigten Plattenelemente können bei entsprechender Anordnung der Ausrichteinrichtungen von der Anfangsstärke bis fast auf die Stärke der Ausrichteinrichtungen abgeschliffen werden. Durch vorzugsweise über die volle Dicke der Plattenelemente, zumindest aber in deren unteren Bereich verlaufende Profile an den Umfangsseiten wird eine zusätzliche Haltbarkeit der Verbindung zwischen den Plattenelementen erreicht, da kein Öffnen zwischen den Plattenelementen auftreten kann und das Ineinandergreifen der Profile eine zusätzliche Festigkeit ergibt. Diese zusätzliche Verbindung unterstützt den Zusammenhalt der Plattenelemente auch nach mehrmaligem Abschleifen, wie es z.B. bei Parkettböden zeitweise üblich und erforderlich ist. Durch die Umfangsseitenprofile, wie z.B. Wellen, Kronenfräsungen, Zickzack, etc., kann, da diese Profile insbesondere die volle Stärke der Plattenelemente erfassen, z.B. ein Parkettboden bis zu einer Stärke annähernd der Ausrichteinrichtungen, wie beispielsweise Gratleisten, abgeschliffen werden, ohne daß die Festigkeit der Verbindungen der Plattenelemente darunter maßgeblich leidet.
    Jegliche Arten von Bodenbelägen, aber auch Wand- oder Deckenverkleidungen, können mit dem Verlegesystem hergestellt werden, wobei grundsätzlich keine Materialbeschränkungen bestehen, so daß Holz, Stein, Metall, Kautschuk, Kunststoffe usw. eingesetzt werden können. Da die Plattenelemente schwimmend verlegt werden, können sie auch ohne Mühe wieder ausgebaut und wiederverwendet werden, und das Verlegesystem kann zu unterschiedlichen Verwendungszwecken je nach Einsatzgebiet und Ansprüchen eingesetzt werden: in Sporthallen auf elastischen Untergründen, im Messebau zum Wiederabbau, in Squashcourts, im Mietbereich zum Mitnehmen beim Umziehen, usw. Weitere Anwendungsgebiete sind z.B. Tanzböden, Böden für biologisch reines bauen, wenn ausschließlich Naturmaterialien verwendet werden, Schutzbeläge oder Überdeckungen für hochwertige Böden, etc.
    Die genaue Anordnung der Ausnehmungen, die beispielsweise Schwalbenschwanznuten sein können, immer im selben Abstand und mit an den Stirnseiten der Plattenelemente je eine halbe Ausnehmung (Schwalbenschwanznut) kann so sein, daß sich eine Anordnung mit um eine Nutbreite versetzten nachfolgenden Plattenelementen ergibt, was die Festigkeit der Verbindung insgesamt fördert. Wenn zwei Stirnseiten zusammentreffen ergibt sich wiederum eine volle Ausnehmung, wie beispielsweise Schwalbenschwanznut, die mit dem folgenden Plattenelement wieder verfestigt wird.
    Die Ausrichteinrichtungen, die insbesondere Gratleisten enthalten können und in der Schwalbenschwanznut verlaufen, halten die Plattenelemente exakt in einer Flucht. Im verlegten Zustand der Plattenelemente, aus denen ein Parkettboden gelegt werden kann, kann die Unterseite der Plattenelemente eine plane Fläche ergeben, wenn kein Überstand durch die Verbindung Gratleiste/Schwalbenschwanznut vorliegt.
    Dem seitlichen und länglichen Auseinanderdriften und dem Ausdehnen/Schrumpfen der Plattenelemente kann zu einer die Verlegefläche umgebenden Wand hin durch federelastisches Material entgegengewirkt werden, wie etwa Holzfedern, Metallfedern, Korkstreifen, Moosgummistreifen oder anderes Federmaterial, wobei ein Einsetzen dieser allgemein Federmittel unter Vorspannung besonders bevorzugt ist. Alternativ oder zusätzlich kann, ggf. wenn nötig, um ein Auseinanderdriften der einzelnen Plattenelemente zu verhindern, auch ein durchlaufendes Gummiband mit Zugkrallen z.B. in auf der Unterseite befindliche Entspannungsfugen eingekrallt werden.
    Die Ausrichteinrichtungen, wie z.B. Gratleisten oder Dübel, können eine Länge haben, so daß das jeweilige Längsende der Gratleisten immer auf halber Breite der Plattenelemente endet. Die Gratleisten oder allgemein Ausrichteinrichtungen sind so lang, damit ein leichtes Aufschieben der Plattenelemente, wie beispielsweise Bretter, ermöglicht ist. Dabei soll es zu keinem Verkanten und Zwicken kommen können. Der Anfang beim Verlegen der Plattenelemente erfolgt mit unterschiedlich langen Ausrichteinrichtungen. Die Endverbindung am Schluß der Verlegung kann durch eine gerade Nut als Ausnehmung auf der Unterseite der Plattenelemente, ähnlich den Schwalbenschwanznuten gebildet werden, indem solche Plattenelemente auf eine Gratleiste aufgelegt und mit Holznägeln befestigt werden. Die letzte Gratleiste kann einen Abstand zur vorletzten Gratleiste haben, um eine Beweglichkeit eines mit einem Holznagel befestigten letzten Plattenelementes zu ermöglichen.
    Nach dem Abschluß der Verlegung der Plattenelemente zur Bildung z.B. eines Parkett- oder Dielenbodens können die Plattenelemente zusammengezogen, der Rand der Plattenelemente exakt auf geeigneten Abstand zur Wand geschnitten, so daß sich eine gleichmäßige Dehnfuge zu einer die Verlegefläche umgebenden Wand ergibt, und ein elastischer Abstandshalter (Kork, Moosgummi, Holz- oder Metallfeder, etc.) eingearbeitet werden, so daß ein Auseinanderdriften der Plattenelemente verhindert wird und die Plattenelemente fest zusammengehalten werden.
    Da das Verlegesystem zur Herstellung z.B. eines Vollholzbodens, aber auch anderer Böden mit einem Ausdehnungs- und Zusammenziehverhalten in Abhängigkeit von Umgebungstemperatur und/oder -feuchtigkeit, ein Quell- und Schwundverhalten besitzt, können die, zwischen den Plattenelementen und einer Wand entstehenden breiter und dünner werdenden Fugen von einer zweigeteilten oder ähnlichen Leiste insbesondere mit einem Dehnprofil zwischen den zwei Leistenteilen abgedeckt werden. Auch kann eine spezielle Leiste verwendet werden, die Distanzschrauben zur Wand, um einen sich verändernden Abstand der Plattenelemente zur Wand korrigieren zu können. Schwund und Ausdehnung können auch mit Holzfedern, Metallfedern, federnden und/oder pressenden Distanzhaltern korrigiert werden.
    Zum Schutz vor Feuchtigkeit kann eine Dampfsperre eingebaut werden. Als Trittschalldämmung und Ausgleich kleiner Unebenheiten des Untergrundes können in Matten-, Geflecht- oder Netzform möglichst natürliche Materialien, wie Gummi, Kautschuk, Kokosfaser, Jute, Sisal, Hanf, Kork, Filz, Wollfilz und allgemein sogenannte Geotextilien sowie alle anderen als Unterlage geeigneten Materialien, aber auch Holzlager oder alte Teppichböden u.ä. verwendet werden.
    Ein wesentlicher Vorteil des Verlegesystems besteht in der jederzeit und ohne großen Aufwand möglichen Demontage der Plattenelemente, indem man nur die mittels der Spanneinrichtungen aufgebrachte Spannung wegnimmt und die einzelnen Plattenelemente von den Ausrichteinrichtungen (z.B. Gratleisten) herunterschiebt.
    Nachfolgend werden einige weitere Einzelheiten verschiedener Ausführungsmöglichkeiten unter Bezugnahme auf weitere Figuren der Zeichnung behandelt.
    In der Fig. 9 sind exemplarische Profilformen der Ausnehmungen 6 und der Ausrichteinrichtungen 7, die Leisten, wie z.B. Gratleisten, und/oder Dübel enthalten können, durch schematische Querschnittsdarstellungen gezeigt. Abbildung 1 zeigt einen Schwalbenschwanzquerschnitt, Abbildung II einen Dreiecksquerschnitt, Abbildung III einen Kreisquerschnitt, Abbildung IV einen Ovalquerschnitt und Abbildung V einen geschnittenen Kreisquerschnitt, wobei auch andere Querschnittsformen geeignet sind, solange sie die erforderlichen Formschlüsse gewährleisten, wenn dies nicht auch ohne Profil möglich ist.
    Die Fig. 10 zeigt ein weiteres Ausführungsbeispiels eines Verlegesystems 8 mit zueinander schrägwinklig verlaufenden Plattenelementen 1 und Ausrichteinrichtungen 7, die wiederum als Gradleisten angedeutet sind. Insoweit vorstehend rechtwinklige Anordnungen angegeben oder darauf Bezug genommen wurde(n), sind diese Angaben auch auf das vorliegende Ausführungsbeispiel umzusetzen.
    Es können somit alle erdenklichen Verlegemuster mit dem Verlegesystem 8 realisiert werden, wie z.B. Fischgrätmuster, Schiffsbodenmuster, Dielenböden, u.v.m., aber auch beliebige Formen der Plattenelemente 1 können zum Einsatz kommen, wie Parkettstäbe oder jegliche Plattenform. Die bevorzugte Dicke der Plattenelemente 1 beträgt mindestens 6 mm, vorzugsweise mindestens 8 mm. Die Plattenelemente können auch mehrschichtige Platten sein, wie z.B. Platten aus mehreren Holzschichten, beschichtete Kork- oder Kunststoffplatten, beschichtete Metallplatten, Spanplatten, laminierte Platten, Linoleumplatten usw. Bei großen Plattenelementen 1 ist es vorzuziehen, statt durchgehende Leisten nur Dübel als Ausrichteinrichtungen 7 zu verwenden.
    Eine Montage des Verlegesystems auf Balken 28 ist in der Fig. 11 gezeigt. Hierbei können die Ausrichteinrichtungen 7 beispielsweise durch Verschrauben an den Balken 28 befestigt werden. Bei diesem Ausführungsbeispiel sind ferner Kopplungseinrichtungen 29 an der Umfangsseite 4b vorgesehen, die eine Feder 30 bilden, welche in eine Nut (nicht bezeichnet) des nächsten anschließenden Plattenelementes 1, das nur gestrichelt angedeutet ist, eingreifen kann, um die Verbindung zwischen den beiden Plattenelementen 1 weiter zu festigen.
    Verfahrensmäßig ist es von Vorteil, wenn die Ausrichteinrichtungen 7 vor dem Aufschieben der Plattenelemente 1 beispielsweise eingeölt oder eingefettet werden, damit das Gleiten der Plattenelemente 1 auf den Ausrichteinrichtungen 7 verbessert wird. Dadurch werden auch später bei einer Benutzung eines mittels des Verlegesystems 8 hergestellten Bodens eventuell auftretende Geräusche, wie Knarren o.ä., gemindert.
    Weiterhin ist es verfahrensmäßig von Vorteil, wenn die letzten Ausrichteinrichtungen 7, die beispielsweise senkrecht auf eine Wand zulaufen, nur noch soweit von dem vorletzten Plattenelement 1 vorstehen, wie an Dehnspalt oder -fuge 12 vorgesehen ist. Dann kann ein Plattenelement 1 auf die nötige Abmessung des verbleibenden Platzes minus der Dehnfuge 12 zurechtgeschnitten und auf die Ausrichteinrichtungen 7, wie eine Gratleiste, aufgeschoben werden. Alternativ ist es auch möglich, daß die ersten Ausrichteinrichtungen 7 direkt an einer Wand beginnen und die letzten Ausrichteinrichtungen 7 nicht von dem vorletzten Plattenelement 1 vorstehen. Das letzte Plattenelement 1 vor der Wand wird dann auf die Größe des verbleibenden Platzes minus der Dehnfuge 12 zugeschnitten und eingesetzt. Die Ausrichteinrichtungen 7 können dann z.B. von dem ersten Plattenelement 1 her durchgeschlagen werden, so daß sie auch in die Ausnehmungen des letzten Plattenelementes 1 hineinreichen.
    Bei Randstücken der Plattenelemente 1, die so klein sind, daß beispielsweise eine Gratleiste als Ausrichteinrichtungen 7 nicht verwendet werden kann, können alternativ z.B. Dübel eingesetzt werden, die kleiner als Gratleisten sind, um solche Randstücke mit den benachbarten Plattenelementen 1 zu verbinden.
    In der Fig. 12 ist ein Ausführungsbeispiel für Spanneinrichtungen 13 in Form von Druckmitteln gezeigt. Diese Druckmittel, die in der Abbildung in einer Draufsicht zu sehen sind, sind eine Wellenfeder aus Holzfurnier, die in der gezeigten Lage von oben in eine Dehnfuge 12 eingesetzt wird. Solche Wellenfedern können in einer Wellpreßform hergestellt werden, indem in der welligen Form mehrere Furnierschichten zusammengepreßt werden. Nach der Aushärtung eines zwischen den Furnierschichten eingebrachten Klebers bleibt die wellige Form erhalten.
    Eine Alternative zur Wellenfeder zeigt die Fig. 13 in Form einer nur aus einem Bogen oder einer Spange bestehenden Holzfeder 14. Für alle aus Furnierschichten hergestellten Holzfedern gilt, daß sie mit zunehmender Zahl der Furnierschichten mehr Federkraft haben. Auch die Stärken der Furnierschichten können die Federkraft beeinflussen, wie ebenso das Material der Furnierschichten. Lediglich beispielsweise wir eine bevorzugte gesamte Materialdicke für Holzfedern mit etwa 4 bis 8 mm angegeben.
    Beispielsweise kann für die Herstellung von Holzfedern 14 auch Spuntholz ausgewählt und in optimalster Faserart geschnitten werden. Die Federkraft hängt von der Holzstärke ab. Den für verschieden große Verlegeflächen 9 unterschiedlich hoch erforderlichen Spannkräften kann dadurch Rechnung getragen werden, daß geeignete Spanneinrichtungen ausgewählt werden.
    So zeigen die Abbildungen in der Fig. 14 Varianten für Stahlfedern 31. Im einzelnen zeigen die Abbildungen I eine Zickzack-Metallfeder 31, II eine Metallfeder 13 aus einem geschlossenen Metallband in Ovalform, III eine Bogen-Metallfeder mit Holzlagern 32 und IV eine Bogen-Metallfeder mit aufgebogenen Enden.
    Eine Weitere Alternative zum Aufbringen der Spannkraft von außen auf eine verlegte Fläche von Plattenelementen 1 besteht in einem Schlauch, der um die Außenränder der verlegten Plattenelemente 1 herumgelegt und dann aufgeblasen wird. Eventuell kann der Schlauch vor dem Aufblasen zusätzlich gespannt oder vorgespannt werden.
    In der Fig. 15 ist gezeigt, wie bei einer auf einer Seite der Verlegefläche 9 fehlenden Wand 11 als Widerlager für Spanneinrichtungen 13 in Form von Druckmitteln ein fest mit dem Untergrund 10 beispielsweise durch Schrauben 32 verbundenes Abschlußelement 33 als ein Widerlager für die Druckmittel eingesetzt werden kann. Die Spanneinrichtungen sind bei dieser Ausführungsvariante Korkstücke oder -streifen 18.
    Wie bereits weiter oben erwähnt wurde, kann das Verlegesystem 8 auch eine federnde Lagerung enthalten. Eine entsprechende Variante ist in der Fig. 16 gezeigt. Dabei liegt eine Wellenfeder 34 mit den Ausrichteinrichtungen ausgerichtet zwischen diesen und dem Untergrund 10, so daß ein solcherart verlegter Boden bei Belastung schwingt.
    In der Fig. 17a) in einer seitlichen Schnittansicht durch schematisch dargestellte Plattenelemente 1 und in der Fig. 17b) in einer Draufsicht auf die Oberseiten 2 von verlegten Plattenelementen 1, die nur ausschnittsweise zu sehen sind, sind eine weitere Ausführung der Spanneinrichtungen 13 dargestellt. Hierbei handelt es sich um ein Spannband 35, das längs der Unterseiten 3 der Plattenelemente 1 verläuft. An den Rändern der äußeren Plattenelemente 1 greifen Haltewinkel 36 und 36' an. Mit dem Haltewinkel 36 auf einer Seite der Verlegefläche 9 ist das Spannband 35 fest verbunden. An dem anderen Haltewinkel 36' ist eine Rolle 37 mit einer Ratsche 38 angebracht, so daß durch Betätigung der Ratsche 38 die Rolle 37 zum Aufwickeln des Spannbandes oder -gurtes 35 gedreht werden kann, ohne daß sie sich durch die Zugkraft des Spannbandes 35 wieder zurückdreht, da die Ratsche 38 eine erlangte Aufwickelstellung arretiert. Vorzugsweise ist diese Arretierung zum Abbauen des Verlegesystems 9 lösbar. Das Spannband 35 weist insbesondere eine Eigenelastizität auf. Die Rolle 37 mit Ratschenmechanismus 38 kann in der Dehnfuge 12 oder einer gesonderten Aussparung einer Wand untergebracht sein.
    Eine alternative Ausgestaltung von Spanneinrichtungen 13 in Form eines Spannbandes oder -gurtes 35 ist in der Fig. 18 gezeigt. In diesem Fall verläuft das Spannband 35 um die freien Umfangsseiten der auf der Verlegefläche 9 außenliegenden Plattenelemente 1. An drei Ecken der rechtwinkligen Verlegefläche 9 sind Haltewinkel 36 angeordnet, die jedoch nur zum Führen des Spannbandes 35 dienen. an der vierten Ecke der Verlegefläche 9 ist ein Haltewinkel 36' angeordnet, der wieder, wie bei vorher beschriebenen Ausführungsbeispiel, eine Rolle 37 mit einem Ratschenmechanismus 38 trägt, um damit das Spannband 35 um die verlegten Plattenelemente 1 herum stramm zu ziehen.
    In der Fig. 19 sind in den Abbildungen I bis V Plattenelemente 1 mit verschiedenen Profilierungen 5, die auch als Kopplungseinrichtungen 29 dienen können, gezeigt.
    Die Abbildungen I bis IV der Fig. 20 zeigen verschiedene Formschlußeinrichtungen 39, die insbesondere an den Stirnumfangsseiten von Plattenelementen 1 vorgesehen sein können. Wesentlich bei den Formschlußeinrichtungen 39 ist, daß sie Hinterschneidungen enthalten, so daß ein Formschluß gegen Bewegungen senkrecht zur Oberseite 2 des Plattenelementes 1 besteht.
    Ausrichteinrichtungen 7 in Form von Dübeln sind in den Fig. 21a) und 21b) gezeigte Die mittels der Dübel verbundenen Plattenelemente weisen ferner an ihren Umfangsseiten 4a, 4b, 4c, und 4d Profile 5 auf. Die Profile 5 an den Stirnseiten 4b und 4d sind als Formschlußeinrichtungen 39 ausgebildet, und die Profile 5 an den Längsseiten 4a und 4c dienen als Kopplungseinrichtungen 29.
    Die Erfindung ist nicht auf die vorstehend beschriebenen und in den Figuren der Zeichnung gezeigten Ausführungsbeispiele beschränkt, die nur zur Verdeutlichung der Erfindung dienen. alle Modifikationen, Substitutionen und Variationen, die der Fachmann den vorliegenden Unterlagen, einschließlich insbesondere im einleitenden Teil dieser Beschreibung und in den Ansprüchen, entnehmen kann, fallen in den Bereich der vorliegenden Erfindung, deren Umfang durch die Ansprüche bestimmt ist.

    Claims (10)

    1. Verlegesystem mit Plattenelementen, die eine Ober- und eine Unterseite und dazwischenliegende Umfangsseiten aufweisen, in denen Ausnehmungen zur Aufnahme von Ausrichteinrichtungen zum formschlüssigen Verbinden von wenigstens zwei benachbart zu verlegenden Plattenelementen in Richtung senkrecht und in einer Richtung parallel zur Oberseite enthalten sind,
      dadurch gekennzeichnet,
      daß die Ausnehmungen (6) und die Ausrichteinrichtungen (7) so dimensioniert sind, daß letztere locker verschiebbar in die Ausnehmungen (6) passen, und
      daß Spanneinrichtungen (13) vorgesehen sind, mittels denen über die Ausrichteinrichtungen (7) miteinander verbundene Plattenelemente (1) aufeinander zu beaufschlagbar sind.
    2. Verlegesystem nach Anspruch 1,
      dadurch gekennzeichnet,
      daß die Ausrichteinrichtungen (7) Dübel und/oder Leisten enthalten, die zwischen zwei oder durchgehend über wenigstens zwei benachbart zu verlegenden Plattenelementen (1) in deren Ausnehmungen (6) einsetzbar sind,
      wobei vorzugsweise die Dübel und/oder Leisten ein Profil und insbesondere die Ausnehmungen (6) in den Plattenelementen (1) ein passendes Profil und/oder die Dübel und/oder Leisten maximal die halbe Dicke der Plattenelemente (1) aufweisen,
      und/oder
      wobei ggf. Leisten bevorzugt Längen haben, die größer als die Abmessungen von zwei Plattenelementen (1) sind, durch die sie hindurch verlaufen, und insbesondere die Leisten unterschiedliche Längen haben,
      und/oder
      wobei insbesondere die Dübel und/oder Leisten verjüngte Enden zur Einführung in die Ausnehmungen (6) haben,
      und/oder
      daß Plattenelemente (1) enthalten sind, die an ihren zu den in den Ausnehmungen (6) eingesetzten Ausrichteinrichtungen (7) parallelen Umfangsseiten (4a, 4b, 4c, 4d) Formschlußeinrichtungen (39) aufweisen, die einen Formschluß in Richtung senkrecht zu den in den Ausnehmungen (6) eingesetzten Ausrichteinrichtungen (7) mit einem benachbarten Plattenelement (1) ergeben, wie z.B. Schwalbenschwanz- oder Hakenausbildungen an einem Plattenelement (1) und entsprechende Nute am benachbarten Plattenelement (1).
    3. Verlegesystem nach Anspruch 1 oder 2,
      dadurch gekennzeichnet,
      daß die Ausnehmungen (6) in den Umfangsseiten (4a, 4b, 4c, 4d) der Plattenelemente (1) bohrlochartig mit rundem oder eckigem Profil ausgebildet und insbesondere näher bei deren Unterseiten (3) liegen,
      oder
      daß die Ausnehmungen (6) nutartig in den Unterseiten (3) offen und so profiliert sind, daß ein Formschluß zwischen in den Ausnehmungen (6) eingefügten Ausrichteinrichtungen (7) und Plattenelementen (1) in Richtung senkrecht zu deren Oberseiten (2) gewährleistet ist, bevorzugt in Form einer Schwalbenschwanznut, und sich insbesondere von der Unterseite (3) in Richtung zur Oberseite (2) der Plattenelemente (1) über nicht mehr als deren halbe Dicke erstrecken,
      wobei vorzugsweise die Ausrichteinrichtungen (7) bevorzugt so dimensioniert sind, daß sie vollständig innerhalb der nutartigen Ausnehmungen (6) liegen und insbesondere mit der Unterseite (3) der Plattenelemente (1) eine plane Fläche bilden, oder über die Unterseite (3) der Plattenelemente (1) hinaus aus den nutartigen Ausnehmungen (6) vorstehen,
      und/oder
      wobei insbesondere die Ausrichteinrichtungen (7) an einer Verlegefläche (9) befestigbar sind
      und/oder
      wobei bevorzugt Elastikmittel vorgesehen sind, über die die Ausrichteinrichtungen (7) auf eine Verlegefläche (9) auflegbar sind.
    4. Verlegesystem nach einem der vorhergehenden Ansprüche,
      dadurch gekennzeichnet,
      daß die Umfangsseiten (4a, 4b, 4c, 4d) der Plattenelemente profiliert sind, so daß die Umfangsseitenprofile (5) benachbarter Plattenelemente (1) zusammenpassen,
      wobei bevorzugt die Profilierung (5) der Umfangsseiten (4a, 4b, 4c, 4d) der Plattenelemente (1) zusätzlich zu den Ausrichteinrichtungen (7) Kopplungseinrichtungen (29) ausbildet, wie z.B. Nut/Feder-Verbindungen, über die benachbarte Plattenelemente (1) verbindbar sind
      und/oder
      daß weiter eine Unterlage (27) zum Auflegen der Plattenelemente (1) enthalten ist,
      wobei die Unterlage (27) insbesondere eine mattenartige oder bevorzugt netzartige Schicht aus oder mit Kork, Gummi, Kautschuk, Jute, Sisal, Hanf, Wollfilz, Kokosfasern, vorzugsweise einem Kokosfasergeflecht und besonders bevorzugt einem mit Kautschuk verpreßten oder silikonisierten Kokosfasergeflecht enthält.
    5. Verlegesystem nach einem der vorhergehenden Ansprüche,
      dadurch gekennzeichnet,
      daß die Spanneinrichtungen (13) enthalten:
      zwischen zwei über die Ausrichteinrichtungen (7) verbundenen, benachbarten und/oder nicht unmittelbar benachbarten Plattenelementen (1) einsetzbare Zugelemente, wie z.B. Klammern, Spannbänder u.dgl., die vorzugsweise über die und/oder an den Unterseiten (3) der Plattenelemente (1) führbar sind,
      und/oder
      von außen auf wenigstens zwei über die Ausrichteinrichtungen (7) miteinander verbundenen Plattenelemente (1) auf deren Umfangsseiten (4a, 4b, 4c, 4d) wirkende Druckmittel, wie beispielsweise Holzfedern, Metallfedern, Korkteile, Moosgummiteile u.ä.,
      und/oder
      daß zweiteilige Randleisten (19) vorgesehen sind, die eine Grundleiste (20) zum Anbringen an Plattenelementen (1), eine Außenleiste (21) zum Anbringen an einem Rand der Verlegefläche (9) und Ausgleichseinrichtungen (22) enthalten, die zumindest an der Außenleiste (21) oder an der Grundleiste (20) angebracht sind und mittels denen bei einer Verschiebung der Plattenelemente (1) mit den Grundleisten (20) zwischen letzteren und den Außenleisten (21) auftretende Spalte (23) abdeckbar und/oder verschließbar sind.
    6. Verlegesystem nach einem der vorhergehenden Ansprüche,
      dadurch gekennzeichnet,
      daß das Material der Plattenelemente (1) und/oder der Ausrichteinrichtungen (7) ist oder enthält: Holz, Kork, Stein, Kunststoff, Verbundmaterial, Laminatmaterial, Kautschuk, Metall,
      und/oder
      daß die Plattenelemente eine längliche Form aufweisen, insbesondere stab-, latten- oder dielenartig sind, und die Ausnehmungen (6) quer zur Längsausdehnung der Plattenelemente (1) verlaufen,
      und/oder
      daß an zwei entgegengesetzten Umfangsseiten (4a, 4c; 4b, 4d) der Plattenelemente, vorzugsweise ggf. an den kürzeren Umfangsstirnseiten (4b, 4d), Formschlußeinrichtungen (39), wie z.B. jeweils eine Schwalbenschwanzfeder und ein Schwalbenschwanznut, vorgesehen sind, durch die zwei benachbarte Plattenelemente (1) passend und bevorzugt fest miteinander verbindbar sind.
    7. Verlegesystem nach einem der vorhergehenden Ansprüche,
      dadurch gekennzeichnet,
      daß,
      wenn die Ausnehmungen (6) nicht über das gesamte Plattenelement (1) hindurchgehend verlaufen, an den zwei entgegengesetzten Umfangsseiten der Plattenelemente (4a, 4b, 4c, 4d) liegende Ausnehmungen (6) nicht miteinander ausgerichtet angeordnet sind,
      und,
      wenn die Ausnehmungen (6) über das gesamte Plattenelement (1) hindurchgehend verlaufen, die Ausnehmungen (6) bezüglich einer zu ihnen parallelen Mittellinie des Plattenelements (1) unsymmetrisch angeordnet sind oder in benachbart zu verlegenden Plattenelementen (1) senkrecht zu ihrer Verlaufsrichtung an unterschiedlichen Stellen liegen,
      und/oder
      daß jede in einer zu ihr parallel verlaufenden Umfangsseite (4b, 4d) des Plattenelementes (1) verlaufende Ausnehmung nur eine halbe Ausnehmung (6') ist.
    8. Spanneinrichtungen für ein Verlegesystem, um benachbart verlegte Plattenelemente aufeinander zu zu beaufschlagen,
      dadurch gekennzeichnet,
      daß die Spanneinrichtungen (13) von außen auf Umfangsseiten (4a, 4b, 4c, 4d) benachbart verlegter Plattenelemente (1) wirkende Druckmittel, wie beispielsweise Holzfedern, Metallfedern, Korkteile, Moosgummiteile u.ä., enthalten, die dazu ausgelegt sind, unter Vorspannung zwischen den Umfangsseiten (4a, 4b, 4c, 4d) verlegter Plattenelemente (1) und der Umgebung (Wand 11) der verlegten Plattenelemente (1) eingespannt zu werden, insbesondere so, daß die Druckmittel über einen Dehnungs- und Zusammenziehbereich der verlegten Plattenelemente (1) immer eine Vorspannung beibehalten.
    9. Verlegeverfahren mit Plattenelementen, die eine Ober- und eine Unterseite und dazwischenliegende Umfangsseiten aufweisen, in denen Ausnehmungen enthalten sind, wobei zum Verbinden der Plattenelemente Ausrichteinrichtungen in die Ausnehmungen eingeführt werden,
      dadurch gekennzeichnet,
      daß die Plattenelemente (1) locker auf die Ausrichteinrichtungen (7) geschoben werden,
      und
      daß über die Ausrichteinrichtungen (7) miteinander verbundene Plattenelemente (1) durch Spanneinrichtungen (13) aufeinander zu beaufschlagt werden.
    10. Verlegeverfahren nach Anspruch 9,
      dadurch gekennzeichnet,
      daß die Ausrichteinrichtungen (7) und/oder die Ausnehmungen (6) vor dem Zusammenfügen mit einem Gleitmittel, wie beispielsweise Seife, Öl, Wachs, etc., versehen werden,
      und/oder
      daß als Spanneinrichtungen (13)
      zwischen zwei über die Ausrichteinrichtungen (7) verbundene, benachbarte und/oder nicht unmittelbar benachbarte Plattenelemente (1) Zugelemente, wie z.B. Klammern, Spannbänder u.dgl., die vorzugsweise über die und/oder an den Unterseiten (3) der Plattenelemente (1) geführt werden, eingesetzt werden,
      und/oder
      von außen auf wenigstens zwei über die Ausrichteinrichtungen (7) miteinander verbundene Plattenelemente (1) auf deren Umfangsseiten (4a, 4b, 4c, 4d) wirkende Druckmittel, wie beispielsweise Holzfedern, Metallfedern, Korkteile, Moosgummiteile u.ä. angebracht werden.
    EP98103044A 1997-02-20 1998-02-20 Fussboden sowie Verlegeverfahren Expired - Lifetime EP0860562B1 (de)

    Priority Applications (2)

    Application Number Priority Date Filing Date Title
    AU27061/99A AU2706199A (en) 1998-02-20 1999-02-22 Laying system and tensioning devices for a floor-laying system and floor-laying method
    PCT/AU1999/000104 WO1999042681A1 (en) 1998-02-20 1999-02-22 Laying system and tensioning devices for a floor-laying system and floor-laying method

    Applications Claiming Priority (2)

    Application Number Priority Date Filing Date Title
    DE19706777A DE19706777A1 (de) 1996-08-16 1997-02-20 Holzfußboden, Fußboden Verlegesytem für Parkett und andere Materialien ohne Klebstoff, Nagel, Schrauben, Klammern
    DE19706777 1997-02-20

    Publications (3)

    Publication Number Publication Date
    EP0860562A2 true EP0860562A2 (de) 1998-08-26
    EP0860562A3 EP0860562A3 (de) 1998-11-11
    EP0860562B1 EP0860562B1 (de) 2007-07-25

    Family

    ID=7820964

    Family Applications (1)

    Application Number Title Priority Date Filing Date
    EP98103044A Expired - Lifetime EP0860562B1 (de) 1997-02-20 1998-02-20 Fussboden sowie Verlegeverfahren

    Country Status (3)

    Country Link
    EP (1) EP0860562B1 (de)
    AT (1) ATE368158T1 (de)
    DE (1) DE59814064D1 (de)

    Cited By (3)

    * Cited by examiner, † Cited by third party
    Publication number Priority date Publication date Assignee Title
    WO2005047619A1 (fr) * 2003-10-27 2005-05-26 Gymnova S.A.S Liaison de type mi-bois alterne pour l'assemblage de plaques de plancher demontables destine au spectacle et aux pratiques sportives
    KR100616779B1 (ko) 2004-08-14 2006-08-29 김기철 원목마루판의 조립구조
    CN112709412A (zh) * 2020-12-24 2021-04-27 华睿企业管理咨询(衢州)有限公司 一种木塑地板生产用拼接成型设备

    Citations (2)

    * Cited by examiner, † Cited by third party
    Publication number Priority date Publication date Assignee Title
    GB376352A (en) 1931-04-10 1932-07-11 Charles Harry Hart Improvements in or relating to wood block floors
    DE800915C (de) 1948-10-02 1950-12-14 Ruberoidwerke Akt Ges Parkettplatte

    Family Cites Families (7)

    * Cited by examiner, † Cited by third party
    Publication number Priority date Publication date Assignee Title
    US3045294A (en) * 1956-03-22 1962-07-24 Jr William F Livezey Method and apparatus for laying floors
    SE450141B (sv) * 1982-12-03 1987-06-09 Jan Carlsson Anordning for hopfogning av byggnadsplattor exv golvplattor
    US4703601A (en) * 1984-10-01 1987-11-03 Abendroth Carl W Fastener for flooring systems
    DE3826307A1 (de) * 1988-08-03 1990-02-08 Gilde System Holzbau Gmbh Bodenbelag fuer eine fuer sportzwecke zu benutzende halle sowie hierfuer geeignete bodenelemente
    DE9202907U1 (de) * 1992-03-05 1992-05-14 Böckl, Karl, 8400 Regensburg Wasserdichte Fußbodenleisten
    AT397698B (de) * 1992-03-12 1994-06-27 Kaindl Holzindustrie Halter
    GB9222523D0 (en) * 1992-10-27 1992-12-09 Lonie William A Improvements in and relating to flooring

    Patent Citations (2)

    * Cited by examiner, † Cited by third party
    Publication number Priority date Publication date Assignee Title
    GB376352A (en) 1931-04-10 1932-07-11 Charles Harry Hart Improvements in or relating to wood block floors
    DE800915C (de) 1948-10-02 1950-12-14 Ruberoidwerke Akt Ges Parkettplatte

    Cited By (3)

    * Cited by examiner, † Cited by third party
    Publication number Priority date Publication date Assignee Title
    WO2005047619A1 (fr) * 2003-10-27 2005-05-26 Gymnova S.A.S Liaison de type mi-bois alterne pour l'assemblage de plaques de plancher demontables destine au spectacle et aux pratiques sportives
    KR100616779B1 (ko) 2004-08-14 2006-08-29 김기철 원목마루판의 조립구조
    CN112709412A (zh) * 2020-12-24 2021-04-27 华睿企业管理咨询(衢州)有限公司 一种木塑地板生产用拼接成型设备

    Also Published As

    Publication number Publication date
    DE59814064D1 (de) 2007-09-06
    ATE368158T1 (de) 2007-08-15
    EP0860562A3 (de) 1998-11-11
    EP0860562B1 (de) 2007-07-25

    Similar Documents

    Publication Publication Date Title
    DE19940837A1 (de) Verlegesystem und Verlegeverfahren
    DE69814867T2 (de) Verfahren zum anbringen einer verkleidung bestehend aus brettern, latten oder ähnlichem und eine so hergestellte verkleidung
    EP2089596A1 (de) Paneel sowie bodenbelag
    DE60312212T2 (de) Bodenplatte und bodenabdeckung für elastischen boden
    EP2189589B1 (de) Holzpaneelanordnung und Holzpaneel für diese Anordnung
    EP3202567B1 (de) Verfahren zur herstellung eines als holz-beton-verbund ausgebildeten bauelements
    DE202007000310U1 (de) Paneel sowie Bodenbelag
    EP0719953B1 (de) Vorrichtung zum Höhenausgleich von Bauelementen
    DE202008000534U1 (de) Profilschienensystem zum Abdecken mindestens eines Belagrandes
    EP0860562B1 (de) Fussboden sowie Verlegeverfahren
    DE102016001185A1 (de) Als Holz-Beton-Verbund ausgebildetes Bauelement sowie Verfahren zu dessen Herstellung
    EP2357299B1 (de) Fußbodenpaneel
    WO2013160313A1 (de) Leichtbauplatte
    WO2017017144A1 (de) Wandkonstruktion und verfahren zum montieren
    AT1025U1 (de) Bauelement sowie damit hergestellte wandverkleidung
    DE19918878A1 (de) Verlegesystem und Verlegeverfahren
    DE102008003117B4 (de) Einrichtung zum Verriegeln zweier Bauplatten
    DE202004004107U1 (de) Belag, bestehend aus einzelnen Platten aus mineralischem Material
    EP1700966A1 (de) Flachdübelverbinder zur Fixierung nebeneinander angeordneter lattenförmiger Holzelemente
    DE2440289C3 (de) Bodenbelag
    DE29507600U1 (de) Vorrichtung zum Höhenausgleich von Bauelementen
    DE8615282U1 (de) Gipsbauplatte
    DE102011012023A1 (de) Verbindungselement zur Verbindung von flächigen Bauteilen
    EP1799926B1 (de) Gebäudedach sowie dämmschichtaufbau und mineralfaserdämmstoffelement für ein gebäudedach
    EP2080845A1 (de) Holzfertigbauelement

    Legal Events

    Date Code Title Description
    PUAI Public reference made under article 153(3) epc to a published international application that has entered the european phase

    Free format text: ORIGINAL CODE: 0009012

    AK Designated contracting states

    Kind code of ref document: A2

    Designated state(s): AT BE CH DE DK ES FI FR GB GR IE IT LI LU NL PT SE

    AX Request for extension of the european patent

    Free format text: AL;LT;LV;MK;RO;SI

    PUAL Search report despatched

    Free format text: ORIGINAL CODE: 0009013

    AK Designated contracting states

    Kind code of ref document: A3

    Designated state(s): AT BE CH DE DK ES FI FR GB GR IE IT LI LU MC NL PT SE

    AX Request for extension of the european patent

    Free format text: AL;LT;LV;MK;RO;SI

    AKX Designation fees paid
    17P Request for examination filed

    Effective date: 19990511

    RBV Designated contracting states (corrected)

    Designated state(s): AT BE CH DE DK ES FI FR GB IE LI LU NL PT SE

    RBV Designated contracting states (corrected)

    Designated state(s): AT BE CH DE DK ES FI FR GB GR IE IT LI LU NL PT SE

    TPAD Observations filed by third parties

    Free format text: ORIGINAL CODE: EPIDOS TIPA

    17Q First examination report despatched

    Effective date: 20020506

    GRAP Despatch of communication of intention to grant a patent

    Free format text: ORIGINAL CODE: EPIDOSNIGR1

    RTI1 Title (correction)

    Free format text: FLOOR AS WELL AS METHOD OF LAYING

    GRAS Grant fee paid

    Free format text: ORIGINAL CODE: EPIDOSNIGR3

    GRAA (expected) grant

    Free format text: ORIGINAL CODE: 0009210

    AK Designated contracting states

    Kind code of ref document: B1

    Designated state(s): AT BE CH DE DK ES FI FR GB GR IE IT LI LU NL PT SE

    REG Reference to a national code

    Ref country code: GB

    Ref legal event code: FG4D

    Free format text: NOT ENGLISH

    REG Reference to a national code

    Ref country code: CH

    Ref legal event code: EP

    REG Reference to a national code

    Ref country code: IE

    Ref legal event code: FG4D

    Free format text: LANGUAGE OF EP DOCUMENT: GERMAN

    REF Corresponds to:

    Ref document number: 59814064

    Country of ref document: DE

    Date of ref document: 20070906

    Kind code of ref document: P

    REG Reference to a national code

    Ref country code: CH

    Ref legal event code: NV

    Representative=s name: BRAUNPAT BRAUN EDER AG

    PG25 Lapsed in a contracting state [announced via postgrant information from national office to epo]

    Ref country code: PT

    Free format text: LAPSE BECAUSE OF FAILURE TO SUBMIT A TRANSLATION OF THE DESCRIPTION OR TO PAY THE FEE WITHIN THE PRESCRIBED TIME-LIMIT

    Effective date: 20071226

    Ref country code: NL

    Free format text: LAPSE BECAUSE OF FAILURE TO SUBMIT A TRANSLATION OF THE DESCRIPTION OR TO PAY THE FEE WITHIN THE PRESCRIBED TIME-LIMIT

    Effective date: 20070725

    Ref country code: FI

    Free format text: LAPSE BECAUSE OF FAILURE TO SUBMIT A TRANSLATION OF THE DESCRIPTION OR TO PAY THE FEE WITHIN THE PRESCRIBED TIME-LIMIT

    Effective date: 20070725

    Ref country code: ES

    Free format text: LAPSE BECAUSE OF FAILURE TO SUBMIT A TRANSLATION OF THE DESCRIPTION OR TO PAY THE FEE WITHIN THE PRESCRIBED TIME-LIMIT

    Effective date: 20071105

    NLV1 Nl: lapsed or annulled due to failure to fulfill the requirements of art. 29p and 29m of the patents act
    GBV Gb: ep patent (uk) treated as always having been void in accordance with gb section 77(7)/1977 [no translation filed]

    Effective date: 20070725

    REG Reference to a national code

    Ref country code: IE

    Ref legal event code: FD4D

    EN Fr: translation not filed
    PG25 Lapsed in a contracting state [announced via postgrant information from national office to epo]

    Ref country code: GR

    Free format text: LAPSE BECAUSE OF FAILURE TO SUBMIT A TRANSLATION OF THE DESCRIPTION OR TO PAY THE FEE WITHIN THE PRESCRIBED TIME-LIMIT

    Effective date: 20071026

    PG25 Lapsed in a contracting state [announced via postgrant information from national office to epo]

    Ref country code: IE

    Free format text: LAPSE BECAUSE OF FAILURE TO SUBMIT A TRANSLATION OF THE DESCRIPTION OR TO PAY THE FEE WITHIN THE PRESCRIBED TIME-LIMIT

    Effective date: 20070725

    Ref country code: GB

    Free format text: LAPSE BECAUSE OF FAILURE TO SUBMIT A TRANSLATION OF THE DESCRIPTION OR TO PAY THE FEE WITHIN THE PRESCRIBED TIME-LIMIT

    Effective date: 20070725

    PLBE No opposition filed within time limit

    Free format text: ORIGINAL CODE: 0009261

    STAA Information on the status of an ep patent application or granted ep patent

    Free format text: STATUS: NO OPPOSITION FILED WITHIN TIME LIMIT

    PG25 Lapsed in a contracting state [announced via postgrant information from national office to epo]

    Ref country code: SE

    Free format text: LAPSE BECAUSE OF FAILURE TO SUBMIT A TRANSLATION OF THE DESCRIPTION OR TO PAY THE FEE WITHIN THE PRESCRIBED TIME-LIMIT

    Effective date: 20071025

    26N No opposition filed

    Effective date: 20080428

    PG25 Lapsed in a contracting state [announced via postgrant information from national office to epo]

    Ref country code: FR

    Free format text: LAPSE BECAUSE OF FAILURE TO SUBMIT A TRANSLATION OF THE DESCRIPTION OR TO PAY THE FEE WITHIN THE PRESCRIBED TIME-LIMIT

    Effective date: 20080321

    BERE Be: lapsed

    Owner name: BOCKL, KARL

    Effective date: 20080228

    PG25 Lapsed in a contracting state [announced via postgrant information from national office to epo]

    Ref country code: BE

    Free format text: LAPSE BECAUSE OF NON-PAYMENT OF DUE FEES

    Effective date: 20080228

    PGFP Annual fee paid to national office [announced via postgrant information from national office to epo]

    Ref country code: AT

    Payment date: 20090219

    Year of fee payment: 12

    PGFP Annual fee paid to national office [announced via postgrant information from national office to epo]

    Ref country code: CH

    Payment date: 20090227

    Year of fee payment: 12

    PGFP Annual fee paid to national office [announced via postgrant information from national office to epo]

    Ref country code: DE

    Payment date: 20090430

    Year of fee payment: 12

    PG25 Lapsed in a contracting state [announced via postgrant information from national office to epo]

    Ref country code: DK

    Free format text: LAPSE BECAUSE OF FAILURE TO SUBMIT A TRANSLATION OF THE DESCRIPTION OR TO PAY THE FEE WITHIN THE PRESCRIBED TIME-LIMIT

    Effective date: 20070725

    PG25 Lapsed in a contracting state [announced via postgrant information from national office to epo]

    Ref country code: LU

    Free format text: LAPSE BECAUSE OF NON-PAYMENT OF DUE FEES

    Effective date: 20080220

    REG Reference to a national code

    Ref country code: CH

    Ref legal event code: PL

    PG25 Lapsed in a contracting state [announced via postgrant information from national office to epo]

    Ref country code: LI

    Free format text: LAPSE BECAUSE OF NON-PAYMENT OF DUE FEES

    Effective date: 20100228

    Ref country code: CH

    Free format text: LAPSE BECAUSE OF NON-PAYMENT OF DUE FEES

    Effective date: 20100228

    PG25 Lapsed in a contracting state [announced via postgrant information from national office to epo]

    Ref country code: AT

    Free format text: LAPSE BECAUSE OF NON-PAYMENT OF DUE FEES

    Effective date: 20100220

    PG25 Lapsed in a contracting state [announced via postgrant information from national office to epo]

    Ref country code: IT

    Free format text: LAPSE BECAUSE OF NON-PAYMENT OF DUE FEES

    Effective date: 20080229

    Ref country code: DE

    Free format text: LAPSE BECAUSE OF NON-PAYMENT OF DUE FEES

    Effective date: 20100901