EP0744347B1 - Vorrichtung zum Aufbringen von Selbstklebeetiketten auf Behälter - Google Patents
Vorrichtung zum Aufbringen von Selbstklebeetiketten auf Behälter Download PDFInfo
- Publication number
- EP0744347B1 EP0744347B1 EP96112188A EP96112188A EP0744347B1 EP 0744347 B1 EP0744347 B1 EP 0744347B1 EP 96112188 A EP96112188 A EP 96112188A EP 96112188 A EP96112188 A EP 96112188A EP 0744347 B1 EP0744347 B1 EP 0744347B1
- Authority
- EP
- European Patent Office
- Prior art keywords
- label
- container
- pressing
- pressure
- rollers
- Prior art date
- Legal status (The legal status is an assumption and is not a legal conclusion. Google has not performed a legal analysis and makes no representation as to the accuracy of the status listed.)
- Expired - Lifetime
Links
- 239000000853 adhesive Substances 0.000 title claims abstract description 4
- 230000001070 adhesive effect Effects 0.000 title abstract 2
- 238000002372 labelling Methods 0.000 claims description 8
- 239000012858 resilient material Substances 0.000 claims 1
- 238000007493 shaping process Methods 0.000 claims 1
- 230000006835 compression Effects 0.000 description 4
- 238000007906 compression Methods 0.000 description 4
- 230000032258 transport Effects 0.000 description 2
- 239000000969 carrier Substances 0.000 description 1
- 239000013013 elastic material Substances 0.000 description 1
- 239000003292 glue Substances 0.000 description 1
- 210000002784 stomach Anatomy 0.000 description 1
Images
Classifications
-
- B—PERFORMING OPERATIONS; TRANSPORTING
- B65—CONVEYING; PACKING; STORING; HANDLING THIN OR FILAMENTARY MATERIAL
- B65C—LABELLING OR TAGGING MACHINES, APPARATUS, OR PROCESSES
- B65C9/00—Details of labelling machines or apparatus
- B65C9/26—Devices for applying labels
- B65C9/30—Rollers
-
- B—PERFORMING OPERATIONS; TRANSPORTING
- B65—CONVEYING; PACKING; STORING; HANDLING THIN OR FILAMENTARY MATERIAL
- B65C—LABELLING OR TAGGING MACHINES, APPARATUS, OR PROCESSES
- B65C9/00—Details of labelling machines or apparatus
- B65C9/08—Label feeding
- B65C9/18—Label feeding from strips, e.g. from rolls
- B65C9/1865—Label feeding from strips, e.g. from rolls the labels adhering on a backing strip
- B65C9/1876—Label feeding from strips, e.g. from rolls the labels adhering on a backing strip and being transferred by suction means
- B65C9/1884—Label feeding from strips, e.g. from rolls the labels adhering on a backing strip and being transferred by suction means the suction means being a movable vacuum arm or pad
-
- B—PERFORMING OPERATIONS; TRANSPORTING
- B65—CONVEYING; PACKING; STORING; HANDLING THIN OR FILAMENTARY MATERIAL
- B65C—LABELLING OR TAGGING MACHINES, APPARATUS, OR PROCESSES
- B65C9/00—Details of labelling machines or apparatus
- B65C9/26—Devices for applying labels
- B65C9/36—Wipers; Pressers
Definitions
- the invention relates to a device according to the preamble of claim 1.
- a Label tape carrier using a suitable Drive device a certain distance a dispensing edge pulled around, creating the label detached and fed to a pressure pad.
- the pressure pad transports the label that is held there for example by negative pressure, to a container and attach it there.
- the invention is based on the object Eliminate disadvantages.
- a labeling machine attaching a label 2 to a container 10 5 takes place in a first processing station a labeling machine, not shown is.
- a labeling machine glue the entire surface Label 2 with the outer surface 9 of the container 10
- a second processing station is provided which has an arrangement according to FIG. This points a support plate 12 on the radial on the container 10 by means of a suitable drive (for Example of a piston / cylinder unit) along the Directions of the double arrow 13 can be moved.
- a suitable drive for Example of a piston / cylinder unit
- On the support plate 12 is a smaller bearing plate 14 attached.
- each pivotable two arms 15 and 16 are held, the arms 15 a first pair of arms and the arms 16 a second pair of arms form.
- each pair of arms are each means a crossbar 17 or 18 with each other connected.
- the possible swivel movements the pairs of arms are indicated by arrows 19 and 20.
- the two crosspieces 17 and 18 are over a tension spring 21 connected to each other, in the parallel position shown in Figure 1 of the pairs of arms this tension spring 21 either on block or suitable spacing means between the Crosspieces 17 and 18 are provided, for example is the coil spring designed Tension spring 21 in a sleeve, the ends of which are support on the crossbars 17 and 18. This prevents that the two pairs of arms further inwards, in the opposite direction to the arrows 19 or 20 can pivot.
- Stand bolts 22 on which the carriage 23 is axially displaceable to store.
- the two stud bolts 22 are coiled by helical compression springs 24, each with one end on the support plate 12 with the support the other end on the respective carriage 23.
- suitable means not shown, that the slide from the stud 22nd pushed off by the forces of the helical compression springs 24 become.
- stops are on the stud 22 provided.
- pressure elements 25, 26 and 27 attached at the free ends of arms 15 and 16, respectively and on the carriage 23. This is not the case in FIG. 1 shown. An end view is shown in FIG on these pressure elements 25 to 27, which together form a pressure member 28.
- the pressure elements 25 to 27 consist of roles Made of elastic material, which is the shape of cone sections to have.
- the conical section of the middle pressing element 26 in its orientation offset by 180 ° compared to the conical sections of the external pressure elements 25 and 27, so that the Shell surfaces of adjacent pressure elements 25 to 27 run approximately parallel to each other.
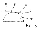
- the shape of the middle pressure element 26 is preferably such in the adjacent pressure elements 25 and 27 on the end face of the entire pressure member 28, that all the elements lie there on about one level, to evenly apply a label 2 against the outer surface 9 to be able to press a container 10.
- This pressing takes place in that the support plate 12 in the direction of the double arrow 13 against the front on the outer surface 9 of the container 10 attached label 2 is moved. Doing so the pressing element 26 central (middle area) against the label 2, while the pressing elements 25 and 27 the side areas 11 ( Figure 5) of the label 2 act on.
- the Helical compression springs 24 due to the retreat the carriage 23 (double arrow 29) cocked and -im
- the arms begin 15 and 16 of the two pairs of arms in the direction of Arrows 19 and 20 swing out sideways, the pressure elements 25 and 27 designed as rollers from the inside out the label on the outer surface Roll 9 of the container 10.
- the Tension spring 21 pulled further apart, that is, tensioned.
- Second Label for example a back or stomach self-adhesive label
- the container is by means of a Conveyor belt 30 moves in the direction of arrow 31 and by means of a transversely displaceable (double arrow 32) Double roller 33 against a counter pressure roller 34 moves.
- Double roller 33 against a counter pressure roller 34 moves.
- a label tape carrier Via a dispensing edge 36 a label tape carrier, not shown, is guided, whereby in this third processing station the outer surface 9 the further, second Label is fed tangentially and glued on.
- a feeder table 37 is arranged, compared to the rest of the machine frame Labeling device - relocatable as described below is.
- the feeder table 37 is in a recess with all-round play 38 of the remaining machine table 39 the Labeling machine.
Landscapes
- Engineering & Computer Science (AREA)
- Mechanical Engineering (AREA)
- Labeling Devices (AREA)
- Adhesives Or Adhesive Processes (AREA)
Applications Claiming Priority (3)
| Application Number | Priority Date | Filing Date | Title |
|---|---|---|---|
| DE4217654A DE4217654A1 (de) | 1992-05-27 | 1992-05-27 | Verfahren und Vorrichtung zum Aufbringen von Selbstklebeetiketten auf Behälter |
| DE4217654 | 1992-05-27 | ||
| EP93108411A EP0575766B1 (de) | 1992-05-27 | 1993-05-25 | Verfahren zum Aufbringen von Selbstklebeetiketten auf Behälter |
Related Parent Applications (2)
| Application Number | Title | Priority Date | Filing Date |
|---|---|---|---|
| EP93108411.5 Division | 1993-05-25 | ||
| EP93108411A Division EP0575766B1 (de) | 1992-05-27 | 1993-05-25 | Verfahren zum Aufbringen von Selbstklebeetiketten auf Behälter |
Publications (3)
| Publication Number | Publication Date |
|---|---|
| EP0744347A2 EP0744347A2 (de) | 1996-11-27 |
| EP0744347A3 EP0744347A3 (de) | 1996-12-04 |
| EP0744347B1 true EP0744347B1 (de) | 1999-07-14 |
Family
ID=6459907
Family Applications (2)
| Application Number | Title | Priority Date | Filing Date |
|---|---|---|---|
| EP96112188A Expired - Lifetime EP0744347B1 (de) | 1992-05-27 | 1993-05-25 | Vorrichtung zum Aufbringen von Selbstklebeetiketten auf Behälter |
| EP93108411A Expired - Lifetime EP0575766B1 (de) | 1992-05-27 | 1993-05-25 | Verfahren zum Aufbringen von Selbstklebeetiketten auf Behälter |
Family Applications After (1)
| Application Number | Title | Priority Date | Filing Date |
|---|---|---|---|
| EP93108411A Expired - Lifetime EP0575766B1 (de) | 1992-05-27 | 1993-05-25 | Verfahren zum Aufbringen von Selbstklebeetiketten auf Behälter |
Country Status (5)
| Country | Link |
|---|---|
| EP (2) | EP0744347B1 (enExample) |
| AT (1) | ATE184565T1 (enExample) |
| DE (3) | DE4217654A1 (enExample) |
| ES (1) | ES2137206T3 (enExample) |
| GR (1) | GR3031895T3 (enExample) |
Families Citing this family (7)
| Publication number | Priority date | Publication date | Assignee | Title |
|---|---|---|---|---|
| IT1275951B1 (it) * | 1995-03-21 | 1997-10-24 | Malesani Marco | Confezione a sacco richiudibile procedimento e relativa apparecchiatura per la sua produzione |
| DE19619020B4 (de) * | 1996-05-10 | 2004-07-08 | Nordenia Technologies Gmbh | Verfahren zum Wrap-around-Etikettieren von zylindrischen oder prismatischen Behältern |
| US5798020A (en) * | 1997-06-23 | 1998-08-25 | Scriptpro, Llc | Medicine vial labeler |
| DE19826182A1 (de) * | 1998-06-14 | 1999-12-16 | Cab Produkttechnik Ges Fuer Co | Vorrichtung zum Etikettieren von Leiterplatten eines Leiterplattennutzens |
| FI115122B (fi) * | 2003-03-25 | 2005-03-15 | Perlos Oyj | Artikkelin irrotuslaite ja menetelmä sellaisen käyttämiseksi |
| ITUA20161330A1 (it) * | 2016-03-03 | 2017-09-03 | Gabriele Alfredo Croci | Macchina e metodo per applicare etichette alle bottiglie di vino. |
| DE102022125422A1 (de) * | 2022-09-30 | 2024-04-04 | Tesa Se | Applikationsvorrichtung mit Nachfüllkassette |
Family Cites Families (13)
| Publication number | Priority date | Publication date | Assignee | Title |
|---|---|---|---|---|
| US2122554A (en) * | 1935-06-26 | 1938-07-05 | Pneumatic Scale Corp | Labeling machine |
| US2119371A (en) * | 1936-07-16 | 1938-05-31 | New Jersey Machine Corp | Machine for applying labels |
| US2217325A (en) * | 1938-03-26 | 1940-10-08 | New Jersey Machine Corp | Machine for applying labels and the like |
| US2267903A (en) * | 1941-07-16 | 1941-12-30 | Economic Machinery Co | Pressure pad for labeling machines |
| CA1097269A (en) * | 1975-10-01 | 1981-03-10 | Herbert La Mers | Labelling system |
| US4479839A (en) * | 1983-03-02 | 1984-10-30 | Grand Rapids Label Company | Labeling mechanism |
| JPS59169811A (ja) * | 1983-03-16 | 1984-09-25 | Nitto Electric Ind Co Ltd | 粘着フイルム貼付方法 |
| JPS6065211U (ja) * | 1983-10-13 | 1985-05-09 | オムロン株式会社 | 封筒用スタンプ処理装置 |
| DE3618542A1 (de) * | 1986-06-03 | 1987-12-10 | Hermann Gmbh Co Heinrich | Verfahren und vorrichtung zum spenden von auf einem traegerband haftenden etiketten |
| FR2600623B1 (fr) * | 1986-06-24 | 1988-10-21 | Antoine Choteau | Procede et machine automatique pour appliquer au moins une etiquette sur des objets se deplacant a la suite les uns des autres |
| FR2613322B1 (fr) * | 1987-03-30 | 1989-10-27 | Courtine Jean Pierre | Perfectionnement aux machines d'etiquetage |
| DE3733511A1 (de) * | 1987-10-03 | 1989-04-13 | Schlafhorst & Co W | Verfahren und vorrichtung zur kennzeichnung von huelsen |
| DE4003896C2 (de) * | 1990-02-09 | 1995-01-05 | Etifix Etikettiersysteme Gmbh | Verfahren zum Aufbringen von Etiketten auf Behälter oder dergleichen sowie zugehörige Etikettiervorrichtung |
-
1992
- 1992-05-27 DE DE4217654A patent/DE4217654A1/de not_active Ceased
-
1993
- 1993-05-25 EP EP96112188A patent/EP0744347B1/de not_active Expired - Lifetime
- 1993-05-25 DE DE59309699T patent/DE59309699D1/de not_active Expired - Fee Related
- 1993-05-25 AT AT93108411T patent/ATE184565T1/de not_active IP Right Cessation
- 1993-05-25 DE DE59309778T patent/DE59309778D1/de not_active Expired - Fee Related
- 1993-05-25 ES ES93108411T patent/ES2137206T3/es not_active Expired - Lifetime
- 1993-05-25 EP EP93108411A patent/EP0575766B1/de not_active Expired - Lifetime
-
1999
- 1999-11-18 GR GR990402987T patent/GR3031895T3/el unknown
Also Published As
| Publication number | Publication date |
|---|---|
| EP0744347A2 (de) | 1996-11-27 |
| EP0744347A3 (de) | 1996-12-04 |
| EP0575766A3 (enExample) | 1994-02-16 |
| GR3031895T3 (en) | 2000-02-29 |
| EP0575766B1 (de) | 1999-09-15 |
| EP0575766A2 (de) | 1993-12-29 |
| DE59309699D1 (de) | 1999-08-19 |
| ATE184565T1 (de) | 1999-10-15 |
| DE4217654A1 (de) | 1993-12-02 |
| DE59309778D1 (de) | 1999-10-21 |
| ES2137206T3 (es) | 1999-12-16 |
Similar Documents
| Publication | Publication Date | Title |
|---|---|---|
| DE1586371C3 (de) | Entnahmevorrichtung für Etiketten | |
| DE3701146C2 (enExample) | ||
| DE2303340A1 (de) | Etikettiermaschine | |
| DE202020104770U1 (de) | Etikettenglättungsmechanismus einer vollautomatischen Etikettiermaschine für Profilflächen | |
| EP0744347B1 (de) | Vorrichtung zum Aufbringen von Selbstklebeetiketten auf Behälter | |
| EP0006505B1 (de) | Vorrichtung zum Etikettieren von flachen Gegenständen, wie Kompaktkassetten, Videokassetten oder dergleichen | |
| DE1586392C3 (de) | Vorrichtung zum Mehrfachetikettieren von Behaltern mit verschiedenen Durch messerbereichen | |
| DE2341800A1 (de) | Vorrichtung zum anbringen von magnetstreifen auf dokumenten | |
| DE4142158A1 (de) | Etikettiermaschine | |
| DE3622179A1 (de) | Etikettiermaschine, insbesondere zum rundumetikettieren von gegenstaenden, wie flaschen | |
| DE1045312B (de) | Zufuehrvorrichtung fuer Etiketten | |
| DE19821253A1 (de) | Beleimungsstation für eine Etikettiermaschine sowie Etikettiermaschine | |
| EP0441365A1 (de) | Verfahren zum Aufbringen von Etiketten auf Behälter oder dergleichen sowie zugehörige Etikettiervorrichtung | |
| DE1511892C3 (enExample) | ||
| DE1611853C3 (de) | Vorrichtung zum fortlaufenden Aufbringen von länglichen zylindrischen Gegenständen auf ein Haftklebeband | |
| DE2755352A1 (de) | Schattierungsmarkierer fuer textilstoffbahnen | |
| DE2701808A1 (de) | Etikettierstation einer etikettiermaschine fuer gegenstaende, insbesondere flaschen | |
| DE3612979C2 (enExample) | ||
| EP1280725B1 (de) | Vorrichtung und verfahren zum spannen einer zu fördernden, flächigen materialbahn mittels drehzahlunterschied | |
| DE648169C (de) | Vorrichtung zum Umhuellen von vorzugsweise zylindrischen Werkstuecken | |
| DE2055888C3 (de) | Vorrichtung an Schälmaschinen zum Zu- bzw. Abführen von Stranggut oder dessen Abschnitte wie Stangen oder Rohre | |
| DE1031208B (de) | Etikettiermaschine fuer aufrecht stehende, zylindrische Gegenstaende | |
| DE2517441C3 (de) | Etikettiermaschine zur Verarbeitung überlanger Etiketten | |
| DE2948606C2 (de) | Vorrichtung zum Zuführen von Etiketten in einer Etikettiermaschine | |
| EP0571942B1 (de) | Etikettiermaschine, insbesondere für Formflaschen und/oder für zylindrische Flaschen |
Legal Events
| Date | Code | Title | Description |
|---|---|---|---|
| PUAI | Public reference made under article 153(3) epc to a published international application that has entered the european phase |
Free format text: ORIGINAL CODE: 0009012 |
|
| PUAL | Search report despatched |
Free format text: ORIGINAL CODE: 0009013 |
|
| 17P | Request for examination filed |
Effective date: 19960727 |
|
| AC | Divisional application: reference to earlier application |
Ref document number: 575766 Country of ref document: EP |
|
| AK | Designated contracting states |
Kind code of ref document: A2 Designated state(s): DE |
|
| AK | Designated contracting states |
Kind code of ref document: A3 Designated state(s): DE |
|
| 17Q | First examination report despatched |
Effective date: 19970417 |
|
| GRAG | Despatch of communication of intention to grant |
Free format text: ORIGINAL CODE: EPIDOS AGRA |
|
| GRAG | Despatch of communication of intention to grant |
Free format text: ORIGINAL CODE: EPIDOS AGRA |
|
| GRAH | Despatch of communication of intention to grant a patent |
Free format text: ORIGINAL CODE: EPIDOS IGRA |
|
| GRAH | Despatch of communication of intention to grant a patent |
Free format text: ORIGINAL CODE: EPIDOS IGRA |
|
| GRAA | (expected) grant |
Free format text: ORIGINAL CODE: 0009210 |
|
| AC | Divisional application: reference to earlier application |
Ref document number: 575766 Country of ref document: EP |
|
| AK | Designated contracting states |
Kind code of ref document: B1 Designated state(s): DE |
|
| REF | Corresponds to: |
Ref document number: 59309699 Country of ref document: DE Date of ref document: 19990819 |
|
| PLBE | No opposition filed within time limit |
Free format text: ORIGINAL CODE: 0009261 |
|
| STAA | Information on the status of an ep patent application or granted ep patent |
Free format text: STATUS: NO OPPOSITION FILED WITHIN TIME LIMIT |
|
| 26N | No opposition filed | ||
| PGFP | Annual fee paid to national office [announced via postgrant information from national office to epo] |
Ref country code: DE Payment date: 20010731 Year of fee payment: 9 |
|
| PG25 | Lapsed in a contracting state [announced via postgrant information from national office to epo] |
Ref country code: DE Free format text: LAPSE BECAUSE OF NON-PAYMENT OF DUE FEES Effective date: 20021203 |