EP0719902A1 - Verfahrbares Trennwandelement - Google Patents

Verfahrbares Trennwandelement Download PDF

Info

Publication number
EP0719902A1
EP0719902A1 EP95120220A EP95120220A EP0719902A1 EP 0719902 A1 EP0719902 A1 EP 0719902A1 EP 95120220 A EP95120220 A EP 95120220A EP 95120220 A EP95120220 A EP 95120220A EP 0719902 A1 EP0719902 A1 EP 0719902A1
Authority
EP
European Patent Office
Prior art keywords
rollers
pair
partition element
movable partition
element according
Prior art date
Legal status (The legal status is an assumption and is not a legal conclusion. Google has not performed a legal analysis and makes no representation as to the accuracy of the status listed.)
Granted
Application number
EP95120220A
Other languages
English (en)
French (fr)
Other versions
EP0719902B1 (de
Inventor
Jens SCHRÖDER
Current Assignee (The listed assignees may be inaccurate. Google has not performed a legal analysis and makes no representation or warranty as to the accuracy of the list.)
Hueppe Form Sonnenschutz und Raumtrennsysteme GmbH
Original Assignee
Hueppe Form Sonnenschutz und Raumtrennsysteme GmbH
Priority date (The priority date is an assumption and is not a legal conclusion. Google has not performed a legal analysis and makes no representation as to the accuracy of the date listed.)
Filing date
Publication date
Application filed by Hueppe Form Sonnenschutz und Raumtrennsysteme GmbH filed Critical Hueppe Form Sonnenschutz und Raumtrennsysteme GmbH
Publication of EP0719902A1 publication Critical patent/EP0719902A1/de
Application granted granted Critical
Publication of EP0719902B1 publication Critical patent/EP0719902B1/de
Anticipated expiration legal-status Critical
Expired - Lifetime legal-status Critical Current

Links

Images

Classifications

    • EFIXED CONSTRUCTIONS
    • E04BUILDING
    • E04BGENERAL BUILDING CONSTRUCTIONS; WALLS, e.g. PARTITIONS; ROOFS; FLOORS; CEILINGS; INSULATION OR OTHER PROTECTION OF BUILDINGS
    • E04B2/00Walls, e.g. partitions, for buildings; Wall construction with regard to insulation; Connections specially adapted to walls
    • E04B2/74Removable non-load-bearing partitions; Partitions with a free upper edge
    • E04B2/82Removable non-load-bearing partitions; Partitions with a free upper edge characterised by the manner in which edges are connected to the building; Means therefor; Special details of easily-removable partitions as far as related to the connection with other parts of the building
    • E04B2/827Partitions constituted of sliding panels
    • EFIXED CONSTRUCTIONS
    • E05LOCKS; KEYS; WINDOW OR DOOR FITTINGS; SAFES
    • E05DHINGES OR SUSPENSION DEVICES FOR DOORS, WINDOWS OR WINGS
    • E05D15/00Suspension arrangements for wings
    • E05D15/06Suspension arrangements for wings for wings sliding horizontally more or less in their own plane
    • E05D15/0604Suspension arrangements for wings for wings sliding horizontally more or less in their own plane allowing an additional movement
    • E05D15/0608Suspension arrangements for wings for wings sliding horizontally more or less in their own plane allowing an additional movement caused by track lay-out
    • EFIXED CONSTRUCTIONS
    • E05LOCKS; KEYS; WINDOW OR DOOR FITTINGS; SAFES
    • E05YINDEXING SCHEME ASSOCIATED WITH SUBCLASSES E05D AND E05F, RELATING TO CONSTRUCTION ELEMENTS, ELECTRIC CONTROL, POWER SUPPLY, POWER SIGNAL OR TRANSMISSION, USER INTERFACES, MOUNTING OR COUPLING, DETAILS, ACCESSORIES, AUXILIARY OPERATIONS NOT OTHERWISE PROVIDED FOR, APPLICATION THEREOF
    • E05Y2800/00Details, accessories and auxiliary operations not otherwise provided for
    • EFIXED CONSTRUCTIONS
    • E05LOCKS; KEYS; WINDOW OR DOOR FITTINGS; SAFES
    • E05YINDEXING SCHEME ASSOCIATED WITH SUBCLASSES E05D AND E05F, RELATING TO CONSTRUCTION ELEMENTS, ELECTRIC CONTROL, POWER SUPPLY, POWER SIGNAL OR TRANSMISSION, USER INTERFACES, MOUNTING OR COUPLING, DETAILS, ACCESSORIES, AUXILIARY OPERATIONS NOT OTHERWISE PROVIDED FOR, APPLICATION THEREOF
    • E05Y2900/00Application of doors, windows, wings or fittings thereof
    • E05Y2900/10Application of doors, windows, wings or fittings thereof for buildings or parts thereof
    • E05Y2900/13Type of wing
    • E05Y2900/142Partition walls

Definitions

  • the invention relates to a movable partition element with a partition element sheet and at least one roller carriage, the rollers of which run on treads of a running rail on both sides of a longitudinal slot formed therein and on which the partition element sheet is suspended via at least one support element extending through the longitudinal slot of the running rail.
  • the number and arrangement of the rollers of the roller carriage are such that when a branch of the running rail is run over, at least one roller always rests on a running surface on both sides of the longitudinal slot.
  • the roller carriage preferably has a first and a second pair of rollers arranged on both sides of the longitudinal slot, the second pair of rollers, viewed in a first running direction of the roller carriage, lying in front of the first pair of rollers.
  • the rollers of each pair are expediently arranged symmetrically to the longitudinal slot.
  • the clear distance between the rollers of the second pair should correspond to the width of the longitudinal slot.
  • the distance between the rollers of the first pair should be greater than that between the rollers of the second pair and should preferably be such that the rollers of the first pair run essentially along the outer sides of the treads of the running rail.
  • the diameter of the rollers of the second pair can, for example, be smaller than the diameter of the rollers of the first pair.
  • a further preferred embodiment is characterized in that the roller carriage has a third pair of rollers which are arranged on both sides of the longitudinal slot and which, viewed in the first running direction of the roller carriage, lie behind the first pair of rollers.
  • the distance between the rollers of the third pair should essentially correspond to the distance between the rollers of the first pair, the distance between the rollers of the third pair being expediently such that they run essentially along the outside of the treads.
  • the diameter of the rollers of the third pair can be smaller than the diameter of the rollers of the first pair for the reasons already mentioned.
  • the diameter of the rollers of the third pair can be approximately the diameter of the rollers of the second pair.
  • the supporting element should intersect a line connecting the pivot points of the rollers of the first pair of rollers.
  • the rollers of each pair of rollers can lie on a common axis of rotation, the axis of rotation of each pair of rollers should be parallel to one another.
  • the roller carriage can expediently be provided with at least one lateral guide roller, the axis of which is perpendicular and which touches a side wall of the travel rail, as a result of which the roller carriage can be guided precisely along the travel rail and in particular when passing through branches.
  • the partition element 1 shown schematically in FIG. 1 comprises a partition element sheet 2, which usually consists of a metal frame and two cover plates fastened to it on both sides.
  • a partition element sheet 2 On the top 4 of the partition element sheet 2 support bolts 6 are attached, which are still below Roller carriages 10 to be described in more detail are rotatably mounted.
  • the roller carriages 10 run on the running surfaces of a running rail 50, also to be described in more detail below, which has a longitudinal central slot through which the support bolts 6 are guided, the running surfaces of the running rail 50 being provided on both sides of the central slot.
  • Each partition element usually has two roller carriages 10, each with a support pin 6 rotatably mounted thereon.
  • a roller carriage 10 is shown in detail in FIGS. 2 and 3.
  • the roller carriage 10 has a base body 12 which is provided with a through bore 14 for the rotatable mounting of the support bolt 6.
  • a first roller 18 and 19 is rotatably mounted on each of the two sides 16 and 17 of the base body 12.
  • the rollers 18 and 19, which are preferably ball-bearing or form the outer ring of a ball bearing (see in particular FIG. 3b), lie on a common axis and form a first pair of rollers.
  • the bore 14 for the rotatable mounting of the support pin 6 is arranged so that its axis intersects the common axis of the first pair of rollers substantially perpendicularly, whereby the loads are essentially taken over by the first rollers 18, 19.
  • two second rollers 21 and 22 are arranged at a distance from one another in the region of the front side 20 of the base body 12 in front of the first rollers 18 and 19.
  • the rollers 21 and 22 lie on a common axis and form a second pair of rollers. Adjacent to the rear 24 of the base body 12 and in the viewing direction of FIG.
  • a third roller 25 and 26 is rotatably mounted on the sides 16 and 17 of the base body 12, which is preferably also ball-bearing or one from the outer ring Ball bearing exists (see Figure 3b).
  • the two rollers 25 and 26 lie on a common axis and form a third pair of rollers.
  • the loads are essentially borne by the first rollers 18, 19, their diameter is clearly larger than that of the second and third rollers 21, 22 and 25, 26, which have essentially the same diameter.
  • the distance between the rollers 25 and 26 of the third pair of rollers is approximately equal to the distance between the rollers 18 and 19 of the first pair of rollers, while the distance between the rollers 21 and 22 of the second pair of rollers is smaller.
  • the distance between the outer sides of the rollers 21 and 22 facing the sides 16, 17 of the base body 12 is somewhat smaller than the clear distance between the inner sides of the first rollers 18 and 19 facing the base body 2.
  • rollers of each pair of rollers are arranged symmetrically to an imaginary central axis running in the direction of rotation, which is also cut by the axis of the through bore 14 for the rotatable receiving of the support bolt.
  • the second rollers 21 and 22, but also the first rollers 18 and 19 and the third rollers 25 and 26 protrude a little beyond the underside 23 of the base body 12.
  • the axes of these rollers are each arranged, depending on their diameter, at such a height that the rollers lie with the underside of their circumference on a common plane which is formed by the running surface of the rail described below.
  • two guide rollers 29 and 30 are rotatably mounted lying at a distance from one another in such a way that their axes are substantially perpendicular and at right angles to the horizontal axes of the rollers 18, 19, 21, 22, 25 and 26 run.
  • the guide rollers 29 and 30 run in a guide groove provided in the guide rail, as a result of which the roller carriage is guided exactly in the desired direction of a branch.
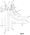
  • FIG. 4 schematically shows a section of a travel rail 50 with a branch 60 in a top view. Furthermore, the position of the rollers 18, 19, 21, 22, 25 and 26 and the guide rollers 29, 30 of a roller carriage 10 of the type described above which can be moved along the travel rail 50 is indicated, with only the rollers and guide rollers being shown schematically for reasons of clarity while the remaining parts of the roller carriage described above are omitted. It should also be mentioned in this connection that, compared to the representations of FIGS. 2 and 3, the guide rollers 29, 30 are arranged on the opposite side 16 of the base body 12.
  • the arrangement of the guide rollers 29, 30 is not limited to one of the two sides 16, 17 of the base body 12; rather, the arrangement of the guide rollers 29, 30 depends on which side of the running rail 50 a guide groove 55 is provided, in which the guide rollers 29, 30 engage and which will be discussed in more detail below.
  • the travel rail 50 has a central slot 52 running along its central axis in the longitudinal direction, through which the supporting bolt 6 (see FIG. 1) extends, and flat horizontal running surfaces 53 and 54 formed on both sides of the central slot 52 which the rollers 18, 19, 21, 22, 25 and 26 rest on.
  • the running surfaces 53 and 54 are bounded on the outside by side walls 51.
  • the distances between the rollers of each pair of rollers selected in the previously described embodiment of the roller carriage 10 can be seen in relation to the dimensions of the running rail 50.
  • the substantially equal distance between the rollers 18, 19 of the first pair of rollers and the rollers 25, 26 of the third pair of rollers is chosen so that the rollers 18, 19, 25 and 26 run adjacent to the side walls 51 delimiting the treads 53, 54; the distance between the outer sides of the rollers 18, 25 on the one hand and the rollers 19, 26 on the other hand and thus the width of the first and third pairs of rollers therefore corresponds approximately to the width of the running rail 50, but is slightly narrower.
  • the clear distance between the inner sides of the rollers 21, 22 of the second pair of rollers corresponds to the width of the central slot 52, so that these two rollers 21, 22 run along both sides of the central slot 52.
  • the section of the travel rail 50 shown in FIG. 4a contains a branch 60, as a result of which the travel rail 50 is divided into a linearly extending first section 50a and a curved branching second section 50b. Accordingly, the first running surface 53 merges into the running surface 53a of the first running rail section 50a, while the second running surface 54 changes into the running surface 54b of the second running rail section 50b. With the branch 60, the central slot 52 also divides into the central slot 52a of the first rail section 50a and the central slot 52b of the second rail section 50b.
  • a new second running surface 54a is formed in the first running rail section 50a, which is aligned with the second running surface 54, but is interrupted by the latter by the central slot 52b of the second running rail section 50b branching off from the central slot 52.
  • a new first tread 53b is formed by the branch 56 in the second travel rail section 50b, which with the second Tread 54a of the first track section 50a has a common origin in the region of the junction 60, but is interrupted by the first tread 53 through the central slot 52a of the first track section 50a and limits the other side of the central slot 52b of the second track section 50b with respect to the second tread 54b.
  • a guide groove 56 is provided in the area of the second running surface 54, which merges into the second running surface 54b of the branching-off second rail section 50b, which follows the arcuate course of the branched-off second rail section 50b.
  • the guide groove 56 is arranged above the running surface 54 or 54b (for example on the upper side of a hollow profile forming the travel rail 50) and is delimited by two side walls 57 and 58, between which the guide rollers 29 and 30 of the roller carriage run.
  • the described course of the guide groove 56 causes the roller carriage to be guided from the running rail 50 via the branch 56 into the branched-off second running rail section 50b.
  • a guide groove can also be provided in the area of the first running surface 53 of the travel rail 50 and the adjoining first running surface 53a of the straight-forward first travel rail section 50a, so that roller carriages with guide rollers guided in such a guide groove go straight ahead into the first travel rail section via the branch 56 50a are forced to move.
  • FIGS. 4b to 4e it is shown schematically how the roller carriage described above is moved via the branch 56 into the branching arc-shaped second rail section 50b. For reasons of clarity, only the most important reference symbols are given in these figures.
  • the first to third rollers 18, 22 and 25 are in constant contact with the second running surface 54 of the running rail 50 and the adjoining second running surface 54b of the branched second running rail section 50b.
  • the first roller 19 crosses the central slot 52a of the first rail section 50a, but in addition to the rollers 18, 22 and 25 resting on the opposite second running surface 54 and 54b, the roller carriage is also replaced by the leading second one Roller 21, which already rests on the first running surface 53 of the branching-off second running rail section 50b, and by the trailing third running roller 26, which still rests on the first running surface 53 of the running rail 50.
  • the roller carriage can be moved easily via a branch 56 without it falling into a central slot to be crossed and hooked there.

Landscapes

  • Engineering & Computer Science (AREA)
  • Architecture (AREA)
  • Mechanical Engineering (AREA)
  • Physics & Mathematics (AREA)
  • Electromagnetism (AREA)
  • Civil Engineering (AREA)
  • Structural Engineering (AREA)
  • Platform Screen Doors And Railroad Systems (AREA)
  • Paper (AREA)
  • Multiple-Way Valves (AREA)
  • Measuring Pulse, Heart Rate, Blood Pressure Or Blood Flow (AREA)
  • Operating, Guiding And Securing Of Roll- Type Closing Members (AREA)
  • Electroluminescent Light Sources (AREA)
  • Telephone Function (AREA)
  • Preparation Of Compounds By Using Micro-Organisms (AREA)
  • Prostheses (AREA)
  • Surgical Instruments (AREA)

Abstract

Die Erfindung betrifft ein verfahrbares Trennwandelement mit einem Trennwandelementblatt und mindestens einem Rollenwagen dessen Rollen (18, 19, 21, 22, 25, 26) auf Laufflächen (53, 54) einer Fahrschiene (50) beidseitig eines darin ausgebildeten Längsschlitzes (52a) laufen und an dem das Trennwandelementblatt über mindestens ein sich durch den Längsschlitz (52a) der Fahrschiene (50) erstreckendes Tragelement aufgehängt ist. Das Besondere der Erfindung besteht darin, daß Anzahl und Anordnung der Rollen (18, 19, 21, 22, 25, 26) des Rollenwagens derart getroffen sind, daß bei Überfahren einer Abzweigung der Fahrschiene (50) stets mindestens eine Rolle auf jeweils einer Lauffläche (53, 54) zu beiden Seiten des Längsschlitzes (52a) aufliegt. <IMAGE>

Description

  • Die Erfindung betrifft ein verfahrbares Trennwandelement mit einem Trennwandelementblatt und mindestens einem Rollenwagen, dessen Rollen auf Laufflächen einer Fahrschiene beidseitig eines darin ausgebildeten Längsschlitzes laufen und an dem das Trennwandelementblatt über mindestens ein sich durch den Längsschlitz der Fahrschiene erstreckendes Tragelement aufgehängt ist.
  • Es ist nun Aufgabe der vorliegenden Erfindung, den Rollenwagen derart zu verbessern, daß auch Abzweigungen bzw. Weichen in der Fahrschiene problemlos durchfahren werden können.
  • Diese Aufgabe wird dadurch gelöst, daß beim Trennwandelement der eingangs genannten Art Anzahl und Anordnung der Rollen des Rollenwagens derart getroffen sind, daß bei Überfahren einer Abzweigung der Fahrschiene stets mindestens eine Rolle auf jeweils einer Lauffläche zu beiden Seiten des Längsschlitzes aufliegt. Mit Hilfe der erfindungsgemäßen Konstruktion, die überdies auch ohne größeren Aufwand und somit preiswert festzustellen ist, wird in einfacher, jedoch wirkungsvoller Weise vermieden, daß beim Überqueren des Längsschlitzes in einer Abzweigung der Fahrschiene die Rollen des Rollenwagens in den zu überquerenden Abschnitt der Lenkschiene fallen und dort steckenbleiben. Somit gestattet die Erfindung ein reibungsloses Durchfahren der Abzweigung einer Fahrschiene. Dadurch ist an jeder Stelle der Fahrschiene auch im Bereich von Abzweigungen die Tragfunktion des Rollenwagens stets gewährleistet, so daß das Trennwandelement immer auf gleicher Höhe gehalten wird.
  • Vorzugsweise weist der Rollenwagen ein erstes und ein zweites Paar beidseitig des Längsschlitzes angeordneter Rollen auf, wobei das zweite Paar Rollen, in einer ersten Laufrichtung des Rollenwagens betrachtet, vor dem ersten Paar Rollen liegt. Zweckmäßigerweise sind die Rollen jedes Paares symmetrisch zum Längsschlitz angeordnet. Der lichte Abstand zwischen den Rollen des zweiten Paares sollte der Breite des Längsschlitzes entsprechen. Der Abstand zwischen den Rollen des ersten Paares sollte größer sein als zwischen den Rollen des zweiten Paares und bevorzugt so bemessen sein, daß die Rollen des ersten Paares im wesentlichen an den Außenseiten der Laufflächen der Fahrschiene entlang laufen. Mit dieser gegenwärtig besonders bevorzugten Ausführung läßt sich insbesondere ein gebogener Fahrschienenabschnitt einer Abzweigung unter Überquerung des Längsschlitzes des anderen Fahrschienenabschnittes problemlos durchfahren.
  • Da gewöhnlich die Tragfunktion im wesentlichen nur von einem Rollenpaar übernommen zu werden braucht, kann beispielsweise der Durchmesser der Rollen des zweiten Paares kleiner als der Durchmesser der Rollen des ersten Paares sein.
  • Eine weitere bevorzugte Ausführung zeichnet sich dadurch aus, daß der Rollenwagen ein drittes Paar beidseitig des Längsschlitzes angeordneter Rollen aufweist, die, in der ersten Laufrichtung des Rollenwagens betracht, hinter dem ersten Paar Rollen liegen. Der Abstand zwischen den Rollen des dritten Paares sollte im wesentlichen dem Abstand zwischen den Rollen des ersten Paares entsprechen, wobei zweckmäßigerweise der Abstand zwischen den Rollen des dritten Paares derart bemessen sein sollte, daß sie im wesentlichen an den Außenseite der Laufflächen entlanglaufen. Durch die Anordnung eines dritten Rollenpaares wird die Fahrstabilität des Rollenwagens insbesondere beim Durchfahren von Abzweigungen noch weiter vergrößert.
  • Der Durchmesser der Rollen des dritten Paares kann kleiner als der Durchmesser der Rollen des ersten Paares aus den bereits zuvor genannten Gründen sein. Dabei kann der Durchmesser der Rollen des dritten Paares etwa dem Durchmesser der Rollen des zweiten Paares entsprechen.
  • Wenn das erste Rollenpaar im wesentlichen die Tragfunktion übernimmt, sollte das Tragelement eine die Drehpunkte der Rollen des ersten Rollenpaares verbindende Linie schneiden. Dadurch findet nicht nur die größte Belastung an den Rollen des ersten Rollenpaares statt, sondern wird auch ein besonders stabiles und ausgeglichenes Fahrverhalten des Rollenwagens erzielt. Bei einer bevorzugten Weiterbildung dieser Ausführung können die Rollen jedes Rollenpaares auf einer gemeinsamen Drehachse liegen, wobei die Drehachse jedes Rollenpaares parallel zueinander liegen sollten.
  • Zweckmäßigerweise kann der Rollenwagen mit mindestens einer seitlichen Führungsrolle versehen sein, deren Achse senkrecht steht und die eine Seitenwand der Fahrschiene berührt, wodurch eine exakte Führung des Rollenwagens entlang der Fahrschiene und insbesondere beim Durchfahren von Abzweigungen realisierbar ist.
  • Nachfolgend wird ein bevorzugtes Ausführungsbeispiel der Erfindung anhand der beiliegenden Zeichnungen näher erläutert. Es zeigen:
  • Figur 1
    eine schematische Seitenansicht eines Trennwandelementes;
    Figuren 2a und b
    zwei unterschiedliche perspektivische Ansichten eines Rollenwagens;
    Figuren 3a, b und c
    eine Vorderansicht, eine Seitenansicht und eine Draufsicht des Rollenwagens; und
    Figuren 4a bis e
    schematisch das Durchfahren einer Abzweigung einer Fahrschiene mit Hilfe des erfindungsgemäßen Rollenwagens.
  • Das in Figur 1 schematisch dargestellte Trennwandelement 1 umfaßt ein Trennwandelementblatt 2, das gewöhnlich aus einem Metallrahmen und zwei beidseitig an diesem befestigten Deckplatten besteht. An der Oberseite 4 des Trennwandelementblattes 2 sind Tragbolzen 6 befestigt, die an noch nachfolgend näher zu beschreibenden Rollenwagen 10 drehbar gelagert sind. Die Rollenwagen 10 laufen auf Laufflächen einer ebenfalls nachfolgend noch näher zu beschreibenden Fahrschiene 50, die einen in Längsrichtung verlaufenden Mittelschlitz aufweist, durch den die Tragbolzen 6 hindurchgeführt sind, wobei die Laufflächen der Fahrschiene 50 beidseitig des Mittelschlitzes vorgesehen sind. Gewöhnlich weistjedes Trennwandelement zwei Rollenwagen 10 mit jeweils einem drehbar daran gelagerten Tragbolzen 6 auf.
  • In den Figuren 2 und 3 ist ein Rollenwagen 10 im einzelnen dargestellt. Der Rollenwagen 10 weist einen Grundkörper 12 auf, der mit einer durchgehenden Bohrung 14 zur drehbaren Lagerung des Tragbolzens 6 versehen ist. An den beiden Seiten 16 und 17 des Grundkörpers 12 ist jeweils eine erste Rolle 18 und 19 drehbar gelagert. Die Rollen 18 und 19, die vorzugsweise kugelgelagert sind bzw. den Außenring eines Kugellagers bilden (siehe hierzu insbesondere Figur 3b), liegen auf einer gemeinsamen Achse und bilden ein erstes Rollenpaar. Die Bohrung 14 zur drehbaren Lagerung des Tragbolzens 6 ist dabei so angeordnet, daß ihre Achse im wesentlichen senkrecht die gemeinsame Achse des ersten Rollenpaares schneidet, wodurch die Traglasten im wesentlichen von den ersten Laufrollen 18, 19 übernommen werden. In Blickrichtung von Figur 2a betrachtet, sind im Bereich der Vorderseite 20 des Grundkörpers 12 vor den ersten Laufrollen 18 und 19 zwei zweite Laufrollen 21 und 22 in einem Abstand voneinander angeordnet. Dabei sind die beiden Laufrollen 21 und 22, die vorzugsweise ebenfalls kugelgelagert sind bzw. aus dem Außenring eines Kugellagers bestehen, im Grundkörper 12 größtenteils versenkt angeordnet, wobei sie mit ihrem Umfang ein wenig über die Vorderseite 20 des Grundkörpers 12 vorstehen und aus dessen Unterseite 23 herausragen. Die Laufrollen 21 und 22 liegen auf einer gemeinsamen Achse und bilden ein zweites Rollenpaar. Benachbart zur Rückseite 24 des Grundkörpers 12 und in Blickrichtung von Figur 2a hinter den ersten Laufrollen 18 und 19 sind an den Seiten 16 und 17 des Grundkörpers 12 jeweils eine dritte Laufrolle 25 und 26 drehbar gelagert, die vorzugsweise ebenfalls kugelgelagert ist oder aus dem Außenring eine Kugellagers besteht (siehe Figur 3b). Die beiden Laufrollen 25 und 26 liegen auf einer gemeinsamen Achse und bilden ein drittes Rollenpaar.
  • Da die Traglasten im wesentlichen von den ersten Laufrollen 18, 19 übernommen werden, ist deren Durchmesser erkennbar größer als der der zweiten und dritten Laufrollen 21, 22 und 25, 26, die im wesentlichen den gleichen Durchmesser besitzen. Der Abstand zwischen den Laufrollen 25 und 26 des dritten Rollenpaares ist etwa gleich dem Abstand zwischen den Laufrollen 18 und 19 des ersten Rollenpaares, während der Abstand zwischen den Laufrollen 21 und 22 des zweiten Rollenpaares geringer ist. In der dargestellten Ausführung ist der Abstand zwischen den zu den Seiten 16, 17 des Grundkörpers 12 weisenden Außenseiten der Laufrollen 21 und 22 etwas kleiner als der lichte Abstand zwischen den zum Grundkörper 2 weisenden Innenseiten der ersten Laufrollen 18 und 19.
  • Wie die Figuren 2 und 3 ebenfalls erkennen lassen, sind die Laufrollen jedes Rollenpaares symmetrisch zu einer gedachten in Laufrichtung verlaufenden Mittelachse angeordnet, die auch von der Achse der durchgehenden Bohrung 14 zur drehbaren Aufnahme des Tragbolzens geschnitten wird. Nicht nur die zweiten Laufrollen 21 und 22, sondern auch die ersten Laufrollen 18 und 19 sowie die dritten Laufrollen 25 und 26 ragen mit ihrem Umfang ein wenig über die Unterseite 23 des Grundkörpers 12 hinaus. Dabei sind die Achsen dieser Laufrollen jeweils, abhängig von deren Durchmesser, in einer solchen Höhe angeordnet, daß die Laufrollen mit der Unterseite ihres Umfangs auf einer gemeinsamen Ebene liegen, die von der Lauffläche der nachfolgend beschriebenen Fahrschiene gebildet wird.
  • Auf der Oberseite 28 des Grundkörpers 12 sind benachbart zu der einen Seite 17 zwei Führungsrollen 29 und 30 in einem Abstand zueinander derart liegend drehbar gelagert, daß deren Achsen im wesentlichen senkrecht stehen und rechtwinklig zu den horizontal liegen Achsen der Laufrollen 18, 19, 21, 22, 25 und 26 verlaufen. Die Führungsrollen 29 und 30 laufen in einer in der Fahrschiene vorgesehenen Führungsnut, wodurch der Rollenwagen exakt in die gewünschte Richtung einer Abzweigung geführt wird.
  • In Figur 4 ist ein Abschnitt einer Fahrschiene 50 mit einer Abzweigung 60 in Draufsicht schematisch dargestellt. Ferner ist die Lage der Laufrollen 18, 19, 21, 22, 25 und 26 und der Führungsrollen 29, 30 eines entlang der Fahrschiene 50 verfahrbaren Rollenwagens 10 der zuvor beschriebenen Art angedeutet, wobei aus Gründen der Übersichtlichkeit nur die Laufrollen und Führungsrollen schematisch gezeigt sind, während die übrigen Teile des zuvor beschriebenen Rollenwagens weggelassen sind. Ferner sei in diesem Zusammenhang erwähnt, daß gegenüber den Darstellungen der Figuren 2 und 3 die Führungsrollen 29, 30 an der gegenüberliegenden Seite 16 des Grundkörpers 12 angeordnet sind. Hieraus erkennt man, daß die Anordnung der Führungsrollen 29, 30 nicht auf eine der beiden Seiten 16, 17 des Grundkörpers 12 beschränkt ist; vielmehr richtet sich die Anordnung der Führungsrollen 29, 30 danach, an welcher Seite der Fahrschiene 50 eine Führungsnut 55 vorgesehen ist, in die die Führungsrollen 29, 30 eingreifen und auf die nachfolgend noch näher eingegangen werden soll.
  • Wie Figur 4a zu entnehmen ist, weist die Fahrschiene 50 einen entlang ihrer Mittelachse in Längsrichtung verlaufenden Mittelschlitz 52, durch den sich der Tragbolzen 6 (vgl. Figur 1) erstreckt, und beiderseitig des Mittelschlitzes 52 ausgebildete ebene horizontale Laufflächen 53 und 54 auf, auf denen die Laufrollen 18, 19, 21, 22, 25 und 26 aufliegen. Die Laufflächen 53 und 54 werden jeweils nach außen von Seitenwänden 51 begrenzt.
  • In Figur 4a lassen sich die in der zuvor beschriebenen Ausführung des Rollenwagens 10 gewählten Abstände zwischen den Laufrollen jedes Rollenpaares im Verhältnis zu den Abmessungen der Fahrschiene 50 erkennen. Der im wesentlichen gleiche Abstand zwischen den Laufrollen 18, 19 des ersten Laufrollenpaares und den Laufrollen 25, 26 des dritten Laufrollenpaares ist so gewählt, daß die Laufrollen 18, 19, 25 und 26 benachbart zu den die Laufflächen 53, 54 begrenzenden Seitenwänden 51 laufen; der Abstand zwischen den Außenseiten der Laufrollen 18, 25 einerseits und der Laufrollen 19, 26 andererseits und somit die Breite der ersten und dritten Laufrollenpaare entspricht daher etwa der Breite der Fahrschiene 50, ist jedoch geringfügig schmaler. Demgegenüber entspricht der lichte Abstand zwischen den Innenseiten der Laufrollen 21, 22 des zweiten Laufrollenpaares der Breite des Mittelschlitzes 52, so daß diese beiden Laufrollen 21, 22 beiderseits des Mittelschlitzes 52 direkt an diesem entlang laufen.
  • Der in Figur 4a gezeigte Abschnitt der Fahrschiene 50 enthält eine Abzweigung 60, wodurch die Fahrschiene 50 in einen geradlinig weiterführenden ersten Abschnitt 50a und einen gebogenen abzweigenden zweiten Abschnitt 50b aufgeteilt wird. Dementsprechend geht die erste Lauffläche 53 in die Lauffläche 53a des ersten Fahrschienenabschnittes 50a über, während die zweite Lauffläche 54 in die Lauffläche 54b des zweiten Fahrschienenabschnittes 50b übergeht. Mit der Abzweigung 60 teilt sich auch der Mittelschlitz 52 in den Mittelschlitz 52a des ersten Fahrschienenabschnittes 50a und den Mittelschlitz 52b des zweiten Fahrschienenabschnittes 50b. Dementsprechend wird im ersten Fahrschienenabschnitt 50a eine neue zweite Lauffläche 54a gebildet, die mit der zweiten Lauffläche 54 fluchtet, jedoch von dieser durch den vom Mittelschlitz 52 abzweigenden Mittelschlitz 52b des zweiten Fahrschienenabschnittes 50b unterbrochen ist. Ferner wird durch die Abzweigung 56 im zweiten Fahrschienenabschnitt 50b eine neue erste Lauffläche 53b gebildet, die mit der zweiten Lauffläche 54a des ersten Fahrschienenabschnittes 50a einen gemeinsamen Ursprung im Bereich der Abzweigung 60 hat, jedoch von der ersten Lauffläche 53 durch den Mittelschlitz 52a des ersten Fahrschienenabschnittes 50a unterbrochen ist und gegenüber der zweiten Lauffläche 54b die andere Seite des Mittelschlitzes 52b des zweiten Fahrschienenabschnittes 50b begrenzt.
  • Im dargestellten Ausführungsbeispiel von Figur 4a ist im Bereich der zweiten Lauffläche 54, die in die zweite Lauffläche 54b des abzweigenden zweiten Fahrschienenabschnittes 50b übergeht, eine Führungsnut 56 vorgesehen, die den bogenförmigen Verlauf des abgezweigten zweiten Fahrschienenabschnittes 50b mitmacht. Die Führungsnut 56 ist oberhalb der Lauffläche 54 bzw. 54b angeordnet (beispielsweise an der Oberseite eines die Fahrschiene 50 bildenden Hohlprofils) und wird von zwei Seitenwänden 57 und 58 begrenzt, zwischen denen die Führungsrollen 29 und 30 des Rollenwagens laufen. Der beschriebene Verlauf der Führungsnut 56 bewirkt in dem dargestellten Ausführungsbeispiel eine Zwangsführung des Rollenwagens von der Fahrschiene 50 über die Abzweigung 56 in den abgezweigten zweiten Fahrschienenabschnitt 50b. Selbstverständlich kann eine Führungsnut auch im Bereich der ersten Lauffläche 53 der Fahrschiene 50 und der sich daran anschließenden ersten Lauffläche 53a des geradlinig weiterführenden ersten Fahrschienenabschnittes 50a vorgesehen sein, so daß Rollenwagen mit in einer solchen Führungsnut geführten Führungsrollen über die Abzweigung 56 geradeaus in den ersten Fahrschienenabschnitt 50a zwangsweise verfahren werden.
  • In den nachfolgenden Figuren 4b bis 4e ist schematisch dargestellt, wie der zuvor beschriebene Rollenwagen über die Abzweigung 56 in den abzweigenden bogenförmigen zweiten Fahrschienenabschnitt 50b verfahren wird. Aus Gründen der Übersichtlichkeit sind in diesen Figuren nur die wichtigsten Bezugszeichen angegeben.
  • Über den gesamten dargestellten Bewegungsweg haben die ersten bis dritten Laufrollen 18, 22 und 25 ständig Kontakt mit der zweiten Lauffläche 54 der Fahrschiene 50 und der sich daran anschließenden zweiten Lauffläche 54b des abgezweigten zweiten Fahrschienenabschnittes 50b.
  • In der in Figur 4b gezeigten Stellung, in der der Rollenwagen in die Abzweigung hineinfährt, überquert die zweite Laufrolle 21 den Mittelschlitz 52a des ersten Fahrschienenabschnittes 50a und hängt somit 'in der Luft'. Gleichwohl wird ein unerwünschtes Kippen des Rollenwagens verhindert, sondern bleibt der Rollenwagen in seiner waagerechten Lage, da die erste Laufrolle 19 und die dritte Laufrolle 26 noch auf der ersten Lauffläche 53 der Fahrschiene 50 aufliegen und somit zusammen mit den gegenüberliegenden Laufrollen 18, 22 und 25 einen sicheren Halt des Rollenwagens gewährleisten. Unterstützt wird dies im übrigen dadurch, daß die Bohrung 14 (siehe Figuren 2 und 3), die den Tragbolzen 6 (siehe Figur 1) drehbar aufnimmt, über den der gesamte Lastabtrag stattfindet, mit ihrer Achse die Achse des ersten Laufrollenpaares 18, 19 vertikal schneidet, wodurch im wesentlichen die gesamte Belastung von den ersten Laufrollen 18, 19 aufgefangen wird.
  • In der in Figur 4c gezeigten Stellung überquert zwar die erste Laufrolle 19 den Mittelschlitz 52a des ersten Fahrschienenabschnittes 50a, jedoch wird der Rollenwagen zusätzlich zu den auf der gegenüberliegenden zweiten Lauffläche 54 bzw. 54b aufliegenden Laufrollen 18, 22 und 25 auch noch von der vorlaufenden zweiten Laufrolle 21, die bereits auf der ersten Lauffläche 53 des abzweigenden zweiten Fahrschienenabschnittes 50b aufliegt, sowie von der nachlaufenden dritten Laufrolle 26, die noch auf der erste Lauffläche 53 der Fahrschiene 50 aufliegt, gestützt.
  • In der in Figur 4d gezeigten Situation ist der Rollenwagen so weit in den abzweigenden zweiten Fahrschienenabschnitt 50b vorgefahren worden, daß nun bereits die erste Laufrolle 19 und die zweite Laufrolle 21 auf der ersten Lauffläche 53b des zweiten Fahrschienenabschnittes 50b aufliegen, während die nachlaufende dritte Laufrolle 26 über dem zu querenden Mittelschlitz 52a des ersten Fahrschienenabschnittes 50a schwebt.
  • Bei der in Figur 4e gezeigten Situation ist nun der Rollenwagen vollständig in den abgezweigten zweiten Fahrschienenabschnitt 50b fortbewegt worden, so daß nun alle Laufrollen 18, 19, 21, 22, 25 und 26 auf den Laufflächen 53b und 54b des zweiten Fahrschienenabschnittes 50b aufliegen und der Rollenwagen nun entlang dieses zweiten Fahrschienenabschnittes 50b weiterbewegt werden kann.
  • Wie zuvor anhand der Figuren 4a bis e dargestellt worden ist, kann aufgrund der beschriebenen Anordnung der Laufrollen der Rollenwagen problemlos über eine Abzweigung 56 bewegt werden, ohne daß er mit einer Laufrolle in einen zu überquerenden Mittelschlitz fällt und dort verhakt.

Claims (16)

  1. Verfahrbares Trennwandelement mit einem Trennwandelementblatt (2) und mindestens einem Rollenwagen (10), dessen Rollen (18, 19, 21, 22, 25, 26) auf Laufflächen (53, 54) einer Fahrschiene (50) beidseitig eines darin ausgebildeten Längsschlitzes (52) laufen und an dem das Trennwandelementblatt (2) über mindestens ein sich durch den Längsschlitz (52) der Fahrschiene (50) erstreckendes Tragelement (6) aufgehängt ist,
    dadurch gekennzeichnet, daß Anzahl und Anordnung der Rollen (18, 19, 21, 22, 25, 26) des Rollenwagens (10) derart getroffen sind, daß bei Überfahren einer Abzweigung (60) der Fahrschiene (50) stets mindestens eine Rolle auf jeweils einer Lauffläche (53, 54) zu beiden Seiten des Längsschlitzes (52) aufliegt.
  2. Verfahrbares Trennwandelement nach Anspruch 1,
    dadurch gekennzeichnet, daß der Rollenwagen (10) ein erstes und ein zweites Paar beidseitig des Längsschlitzes (52) angeordneter Rollen (18, 19 und 21, 22) aufweist, wobei das zweite Paar Rollen (21, 22), in einer ersten Laufrichtung des Rollenwagens (10) betrachtet, vor dem ersten Paar Rollen (18, 19) liegt.
  3. Verfahrbares Trennwandelement nach Anspruch 1 oder 2,
    dadurch gekennzeichnet, daß die Rollen jedes Paares (18, 19; 21, 22; 25, 26) symmetrisch zum Längsschlitz 52 angeordnet sind.
  4. Verfahrbares Trennwandelement nach Anspruch 3,
    dadurch gekennzeichnet, daß der lichte Abstand zwischen den Rollen (21 und 22) des zweiten Paares der Breite des Längsschlitzes (52) entspricht.
  5. Verfahrbares Trennwandelement nach mindestens einem der Ansprüche 2 bis 4,
    dadurch gekennzeichnet, daß der Abstand zwischen den Rollen (18 und 19) des ersten Paares größer als zwischen den Rollen (21 und 22) des zweiten Paares ist.
  6. Verfahrbares Trennwandelement nach mindestens einem der Ansprüche 2 bis 5,
    dadurch gekennzeichnet, daß der Abstand zwischen den Rollen (18 und 19) des ersten Paares derart bemessen ist, daß sie im wesentlichen an den Außenseiten (51) der Laufflächen (53, 54) der Fahrschiene (50) entlang laufen.
  7. Verfahrbares Trennwandelement nach mindestens einem der Ansprüche 2 bis 6,
    dadurch gekennzeichnet, daß der Durchmesser der Rollen (21, 22) des zweiten Paares kleiner als der Durchmesser der Rollen (18, 19) des ersten Paares ist.
  8. Verfahrbares Trennwandelement nach Anspruch 2 und ggf. mindestens einem der übrigen Ansprüche,
    dadurch gekennzeichnet, daß der Rollenwagen (10) ein drittes Paar beidseitig des Längsschlitzes (52) angeordneter Rollen (25, 26) aufweist, die, in der ersten Laufrichtung des Rollenwagens (10) betrachtet, hinter dem ersten Paar Rollen (18, 19) liegen.
  9. Verfahrbares Trennwandelement nach Anspruch 8,
    dadurch gekennzeichnet, daß der Abstand zwischen den Rollen (25 und 26) des dritten Paares im wesentlichen dem Abstand zwischen den Rollen (18 und 19) des ersten Paares entspricht.
  10. Verfahrbares Trennwandelement nach Anspruch 8 oder 9,
    dadurch gekennzeichnet, daß der Abstand zwischen den Rollen (25 und 26) des dritten Paares derart bemessen ist, daß sie im wesentlichen an den Außenseiten 51 der Laufflächen 53, 54 der Fahrschiene 50 entlang laufen.
  11. Verfahrbares Trennwandelement nach mindestens einem der Ansprüche 8 bis 10,
    dadurch gekennzeichnet, daß der Durchmesser der Rollen (25, 26) des dritten Paares kleiner als der Durchmesser der Rollen (18, 19) des ersten Paares ist.
  12. Verfahrbares Trennwandelement nach den Ansprüchen 7 und 11,
    dadurch gekennzeichnet, daß der Durchmesser der Rollen (25, 26) des dritten Paares etwa dem Durchmesser der Rollen (21, 22) des zweiten Paares entspricht.
  13. Verfahrbares Trennwandelement nach Anspruch 2 und ggf. mindestens einem der übrigen Ansprüche,
    dadurch gekennzeichnet, daß das Tragelement (6) eine die Drehpunkte der Rollen (18, 19) des ersten Rollenpaares verbindende Linie schneidet.
  14. Verfahrbares Trennwandelement nach Anspruch 2 und ggf. mindestens einem der übrigen Ansprüche,
    dadurch gekennzeichnet, daß die Rollen jedes Rollenpaares (18, 19; 21, 22; 25, 26) auf einer gemeinsamen Drehachse liegen.
  15. Verfahrbares Trennwandelement nach Anspruch 14,
    dadurch gekennzeichnet, daß die Drehachsen jedes Rollenpaares (18, 19; 21, 22; 25, 26) parallel zueinander verlaufen.
  16. Verfahrbares Trennwandelement nach mindestens einem der Ansprüche 1 bis 15,
    dadurch gekennzeichnet, daß der Rollenwagen (10) mit mindestens einer seitlichen Führungsrolle (29, 30) versehen ist, deren Achse senkrecht steht und die eine an der Fahrschiene (50) ausgebildete Seitenwand (57, 58) berührt.
EP95120220A 1994-12-23 1995-12-20 Verfahrbares Trennwandelement Expired - Lifetime EP0719902B1 (de)

Applications Claiming Priority (2)

Application Number Priority Date Filing Date Title
DE9420808U DE9420808U1 (de) 1994-12-23 1994-12-23 Verfahrbares Trennwandelement
DE9420808U 1994-12-23

Publications (2)

Publication Number Publication Date
EP0719902A1 true EP0719902A1 (de) 1996-07-03
EP0719902B1 EP0719902B1 (de) 1999-07-07

Family

ID=6917987

Family Applications (1)

Application Number Title Priority Date Filing Date
EP95120220A Expired - Lifetime EP0719902B1 (de) 1994-12-23 1995-12-20 Verfahrbares Trennwandelement

Country Status (5)

Country Link
EP (1) EP0719902B1 (de)
AT (1) ATE181981T1 (de)
DE (2) DE9420808U1 (de)
ES (1) ES2134994T3 (de)
SG (1) SG67874A1 (de)

Cited By (1)

* Cited by examiner, † Cited by third party
Publication number Priority date Publication date Assignee Title
EP3327232A1 (de) * 2016-11-29 2018-05-30 dormakaba Deutschland GmbH Laufwagen für ein schiebewandelement einer schiebewandanlage, profilelement für eine deckenführung einer schiebewandanlage und schiebewandanlage

Families Citing this family (2)

* Cited by examiner, † Cited by third party
Publication number Priority date Publication date Assignee Title
CH690733A5 (de) * 1999-12-22 2000-12-29 Leuthold Metallbau Ag Geb Führungsvorrichtung für eine mehrteilige Schiebewand.
ES2367934B1 (es) * 2008-09-18 2012-09-18 Carmen Bayarri Camps Soporte para cerramiento móvil.

Citations (2)

* Cited by examiner, † Cited by third party
Publication number Priority date Publication date Assignee Title
JPS54128144A (en) * 1978-03-27 1979-10-04 Etsuichi Matsuda Sash hanger device of moving wall
US5090171A (en) * 1989-08-01 1992-02-25 Komatsu Wall Industry Co., Ltd. Movable partitioning panel

Patent Citations (2)

* Cited by examiner, † Cited by third party
Publication number Priority date Publication date Assignee Title
JPS54128144A (en) * 1978-03-27 1979-10-04 Etsuichi Matsuda Sash hanger device of moving wall
US5090171A (en) * 1989-08-01 1992-02-25 Komatsu Wall Industry Co., Ltd. Movable partitioning panel

Cited By (2)

* Cited by examiner, † Cited by third party
Publication number Priority date Publication date Assignee Title
EP3327232A1 (de) * 2016-11-29 2018-05-30 dormakaba Deutschland GmbH Laufwagen für ein schiebewandelement einer schiebewandanlage, profilelement für eine deckenführung einer schiebewandanlage und schiebewandanlage
EP3327232B1 (de) 2016-11-29 2021-09-15 dormakaba Deutschland GmbH Laufwagen für ein schiebewandelement einer schiebewandanlage, profilelement für eine deckenführung einer schiebewandanlage und schiebewandanlage

Also Published As

Publication number Publication date
EP0719902B1 (de) 1999-07-07
HK1014568A1 (en) 1999-09-30
ES2134994T3 (es) 1999-10-16
ATE181981T1 (de) 1999-07-15
SG67874A1 (en) 1999-10-19
DE59506348D1 (de) 1999-08-12
DE9420808U1 (de) 1996-04-25

Similar Documents

Publication Publication Date Title
DE3500704C2 (de) Verteilförderer für Stückgut
DE3817694C2 (de)
DE3900616A1 (de) Transportsystem mit einem schienengefuehrten fahrzeug und einer weiche
DE2301349A1 (de) Vorrichtung zum auseinanderhalten von zwei greifern
DE3411701C2 (de) Schwerkraft-Fördereinrichtung für mit Rädern versehene Paletten
DE2417516B2 (de) Vorrichtung bei einer kette mit halteranordnungen zum tragen und zur fuehrung von einer oder mehreren biegbaren, energieuebertragenden leitungen
DE3644743A1 (de) Waelzlager-geradefuehrung
DE3342933A1 (de) Regalfoerderzeug
DE8813730U1 (de) Montage- und/oder Fertigungsstrassenabschnitt mit Werkstücke tragenden Transportplatten
AT399137B (de) Vorrichtung zum fördern von kraftfahrzeugen in fahrzeugwaschanlagen
DE2659010B2 (de) Weiche für ein Zweischienengleis für Magnetschwebefahrzeuge
DE3529514C1 (de) Kluppenkettenbahn fuer Spannkluppen mit Rollenlagerung in Spannrahmen zur kontinuierlichen Behandlung eine Warenbahn
DE2209032C3 (de) Schleppkette
DE69609805T2 (de) Zusammenziehbares Überdachungssystem, insbesondere für Schwimmbecken
EP0719902B1 (de) Verfahrbares Trennwandelement
DE2615814C2 (de) Weiche für geführte Fahrzeuge
DE3300495A1 (de) Kettenkonstruktion
DE69507133T2 (de) Vorrichtung bei hängeförderern
DE3431498C1 (de) Hub- und Schwenkvorrichtung fuer den Austragsabschnitt einer rohrfoermigen Schuttrutsche
EP0737791B1 (de) Fahrschienenanordnung für verfahrbare Trennwandelemente
DE69000162T2 (de) Geneigter rollenfoerderer.
EP0431141A1 (de) Trolleyfahrzeug zum ein- und auslagern von speicherguttragenden ladungsträgern.
DD143443A5 (de) Fahrbare vorrichtung zum verteilen und profilieren des bettungsschotters eines gleises
EP0823395A1 (de) Regalanlage mit einem Regalbediengerät für Geradeaus- und Kurvenfahrt
DE3342953C2 (de) Ausstellvorrichtung

Legal Events

Date Code Title Description
PUAI Public reference made under article 153(3) epc to a published international application that has entered the european phase

Free format text: ORIGINAL CODE: 0009012

AK Designated contracting states

Kind code of ref document: A1

Designated state(s): AT BE CH DE DK ES FR GB IT LI NL SE

17P Request for examination filed

Effective date: 19960917

17Q First examination report despatched

Effective date: 19980427

GRAG Despatch of communication of intention to grant

Free format text: ORIGINAL CODE: EPIDOS AGRA

GRAG Despatch of communication of intention to grant

Free format text: ORIGINAL CODE: EPIDOS AGRA

GRAH Despatch of communication of intention to grant a patent

Free format text: ORIGINAL CODE: EPIDOS IGRA

GRAH Despatch of communication of intention to grant a patent

Free format text: ORIGINAL CODE: EPIDOS IGRA

GRAA (expected) grant

Free format text: ORIGINAL CODE: 0009210

AK Designated contracting states

Kind code of ref document: B1

Designated state(s): AT BE CH DE DK ES FR GB IT LI NL SE

PG25 Lapsed in a contracting state [announced via postgrant information from national office to epo]

Ref country code: SE

Free format text: THE PATENT HAS BEEN ANNULLED BY A DECISION OF A NATIONAL AUTHORITY

Effective date: 19990707

Ref country code: IT

Free format text: LAPSE BECAUSE OF FAILURE TO SUBMIT A TRANSLATION OF THE DESCRIPTION OR TO PAY THE FEE WITHIN THE PRE;WARNING: LAPSES OF ITALIAN PATENTS WITH EFFECTIVE DATE BEFORE 2007 MAY HAVE OCCURRED AT ANY TIME BEFORE 2007. THE CORRECT EFFECTIVE DATE MAY BE DIFFERENT FROM THE ONE RECORDED.SCRIBED TIME-LIMIT

Effective date: 19990707

REF Corresponds to:

Ref document number: 181981

Country of ref document: AT

Date of ref document: 19990715

Kind code of ref document: T

REG Reference to a national code

Ref country code: CH

Ref legal event code: NV

Representative=s name: PATENTANWAELTE SCHAAD, BALASS, MENZL & PARTNER AG

Ref country code: CH

Ref legal event code: EP

GBT Gb: translation of ep patent filed (gb section 77(6)(a)/1977)

Effective date: 19990708

REF Corresponds to:

Ref document number: 59506348

Country of ref document: DE

Date of ref document: 19990812

ET Fr: translation filed
RAP2 Party data changed (patent owner data changed or rights of a patent transferred)

Owner name: HUEPPE FORM RAUMTRENNSYSTEME GMBH

PG25 Lapsed in a contracting state [announced via postgrant information from national office to epo]

Ref country code: DK

Free format text: LAPSE BECAUSE OF FAILURE TO SUBMIT A TRANSLATION OF THE DESCRIPTION OR TO PAY THE FEE WITHIN THE PRESCRIBED TIME-LIMIT

Effective date: 19991007

REG Reference to a national code

Ref country code: ES

Ref legal event code: FG2A

Ref document number: 2134994

Country of ref document: ES

Kind code of ref document: T3

PLBE No opposition filed within time limit

Free format text: ORIGINAL CODE: 0009261

STAA Information on the status of an ep patent application or granted ep patent

Free format text: STATUS: NO OPPOSITION FILED WITHIN TIME LIMIT

NLXE Nl: other communications concerning ep-patents (part 3 heading xe)

Free format text: PAT. BUL. 12/99 PAGE 1712: CORR.: H?PPE FORM RAUMTRENNSYSTEME GMBH.

26N No opposition filed
REG Reference to a national code

Ref country code: GB

Ref legal event code: IF02

PGFP Annual fee paid to national office [announced via postgrant information from national office to epo]

Ref country code: ES

Payment date: 20041209

Year of fee payment: 10

PG25 Lapsed in a contracting state [announced via postgrant information from national office to epo]

Ref country code: ES

Free format text: LAPSE BECAUSE OF NON-PAYMENT OF DUE FEES

Effective date: 20051221

PGFP Annual fee paid to national office [announced via postgrant information from national office to epo]

Ref country code: AT

Payment date: 20061213

Year of fee payment: 12

PGFP Annual fee paid to national office [announced via postgrant information from national office to epo]

Ref country code: CH

Payment date: 20061214

Year of fee payment: 12

PGFP Annual fee paid to national office [announced via postgrant information from national office to epo]

Ref country code: NL

Payment date: 20061215

Year of fee payment: 12

PGFP Annual fee paid to national office [announced via postgrant information from national office to epo]

Ref country code: DE

Payment date: 20061218

Year of fee payment: 12

PGFP Annual fee paid to national office [announced via postgrant information from national office to epo]

Ref country code: GB

Payment date: 20061221

Year of fee payment: 12

PGFP Annual fee paid to national office [announced via postgrant information from national office to epo]

Ref country code: BE

Payment date: 20070118

Year of fee payment: 12

REG Reference to a national code

Ref country code: ES

Ref legal event code: FD2A

Effective date: 20051221

PGFP Annual fee paid to national office [announced via postgrant information from national office to epo]

Ref country code: FR

Payment date: 20061212

Year of fee payment: 12

BERE Be: lapsed

Owner name: *HUPPE FORM SONNENSCHUTZ- UND RAUMTRENNSYSTEME G.M

Effective date: 20071231

REG Reference to a national code

Ref country code: CH

Ref legal event code: PL

GBPC Gb: european patent ceased through non-payment of renewal fee

Effective date: 20071220

PG25 Lapsed in a contracting state [announced via postgrant information from national office to epo]

Ref country code: AT

Free format text: LAPSE BECAUSE OF NON-PAYMENT OF DUE FEES

Effective date: 20071220

NLV4 Nl: lapsed or anulled due to non-payment of the annual fee

Effective date: 20080701

PG25 Lapsed in a contracting state [announced via postgrant information from national office to epo]

Ref country code: BE

Free format text: LAPSE BECAUSE OF NON-PAYMENT OF DUE FEES

Effective date: 20071231

PG25 Lapsed in a contracting state [announced via postgrant information from national office to epo]

Ref country code: LI

Free format text: LAPSE BECAUSE OF NON-PAYMENT OF DUE FEES

Effective date: 20071231

Ref country code: DE

Free format text: LAPSE BECAUSE OF NON-PAYMENT OF DUE FEES

Effective date: 20080701

Ref country code: CH

Free format text: LAPSE BECAUSE OF NON-PAYMENT OF DUE FEES

Effective date: 20071231

REG Reference to a national code

Ref country code: FR

Ref legal event code: ST

Effective date: 20081020

PG25 Lapsed in a contracting state [announced via postgrant information from national office to epo]

Ref country code: NL

Free format text: LAPSE BECAUSE OF NON-PAYMENT OF DUE FEES

Effective date: 20080701

PG25 Lapsed in a contracting state [announced via postgrant information from national office to epo]

Ref country code: GB

Free format text: LAPSE BECAUSE OF NON-PAYMENT OF DUE FEES

Effective date: 20071220

PG25 Lapsed in a contracting state [announced via postgrant information from national office to epo]

Ref country code: FR

Free format text: LAPSE BECAUSE OF NON-PAYMENT OF DUE FEES

Effective date: 20071231