EP0635286B1 - Gleitbrett - Google Patents
Gleitbrett Download PDFInfo
- Publication number
- EP0635286B1 EP0635286B1 EP94111398A EP94111398A EP0635286B1 EP 0635286 B1 EP0635286 B1 EP 0635286B1 EP 94111398 A EP94111398 A EP 94111398A EP 94111398 A EP94111398 A EP 94111398A EP 0635286 B1 EP0635286 B1 EP 0635286B1
- Authority
- EP
- European Patent Office
- Prior art keywords
- skis
- sliding board
- board according
- region
- central portion
- Prior art date
- Legal status (The legal status is an assumption and is not a legal conclusion. Google has not performed a legal analysis and makes no representation as to the accuracy of the status listed.)
- Expired - Lifetime
Links
- 125000006850 spacer group Chemical group 0.000 claims description 2
- 238000007493 shaping process Methods 0.000 claims 1
- 238000006073 displacement reaction Methods 0.000 description 3
- 238000005452 bending Methods 0.000 description 2
- 238000000034 method Methods 0.000 description 2
- 230000008719 thickening Effects 0.000 description 2
- 230000015572 biosynthetic process Effects 0.000 description 1
- 239000002131 composite material Substances 0.000 description 1
- 239000000945 filler Substances 0.000 description 1
- 230000000149 penetrating effect Effects 0.000 description 1
Images
Classifications
-
- A—HUMAN NECESSITIES
- A63—SPORTS; GAMES; AMUSEMENTS
- A63C—SKATES; SKIS; ROLLER SKATES; DESIGN OR LAYOUT OF COURTS, RINKS OR THE LIKE
- A63C5/00—Skis or snowboards
- A63C5/03—Mono skis; Snowboards
-
- A—HUMAN NECESSITIES
- A63—SPORTS; GAMES; AMUSEMENTS
- A63C—SKATES; SKIS; ROLLER SKATES; DESIGN OR LAYOUT OF COURTS, RINKS OR THE LIKE
- A63C5/00—Skis or snowboards
- A63C5/16—Devices enabling skis to be used whilst held in a particular configuration with respect to each other, e.g. for training purposes
-
- A—HUMAN NECESSITIES
- A63—SPORTS; GAMES; AMUSEMENTS
- A63C—SKATES; SKIS; ROLLER SKATES; DESIGN OR LAYOUT OF COURTS, RINKS OR THE LIKE
- A63C2203/00—Special features of skates, skis, roller-skates, snowboards and courts
- A63C2203/06—Special features of skates, skis, roller-skates, snowboards and courts enabling conversion into another device
Definitions
- the invention relates to a gliding board, in particular a snowboard, consisting of two skis, in particular touring skis, and fitting parts for joining the touring skis to one another.
- the waist radius is about 40 m for skis, while that for snowboards is about 8 to 12 m.
- a sports device in particular monoski, is known in which two skis are connected to form a uniform, straight outer edge, that is to say a body which does not have a waist.
- Several quick connections are used to connect the two skis, but they only have the task of holding the two skis together.
- the waist radius of the skis is not changed, so that such sports equipment can not be used as a snowboard for the cut swing.
- the object of the present invention is, starting from commercially available skis, in particular touring skis, to provide a gliding board, in particular a snowboard, which, in the assembled state, corresponds to the customary requirements for snowboarding in terms of the waist radii, and the skis still have their disassembled state Maintain properties as skis, in particular touring skis, in particular with regard to waist radii and hardness.
- the gliding board assembled in this way is provided with tailing radii on both sides, as can be found in conventional snowboards. Since the skis are kept at a distance from one another at least in the region of their ends, forces which act on the individual skis when cornering are so great that they no longer act hard because they are now parts of a large-area snowboard in which the middle part is missing or consists of one part, possibly several parts, which can only absorb small forces, so that the forces must now be absorbed by the two skis, which are otherwise also distributed to the middle part of a snowboard.
- a selectable distance between the skis can be set by the fitting parts and that the waist of the sliding board or snowboard with at least partially remaining distance between the skis is adjustable. This allows enough play to be left between the skis and the middle section from the start in order to be able to subsequently change the waist radius.
- the fitting parts in the area of the ski tips and in the area of the ski ends comprise clamps or sleeves and connecting rods penetrating the clamps or sleeves, the connecting rods preventing a height difference between the connected skis when inserted into the clamps
- the mutual distance between the individual skis can be freely adjusted, so that a secure connection between the two skis can be established quickly and easily, without the adjustability of the waist radius being hindered.
- the clamps are designed as clamps and can be clamped onto the connecting rods.
- skis can in principle be connected to one another at a distance from one another, it is expedient if, in a further embodiment of the invention, a one-part or multi-part, transverse or longitudinally divided middle part can be used between the two skis, with the exception of those assigned to the ski tips and the ski ends Regions has a shape, on the basis of which when the ski rests with the two end regions on the middle part, a gap which widens from the two ends towards the center of the ski remains.
- This gap is necessary to allow the skis to be braced so that the desired waist radius can be set. It is advisable to choose the shape of the middle section so that the gap is closed when the skis are tensioned, i.e. that the skis have the desired waist radius when they are in contact with the middle section. This creates a gliding board or snowboard with a continuously closed gliding surface.
- the middle part in the front region is adapted to the shape of the ski tips and in the rear region to the shape of the ski ends, and that the region in between runs parallel to one another Has limitations to by bracing the touring ski until it is completely in contact with the middle section to maintain the required waist radius.
- this waist radius is not yet sufficient, then it is expedient if, according to another embodiment of the invention, the middle part in the front region of the shape of the ski tips and in the rear region of the shape of the ski ends is adapted, and that the area in between is waisted. This enables an even stronger waist to be adjusted.
- a particularly simple measure for connecting the middle part to the skis according to the invention is that the middle part has fitting parts for receiving the connecting rods.
- plug connections can be provided in a further advantageous embodiment of the invention in the central area of the skis and the central part, which have a height difference in the assembled state prevent between the connected parts, but allow the mutual distance between the ski and the middle part to be
- the fitting parts can be embedded in the skis and / or in the middle part in a further embodiment of the invention.
- connecting rods are fastened to the central part. Losing the connecting rods in the disassembled state of the sliding board is hereby excluded.
- the middle part is sturdy enough, it can serve as a spacer for the skis, especially touring skis.
- the connecting rods can be bent or kinked at the areas assigned to the skis.
- the gliding board in particular snowboards
- the tensioning means when the forces leading to the deformations described above occur, the bent regions are deformed, whereby they elastically counteract the deformation forces.
- any sliding surface shape of the snowboard can be set, from a convex to a flat to a concave surface.
- the tensioning means can preferably consist of a turnbuckle.
- the skis in particular touring skis, can also be arranged offset to one another in the longitudinal direction, as a result of which an asymmetrical gliding board or snowboard is obtained.
- the gliding board or snowboard shown in the drawing comprises two commercially available skis 1, in particular touring skis, and a central part 2, which essentially serves only as a filler, both in the symmetrical configuration according to FIGS. 1 to 17 and in the asymmetrical configuration according to FIG. which are connected by fitting parts 3 and 4 so that a height difference between the interconnected parts is prevented, while a clamping means designated 5 braces the skis against the central part and thus holds the individual parts together in the lateral direction without additional holding means in the transverse direction being necessary would be.
- the fitting parts 3, as can be seen in particular from FIGS. 7 and 8, comprise base parts 6 and 7 which are screwed on by means of screws 8 in the edge region of the skis and the middle part.
- the base part 7 carries a plug pin 9 which engages in a bore 10 in the base part 6 in the assembled state of the individual parts. This avoids a difference in height between the adjacent parts, but does not hinder their opposite displacement in the horizontal direction.
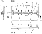
- the fitting parts 4 comprise, as can be seen for example from FIGS. 4 to 6, which show a first embodiment of such fitting parts, clamps 12 which can be fastened to the ski and the middle part by means of screws 11 and a connecting rod 13 which can be pushed through the clamps 12.
- This connecting rod 13 prevents this a height difference between the adjacent parts, but allows lateral displacement in the horizontal direction.
- the clamps the design of which can be seen in FIG. 5, can be fixed at any point on the connecting rod, as a result of which the spacing of the skis from one another and thus also from the central part can be changed.
- a tensioning means 5 in the form of a turnbuckle is provided in the middle of the sliding board or snowboard.
- This turnbuckle has two threaded bolts 16 fastened to the ski by means of screws 14 and elbows 15 and a threaded sleeve 17 which is screwed onto the two threaded bolts 16 with opposing threads.
- the two skis 1 can be clamped together with deformation in the transverse direction in the direction of the middle part by turning the threaded sleeve 17 in the corresponding direction, as can be seen from the comparison of 1 and 2 can be seen.
- the middle part 2 is adapted to the shape of the ski tips in the region of the front end and, moreover, has boundaries 2.1 running parallel to one another. Because of the waist radii of the skis, there is a gap which widens towards the center from the two ski ends and is designated 18 in FIG. 2. If the two skis are now tightened against each other by means of the tensioning means 5, the gap 18 becomes smaller and smaller as the skis are deformed in the transverse direction until it completely disappears when the skis are fully seated on the central part. This tensioning and deformation of the skis gives the finished assembled gliding board or snowboard waist radii that are significantly smaller than that of the skis.
- the middle part serves as a stop for the skis.
- corresponding stops must be provided on the fitting parts, or the skis are fixed to the connecting rods by means of clamps 12. The same also applies in the event that no middle part is provided.
- FIGS. 11 to 13 show the structure of a sliding board or snowboard which comprises two skis, but no middle part. Due to the lack of a central part, the two connecting rods 13 are provided with a middle section 13.1 which is reinforced in diameter and to which thinner sections 13.2 are connected on both sides. As a result, two shoulders 13.3 are formed, on which clamps 12.1 arranged on the ski rest when the skis are braced against one another by the tensioning means 5 to set a desired waist radius. Since the skis 1 are pressed against the shoulders 13.3 by the tensioning means 5, it is not necessary for the clamps 12.1 to be designed as clamps. These clamps therefore only form a plug-in connection which permits a displacement of the sections 13.2 in the clamps 12.1, but prevent a height difference between the skis.
- FIGS. 14 and 15 show an embodiment in which the fitting parts are incorporated into the ski 1 and the middle part 2.
- the skis 1 and the middle part 2 have thickenings 19 and 20 in the region of the ends.
- the thickenings 19 of the skis are provided with sleeves 21 for receiving a connecting rod 13, whereby a plug connection which can be displaced in the horizontal direction is created.
- the connecting rod 13 is firmly inserted in the thickened portion 20 of the central part 20 and is thus held captive.
- the connecting rod 13 can, as can be seen from FIG. 16, have two bent end sections 13a which are associated with the ski, while the central part 13b of the connecting rod 13, which is assigned to the central part 2, runs in a straight line.
- the skis 1 are at an angle to the central part 2, which corresponds to the bending angle of the end sections 13a with respect to the central part 13b of the connecting rod 13. If, during the tensioning process, the skis 1 move out of their normal position, the connecting rod 13 is hereby caused due to the situation that occurs Forces deformed.
- the skis 1 have been arranged in the longitudinal direction with respect to one another, which results in a symmetrical gliding board or snowboard.
- asymmetrical sliding board or snowboard There can now be certain reasons for the formation of an asymmetrical sliding board or snowboard.
- Such a reason can result, for example, from the fact that the arrangement of binding parts on the skis leads to problems, since mounting plates are necessary for the binding parts when using the skis individually in the longitudinal direction thereof and when using the touring skis to build up the gliding board or snowboards under one Angle to the longitudinal direction must be installed. This can cause collisions between the mounting plates with each other or with the hardware components.
- the skis are arranged somewhat offset in the longitudinal direction from one another when the gliding board or snowboard is being set up, so that an asymmetrical gliding board or snowboard is produced, as is shown in FIG. 18.
Landscapes
- Fittings On The Vehicle Exterior For Carrying Loads, And Devices For Holding Or Mounting Articles (AREA)
- Road Paving Structures (AREA)
- Polishing Bodies And Polishing Tools (AREA)
- Laminated Bodies (AREA)
- Rotary Pumps (AREA)
- Cleaning Of Streets, Tracks, Or Beaches (AREA)
Description
- Die Erfindung bezieht sich auf ein Gleitbrett, insbesondere Snowboard, bestehend aus zwei Ski, insbesondere Tourenski, und Beschlagteilen für das Zusammenfügen der Tourenski untereinander.
- Beim Tourengehen hat es sich gezeigt, daß die Schneeverhältnisse nicht immer ein Abfahren mit den Tourenski ermöglichen bzw. das Abfahren sehr erschweren. Hierfür sind Snowboards wesentlich besser geeignet, aber sie ermöglichen keinen Aufstieg ohne fremde Hilfe, beispielsweise Skilifte. Aus diesem Grunde ist der Wunsch entstanden, ein Sportgerät zu schaffen, welches zumindest zweiteilig aufgebaut ist, wobei die beiden Teile im getrennten Zustand als Ski, insbesondere Tourenski, und im zusammengesetzten Zustand als Snowboard verwendbar sind.
- Bei den bekannten, aus handelsüblichen Ski zusammengesetzten Snowboards, wie sie beispielsweise aus dem DBGM 89 03 154 hervorgehen, besteht das Problem, daß die Taillierungsradien von Ski und üblichen Snowboards so weit auseinanderliegen, daß das zusammengesetzte Snowboard nicht für den geschnittenen Schwung eingesetzt werden kann. Der Taillierungsradius liegt nämlich bei Ski bei etwa 40 m, während derjenige bei Snowboards etwa 8 bis 12 m beträgt.
- Aus der FR-A-26 11 345 ist ein Sportgerät, insbesondere Monoski bekannt, bei dem zwei Ski zu einem einheitlichen geradlinige Außenkanten, das heißt keine Taillierung aufweisenden Gesamtkörper verbunden werden. Zur Verbindung der beiden Ski dienen mehrere Schnellverbindungen, die jedoch nur die Aufgabe haben, die beiden Ski fest zusammenzuhalten.
- Der Taillierungsradius der Ski wird damit nicht verändert, so daß ein solches Sportgerät nicht als Snowboard für den geschnittenen Schwung eingesetzt werden kann.
- Aufgabe der vorliegenden Erfindung ist es, ausgehend von handelsüblichen Ski, insbesondere Tourenski, ein Gleitbrett, insbesondere Snowboard, zu schaffen, das im zusammengesetzten Zustand hinsichtlich der Taillierungsradien den üblichen an Snowboard zu stellenden Anforderungen entspricht und die Ski im zerlegten Zustand trotzdem ihre Eigenschaften als Ski, insbesondere Tourenski, insbesondere hinsichtlich Taillierungsradien und Härte beibehalten.
- Diese Aufgabe wird durch die im Anspruch 1 angegebenen Mittel gelöst.
- Durch die Verwendung eines Spannmittels, durch welches die Ski im mittleren Bereich unter Verformung in Querrichtung gegeneinander spannbar sind, erhält das so zusammengesetzte Gleitbrett auf beiden Seiten Tailierungsradien, wie sie bei den üblichen Snowboards anzutreffen sind. Da die Ski hierbei zumindest im Bereich ihrer Enden auf Abstand zueinander gehalten werden, ergeben sich beim Kurvenfahren so hohe Kräfte, die auf die einzelnen Ski einwirken, daß diese nicht mehr hart wirken, weil sie nun Teile eines großflächigen Snowboards sind, bei dem das Mittelteil fehlt oder aus einem Teil gegebenenfalls mehreren Teilen besteht, welches nur geringe Kräfte aufnehmen kann, so daß die Kräfte nun von den beiden Ski aufgenommen werden müssen, die sich sonst bei einem Snowboard auch noch auf das Mittelteil verteilen.
- Um den Taillierungsradius ohne größeren Aufwand beliebig einstellen zu können, ist es vorteilhaft, wenn nach einer weiteren Ausgestaltung der Erfindung, durch die Beschlagteile ein wählbarer Abstand zwischen den Ski einstellbar ist und daß die Taillierung des Gleitbrettes oder Snowboards bei zumindest teilweise verbleibendem Abstand zwischen den Ski einstellbar ist. Hierdurch kann von vornherein genügend Spiel zwischen den Ski und dem Mittelteil belassen werden, um noch nachträglich eine Veränderung des Taillierungsradiuses vornehmen zu können.
- Wenn in weiterer Ausgestaltung der Erfindung die Beschlagteile im Bereich der Skispitzen und im Bereich der Skienden angeordnete Schellen oder Hülsen und die Schellen oder Hülsen durchgreifende Verbindungstangen umfaßen, wobei die Verbindungsstangen in dem in die Schellen eingesteckten Zustand eine Höhendifferenz zwischen den miteinander verbundenen Ski verhindern, den gegenseitigen Abstand der einzelnen Ski aber frei einstellen lassen, so wird hierdurch in einfacher Weise eine rasch herzustellende sichere Verbindung beider Ski erreicht, ohne daß die Einstellbarkeit des Taillierungsradiuses behindert wäre.
- Eine einfache Möglichkeit den Abstand zwischen den Ski wählbar einstellen zu können besteht nach der Erfindung darin, daß die Schellen als Klemmschellen ausgebildet sind und auf den Verbindungsstangen festklemmbar sind.
- Eine weitere Möglichkeit für die Einstellbarkeit des Abstandes besteht darin, daß auf den Verbindungsstangen feste oder einstellbare Anschläge vorgesehen sind. Während bei den Klemmschellen eine stufenlose Veränderung des Abstandes möglich ist, die auch bei den einstellbaren Anschlägen gegeben ist, müssen bei den festen Anschlägen auf den Verbindungsstangen diese ausgewechselt werden, wenn die Abstände verändert werden sollen.
- Obwohl die Ski grundsätzlich mit Abstand zueinander miteinander verbunden werden können, ist es zweckmäßig, wenn in weiterer Ausgestaltung der Erfindung zwischen den beiden Ski ein ein- oder mehrteiliges, quer-oder längsgeteiltes Mittelteil einsetzbar ist, das mit Ausnahme der den Skispitzen und den Skienden zugeordneten Bereiche eine Formgebung aufweist, auf Grund deren bei Anliegen der Ski mit den beiden Endbereichen am Mittelteil ein von den beiden Enden zur Skimitte hin sich verbreitender Spalt verbleibt.
- Dieser Spalt ist notwendig, um ein Verspannen der Ski zu ermöglichen, um damit den gewünschten Taillierungsradius einstellen zu können. Es empfiehlt sich dabei die Form des Mittelteils so zu wählen, daß der Spalt im verspannten Zustand der Ski geschlossen ist, d.h., daß die Ski am Mittelteil anliegend den gewünschten Taillierungsradius aufweisen. Hierbei entsteht dann ein Gleitbrett oder Snowboard mit durchgehend geschlossener Gleitfläche.
- Üblicherweise ist es auf Grund des bei den Ski vorhandenen Taillierungsradiuses ausreichend wenn, gemäß einer weiteren vorteilhaften Ausgestaltung der Erfindung das Mittelteil im vorderen Bereich der Form der Skispitzen und im hinteren Bereich der Form der Skienden angepaßt ist, und daß der dazwischen liegende Bereich parallel zueinder verlaufende Begrenzungen aufweist, um durch das Verspannen der Tourenski bis zur vollständigen Anlage am Mittelteil, den erforderlichen Taillierungsradius zu erhalten.
- Wenn dagegen auf Grund besonderer Wünsche hinsichtlich der Fahreigenschaften des Gleitbrettes oder Snowboards dieser Taillierungsradius noch nicht ausreichend sein sollte, dann ist es zweckmäßig, wenn nach einer ander Ausgestaltung der Erfindung das Mittelteil im vorderen Bereich der Form der Skispitzen und im hinteren Bereich der Form der Skienden angepaßt ist, und daß der dazwischen liegende Bereich tailliert ist. Hierdurch ist dann eine noch stärkere Taillierung einstellbar.
- Eine besonders einfache Maßnahme zur Verbindung des Mittelteils mit den Ski besteht erfindungsgemäß darin, daß das Mittelteil Beschlagteile zur Aufnahme der Verbindungsstangen aufweist.
- Um die Ski und das Mittelteil in einfacher Weise in deren mittleren Bereich so zu verbinden, daß keine Höhendiffernz zwischen diesen Teilen auftritt, können in weiterer vorteilhafter Ausgestaltung der Erfindung im mittleren Bereich der Ski und des Mittelteils Steckverbindungen vorgesehen sind, die im zusammengesteckten Zustand eine Höhendifferenz zwischen den miteineinder verbundenen Teilen verhindern, den gegenseitigen Abstand von Ski und Mittelteil jedoch frei einstellen lassen.
- Um ein optisch ansprechendes Äußeres zu erhalten können in weiterer Ausgestaltung der Erfindung die Beschlagteile in die Ski und/oder in das Mittelteil eingelassen sein.
- Wenn an den Ski einfache Schellen oder Hülsen vorgesehen sind die ein Festklemmen an den Verbindungsstange nicht ermöglichen, kann es in weiterer Ausgestaltung der Erfindung vorteilhaft sein, wenn die Verbindungsstangen am Mittelteil befestigt sind. Hierdurch ist ein Verlieren der Verbindungstangen im zerlegten Zustand des Gleitbrettes ausgeschlossen.
- Sollte das Mittelteil stabil genug ausgeführt sein, so kann es als Abstandhalter für die Ski, insbesondere Tourenski, dienen.
- Je nach Härte bzw. Steifigkeit der Ski kann es bei starken Verspannungen durch das Spannmittel zu Verformungen kommen, derart, daß die Ski bezogen auf die horizontale Auflageebene nach oben ausweichen, wodurch sich eine konvexe Lauffläche ergibt, da die Außenkanten nach oben ausweichen. Um dieser Erscheinung vorzubeugen, bzw. um ganz bewußt eine bestimmte, sei es konvexe, ebene oder konkave Lauffläche einzustellen, können in weiterer Ausgestaltung der Erfindung die Verbindungsstangen an den den Ski zugeorddneten Bereichen abgebogen bzw. abgeknickt sein. Beim Verspannen des Gleitbrettes, insbesaondere Snowboards, mittels des Spannmittels werden dann bei Auftreten der zu den oben geschilderten Verformungen führenden Kräften, die abgebogenen Bereiche verformt, wobei sie den Verformungskräften elastisch entgegenwirken. Bei entsprechender Wahl des Abknickwinkels der äußeren Bereiche der Verbindungsstangen und entsprechender Ausrichtung dieser Bereiche, läßt sich jede beliebige Gleitflächenform des Snowboards und zwar von einer konvexen über eine flache bis zu einer konkaven Fläche einstellen.
- Vorzugsweise kann das Spannmittel aus einem Spannschloß bestehen.
- Die Ski, insbesondere Tourenski, können auch in Längsrichtung versetzt zueinander angeordnet sein, wodurch man ein asymmetrisches Gleitbrett oder Snowboard erhält.
- Die Erfindung wird nachstehend anhand von in der Zeichnung dargestellter Ausführungsbeispiele näher erläutert. In der Zeichnung zeigen:
- Fig.1:
- ein zusammengesetztes Snowboard in Draufsicht;
- Fig. 2:
- das Snowboard nach Fig. 1 vor dem Verspannen der Ski;
- Fig. 3:
- Ski und Mittelteil des Gleitbrettes oder Snowboards vor dem Zusammenfügen;
- Fig.4:
- eine Draufsicht auf das mit Beschlagteilen versehene hintere Ende des Gleitbrettes oder Snowboards;
- Fig. 5:
- eine Seitenansicht des hinteren Snowboardendes nach Fig.4;
- Fig.6:
- einen Schnitt nach der Linie VI-VI in Fig. 4;
- Fig. 7:
- eine Draufsicht auf einen Ausschnitt aus dem mit Beschlagteilen versehenen mittleren Teil des Snowboards;
- Fig. 8:
- einen Schnitt nach der Linie VIII-VIII in Fig. 7;
- Fig. 9:
- eine Draufsicht auf einen Ausschnitt aus dem mit einem Spannmittel versehen mittleren Teil des Snowboards;
- Fig. 10:
- einen Schnitt nach der Linie X-X in Fig. 9;
- Fig. 11:
- eine Draufsicht auf ein aus zwei Ski ohne Mittelteil zusammengesetztes Gleitbrett oder Snowboard;
- Fig. 12:
- eine Draufsicht auf das hintere Ende des Gleitbrettes nach Fig. 11;
- Fig. 13:
- eine Rückansicht des Gleitbrettes nach Fig. 12;
- Fig. 14:
- eine Draufsicht auf das hintere Ende eines abgeänderten Gleitbrettes;
- Fig. 15:
- eine Seitenansicht des Gleitbrettendes nach Fig. 14;
- Fig. 16:
- einen Schitt durch ein noch unverspanntes Snowboards im Bereich einer abgeänderten Verbindungsstange;
- Fig. 17:
- die Schnittansicht nach Fig. 11 im verspannten Zustand des Snowboards;
- Fig. 18:
- eine Daufsicht auf ein asymmetrisch ausgebildetes Gleitbrett oder Snowboard.
- Das in der Zeichnung dargestellte Gleitbrett oder Snowboard umfaßt sowohl bei der symmetrischen Ausgestaltung nach den Fig. 1 bis 17 als auch bei der asymmetrischen Ausgestaltung nach Fig. 18 zwei handeslübliche Ski 1, insbesondere Tourenski, und ein im wesentlichen nur als Füllstück dienendes Mittelteil 2, die durch Beschlagteile 3 und 4 so verbunden sind, daß eine Höhendifferenz zwischen den miteinander verbundenen Teilen verhindert wird, während ein mit 5 bezeichnetes Spannmittel die Ski gegen das Mittelteil verspannt und so die einzelnen Teile in seitlicher Richtung zusammenhält, ohne daß zusätzliche Haltemittel in Querrichtung notwendig wären.
- Die Beschlagteile 3 umfassen, wie insbesondere aus den Fig. 7 und 8 ersichtlich, Basisteile 6 und 7, die mittels Schrauben 8 im Kantenbereich der Ski und des Mittelteils aufgeschraubt sind. Das Basisteil 7 trägt einen Steckstift 9, der im zusammengefügten Zustand der einzelnen Teile in eine Bohrung 10 im Basisteil 6 eingreift. Hierdurch wird eine Höhendifferenz zwischen den angrenzenden Teilen vermieden, ihre gegenseite Verschiebung in horizontaler Richtung aber nicht behindert.
- Die Beschlagteile 4 umfassen, wie beispielsweise aus den Fig. 4 bis 6 ersichtlich, die eine erste Ausführungsform solcher Beschlagteile zeigen, auf den Ski und dem Mittelteil mittels Schrauben 11 befestigbare Klemmschellen 12 und eine durch die Klemmschellen 12 hindurchsteckbare Verbindungsstange 13. Diese Verbindungsstange 13 verhindert eine Höhendifferenz zwischen den angrenzenden Teilen, läßt aber eine seitliche Verschiebung in horizontaler Richtung zu. Die Klemmschellen, deren Ausgestaltung aus Fig. 5 hervorgeht, können an jeder beliebigen Stelle der Verbindungsstange festgelegt werden, wodurch der Abstand der Ski untereinander und somit auch zu dem Mittelteil veränderbar ist.
- Um die Ski und das Mittelteil zusammenzufügen und die beabsichtigte Verformung der Ski zur Einstellung eines gewünschten Taillierungsradiuses zu verwirklichen, ist ein Spannmittel 5 in Form eines Spannschlosses in der Mitte des Gleitbrettes oder Snowboards vorgesehen. Hierzu wird insbesondere auf die Fig. 9 und 10 verwiesen. Dieses Spannschloß weist zwei auf den Ski mittels Schrauben 14 und Winkelstücken 15 befestigte Gewindebolzen 16 sowie eine Gewindehülse 17 auf, die mit gegenläufigen Gewinden auf die beiden Gewindebolzen 16 aufgeschraubt ist. Da die Gewindebolzen 16 nur an den Ski befestigt sind und die Gewindehülse 17 das Mittelteil 2 überbrückt, können durch Verdrehen der Gewindehülse 17 in entsprechender Richtung die beiden Ski 1 unter Verformung in Querrichtung in Richtung auf das Mittelteil zusammengespannt werden, wie dies aus dem Vergleich der Fig. 1 und 2 ersichtlich ist.
- Das Mittelteil 2 ist bei diesem Ausführungsbeispiel im Bereich des vorderen Endes den Skispitzen in seiner Formgebung angepaßt und weist im übrigen parallel zueinder verlaufende Begrenzungen 2.1 auf. Auf Grund der Taillierungsradien der Ski besteht ein von den beiden Skienden zur Mitte hin sich verbreitender Spalt, der in Fig. 2 mit 18 bezeichnet ist. Werden nun die beiden Ski mittels des Spannmittels 5 gegeneinander gespannt, so wird mit zunehmender Verformung der Ski in Querrichtung der Spalt 18 immer kleiner, bis er bei vollständiger Anlage der Ski am Mittelteil vollständig verschwindet. Durch diese Verspannung und Verformung der Ski erhält das fertig zusammengefügte Gleitbrett oder Snowboard Taillierungsradien, die wesentlich kleiner als diejenige der Ski sind.
- Bei diesem Ausführungsbeispiel dient das Mittelteil als Anschlag für die Ski. In Fällen, in denen das Mittelteil auf Grund seiner Labilität diese Aufgabe nicht übernehmen kann, müßen entsprechnede Anschläge an den Beschlagteilen vorgesehen sein, oder die Ski sind mittels Klemmschellen 12 an den Verbindungsstangen festgelegt. Gleiches gilt auch für den Fall, daß kein Mittelteil vorgesehen ist.
- In den Figuren 11 bis 13 ist der Aufbau eines Gleitbrettes oder Snowboards dargestellt, welches zwei Ski, jedoch kein Mittelteil umfaßt. Wegen Fehlens eines Mittelteils sind die beiden Verbindungsstangen 13 mit einem im Durchmesser verstärkten mittleren Abschnitt 13.1 versehen, an den sich zu beiden Seiten im Durchmesser dünnere Abschnitte 13.2 anschließen. Hierdurch sind zwei Schultern 13.3 gebildet, an denen sich auf den Ski angeordnete Schellen 12.1 anlegen, wenn die Ski durch das Spannmittel 5 zur Einstellung eines gewünschten Taillierungsradiuses gegeneinander verspannt werden. Da die Ski 1 durch das Spannmittel 5 gegen die Schultern 13.3 angedrückt werden, ist nicht notwendig, daß die Schellen 12.1 als Klemmschellen ausgeführt sind. Diese Schellen bilden also nur eine Steckverbindung, die eine Verschiebung der Abschnitte 13.2 in den Schellen 12.1 zuläßt, eine Höhendifferenz der Ski zueinander aber verhindern.
- Die Figuren 14 und 15 zeigen eine Ausführungsform, bei der die Beschlagteile in den Ski 1 und dem Mittelteil 2 eingearbeitet sind. Wie aus diesen Fiuren 14 und 15 ersichtlich, weisen die Ski 1 und das Mittelteil 2 im Bereich der Enden Verdickungen 19 bzw. 20 auf. Die Verdickungen 19 der Ski sind mit Hülsen 21 zur Aufnahme einer Verbindungsstange 13 versehen, wodurch eine in horizontaler Richtung verschiebbare Steckverbindung geschaffen ist. Die Verbindungsstange 13 ist in der Verdickung 20 des Mittelteiles 20 fest eingesetzt und damit unverlierbar gehalten.
- Beim Verspannen der Ski in der weiter oben beschriebenen Weise kann eine Verformung der Ski in Höhenrichtung eintreten, so daß die Lauffläche des so gebildeten Snowboards konvex ist. Um trotzdem eine ebene Lauffläche zu erhalten, kann die Verbindungsstange 13, wie aus Fig. 16 ersichtlich, zwei abgebogene Endabschnitte 13a aufweisen, die den Ski zugeordnet sind, während der mittlere, dem Mittelteil 2 zugeornete Teil 13b der Verbindungsstange 13 geradlinig verläuft. Zu Beginn des Spannvorganges stehen die Ski 1 unter einem Winkel zu dem Mittelteil 2, der dem Abknickwinkel der Endabschnitte 13a gegenüber dem mittleren Teil 13b der Verbindungstange 13 entspricht. Wenn nun beim Spannvorgang die Ski 1 aus ihrer Normallage ausweichen, so wird hierdurch die Verbindungstange 13 auf Grund der dabei auftretenden Kräfte verformt. Durch entsprechende Wahl des Abknickwinkels der Endabschnitte 13a ist es möglich, daß die auftretenden Kräfte die Verbindungsstange 13 so weit verformen, daß im gespannten Endzustand die Verbindungstange 13 gerade ist, wodurch sich eine ebene Lauffläche des Gleitbrettes oder Snowboards ergibt, wie dies aus Fig. 17 hervorgeht.
- Bei den bisher beschriebenen Ausführungsbeispielen sind die Ski 1 in Längsrichtung ausgerichtet zueinander angeornet worden, woraus sich ein symmetrisches Gleitbrett oder Snowboard ergibt. Es können nun gewisse Gründe für die Ausbildung eines asymmetrischen Gleitbrettes oder Snowboards vorliegen. Ein solcher Grund kann beispielsweise aus der Tatsache resultieren, daß die Anornung von Bindungsteilen auf den Ski zu Problemen führt, da Montageplatten notwendig sind, um die Bindungsteile bei Einzelverwendung der Ski in Längsrichtung derselben und bei Verwendung der Tourenski zum Aufbau des Gleitbrettes oder Snowboards unter einem Winkel zur Längsrichtung montiert werden müssen. Hierdurch können Kollisionen zwischen den Montageplatten untereinander oder mit den Beschlagteilen auftreten. Zur Lösung dieser Probleme werden die Ski in Längsrichtung etwas versetzt zueiander beim Aufbau des Gleitbrettes oder Snowboards angeordnet, so daß ein asymmetrisches Gleitbrett oder Snowboard entsteht, wie es in Fig. 18 dargestellt ist.
Claims (16)
- Gleitbrett, insbesondere Snowboard, bestehend aus zwei Ski (1), insbesondere Tourenski, und Beschlagteilen (3, 4, 5) für das Zusammenfügen der Ski (1) untereinander, dadurch gekennzeichnet, daß zumindest im mittleren Bereich der Ski (1) ein die beiden Ski verbindendes Spannmittel (5) vorgesehen ist, durch das die beiden Ski (1) unter Verformung in Querrichtung gegeneinander spannbar sind, so daß das Gleitbrett in verspanntem Zustand einen wesentlich kleineren Taillierungsradius aufweist als die einzelnen Ski (1) im unverspannten Zustand und daß zumindest im Bereich der Skispitzen und der Skienden durch Beschlagteile (3, 4) festlegbare Abstände zwischen den Ski (1) einstellbar sind.
- Gleitbrett nach Anspruch 1, dadurch gekennzeichnet, daß durch die Beschlagteile (4) ein wählbarer Abstand zwischen den Ski (1) einstellbar ist und daß die Taillierung des Gleitbrettes bei zumindest teilweise verbleibendem Abstand zwischen den Ski (1) einstellbar ist.
- Gleitbrett Anspruch 1 oder 2, dadurch gekennzeichnet, daß die Beschlagteile (4) im Bereich der Skispitzen und im Bereich der Skienden angeordnete Schellen (12) oder Hülsen (21) und die Schellen oder Hülsen durchgreifende Verbindungsstangen (13) umfassen, wobei die Verbindungsstangen in dem in die Schellen (12) oder Hülsen (21) eingesteckten Zustand eine Höhendifferenz zwischen den miteinander verundenen Ski (1) verhindern, den gegenseitigen Abstand der einzelnen Ski aber frei einstellen lassen.
- Gleitbrett nach einem der Ansprüche 1 bis 3, dadurch gekennzeichnet, daß zur Einstellung eines wählbaren Abstandes zwischen den Ski (1) die Schellen als Klemmschellen (12) ausgebildet und auf den Verbindungsstangen (13) festklemmbar sind.
- Gleitbrett nach einem der Ansprüche 1 bis 3, dadurch gekennzeichnet, daß zur Einstellung eines Abstandes zwischen den Ski (1) auf den Verbindungsstangen (13) feste Anschläge (13.3) oder einstellbare Anschläge vorgesehen sind.
- Gleitbrett nach einem der Ansprüche 1 bis 5, dadurch gekennzeichnet, daß zwischen den beiden Ski (1) ein ein- oder mehrteiliges, quer- oder längsgeteiltes Mittelteil (2) einsetzbar ist, das mit Ausnahme der den Skispitzen und den Skienden zugeordneten Bereiche eine Formgebung aufweist, auf Grund deren bei Anliegen der Ski (1) mit den beiden Endbereichen am Mittelteil (2) ein von den beiden Enden zur Skimitte hin sich verbreitender Spalt (18) verbleibt.
- Gleitbrett nach Anspruch 6, dadurch gekennzeichnet, daß das Mittelteil (2) im vorderen Bereich der Form der Skispitzen und im hinteren Bereich der Form der Skienden angepaßt ist, und daß der dazwischen liegende Bereich parallel zueinder verlaufende Begrenzungen (2.1) aufweist.
- Gleitbrett nach Anspruch 6, dadurch gekennzeichnet, daß das Mittelteil (2) im vorderen Bereich der Form der Skispitzen und im hinteren Bereich der Form der Skienden angepaßt ist, und daß der dazwischen liegende Bereich tailliert ist.
- Gleitbrett nach einem der Ansprüch 6 bis 8, dadurch gekennzeichnet, daß das Mittelteil (2) Beschlagteile (12) zur Aufnahme der Verbindungsstangen (13) aufweist.
- Gleitbrett nach einem der Ansprüche 6 bis 9, dadurch gekennzeichnet, daß im mittleren Bereich der Ski (1) und des Mittelteils (2) Steckverbindungen (3) vorgesehen sind, die im zusammengesteckten Zustand eine Höhendifferenz zwischen den miteineinder verbundenen Teilen verhindern, den gegenseitigen Abstand von Ski (1) und Mittelteil (2) jedoch frei einstellen lassen.
- Gleitbrett nach einem der Ansprüche 1 bis 10, dadurch gekennzeichnet, daß die Beschlagteile (3,4) in die Ski (1) und/oder in das Mittelteil (2) eingelassen sind.
- Gleitbrett nach Anspruch 11, dadurch gekennzeichnet, daß die Verbindungsstangen (13) am Mittelteil (2) befestigt ist.
- Gleitbrett nach Anspruch 6 , dadurch gekennzeichnet, daß das Mittelteil (2) als Abstandhalter für die Ski (1) dient.
- Gleitbrett nach einem der Ansprüche 1 bis 13, dadurch gekennzeichnet, daß die Verbindungsstangen (13) an den den Ski (1) zugeordneten Bereichen (13a) gegenüber ihrem mittleren Bereich (13b) unter einem Winkel abgebogen sind.
- Gleitbrett nach einem der Ansprüche 1 bis 14, dadurch gekennzeichnet, daß das Spannmittel (5) aus einem Spannschloß besteht.
- Gleitbrett nach einem der Ansprüche 1 bis 15, dadurch gekennzeichnet, daß die Ski (1) in Längsrichtung versetzt zueinander angeordnet sind.
Applications Claiming Priority (2)
| Application Number | Priority Date | Filing Date | Title |
|---|---|---|---|
| DE4324871 | 1993-07-23 | ||
| DE4324871A DE4324871C2 (de) | 1993-07-23 | 1993-07-23 | Gleitbrett |
Publications (2)
| Publication Number | Publication Date |
|---|---|
| EP0635286A1 EP0635286A1 (de) | 1995-01-25 |
| EP0635286B1 true EP0635286B1 (de) | 1996-03-06 |
Family
ID=6493614
Family Applications (1)
| Application Number | Title | Priority Date | Filing Date |
|---|---|---|---|
| EP94111398A Expired - Lifetime EP0635286B1 (de) | 1993-07-23 | 1994-07-21 | Gleitbrett |
Country Status (4)
| Country | Link |
|---|---|
| US (1) | US5551728A (de) |
| EP (1) | EP0635286B1 (de) |
| AT (1) | ATE134893T1 (de) |
| DE (2) | DE4324871C2 (de) |
Families Citing this family (48)
| Publication number | Priority date | Publication date | Assignee | Title |
|---|---|---|---|---|
| DE4405098C1 (de) * | 1994-02-17 | 1995-06-22 | Silvretta Sherpas Sportartikel | Spannvorrichtung für ein mehrteiliges Gleitbrett, insbesondere Snowboard |
| US5458370A (en) * | 1994-05-27 | 1995-10-17 | Daniel J. Melcher | Triple ski system and linkage therefor |
| US5971420A (en) * | 1994-06-06 | 1999-10-26 | Shimano, Inc. | Snowboard binding |
| EP0925097B1 (de) | 1996-04-15 | 2004-03-17 | Uniboard, Inc. | Skibrett |
| US5816590A (en) * | 1997-04-02 | 1998-10-06 | Uniboard Corporation | Nordic skiboard |
| DE29618514U1 (de) * | 1996-10-23 | 1997-01-09 | Schiele, Stefan, 83104 Tuntenhausen | Teilbares Snowboard mit Bindungs- und Verbindungssystem |
| US6196397B1 (en) * | 1998-01-06 | 2001-03-06 | Burton Corporation | Rack for holding a gliding board |
| DE19926204C2 (de) * | 1999-06-09 | 2003-02-06 | Iq Carving Board Kg | Wintersportgerät |
| DE10010801B4 (de) * | 2000-03-08 | 2006-04-13 | Iq Carving Board Kg | Snowboard-Montageeinheit |
| WO2001066203A1 (de) | 2000-03-08 | 2001-09-13 | Iq Carving Board Kg | Gleitbrettanordnung |
| DE10010802C2 (de) * | 2000-03-08 | 2002-06-13 | Iq Carving Board Kg | Gleitbrett |
| US6523851B1 (en) | 2000-03-21 | 2003-02-25 | The Burton Corporation | Binding mechanism for a touring snowboard |
| DE10019655A1 (de) * | 2000-04-20 | 2001-10-31 | Walter Clausing | Wintersportgerät |
| US6648348B2 (en) | 2000-09-13 | 2003-11-18 | Mark Link | Ski-snowboard |
| EP1297869B1 (de) * | 2001-09-26 | 2006-11-29 | ATOMIC Austria GmbH | Schneegleitbrett, insbesondere Ski |
| DE20306244U1 (de) * | 2003-04-19 | 2003-07-24 | Kosmehl, Patrick Alexander, 39179 Barleben | Snowboard |
| US20080246236A1 (en) * | 2003-12-31 | 2008-10-09 | Frank Lombano | Multiple-Section Recreational Board |
| US20050280223A1 (en) * | 2004-06-18 | 2005-12-22 | Chung-Hsiu Su | Sled with a braking mechanism |
| WO2006013642A1 (ja) * | 2004-08-05 | 2006-02-09 | Yosuke Ushiguchi | 滑走具 |
| AT504801B1 (de) | 2007-02-02 | 2009-05-15 | Atomic Austria Gmbh | Schi oder snowboard mit einem mittel zur beeinflussung dessen geometrie sowie verfahren zu dessen herstellung |
| AT504840B1 (de) | 2007-02-02 | 2009-07-15 | Atomic Austria Gmbh | Schi oder snowboard in der gestalt eines brettartigen gleitgerätes |
| AT504842B1 (de) * | 2007-02-02 | 2009-04-15 | Atomic Austria Gmbh | Multifunktionales gleitgerat |
| AT506186B1 (de) * | 2007-12-21 | 2011-11-15 | Atomic Austria Gmbh | Endteil für das vordere oder hintere ende eines schis oder snowboards und damit ausgestatteter schi oder damit ausgestattetes snowboard |
| DE102008059683B4 (de) * | 2008-01-16 | 2009-11-19 | Patrick Alexander Kosmehl | Snowboard |
| US8469372B2 (en) * | 2008-10-23 | 2013-06-25 | Bryce M. Kloster | Splitboard binding apparatus |
| CH702305A2 (de) * | 2009-11-24 | 2011-05-31 | Reto Girsberger | Schlitten. |
| WO2011099155A1 (ja) * | 2010-02-15 | 2011-08-18 | Ota Junzo | 滑走遊技具 |
| AU2011238388B2 (en) | 2010-04-08 | 2014-10-30 | Cetatek Holdings Inc. | Flippers, boots, systems including same, and methods of using same |
| US10675508B2 (en) | 2010-04-08 | 2020-06-09 | Cetatek Holdings Inc. | Coupleable fin apparatuses and boot toe bodies |
| US9132336B2 (en) * | 2012-01-27 | 2015-09-15 | Rodin, Ltd | Reconfigurable snowboard/ downhill skis and binding |
| US8708371B2 (en) * | 2012-01-27 | 2014-04-29 | Rodin, Ltd. | Reconfigurable snowboard/downhill skis |
| US9238168B2 (en) | 2012-02-10 | 2016-01-19 | Bryce M. Kloster | Splitboard joining device |
| US9266010B2 (en) | 2012-06-12 | 2016-02-23 | Tyler G. Kloster | Splitboard binding with adjustable leverage devices |
| WO2014065929A1 (en) * | 2012-08-08 | 2014-05-01 | Rodin, Ltd. | Reconfigurable snowboard/downhill skis |
| US9440114B2 (en) | 2012-10-12 | 2016-09-13 | Cetatek Holdings Inc. | Boot sole system and fin for same |
| FR3014325A1 (fr) * | 2013-12-10 | 2015-06-12 | Salomon Sas | Engin de glisse en 4 parties |
| CH710319A2 (de) * | 2014-10-31 | 2016-05-13 | Eiselin Andreas | Variables Schneesportgerät. |
| US10029165B2 (en) * | 2015-04-27 | 2018-07-24 | Bryce M. Kloster | Splitboard joining device |
| US9604122B2 (en) * | 2015-04-27 | 2017-03-28 | Bryce M. Kloster | Splitboard joining device |
| US11065529B2 (en) | 2016-04-22 | 2021-07-20 | Jan Peter Ortwig | Method of and apparatus for changing a shape of a gliding surface of a gliding device |
| US10252146B2 (en) | 2017-01-17 | 2019-04-09 | Spark R&D Ip Holdings, Llc | Splitboard latching device |
| US10471332B2 (en) * | 2017-01-18 | 2019-11-12 | Joan Scheingraber | Ski binding rescue device |
| US10335665B1 (en) * | 2018-01-23 | 2019-07-02 | Spark R&D Ip Holdings, Llc | Splitboard latching device |
| US10518164B1 (en) | 2018-09-28 | 2019-12-31 | Spark R&D Ip Holdings, Llc | Systems and methods of fastening splitboard skis |
| US11117042B2 (en) | 2019-05-03 | 2021-09-14 | Bryce M. Kloster | Splitboard binding |
| US11938394B2 (en) | 2021-02-22 | 2024-03-26 | Bryce M. Kloster | Splitboard joining device |
| EP4398999A4 (de) * | 2021-09-07 | 2025-08-13 | Donald Ruzicka | Geteiltes snowboard |
| FR3128382B1 (fr) * | 2021-10-27 | 2024-11-08 | Lussiana Jean Christophe | Engin de glisse à géométrie variable |
Family Cites Families (14)
| Publication number | Priority date | Publication date | Assignee | Title |
|---|---|---|---|---|
| US1565945A (en) * | 1924-03-17 | 1925-12-15 | Ralph A Leslie | Sled |
| US2918293A (en) * | 1957-10-24 | 1959-12-22 | Tavi Felix | Ski having tensioning means |
| JPS6059450B2 (ja) * | 1982-03-19 | 1985-12-25 | 博 寺町 | 直線摺動用ベアリング |
| FR2553670B1 (fr) * | 1983-10-21 | 1986-05-23 | Fanti Rene | Dispositif pour lier deux skis entre eux, en leur conservant leur mobilite longitudinale avant-arriere ou en permettant leur blocage |
| FR2564000B1 (fr) * | 1984-05-14 | 1987-08-28 | Roche Christian | Skis alpins transformables en monoski |
| FR2579474B1 (fr) * | 1985-03-27 | 1988-01-29 | Lhoste Frederic | Dispositif pour transformer une paire de skis en un monoski |
| FR2608061B1 (fr) * | 1986-12-12 | 1990-04-27 | Prisme | Dispositif de liaison de deux skis facilement amovible skis aux pieds |
| IT210483Z2 (it) * | 1987-02-27 | 1988-12-30 | Tua Ski Srl | Monosci di tipo perfezionato separabile in due elementi indipendenti |
| FR2616341A1 (fr) * | 1987-06-15 | 1988-12-16 | Thevenot Louis | Dispositif de skis pour sport de glisse |
| FR2628333B1 (fr) * | 1988-03-09 | 1991-02-01 | Chavaz Pierre | Engin de glisse sur neige |
| FR2630339B1 (fr) * | 1988-04-20 | 1993-07-16 | Baudin Vincent | Procede et dispositif pour coupler une paire de skis, et dispositif comprenant deux skis ainsi equipes |
| DE8903154U1 (de) * | 1989-03-14 | 1989-06-22 | Schiele, Stefan, Dipl.-Ing., 8011 Forstinning | Tourenski-Snowboard-Kombination |
| FR2654947B1 (fr) * | 1989-11-29 | 1992-04-03 | Coffy Jean Claude | Dispositif pour solidariser deux skis en constitutant une surface de glissement unique. |
| DE9209879U1 (de) * | 1992-07-22 | 1992-09-17 | Schiele, Stefan, Dipl.-Ing., 8011 Forstinning | Mehrzweckwintersportgerät: Ski - Schneeschaufel - Bindungsgrundplatten - Tourenskistöcke - Kombination zu einem Snowboard |
-
1993
- 1993-07-23 DE DE4324871A patent/DE4324871C2/de not_active Expired - Fee Related
-
1994
- 1994-07-21 AT AT94111398T patent/ATE134893T1/de active
- 1994-07-21 DE DE59400143T patent/DE59400143D1/de not_active Expired - Fee Related
- 1994-07-21 EP EP94111398A patent/EP0635286B1/de not_active Expired - Lifetime
- 1994-07-25 US US08/279,658 patent/US5551728A/en not_active Expired - Fee Related
Also Published As
| Publication number | Publication date |
|---|---|
| DE59400143D1 (de) | 1996-04-11 |
| EP0635286A1 (de) | 1995-01-25 |
| DE4324871A1 (de) | 1995-01-26 |
| DE4324871C2 (de) | 1995-06-22 |
| US5551728A (en) | 1996-09-03 |
| ATE134893T1 (de) | 1996-03-15 |
Similar Documents
| Publication | Publication Date | Title |
|---|---|---|
| EP0635286B1 (de) | Gleitbrett | |
| EP0904760A1 (de) | Kreuzstrebe für einen Faltrollstuhl | |
| DE29608903U1 (de) | Vorrichtung zur Aufnahme einer Skibindung auf einem Ski und mit einer derartigen Vorrichtung ausgerüsteter Ski | |
| DE2726023A1 (de) | Skibremsvorrichtung | |
| WO1999038583A1 (de) | Schi, insbesondere alpinschi | |
| DE2628140C3 (de) | Vorderbacken einer Skibindung | |
| EP1297869B1 (de) | Schneegleitbrett, insbesondere Ski | |
| DE2402054C2 (de) | Vorrichtung zum Festspannen von Werkstücken auf einer Aufspannplatte | |
| DE2910325A1 (de) | Halter fuer schutzgelaender | |
| DE2722758A1 (de) | Scharnier, insbesondere moebelscharnier | |
| EP0417177B1 (de) | Regalsystem | |
| DE2817768C3 (de) | Geländer oder dergleichen | |
| EP0826850A2 (de) | Fassadenunterkonstruktion | |
| DE3806061A1 (de) | Verbesserter, in zwei separate elemente zerlegbarer monoski | |
| DE1227629B (de) | Gitterfoermiges Traggerippe, insbesondere fuer eine Haengedecke | |
| DE10152438B4 (de) | Schneegleitbrett, insbesondere Ski sowie Spreizvorrichtung für ein Schneegleitbrett | |
| AT381556B (de) | Scharnier | |
| AT400404B (de) | Haltevorrichtung für eine skibindung | |
| EP0612543A1 (de) | Schwingungsdämpfungseinrichtung | |
| EP2872225A1 (de) | Verbindungseinheit | |
| DE20113739U1 (de) | Snowboard | |
| DE20105680U1 (de) | Befestigungseinrichtung für Absperrungen an Gleisen | |
| DE2540850C2 (de) | Vorrichtung zum Verbinden von Schalelementen | |
| DE9102254U1 (de) | Winkelelement | |
| DE1816956C3 (de) | Befestigungsvorrichtung für einen Radlenker |
Legal Events
| Date | Code | Title | Description |
|---|---|---|---|
| PUAI | Public reference made under article 153(3) epc to a published international application that has entered the european phase |
Free format text: ORIGINAL CODE: 0009012 |
|
| AK | Designated contracting states |
Kind code of ref document: A1 Designated state(s): AT CH DE FR IT LI |
|
| 17P | Request for examination filed |
Effective date: 19941206 |
|
| RIN1 | Information on inventor provided before grant (corrected) |
Inventor name: DUMMER, JOSEF Inventor name: BARTHEL, FRITZ |
|
| 17Q | First examination report despatched |
Effective date: 19950329 |
|
| GRAH | Despatch of communication of intention to grant a patent |
Free format text: ORIGINAL CODE: EPIDOS IGRA |
|
| GRAA | (expected) grant |
Free format text: ORIGINAL CODE: 0009210 |
|
| AK | Designated contracting states |
Kind code of ref document: B1 Designated state(s): AT CH DE FR IT LI |
|
| REF | Corresponds to: |
Ref document number: 134893 Country of ref document: AT Date of ref document: 19960315 Kind code of ref document: T |
|
| REG | Reference to a national code |
Ref country code: CH Ref legal event code: NV Representative=s name: MICHELI & CIE INGENIEURS-CONSEILS |
|
| REF | Corresponds to: |
Ref document number: 59400143 Country of ref document: DE Date of ref document: 19960411 |
|
| ITF | It: translation for a ep patent filed | ||
| ET | Fr: translation filed | ||
| PGFP | Annual fee paid to national office [announced via postgrant information from national office to epo] |
Ref country code: CH Payment date: 19960718 Year of fee payment: 3 |
|
| PLBE | No opposition filed within time limit |
Free format text: ORIGINAL CODE: 0009261 |
|
| STAA | Information on the status of an ep patent application or granted ep patent |
Free format text: STATUS: NO OPPOSITION FILED WITHIN TIME LIMIT |
|
| 26N | No opposition filed | ||
| PG25 | Lapsed in a contracting state [announced via postgrant information from national office to epo] |
Ref country code: LI Free format text: LAPSE BECAUSE OF NON-PAYMENT OF DUE FEES Effective date: 19970731 Ref country code: CH Free format text: LAPSE BECAUSE OF NON-PAYMENT OF DUE FEES Effective date: 19970731 |
|
| REG | Reference to a national code |
Ref country code: CH Ref legal event code: PL |
|
| PGFP | Annual fee paid to national office [announced via postgrant information from national office to epo] |
Ref country code: FR Payment date: 19980703 Year of fee payment: 5 |
|
| PGFP | Annual fee paid to national office [announced via postgrant information from national office to epo] |
Ref country code: AT Payment date: 19980730 Year of fee payment: 5 |
|
| PGFP | Annual fee paid to national office [announced via postgrant information from national office to epo] |
Ref country code: DE Payment date: 19980929 Year of fee payment: 5 |
|
| PG25 | Lapsed in a contracting state [announced via postgrant information from national office to epo] |
Ref country code: AT Free format text: LAPSE BECAUSE OF NON-PAYMENT OF DUE FEES Effective date: 19990721 |
|
| PG25 | Lapsed in a contracting state [announced via postgrant information from national office to epo] |
Ref country code: FR Free format text: THE PATENT HAS BEEN ANNULLED BY A DECISION OF A NATIONAL AUTHORITY Effective date: 19990731 |
|
| PG25 | Lapsed in a contracting state [announced via postgrant information from national office to epo] |
Ref country code: DE Free format text: LAPSE BECAUSE OF NON-PAYMENT OF DUE FEES Effective date: 20000503 |
|
| REG | Reference to a national code |
Ref country code: FR Ref legal event code: ST |
|
| PG25 | Lapsed in a contracting state [announced via postgrant information from national office to epo] |
Ref country code: IT Free format text: LAPSE BECAUSE OF NON-PAYMENT OF DUE FEES Effective date: 20050721 |