EP0625469B1 - Verpackung, nämlich Klappschachtel - Google Patents
Verpackung, nämlich Klappschachtel Download PDFInfo
- Publication number
- EP0625469B1 EP0625469B1 EP94103985A EP94103985A EP0625469B1 EP 0625469 B1 EP0625469 B1 EP 0625469B1 EP 94103985 A EP94103985 A EP 94103985A EP 94103985 A EP94103985 A EP 94103985A EP 0625469 B1 EP0625469 B1 EP 0625469B1
- Authority
- EP
- European Patent Office
- Prior art keywords
- lid
- wall
- pack
- main
- walls
- Prior art date
- Legal status (The legal status is an assumption and is not a legal conclusion. Google has not performed a legal analysis and makes no representation as to the accuracy of the status listed.)
- Expired - Lifetime
Links
- 235000019504 cigarettes Nutrition 0.000 claims description 11
- 238000004080 punching Methods 0.000 claims description 7
- 238000004804 winding Methods 0.000 claims description 3
- 230000001154 acute effect Effects 0.000 claims description 2
- 238000005192 partition Methods 0.000 claims description 2
- 238000004806 packaging method and process Methods 0.000 description 21
- 238000004026 adhesive bonding Methods 0.000 description 2
- 230000015572 biosynthetic process Effects 0.000 description 2
- 238000004519 manufacturing process Methods 0.000 description 2
- 230000000391 smoking effect Effects 0.000 description 2
- 239000013589 supplement Substances 0.000 description 2
- 239000000109 continuous material Substances 0.000 description 1
- 238000005520 cutting process Methods 0.000 description 1
- 230000000694 effects Effects 0.000 description 1
- 238000004049 embossing Methods 0.000 description 1
- 210000001503 joint Anatomy 0.000 description 1
- 239000002699 waste material Substances 0.000 description 1
Images
Classifications
-
- B—PERFORMING OPERATIONS; TRANSPORTING
- B65—CONVEYING; PACKING; STORING; HANDLING THIN OR FILAMENTARY MATERIAL
- B65D—CONTAINERS FOR STORAGE OR TRANSPORT OF ARTICLES OR MATERIALS, e.g. BAGS, BARRELS, BOTTLES, BOXES, CANS, CARTONS, CRATES, DRUMS, JARS, TANKS, HOPPERS, FORWARDING CONTAINERS; ACCESSORIES, CLOSURES, OR FITTINGS THEREFOR; PACKAGING ELEMENTS; PACKAGES
- B65D5/00—Rigid or semi-rigid containers of polygonal cross-section, e.g. boxes, cartons or trays, formed by folding or erecting one or more blanks made of paper
- B65D5/42—Details of containers or of foldable or erectable container blanks
- B65D5/44—Integral, inserted or attached portions forming internal or external fittings
- B65D5/48—Partitions
- B65D5/48024—Partitions inserted
- B65D5/48048—Single partition formed by folding one or more blanks and provided with flaps fixed to or maintained by parts of the container body
-
- B—PERFORMING OPERATIONS; TRANSPORTING
- B65—CONVEYING; PACKING; STORING; HANDLING THIN OR FILAMENTARY MATERIAL
- B65D—CONTAINERS FOR STORAGE OR TRANSPORT OF ARTICLES OR MATERIALS, e.g. BAGS, BARRELS, BOTTLES, BOXES, CANS, CARTONS, CRATES, DRUMS, JARS, TANKS, HOPPERS, FORWARDING CONTAINERS; ACCESSORIES, CLOSURES, OR FITTINGS THEREFOR; PACKAGING ELEMENTS; PACKAGES
- B65D5/00—Rigid or semi-rigid containers of polygonal cross-section, e.g. boxes, cartons or trays, formed by folding or erecting one or more blanks made of paper
- B65D5/42—Details of containers or of foldable or erectable container blanks
- B65D5/44—Integral, inserted or attached portions forming internal or external fittings
- B65D5/50—Internal supporting or protecting elements for contents
- B65D5/5028—Elements formed separately from the container body
- B65D5/5035—Paper elements
- B65D5/5076—U-shaped elements supporting the articles along substantially their whole length, e.g. a cradle
-
- B—PERFORMING OPERATIONS; TRANSPORTING
- B65—CONVEYING; PACKING; STORING; HANDLING THIN OR FILAMENTARY MATERIAL
- B65D—CONTAINERS FOR STORAGE OR TRANSPORT OF ARTICLES OR MATERIALS, e.g. BAGS, BARRELS, BOTTLES, BOXES, CANS, CARTONS, CRATES, DRUMS, JARS, TANKS, HOPPERS, FORWARDING CONTAINERS; ACCESSORIES, CLOSURES, OR FITTINGS THEREFOR; PACKAGING ELEMENTS; PACKAGES
- B65D85/00—Containers, packaging elements or packages, specially adapted for particular articles or materials
- B65D85/07—Containers, packaging elements or packages, specially adapted for particular articles or materials for compressible or flexible articles
- B65D85/08—Containers, packaging elements or packages, specially adapted for particular articles or materials for compressible or flexible articles rod-shaped or tubular
- B65D85/10—Containers, packaging elements or packages, specially adapted for particular articles or materials for compressible or flexible articles rod-shaped or tubular for cigarettes
- B65D85/1009—Containers, packaging elements or packages, specially adapted for particular articles or materials for compressible or flexible articles rod-shaped or tubular for cigarettes provided with proffering means
-
- B—PERFORMING OPERATIONS; TRANSPORTING
- B65—CONVEYING; PACKING; STORING; HANDLING THIN OR FILAMENTARY MATERIAL
- B65D—CONTAINERS FOR STORAGE OR TRANSPORT OF ARTICLES OR MATERIALS, e.g. BAGS, BARRELS, BOTTLES, BOXES, CANS, CARTONS, CRATES, DRUMS, JARS, TANKS, HOPPERS, FORWARDING CONTAINERS; ACCESSORIES, CLOSURES, OR FITTINGS THEREFOR; PACKAGING ELEMENTS; PACKAGES
- B65D85/00—Containers, packaging elements or packages, specially adapted for particular articles or materials
- B65D85/07—Containers, packaging elements or packages, specially adapted for particular articles or materials for compressible or flexible articles
- B65D85/08—Containers, packaging elements or packages, specially adapted for particular articles or materials for compressible or flexible articles rod-shaped or tubular
- B65D85/10—Containers, packaging elements or packages, specially adapted for particular articles or materials for compressible or flexible articles rod-shaped or tubular for cigarettes
- B65D85/1036—Containers formed by erecting a rigid or semi-rigid blank
- B65D85/1045—Containers formed by erecting a rigid or semi-rigid blank having a cap-like lid hinged to an edge
-
- B—PERFORMING OPERATIONS; TRANSPORTING
- B65—CONVEYING; PACKING; STORING; HANDLING THIN OR FILAMENTARY MATERIAL
- B65D—CONTAINERS FOR STORAGE OR TRANSPORT OF ARTICLES OR MATERIALS, e.g. BAGS, BARRELS, BOTTLES, BOXES, CANS, CARTONS, CRATES, DRUMS, JARS, TANKS, HOPPERS, FORWARDING CONTAINERS; ACCESSORIES, CLOSURES, OR FITTINGS THEREFOR; PACKAGING ELEMENTS; PACKAGES
- B65D85/00—Containers, packaging elements or packages, specially adapted for particular articles or materials
- B65D85/07—Containers, packaging elements or packages, specially adapted for particular articles or materials for compressible or flexible articles
- B65D85/08—Containers, packaging elements or packages, specially adapted for particular articles or materials for compressible or flexible articles rod-shaped or tubular
- B65D85/10—Containers, packaging elements or packages, specially adapted for particular articles or materials for compressible or flexible articles rod-shaped or tubular for cigarettes
- B65D85/1036—Containers formed by erecting a rigid or semi-rigid blank
Definitions
- the invention relates to a packaging, namely a hinged box (hinge-lid pack) made of thin cardboard, consisting of a box part, each with a lid arranged on opposite end regions and pivotally connected thereto, a double pack consisting of two single hinged boxes consisting of a common blank formed and within the double pack at least one bottom wall between the individual folding boxes is provided from a separate blank and wherein the bottom wall is formed as part of at least one collar having a collar front wall.
- a packaging namely a hinged box (hinge-lid pack) made of thin cardboard, consisting of a box part, each with a lid arranged on opposite end regions and pivotally connected thereto
- a double pack consisting of two single hinged boxes consisting of a common blank formed and within the double pack at least one bottom wall between the individual folding boxes is provided from a separate blank and wherein the bottom wall is formed as part of at least one collar having a collar front wall.
- Hinged boxes are known worldwide as packaging for cigarettes and usually consist of a box part and a lid connected to a rear wall of the same.
- a collar is arranged within the box part in the region of the front wall and side walls, which protrudes with a part from the box part.
- the invention is concerned with a further development of such packs, namely with double packs having two hinged boxes.
- Such a double pack is known from US-5,074,412 and points to Subdivision into two individual packs on an inlay arranged in the middle and directed transversely to the front and rear walls. This can be integrated in the collar.
- the invention has for its object to design the above-mentioned packaging so that a graded positioning of objects arranged in several rows, in particular cigarettes, is possible within both individual folding boxes.
- the packaging according to the invention is characterized in that a bottom flap adjoining the front wall of the collar is folded into a position at an acute angle to the front wall of the collar to form the bottom wall, such that the bottom wall is directed obliquely.
- the double pack provides a capacity for two folding boxes. These consist of a common, one-piece blank.
- the double pack is particularly suitable for shorter, elongated objects, especially for cigarettes or cigarette-like smoking articles.
- the bottom wall arranged according to the invention enables simple handling of the double pack during manufacture.
- the cut for the bottom wall can be brought together with the cut for the double pack at the best possible time.
- the bottom wall is formed as part of at least one collar within one of the individual folding boxes.
- a packaging according to the invention is particularly advantageous in which each individual folding box has a collar which, due to the appropriate dimensioning and configuration, forms the bottom wall of the individual folding box.
- the double pack then has a double-layer bottom wall.
- the double pack according to the invention consists of a one-piece blank, which is constructed on the principle of cross winding. Accordingly, there are cutting areas for Formation of front wall, rear wall, lid front wall and lid rear wall arranged side by side, side walls and lid side walls being formed between corresponding main walls of the blank or packaging. In the area of one of the two side walls or cover side walls, the cut overlaps in the area of an edge strip.
- the blank thus formed is provided with die cuts to delimit the lid from the box part. The die cuts are connected to the blank by separable residual connections.
- the hinged boxes (hinge-lid packs) described below are preferably used to hold (shorter) cigarettes or other similar rod-shaped smoking articles.
- the hinged box is designed as a double pack, namely with two single hinged boxes 10 and 11.
- Each of these partial packs is designed as a hinged box, namely with a box part 12 or 13 and a lid 14 or 15.
- the lids 14 and 15 assigned to the two single folding boxes 10, 11 are accordingly also formed at the top and bottom in this position.
- Another special feature is that the covers 14 and 15 are reversed or offset by 180 ° to one another.
- Each box part 12, 13 consists of a front wall 16 and 17, a rear wall 18 and 19 and side walls 20, 21 and 22, 23, respectively.
- the cover 14 is designed accordingly, namely it consists of a cover front wall 24, 25, a cover rear wall 26, 27, a cover top wall 28, 29 and cover side walls 30, 31 and 32, 33, respectively.
- each individual folding box 10, 11 is assigned its own bottom wall 34, 35.
- the double pack is therefore divided into an approximately central double-layer partition in the two single folding boxes in this embodiment.
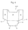
- a collar 36, 37 consisting of an independent blank (FIG. 6) is arranged in each individual folding box 10, 11. This consists of the collar front wall 38 and collar side tabs 39, 40.
- the collar 36, 37 extends in the area of the front walls 16, 17 and the side walls 20..23.
- the entire double pack exists - except for the blanks for the collars 36, 37 - from a one-piece, common blank. This is constructed in accordance with the exemplary embodiments in FIGS. 4 and 5 according to the principle of transverse winding.
- the blank consists of two main walls 41, 42. These are dimensioned such that they together each have a front cover wall 24 or 25, a front wall 16 or 17, a rear wall 18 or 19 and a rear cover wall Form 26 or 27.
- the main walls therefore form the entire front or back of the double pack.
- a second side wall strip 44 is attached to the free side of one main wall 41. This also extends over the full height of the double pack to form side walls 20, 21 or lid side walls 30, 31.
- an edge strip 45 is attached to the free side of the side wall strip 44 and is or is connected to an edge region of the inside of the main wall 42 (FIG. 3), by adhesive bonding.
- the edge strip 45 extends over the full height of the double pack and thus over the full length of the main walls 41, 42.
- folding tabs are arranged on the free narrow sides of the main walls 41, 42 and the side wall strips 43, 44. It is an inner cover tab 46 and an outer cover tab 47. These are folded over each other over the entire surface. Corner flaps 48, 49 are formed in the region of the side wall strips 43, 44. These are also folded into the plane of the lid top wall 28, 29, specifically on the inside, that is to say directly facing the contents of the package.
- the described parts or walls of the individual folding boxes 10, 11 are separated from one another by folding lines or punched cuts.
- the lid rear walls 26 and 27 formed on opposite end regions of the main walls 41, 42 are delimited by a fold line relative to the rear walls 18 and 19, which also act as a hinge line 50, 51 of the individual folding boxes 10, 11 (see also FIG. 2) .
- the cover front walls 24 and 25 also formed in the area of the main wall 41, 42 are each separated from the adjacent front wall 16, 17 by a transversely directed punch cut 52, 53.
- the punch cuts 52, 53 extend over the full width of the main walls 41, 42, but are provided with residual connections 54 or residual webs, in the example shown with two spaced connections 54 arranged at a distance from one another. These ensure the adequate connection of the cut in Area of the main walls 41, 42, in particular also in the manufacture or folding of the packaging.
- the remaining connections 54 are severed, so that the cover front wall 24, 25 is released from the adjacent front wall 16, 17.
- the die cut 52, 53 of the main wall 41 and 42 is continued in the area of the adjacent side wall strips 43, 44.
- bevel cuts 55, 56 adjoin both ends of the die cut 52. These extend at an angle to the punch cut 52 in the region of the side wall strips 43 and 44.
- the bevel cuts 55, 56 define a diagonally directed closing or butting edge in the case of folding boxes Area of side walls 20..23 of a hinged box, namely as a delimitation between box part 12, 13 and lid 14, 15 (see also FIG. 1).
- a bevel cut 57 is provided in the region of the side wall strip 43 following the punch cut 53, specifically on a side opposite the bevel cut 56.
- a further bevel cut 58 is made in the region of the side wall strip 44. This comes into effect in the finished folded package as a supplement or continuation of the die cut 53 on the side opposite the bevel cut 57.
- a supplementary cut 59 is also made in the area of the edge strip 45, which adjoins the bevel cut 58 and is congruent with an edge portion of the die cut 53 when the pack is completely folded.
- a residual connection 60 is also provided in the area of the supplementary cut 59.
- a double pack in the embodiment according to FIG. 1 is formed from such a blank by tubular folding, the tube having a rectangular cross section. After connecting the edge strip 45 to the main wall 42, the lower and upper folding tabs 46.49 are folded. The so far finished packaging can now be opened on two opposite sides by pivoting the lids 14, 15, these being pivotable in opposite directions.
- edge-side side wall strip 44 is divided in this embodiment and is assigned to the respective pack or blank side. Accordingly, partial strips 61, 62 are attached to the free sides of the main walls 41, 42, each half the dimension of the side wall strip 44 according to FIG. 4.
- the described die cuts 52, 53 with the adjacent bevel cuts 55 and 56 or 57 and 58 can be carried out continuously and subsequently, so that continuous, trapezoidal die cuts occur in the diametrically opposite regions of the blank.
- the blank is processed in almost the same way to form the double pack as in the exemplary embodiment in FIG. 4.
- the partial strips 61, 62 are connected to free edge areas of the main walls 41 on the one hand and 42 on the other hand, via corresponding edge strips 63, 64.
- a division appears between the two box parts 12, 13 in the area of one long side, namely a transversely directed joint as a joint between the partial strips 61, 62.
- the side walls 20 and 21 of the individual folding boxes appear 10, 11 separated by this butt joint.
- bottom walls 34, 35 consist of part of the one-piece cut for the collar 36, 37 (FIG. 6).
- a bottom flap 67 is attached to the collar front wall 38 as a continuation of the collar front wall 38.
- This bottom tab 67 is folded to form a bottom wall 34, 35 about a fold line 68 in a transverse position.
- the collar 36, 37 or the collar front wall 38 is dimensioned such that it extends to the bottom wall 34, 35 of a box part 12, 13, that is to say over the full height of the front wall 16, 17.
- the folding line 68 forms a Inner edge in the box part 12, 13.
- the bottom wall 34, 35 is directed obliquely to the front wall 16, 17 or rear wall 18, 19.
- Each individual folding box 10, 11 is thus provided with an inclined bottom wall 34, 35, in such a way that the bottom wall 34, 35 is lower in the area of the front wall 16, 17 than in the area of the rear wall 18, 19.
- the bottom tab 67 of the collar 36, 37 is dimensioned such that a stable inclined position results automatically.
- the width of the bottom flap 67 that is to say the distance between the fold line 68 and a free support edge 78, is greater than the corresponding clear internal dimension of the individual folding boxes 10, 11.
- the support edge 78 can be on the opposite wall, namely on the rear wall 18 , 19 support to form a stable inclined position.
- the support edge 78 has a contour that corresponds to the usual upper contour of the collar front wall 38. The blanks can therefore be made from a continuous material web without waste.
- the rows 70, 71 are given a stepped position by being supported on the inclined bottom wall 34, 35.
- the row 71 facing the rear wall 18, 19 projects upward beyond the front row 70.
- the collar side tabs 39, 40 also extend to the bottom wall 34, 35. To adapt to the inclined position thereof, the collar side tabs 39, 40 are provided with a matching, lower inclined edge 72.
- a support member 73, 74 is arranged in the exemplary embodiment shown within each individual folding box 10, 11. This is in each case arranged between the rows 70, 71 and at a distance from the cover 14, 15 and the bottom wall 34, 35.
- Transverse support walls 75, 76 are provided with trough-like recesses 77. In these, the cigarettes 69 are form-fitting. This fixes them against sideways movements.
- the support member 73, 74 is expediently connected to the side walls 20..23 or to the collar side tabs 39, 40 as the inner boundary of the individual folding box 10, 11. The connection can be made by gluing.
- each individual folding box 10, 11 is provided with a stop or hold-down device 79 for the lower row, that is to say the front row 70.
- the hold-down 79 is designed here as part of the cover 14, 15, specifically as an edge strip of the inner cover flap 46 to form the cover top wall 28, 29. This edge strip has a shorter longitudinal dimension than the inner cover flap 46.
- the edge strip is through lateral incisions 80, 81 limited in the inner cover flap 46 and is folded about a fold line 82 to form the hold-down 79 in a position transverse to the inner cover flap 46.
- the hold-down device 79 extends approximately centrally above the row 70.
- the inner corner flaps 48, 49 facing the pack contents are provided on the side facing the inner cover flap 46 with a recess 83 formed by punching, that is to say they are narrower in this area than the width of the side walls 20-23.
- the hold-down 79 passes through the resulting strip-shaped gap when the packaging is fully folded (FIG. 2).
Landscapes
- Engineering & Computer Science (AREA)
- Mechanical Engineering (AREA)
- Packaging Of Annular Or Rod-Shaped Articles, Wearing Apparel, Cassettes, Or The Like (AREA)
- Cartons (AREA)
Applications Claiming Priority (2)
| Application Number | Priority Date | Filing Date | Title |
|---|---|---|---|
| DE4311563A DE4311563A1 (de) | 1993-04-08 | 1993-04-08 | Verpackung, nämlich Klappschachtel |
| DE4311563 | 1993-04-08 |
Publications (3)
| Publication Number | Publication Date |
|---|---|
| EP0625469A2 EP0625469A2 (de) | 1994-11-23 |
| EP0625469A3 EP0625469A3 (enExample) | 1994-12-28 |
| EP0625469B1 true EP0625469B1 (de) | 1997-01-29 |
Family
ID=6485035
Family Applications (1)
| Application Number | Title | Priority Date | Filing Date |
|---|---|---|---|
| EP94103985A Expired - Lifetime EP0625469B1 (de) | 1993-04-08 | 1994-03-15 | Verpackung, nämlich Klappschachtel |
Country Status (6)
| Country | Link |
|---|---|
| US (2) | US5513748A (enExample) |
| EP (1) | EP0625469B1 (enExample) |
| JP (1) | JP3378350B2 (enExample) |
| CN (1) | CN1040523C (enExample) |
| BR (1) | BR9401432A (enExample) |
| DE (2) | DE4311563A1 (enExample) |
Families Citing this family (31)
| Publication number | Priority date | Publication date | Assignee | Title |
|---|---|---|---|---|
| DE4311563A1 (de) * | 1993-04-08 | 1994-10-13 | Focke & Co | Verpackung, nämlich Klappschachtel |
| CH692615A5 (de) * | 1998-02-27 | 2002-08-30 | Jacqueline J Dill | Zigarettenschachtel. |
| DE19809865C1 (de) | 1998-03-07 | 1999-04-29 | Bat Cigarettenfab Gmbh | Klappdeckel-Packung für Zigaretten |
| US7124883B1 (en) | 2001-12-13 | 2006-10-24 | Timothy Frederick Thomas | Dual-lid cigarette container and method of packaging cigarettes |
| US20040217023A1 (en) * | 2003-05-02 | 2004-11-04 | Fagg Barry Smith | Cigarette package having at least one reclosable lid |
| US7377384B2 (en) * | 2003-07-16 | 2008-05-27 | Philip Morris Usa Inc. | Cigarette pack comprising twin cigarette packets |
| US20050150786A1 (en) * | 2003-07-16 | 2005-07-14 | Mitten Robert T. | Cigarette pack comprising twin cigarette packets |
| DE10335525A1 (de) * | 2003-07-31 | 2005-05-12 | Focke & Co | Klappschachtel für Zigaretten |
| US20060091026A1 (en) * | 2003-08-08 | 2006-05-04 | Philip Morris Usa Inc. | Cigarette mini-pack with improved front panel |
| JP4645247B2 (ja) | 2005-03-16 | 2011-03-09 | トヨタ自動車株式会社 | 燃料タンク構造 |
| EP1733973A1 (de) * | 2005-06-17 | 2006-12-20 | Dividella AG | Faltschachtel |
| ITBO20050660A1 (it) * | 2005-10-28 | 2007-04-29 | Gd Spa | Confezione per articoli da fumo di dimensione ridotta |
| EP1792848A1 (en) * | 2005-12-05 | 2007-06-06 | Philip Morris Products S.A. | Tiered hinge-lid pack of smoking articles |
| CN100383025C (zh) * | 2006-04-04 | 2008-04-23 | 谭天明 | 双开式翻盖香烟包装纸盒 |
| DE102006043939A1 (de) | 2006-09-14 | 2008-03-27 | Focke & Co.(Gmbh & Co. Kg) | Klappschachtel für Zigaretten sowie Zuschnitt für Klappschachteln |
| DE102008009421A1 (de) * | 2008-02-15 | 2009-09-03 | Schönberger, Bernd | Zigarette sowie Schachtel hierfür |
| DE202008015493U1 (de) * | 2008-11-21 | 2009-02-12 | Boehringer Ingelheim Pharma Gmbh & Co. Kg | Faltschachtel |
| NL1037287C2 (nl) * | 2009-09-15 | 2011-03-16 | Harmen Boerman | Inrichting in de vorm van een verpakking voor extra korte sigaretten. |
| US20130292279A1 (en) | 2012-05-04 | 2013-11-07 | R.J. Reynolds Tobacco Company | Transparent moisture barrier coatings for containers |
| US9950858B2 (en) | 2015-01-16 | 2018-04-24 | R.J. Reynolds Tobacco Company | Tobacco-derived cellulose material and products formed thereof |
| US9790020B1 (en) | 2016-04-12 | 2017-10-17 | R. J. Reynolds Tobacco Company | Packaging container for a tobacco product |
| CN105667929A (zh) * | 2016-04-13 | 2016-06-15 | 四川中烟工业有限责任公司 | 一种同侧两端双盒盖烟盒及其外盒的折叠方法 |
| CN105730809A (zh) * | 2016-04-13 | 2016-07-06 | 四川中烟工业有限责任公司 | 一种异侧两端双盒盖烟盒及其外盒的折叠方法 |
| US10414553B2 (en) | 2016-06-07 | 2019-09-17 | Paq Holdings, Llc | Airtight child resistant case with elongated compartments |
| US20200385183A1 (en) * | 2016-06-07 | 2020-12-10 | Paq Holdings, Llc | Airtight child resistant case with elongated compartments |
| US10773862B2 (en) * | 2016-06-07 | 2020-09-15 | Paq Holdings, Llc | Airtight child resistant case with elongated compartments |
| MX2019007576A (es) * | 2016-12-30 | 2019-09-04 | Philip Morris Products Sa | Contenedor que tiene al menos un panel movil. |
| US11103013B2 (en) * | 2018-09-07 | 2021-08-31 | Fontem Holdings 1 B.V. | Pivotable charging case for electronic smoking device |
| GB2614702A (en) * | 2021-12-13 | 2023-07-19 | Nicoventures Trading Ltd | Package |
| IT202200000599A1 (it) | 2022-01-17 | 2023-07-17 | Gd Spa | Pacchetto contenente due diversi gruppi di articoli da fumo disposti uno sopra all’altro |
| IT202200000611A1 (it) | 2022-01-17 | 2023-07-17 | Gd Spa | Pacchetto contenente due diversi gruppi di articoli da fumo disposti uno sopra all’altro |
Family Cites Families (25)
| Publication number | Priority date | Publication date | Assignee | Title |
|---|---|---|---|---|
| US1104529A (en) * | 1913-10-04 | 1914-07-21 | Aaron Mendelson | Cigarette-box. |
| US1112752A (en) * | 1913-10-27 | 1914-10-06 | Jose Ramon Avellanal | Cigar box or wrapping. |
| US1158826A (en) * | 1914-06-30 | 1915-11-02 | Aaron Mendelson | Cigarette-box. |
| US2213525A (en) * | 1938-02-24 | 1940-09-03 | Laflamme Rene | Cardboard container |
| US2367476A (en) * | 1942-07-02 | 1945-01-16 | Robertson Paper Box Company In | Box |
| US3079064A (en) * | 1955-10-24 | 1963-02-26 | Diamond National Corp | Carton |
| GB852447A (en) * | 1957-11-28 | 1960-10-26 | Arenco Ab | Improvements in and relating to boxes for cigarettes or the like |
| US3039671A (en) * | 1961-11-22 | 1962-06-19 | Chiamardas Efthem Tim | Dual compartment box |
| DE1993459U (de) * | 1967-10-04 | 1968-09-05 | Landerer Fa A | Faltschachtel. |
| DE2135776A1 (de) * | 1971-07-16 | 1973-02-01 | Astra Werke Gmbh | Schachtel, vorzugsweise fuer zigaretten |
| US3708108A (en) * | 1971-09-22 | 1973-01-02 | Burt Co Inc F | Flip top carton |
| DE2350023C3 (de) * | 1973-10-05 | 1980-05-08 | Graphia Hans Gundlach Gmbh, 4800 Bielefeld | Faltschachtel |
| DE2551427C2 (de) * | 1975-11-15 | 1987-02-19 | Focke & Co (GmbH & Co), 2810 Verden | Schachtel mit Klappdeckel |
| DE2800393A1 (de) * | 1978-01-05 | 1979-07-12 | Focke Pfuhl Verpack Automat | Zuschnitt fuer klappschachteln, insbesondere zur aufnahme von zigaretten, sowie bahn o.dgl. aus verpackungsmaterial fuer die herstellung derartiger zuschnitte durch abtrennen |
| US4204353A (en) * | 1978-04-10 | 1980-05-27 | Isola Raymond O | Firearm cartridge receiver |
| DE7901873U1 (de) * | 1979-01-24 | 1979-05-10 | Focke & Co | Verpackung aus faltbarem Material insbesondere fuer Zigaretten |
| JPH0322106Y2 (enExample) * | 1986-02-10 | 1991-05-14 | ||
| DE8803726U1 (de) * | 1988-03-18 | 1989-07-20 | Martin Brinkmann Ag, 2800 Bremen | Verpackungsbehälter für stabförmige Rauchtabakerzeugnisse |
| EP0380898A1 (en) * | 1989-01-30 | 1990-08-08 | José Maria Barigon Pérez | Double aperture container pack |
| DE3916756A1 (de) * | 1989-05-23 | 1990-11-29 | Focke & Co | Materialbahn aus miteinander verbundenen (verpackungs-)zuschnitten |
| US5074412A (en) * | 1990-06-22 | 1991-12-24 | Brown & Williamson Tobacco Corporation | Multiple compartment box for smoking articles |
| US5092516A (en) * | 1990-11-19 | 1992-03-03 | Graphic Packaging Corporation | Carton blank and carton |
| US5161733A (en) * | 1991-06-03 | 1992-11-10 | Philip Morris Incorporated | Hinge lid cigarette carton with innerframe, and blank and method therefor |
| IT1266265B1 (it) * | 1993-02-23 | 1996-12-27 | Gd Spa | Pacchetto rigido a coperchi incernierati per articoli da fumo,in particolare sigarette. |
| DE4311563A1 (de) * | 1993-04-08 | 1994-10-13 | Focke & Co | Verpackung, nämlich Klappschachtel |
-
1993
- 1993-04-08 DE DE4311563A patent/DE4311563A1/de not_active Withdrawn
-
1994
- 1994-03-15 EP EP94103985A patent/EP0625469B1/de not_active Expired - Lifetime
- 1994-03-15 DE DE59401683T patent/DE59401683D1/de not_active Expired - Lifetime
- 1994-04-07 CN CN94104607A patent/CN1040523C/zh not_active Expired - Fee Related
- 1994-04-07 BR BR9401432A patent/BR9401432A/pt not_active IP Right Cessation
- 1994-04-07 JP JP06975294A patent/JP3378350B2/ja not_active Expired - Fee Related
- 1994-04-07 US US08/224,535 patent/US5513748A/en not_active Expired - Fee Related
-
1996
- 1996-03-12 US US08/614,273 patent/US5699903A/en not_active Expired - Fee Related
Also Published As
| Publication number | Publication date |
|---|---|
| BR9401432A (pt) | 1994-11-08 |
| EP0625469A2 (de) | 1994-11-23 |
| JP3378350B2 (ja) | 2003-02-17 |
| CN1040523C (zh) | 1998-11-04 |
| DE59401683D1 (de) | 1997-03-13 |
| EP0625469A3 (enExample) | 1994-12-28 |
| US5699903A (en) | 1997-12-23 |
| CN1093333A (zh) | 1994-10-12 |
| JPH0752984A (ja) | 1995-02-28 |
| US5513748A (en) | 1996-05-07 |
| DE4311563A1 (de) | 1994-10-13 |
Similar Documents
| Publication | Publication Date | Title |
|---|---|---|
| EP0625469B1 (de) | Verpackung, nämlich Klappschachtel | |
| EP0745541B1 (de) | Klappschachtel für Zigaretten | |
| EP1615830B1 (de) | Klappschactel für zigaretten | |
| EP0778212B1 (de) | Klappschachtel für Zigaretten oder dergleichen | |
| EP0134549B1 (de) | Kappenschachtel für Zigaretten oder dergleichen | |
| EP1409370B1 (de) | Klappschachtel für zigaretten | |
| DE10219464A1 (de) | Zigarettenpackung | |
| EP1163170B1 (de) | Packung nach art einer zigarettenstange | |
| WO1999065796A1 (de) | Klappschachtel für zigaretten oder dergleichen | |
| DE10218558A1 (de) | Zigaretten-Packung mit Schieber und Hülse | |
| DE4410803A1 (de) | Klappschachtel für Zigaretten oder dergleichen | |
| DE102004051981A1 (de) | Klappschachtel für Zigaretten | |
| EP0618151B1 (de) | Verpackung für stabförmige Gegenstände wie Zigaretten und Zuschnitt zum Herstellen der Verpackung | |
| EP0835827A2 (de) | Quaderförmige Verpackung für Zigaretten sowie Zuschnitt für die Verpackung | |
| DE2759178A1 (de) | Zuschnitt zum herstellen von klappschachteln, bahn o.dgl. aus verpackungsmaterial zur bildung von zuschnitten sowie klappschachtel | |
| EP0007410B1 (de) | Klappschachtel, insbesondere für Zigaretten | |
| DE4415572A1 (de) | Klappschachtel für Zigaretten oder dergleichen sowie Zuschnitt zum Herstellen derselben | |
| DE3713612C2 (de) | Klappschachtel | |
| EP1015353B1 (de) | Klappschachtel für zigaretten | |
| DE4421445A1 (de) | Klappschachtel für Zigaretten oder dergleichen | |
| EP0399250B1 (de) | Materialbahn aus miteinander verbundenen (Verpackungs-) Zuschnitten | |
| DE2757251A1 (de) | Zuschnitt zum herstellen von klappschachteln, bahn o.dgl. aus verpackungsmaterial zur bildung von zuschnitten sowie klappschachtel | |
| WO2004013018A1 (de) | Klappschachtel | |
| EP0703160B1 (de) | Klappschachtel für Zigaretten oder dergleichen | |
| DE4311568A1 (de) | Verpackung für stabförmige Gegenstände wie Zigaretten und Zuschnitt zum Herstellen der Verpackung |
Legal Events
| Date | Code | Title | Description |
|---|---|---|---|
| PUAI | Public reference made under article 153(3) epc to a published international application that has entered the european phase |
Free format text: ORIGINAL CODE: 0009012 |
|
| PUAL | Search report despatched |
Free format text: ORIGINAL CODE: 0009013 |
|
| AK | Designated contracting states |
Kind code of ref document: A2 Designated state(s): DE FR GB IT |
|
| AK | Designated contracting states |
Kind code of ref document: A3 Designated state(s): DE FR GB IT |
|
| 17P | Request for examination filed |
Effective date: 19950114 |
|
| 17Q | First examination report despatched |
Effective date: 19951124 |
|
| GRAG | Despatch of communication of intention to grant |
Free format text: ORIGINAL CODE: EPIDOS AGRA |
|
| GRAH | Despatch of communication of intention to grant a patent |
Free format text: ORIGINAL CODE: EPIDOS IGRA |
|
| GRAH | Despatch of communication of intention to grant a patent |
Free format text: ORIGINAL CODE: EPIDOS IGRA |
|
| GRAA | (expected) grant |
Free format text: ORIGINAL CODE: 0009210 |
|
| AK | Designated contracting states |
Kind code of ref document: B1 Designated state(s): DE FR GB IT |
|
| GBT | Gb: translation of ep patent filed (gb section 77(6)(a)/1977) |
Effective date: 19970203 |
|
| REF | Corresponds to: |
Ref document number: 59401683 Country of ref document: DE Date of ref document: 19970313 |
|
| ITF | It: translation for a ep patent filed | ||
| ET | Fr: translation filed | ||
| PLBE | No opposition filed within time limit |
Free format text: ORIGINAL CODE: 0009261 |
|
| STAA | Information on the status of an ep patent application or granted ep patent |
Free format text: STATUS: NO OPPOSITION FILED WITHIN TIME LIMIT |
|
| 26N | No opposition filed | ||
| REG | Reference to a national code |
Ref country code: GB Ref legal event code: IF02 |
|
| PGFP | Annual fee paid to national office [announced via postgrant information from national office to epo] |
Ref country code: FR Payment date: 20040309 Year of fee payment: 11 |
|
| PG25 | Lapsed in a contracting state [announced via postgrant information from national office to epo] |
Ref country code: FR Free format text: LAPSE BECAUSE OF NON-PAYMENT OF DUE FEES Effective date: 20051130 |
|
| REG | Reference to a national code |
Ref country code: FR Ref legal event code: ST Effective date: 20051130 |
|
| PGFP | Annual fee paid to national office [announced via postgrant information from national office to epo] |
Ref country code: IT Payment date: 20100317 Year of fee payment: 17 |
|
| PGFP | Annual fee paid to national office [announced via postgrant information from national office to epo] |
Ref country code: GB Payment date: 20100310 Year of fee payment: 17 |
|
| PGFP | Annual fee paid to national office [announced via postgrant information from national office to epo] |
Ref country code: DE Payment date: 20110322 Year of fee payment: 18 |
|
| GBPC | Gb: european patent ceased through non-payment of renewal fee |
Effective date: 20110315 |
|
| PG25 | Lapsed in a contracting state [announced via postgrant information from national office to epo] |
Ref country code: IT Free format text: LAPSE BECAUSE OF NON-PAYMENT OF DUE FEES Effective date: 20110315 Ref country code: GB Free format text: LAPSE BECAUSE OF NON-PAYMENT OF DUE FEES Effective date: 20110315 |
|
| REG | Reference to a national code |
Ref country code: DE Ref legal event code: R119 Ref document number: 59401683 Country of ref document: DE Effective date: 20121002 |
|
| PG25 | Lapsed in a contracting state [announced via postgrant information from national office to epo] |
Ref country code: DE Free format text: LAPSE BECAUSE OF NON-PAYMENT OF DUE FEES Effective date: 20121002 |