EP0471918A1 - Konisches Weithals-Stahlfass - Google Patents

Konisches Weithals-Stahlfass Download PDF

Info

Publication number
EP0471918A1
EP0471918A1 EP91104414A EP91104414A EP0471918A1 EP 0471918 A1 EP0471918 A1 EP 0471918A1 EP 91104414 A EP91104414 A EP 91104414A EP 91104414 A EP91104414 A EP 91104414A EP 0471918 A1 EP0471918 A1 EP 0471918A1
Authority
EP
European Patent Office
Prior art keywords
barrel
steel
bead
opening
steel drum
Prior art date
Legal status (The legal status is an assumption and is not a legal conclusion. Google has not performed a legal analysis and makes no representation as to the accuracy of the status listed.)
Granted
Application number
EP91104414A
Other languages
English (en)
French (fr)
Other versions
EP0471918B1 (de
Inventor
Märten Dr. Burgdorf
Current Assignee (The listed assignees may be inaccurate. Google has not performed a legal analysis and makes no representation or warranty as to the accuracy of the list.)
Mauser Werke GmbH
Original Assignee
Mauser Werke GmbH
Priority date (The priority date is an assumption and is not a legal conclusion. Google has not performed a legal analysis and makes no representation as to the accuracy of the date listed.)
Filing date
Publication date
Application filed by Mauser Werke GmbH filed Critical Mauser Werke GmbH
Publication of EP0471918A1 publication Critical patent/EP0471918A1/de
Application granted granted Critical
Publication of EP0471918B1 publication Critical patent/EP0471918B1/de
Anticipated expiration legal-status Critical
Expired - Lifetime legal-status Critical Current

Links

Images

Classifications

    • BPERFORMING OPERATIONS; TRANSPORTING
    • B65CONVEYING; PACKING; STORING; HANDLING THIN OR FILAMENTARY MATERIAL
    • B65DCONTAINERS FOR STORAGE OR TRANSPORT OF ARTICLES OR MATERIALS, e.g. BAGS, BARRELS, BOTTLES, BOXES, CANS, CARTONS, CRATES, DRUMS, JARS, TANKS, HOPPERS, FORWARDING CONTAINERS; ACCESSORIES, CLOSURES, OR FITTINGS THEREFOR; PACKAGING ELEMENTS; PACKAGES
    • B65D21/00Nestable, stackable or joinable containers; Containers of variable capacity
    • B65D21/02Containers specially shaped, or provided with fittings or attachments, to facilitate nesting, stacking, or joining together
    • B65D21/0233Nestable containers
    • BPERFORMING OPERATIONS; TRANSPORTING
    • B65CONVEYING; PACKING; STORING; HANDLING THIN OR FILAMENTARY MATERIAL
    • B65DCONTAINERS FOR STORAGE OR TRANSPORT OF ARTICLES OR MATERIALS, e.g. BAGS, BARRELS, BOTTLES, BOXES, CANS, CARTONS, CRATES, DRUMS, JARS, TANKS, HOPPERS, FORWARDING CONTAINERS; ACCESSORIES, CLOSURES, OR FITTINGS THEREFOR; PACKAGING ELEMENTS; PACKAGES
    • B65D1/00Rigid or semi-rigid containers having bodies formed in one piece, e.g. by casting metallic material, by moulding plastics, by blowing vitreous material, by throwing ceramic material, by moulding pulped fibrous material or by deep-drawing operations performed on sheet material
    • B65D1/12Cans, casks, barrels, or drums
    • B65D1/20Cans, casks, barrels, or drums characterised by location or arrangement of filling or discharge apertures
    • BPERFORMING OPERATIONS; TRANSPORTING
    • B65CONVEYING; PACKING; STORING; HANDLING THIN OR FILAMENTARY MATERIAL
    • B65DCONTAINERS FOR STORAGE OR TRANSPORT OF ARTICLES OR MATERIALS, e.g. BAGS, BARRELS, BOTTLES, BOXES, CANS, CARTONS, CRATES, DRUMS, JARS, TANKS, HOPPERS, FORWARDING CONTAINERS; ACCESSORIES, CLOSURES, OR FITTINGS THEREFOR; PACKAGING ELEMENTS; PACKAGES
    • B65D45/00Clamping or other pressure-applying devices for securing or retaining closure members
    • B65D45/32Clamping or other pressure-applying devices for securing or retaining closure members for applying radial or radial and axial pressure, e.g. contractible bands encircling closure member
    • BPERFORMING OPERATIONS; TRANSPORTING
    • B65CONVEYING; PACKING; STORING; HANDLING THIN OR FILAMENTARY MATERIAL
    • B65DCONTAINERS FOR STORAGE OR TRANSPORT OF ARTICLES OR MATERIALS, e.g. BAGS, BARRELS, BOTTLES, BOXES, CANS, CARTONS, CRATES, DRUMS, JARS, TANKS, HOPPERS, FORWARDING CONTAINERS; ACCESSORIES, CLOSURES, OR FITTINGS THEREFOR; PACKAGING ELEMENTS; PACKAGES
    • B65D7/00Containers having bodies formed by interconnecting or uniting two or more rigid, or substantially rigid, components made wholly or mainly of metal
    • B65D7/02Containers having bodies formed by interconnecting or uniting two or more rigid, or substantially rigid, components made wholly or mainly of metal characterised by shape
    • B65D7/04Containers having bodies formed by interconnecting or uniting two or more rigid, or substantially rigid, components made wholly or mainly of metal characterised by shape of curved cross-section, e.g. cans of circular or elliptical cross-section
    • B65D7/045Casks, barrels, or drums in their entirety, e.g. beer barrels, i.e. presenting most of the following features like rolling beads, double walls, reinforcing and supporting beads for end walls

Definitions

  • the invention relates to a conical wide-necked steel drum with a large upper filling or emptying opening, which can be closed in a liquid-tight manner by means of a lid and clamping ring, the wall of which in the vicinity of the upper filling opening has a circumferential, outwardly directed bead (outer bead) which, when stacked together, has at least one two or more such empty steel drums in the upper steel drum stacked on the inside serves as an outer support edge on the inner edge of the upward-opening fill opening of the stacked second steel drum.
  • Such barrels or comparable large-volume buckets are generally known.
  • Conical wide-necked containers have the advantage that they can be stacked one inside the other as empties, thereby resulting in low storage costs and in particular low transport costs for these bulk articles.
  • each steel drum has at least one bunghole opening that can be closed in a liquid-tight manner by means of a cover. This then gives you the option of using a tool such as to insert a pulling device or a rotating spindle through the floor or the bunghole opening provided there of the stacked barrel and to press out the fixed inner barrel used without damage with little effort by a single operator.
  • the closable bunghole opening is expediently designed as a small 3/4 "bung and arranged centrally in the underbody. This ensures that the barrels can be destacked without being tilted. In principle, however, it would also be conceivable, for example, two diametrically opposed or several symmetrically arranged closable closures Provide bung holes in the drum underbody in order to be able to use these bung holes to apply a uniform tilt-free force of a corresponding unstacking device.
  • the barrel wall above the bead is cylindrical to the flanged edge of the upper filling opening and below the bead is slightly conical to the barrel bottom or almost to the barrel bottom, the taper of the barrel wall being between 5.5% and 11%, preferably about 7%. This results in better stability and space savings with filled and closed lid drums.
  • the conical steel drums according to the invention are, in particular with a capacity of 200 l, for use in the food sector, e.g. intended for the transport of tomato extract, oils, fats or fruit concentrate. But also in the chemical industry for the transport of chemical products, the large-volume conical wide-necked steel drum is particularly suitable for solid and liquid dangerous goods.
  • a very special area of application for the steel drum according to the invention as a so-called "honeytainer” is in the transport of honey from distant export countries.
  • the good stackability results in an enormous space span during transport and in the storage of empty lid drums with comparatively significantly lower costs, so that, for example, long overseas transports of such conical steel drums become economically viable or possible.
  • gas or liquid pressure e.g. water or compressed air
  • bunghole in the bottom of the barrel can also be used in the same way, for example, to unstack stacked barrels or to loosen wedged barrels.
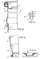
  • reference number 10 denotes a conical 200 l wide-neck steel barrel according to the invention, which is designed as a so-called "honeytainer".
  • the steel drum 10 has a large upper filling or emptying opening 12 which is closed in a liquid-tight manner by means of the cover 14 and clamping ring 16.
  • the barrel wall 18, 28 has a circumferential, outwardly directed bead 20 (outer bead).
  • the barrel wall 28 is cylindrical above the bead 20 up to the flanged edge 22 of the upper filling opening 12 and the barrel wall 18 below the bead 20 is slightly conical up to almost the barrel bottom 24.
  • the taper of the barrel wall 18 is between 5.5% and 11%, preferably about 7%.
  • the flanged edge 22 at the upper fill opening 12 of the steel barrel 10 serves as a support for the lid edge and as a counter bearing for the clamping ring 16.
  • a bunghole opening 26 which can be closed in a liquid-tight manner by means of a cover (e.g. screw cap) is provided.
  • the bunghole opening 26 is expediently equipped with a 3/4 "bung or a 2" bung with an internal thread, depending on the barrel size, for screwing in a bung plug.
  • a suitable unstacking device can be used by installing the bung opening in the bottom of the barrel.
  • the bottom bung opening also facilitates the cleaning process during reconditioning.
  • upper outside diameter (measured via clamping ring): 610 mm; lower outside diameter: 516 mm; upper inner diameter: 571.5 mm; Internal height: 870 mm; External height: 880 mm; Diameter measured over fold: 582 mm; Flat bag width: 44 mm; Unit weight depending on the sheet thickness (between 1.5 to 0.7 mm) from approx. 21.2 kg to 13 kg; Lid weight approx.3.7 kg and ring weight approx.1.0 kg.
  • the outwardly shaped stack bead 20 can, however, also be made narrower (e.g. only about 25 mm wide) or as a conventional round bead.
  • the barrel body 18, 28 of the steel barrel 10 is preferably made from a cylindrical blank which is stretched or expanded by a smaller diameter (for example approx. 514 mm) to the conically expanding barrel shape with larger diameters (up to max. 572 mm ) was expanded.
  • a second, but inwardly directed bead 30 can be provided in the lower region of the conical barrel wall 18.
  • the barrels Through the second bead drawn inwards - in Figure 1 only indicated by dashed lines - the barrels not only hang in the upper corrugation, but can also stand on the lower inner corrugation when stacked one inside the other.
  • a lid seal 48 is arranged in the lid edge 52 of the barrel lid 14, which seals the barrel 10 in a gas- and liquid-tight manner against the flange edge 22 of the upper filler opening when the lid 14 and the clamping ring 16 are attached.
  • the lower edge of the flat bead 20 is spaced approximately 130 mm from the flanged edge. If two barrels are stacked one inside the other, the upper barrel protrudes from the stacked barrel by this amount. The upper edge of the flanged edge 22 'of the stacked drum 10' comes to rest against the lower edge of the stacking bead 20 of the drum 10 stacked at the top.
  • the barrel wall 18 in the vicinity of the outward connecting bead 32 (triple fold) between the underbody 24 and the barrel wall 18 is additionally tapered or reduced in diameter, the connecting bead 32 between the underbody 24 and the barrel wall 18 lies within an imaginary extension of the conical barrel wall 18.
  • the inclination of the conical barrel wall 18 to the barrel longitudinal axis is approximately 1.5 ° and the inclination of the short lowest wall area 50 in front of the bottom fold 32 to the barrel longitudinal axis is approximately 15 °.
  • the barrel bottom 24 is inserted in the connection area with the barrel wall (50) at a certain distance from the bottom rebate 32, so that when the sheet cap is screwed into the central bottom bung hole 26 and in particular when the barrel bottom is slightly convex (slightly convex), there is no pressure on the bottom bung -Lid is exercised.
  • the bung opening 26 shown in FIG. 2c (eg 3/4 "bung) in the barrel bottom 24 or the corresponding bung plug is preferably provided with a temperature-resistant S-seal, since the steel barrels are suitable for multiple use (e.g. five to ten times) or reusable use is envisaged and temperatures of up to 200 ° C can easily occur when cleaning the drums with, for example, steam jet devices.
  • a clamping ring 16 is shown with an internal locking mechanism 38.
  • the internal locking mechanism 38 used to improve the rolling properties of the barrels here consists of a tensioning screw 40 acting between two flange attachments 42, 44.
  • the locking mechanism could, however, also be designed as a conventional tensioning lever lock, as with external tensioning rings.
  • FIG. 3 shows a perspective view of a 200 liter honey barrel 10 with a lid 14 attached and a tension ring 16 with an external tension lever lock 46.
  • the stack bead 20 between the upper cylindrical barrel wall 28 and the lower conical barrel wall 18 is designed here as a narrow flat bead.
  • a thin-walled inliner 54 e.g. made of polyethylene (PE), which facilitates and accelerates the reconditioning of the barrels for certain strongly adhering contents.
  • PE polyethylene
  • the associated tension ring 16 is provided with overlapping tension ring ends and a strong tension lever lock 46, as a result of which leakage is avoided even when the barrels are at higher heights.
  • the lid is provided with at least one closable bung hole for easy sampling of the barrel contents.
  • two opposing cover piles of different sizes are provided, e.g. a large 2 "bung 34 and a small 3/4" bung 36.
  • a centrally located bung - then preferably a large 2 "bung - could be provided in the cover 14.

Landscapes

  • Engineering & Computer Science (AREA)
  • Mechanical Engineering (AREA)
  • Ceramic Engineering (AREA)
  • Filling Of Jars Or Cans And Processes For Cleaning And Sealing Jars (AREA)
  • Devices For Opening Bottles Or Cans (AREA)
  • Rigid Containers With Two Or More Constituent Elements (AREA)
  • Steering Controls (AREA)
  • Stackable Containers (AREA)
  • Closures For Containers (AREA)

Abstract

Die Erfindung betrifft ein konisches Weithals-Stahlfaß (10) mit großer oberer Einfüll- bzw. Entnahmeöffnung (12), die mittels Deckel (14) und Spannring (16) flüssigkeitsdicht verschließbar ist. Beim Transport von ineinandergestapelten derartigen Fässern (10) werden diese teilweise so sehr ineinandergerüttelt, daß eine spätere Entstapelung bzw. Auseinandernahme der einzelnen Fässer (10) große Probleme bereiten kann. Um eine leichte und beschädigungsfreie Entstapelung dieser Stahlfässer (10) durch lediglich eine Bedienungsperson zu verwirklichen, ist erfindungsgemäß vorgesehen, daß jedes Stahlfaß (10) im Unterboden (24) wenigstens eine mittels eines Deckels flüssigkeitsdicht verschließbare Spundlochöffnung (26) aufweist. Mittels einer in das Spundloch (26) eingesetzten Entstapelungsvorrichtung sind ineinandergestapelte Fässer (10) einfach auseinanderzunehmen. Das Bodenspundloch (26) ist weiterhin von Vorteil bei der Rekonditionierung bzw. Auswaschung der Fässer (10) für eine Mehrfachverwendung. <IMAGE>

Description

  • Die Erfindung betrifft ein konisches Weithals-Stahlfaß mit großer oberer Einfüll- bzw. Entleerungsöffnung, die mittels Deckel und Spannring flüssigkeitsdicht verschließbar ist, dessen Faßwandung im Nahbereich der oberen Einfüllöffnung einen umlaufenden, nach außen gerichteten Wulst (Außensicke) aufweist, der bei Ineinanderstapelung von wenigstens zwei oder mehreren derartigen leeren Stahlfässern bei dem oberen innen eingestapelten Stahlfaß als äusserer Auflagerand an dem inneren Rand der nach oben weisenden Einfüllöffnung des untergestapelten zweiten Stahlfasses dient.
  • Derartige Fässer oder vergleichbare großvolumige Eimer sind allgemein bekannt.
  • Konische Weithalsgebinde besitzen den Vorteil, daß sie als Leergut ineinandergestapelt werden können und dadurch für diese Massenartikel niedrige Lagerhaltungskosten und insbesondere niedrige Transportkosten entstehen.
  • Beim Transport von ineinandergestapelten Fässern werden diese teilweise so sehr ineinanderger- üttelt, daß eine spätere Entstapelung bzw. Auseinandernahme der einzelnen Fässer große Probleme bereitet und wenigstens zwei Personen hierfür erforderlich sind. Oftmals sind Hilfsmaßnahmen wie z.B. Hammerschläge auf den nach außen gebördelten Flanschrand bzw. Deckelauflagerand des eingestapelten Fasses nötig, um zwei verkeilte Fässer voneinander zu lösen. Bei derartigen zeit-und personalaufwendigen Kraftanstrengungen können jedoch leicht Beschädigungen am Faßkörper bzw. Rand der Einfüllöffnung auftreten, die eine spätere Faßundichtigkeit begünstigen.
  • Davon ausgehend ist es Aufgabe der vorliegenden Erfindung, eine Ausgestaltung für konische Weithals-Stahlfässer, insbesondere für großvolumige und damit auch schwergewichtige Stahlfässer, anzugeben, die eine leichte und beschädigungsfreie Entstapelung dieser Stahlfässer durch lediglich eine Bedienungsperson ermöglicht.
  • Diese Aufgabe wird erfindungsgemäß dadurch gelöst, daß jedes Stahlfaß im Unterboden wenigstens eine mittels eines Deckels flüssigkeitsdicht verschließbare Spundlochöffnung aufweist. Dadurch ist dann die Möglichkeit gegeben, ein Hilfsmittel, wie z.B. eine Abziehvorrichtung oder eine Drehspindel durch den Boden bzw. die dort vorgesehene Spundlochöffnung des untergestapelten Fasses einzuführen und das eingesetzte festsitzende innere Faß beschädigungsfrei lediglich mit geringem Kraftaufwand einer einzigen Bedienungsperson herauszudrücken.
  • Zweckmäßigerweise ist die verschließbare Spundlochöffnung als kleiner 3/4"-Spund ausgebildet und zentralmittig im Unterboden angeordnet. Hierdurch ist sichergestellt, daß eine verkantungsfreie Entstapelung der Fässer erfolgen kann. Prinzipiell wäre es jedoch auch denkbar, z.B. zwei sich diametral gegenüberliegende oder mehrere symmetrisch angeordnete verschließbare Spundlöcher im Faß-Unterboden vorzusehen, um durch diese Spundlöcher eine gleichmäßige verkantungsfreie Krafteinwirkung einer entsprechenden Entstapelungseinrichtung ansetzen zu können.
  • Mit der zusätzlichen, zentralmittig im Unterboden angeordneten Spundlochöffnung ist weiterhin der große Vorteil gegeben, daß bei der Rekonditionierung der Fässer, die für eine Mehrfachverwendung vorgesehen und besonders geeignet sind, der Reinigungsvorgang erheblich erleichtert wird. Durch eine leicht nach außen bombierte Ausbildung des Unterbodens ist sichergestellt, daß keine Waschflüssigkeit im Faß verbleibt, sondern vollständig durch den Bodenspund ausläuft. Durch die große obere Einfüllöffnung ist eine gute Zugänglichkeit für Reinigungsgeräte wie z.B. rotierende Bürsten oder Dampfstrahlgeräte gewährleistet und die Waschflüssigkeit kann restlos auslaufen, ohne daß die Fässer über Kopf gekippt oder besonders gehandhabt werden müssen.
  • Für die erfindungsgemäßen Stahlfässer ist es zweckmässig, wenn die Faßwandung oberhalb des Wulstes bis zum Bördelrand der oberen Einfüllöffnung zylindrisch und unterhalb des Wulstes bis zum Faßboden bzw. nahezu bis zum Faßboden hin leicht konisch ausgebildet ist, wobei die Konizität der Faßwandung zwischen 5,5 % und 11 %, vorzugsweise etwa 7 %, beträgt. Hierdurch wird eine bessere Standfestigkeit und Raumersparnis bei gefüllten und geschlossenen Deckelfässern erreicht.
  • Die erfindungsgemäßen konischen Stahlfässer sind, insbesondere mit einem Fassungsvermögen von 200 I, für den Einsatz im Nahrungsmittelbereich, z.B. zum Transport von Tomatenextrakt, Ölen, Fetten oder Obstkonzentrat vorgesehen. Aber auch in der chemischen Industrie für den Transport von chemischen Produkten ist das großvolumige konische Weithals-Stahlfaß besonders für festes und flüssiges Gefahrgut geeignet.
  • Ein ganz besonderer Einsatzbereich für das erfindungsgemäße Stahlfaß als sogenannter "Honeytainer" liegt im Transport von Honig aus fernen Exportländern. Durch die gute Ineinanderstapelbarkeit ergibt sich zum einen eine enorme Raumerspanis beim Transport und bei der Bevorratung leerer Deckelfässer mit vergleichsweise erheblich niedrigeren Kosten, so daß z.B. weite Überseetransporte derartiger konischer Stahlfässer wirtschaftlich vertretbar bzw. möglich werden. Mit einem Großcontainer oder einem Lkw mit einer Größe von 100 m3 Transportvolumen können z.B. nur 292 herkömmliche (nicht ineinanderstapelbare) Deckelfässer, jedoch 936 ineinandergestapelte konische Deckelfässer geliefert werden; dadurch wird eine Einsparung an Transportkosten von ca. 70 % erreicht.
  • Beim Transport von Honig in großvolumigen Fässern besteht folgende Problematik: Der Honig liegt zumeist als fester Block vor, der normalerweise nur sehr schwierig aus dem Faß zu entnehmen ist. Bei der Verwendung von erfindungsgemäßen Deckelfässern bietet sich folgende vorteilhafte Verfahrensvariante:
    • Das konische Stahlfaß wird kurzzeitig von außen erwärmt, z.B: mit Dampf- oder Heißwasserbeaufschlaung, so daß der Honig auf der Faßinnenwandung als dünner Film aufschmilzt und dünnflüssig wird. Zusätzlich kann an das Spundloch im Unterboden des Weithals-Stahlfasses ein Gasdruckschlauch angeschlossen und der feste Honigblock mit Hilfe des anstehenden Gasdruckes aus dem sich in Überkopfposition befindlichen Faß gedrückt werden.
  • Die Anwendung von Gas- oder Flüssigkeitsdruck (z.B. Wasser oder Preßluft) durch das Spundloch im Faßunterboden kann jedoch in gleicher Art beispielsweise auch für die Entstapelung von ineinandergestapelten Fässern bzw. zum gegenseitigen Lösen von verkeilten Fässern eingesetzt werden.
  • Die Erfindung wird nachfolgend anhand von in den Zeichnungen dargestellten Ausführungsbeispielen näher erläutert und beschrieben.
  • Es zeigen:
    • Figur 1 ein erfindungsgemäßes konisches Weithals-Stahlfaß mit Deckel und Spannring in Seitenansicht mit Teilschnitt-Darstellung,
    • Figur 2a in Längsschnitt-Teildarstellung einen vergrösserten Abschnitt der oberen Faßwandung mit Deckel und Spannring,
    • Figur 2b in Längsschnitt-Teildarstellung einen vergrösserten Abschnitt der unteren Faßwandung mit Verbindungsbereich zum Unterboden,
    • Figur 2c einen zentralmittig im Unterboden angeordneten Bodenspund,
    • Figur 2d eine Teilansicht eines Spannringes mit innenliegender Verschlußmechanik,
    • Figur 3 eine perspektivische Ansicht eines konischen Deckelfasses mit aufgesetztem Deckel und Spannring und
    • Figur 4 eine perspektivische Ansicht von zwei ineinandergestapelten Stahlfässern mit davor positioniertem Deckel und Spannring.
  • In Figur 1 ist mit der Bezugsziffer 10 ein erfindungsgemäßes, als sogenannter "Honeytainer" ausgebildetes konisches 200 I-Weithals-Stahlfaß bezeichnet.
  • Das Stahlfaß 10 weist eine große obere Einfüll- bzw. Entleerungsöffnung 12 auf, die mittels Deckel 14 und Spannring 16 flüssigkeitsdicht verschlossen ist. Im Nahbereich der oberen Einfüllöffnung 12 weist die Faßwandung 18,28 einen umlaufenden, nach außen gerichteten Wulst 20 (Aussen-Sicke) auf.
  • Die Faßwandung 28 ist oberhalb des Wulstes 20 bis zum Bördelrand 22 der oberen Einfüllöffnung 12 zylindrisch ausgebildet und die Faßwandung 18 unterhalb des Wulstes 20 ist bis nahezu zum Faßboden 24 leicht konisch ausgebildet. Dabei beträgt die Konizität der Faßwandung 18 zwischen 5,5 % und 11 %, vorzugsweise etwa 7 %.
  • Der Bördelrand 22 an der oberen Einfüllöffnung 12 des Stahlfasses 10 dient als Auflage für den Dekkelrand und als Gegenlager für den Spannring 16.
  • Im Unterboden 24 ist eine mittels eines Dekkels (z.B. Schraubdeckel) flüssigkeitsdicht verschließbare Spundlochöffnung 26 vorgesehen. Die Spundlochöffnung 26 ist zweckmäßigerweise je nach Faßgröße mit einem 3/4"-Spund oder einem 2"-Spund mit Innengewinde zum Einschrauben eines Spundstopfens ausgestattet.
  • Durch die Anbringung der Spundöffnung im FaßUnterboden ist der Einsatz eines geeigneten Entstapelungsgerätes möglich. Die Boden-Spundöffnung erleichtert außerdem den Reinigungsvorgang bei der Rekonditionierung.
  • Für ein 200 I-Weithals-Stahlfaß lautet die technische Kurzbeschreibung wie folgt:
    • Konischer Mantel, Längsnaht geschweißt, mit Flachsicke (oder Rundsicke), Boden aufgefalzt, Deckel und Spannring abnehmbar, innen roh oder einbrennlackiert, außen lackiert, falls gewünscht mit Polyethylen-Inliner PE, z.B. 0,3 mm stark.
  • Maße: oberer Außendurchmesser (über Spannring gemessen): 610 mm; unterer Außendurchmesser: 516 mm; oberer Innendurchmesser: 571,5 mm; Innenhöhe: 870 mm; Außenhöhe: 880 mm; Durchmesser über Falz gemessen: 582 mm; Flachsikkenbreite: 44 mm; Stückgewicht je nach Blechdikke (zwischen 1,5 bis 0,7 mm) von ca. 21,2 kg bis 13 kg; Deckelgewicht ca. 3,7 kg und Ringgewicht ca. 1,0 kg.
  • Die nach außen ausgeformte Stapelsicke 20 kann jedoch auch schmaler (z.B. nur etwa 25 mm breit) oder als übliche Rundsicke ausgebildet sein.
  • Der Faßkörper 18,28 des Stahlfasses 10 ist vorzugsweise aus einem zylindrischen Rohling hergestellt, der mittels eines Reckvorganges bzw. durch Expandierung von einem kleineren Durchmesser (z.B. ca. 514 mm) auf die sich konisch erweiternde Faßform mit größeren Durchmessern (bis max. 572 mm) aufgeweitet wurde.
  • Dabei kann im unteren Bereich der konischen Faßwandung 18 ein zweiter, jedoch nach innen gerichteter Wulst 30 (Sicke) vorgesehen sein. Durch die zweite nach innen gezogene Sicke - in Figur 1 lediglich gestrichelt angedeutet - hängen die Fässer nicht nur in der oberen Sicke, sondern können, wenn sie ineinandergestapelt werden, gleichzeitig auch auf der unteren Innen-Sicke stehen.
  • In den Figuren 2a bis 2c sind die Einzelmerkmale des erfindungsgemäßen Stahlfasses 10 vergrößert in Teilansicht dargestellt. Gemäß Fig. 2a ist im Deckelrand 52 des Faßdeckels 14 eine Deckeldichtung 48 angeordnet, die das Faß 10 bei aufgesetztem Deckel 14 und aufgespanntem Spannring 16 gegen den Bördelrand 22 der oberen Einfüllöffnung gas- und flüssigkeitsdicht abdichtet. Bei einem 200 I-Faß ist der untere Rand der Flachsicke 20 ca. 130 mm von dem Bördelrand beabstandet. Bei Ineinanderstapelung zweier Fässer ragt das obere Faß um diesen Betrag aus dem untergestapelten Faß heraus. Die Oberkante des Bördelrandes 22' des untergestapelten Fasses 10' kommt dabei zur Anlage an die Unterkante der Stapelsicke 20 des oben eingestapelten Fasses 10.
  • Aus Fig. 2b ist ersichtlich, daß die Faßwandung 18 im Nahbereich des nach außen gerichteten Verbindungswulstes 32 (3-fach Falzung) zwischen Unterboden 24 und Faßwandung 18 zusätzlich verjüngt bzw. im Durchmesser verkleinert ausgebildet ist, wobei der Verbindungswulst 32 zwischen Unterboden 24 und Faßwandung 18 innerhalb einer gedachten Verlängerung der konischen Faßwandung 18 liegt. Dabei beträgt die Neigung der konischen Faßwandung 18 zur Faß-Längsachse ca. 1,5° und die Neigung des kurzen untersten Wandungsbereiches 50 vor dem Bodenfalz 32 zur Faß-Längsachse ca. 15°.
  • Der Faßboden 24 ist im Verbindungsbereich mit der Faßwandung (50) mit einem gewissen Abstand vom Bodenfalz 32 eingesetzt, damit bei eingeschraubtem Spunddeckel in das mittige Boden-Spundloch 26 und insbesondere bei leicht nach außen bombierter (leicht konvex gewölbter) Faßbodenausbildung kein Druck auf den Bodenspund-Deckel ausgeübt wird.
  • Die in Fig. 2c dargestellte Spundöffnung 26 (z.B. 3/4"-Spund) im Faßunterboden 24 bzw. der entsprechende Spundstopfen wird vorzugsweise mit einer temparaturbeständigen S-Dichtung versehen, da die Stahlfässer für eine Mehrfachverwendung (z.B. fünf- bis zehnmal) bzw. einen Mehrwegeeinsatz vorgesehen sind und bei der Reinigung der Fässer mit z.B. Dampfstrahlgeräten leicht Temperaturen bis zu 200° C auftreten können.
  • In Fig. 2d ist ausschnittsweise ein Spannring 16 mit einem innen liegenden Verschlußmechanismus 38 dargestellt. Der zur Verbesserung der Rolleigenschaft der Fässer dienende innen liegende Verschlußmechanismus 38 besteht hier aus einer zwischen zwei Flanschansätzen 42,44 wirkenden Spannschraube 40.
  • Der Verschlußmechanismus könnte jedoch gleichfalls wie bei außen liegenden Spannringen als üblicher Spannhebelverschluß ausgebildet sein.
  • In Figur 3 ist in perspektivischer Ansicht ein 200 I-Honigfaß 10 mit aufgesetztem Deckel 14 und Spannring 16 mit außen liegendem Spannhebelverschluß 46 dargestellt. Die Stapelsicke 20 zwischen oberer zylindrischer Faßwandung 28 und unterer konischer Faßwandung 18 ist hier als schmale Flachsicke ausgebildet.
  • Bei der perspektivischen Darstellung gemäß Figur 4 sind zwei Fässer 10,10' ineinandergestapelt. Die Fässer 10, 10' sind hier mit einer üblichen Rundsicke 20,20' als Stapelsicke versehen.
  • In das obere Faß 10 ist ein dünnwandiger Inliner 54 z.B. aus Polyethylen (PE) eingesetzt , der für bestimmte stark anhaftende Füllgüter die Rekonditionierung der Fässer erleichtert und beschleunigt.
  • Der dazugehörige Spannring 16 ist mit übereinander lappenden Spannringenden und kräftigem Spannhebelverschluß 46 versehen, wodurch auch bei erhöhten Fallhöhen der Fässer eine Undichtigkeit vermieden wird.
  • In bevorzugter Ausgestaltung ist der Deckel mit wenigstens einem verschließbaren Spundloch zur einfachen Probenahme des Faßinhaltes versehen.
  • Im vorliegenden dargestellten Fall sind zwei sich gegenüberliegende unterschiedlich große Deckelspunde vorgesehen, z.B. ein grosser 2"-Spund 34 und ein kleiner 3/4"-Spund 36. In einfacher Ausführung könnte jedoch im Deckel 14 auch nur ein zentralmittig angeordneter Spund - dann vorzugsweise ein großer 2"-Spund - vorgesehen sein.
  • Aus obiger Beschreibung wird die vorteilhafte Ausbildung und wirtschaftliche Bedeutung des erfindungsgemäßen Weithals-Stahlfasses mit zentralem Bodenspund im Faßunterboden und der damit gegebenen Möglichkeit zum Ansetzen eines entsprechenden Entstapelungsgerätes für eine problemlose, einfache und beschädigungsfreie Auseinandernahme (Entstapelung) derartiger für kostengünstige Transportzwecke ineinandergestapelter konischer Fässer deutlich, insbesondere, wenn die Fässer nach einer Mehrfachverwendung bereits Gebrauchsspuren wie leichte Einbeulungen oder ähnliches aufweisen.
  • BEZUGSZEICHENLISTE
    • 10 konisches Weithals-Stahlfaß
    • 12 obere Einfüllöffnung
    • 14 Deckel
    • 16 Spannring
    • 18 Faßwandung
    • 20 Sicke (Wulst) außen
    • 22 Bördelrand (12)
    • 24 Unterboden
    • 26 Spundöffnung
    • 28 zylindrische Faßwandung
    • 30 Innensicke
    • 32 Verbindungswulst (18/24)
    • 34 großer Deckelspund
    • 36 kleiner Deckelspund
    • 38 Verschlußmechanismus
    • 40 Spannschraube
    • 42 Flanschansatz
    • 44 Flanschansatz
    • 46 Spannhebelverschluß
    • 48 Deckeldichtung
    • 50 Bodenstück 18
    • 52 Deckelrand
    • 54 Inliner

Claims (10)

1. Konisches Weithals-Stahlfaß mit großer oberer Einfüll- bzw. Entleerungsöffnung, die mittels Deckel und Spannring flüssigkeitsdicht verschließbar ist, dessen Faßwandung im Nahbereich der oberen Einfüllöffnung einen umlaufenden, nach außen gerichteten Wulst (Sicke) aufweist, der bei Ineinanderstapelung von wenigstens zwei derartigen leeren Stahlfässern bei dem oberen innen eingestapelten Stahlfaß als äußerer Auflagerand an dem inneren Rand der nach oben weisenden Einfüllöffnung des untergestapelten zweiten Stahlfasses dient, dadurch gekennzeichnet, daß das Stahlfaß (10) im Unterboden (24) wenigstens eine mittels eines Deckels (Spundstopfen) flüssigkeitsdicht verschließbare Spundlochöffnung (26) aufweist.
2. Stahlfaß nach Anspruch 1, dadurch gekennzeichnet, daß wenigstens eine verschließbare Spundöffnung (26) zentralmittig im Unterboden (24) angeordnet ist.
3. Stahlfaß nach Anspruch 1 oder 2, dadurch gekennzeichnet, daß die Faßwandung (28) oberhalb des Wulstes (20) bis zum Bördelrand (22) der oberen Einfüllöffnung (12) zylindrisch und die Faßwandung (18) unterhalb des Wulstes (20) bis nahezu zum Faßboden (24) leicht konisch ausgebildet ist.
4. Stahlfaß nach Anspruch 1, 2 oder 3, dadurch gekennzeichnet, daß die Konizität der Faßwandung (18) zwischen 5,5 % und 11 %, vorzugsweise etwa 7 %, beträgt.
5. Stahlfaß nach Anspruch 1, 2, 3 oder 4, dadurch gekennzeichnet, daß der Unterboden (24) leicht nach außen bombiert ausgebildet ist.
6. Stahlfaß nach Anspruch 1, 2, 3, 4 oder 5, daurch gekennzeichnet, daß der Faßkörper (18,28) des Stahlfasses (10) aus einem zylindrischen Rohling hergestellt ist, der mittels eines Reckvorganges bzw. durch Expandierung von einem kleineren Durchmesser auf die sich konisch erweiternde Faßform aufgeweitet ist.
7. Stahlfaß nach einem der vorhergehenden Ansprüche 1 bis 6,
dadurch gekennzeichnet, daß im unteren Bereich der konischen Faßwandung (18) ein zweiter, jedoch nach innen gerichteter Wulst (Sicke) (30) ausgebildet ist.
8. Stahlfaß nach einem der vorhergehenden Ansprüche 1 bis 7,
dadurch gekennzeichnet, daß die Faßwandung (18) im Nahbereich des nach außen gerichteten Verbindungswulstes (32) zwischen Unterboden (24) und Faßwandung (18) zusätzlich verjüngt bzw. im Durchmesser verkleinert ausgebildet ist, wobei der Verbindungswulst (32) zwischen Unterboden (24) und Faßwandung (18) innerhalb einer gedachten Verlängerung der konischen Faßwandung (18) liegt.
9. Stahlfaß nach einem der vorhergehenden Ansprüche 1 bis 8,
dadurch gekennzeichnet, daß der Faßdeckel (14) z.B. zur Probenahme des Faßinhaltes wenigstens ein verschließbares Spundloch (34,36) aufweist.
10. Stahlfaß nach einem der vorhergehenden Ansprüche 1 bis 8,
dadurch gekennzeichnet, daß der Spannring (16) einen auf der Oberfläche des Faßdeckels (14) angeordneten bzw. innenliegenden Verschlußmechanismus (38) aufweist.
EP91104414A 1990-08-09 1991-03-21 Konisches Weithals-Stahlfass Expired - Lifetime EP0471918B1 (de)

Applications Claiming Priority (2)

Application Number Priority Date Filing Date Title
DE9011586U DE9011586U1 (de) 1990-08-09 1990-08-09 Konisches Weithals-Stahlfaß
DE9011586U 1990-08-09

Publications (2)

Publication Number Publication Date
EP0471918A1 true EP0471918A1 (de) 1992-02-26
EP0471918B1 EP0471918B1 (de) 1994-06-08

Family

ID=6856348

Family Applications (1)

Application Number Title Priority Date Filing Date
EP91104414A Expired - Lifetime EP0471918B1 (de) 1990-08-09 1991-03-21 Konisches Weithals-Stahlfass

Country Status (4)

Country Link
EP (1) EP0471918B1 (de)
JP (1) JPH04253639A (de)
AT (1) ATE106826T1 (de)
DE (2) DE9011586U1 (de)

Cited By (4)

* Cited by examiner, † Cited by third party
Publication number Priority date Publication date Assignee Title
WO1994008859A1 (en) * 1992-10-09 1994-04-28 Chester Osborn Wine container
DE10259126A1 (de) * 2002-12-18 2004-07-15 Schütz GmbH & Co. KGaA Kunststofftonne
CN110053852A (zh) * 2019-05-30 2019-07-26 徐建新 一种可内置保洁袋的可循环使用的物流装置
CN111846528A (zh) * 2020-07-20 2020-10-30 上海寰宇物流科技有限公司 可多次修复利用的物流周转容器

Families Citing this family (14)

* Cited by examiner, † Cited by third party
Publication number Priority date Publication date Assignee Title
DE4034226C1 (en) * 1990-10-29 1992-02-13 Schuetz-Werke Gmbh & Co Kg, 5418 Selters, De Wide necked plastics container - has border section below opening to accommodate tensioning ring for lid
DE9106443U1 (de) * 1991-05-25 1992-07-02 Mauser-Werke GmbH, 50321 Brühl Großvolumiges Deckelfaß
FR2736898B1 (fr) * 1995-07-18 1997-12-26 Metz Pierre Comporte de raisin permettant le transport de la vendange en evitant a celle-ci de macerer dans son jus
ES2149536T3 (es) * 1997-10-24 2000-11-01 Schuetz Werke Gmbh Co Kg Barril reutilizable fabricado de chapa metalica.
JP4517208B2 (ja) * 2000-01-21 2010-08-04 有限会社ホクオーパック 加熱加工食品用カップ
JP4517209B2 (ja) * 2000-01-27 2010-08-04 有限会社ホクオーパック 加熱加工食品用カップ
DE102007060725A1 (de) * 2007-11-16 2009-05-20 Julius Kleemann Gmbh & Co. Fass
BG1890U1 (bg) 2013-08-22 2014-05-30 "Булметал" Ад Метален контейнер
US11370579B2 (en) 2017-02-07 2022-06-28 Ball Corporation Tapered metal cup and method of forming the same
USD968893S1 (en) 2019-06-24 2022-11-08 Ball Corporation Tapered cup
USD974845S1 (en) 2020-07-15 2023-01-10 Ball Corporation Tapered cup
AU2021371334B2 (en) 2020-10-30 2025-01-30 Ball Corporation Tapered cup and method of forming the same
USD1012617S1 (en) 2021-02-22 2024-01-30 Ball Corporation Tapered cup
USD1035386S1 (en) 2021-12-08 2024-07-16 Ball Corporation Tapered cup

Citations (5)

* Cited by examiner, † Cited by third party
Publication number Priority date Publication date Assignee Title
FR1279124A (fr) * 1960-02-11 1961-12-15 Récipient de transport
FR1525239A (fr) * 1967-03-29 1968-05-17 Dispositif de serrage, notamment pour collier de fixation d'un obturateur ou couvercle sur emballages métalliques, tel que fûts, tonnelets, cuves, réservoirs ou autres
DE1938446A1 (de) * 1969-07-29 1971-02-18 Neubecker Fa C A Im wesentlichen zylindrisches Metallfass mit Spundverschluessen in beiden Boeden
FR2431962A1 (fr) * 1978-07-28 1980-02-22 Silfa Srl Fut tronconique empilable
GB2075462A (en) * 1980-04-30 1981-11-18 Plm Ab Sheet-meal Container

Patent Citations (5)

* Cited by examiner, † Cited by third party
Publication number Priority date Publication date Assignee Title
FR1279124A (fr) * 1960-02-11 1961-12-15 Récipient de transport
FR1525239A (fr) * 1967-03-29 1968-05-17 Dispositif de serrage, notamment pour collier de fixation d'un obturateur ou couvercle sur emballages métalliques, tel que fûts, tonnelets, cuves, réservoirs ou autres
DE1938446A1 (de) * 1969-07-29 1971-02-18 Neubecker Fa C A Im wesentlichen zylindrisches Metallfass mit Spundverschluessen in beiden Boeden
FR2431962A1 (fr) * 1978-07-28 1980-02-22 Silfa Srl Fut tronconique empilable
GB2075462A (en) * 1980-04-30 1981-11-18 Plm Ab Sheet-meal Container

Cited By (5)

* Cited by examiner, † Cited by third party
Publication number Priority date Publication date Assignee Title
WO1994008859A1 (en) * 1992-10-09 1994-04-28 Chester Osborn Wine container
DE10259126A1 (de) * 2002-12-18 2004-07-15 Schütz GmbH & Co. KGaA Kunststofftonne
DE10259126B4 (de) * 2002-12-18 2005-08-25 Schütz GmbH & Co. KGaA Kunststofftonne
CN110053852A (zh) * 2019-05-30 2019-07-26 徐建新 一种可内置保洁袋的可循环使用的物流装置
CN111846528A (zh) * 2020-07-20 2020-10-30 上海寰宇物流科技有限公司 可多次修复利用的物流周转容器

Also Published As

Publication number Publication date
DE59101836D1 (de) 1994-07-14
DE9011586U1 (de) 1990-10-25
JPH04253639A (ja) 1992-09-09
EP0471918B1 (de) 1994-06-08
ATE106826T1 (de) 1994-06-15

Similar Documents

Publication Publication Date Title
EP0471918B1 (de) Konisches Weithals-Stahlfass
EP1034114B1 (de) Stapelbarer mehrwege-behälter
DE10259126B4 (de) Kunststofftonne
EP0459124B1 (de) Weithalsgebinde
DE19580996B4 (de) Deckelfaß
DE9321291U1 (de) Kunststoff-Faß
WO1994010055A1 (de) Kunststoff-fassdeckel
EP2321190B1 (de) Deckelbehälter
DE3539656C2 (de) Spundfaß
WO1993003971A1 (de) Deckelfass
DE4208807C2 (de) Hohlkörper mit lösbarem Deckelverschluß sowie Vorrichtung und Verfahren zur Herstellung
DE19641172C2 (de) Mehrwegfaß aus Metallblech
CH670233A5 (de)
EP0515389B1 (de) Stapelbares fass
EP0806370B1 (de) Gebinde
DE19938597C2 (de) Verfahren zum Rekonditionieren von Mehrwegfässern aus Metallblech
WO1994027880A1 (de) Hohlkörper mit lösbarem deckelverschluss
DE2263362A1 (de) Luftdichter bzw. vakuumbehaelter mit wiedergebrauchsverschluss
DE9114648U1 (de) Deckelfaß
DE2048952A1 (de) Mehrwegtransportbehälter für Flüssigkeiten
DE9205132U1 (de) Großvolumiges Deckelfaß
DE3013581A1 (de) Duennwandiger metallbehaelter
DE9203958U1 (de) Zylinderförmiges Faß
DE2728855A1 (de) Kunststoff-fass
DE7538644U (de) Kunststoff-Fass

Legal Events

Date Code Title Description
PUAI Public reference made under article 153(3) epc to a published international application that has entered the european phase

Free format text: ORIGINAL CODE: 0009012

AK Designated contracting states

Kind code of ref document: A1

Designated state(s): AT BE CH DE DK ES FR GB GR IT LI NL SE

17P Request for examination filed

Effective date: 19920403

17Q First examination report despatched

Effective date: 19930510

GRAA (expected) grant

Free format text: ORIGINAL CODE: 0009210

AK Designated contracting states

Kind code of ref document: B1

Designated state(s): AT BE CH DE DK ES FR GB GR IT LI NL SE

PG25 Lapsed in a contracting state [announced via postgrant information from national office to epo]

Ref country code: IT

Free format text: LAPSE BECAUSE OF FAILURE TO SUBMIT A TRANSLATION OF THE DESCRIPTION OR TO PAY THE FEE WITHIN THE PRE;WARNING: LAPSES OF ITALIAN PATENTS WITH EFFECTIVE DATE BEFORE 2007 MAY HAVE OCCURRED AT ANY TIME BEFORE 2007. THE CORRECT EFFECTIVE DATE MAY BE DIFFERENT FROM THE ONE RECORDED.SCRIBED TIME-LIMIT

Effective date: 19940608

Ref country code: BE

Effective date: 19940608

Ref country code: FR

Free format text: THE PATENT HAS BEEN ANNULLED BY A DECISION OF A NATIONAL AUTHORITY

Effective date: 19940608

Ref country code: ES

Free format text: THE PATENT HAS BEEN ANNULLED BY A DECISION OF A NATIONAL AUTHORITY

Effective date: 19940608

Ref country code: GR

Free format text: LAPSE BECAUSE OF FAILURE TO SUBMIT A TRANSLATION OF THE DESCRIPTION OR TO PAY THE FEE WITHIN THE PRESCRIBED TIME-LIMIT

Effective date: 19940608

Ref country code: NL

Effective date: 19940608

Ref country code: GB

Effective date: 19940608

Ref country code: DK

Effective date: 19940608

REF Corresponds to:

Ref document number: 106826

Country of ref document: AT

Date of ref document: 19940615

Kind code of ref document: T

REF Corresponds to:

Ref document number: 59101836

Country of ref document: DE

Date of ref document: 19940714

ET Fr: translation filed
PG25 Lapsed in a contracting state [announced via postgrant information from national office to epo]

Ref country code: SE

Effective date: 19940908

NLV1 Nl: lapsed or annulled due to failure to fulfill the requirements of art. 29p and 29m of the patents act
GBV Gb: ep patent (uk) treated as always having been void in accordance with gb section 77(7)/1977 [no translation filed]

Effective date: 19940608

PGFP Annual fee paid to national office [announced via postgrant information from national office to epo]

Ref country code: DE

Payment date: 19950227

Year of fee payment: 5

PG25 Lapsed in a contracting state [announced via postgrant information from national office to epo]

Ref country code: AT

Effective date: 19950321

PG25 Lapsed in a contracting state [announced via postgrant information from national office to epo]

Ref country code: LI

Effective date: 19950331

Ref country code: CH

Effective date: 19950331

PLBE No opposition filed within time limit

Free format text: ORIGINAL CODE: 0009261

STAA Information on the status of an ep patent application or granted ep patent

Free format text: STATUS: NO OPPOSITION FILED WITHIN TIME LIMIT

26N No opposition filed
REG Reference to a national code

Ref country code: CH

Ref legal event code: PL

REG Reference to a national code

Ref country code: FR

Ref legal event code: ST

PG25 Lapsed in a contracting state [announced via postgrant information from national office to epo]

Ref country code: DE

Effective date: 19961203