EP0442019B1 - Verfahren zum Betreiben einer elektrostatischen Druckluft-Farbspritzpistole - Google Patents
Verfahren zum Betreiben einer elektrostatischen Druckluft-Farbspritzpistole Download PDFInfo
- Publication number
- EP0442019B1 EP0442019B1 EP90103066A EP90103066A EP0442019B1 EP 0442019 B1 EP0442019 B1 EP 0442019B1 EP 90103066 A EP90103066 A EP 90103066A EP 90103066 A EP90103066 A EP 90103066A EP 0442019 B1 EP0442019 B1 EP 0442019B1
- Authority
- EP
- European Patent Office
- Prior art keywords
- paint
- air
- compressed
- compressed air
- outlet opening
- Prior art date
- Legal status (The legal status is an assumption and is not a legal conclusion. Google has not performed a legal analysis and makes no representation as to the accuracy of the status listed.)
- Expired - Lifetime
Links
- 239000003973 paint Substances 0.000 title claims description 52
- 239000007921 spray Substances 0.000 title claims description 27
- 238000000034 method Methods 0.000 title claims description 8
- 238000001816 cooling Methods 0.000 claims description 3
- 238000011144 upstream manufacturing Methods 0.000 claims description 2
- 239000002245 particle Substances 0.000 description 6
- 238000000889 atomisation Methods 0.000 description 4
- 230000032258 transport Effects 0.000 description 4
- 238000001556 precipitation Methods 0.000 description 3
- 239000011810 insulating material Substances 0.000 description 2
- 239000007788 liquid Substances 0.000 description 2
- 239000000203 mixture Substances 0.000 description 2
- 238000005507 spraying Methods 0.000 description 2
- 239000011248 coating agent Substances 0.000 description 1
- 238000000576 coating method Methods 0.000 description 1
- 239000003086 colorant Substances 0.000 description 1
- 238000010276 construction Methods 0.000 description 1
- 230000000694 effects Effects 0.000 description 1
- 230000005686 electrostatic field Effects 0.000 description 1
- 238000003912 environmental pollution Methods 0.000 description 1
- 239000002184 metal Substances 0.000 description 1
- 238000002156 mixing Methods 0.000 description 1
- 239000002966 varnish Substances 0.000 description 1
- XLYOFNOQVPJJNP-UHFFFAOYSA-N water Substances O XLYOFNOQVPJJNP-UHFFFAOYSA-N 0.000 description 1
Images
Classifications
-
- B—PERFORMING OPERATIONS; TRANSPORTING
- B05—SPRAYING OR ATOMISING IN GENERAL; APPLYING FLUENT MATERIALS TO SURFACES, IN GENERAL
- B05B—SPRAYING APPARATUS; ATOMISING APPARATUS; NOZZLES
- B05B5/00—Electrostatic spraying apparatus; Spraying apparatus with means for charging the spray electrically; Apparatus for spraying liquids or other fluent materials by other electric means
- B05B5/025—Discharge apparatus, e.g. electrostatic spray guns
- B05B5/03—Discharge apparatus, e.g. electrostatic spray guns characterised by the use of gas, e.g. electrostatically assisted pneumatic spraying
Definitions
- the invention relates to a method for operating an electrostatic compressed air paint spray gun according to the preamble of patent claim 1.
- electrostatic compressed air paint spray guns have been known for decades and, based on the basic structure mentioned, in a wide variety of designs on the market. An example is shown in FR-A-2 522 991.
- air at a pressure of between 0.3 and 1.5 bar is mixed with paint in a mixing chamber in front of the gun mouth, and the mixture is mixed by means of a jacket air flow, the air of which is at least equal to high pressure as the mixture is driven out of the gun muzzle.
- the compressed air is provided by a compressed air network or by a compressor.
- electrostatic compressed air paint spray guns are comparatively simple. This means that no rotary drive and no rotating parts are required, as is the case with the electrostatic rotary paint spray guns.
- the ink-carrying parts, valves and seals are not exposed to high pressures, because one color print is sufficient to ensure perfect delivery of the paint liquid to the paint outlet nozzle;
- the compressed air atomizes and transports the paint.
- the compressed air supply can be made by connecting to the usually existing compressed air network; the pressure of around 6 to 8 bar, which usually prevails in these compressed air networks, is fully sufficient.
- the high voltage is either supplied by a cable from a separate high voltage generator or generated by means of so-called high voltage cascades in the gun itself.
- the invention is based on the knowledge gained from numerous test series that the disadvantages mentioned of the previous electrostatic compressed air atomizing guns are mainly due to the fact that the compressed air emerging from the perforated ring or the annular gap has considerable turbulence.
- This turbulence means that even if the middle path of the kinetic energy of the atomized paint particles or their average speed remains within limits, individual areas of the spray jet and thus parts of the paint particles get such a high speed that the particles in question not only as a result of their high kinetic energy tend to bounce back from the workpiece or fly past it (lack of color change), but especially due to its short dwell time within of the corona area of the electrode arrangement are only insufficiently charged, as a result of which the first-mentioned effect (rebound, lack of wrap) is significantly increased.
- the invention now ensures that the compressed air emerges from its outlet opening in an essentially laminar flow, that is to say as a calmed and uniform air flow. This is achieved by working below the specified limit for the ratio between the pressure before and after the compressed air outlet openings, that is to say in the so-called subsonic flow area. Of course, one will remain close to this limit in order to ensure sufficient atomization of the paint and proper transport of the atomized paint particles to the workpiece, and in particular an amount of air (air throughput through the outlet openings) is required which is at least as high as and possibly higher than that of the previously known, with a pressure ratio of, for example, 6: 1 electrostatic compressed air atomizing guns.
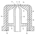
- the front end of the spray gun on the spray side also called the spray head, has a paint feed pipe 10, which ends at its spray end in a central paint outlet nozzle 11.
- the ink outlet opening 11 is concentrically surrounded by a compressed air outlet in the form of an annular gap 12 which is delimited by the edge of a so-called air cap 13.
- the air cap 13 is made of insulating material; the ink supply pipe 10 with nozzle 11 is preferably also made of insulating material, but could also consist of metal.
- Needle electrodes 17 protrude from the spray-side end face of the air cap 13, specifically as a needle ring concentric with the paint outlet nozzle 11.
- the needle electrodes 17 are conductively connected via lines 17a running in the air cap 13 to a contact ring 18 located on the rear end of the air cap 13.
- the spray head shown in the drawing sits at the front end of the - not shown - pistol tube of the paint spray gun, the paint being supplied via the paint supply pipe 10, the compressed air through the bores 15 and the high voltage via the contact ring 18.
- the drawn and described spray head corresponds completely to the usual state of the art in terms of structure and mode of operation.
- the pressure p 1 of the compressed air in the air chamber 16 that is to say immediately upstream of the annular gap 12, is limited to a specific maximum value, namely such that the ratio V L of the pressure p 1 to Pressure p2 in front of the spray head, i.e. downstream of the annular gap 12, is between 1.3: 1 and 1.8: 1.
- V L the ratio of the pressure p 1 to Pressure p2 in front of the spray head, i.e. downstream of the annular gap 12
- the pressure p1 must remain below 1.8 bar absolute or below 0.8 bar overpressure. Is sprayed in a closed spray booth with suction, in which the pressure p2 is slightly below atmospheric pressure, the pressure p1 must be chosen accordingly lower.
- This comparatively low pressure in the air chamber 16 is achieved in that the paint spray gun is driven by a motor-driven blower supplied with compressed air, which delivers compressed air corresponding to low pressures, namely a so-called “vacuum cleaner motor fan".
- the blower air supplied experiences a temperature increase during operation.
- a cooling element for example a cooling ring, as indicated at 19 in the drawing.
- the amount of air is sufficient, ie the throughput of compressed air through the annular gap 12 in the unit of time. Practical tests have shown that the amount of air must be as large as or greater than the amount of air that is passed through with the usual compressed air guns with a supply pressure of the compressed air of about 6 bar. This requires a considerable size of the passage area of the annular gap 12, which must be considerably larger than in the case of the conventional compressed air paint spray guns, for example by a factor of 2 or 3.
- the procedure is such that the pressure and quantity of the compressed air supplied and the size of the exit area of the annular gap are matched to the maximum paint throughput of the paint spray gun when using the toughest paints and by externally actuated air valves, namely a pressure reducing valve and / or a quantity reducing valve, the operator is given the opportunity to make an adjustment with a lower color throughput and / or with more atomizable colors.
- the electrode arrangement can be designed in the usual way, but it is expedient to arrange the electrodes close to the paint outlet, for example also as a central needle electrode in the paint outlet nozzle, in order to ensure that all paint particles pass through the corona area, i.e. the area with the highest field strength. It is also important that part of the droplet transport energy is supplied by the electrostatic field. The level of the applied voltage is therefore also an important factor and must be included in the coordination, especially when spraying paints of different electrical conductivity (water-based paint).
- color chosen here should of course include all electrostatically sprayable coating liquids, in particular varnishes of any consistency.
Landscapes
- Electrostatic Spraying Apparatus (AREA)
Description
- Die Erfindung betrifft ein Verfahren zum Betreiben einer elekrostatischen Druckluft-Farbspritzpistole gemäß dem Oberbegriff des Patentsanspruchs 1. Derartige elektrostatische Druckluft-Farbspritzpistolen sind seit Jahrzehnten bekannt und, aufbauend auf dem erwähnten Grundaufbau, in den verschiedensten Ausführungen auf dem Markt. Ein Beispiel zeigt die FR-A-2 522 991. Dort wird unter Überdruck zwischen 0,3 und 1,5 bar stehende Luft in einer Mischkammer vor der Pistolenmündung mit Farbe gemischt, und das Gemisch wird mittels eines Mantelluftstromes, dessen Luft mindestens unter gleich hohem Druck wie das Gemisch steht, aus der Pistolenmündung ausgetrieben. Die Druckluft wird dabei von einem Druckluftnetz oder von einem Kompressor bereitgestellt.
- Der Aufbau solcher elektrostatischen Druckluft-Farbspritzpistolen ist vergleichsweise einfach. So sind kein Drehantrieb und keine sich drehenden Teile erforderlich, wie dies bei den elektrostatischen Rotations-Farbspritzpistolen der Fall ist. Die farbführenden Teile, Ventile und Dichtungen, werden im Gegensatz zur luftlosen Hochdruck-Farbzerstäubung keinen hohen Drücken ausgesetzt, weil ein Farbdruck genügt, der eine einwandfreie Förderung der Farbflüssigkeit bis zur Farbaustrittsdüse gewährleistet; Zerstäubung und Transport der Farbe erfolgen ja durch die Druckluft. Die Druckluftversorgung kann durch Anschluß an das überlicherweise vorhandene Druckluftnetz erfolgen; der in diesen Druckluftnetzen meist herrschende Druck von etwa 6 bis 8 bar ist voll ausreichend. Die Hochspannung schließlich wird entweder über ein Kabel von einem gesonderten Hochspannungsgenerator geliefert oder mittels sogenannter Hochspannungskaskaden in der Pistole selbst erzeugt.
- Allgemein bekannt ist nun aber, daß mit den elektrostatischen Druckluft-Farbspritzpistolen nicht die ausgezeichneten Werte für den Niederschlagswirkungsgrad und insbesondere den Farbumgriff erreicht werden können, wie bei den elektrostatischen Rotations-Farbspritzpistolen. Die Fachwelt war sich wohl auch im klaren darüber, daß eine der Ursachen dafür in der gegenüber dem Rotations-Zerstäuber-Verfahren höheren kinetischen Energie der zerstäubten Farbtröpfchen liegt, hat jedoch die erwähnten Nachteile als systembedingt (Druckluft-Zerstäubung) hingenommen.
- Aufgabe der vorliegenden Erfindung ist es nun, den Betrieb einer elektrostatischen Druckluft-Farbspritzpistole der eingangs erwähnten Art so zu verbessern, daß unter Beibehaltung der bisherigen Vorzüge, also der erwähnten konstruktiven Einfachheit, Werte für den Niederschlagswirkungsgrad und den Umgriff gewährleistet werden, wie sie bisher nur von den wesentlich aufwendigeren elektrostatischen Rotations-Farbspritzpistolen erreicht wurden. Die Lösung dieser Aufgabe ergibt sich aus Patentanspruch 1.
- Die Erfindung geht von der durch zahlreiche Versuchsreihen gewonnenen Erkenntnis aus, daß die erwähnten Nachteile der bisherigen elektrostatischen Druckluft-Zerstäuberpistolen vor allem darauf zurückzuführen sind, daß die aus dem Lochkranz bzw. dem Ringspalt austretende Druckluft beträchtliche Turbulenzen aufweist. Diese Turbulenzen führen dazu, daß selbst dann, wenn der Mittelweg der kinetischen Energie der zerstäubten Farbpartikel bzw. deren mittlere Geschwindigkeit in Grenzen bleibt, einzelne Bereiche des Sprühstrahls und damit Teile der Farbpartikel eine derart hohe Geschwindigkeit erhalten, daß die betreffenden Partikel nicht nur infolge ihrer hohen kinetischen Energie dazu neigen, vom Werkstück zurückzuprallen oder an diesem vorbeizufliegen (mangelnder Farbumgriff), sondern insbesondere infolge ihrer kurzen Verweilzeit innerhalb des Koronabereichs der Elektrodenanordnung nur ungenügend aufgeladen werden, wodurch der erstgenannte Effekt (Rückprall, mangelnder Umgriff) noch wesentlich verstärkt wird. Mit der Erfindung wird nun dafür Sorge getragen, daß die Druckluft in einer im wesentlichen laminaren Strömung aus ihrer Austrittsöffnung austritt, also als beruhigter und gleichmäßiger Luftstrom. Erreicht wird dies dadurch, daß unter dem angegebenen Grenzwert für das Verhältnis zwischen dem Druck vor und nach den Druckluft-Austrittsöffnungen gearbeitet wird, also im sogenannten subsonischen Strömungsbereich. Freilich wird man nahe diesem Grenzwert bleiben, um eine ausreichende Zerstäubung der Farbe und einen einwandfreien Transport der zerstäubten Farbpartikel zum Werkstück zu gewährleisten, und insbesondere ist eine Luftmenge (Luftdurchsatz durch die Austrittsöffnungen) erforderlich, die zumindest so hoch wie und gegebenenfalls höher ist als bei den vorbekannten, mit einem Druckverhältnis von beispielsweise 6:1 arbeitenden elektrostatischen Druckluft-Zerstäuberpistolen.
- Zweckmäßige Ausgestaltungen des Verfahrens nach der Erfindung sind in den Unteransprüchen gekennzeichnet.
- In der Zeichnung ist eine Ausführungsform der Erfindung dargestellt, und zwar zeigt die einzige Figur schematisch das sprühseitige Vorderende der elektrostatischen Druckluft-Farbspritzpistole.
- Gemäß der Zeichnung weist das sprühseitige Vorderende der Spritzpistole, auch Spritzkopf genannt, ein Farb-Zuführrohr 10 auf, das an seinem Sprühende in eine zentrale Farbaustrittsdüse 11 ausläuft. Die Farbaustrittsöffnung 11 ist von einem Druckluftauslaß in Form eines Ringspalts 12 konzentrisch umgeben, der von der Randkante einer sogenannten Luftkappe 13 begrenzt wird. Ein Flansch 14 des Farbzuführrohrs 10, der mit Bohrungen 15 versehen ist, schließt eine Luftkammer 16 zwischen Farbzuführrohr 10 und Luftkappe 13 nach hinten ab. Die Luftkappe 13 besteht aus Isolierstoff; das Farbzuführrohr 10 mit Düse 11 ist vorzugsweise ebenfalls aus Isolierstoff gefertigt, könnte aber auch aus Metall bestehen. Von der sprühseitigen Stirnfläche der Luftkappe 13 stehen Nadelelektroden 17 ab, und zwar als zur Farbaustrittsdüse 11 konzentrischer Nadelkranz. Die Nadelelektroden 17 sind über in der Luftkappe 13 verlaufende Leitungen 17a mit einem an der Rückstirn der Luftkappe 13 befindlichen Kontaktring 18 leitend verbunden. Der auf der Zeichnung dargestellte Sprühkopf sitzt am Vorderende des - nicht gezeichneten - Pistolenrohrs der Farbspritzpistole, wobei über das Farbzuführrohr 10 die Farbe, durch die Bohrungen 15 hindurch die Druckluft und über den Kontaktring 18 die Hochspannung zugeführt werden. Insoweit entspricht der gezeichnete und beschriebene Sprühkopf in Aufbau und Funktionsweise völlig dem üblichen Stand der Technik.
- Erfindungsgemäß wird nun aber dafür Sorge getragen, daß bei in Betrieb befindlicher Farbspritzpistole der Druck p₁ der Druckluft in der Luftkammer 16, also unmittelbar stromaufwärts des Ringspalts 12, auf einen bestimmten Höchstwert begrenzt ist, nämlich derart, daß das Verhältnis VL des Drucks p₁ zum Druck p₂ vor dem Sprühkopf, also stromabwärts des Ringspalts 12, Zwischen 1,3:1 und 1,8:1 ist. Dies bedeutet, daß dann, wenn "im Freien" gespritzt wird, der Druck p₂ also 1 bar beträgt, der Druck p₁ unter 1,8 bar absolut bzw. unter 0,8 bar Überdruck bleiben muß. Wird in einer geschlossenen Spritzkabine mit Absaugung gespritzt, in welcher der Druck p₂ etwas unter Atmosphärendruck liegt, muß der Druck p₁ entsprechend niedriger gewählt werden. Erreicht wird dieser vergleichsweise niedrige Druck in der Luftkammer 16 dadurch, daß man die Farbspritzpistole durch ein motorgetriebenes Gebläse mit Druckluft versorgt, das von Hause aus Druckluft entsprechend niedrigen Drucks liefert, nämlich ein sogenanntes "Staubsauger-Motorgebläse". Die gelieferte Gebläseluft erfährt im Betrieb eine Temperatuerhöhung. Um zu vermeiden, daß die zerstäubten Farbpartikel durch die erwärmte Luft vor Erreichen des Werkstücks "eintrocknen", ist es zweckmäßig, ein Kühlelement vorzusehen, etwa einen Kühlring, wie er bei 19 in der Zeichnung angedeutet ist.
- Wesentlich ist, daß die im Rohr 10 zugeführte Farbe trotz des vergleichsweise geringen Drucks und der damit vergleichsweise geringen Strömungsgeschwindigkeit der Druckluft aus der Düse 11 herausgerissen, fein zerstäubt und zum Werkstück transportiert wird. Man wird deshalb im allgemeinenen nahe dem angegebenen oberen Grenzwert arbeiten, also mit einem Verhältnis VL nahe 1,8:1.
- Von ausschlaggebender Bedeutung ist dabei aber, daß die Luftmenge ausreichend ist, also der Durchsatz an Druckluft durch den Ringspalt 12 in der Zeiteinheit. Praktische Versuche haben ergeben, daß die Luftmenge genauso groß wie oder größer als die Luftmenge sein muß, die bei den üblichen Druckluftpistolen mit einem Zuführdruck der Druckluft von etwa 6 bar durchgesetzt wird. Dies erfordert eine beträchtliche Größe der Durchtrittsfläche des Ringspalts 12, die wesentlich größer sein muß als bei den üblichen Druckluft-Farbspritzpistolen, beispielsweise um den Faktor 2 oder 3. Es ist dabei wenig sinnvoll, Absolutwerte für die Luft-Durchsatzmenge und/oder die Austrittsfläche des Ringspalts 12 anzugeben, weil diese Werte abhängig sind vom gewünschten Farbdurchsatz und von der Viskosität der zu versprühenden Farbe; je höher der gewünschte Farbdurchsatz und je zäher die zu versprühende Farbe ist, umso mehr Energie muß für die Zerstäubung und den Transport der Farbe bereitgestellt werden, und nachdem die Energieerhöhung nicht durch eine Erhöhung des Drucks der Druckluft erfolgen soll, zumindest nicht über den angegebenen Grenzwert, wird dies durch die Erhöhung des Luftdurchsatzes erreicht. In der Praxis geht man dabei so vor, daß Druck und Menge der zugeführten Druckluft sowie Größe der Austrittsfläche des Ringspalts auf den maximalen Farbdurchsatz der Farbspritzpistole bei Verwendung zähester Farben abgestimmt werden und durch von außen betätigbare Luftventile, nämlich ein Druckminderventil und/oder ein Mengenminderventil, der Bedienungsperson die Möglichkeit gegeben wird, bei geringerem Farbdurchsatz und/oder bei leichter zerstäubbaren Farben eine Anpassung vorzunehmen. Die Elektrodenanordnung kann in üblicher Weise ausgebildet sein, jedoch ist es zweckmäßig, die Elektroden nahe benachbart dem Farbaustritt anzuordnen, etwa auch als zentrale Nadelelektrode in der Farbaustrittsdüse, um sicherzustellen, daß alle Farbpartikel den Koronabereich, also den Bereich höchster Feldstärke, durchlaufen. Von Bedeutung ist dabei noch, daß ein Teil der Tröpfchen-Transportenergie vom elektrostatischen Feld geliefert wird. Auch die Höhe der angelegten Spannung ist deshalb ein wesentlicher Faktor und ist in die Abstimmung einzubeziehen, insbesondere beim Versprühen von Farben unterschiedlicher elektrischer Leitfähigkeit (Wasserlack).
- Praktische Versuche haben ergeben, daß mit der erfindungsgemäßen elekrostatischen Druckluft-Farbspritzpistole ein ungewöhnlich hoher Niederschlagswirkungsgrad erreicht wird, was nicht nur zu einer Kostenersparnis führt, sondern auch die Umweltverschmutzung wesentlich vermindert. Darüber hinaus wird ein ausgezeichneter Farbumgriff erzielt, etwa beim Spritzen von Rohren, wie er bisher nur mit elektrostatischen Rotations-Farbspritzpistolen möglich war.
- Der hier gewählte Begriff Farbe soll selbstverständlich alle elektrostatisch versprühbaren Beschichtungsflüssigkeiten umfassen, insbesondere Lacke jeglicher Konsistenz.
Claims (3)
- Verfahren zum Betreiben einer elektrostatischen Druckluft-Farbspritzpistole mit einer an eine Farbzuführleitung (10) angeschlossenen Farbaustrittsdüse (11), einer an eine Druckluftzuführleitung angeschlossenen, benachbart der Farbaustrittsdüse ausmündenden Druckluft-Austrittsöffnung (12) in Form eines die Farbaustrittsdüse konzentrisch umgebenden Lochkranzes oder Ringspalts und einer an eine Hochspannungszuführung (18) angeschlossenen Elektrodenanordnung (17), dadurch gekennzeichnet, daß das Verhältnis (VL) des unmittelbar stromaufwärts der Druckluft-Austrittsöffnung (12) herrschenden Luftdrucks (p1) zum stromabwärts der Druckluft-Austrittsöffnung (12) herrschenden Luftdruck (p2) zwischen 1,3 : 1 und 1,8 : 1 beträgt und daß die Druckluft von einem Staubsauger-Motorgebläse geliefert wird.
- Verfahren nach Anspruch 1, wobei die zugeführte Druckluft eine über Raumtemperatur liegende Temperatur aufweist, dadurch gekennzeichnet, daß die Druckluft vor Austritt aus der Druckluft-Austrittsöffnung (12) auf eine Temperatur gleich oder unter Raumtemperatur mittels einer Kühleinrichtung (9) abgekühlt wird.
- Verfahren nach Anspruch 1 oder 2, dadurch gekennzeichnet, daß die Elektrodenanordnung aus in oder unmittelbar benachbart der Farbaustrittsöffnung (11) angeordneten Elektrodennadeln (17) besteht.
Priority Applications (4)
| Application Number | Priority Date | Filing Date | Title |
|---|---|---|---|
| EP90103066A EP0442019B1 (de) | 1990-02-16 | 1990-02-16 | Verfahren zum Betreiben einer elektrostatischen Druckluft-Farbspritzpistole |
| DK90103066.8T DK0442019T3 (da) | 1990-02-16 | 1990-02-16 | Fremgangsmåde til drift af en elektrostatisk trykluftfarvesprøjtepistol |
| DE90103066T DE59004556D1 (de) | 1990-02-16 | 1990-02-16 | Verfahren zum Betreiben einer elektrostatischen Druckluft-Farbspritzpistole. |
| US07/654,342 US5188290A (en) | 1990-02-16 | 1991-02-12 | Electrostatic compressed air paint spray gun |
Applications Claiming Priority (1)
| Application Number | Priority Date | Filing Date | Title |
|---|---|---|---|
| EP90103066A EP0442019B1 (de) | 1990-02-16 | 1990-02-16 | Verfahren zum Betreiben einer elektrostatischen Druckluft-Farbspritzpistole |
Publications (2)
| Publication Number | Publication Date |
|---|---|
| EP0442019A1 EP0442019A1 (de) | 1991-08-21 |
| EP0442019B1 true EP0442019B1 (de) | 1994-02-09 |
Family
ID=8203660
Family Applications (1)
| Application Number | Title | Priority Date | Filing Date |
|---|---|---|---|
| EP90103066A Expired - Lifetime EP0442019B1 (de) | 1990-02-16 | 1990-02-16 | Verfahren zum Betreiben einer elektrostatischen Druckluft-Farbspritzpistole |
Country Status (4)
| Country | Link |
|---|---|
| US (1) | US5188290A (de) |
| EP (1) | EP0442019B1 (de) |
| DE (1) | DE59004556D1 (de) |
| DK (1) | DK0442019T3 (de) |
Families Citing this family (56)
| Publication number | Priority date | Publication date | Assignee | Title |
|---|---|---|---|---|
| US5409162A (en) * | 1993-08-09 | 1995-04-25 | Sickles; James E. | Induction spray charging apparatus |
| US5704554A (en) * | 1996-03-21 | 1998-01-06 | University Of Georgia Reseach Foundation, Inc. | Electrostatic spray nozzles for abrasive and conductive liquids in harsh environments |
| US5765761A (en) * | 1995-07-26 | 1998-06-16 | Universtiy Of Georgia Research Foundation, Inc. | Electrostatic-induction spray-charging nozzle system |
| US5873523A (en) * | 1996-02-29 | 1999-02-23 | Yale University | Electrospray employing corona-assisted cone-jet mode |
| US6405936B1 (en) | 1996-05-13 | 2002-06-18 | Universidad De Sevilla | Stabilized capillary microjet and devices and methods for producing same |
| US6595202B2 (en) | 1996-05-13 | 2003-07-22 | Universidad De Sevilla | Device and method for creating aerosols for drug delivery |
| US6197835B1 (en) * | 1996-05-13 | 2001-03-06 | Universidad De Sevilla | Device and method for creating spherical particles of uniform size |
| US5947377A (en) * | 1997-07-11 | 1999-09-07 | Nordson Corporation | Electrostatic rotary atomizing spray device with improved atomizer cup |
| US6244522B1 (en) * | 1999-05-10 | 2001-06-12 | Nordson Corporation | Nozzle assembly for dispensing head |
| MXPA05006958A (es) * | 2002-12-26 | 2006-03-10 | Maintech Co Ltd | Metodo para proporcionar a una lona de maquina para fabricar papel con agente antitincion mediante aspersion y un dispositivo de aspersion deslizante y un agente antiticion para utilizarse en el. |
| US6915966B2 (en) * | 2003-01-29 | 2005-07-12 | Specialty Minerals (Michigan) Inc. | Apparatus for the gunning of a refractory material and nozzles for same |
| US20100022414A1 (en) * | 2008-07-18 | 2010-01-28 | Raindance Technologies, Inc. | Droplet Libraries |
| GB0307403D0 (en) | 2003-03-31 | 2003-05-07 | Medical Res Council | Selection by compartmentalised screening |
| US20060078893A1 (en) * | 2004-10-12 | 2006-04-13 | Medical Research Council | Compartmentalised combinatorial chemistry by microfluidic control |
| GB0307428D0 (en) * | 2003-03-31 | 2003-05-07 | Medical Res Council | Compartmentalised combinatorial chemistry |
| US7128283B1 (en) | 2004-02-02 | 2006-10-31 | Shahin Yousef A | Paint spraying nozzle assembly |
| US20050221339A1 (en) * | 2004-03-31 | 2005-10-06 | Medical Research Council Harvard University | Compartmentalised screening by microfluidic control |
| JP4379473B2 (ja) * | 2004-04-23 | 2009-12-09 | パナソニック電工株式会社 | 静電霧化器を備えた加熱送風装置 |
| US7968287B2 (en) | 2004-10-08 | 2011-06-28 | Medical Research Council Harvard University | In vitro evolution in microfluidic systems |
| US7913938B2 (en) * | 2004-11-12 | 2011-03-29 | Mystic Tan, Inc. | Electrostatic spray nozzle with adjustable fluid tip and interchangeable components |
| US7854397B2 (en) * | 2005-01-21 | 2010-12-21 | Specialty Minerals (Michigan) Inc. | Long throw shotcrete nozzle |
| US7886990B2 (en) * | 2005-04-22 | 2011-02-15 | Ingo Werner Scheer | Atomizing device with precisely aligned liquid tube and method of manufacture |
| US7700016B2 (en) * | 2005-08-02 | 2010-04-20 | Solidscape, Inc. | Method and apparatus for fabricating three dimensional models |
| EP1984738A2 (de) | 2006-01-11 | 2008-10-29 | Raindance Technologies, Inc. | Mikrofluidische vorrichtungen und verfahren zur verwendung bei der bildung und kontrolle von nanoreaktoren |
| US9562837B2 (en) | 2006-05-11 | 2017-02-07 | Raindance Technologies, Inc. | Systems for handling microfludic droplets |
| EP4190448A3 (de) | 2006-05-11 | 2023-09-20 | Bio-Rad Laboratories, Inc. | Mikrofluidische vorrichtungen |
| US9012390B2 (en) | 2006-08-07 | 2015-04-21 | Raindance Technologies, Inc. | Fluorocarbon emulsion stabilizing surfactants |
| US7735748B1 (en) * | 2006-10-10 | 2010-06-15 | Ingo Werner Scheer | Spray nozzle with improved tip and method of manufacture |
| US8772046B2 (en) | 2007-02-06 | 2014-07-08 | Brandeis University | Manipulation of fluids and reactions in microfluidic systems |
| US8592221B2 (en) | 2007-04-19 | 2013-11-26 | Brandeis University | Manipulation of fluids, fluid components and reactions in microfluidic systems |
| US12038438B2 (en) | 2008-07-18 | 2024-07-16 | Bio-Rad Laboratories, Inc. | Enzyme quantification |
| US8528589B2 (en) | 2009-03-23 | 2013-09-10 | Raindance Technologies, Inc. | Manipulation of microfluidic droplets |
| EP2486409A1 (de) | 2009-10-09 | 2012-08-15 | Universite De Strasbourg | Markiertes nanomaterial auf siliziumbasis mit verbesserten eigenschaften und seine verwendung |
| EP2517025B1 (de) | 2009-12-23 | 2019-11-27 | Bio-Rad Laboratories, Inc. | Verfahren zur reduzierung des austauschs von molekülen zwischen tröpfchen |
| US10351905B2 (en) | 2010-02-12 | 2019-07-16 | Bio-Rad Laboratories, Inc. | Digital analyte analysis |
| US9399797B2 (en) | 2010-02-12 | 2016-07-26 | Raindance Technologies, Inc. | Digital analyte analysis |
| US9366632B2 (en) | 2010-02-12 | 2016-06-14 | Raindance Technologies, Inc. | Digital analyte analysis |
| EP4435111A1 (de) | 2010-02-12 | 2024-09-25 | Bio-Rad Laboratories, Inc. | Digitale analytanalyse |
| WO2012045012A2 (en) | 2010-09-30 | 2012-04-05 | Raindance Technologies, Inc. | Sandwich assays in droplets |
| US9364803B2 (en) | 2011-02-11 | 2016-06-14 | Raindance Technologies, Inc. | Methods for forming mixed droplets |
| EP2675819B1 (de) | 2011-02-18 | 2020-04-08 | Bio-Rad Laboratories, Inc. | Zusammensetzungen und verfahren für molekulare etikettierung |
| US8841071B2 (en) | 2011-06-02 | 2014-09-23 | Raindance Technologies, Inc. | Sample multiplexing |
| WO2012167142A2 (en) | 2011-06-02 | 2012-12-06 | Raindance Technolgies, Inc. | Enzyme quantification |
| US8658430B2 (en) | 2011-07-20 | 2014-02-25 | Raindance Technologies, Inc. | Manipulating droplet size |
| JP6006597B2 (ja) * | 2012-02-27 | 2016-10-12 | 住友化学株式会社 | 静電噴霧装置、および配置方法 |
| US9138760B2 (en) | 2012-10-22 | 2015-09-22 | Steven C. Cooper | Electrostatic liquid spray nozzle having an internal dielectric shroud |
| CN103263988A (zh) * | 2013-06-03 | 2013-08-28 | 江苏大学 | 农用气力式静电雾化喷枪 |
| US11901041B2 (en) | 2013-10-04 | 2024-02-13 | Bio-Rad Laboratories, Inc. | Digital analysis of nucleic acid modification |
| US9944977B2 (en) | 2013-12-12 | 2018-04-17 | Raindance Technologies, Inc. | Distinguishing rare variations in a nucleic acid sequence from a sample |
| WO2015103367A1 (en) | 2013-12-31 | 2015-07-09 | Raindance Technologies, Inc. | System and method for detection of rna species |
| US10647981B1 (en) | 2015-09-08 | 2020-05-12 | Bio-Rad Laboratories, Inc. | Nucleic acid library generation methods and compositions |
| US10010895B2 (en) * | 2016-09-21 | 2018-07-03 | Tritech Industries Inc. | System and method for the thermal monitoring and protection of an electrically powered airless paint sprayer |
| GB201815466D0 (en) | 2018-09-24 | 2018-11-07 | Nerudia Ltd | Aerosol delivery device |
| US11950677B2 (en) | 2019-02-28 | 2024-04-09 | L'oreal | Devices and methods for electrostatic application of cosmetics |
| CN110180693B (zh) * | 2019-07-24 | 2019-10-22 | 常州江苏大学工程技术研究院 | 一种感应静电雾化喷头 |
| CN119387064A (zh) * | 2020-01-21 | 2025-02-07 | 株式会社 尼康 | 成膜装置、成膜方法和导电膜的制造装置 |
Family Cites Families (17)
| Publication number | Priority date | Publication date | Assignee | Title |
|---|---|---|---|---|
| DE1577859B2 (de) * | 1965-08-26 | 1978-05-03 | Ernst Mueller Kg, 7151 Hoefen | Spritzpistole |
| US3599038A (en) * | 1969-07-28 | 1971-08-10 | Hipotronics | Apparatus and systems for high-voltage electrostatic charging of particles |
| FR2226214B1 (de) * | 1973-04-19 | 1980-08-08 | Atlas Copco Ab | |
| SE386841B (sv) * | 1973-04-19 | 1976-08-23 | Atlas Copco Ab | Elektrostatisk fergspruta |
| US4033506A (en) * | 1974-08-06 | 1977-07-05 | Franz Braun | Electrostatic coating guns |
| US4290091A (en) * | 1976-12-27 | 1981-09-15 | Speeflo Manufacturing Corporation | Spray gun having self-contained low voltage and high voltage power supplies |
| CH623489A5 (de) * | 1977-12-08 | 1981-06-15 | Gema Ag | |
| GB2020200B (en) * | 1978-03-08 | 1982-09-15 | Air Ind | Electrostatic spraying |
| FR2424068A1 (fr) * | 1978-04-28 | 1979-11-23 | Wagner J Ag | Pistolet pulverisateur electrostatique |
| US4323947A (en) * | 1979-08-13 | 1982-04-06 | J. Wagner Ag. | Electrostatic gun with improved diode-capacitor multiplier |
| US4441656A (en) * | 1982-01-29 | 1984-04-10 | J. Wagner Ag | Electrostatic disabling switch for electrostatic spray guns |
| FR2522991A1 (fr) * | 1982-03-08 | 1983-09-16 | G2M Lepetit | Appareil de pulverisation pneumatique de liquide sous forme d'un jet |
| DE3214314A1 (de) * | 1982-04-19 | 1983-10-20 | J. Wagner AG, 9450 Altstätten | Elektrostatische spruehvorrichtung |
| DE3412266A1 (de) * | 1984-04-02 | 1985-10-03 | J. Wagner AG, Altstätten | Elektrostatische farbspritzpistole |
| DE3412507A1 (de) * | 1984-04-03 | 1985-10-17 | J. Wagner AG, Altstätten | Elektrostatische handspritzpistole |
| DE3545885C1 (de) * | 1985-12-23 | 1993-03-04 | Kopperschmidt Mueller & Co | Elektrostatische Spruehpistole |
| DE3644840A1 (de) * | 1986-04-04 | 1987-10-15 | Wagner Int | Elektrostatische pulver-spruehpistole |
-
1990
- 1990-02-16 EP EP90103066A patent/EP0442019B1/de not_active Expired - Lifetime
- 1990-02-16 DE DE90103066T patent/DE59004556D1/de not_active Expired - Fee Related
- 1990-02-16 DK DK90103066.8T patent/DK0442019T3/da active
-
1991
- 1991-02-12 US US07/654,342 patent/US5188290A/en not_active Expired - Fee Related
Also Published As
| Publication number | Publication date |
|---|---|
| DE59004556D1 (de) | 1994-03-24 |
| EP0442019A1 (de) | 1991-08-21 |
| US5188290A (en) | 1993-02-23 |
| DK0442019T3 (da) | 1995-03-13 |
Similar Documents
| Publication | Publication Date | Title |
|---|---|---|
| EP0442019B1 (de) | Verfahren zum Betreiben einer elektrostatischen Druckluft-Farbspritzpistole | |
| DE3505618C2 (de) | ||
| EP2337688B1 (de) | Beschichtungseinrichtung und zugehöriges beschichtungsverfahren | |
| EP2566627B1 (de) | Beschichtungseinrichtung mit zertropfenden beschichtungsmittelstrahlen | |
| DE69516792T2 (de) | Sprühdüse mit interner Luftmischung | |
| DE69122988T2 (de) | Niederdruck-Spritzpistole | |
| DE69529558T2 (de) | Zweikomponentenspritzpistole mit externer Mischung | |
| DE1777329A1 (de) | Vorrichtung zum elektrostatischen UEberziehen von Gegenstaenden | |
| DE204437T1 (de) | Pulverspritzpistolen. | |
| CH713716A1 (de) | Gebläsesprühvorrichtung mit einstellbarer Luftströmungsgeschwindigkeit. | |
| DE2841384A1 (de) | Zerstaeuberkopf fuer farbspritzpistolen | |
| DE4208500C2 (de) | Spritzvorrichtung zum Aufbringen eines flüssigen Mediums wie Farbe | |
| DE690797C (de) | Verfahren und Vorrichtung zum Auftragen von Farben und Lacken | |
| DE2209896C2 (de) | Zerstäubungsverfahren für niederzuschlagende flüssige Überzugsmaterialien und Vorrichtung zur Durchführung des Zerstäubungsverfahrens | |
| DE69009201T2 (de) | Hochdurchfluss-Niederdruck-Luftspritzpistole. | |
| DE69208048T2 (de) | Nebelfreie Niederdruck-Spritzpistole | |
| DE202010015304U1 (de) | Düse | |
| DE69402762T2 (de) | Pneumatischer Flachstrahlzerstauber zum Versprühen von Beschichtungsmaterialien | |
| DE3007990C2 (de) | ||
| DE3336053A1 (de) | 2-komponenten-aussenmisch-spruehpistole mit airless- und druckluftzerstaeubung | |
| DD262817A5 (de) | Elektrostatische farbspritzpistole | |
| EP1222967A2 (de) | Sprühverfahren und Sprühvorrichtung für Beschichtungsflüssigkeit | |
| EP1054738A1 (de) | Nebelgeneratorkopf | |
| DE922692C (de) | Farbspritzpistole zum Betrieb mit niedrig gespannter Druckluft mit einer Druckluftturbine zum Antrieb des Farbverteilers | |
| DE954748C (de) | Mit Verbrennungskraftmaschine und Ventilator ausgeruestetes tragbares Geraet zum Verspruehen von Fluessigkeiten fuer die Pflanzenbehandlung |
Legal Events
| Date | Code | Title | Description |
|---|---|---|---|
| PUAI | Public reference made under article 153(3) epc to a published international application that has entered the european phase |
Free format text: ORIGINAL CODE: 0009012 |
|
| 17P | Request for examination filed |
Effective date: 19901217 |
|
| AK | Designated contracting states |
Kind code of ref document: A1 Designated state(s): DE DK FR GB IT SE |
|
| 17Q | First examination report despatched |
Effective date: 19920715 |
|
| GRAA | (expected) grant |
Free format text: ORIGINAL CODE: 0009210 |
|
| ITF | It: translation for a ep patent filed | ||
| AK | Designated contracting states |
Kind code of ref document: B1 Designated state(s): DE DK FR GB IT SE |
|
| PGFP | Annual fee paid to national office [announced via postgrant information from national office to epo] |
Ref country code: SE Payment date: 19940316 Year of fee payment: 5 |
|
| REF | Corresponds to: |
Ref document number: 59004556 Country of ref document: DE Date of ref document: 19940324 |
|
| PGFP | Annual fee paid to national office [announced via postgrant information from national office to epo] |
Ref country code: DK Payment date: 19940331 Year of fee payment: 5 |
|
| GBT | Gb: translation of ep patent filed (gb section 77(6)(a)/1977) |
Effective date: 19940429 |
|
| ET | Fr: translation filed | ||
| PLBE | No opposition filed within time limit |
Free format text: ORIGINAL CODE: 0009261 |
|
| STAA | Information on the status of an ep patent application or granted ep patent |
Free format text: STATUS: NO OPPOSITION FILED WITHIN TIME LIMIT |
|
| EAL | Se: european patent in force in sweden |
Ref document number: 90103066.8 |
|
| 26N | No opposition filed | ||
| PG25 | Lapsed in a contracting state [announced via postgrant information from national office to epo] |
Ref country code: DK Effective date: 19950216 |
|
| REG | Reference to a national code |
Ref country code: DK Ref legal event code: EBP |
|
| PG25 | Lapsed in a contracting state [announced via postgrant information from national office to epo] |
Ref country code: SE Effective date: 19950217 |
|
| REG | Reference to a national code |
Ref country code: DK Ref legal event code: T3 |
|
| EUG | Se: european patent has lapsed |
Ref document number: 90103066.8 |
|
| PGFP | Annual fee paid to national office [announced via postgrant information from national office to epo] |
Ref country code: FR Payment date: 19960125 Year of fee payment: 7 |
|
| PGFP | Annual fee paid to national office [announced via postgrant information from national office to epo] |
Ref country code: GB Payment date: 19960207 Year of fee payment: 7 Ref country code: DE Payment date: 19960207 Year of fee payment: 7 |
|
| PG25 | Lapsed in a contracting state [announced via postgrant information from national office to epo] |
Ref country code: GB Effective date: 19970216 |
|
| GBPC | Gb: european patent ceased through non-payment of renewal fee |
Effective date: 19970216 |
|
| PG25 | Lapsed in a contracting state [announced via postgrant information from national office to epo] |
Ref country code: FR Effective date: 19971030 |
|
| PG25 | Lapsed in a contracting state [announced via postgrant information from national office to epo] |
Ref country code: DE Effective date: 19971101 |
|
| REG | Reference to a national code |
Ref country code: FR Ref legal event code: ST |
|
| PG25 | Lapsed in a contracting state [announced via postgrant information from national office to epo] |
Ref country code: IT Free format text: LAPSE BECAUSE OF NON-PAYMENT OF DUE FEES Effective date: 20050216 |