EP0428962A2 - Fassadenfuss für ein Pfostenprofil - Google Patents

Fassadenfuss für ein Pfostenprofil Download PDF

Info

Publication number
EP0428962A2
EP0428962A2 EP90121555A EP90121555A EP0428962A2 EP 0428962 A2 EP0428962 A2 EP 0428962A2 EP 90121555 A EP90121555 A EP 90121555A EP 90121555 A EP90121555 A EP 90121555A EP 0428962 A2 EP0428962 A2 EP 0428962A2
Authority
EP
European Patent Office
Prior art keywords
facade
base plate
receiving shoe
base
fastening screw
Prior art date
Legal status (The legal status is an assumption and is not a legal conclusion. Google has not performed a legal analysis and makes no representation as to the accuracy of the status listed.)
Granted
Application number
EP90121555A
Other languages
English (en)
French (fr)
Other versions
EP0428962A3 (en
EP0428962B1 (de
Inventor
Wolfgang Dipl.-Ing. Ley
Andreas Dipl.-Ing. Freier
Current Assignee (The listed assignees may be inaccurate. Google has not performed a legal analysis and makes no representation or warranty as to the accuracy of the list.)
Schueco International KG
Original Assignee
Schueco International KG
Priority date (The priority date is an assumption and is not a legal conclusion. Google has not performed a legal analysis and makes no representation as to the accuracy of the date listed.)
Filing date
Publication date
Application filed by Schueco International KG filed Critical Schueco International KG
Priority to AT90121555T priority Critical patent/ATE91314T1/de
Publication of EP0428962A2 publication Critical patent/EP0428962A2/de
Publication of EP0428962A3 publication Critical patent/EP0428962A3/de
Application granted granted Critical
Publication of EP0428962B1 publication Critical patent/EP0428962B1/de
Anticipated expiration legal-status Critical
Expired - Lifetime legal-status Critical Current

Links

Images

Classifications

    • EFIXED CONSTRUCTIONS
    • E04BUILDING
    • E04BGENERAL BUILDING CONSTRUCTIONS; WALLS, e.g. PARTITIONS; ROOFS; FLOORS; CEILINGS; INSULATION OR OTHER PROTECTION OF BUILDINGS
    • E04B2/00Walls, e.g. partitions, for buildings; Wall construction with regard to insulation; Connections specially adapted to walls
    • E04B2/88Curtain walls
    • E04B2/96Curtain walls comprising panels attached to the structure through mullions or transoms

Definitions

  • the invention relates to a facade base for a post profile, which forms the framework of a building facade with other post and rung profiles.
  • the invention has for its object to design a facade base for a post profile so that it is adjustable in three dimensions in a wide range.
  • a facade foot which has a base plate and a height-adjustable receptacle between the vertical guide tracks of the base plate for the lower end of the post profile and in each case a through hole provided in the base plate between an end face and a guide track for a fastening screw with a substantially has a larger diameter than the diameter of the fastening screw and at least one adjustment plate assigned to the push-through hole, through which the shaft of the fastening screw is guided and on which the head of the fastening screw is supported.
  • the post profile defined in the receiving shoe can be aligned in the vertical direction by means of an adjusting screw.
  • the base plate is also designed so that it is adjustable in relation to its fastening screws in its longitudinal direction and in a direction transverse to it.
  • the facade base according to the invention is structurally simple, so that the assembly, the fixing of the post profile in the receiving shoe and the adjustment in the dimensions mentioned can be carried out without difficulty.
  • the post profile which is generally designed as a hollow chamber profile, has anchoring grooves on the outside for sealing professionals and a fastening groove, e.g. a screw groove for cover profiles. Between these anchoring or fastening grooves, grooves or grooves are arranged for draining off the leachate.
  • the post profile is arranged and fixed in the receiving shoe or in the facade base so that the parts carrying the leachate are outside the facade base and the leachate e.g. can be derived from the respective post profile from the area of the facade base by means of a film.
  • the facade base 1 has a base plate 2 with vertical guideways 3 and a receiving shoe 4.
  • This receiving shoe 4 for the lower end 5 of a post profile 6 is U-shaped in vertical section and is equipped with side cheeks 7 which carry guide pieces 8 on the outside.
  • these guide pieces are formed in one piece with the side cheeks and engage in the guide tracks 3, which are delimited by vertical webs 9, which are integral with the base plate 2.
  • a set screw 13 is used, which is supported with its head 14 on the base plate 2 and extends with its shaft through a hole in the base 10 and in a bar 15 integral with the base and into the Interior of the receiving shoe protrudes.
  • the threaded shaft of the adjusting screw is equipped with a lock nut 16, through which the upper stroke end of the receiving shoe is determined in cooperation with a spacer tube 17, which surrounds the threaded shaft and is supported on the base 10.
  • the post profile 6 is fixed by two bolts 18 which extend parallel to one another, the bolts being guided through the side cheeks 7 of the receiving shoe.
  • the bolts can be designed as threaded bolts or as thread-free bolts.
  • FIGS. 2 and 3 thread-free bolts 18 show a head 19 on one side and a pin on the other side.
  • the height adjustment of the receiving shoe 4 takes place by means of a nut 20 on which the base 10 or the last 15 is supported.
  • the post profile has a screw groove 21 in the center for fixing cover profiles and anchoring grooves 22 for sealing strips adjacent to the longitudinal edges. Between the central screw groove and an anchoring groove for a sealing strip there is a channel 23 for leachate in the post profile, this channel being delimited by a bottom 24.
  • this floor is offset from the outer boundary surface 25 of the facade base to the outside, so that at the lower end of the post profile, a film 24 engaging behind the floor can be provided, through which the leachate can be drained.
  • an adjustment plate 27 and a base plate 28 are provided for adjusting the facade base in the direction of the longitudinal axis 26 and in the transverse direction. Furthermore, a bore 30 is arranged in the area of the base plate between a front end 29 and the guideway 3, the diameter of which is a multiple of the diameter of the fastening screw 31.
  • the base plate 28 extends in the direction of the longitudinal axis 26 of the facade foot over the area of the base plate 2 between a face bar 32 and the webs 9 delimiting the guideways.
  • the base plate has edge strips 33 which extend in the longitudinal direction and surround the longitudinal edges of the base plate 2, so that the reason plate 28 is positively fixed on the base plate 2.
  • the base plate 28 is also provided with a bore 34a which is aligned with the bore 30 in the base plate 2.
  • the upper boundary surface of the base plate has corrugations or serrations 34b extending in the longitudinal direction of the facade base, into which corrugations or serrations 35 provided on the underside of the adjustment plate 27 engage.
  • the adjustment plate has a cylindrical socket 36 on the underside for pushing through the shaft of the fastening screw 31.
  • This nozzle engages in the bores 34a and.
  • the facade base can be moved in the direction of the longitudinal axis 26. It is also possible to disengage the corrugations 34b and 35, i.e. raise the adjustment plate 27 and make an adjustment transversely to the longitudinal axis 26.
  • the upper boundary surface of the base plate 2 with a corrugation or toothing extending in the longitudinal direction of the base plate in an area adjacent to the through hole 30 and to place the adjustment plate 21 on this profiled surface.

Landscapes

  • Engineering & Computer Science (AREA)
  • Architecture (AREA)
  • Electromagnetism (AREA)
  • Civil Engineering (AREA)
  • Structural Engineering (AREA)
  • Physics & Mathematics (AREA)
  • Finishing Walls (AREA)
  • Orthopedics, Nursing, And Contraception (AREA)
  • Ladders (AREA)
  • Rod-Shaped Construction Members (AREA)
  • Load-Bearing And Curtain Walls (AREA)
  • Steps, Ramps, And Handrails (AREA)
  • Floor Finish (AREA)
  • Buildings Adapted To Withstand Abnormal External Influences (AREA)

Abstract

Der Fassadenfuß (1) weist eine Bodenplatte (2) und einen zwischen vertikalen Führungsbahnen (3) der Bodenplatte höhenverstellbar angeordneten Aufnahmeschuh (4) für das untere Ende des Pfostenprofils (6) auf. Benachbart den Stirnenden der Bodenplatte ist jeweils eine Durchsteckbohrung (30= für eine Befestigungsschraube (31) vorgesehen, wobei die Durchsteckbohrung einen wesentlich größeren Durchmesser aufweist als die Befestigungsschraube. Der Durchsteckbohrung ist eine Verstellplatte (27) zugeordnet, durch die der Schaft der Befestigungsschraube geführt ist und an der sich der Kopf der Befestigungsschraube abstützt.

Description

  • Die Erfindung bezieht sich auf einen Fassadenfuß für ein Pfostenprofil, das mit weiteren Pfosten- und Sprossenprofilen das Rahmenwerk einer Gebäudefassade bildet.
  • Bei der Erstellung der Fassade ist es wichtig, daß die Pfostenprofile mit einfachen Mitteln zueinander ausgerichtet werden können.
  • Der Erfindung liegt die Aufgabe zugrunde, einen Fassadenfuß für ein Pfostenprofil so zu gestalten, daß er in drei Dimensionen in einem weiten Bereich verstellbar ist.
  • Diese Aufgabe wird nach der Erfindung durch einen Fassadenfuß gelöst, der eine Bodenplatte und einen zwischen vertikalen Führungsbahnen der Bodenplatte höhenverstellbar angeordneten Aufnahmeschuh für das untere Ende des Pfostenprofils und jeweils eine in der Bodenplatte zwischen einer Stirnseite und einer Führungsbahn vorgesehene Durchsteckbohrung für eine Befestigungsschraube mit einem wesentlich größeren Durchmes­ser als der Durchmesser der Befestigungsschraube und mindestens eine der Durchsteckbohrung zugeordnete Verstellplatte aufweist, durch die der Schaft der Befestigungsschraube geführt ist und an der sich der Kopf der Befestigungsschraube abstützt.
  • Das in dem Aufnahmeschuh festgelegte Pfostenprofil kann mittels einer Stellschraube in vertikaler Richtung ausgerichtet werden.
  • Die Bodenplatte ist ferner so gestaltet, daß sie gegenüber ihren Befe­stigungsschrauben in ihrer Längsrichtung und in einer quer dazu laufen­den Richtung verstellbar ist.
  • Der erfindungsgemäße Fassadenfuß ist konstruktiv einfach aufgebaut, so daß die Montage, die Festlegung des Pfostenprofils im Aufnahmeschuh und die Verstellung in den genannten Dimensionen ohne Schwierigkeiten durchführbar sind.
  • Das Pfostenprofil, das im allgemeinen als Hohlkammerprofil ausgeführt wird, weist an der Stirnaußenseite Verankerungsnuten für Dichtungspro­fiie sowie eine Befestigungssnut, z.B. eine Schraubnut für Abdeckprofile auf. Zwischen diesen Verankerungs- bzw. Befestigungsnuten sind Rinnen oder Nuten zum Abführen des Sickerwassers angeordnet.
  • Das Pfostenprofil wird im Aufnahmeschuh bzw. im Fassadenfuß so angeord­net und festgelegt, daß die das Sickerwasser führenden Teile außerhalb des Fassadenfußes liegen und das Sickerwasser z.B. mittels einer Folie von dem jeweiligen Pfostenprofil aus dem Bereich des Fassadenfußes ab­geleitet werden kann.
  • Weitere Merkmale der Erfindung ergeben sich aus den Unteransprüchen. Ein Ausführungsbeispiel des erfindungsgemäßen Fassadenfußes ist in den Zeichnungen dargestellt und wird im folgenden beschrieben. Es zeigen:
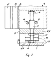
    • Fig. 1 den Fassadenfuß in perspektivischer Darstellung,
    • Fig. 2 den Fassadenfuß mit eingesetztem Pfostenprofil im Aufriß und auf der linken Seite teilweise demontiert und geschnitten, sowie
    • Fig. 3 einen Schnitt nach der Linie III-III in Fig. 2.
  • Der Fassadenfuß 1 weist eine Bodenplatte 2 mit vertikalen Führungsbah­nen 3 und einen Aufnahmeschuh 4 auf. Dieser Aufnahmeschuh 4 für das untere Ende 5 eines Pfostenprofils 6 ist im Vertikalschnitt U-förmig ausgebildet und ist mit Seitenwangen 7 ausgestattet, die an der Außen­seite Führungsstücke 8 tragen. Diese Führungsstücke sind in dem darge­stellten Ausführungsbeispiel einstückig mit den Seitenwangen ausgebil­det und greifen in die Führungsbahnen 3 ein, die durch vertikale Stege 9 begrenzt werden, die mit der Bodenplatte 2 einstückig sind.
  • Insbesondere aus der Fig. 2 ergibt sich, daß die Führungsstücke 8 den Boden 10 des Aufnahmeschuhs nach unten überragen. Hierdurch wird er­reicht, daß die untere Begrenzungsfläche 11 sich in der unteren End­stellung des Aufnahmeschuhs an eine Anschlagfläche 12 der Bodenplatte 2 legt. Durch die erwähnte Gestaltung der Führungsstücke 8 wird somit durch diese Führungsstücke die untere Endstellung des Aufnahmeschuhs bestimmt.
  • Zur Höhenverstellung des Aufnahmeschuhs 4 gegenüber der Bodenplatte 2 wird eine Stellschraube 13 verwendet, die sich mit ihrem Kopf 14 an der Grundplatte 2 abstützt und sich mit ihrem Schaft durch eine Bohrung im Boden 10 und in einer mit dem Boden einstückigen Leiste 15 erstreckt und in den Innenraum des Aufnahmeschuhs ragt. Am freien Ende ist der Gewindeschaft der Stellschraube mit einer Kontermutter 16 ausgerüstet, durch die im Zusammenwirken mit einem Distanzrohr 17, das den Gewinde­schaft umschließt und sich am Boden 10 abstützt, das obere Hubende des Aufnahmeschuhs bestimmt wird.
  • Im Aufnahmeschuh wird das Pfostenprofil 6 durch zwei parallel zueinander sich erstreckende Bolzen 18 festgelegt, wobei die Bolzen durch die Sei­tenwangen 7 des Aufnahmeschuhs geführt werden. Die Bolzen können als Gewindebolzen oder als gewindefreie Bolzen ausgeführt werden.
  • Beim Ausführungsbeispiel nach der Fig. 1 sind als Schrauben ausgebildete Gewindebolzen vorgesehen, während die Fig. 2 und 3 gewindefreie Bolzen 18 zeigen, die auf der einen Seite einen Kopf 19 aufweisen und auf der anderen Seite durch einen Splint festgelegt werden.
  • Die Höhenverstellung des Aufnahmeschuhs 4 erfolgt mittels einer Mutter 20, auf der sich der Boden 10 bzw. die Leiste 15 abstützt.
  • Aus der Fig. 3 ergibt sich, daß das Pfostenprofil aus dem Aufnahmeschuh 4 an der Vorderseite herausragt.
  • An der vorderen Stirnseite weist das Pfostenprofil mittig eine Schraub­nut 21 zum Festlegen von Abdeckprofilen und benachbart den Längsrändern Verankerungsnuten 22 für Dichtungsleisten auf. Zwischen der mittigen Schraubnut und einer Verankerungsnut für eine Dichtungsleiste ist bei dem Pfostenprofil jeweils eine Rinne 23 für Sickerwasser vorhanden, wobei diese Rinne durch einen Boden 24 begrenzt wird.
  • Aus der Fig. 3 ergibt sich, daß dieser Boden gegenüber der äußeren Be­grenzungsfläche 25 des Fassadenfußes nach außen versetzt ist, so daß am unteren Ende des Pfostenprofils eine den Boden 24 hintergreifende Folie vorgesehen werden kann, über die das Sickerwasser abgeführt wer­den kann.
  • Zur Verstellung des Fassadenfußes in Richtung der Längsachse 26 und in Querrichtung dazu sind in dem Ausführungsbeispiel eine Verstellplatte 27 und eine Grundplatte 28 vorgesehen. Ferner ist in dem Bereich der Bodenplatte zwischen einem Stirnende 29 und der Führungsbahn 3 eine Bohrung 30 angeordnet, deren Durchmesser ein Mehrfaches des Durchmes­sers der Befestigungsschraube 31 ist.
  • Die Grundplatte 28 erstreckt sich in Richtung der Längsachse 26 des Fassadenfußes über den Bereich der Bodenplatte 2 zwischen einer Stirn­leiste 32 und den die Führungsbahnen begrenzenden Stegen 9. Die Grund­platte weist in Längsrichtung sich erstreckende Randleisten 33 auf, die die Längsränder der Bodenplatte 2 umgreifen, so daß die Grund­ platte 28 auf der Bodenplatte 2 formschlüssig festgelegt ist. Die Grundplatte 28 ist ferner mit einer Bohrung 34a versehen, die mit der Bohrung 30 in der Bodenplatte 2 fluchtet.
  • Die obere Begrenzungsfläche der Grundplatte weist in Längsrichtung des Fassadenfußes sich erstreckende Riffelungen oder Verzahnungen 34b auf, in die an der Unterseite der Verstellplatte 27 vorgesehene Riffelungen oder Verzahnungen 35 eingreifen.
  • Aus der Fig. 2 folgt, daß die Verstellplatte an der Unterseite einen zylindrischen Stutzen 36 zum Durchstecken des Schaftes der Befestigungs­schraube 31 aufweist. Dieser Stutzen greift in die Bohrungen 34a und ein. Bei gelösten Befestigungsschrauben 31 kann der Fassadenfuß in Richtung der Längsachse 26 verschoben werden. Ferner besteht die Mög­lichkeit, die Riffelungen 34b und 35 außer Eingriff zu bringen, d.h. die Verstellplatte 27 anzuheben und eine Verstellung quer zur Längs­achse 26 vorzunehmen.
  • In Abwandlung der in den Zeichnungen dargestellten Ausführung ist es auch möglich, die obere Begrenzungsfläche der Bodenplatte 2 in einem an die Durchsteckbohrung 30 angrenzenden Bereich mit einer in Längs­richtung der Bodenplatte sich erstreckenden Riffelung oder Verzahnung zu versehen und auf diese profilierte Fläche die Verstellplatte 21 auf­zusetzen.
  • Bezugszeichen
    • 1 Fassadenfuß
    • 2 Bodenplatte
    • 3 Führungsbahn
    • 4 Aufnahmeschuh
    • 5 unteres Ende
    • 6 Pfostenprofil
    • 7 Seitenwange
    • 8 Führungsstück
    • 9 Steg
    • 10 Boden
    • 11 Begrenzungsfläche
    • 12 Anschlagfläche
    • 13 Stellschraube
    • 14 Kopf
    • 15 Leiste
    • 16 Kontermutter
    • 17 Distanzrohr
    • 18 Bolzen
    • 19 Kopf
    • 20 Mutter
    • 21 Schraubnut
    • 22 Verankerungsnut
    • 23 Rinne
    • 24 Boden
    • 25 Begrenzungsfläche
    • 26 Längsachse
    • 27 Verstellplatte
    • 28 Grundplatte
    • 29 Stirnende
    • 30 Bohrung
    • 31 Befestigungsschraube
    • 32 Stirnleiste
    • 33 Randleiste
    • 34a Bohrung
    • 34b Riffelung
    • 35 Verzahnung
    • 36 Stutzen

Claims (11)

1. Fassadenfuß für ein Pfostenprofil, gekennzeichnet durch eine Bodenplatte (2) und einen zwischen vertikalen Führungsbah­nen (3) der Bodenplatte (2) höhenverstellbar angeordneten Aufnahme­schuh (4) für das untere Ende des Pfostenprofils (6), durch jeweils eine in der Bodenplatte (2) zwischen einer Stirnseite und einer Füh­rungsbahn (3) vorgesehene Durchsteckbohrung (30) für eine Befestigungs­schraube (31) mit einem wesentlich größeren Durchmesser als der Durch­messer der Befestigungsschraube und durch mindestens eine der Durch­steckbohrung (30) zugeordnete Verstellplatte (27), durch die der Schaft der Befestigungsschraube geführt ist und an der sich der Kopf der Befe­stigungsschraube abstützt.
2. Fassadenfuß nach Anspruch 1, dadurch gekennzeichnet, daß der Auf­nahmeschuh (4) im Aufriß U-förmig ausgebildet ist und außen an den Sei­tenwangen (7) Führungsstücke (8) aufweist, die in die Führungsbahnen (3) eingreifen.
3. Fassadenfuß nach Anspruch 2, dadurch gekennzeichnet, daß die Füh­rungsstücke (8) mit den Seitenwangen (7) einstückig sind und den Boden (10) des Aufnahmeschuhs (4) nach unten überragen.
4. Fassadenfuß nach einem der Ansprüche 1 bis 3, dadurch gekennzeich­net, daß zur Höhenverstellung des Aufnahmeschuhs (4) gegenüber der Bo­denplatte (2) eine sich an der Bodenplatte mit ihrem abstützende, durch eine im Boden des Aufnahmeschuhs vorgesehene Gewindebohrung geführte Stellschraube (13) verwendet wird.
5. Fassadenfuß nach Anspruch 4, dadurch gekennzeichnet, daß der Hub der Stellschraube (13) durch ein den Gewindeschaft umschließendes, sich am Boden (10) des Aufnahmeschuhes (4) abstützendes und mit einer Konter­mutter (16) zusammenwirkendes Distanzrohr (17) begrenzt ist.
6. Fassadenfuß nach einem der vorhergehenden Ansprüche, dadurch gekenn­zeichnet, daß durch die Wangen (7) des Aufnahmeschuhs und durch das Pfostenprofil (6) parallel zum Boden des Aufnahmeschuhs sich erstrek­kende Bolzen (18) mit oder ohne Gewinde vorgesehen sind, die das Pfo­stenprofil im Aufnahmeschuh festlegen.
7. Fassadenfuß nach Anspruch 1, dadurch gekennzeichnet, daß das Pfosten­profil im Aufnahmeschuh (4) so angeordnet und festgelegt ist, daß seine das Sickerwasser aufnehmenden und abführenden Rinnen außerhalb des Be­reichs des Aufnahmeschuhs (4) liegen.
8. Fassadenfuß nach Anspruch 7, dadurch gekennzeichnet, daß der Boden (24) der das Sickerwasser abführenden Rinnen (23) des Pfostenprofils (6) zum Aufnahmeschuh und zu den übrigen Teilen des Fassadenfußes nach außen versetzt ist.
9. Fassadenfuß nach Anspruch 1, dadurch gekennzeichnet, daß die obere Begrenzungsfläche der Bodenplatte (2) in einem an eine Durchsteckboh­rung (30) für die Befestigungsschraube (31) angrenzenden Bereich mit einer in Längsrichtung der Bodenplatte (2) sich erstreckenden Riffelung oder Verzahnung ausgerüstet ist und auf die profilierte Fläche eine Verstellplatte (27) aufgesetzt ist, die an der Unterseite ebenfalls eine in Längsrichtung der Bodenplatte verlaufende Riffelung oder Ver­zahnung aufweist.
10. Fassadenfuß nach Anspruch 1, dadurch gekennzeichnet, daß auf der Bodenplatte (2) zur Abdeckung des an die Durchsteckbohrung (30) angren­zenden Bereichs eine Grundplatte (28) mit einer mit der Durchsteckboh­rung fluchtenden Bohrung (34a) und an der Oberseite mit einer Riffelung oder Verzahnung in Längsrichtung der Bodenplatte (2) angeordnet ist und auf die profilierte Fläche eine Verstellplatte (27) aufgesetzt ist, die an der Unterseite ebenfalls ein in Längsrichtung verlaufende Riffelung oder Verzahnung aufweist.
11. Fassadenfuß nach Anspruch 10, dadurch gekennzeichnet, daß die Ver­stellplatte (27) an der Unterseite einen zylindrischen Stutzen (36) zum Durchstecken der Befestigungsschraube (31) aufweist.
EP90121555A 1989-11-24 1990-11-10 Fassadenfuss für ein Pfostenprofil Expired - Lifetime EP0428962B1 (de)

Priority Applications (1)

Application Number Priority Date Filing Date Title
AT90121555T ATE91314T1 (de) 1989-11-24 1990-11-10 Fassadenfuss fuer ein pfostenprofil.

Applications Claiming Priority (2)

Application Number Priority Date Filing Date Title
DE3938871 1989-11-24
DE3938871A DE3938871A1 (de) 1989-11-24 1989-11-24 Fassadenfuss fuer ein pfostenprofil

Publications (3)

Publication Number Publication Date
EP0428962A2 true EP0428962A2 (de) 1991-05-29
EP0428962A3 EP0428962A3 (en) 1992-03-25
EP0428962B1 EP0428962B1 (de) 1993-07-07

Family

ID=6394080

Family Applications (1)

Application Number Title Priority Date Filing Date
EP90121555A Expired - Lifetime EP0428962B1 (de) 1989-11-24 1990-11-10 Fassadenfuss für ein Pfostenprofil

Country Status (8)

Country Link
EP (1) EP0428962B1 (de)
AT (1) ATE91314T1 (de)
DE (2) DE3938871A1 (de)
DK (1) DK0428962T3 (de)
ES (1) ES2043218T3 (de)
FI (1) FI92948C (de)
NO (1) NO177760C (de)
PT (1) PT95979B (de)

Cited By (8)

* Cited by examiner, † Cited by third party
Publication number Priority date Publication date Assignee Title
FR2694952A1 (fr) * 1992-08-18 1994-02-25 Aluvar Sa Système pour la fixation d'un raidisseur de mur-rideau sur un élément de construction.
NL1028915C2 (nl) * 2005-04-29 2006-10-31 Hendriks Aluminium Geveltechni Anker voor het verankeren van een gevelprofieldeel.
AT504064B1 (de) * 2006-08-10 2008-05-15 Mwt Micro Wood Technology Gmbh Auflagevorrichtung für einen fertigbauteil
WO2014076526A1 (en) * 2012-11-19 2014-05-22 Universita' Deglii Studi Di Padova Wall base structure for light buildings
CN111236506A (zh) * 2020-01-20 2020-06-05 福建省兴岩建设集团有限公司 一种干挂幕墙用短悬臂干挂装置
CN111997245A (zh) * 2020-08-13 2020-11-27 浙江大东吴建筑科技有限公司 一种插入式轻钢外挂墙板连接节点
WO2021109373A1 (zh) * 2019-12-05 2021-06-10 上海江河幕墙系统工程有限公司 一种三维可调的幕墙支座
DE102020132669A1 (de) 2020-12-08 2022-06-09 Raico Bautechnik Gmbh Befestigungseinrichtung und Verfahren zur Ausrichtung und Fixierung eines Pfostenprofils einer Pfosten-Riegel-Konstruktion

Families Citing this family (7)

* Cited by examiner, † Cited by third party
Publication number Priority date Publication date Assignee Title
DE20022089U1 (de) 2000-12-30 2001-04-26 Weitzmann, Eugen, 01920 Steina Giebelanker u.dgl.
DE20106025U1 (de) 2001-04-06 2001-06-28 Waidelich, Hans, 72226 Simmersfeld Verankerungselement zur Verankerung von Bauelementen
DE10236552B4 (de) * 2002-08-08 2004-07-22 Hilti Ag Verbindungselement für ein Montagesystem
CN105350692A (zh) * 2015-12-01 2016-02-24 深圳市三鑫幕墙工程有限公司 单元幕墙多角度侧挂装置
CN105350691A (zh) * 2015-12-01 2016-02-24 深圳市三鑫幕墙工程有限公司 幕墙侧挂装置
CN109469234B (zh) * 2018-11-15 2020-04-03 北京江河幕墙系统工程有限公司 一种坐式全玻幕墙顶底连接系统及其安装方法
DE102019133978A1 (de) * 2019-12-11 2021-06-17 Mepa - Pauli Und Menden Gmbh Befestigungsanordnung zur befestigung eines vorwandgestells einer sanitärinstallation

Family Cites Families (2)

* Cited by examiner, † Cited by third party
Publication number Priority date Publication date Assignee Title
US2914145A (en) * 1955-01-26 1959-11-24 Benson Russell Richard Curtain wall framing
DE2639552C2 (de) * 1976-09-02 1986-09-11 Haase, Walter, 2072 Jersbek Halterung für eine Bauwerksverkleidung

Cited By (12)

* Cited by examiner, † Cited by third party
Publication number Priority date Publication date Assignee Title
FR2694952A1 (fr) * 1992-08-18 1994-02-25 Aluvar Sa Système pour la fixation d'un raidisseur de mur-rideau sur un élément de construction.
EP0586320A1 (de) * 1992-08-18 1994-03-09 Alain Costa System zum Befestigen eines Versteifungselementes einer Vorhangfassade an einem Konstruktionselement
NL1028915C2 (nl) * 2005-04-29 2006-10-31 Hendriks Aluminium Geveltechni Anker voor het verankeren van een gevelprofieldeel.
AT504064B1 (de) * 2006-08-10 2008-05-15 Mwt Micro Wood Technology Gmbh Auflagevorrichtung für einen fertigbauteil
WO2014076526A1 (en) * 2012-11-19 2014-05-22 Universita' Deglii Studi Di Padova Wall base structure for light buildings
US9556610B2 (en) 2012-11-19 2017-01-31 Universita' Degli Studi Di Padova Wall base structure for light buildings
CN104968868B (zh) * 2012-11-19 2017-05-10 帕多瓦大学 用于轻型建筑物的墙体基座结构
WO2021109373A1 (zh) * 2019-12-05 2021-06-10 上海江河幕墙系统工程有限公司 一种三维可调的幕墙支座
CN111236506A (zh) * 2020-01-20 2020-06-05 福建省兴岩建设集团有限公司 一种干挂幕墙用短悬臂干挂装置
CN111997245A (zh) * 2020-08-13 2020-11-27 浙江大东吴建筑科技有限公司 一种插入式轻钢外挂墙板连接节点
DE102020132669A1 (de) 2020-12-08 2022-06-09 Raico Bautechnik Gmbh Befestigungseinrichtung und Verfahren zur Ausrichtung und Fixierung eines Pfostenprofils einer Pfosten-Riegel-Konstruktion
EP4012131A1 (de) 2020-12-08 2022-06-15 Raico Bautechnik GmbH Befestigungseinrichtung und verfahren zur ausrichtung und fixierung eines pfostenprofils einer pfosten-riegel-konstruktion

Also Published As

Publication number Publication date
NO905082L (no) 1991-05-27
PT95979B (pt) 1998-07-31
FI92948B (fi) 1994-10-14
DE3938871A1 (de) 1991-05-29
NO177760C (no) 1995-11-15
NO177760B (no) 1995-08-07
EP0428962A3 (en) 1992-03-25
EP0428962B1 (de) 1993-07-07
FI905794A7 (fi) 1991-05-25
NO905082D0 (no) 1990-11-23
ATE91314T1 (de) 1993-07-15
FI92948C (fi) 1995-01-25
PT95979A (pt) 1992-08-31
DE59001914D1 (de) 1993-08-12
ES2043218T3 (es) 1993-12-16
DK0428962T3 (da) 1993-12-13
FI905794A0 (fi) 1990-11-23

Similar Documents

Publication Publication Date Title
DE69705662T2 (de) Rollvorrichtung für Schiebetüren, Fenster oder ähnliches
EP0428962A2 (de) Fassadenfuss für ein Pfostenprofil
DE3343066A1 (de) Moebel mit hoehen- und/oder neigungsverstellbarer tischplatte
EP0729003A2 (de) Umfangsdichtung eines Plattenwärme-übertragers
DE202015106963U1 (de) Glasgeländer-Halteanordnung und Keil-Profilteil zur Verwendung in einer solchen Anordnung
EP0392341B1 (de) Festverglastes Holz/Metall Fenster
CH649802A5 (en) Panel-securing means for facade or roof structures
EP0687784B1 (de) Hochbauentwässerungsrinne
DE3529877C1 (en) Apparatus for bridging expansion joints
DE4210575A1 (de) Unterkonstruktion für Glasdächer und Glasfassaden
DE19511206C2 (de) Hochbauentwässerungsrinne
DE10150707C5 (de) Vorrichtung zur Aufnahme eines Lauforgans
DE10150709A1 (de) Markise
DE4332437C2 (de) Tisch und Tischsystem
DE4424916C2 (de) Verbundprofil
EP0687790B1 (de) Linearverbinder für hohle Abstandsprofile eines Mehrscheibenisolierglases
EP0877125B1 (de) Rahmen für die Montage von Sanitärartikeln
EP0383213B1 (de) Konsolenhalter
DE8803370U1 (de) Befestigungsvorrichtung für Fassaden-Bekleidungsplatten
DE3518200C1 (de) Treppenschalung
DE3426461C1 (de) Dichtungsvorrichtung
DE4321415C2 (de) Vorrichtung und Verfahren zum Verändern der Höhenposition eines Dachstuhls
DE3611827A1 (de) Haltevorrichtung fuer eine scheibe einer ladentheke
EP1435416A1 (de) Entwässerungsrinne sowie Verfahren zum Herstellen einer solchen Entwässerungsrinne
DE29514251U1 (de) Anschlagschiene für Türschwellen

Legal Events

Date Code Title Description
PUAI Public reference made under article 153(3) epc to a published international application that has entered the european phase

Free format text: ORIGINAL CODE: 0009012

AK Designated contracting states

Kind code of ref document: A2

Designated state(s): AT BE CH DE DK ES FR GB IT LI LU NL SE

PUAL Search report despatched

Free format text: ORIGINAL CODE: 0009013

AK Designated contracting states

Kind code of ref document: A3

Designated state(s): AT BE CH DE DK ES FR GB IT LI LU NL SE

17P Request for examination filed

Effective date: 19920221

17Q First examination report despatched

Effective date: 19920917

ITF It: translation for a ep patent filed
GRAA (expected) grant

Free format text: ORIGINAL CODE: 0009210

AK Designated contracting states

Kind code of ref document: B1

Designated state(s): AT BE CH DE DK ES FR GB IT LI LU NL SE

REF Corresponds to:

Ref document number: 91314

Country of ref document: AT

Date of ref document: 19930715

Kind code of ref document: T

GBT Gb: translation of ep patent filed (gb section 77(6)(a)/1977)

Effective date: 19930709

REF Corresponds to:

Ref document number: 59001914

Country of ref document: DE

Date of ref document: 19930812

ET Fr: translation filed
REG Reference to a national code

Ref country code: DK

Ref legal event code: T3

EPTA Lu: last paid annual fee
REG Reference to a national code

Ref country code: ES

Ref legal event code: FG2A

Ref document number: 2043218

Country of ref document: ES

Kind code of ref document: T3

PLBE No opposition filed within time limit

Free format text: ORIGINAL CODE: 0009261

STAA Information on the status of an ep patent application or granted ep patent

Free format text: STATUS: NO OPPOSITION FILED WITHIN TIME LIMIT

26N No opposition filed
EAL Se: european patent in force in sweden

Ref document number: 90121555.8

REG Reference to a national code

Ref country code: GB

Ref legal event code: IF02

PGFP Annual fee paid to national office [announced via postgrant information from national office to epo]

Ref country code: LU

Payment date: 20021125

Year of fee payment: 13

PG25 Lapsed in a contracting state [announced via postgrant information from national office to epo]

Ref country code: LU

Free format text: LAPSE BECAUSE OF NON-PAYMENT OF DUE FEES

Effective date: 20031110

PG25 Lapsed in a contracting state [announced via postgrant information from national office to epo]

Ref country code: IT

Free format text: LAPSE BECAUSE OF NON-PAYMENT OF DUE FEES;WARNING: LAPSES OF ITALIAN PATENTS WITH EFFECTIVE DATE BEFORE 2007 MAY HAVE OCCURRED AT ANY TIME BEFORE 2007. THE CORRECT EFFECTIVE DATE MAY BE DIFFERENT FROM THE ONE RECORDED.

Effective date: 20051110

PGFP Annual fee paid to national office [announced via postgrant information from national office to epo]

Ref country code: NL

Payment date: 20051117

Year of fee payment: 16

PGFP Annual fee paid to national office [announced via postgrant information from national office to epo]

Ref country code: SE

Payment date: 20051122

Year of fee payment: 16

Ref country code: ES

Payment date: 20051122

Year of fee payment: 16

PGFP Annual fee paid to national office [announced via postgrant information from national office to epo]

Ref country code: BE

Payment date: 20051123

Year of fee payment: 16

PGFP Annual fee paid to national office [announced via postgrant information from national office to epo]

Ref country code: DK

Payment date: 20051124

Year of fee payment: 16

PG25 Lapsed in a contracting state [announced via postgrant information from national office to epo]

Ref country code: SE

Free format text: LAPSE BECAUSE OF NON-PAYMENT OF DUE FEES

Effective date: 20061111

PGFP Annual fee paid to national office [announced via postgrant information from national office to epo]

Ref country code: FR

Payment date: 20061117

Year of fee payment: 17

PGFP Annual fee paid to national office [announced via postgrant information from national office to epo]

Ref country code: AT

Payment date: 20061122

Year of fee payment: 17

PGFP Annual fee paid to national office [announced via postgrant information from national office to epo]

Ref country code: CH

Payment date: 20061123

Year of fee payment: 17

Ref country code: GB

Payment date: 20061123

Year of fee payment: 17

PG25 Lapsed in a contracting state [announced via postgrant information from national office to epo]

Ref country code: DK

Free format text: LAPSE BECAUSE OF NON-PAYMENT OF DUE FEES

Effective date: 20061130

Ref country code: BE

Free format text: LAPSE BECAUSE OF NON-PAYMENT OF DUE FEES

Effective date: 20061130

PGFP Annual fee paid to national office [announced via postgrant information from national office to epo]

Ref country code: DE

Payment date: 20061222

Year of fee payment: 17

PG25 Lapsed in a contracting state [announced via postgrant information from national office to epo]

Ref country code: NL

Free format text: LAPSE BECAUSE OF NON-PAYMENT OF DUE FEES

Effective date: 20070601

REG Reference to a national code

Ref country code: DK

Ref legal event code: EBP

EUG Se: european patent has lapsed
NLV4 Nl: lapsed or anulled due to non-payment of the annual fee

Effective date: 20070601

BERE Be: lapsed

Owner name: *SCHUCO INTERNATIONAL K.G.

Effective date: 20061130

REG Reference to a national code

Ref country code: ES

Ref legal event code: FD2A

Effective date: 20061111

PG25 Lapsed in a contracting state [announced via postgrant information from national office to epo]

Ref country code: ES

Free format text: LAPSE BECAUSE OF NON-PAYMENT OF DUE FEES

Effective date: 20061111

GBPC Gb: european patent ceased through non-payment of renewal fee

Effective date: 20071110

PG25 Lapsed in a contracting state [announced via postgrant information from national office to epo]

Ref country code: LI

Free format text: LAPSE BECAUSE OF NON-PAYMENT OF DUE FEES

Effective date: 20071130

Ref country code: CH

Free format text: LAPSE BECAUSE OF NON-PAYMENT OF DUE FEES

Effective date: 20071130

REG Reference to a national code

Ref country code: CH

Ref legal event code: PL

PG25 Lapsed in a contracting state [announced via postgrant information from national office to epo]

Ref country code: AT

Free format text: LAPSE BECAUSE OF NON-PAYMENT OF DUE FEES

Effective date: 20071110

PG25 Lapsed in a contracting state [announced via postgrant information from national office to epo]

Ref country code: DE

Free format text: LAPSE BECAUSE OF NON-PAYMENT OF DUE FEES

Effective date: 20080603

REG Reference to a national code

Ref country code: FR

Ref legal event code: ST

Effective date: 20080930

PG25 Lapsed in a contracting state [announced via postgrant information from national office to epo]

Ref country code: GB

Free format text: LAPSE BECAUSE OF NON-PAYMENT OF DUE FEES

Effective date: 20071110

PG25 Lapsed in a contracting state [announced via postgrant information from national office to epo]

Ref country code: FR

Free format text: LAPSE BECAUSE OF NON-PAYMENT OF DUE FEES

Effective date: 20071130