EP0364465B1 - Holzbalken für blockhäuser od. dgl. und bearbeitungsmaschine für einen holzbalken - Google Patents

Holzbalken für blockhäuser od. dgl. und bearbeitungsmaschine für einen holzbalken Download PDF

Info

Publication number
EP0364465B1
EP0364465B1 EP88904384A EP88904384A EP0364465B1 EP 0364465 B1 EP0364465 B1 EP 0364465B1 EP 88904384 A EP88904384 A EP 88904384A EP 88904384 A EP88904384 A EP 88904384A EP 0364465 B1 EP0364465 B1 EP 0364465B1
Authority
EP
European Patent Office
Prior art keywords
bore
axis
wooden beam
grooves
wood beam
Prior art date
Legal status (The legal status is an assumption and is not a legal conclusion. Google has not performed a legal analysis and makes no representation as to the accuracy of the status listed.)
Expired - Lifetime
Application number
EP88904384A
Other languages
English (en)
French (fr)
Other versions
EP0364465A1 (de
Inventor
Anton Plankensteiner
Current Assignee (The listed assignees may be inaccurate. Google has not performed a legal analysis and makes no representation or warranty as to the accuracy of the list.)
Individual
Original Assignee
Individual
Priority date (The priority date is an assumption and is not a legal conclusion. Google has not performed a legal analysis and makes no representation as to the accuracy of the date listed.)
Filing date
Publication date
Application filed by Individual filed Critical Individual
Publication of EP0364465A1 publication Critical patent/EP0364465A1/de
Application granted granted Critical
Publication of EP0364465B1 publication Critical patent/EP0364465B1/de
Anticipated expiration legal-status Critical
Expired - Lifetime legal-status Critical Current

Links

Images

Classifications

    • EFIXED CONSTRUCTIONS
    • E04BUILDING
    • E04BGENERAL BUILDING CONSTRUCTIONS; WALLS, e.g. PARTITIONS; ROOFS; FLOORS; CEILINGS; INSULATION OR OTHER PROTECTION OF BUILDINGS
    • E04B2/00Walls, e.g. partitions, for buildings; Wall construction with regard to insulation; Connections specially adapted to walls
    • E04B2/56Load-bearing walls of framework or pillarwork; Walls incorporating load-bearing elongated members
    • E04B2/70Load-bearing walls of framework or pillarwork; Walls incorporating load-bearing elongated members with elongated members of wood
    • E04B2/701Load-bearing walls of framework or pillarwork; Walls incorporating load-bearing elongated members with elongated members of wood with integrated supporting and obturation function
    • E04B2/702Load-bearing walls of framework or pillarwork; Walls incorporating load-bearing elongated members with elongated members of wood with integrated supporting and obturation function with longitudinal horizontal elements

Definitions

  • the invention relates to a wooden beam for log houses or the like, which is provided with at least one connecting area for forming a corner connection with intersecting neighboring beams, in which a bore is provided in each bearing surface of the wooden beam and a continuous groove is provided in both side surfaces over the height of the wooden beam. the bottom of which is missing in the area of each bore, the four side walls of both grooves lying in two planes intersecting one another in the bore axis, and a processing machine for its production.
  • Such a wooden beam can be found, for example, in FR-E-25905.
  • the two holes extend about a quarter of the beam height, so that the remaining core comprises about half.
  • a small gap can thus remain between the cores of the interlocking beams, so that the wooden beams can lose the tightness of the corner connection in particular in the event of any subsequent shrinkage.
  • the bearing surfaces are usually provided with interlocking grooves and webs or the like.
  • Such beams are shown, for example, in EP-A-157 161, wherein in the corner connection area there is a transverse incision in the upper bearing area with webs, which comprises half the height of the beam, and recesses in the two side surfaces of the non-grooved half of the beam.
  • the lower longitudinal grooves for engaging in the webs of the underlying beam bearing surface has no incision, so that on the contact surface of the core remaining through the incisions and recesses in the connection area extending perpendicular to the wooden beam webs can also be provided in the Engage in the longitudinal grooves of the crossing wooden beam.
  • the processing machine has a milling cutter which can be moved transversely to the wooden beam to form the incision and a milling cutter pair which can be displaced perpendicularly to the wooden beam to produce the lateral recesses.
  • the invention has now set itself the task of providing a mechanically manufactured wooden beam, as well as a processing machine, which lead to dense layers in the connection area regardless of the internal angle between the walls to be created.
  • the bottom surfaces of the two holes have opposite, circular gradations in a wooden beam of the type mentioned.
  • the interlocking of the circularly stepped bottom surfaces of the bores ensures the tightness of the connection area even in the event of later shrinkage.
  • the engagement of the gradations is independent of the crossing angle, since the side walls of the grooves lie in the axial plane of the bores even when a non-right-angled corner connection is formed. These then correspond to the diagonals of a parallelogram having oblique angles.
  • the walls will preferably include internal angles between 60 ° and 135 °.
  • the only variable variable is the angle that the plane of symmetry of the grooves includes with the perpendicular to the longitudinal center plane of the wooden beam.
  • the diameter of the bore corresponds to the thickness of the wooden beam.
  • each groove is preferably curved in accordance with the radius of the bore, so that an exact fit between the individual wooden beams is achieved. It would also be conceivable, among other things, to design the bottom, i.e. the outer surface of the core remaining between the bores, so that when the wooden beams are placed one on top of the other, a cavity with a circular segment cross section remains between the flat surface of the core of one wooden beam and the bore side wall of the second wooden beam .
  • an embodiment of a processing machine for producing a wooden beam according to the invention is characterized by a pair of axially displaceable drilling tools which lie opposite one another in the drilling axis and have mutually graduated end faces, and by a milling head which can be rotated about the drilling axis and which carries at least one slot milling cutter which can be displaced in parallel outside the drilling axis.
  • the milling head carries two mutually opposite slot cutters, which can be moved individually or jointly parallel to the drill axis.
  • the maximum swivel angle of the milling head for the mentioned meaningful inner angle range is only 30 ° on both sides of its basic position required for the right-angled corner connection, according to the calculation examples given.
  • a drilling tool passes through the rotatable milling head in the center.
  • each slot cutter consists of a one-piece, rotating tool, its preferred embodiment, which leads to minimal weakening of the wooden beams, has a generatrix which consists of a concave central section comprising a quarter-circle arc, the radius of curvature of which corresponds to the drilling radius, and straight lines which adjoin each other perpendicularly Sections exists.
  • each wooden beam 1 has, while maintaining a corner piece 8 projecting beyond the corner, a bore 3 on each horizontal bearing surface 2 which comprises a quarter of the height of the wooden beam 1 and whose diameter corresponds to the thickness of the wooden beam 1.
  • both vertical side surfaces 4 continuous grooves 5 are provided over the entire height, the side walls of which are numbered 7. Since the diameter of the bore 3 corresponds to the thickness of the wooden beam 1, a bottom of the groove 5 remains only in the middle over half the height of the wooden beam, the bottom representing a surface of the core 6 remaining as a connecting area, which is curved. The curvature follows the cylindrical surface of the bores 3, that is to say the core 6 appears cylindrical after the bores 3 and both grooves 5 have been produced. As can be seen above all from FIGS. 2 to 4, the side walls 7 of the grooves 5 run in the axial planes of the bore axis 10 and are in each case perpendicular to one another regardless of the internal angle ⁇ .
  • FIG. 2 shows a right-angled corner connection in which the plane of symmetry 9 of the grooves is perpendicular to the longitudinal center plane 18 of the wooden beam 1 runs, the two planes 9, 18 crossing each other in the bore axis 10.
  • the angle ⁇ between the two planes 9, 18 corresponds to the inner angle ⁇ , that is to say both are 90 °.
  • This also applies to an internal angle ⁇ of 120 °.
  • the plane of symmetry 9 thus extends to the longitudinal center plane 18 at an angle ⁇ of 75 ° or 105 °.
  • the plane of symmetry 9 includes an angle ⁇ of 65.6 ° or 112.5 ° with the longitudinal center plane 18 of the wooden beam 1.
  • a processing machine accordingly comprises a pair of drilling tools 11 for producing bores 3 in the two bearing surfaces 2 of the wooden beam 1.
  • the two coaxial drilling tools 11 can be displaced in the direction of the double arrows B.
  • a milling head 12 can be rotated about the drilling axis 10, the pivot angle ⁇ remaining relatively small, as stated above, even with extreme internal angles ⁇ .
  • the milling head 12 is provided with a central opening 16, through which a drilling tool 11 is guided, and carries two slot cutters 13, either individually or jointly can be moved parallel to the drilling tools 11 together with the milling head 12 in the direction of the double arrow A, and serve to produce the grooves 5 in the side faces 4 of the wooden beam 1.
  • the arrangement of the slot cutters 13 and their axes of rotation 17 for the pair of slots of the two wooden beams 1 is also indicated in FIGS. 2 to 4.
  • the two slot cutters 13 lie diametrically opposite one another to the drilling axis 10 and each have a generatrix which is composed of a quarter-circular section 13 which determines the bottom of the slot 5, the radius of which corresponds to the radius of the drilling tools 11, and straight sections 15 which adjoin on both sides is, which run at right angles to each other and determine the side walls 7 of the groove 5. 5 that the side walls 7 have different angles to the side surface 4 and different widths in all pivoted positions of the milling head 12.
  • the generator could also be flat in section 14, which results in small cavities with a circular segment cross section when the wooden beams 1 are joined together.
  • FIG. 7 a section of a wooden beam 1 is now shown, in which the bottom of the holes 3 is stepped according to the invention.
  • a raised step 19 is shown in the upper side and a depression 20 is shown on the lower side.
  • Drilling tools suitable for forming such bores 21 have opposite face gradations.
  • the corner connection with wooden beams 1 according to the invention is shown in FIG. 8 in a representation corresponding to FIG. 3.

Landscapes

  • Engineering & Computer Science (AREA)
  • Architecture (AREA)
  • Physics & Mathematics (AREA)
  • Electromagnetism (AREA)
  • Civil Engineering (AREA)
  • Structural Engineering (AREA)
  • Joining Of Building Structures In Genera (AREA)
  • Rod-Shaped Construction Members (AREA)
  • Chemical And Physical Treatments For Wood And The Like (AREA)
  • Milling Processes (AREA)

Description

  • Die Erfindung betrifft einen Holzbalken für Blockhäuser oder dergleichen, der zur Ausbildung einer Eckverbindung mit überkreuzenden Nachbarbalken mit mindestens einem Verbindungsbereich versehen ist, in dem in jeder Lagerfläche des Holzbalkens eine Bohrung und in beiden Seitenflächen je eine über die Höhe des Holzbalkens durchgehende Nut vorgesehen ist, deren Boden im Bereich jeder Bohrung fehlt, wobei die vier Seitenwände beider Nuten in zwei einander in der Bohrachse schneidenden Ebenen liegen, sowie eine Bearbeitungsmaschine zu dessen Herstellung.
  • Ein derartiger Holzbalken ist beispielsweise der FR-E-25905 zu entnehmen. Die beiden Bohrungen erstrecken sich etwa über ein Viertel der Balkenhöhe, sodaß der verbleibende Kern etwa die Hälfte umfaßt. Beim Aufbau der Eckverbindung kann somit zwischen den Kernen der ineinandergreifenden Balken ein kleiner Spalt verbleiben, sodaß insbesondere auch bei einem etwaigen späteren Schwinden die Holzbalken die Dichtheit der Eckverbindung verloren gehen kann.
  • Um trotz aufgrund von Schwinden oder Verziehen entstehenden Spalten zwischen den Lagerflächen die Dichtheit zu gewährleisten, sind die Lagerflächen meist mit ineinandergreifenden Nuten und Stegen oder dergleichen versehen. Derartige Balken zeigt etwa die EP-A-157 161, wobei im Eckverbindungsbereich ein querverlaufender Einschnitt in der oberen, Stege aufweisenden Lagerfläche, die die halbe Balkenhöhe umfaßt, und Aussparungen in den beiden Seitenflächen der nichtgenuteten Balkenhälfte vorgesehen sind. Die untere Längsnuten zum Eingriff in die Stege des darunterliegenden Balkens aufweisende Lagerfläche weist keinen Einschnitt auf, sodaß an der Auflagefläche des durch die Einschnitte und Aussparungen im Verbindungsbereich verbleibenden Kerns senkrecht zum Holzbalken verlaufende Stege vorgesehen sein können, die ebenfalls in die Längsnuten des kreuzenden Holzbalkens eingreifen. Die Bearbeitungsmaschine weist einen quer zum Holzbalken bewegbaren Fräser zur Ausbildung des Einschnittes und ein senkrecht zum Holzbalken verschiebbares Fräserpaar zur Herstellung der seitlichen Aussparungen auf.
  • Bisher wurden meist nur rechtwinkelige Eckverbindungen maschinell hergestellt, da Eckverbindungen in einem beliebigen, schiefen Winkel nur mit hohem Aufwand erzeugbare Sonderausführungen darstellen. Für einen bestimmten Kreuzungswinkel ist es aus der US-A-1,708,163 bekannt geworden, schrägverlaufende Einschnitte in beiden Lagerflächen auszubilden, und in die Seitenflächen des Holzbalkens Nuten zu fräsen, deren Breite sich zum Nutengrund hin verkleinert. Dies erlaubt es, Nutenfräser entsprechender Ausbildung senkrecht zu den Seitenflächen anzusetzen, deren Arbeitsebenen in Längsrichtung des Holzbalkens versetzt sind. Jeder unterschiedliche Kreuzungswinkel erfordert dabei zumindest eine Veränderung der Arbeitsebenen der beiden Fräser. Nuten und Stege an den Lagerflächen der im Verbindungsbereich verbleibenden Kerne sind nicht vorgesehen, und deren Ausbildung würde eine Veränderung des Kreuzungswinkels zusätzlich verkomplizieren.
  • Für eine rationelle schiefwinklige Eckenausbildung werden daher bisher Behelfslösungen verwendet, die keinen direkten Eckverbund aufweisen. So ist beispielsweise aus dem DE-U-84 05 913 ein Blockbohlensaunahaus bekannt geworden, bei dem an zylindrischen Eckpfeilern Nutprofile befestigt werden, die die waagrechten Holzbalken aufnehmen, sodaß unterschiedliche Eckwinkel herstellbar sind. Die Dichtheit der Eckverbindung wird dabei durch vertikale Dichtungsstreifen zwischen den Nutprofilen und den Eckpfeilern erzielt.
  • Die Erfindung hat es sich nun zur Aufgabe gestellt, einen maschinell in einfacher Weise gefertigten Holzbalken, sowie eine Bearbeitungsmaschine zur Verfügung zu stellen, die im Verbindungsbereich unabhängig vom Innenwinkel zwischen den zu erstellenden Wänden zu dichten Lageiflächen führen.
  • Zur Lösung dieser Aufgabe weisen bei einem Holzbalken der eingangs genannten Art die Bodenflächen der beiden Bohrungen gegengleiche, kreisförmige Abstufungen auf. Durch das Ineinandergreifen der gegengleich kreisförmig abgestuften Bodenflächen der Bohrungen ist die Dichtheit des Verbindungsbereiches auch bei späterem Schwinden gegeben. Der Eingriff der Abstufungen ist unabhängig vom Kreuzungswinkel gegeben, da die Seitenwände der Nuten auch bei der Ausbildung einer nichtrechtwinkligen Eckverbindung in Axialebene der Bohrungen liegen. Diese entsprechen dann den Diagonalen eines, schiefe Winkel aufweisenden Parallelogrammes.
  • Der oben erwähnte Innenwinkel wird 45° kaum unterschreiten, er wird andererseits aber auch 150° kaum überschreiten. In der Praxis werden die Wände bevorzugt Innenwinkel zwischen 6o° und 135° einschließen. Zur Erzielung eines gewünschten Innenwinkels stellt die einzige variable Größe jener Winkel dar, den die Symmetrieebene der Nuten mit der Senkrechten zur Längsmittelebene des Holzbalkens einschließt. Dieser Winkel entspricht, da die Seitenwände der Nuten bevorzugt zueinander senkrecht ausgerichtet sind, der halben Differenz zwischen dem gewünschten Innenwinkel der Wände und 9o°, das heißt für einen gewünschten Innenwinkel von 60° schließt die Symmetrieebene der Nuten mit der Senkrechten zur Längsmittelebene des Holzbalkens einen Winkel von 15° (= 90-60 2 )
    Figure imgb0001
    , für einen gewünschten Innenwinkel von 120° ebenfalls einen Winkel von 15° (= 120-90 2 )
    Figure imgb0002
    und für einen gewünschten Innenwinkel von 135° einen Winkel von 22,5° (= 135-90 2 )
    Figure imgb0003
    Figure imgb0004
    ein. Dabei gilt diese Winkelabweichung von der Senkrechten als absoluter Betrag, da ein mathematisches Vorzeichen nur die Zuordnung zur inneren oder äußeren Seitenfläche des Holzbalkens bedeuten würde. Für die Herstellung rechtwinkliger Blockwände ergibt sich für die Symmetrieebene keine Winkelabweichung von der Senkrechten (d.h. 90-90° 2
    Figure imgb0005
    = 0°).
  • Um vor allem bei Grenzwinkeln des sinnvollen Innenwinkelbereiches die Schwächung der Holzbalken so gering als möglich zu halten, ist bevorzugt vorgesehen, daß der Durchmesser der Bohrung der Dicke des Holzbalkens entspricht.
  • Zwischen den in die Bohrung offenen Abschnitten ist der Boden jeder Nut bevorzugt entsprechend dem Radius der Bohrung gekrümmt, sodaß ein exakter Paßsitz zwischen den einzelnen Holzbalken erzielt wird. Es wäre unter anderem aber auch denkbar, den Boden, das heißt die Außenfläche des zwischen den Bohrungen verbleibenden Kernes eben auszubilden, sodaß beim übereinandersetzen der Holzbalken jeweils zwischen der ebenen Fläche des Kernes des einen Holzbalkens und der Bohrungsseitenwand des zweiten Holzbalkens ein Hohlraum mit Kreissegmentquerschnitt verbleibt.
  • Wie oben dargelegt, ist jeder Innenwinkel nur von der Abweichung der Nuten von der Senkrechten abhängig, sodaß eine erfindungsgemäße Ausführung einer Bearbeitungsmaschine zur Herstellung eines Holzbalkens gekennzeichnet ist durch ein Paar von axial verschiebbaren Bohrwerkzeugen, die in der Bohrachse einander gegenüberliegen und gegengleich abgestufte Stirnflächen aufweisen, und durch einen um die Bohrachse verdrehbaren Fräskopf, der mindestens einen außerhalb der Bohrachse parallel verschiebbaren Nutenfräser trägt.
  • In einer bevorzugten Ausführung trägt der Fräskopf zwei einander gegenüberliegende Nutenfräser, die einzeln oder gemeinsam parallel zur Bohrerachse verschiebbar sind.
  • Dabei beträgt der maximale Schwenkwinkel des Fräskopfes für den erwähnten, sinnvollen Innenwinkelbereich entsprechend den angeführten Rechenbeispielen nur 30° beiderseits seiner für die rechtwinklige Eckverbindung notwendigen Grundstellung.
  • Weiters ist bevorzugt vorgesehen, daß ein Bohrwerkzeug den verdrehbaren Fräskopf mittig durchsetzt.
  • Besteht jeder Nutenfräser aus einem einstückigen, rotierenden Werkzeug, so weist seine bevorzugte Ausführung, die zu einer minimalen Schwächung der Holzbalken führt, eine Erzeugende auf, die aus einem einen Viertelkreisbogen umfassenden konkaven Mittelabschnitt, dessen Krümmungsradius dem Bohrradius entspricht, und aus beidseitig senkrecht anschließenden geraden Abschnitten besteht.
  • Nachstehend werden nun die Figuren der beiliegenden Zeichnungen näher beschrieben.
  • Es zeigen:
    • Fig. 1 eine Explosionszeichnung von vier Holzbalken,
    • Fig. 2 eine Darstellung des Standes der Technik,
    • Fig. 3 bis 4 Draufsichten auf zwei nichtrechtwinklige Eckverbindungen,
    • Fig. 5 schematisch eine Seitenansicht wesentlicher Teile einer Bearbeitungsmaschine, und
    • Fig. 6 einen Schnitt nach der Linie VI-VI der Fig. 5, jeweils ohne Abstufung der Bodenflächen der Bohrungen,
    • Fig. 7 einen Schnitt ähnlich Fig. 6 durch eine erfindungsgemäße Ausführung einer Bearbeitungsmaschine, und
    • Fig. 8 eine Draufsicht auf eine damit hergestellte, erfindungsgemäße Eckverbindung.
  • In Fig. 1 sind Endbereiche von vier Holzbalken 1 gezeigt, die für eine Eckverbindung ausgebildet sind. Jeder Holzbalken 1 weist unter Beibehaltung eines über die Ecke überstehenden Kopfstückes 8 an jeder horizontalen Lagerfläche 2 eine Bohrung 3 auf, die ein Viertel der Höhe des Holzbalkens 1 umfaßt, und deren Durchmesser der Dicke des Holzbalkens 1 entspricht.
  • In beiden vertikalen Seitenflächen 4 sind über die gesamte Höhe durchgehende Nuten 5 vorgesehen, deren Seitenwände mit 7 beziffert sind. Da der Durchmesser der Bohrung 3 der Dicke des Holzbalkens 1 entspricht, verbleibt ein Boden der Nut 5 nur in der Mitte über die halbe Höhe des Holzbalkens, wobei der Boden eine Fläche des als Verbindungsbereich verbleibenden Kernes 6 darstellt, die erhaben gekrümmt ist. Die Krümmung folgt dabei der Zylinderfläche der Bohrungen 3, das heißt der Kern 6 erscheint nach Herstellung der Bohrungen 3 und beider Nuten 5 zylindrisch. Wie vor allem aus den Fig. 2 bis 4 ersichtlich, verlaufen die Seitenwände 7 der Nuten 5 in Axialebenen der Bohrungsachse 10 und sind unabhängig vom Innenwinkel γ jeweils zueinander rechtwinklig.
  • Durch diese Ausbildung wird ein beliebiger Innenwinkel γ zwischen den Blockwänden wählbar, ohne daß an der Bearbeitungsmaschine wesentliche Änderungen vorgenommen werden müssen. Beispiele dafür zeigen die Fig. 2 bis 4. In Fig. 2 ist eine rechtwinklige Eckverbindung gezeigt, in der die Symmetrieebene 9 der Nuten senkrecht zur Längsmittelebene 18 des Holzbalkens 1 verläuft, wobei die beiden Ebenen 9, 18, einander in der Bohrungsachse 10 kreuzen. Der Winkel α zwischen den beiden Ebenen 9, 18 entspricht dem Innenwinkel γ, das heißt beide sind 90°.
  • In Fig. 3 ist eine Eckverbindung dargestellt, in der der Innenwinkel γ = 60° ist. Die Symmetrieebene 9 der Nuten 5 ist hiezu um den Winkel β um die Bohrungsachse 10 verdreht, wobei der Winkel β die halbe Differenz zwischen dem Innenwinkel γ und 90° darstellt (2 β = 90° - γ , bzw. 2 β = γ -90°) und in Fig. 3 somit 15° beträgt. Dies trifft auch für einen Innenwinkel γ von 120° zu. Die Symmetrieebene 9 verläuft dadurch zur Längsmittelebene 18 in einem Winkel α von 75° bzw. 105°.
  • In Fig. 4 ist eine sehr stumpfe Eckverbindung gezeigt. Dort beträgt der Winkel γ 135°, woraus sich ein Winkel β von 22,5° ergibt. Die Symmetrieebene 9 schließt in dieser Ausführung einen Winkel α von 65,6° bzw. 112,5° mit der Längsmittelebene 18 des Holzbalkens 1 ein.
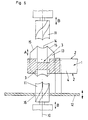
  • Zur Wahl eines gewünschten Innenwinkels γ ist somit nur eine Schwenkung der Symmetrieebene 9 um die Bohrachse 10 erforderlich, woraus sich eine sehr einfache, insbesondere aus den Fig. 5 und 6 ersichtliche Bearbeitung ergibt. Eine Bearbeitungsmaschine umfaßt demzufolge ein Paar von Bohrwerkzeugen 11 zur Herstellung von Bohrungen 3 in den beiden Lagerflächen 2 des Holzbalkens 1. Die beiden koaxialen Bohrwerkzeuge 11 sind in Richtung der Doppelpfeile B verschiebbar. Um die Bohrachse 10 ist ein Fräskopf 12 verdrehbar, wobei, wie oben ausgeführt, auch bei extremen Innenwinkeln γ der Schwenkwinkel β verhältnismäßig klein bleibt. Der Fräskopf 12 ist mit einer mittigen Öffnung 16 versehen, durch die ein Bohrwerkzeug 11 geführt ist, und trägt zwei Nutenfräser 13, die einzeln oder gemeinsam oder zusammen mit dem Fräskopf 12 in Richtung des Doppelpfeiles A parallel zu den Bohrwerkzeugen 11 verschiebbar sind, und zur Herstellung der Nuten 5 in den Seitenflächen 4 des Holzbalkens 1 dienen.
  • Die Anordnung der Nutenfräser 13 und ihrer Drehachsen 17 für die Nutenpaare der beiden Holzbalken 1 ist auch in den Fig. 2 bis 4 angedeutet. Die beiden Nutenfräser 13 liegen diametral zur Bohrachse 10 einander gegenüber und weisen jeweils eine Erzeugende auf, die sich aus einem den Boden der Nut 5 bestimmenden viertelkreisbogenförmigen Abschnitt 13, wobei dessen Radius dem Radius der Bohrwerkzeuge 11 entspricht, und aus beidseitig anschließenden geraden Abschnitten 15 zusammengesetzt ist, die zueinander im rechten Winkel verlaufen und die Seitenwände 7 der Nut 5 bestimmen. Vor allem aus Fig. 5 ist erkennbar, daß in allen verschwenkten Stellungen des Fräskopfes 12 die Seitenwände 7 unterschiedliche Winkel zur Seitenfläche 4 und unterschiedliche Breiten aufweisen. Die Erzeugende könnte im Abschnitt 14 aber auch eben ausgebildet sein, wodurch sich beim Zusammenfügen der Holzbalken 1 kleine Hohlräume mit Kreissegmentquerschnitt ergeben.
  • Die Bearbeitung aller Holzbalken zweier schiefwinklig aneinanderstoßender Seitenwände kann in derselben Einstellung des Fräskopfes erfolgen, da die erforderliche Gegengleichheit durch Verdrehen der Holzbalken 1 um die Längsachse erreicht werden kann.
  • In Fig. 7 ist nun ein Schnitt eines Holzbalkens 1 dargestellt, in der der Boden der Bohrungen 3 erfindungsgemäß abgestuft ist. In der Oberseite ist eine hochstehende Stufe 19 und an der Unterseite eine Vertiefung 20 gezeigt. Zur Ausbildung derartiger Bohrungen geeignete Bohrwerkzeuge 21 weisen gegengleiche Stirnflächenabstufungen auf. Die Eckverbindung mit erfindungsgemäßen Holzbalken 1 ist in Fig. 8 in einer der Fig. 3 entsprechenden Darstellung gezeigt.
  • Es ergibt sich somit eine Bereicherung der Gestaltungsmöglichkeiten insbesondere im Blockhausbau, indem beispielsweise vorspringende Erker, Abschrägungen, Nischen usw., gegebenenfalls auch völlig schiefwinklige Bauten mit dichten Falzverbindungen ausführbar sind.

Claims (7)

1. Holzbalken für Blockhäuser oder dergleichen, der zur Ausbildung einer Eckverbindung mit überkreuzenden Nachbarbalken mit mindestens einem Verbindungsbereich versehen ist, in dem in jeder Lagerfläche (2) des Holzbalkens (1) eine Bohrung (3) und in beiden Seitenflächen (4) je eine über die Höhe des Holzbalkens (1) durchgehende Nut (5) vorgesehen ist, deren Boden im Bereich jeder Bohrung fehlt, wobei die vier Seitenwände (7) beider Nuten (5) in zwei einander in der Bohrachse (10) schneidenden Ebenen liegen, dadurch gekennzeichnet, daß die Bodenflächen der beiden Bohrungen (3) gegengleiche, kreisförmige Abstufungen (19,20) aufweisen.
2. Holzbalken nach Anspruch 1, dadurch gekennzeichnet, daß zur Ausbildung einer nichtrechtwinkligen Eckverbindung die Seitenwände (7) der beiden Nuten (5) in den Diagonalen eines, schiefe Winkel aufweisenden Parallelogrammes liegen.
3. Holzbalken nach Anspruch 1 oder 2, dadurch gekennzeichnet, daß der Durchmesser jeder Bohrung (3) der Dicke des Holzbalkens (1) entspricht.
4. Bearbeitungsmaschine zur Herstellung von Holzbalken (1) mit einem Eckverbindungsbereich, in dem in jeder Lagerfläche (2) eine Bohrung (3) und in beiden Seitenflächen (4) je eine über die Höhe durchgehende Nut (5) vorgesehen ist, deren Boden im Bereich der Bohrung fehlt, wobei die vier Seitenwände (7) beider Nuten (5) in zwei einander in der Bohrachse (10) schneidenden Ebenen liegen, gekennzeichnet durch ein Paar von axial verschiebbaren Bohrwerkzeugen (21), die in der Bohrachse (10) einander gegenüberliegen und gegengleich abgestufte Stirnflächen aufweisen, und durch einen um die Bohrachse (10) verdrehbaren Fräskopf (12), der mindestens einen außerhalb der Bohrachse (10) parallel verschiebbaren Nutenfräser (13) trägt.
5. Bearbeitungsmaschine nach Anspruch 4, dadurch gekennzeichnet, daß der Fräskopf (12) zwei einander gegenüberliegende Nutenfräser (13) trägt, die einzeln oder gemeinsam parallel zur Bohrachse (10) verschiebbar sind.
6. Bearbeitungsmaschine nach Anspruch 4 oder 5, dadurch gekennzeichnet, daß eines der beiden Bohrwerkzeuge (21) den verdrehbaren Fräskopf (12) mittig durchsetzt.
7. Bearbeitungsmaschine nach einem der Ansprüche 4 bis 6, dadurch gekennzeichnet, daß jeder Nutenfräser (13) eine Erzeugende aufweist, die aus einem einen Viertelkreisbogen umfassenden konkaven Mittelabschnitt (14), dessen Krümmungsradius dem Bohrradius entspricht, und aus beidseitig senkrecht anschließenden geraden Abschnitten besteht.
EP88904384A 1987-06-10 1988-06-07 Holzbalken für blockhäuser od. dgl. und bearbeitungsmaschine für einen holzbalken Expired - Lifetime EP0364465B1 (de)

Applications Claiming Priority (2)

Application Number Priority Date Filing Date Title
AT1461/87 1987-06-10
AT0146187A AT394072B (de) 1987-06-10 1987-06-10 Holzbalken fuer blockhaeuser od.dgl.

Publications (2)

Publication Number Publication Date
EP0364465A1 EP0364465A1 (de) 1990-04-25
EP0364465B1 true EP0364465B1 (de) 1992-02-12

Family

ID=3514420

Family Applications (1)

Application Number Title Priority Date Filing Date
EP88904384A Expired - Lifetime EP0364465B1 (de) 1987-06-10 1988-06-07 Holzbalken für blockhäuser od. dgl. und bearbeitungsmaschine für einen holzbalken

Country Status (4)

Country Link
EP (1) EP0364465B1 (de)
AT (2) AT394072B (de)
DE (2) DE3868407D1 (de)
WO (1) WO1988009852A1 (de)

Family Cites Families (10)

* Cited by examiner, † Cited by third party
Publication number Priority date Publication date Assignee Title
FR25905E (fr) * 1921-12-29 1923-06-22 Nouveau mode de construction économique de maisons en bois, solides et durables
US1708163A (en) * 1928-05-07 1929-04-09 Trouth Ralph Henry Building construction
AT261867B (de) * 1964-02-04 1968-05-10 Walter Ing Witschnig Bauelement
DE8405913U1 (de) * 1984-02-27 1984-05-24 Pomplun, Dieter, 4709 Bergkamen Blockbohlensauna
EP0157161A1 (de) * 1984-03-02 1985-10-09 Oertli Werkzeuge Ag Strickholzbalken, Fräsmaschine zum Herstellen desselben und Gebäude hergestellt mit Strickholzbalken
DE3447648C2 (de) * 1984-12-28 1986-12-11 Garbade, Rolf, 2804 Lilienthal Verfahren und Vorrichtung zur gewichtsmäßigen Erfassung von Material, vorzugsweise Müll, bei der Entleerung in ein Sammelfahrzeug
DE3722184C2 (de) * 1986-07-21 1988-10-20 Zoeller Kipper Vorrichtung zum entleeren von behaeltern
US4771837A (en) * 1986-10-20 1988-09-20 Breakthru Industries, Inc. Weighing system
DE8713945U1 (de) * 1987-10-15 1987-12-23 Ettinger, Werner, 8523 Baiersdorf Eckverbindung aus Schwellenmaterial für Blockhäuser od. dgl.
DD264755A1 (de) * 1987-10-28 1989-02-08 Radebeul Rapido Waegetechnik Waegeeinrichtung zum einsatz auf fahrzeugen, insbesondere auf fischereifahrzeugen

Also Published As

Publication number Publication date
DE8807458U1 (de) 1988-09-15
DE3868407D1 (de) 1992-03-26
ATA146187A (de) 1991-07-15
WO1988009852A1 (fr) 1988-12-15
EP0364465A1 (de) 1990-04-25
AT394072B (de) 1992-01-27
ATE72592T1 (de) 1992-02-15

Similar Documents

Publication Publication Date Title
DE3104735C2 (de)
DE3103583A1 (de) "puzzle-wuerfel"
DE4139185A1 (de) Hohler profilstab, insbesondere aus leichtmetall
DE804120C (de) Wand fuer ein Gebaeude
DE2313041A1 (de) Mit einem gleichartigen zu einem geschlossenen kastenprofil zusammensteckbares profil
DE2719107A1 (de) Mauerstein
DE29922003U1 (de) Bauelement aus Kunststein
DE727517C (de) Plattenfoermiges Bauspielelement
DE2615891C2 (de)
EP0364465B1 (de) Holzbalken für blockhäuser od. dgl. und bearbeitungsmaschine für einen holzbalken
DE4143352C2 (de) Profilstab
DE3622258C2 (de) Bauplatte
EP0261532A1 (de) Eckverbinder für Hohlprofile
EP0584659B1 (de) Bausatz zum Herstellen einer Glasbausteinwand
DE19647911C2 (de) Aus Pfosten und Riegeln in Form von Hohlprofilen bestehende Rahmenkonstruktion
DE3904600A1 (de) Mauerstein fuer installationsschlitze
EP0157161A1 (de) Strickholzbalken, Fräsmaschine zum Herstellen desselben und Gebäude hergestellt mit Strickholzbalken
DE8601945U1 (de) Aus geblähten Stoffen bestehendes Bauelement
DE3615247C2 (de)
DE3730679C2 (de)
DE4402708A1 (de) Element zum Aufbau von Knotenstücken für Flächen- und Raumtragwerke
CH365015A (de) Aus einem klotzförmigen Teil und aus einem Verbindungsteil bestehendes Bauelement
EP4008846A1 (de) Hauptprofil für den bau einer geodätischen kuppel
DE3900486C1 (de)
AT500671B1 (de) Eckstoss

Legal Events

Date Code Title Description
PUAI Public reference made under article 153(3) epc to a published international application that has entered the european phase

Free format text: ORIGINAL CODE: 0009012

17P Request for examination filed

Effective date: 19891208

AK Designated contracting states

Kind code of ref document: A1

Designated state(s): AT CH DE FR IT LI NL SE

17Q First examination report despatched

Effective date: 19901228

GRAA (expected) grant

Free format text: ORIGINAL CODE: 0009210

AK Designated contracting states

Kind code of ref document: B1

Designated state(s): AT CH DE FR IT LI NL SE

PG25 Lapsed in a contracting state [announced via postgrant information from national office to epo]

Ref country code: SE

Effective date: 19920212

Ref country code: NL

Effective date: 19920212

Ref country code: FR

Effective date: 19920212

REF Corresponds to:

Ref document number: 72592

Country of ref document: AT

Date of ref document: 19920215

Kind code of ref document: T

ITF It: translation for a ep patent filed
REF Corresponds to:

Ref document number: 3868407

Country of ref document: DE

Date of ref document: 19920326

EN Fr: translation not filed
NLV1 Nl: lapsed or annulled due to failure to fulfill the requirements of art. 29p and 29m of the patents act
PLBE No opposition filed within time limit

Free format text: ORIGINAL CODE: 0009261

STAA Information on the status of an ep patent application or granted ep patent

Free format text: STATUS: NO OPPOSITION FILED WITHIN TIME LIMIT

26N No opposition filed
PGFP Annual fee paid to national office [announced via postgrant information from national office to epo]

Ref country code: CH

Payment date: 19970619

Year of fee payment: 10

PG25 Lapsed in a contracting state [announced via postgrant information from national office to epo]

Ref country code: LI

Free format text: LAPSE BECAUSE OF NON-PAYMENT OF DUE FEES

Effective date: 19980630

Ref country code: CH

Free format text: LAPSE BECAUSE OF NON-PAYMENT OF DUE FEES

Effective date: 19980630

PGFP Annual fee paid to national office [announced via postgrant information from national office to epo]

Ref country code: AT

Payment date: 19980630

Year of fee payment: 11

PGFP Annual fee paid to national office [announced via postgrant information from national office to epo]

Ref country code: DE

Payment date: 19980707

Year of fee payment: 11

REG Reference to a national code

Ref country code: CH

Ref legal event code: PL

PG25 Lapsed in a contracting state [announced via postgrant information from national office to epo]

Ref country code: AT

Free format text: LAPSE BECAUSE OF NON-PAYMENT OF DUE FEES

Effective date: 19990607

PG25 Lapsed in a contracting state [announced via postgrant information from national office to epo]

Ref country code: DE

Free format text: LAPSE BECAUSE OF NON-PAYMENT OF DUE FEES

Effective date: 20000503

PG25 Lapsed in a contracting state [announced via postgrant information from national office to epo]

Ref country code: IT

Free format text: LAPSE BECAUSE OF NON-PAYMENT OF DUE FEES

Effective date: 20050607