EP0347639B1 - Verfahren zum Reinigen einer verfugten Oberfläche von Mörtelresten - Google Patents
Verfahren zum Reinigen einer verfugten Oberfläche von Mörtelresten Download PDFInfo
- Publication number
- EP0347639B1 EP0347639B1 EP89110172A EP89110172A EP0347639B1 EP 0347639 B1 EP0347639 B1 EP 0347639B1 EP 89110172 A EP89110172 A EP 89110172A EP 89110172 A EP89110172 A EP 89110172A EP 0347639 B1 EP0347639 B1 EP 0347639B1
- Authority
- EP
- European Patent Office
- Prior art keywords
- mortar
- stone
- joints
- joint
- stones
- Prior art date
- Legal status (The legal status is an assumption and is not a legal conclusion. Google has not performed a legal analysis and makes no representation as to the accuracy of the status listed.)
- Expired - Lifetime
Links
- 239000004570 mortar (masonry) Substances 0.000 title claims description 33
- 238000000034 method Methods 0.000 title claims description 4
- 238000004140 cleaning Methods 0.000 claims description 2
- 239000002344 surface layer Substances 0.000 claims description 2
- 239000004575 stone Substances 0.000 description 21
- 210000001503 joint Anatomy 0.000 description 9
- 230000008961 swelling Effects 0.000 description 9
- 239000003795 chemical substances by application Substances 0.000 description 7
- 239000010410 layer Substances 0.000 description 3
- 230000015572 biosynthetic process Effects 0.000 description 2
- 230000000694 effects Effects 0.000 description 2
- 238000009434 installation Methods 0.000 description 2
- 239000011505 plaster Substances 0.000 description 2
- 239000011324 bead Substances 0.000 description 1
- 239000003093 cationic surfactant Substances 0.000 description 1
- 239000011440 grout Substances 0.000 description 1
- 239000007788 liquid Substances 0.000 description 1
- 238000004519 manufacturing process Methods 0.000 description 1
- 238000002360 preparation method Methods 0.000 description 1
- 230000002265 prevention Effects 0.000 description 1
- 230000009974 thixotropic effect Effects 0.000 description 1
- 230000000007 visual effect Effects 0.000 description 1
- 238000005406 washing Methods 0.000 description 1
- XLYOFNOQVPJJNP-UHFFFAOYSA-N water Substances O XLYOFNOQVPJJNP-UHFFFAOYSA-N 0.000 description 1
Images
Classifications
-
- E—FIXED CONSTRUCTIONS
- E01—CONSTRUCTION OF ROADS, RAILWAYS, OR BRIDGES
- E01C—CONSTRUCTION OF, OR SURFACES FOR, ROADS, SPORTS GROUNDS, OR THE LIKE; MACHINES OR AUXILIARY TOOLS FOR CONSTRUCTION OR REPAIR
- E01C5/00—Pavings made of prefabricated single units
- E01C5/003—Pavings made of prefabricated single units characterised by material or composition used for beds or joints; characterised by the way of laying
-
- E—FIXED CONSTRUCTIONS
- E04—BUILDING
- E04F—FINISHING WORK ON BUILDINGS, e.g. STAIRS, FLOORS
- E04F15/00—Flooring
- E04F15/02—Flooring or floor layers composed of a number of similar elements
- E04F15/02005—Construction of joints, e.g. dividing strips
- E04F15/02016—Construction of joints, e.g. dividing strips with sealing elements between flooring elements
Definitions
- the invention is therefore based on the object of avoiding the formation of a recessed joint surface after using a post-treatment agent.
- the solution according to the invention is that a swelling mortar is used for filling the joints, which is allowed to swell beyond the desired joint filling level before it hardens.
- Spring mortars are known. They are characterized by the fact that their volume increases due to the formation of fine gas bubbles. The extent of the volume increase and its time course can be influenced in the desired manner by means which are familiar to the person skilled in the art. According to the invention, they are chosen such that after filling and pulling off the joints, the mortar increases in volume such that the mortar grows just above the height difference over the stone surface that is prevented from setting under the action of the aftertreatment agent. The boundary between the non-setting and the setting mortar is then approximately at the level of the stone surface. This limit is also the surface of the mortar after washing off the layer which has not set under the influence of the post-treatment agent.
- Mortar in the sense of the prevailing terminology does not include mortar which, after it has solidified, is able to absorb liquid and, under the influence of which, shows swelling by which it is pressed tightly against the joint walls (DE-A 20 18 348).
- Such mortars are of course not suitable for the invention, since the swelling which takes place only after hardening is not capable of the change in height required according to the invention.
- the mortar is preferably used in such a consistency that the joints can be flooded with mortar, so that the installation takes place quickly over a large area.
- the time for filling the joints is then short compared to the swelling time of the mortar, so that the same swelling results are achieved over a large area.
- the procedure is such that after the preparation and transport of the mortar to the installation site, the joint spaces are flooded with the mortar and the pavement surface is pulled off almost flush.
- the aftertreatment agent is sprayed on, which is expediently (as known from DE-A 36 29 738) thixotropic in order to ensure the effect for a sufficient time.
- the major part of the mortar swelling should take place after the aftertreatment has been removed or applied. Since the expansion can only take place towards the pavement surface, the mortar swells slightly beyond the stone banks. The following day, the paved area is cleaned with water and the undesirable excess mortar in the joint area is removed.
- the remaining mortar surface in the joint area adjacent to the stone is slightly recessed compared to the middle joint area. This is because the increase in the mortar surface during the swelling process in the immediate vicinity of the stones due to the friction on the stone flanks is less than in the middle of the joint, so that the mortar swells in an arc over the stone surface. While its height above the stone surface in the central area corresponds approximately to the depth of action of the aftertreatment agent, it is less in the immediate vicinity of the stones, so that the setting prevention takes effect below the level of the stone surface. After cleaning the plaster surface, slight depressions are formed in the mortar adjacent to the stones, whereby the individual stone of the dressing stands out well in terms of its visual effect.
- the invention is preferably used when grouting paving surfaces because the joint density is particularly high there. However, it can also be advantageous when grouting panel surfaces or other end surfaces that do not necessarily have to be horizontal.
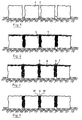
- Fig. 1 shows the stones 1 of the natural stone paving set with the joints 2, not yet grouted.
- Fig. 2 shows the joints with grout 3 and removed.
- the aftertreatment agent 4 is applied in the form of a layer. The swelling of the mortar is not yet apparent.
- raised beads 5 have formed which are higher in the central area 6 than in the areas 7 adjacent to the stones 1.
- the mortar residues 8 remaining on the stones 1 are washed off in accordance with the depth of action of the aftertreatment agent 4.
- a mortar surface remains in the joints, which only reaches approximately the height of the stone surface in the joint middle regions 9, while it is recessed in the regions 10 adjacent to the stones, so that the stone edges 11 protrude plastically.
Landscapes
- Engineering & Computer Science (AREA)
- Architecture (AREA)
- Civil Engineering (AREA)
- Structural Engineering (AREA)
- Road Paving Structures (AREA)
- Finishing Walls (AREA)
- Devices For Post-Treatments, Processing, Supply, Discharge, And Other Processes (AREA)
Description
- Es ist bekannt (DE-A 36 29 738, DE-C 29 44 910), eine verfugte Pflasteroberfläche von Mörtelresten dadurch zu reinigen, daß die Mörtelreste durch einen Abbindeverzögerer oder kationische Tenside am Abbinden gehindert und anschließend abgespritzt werden. Die Einwirkungs- und Abwaschtiefe liegt dabei in der Größenordnung einiger Millimeter, und zwar natürlich nicht nur oberhalb der Plastersteine, sondern auch im Fugenbereich. Da die über den Steinen abzuwaschende Schicht in der Regel geringer als diese Einwirkungstiefe ist, wird die Mörteloberfläche im Fugenbereich um einige Millimeter gegenüber der Oberfläche der angrenzenden Steine vertieft. Dies ist bei Großpflaster (Reihenpflaster) nicht nachteilig oder sogar erwünscht. Bei Kleinpflaster ist hingegen oft eine möglichst glatte, vertiefungsfreie Oberfläche erwünscht.
- Der Erfindung liegt daher die Aufgabe zugrunde, die Bildung einer vertieften Fugenoberfläche nach Verwendung eines Nachbehandlungsmittels zu vermeiden.
- Die erfindungsgemäße Lösung besteht darin, daß ein Quellmörtel für die Füllung der Fugen verwendet wird, den man vor seiner Aushärtung über die gewünschte Fugenfüllhöhe hinaus quellen läßt.
- Quellmörtel sind bekannt. Sie zeichnen sich dadurch aus, daß ihr Volumen sich durch Bildung feiner Gasblasen vergrößert. Das Ausmaß der Volumenvergrößerung sowie ihr zeitlicher Ablauf lassen sich durch Mittel, die dem Fachmann vertraut sind, in gewünschter Weise beeinflussen. Sie werden erfindungsgemäß so gewählt, daß nach dem Füllen und Abziehen der Fugen ein solcher Volumenzuwachs des Mörtels erfolgt, daß der Mörtel gerade um diejenige Höhendifferenz über die Steinoberfläche hinauswächst, die unter der Einwirkung des Nachbehandlungsmittels am Abbinden gehindert wird. Die Grenze zwischen dem nicht abbindenden und dem abbindenden Mörtel liegt dann etwa in der Höhe der Steinoberfläche. Diese Grenze ist auch die Oberfläche des Mörtels nach dem Abwaschen der unter dem Einfluß des Nachbehandlungsmittels nicht abgebundenen Schicht.
- Nicht zu dem Quellmörteln im Sinne der herrschenden Terminologie gehören solche Mörtel, die nach ihrer Erstarrung Flüssigkeit aufzusaugen vermögen und unter deren Einfluß eine Quellung zeigen, durch die sie dicht an die Fugenwände angepreßt werden (DE-A 20 18 348). Solche Mörtel sind für die Erfindung selbstverständlich nicht geeignet, da die erst nach der Erhärtung stattfindende Quellung nicht zu der erfindungsgemäß notwendigen Höhenänderung fähig sind.
- Vorzugsweise wird der Mörtel in solcher Konsistenz angewendet, daß die Fugen mit Mörtel geflutet werden können, so daß der Einbau großflächig rasch vonstatten geht. Die Zeit des Fugenfüllens ist dann gering im Vergleich mit der Quellzeit des Mörtels, so daß großflächig gleiche Quellergebnisse erzielt werden. Man verfährt dabei so, daß nach der Aufbereitung und dem Transport des Mörtels zur Einbaustelle die Fugenräume mit dem Mörtel geflutet werden und die Pflasteroberfläche nahezu bündig abgezogen wird. Anschließend wird sofort das Nachbehandlungsmittel aufgesprüht, das zweckmaßigerweise (wie aus der DE-A 36 29 738 bekannt) thixotropiert ist, um die Einwirkung während einer hinreichenden Zeit sicherzustellen.
- Der wesentliche Teil der Mörtelquellung soll nach dem Abziehen oder dem Auftragen des Nachbehandlungsmittels stattfinden. Da die Expansion nur zur Pflasteroberfläche hin erfolgen kann, quillt der Mörtel leicht über die Steinufer hinaus. Am folgenden Tag wird die Pflasterfläche mit Wasser gereinigt und werden die unerwünschten Mörtelüberhöhungen im Fugenbereich abgetragen.
- Dabei zeigt sich, daß die verbleibende Mörteloberfläche im Fugenbereich angrenzend an den Stein leicht vertieft ist gegenüber dem mittleren Fugenbereich. Das liegt daran, daß die Anhebung der Mörteloberfläche während des Quellvorgangs in unmittelbarer Nähe der Steine infolge der Reibung an den Steinflanken geringer ist als in der Fugenmitte, so daß der Mörtel bogenförmig über die Steinoberfläche hinausquillt. Während seine Höhe über der Steinoberfläche im mittleren Bereich etwa der Einwirkungstiefe des Nachbehandlungsmittels entspricht, ist sie in der unmittelbaren Nachbarschaft der Steine geringer, so daß dort die Abbindeverhinderung bis unter das Niveau der Steinoberfläche wirksam wird. Es bilden sich nach dem Reinigen der Pflasteroberfläche angrenzend an die Steine leichte Vertiefungen im Mörtel, wodurch sich der einzelne Stein des Verbandes in der optischen Wirkung plastisch gut abhebt.
- Bevorzugt wird die Erfindung beim Verfugen von Pflasterflächen angewendet, weil dort die Fugendichte besonders groß ist. Jedoch kann sie auch beim Verfugen von Plattenflächen oder anderen Stirnflächen vorteilhaft sein, die auch nicht unbedingt horizontal sein müssen.
- Die Erfindung wird im folgenden anhand der Zeichnung erläutert, die in vier Figuren aufeinanderfolgende Herstellungsstadien veranschaulicht.
- Fig. 1 zeigt die Steine 1 des Natursteinpflasters mit den Fugen 2 gesetzt, noch nicht verfugt.
- Fig. 2 zeigt die Fugen mit Fugenmörtel 3 vergossen und abgezogen. Das Nachbehandlungsmittel 4 ist in Form einer Schicht aufgetragen. Die Quellung des Mörtels ist noch nicht erkennbar.
- Gemäß Fig. 3 haben sich nach Abschluß der Quellphase über den Fugen erhöhte Wülste 5 gebildet, die im Mittelbereich 6 höher sind als in den an die Steine 1 angrenzenden Bereichen 7.
- Gemäß Fig. 4 sind die auf den Steinen 1 verbliebenen Mörtelreste 8 (Fig. 3) einschließlich einer entsprechend dicken Oberflächenschicht des die Fugen füllenden Mörtels entsprechend der Einwirkungstiefe des Nachbehandlungsmittels 4 abgewaschen. In den Fugen ist eine Mörteloberfläche verblieben, die lediglich in den Fugenmittelbereichen 9 etwa die Höhe der Steinoberfläche erreicht, während sie in den an die Steine angrenzenden Bereichen 10 vertieft ist, so daß die Steinkanten 11 plastisch hervortreten.
Claims (1)
Applications Claiming Priority (2)
| Application Number | Priority Date | Filing Date | Title |
|---|---|---|---|
| DE3820798A DE3820798A1 (de) | 1988-06-20 | 1988-06-20 | Verfahren zum reinigen einer verfugten oberflaeche von moertelresten |
| DE3820798 | 1988-06-20 |
Publications (2)
| Publication Number | Publication Date |
|---|---|
| EP0347639A1 EP0347639A1 (de) | 1989-12-27 |
| EP0347639B1 true EP0347639B1 (de) | 1992-02-26 |
Family
ID=6356851
Family Applications (1)
| Application Number | Title | Priority Date | Filing Date |
|---|---|---|---|
| EP89110172A Expired - Lifetime EP0347639B1 (de) | 1988-06-20 | 1989-06-05 | Verfahren zum Reinigen einer verfugten Oberfläche von Mörtelresten |
Country Status (2)
| Country | Link |
|---|---|
| EP (1) | EP0347639B1 (de) |
| DE (2) | DE3820798A1 (de) |
Families Citing this family (2)
| Publication number | Priority date | Publication date | Assignee | Title |
|---|---|---|---|---|
| DE102006019006A1 (de) * | 2006-04-25 | 2007-10-31 | Pci Augsburg Gmbh | Verfahren zur Verhinderung der beim Verfugen von Pflastersteinbelägen auftretenden Fleckenbildungen |
| CN107642217A (zh) * | 2017-08-28 | 2018-01-30 | 北京宝莲纳新材料技术有限公司 | 高效无缝石坪施工工艺 |
Family Cites Families (3)
| Publication number | Priority date | Publication date | Assignee | Title |
|---|---|---|---|---|
| AT293465B (de) * | 1969-04-21 | 1971-10-11 | Ebenseer Betonwerke Gmbh | Aus Formsteinen, insbesondere Betonformsteinen, bestehender Bodenbelag |
| DE2944910C2 (de) * | 1979-11-07 | 1984-01-05 | Fa. Steinhandel Becker, 4300 Essen | Verfahren zum Verfugen von Pflasterflächen aus Natursteinen |
| DE3629738A1 (de) * | 1985-09-02 | 1987-03-05 | Lothar Mansfeld | Verfahren zum verfugen von pflaster |
-
1988
- 1988-06-20 DE DE3820798A patent/DE3820798A1/de not_active Withdrawn
-
1989
- 1989-06-05 EP EP89110172A patent/EP0347639B1/de not_active Expired - Lifetime
- 1989-06-05 DE DE8989110172T patent/DE58900857D1/de not_active Expired - Lifetime
Also Published As
| Publication number | Publication date |
|---|---|
| EP0347639A1 (de) | 1989-12-27 |
| DE58900857D1 (de) | 1992-04-02 |
| DE3820798A1 (de) | 1989-12-21 |
Similar Documents
| Publication | Publication Date | Title |
|---|---|---|
| EP0347639B1 (de) | Verfahren zum Reinigen einer verfugten Oberfläche von Mörtelresten | |
| EP0722014B1 (de) | Mehrschichtverbundstein | |
| DE1817606A1 (de) | Abdichtung ruhender Wasserhaltungen | |
| DE3247944A1 (de) | Verfahren zur untergrundversickerung von niederschlagswasser | |
| DE4339816C2 (de) | Pflasterstein | |
| DE2509909B2 (de) | Verfahren zum Herstellen einer Rinnensohle in einem Revisionsschacht und Platte zum Durchführen des Verfahrens | |
| DE69717909T2 (de) | Verfahren zur Reinigung von porösen Oberflächen mit einer Flüssigkeit die enzymatisch aktive Bakterien enthält | |
| DE3629738C2 (de) | ||
| AT404614B (de) | Verfahren zur herstellung von dachgefällen | |
| DE2635017A1 (de) | Fachwerkkonstruktion | |
| DE3522501A1 (de) | Filtertisch | |
| DE2038674B2 (de) | Wasserdurchlaessiges deckwerk fuer uferboeschungen o.dgl. | |
| DE8131881U1 (de) | Pflasterstein | |
| DE2547717C2 (de) | Verfahren zur Herstellung eines geschütteten Erdstaudammes | |
| DE4244333A1 (de) | Verbundstein bzw. Verbundplatte | |
| DE1708675B1 (de) | Verbundstein,insbesondere Pflasterstein,und Vorrichtung zu dessen Herstellung | |
| DE2043122A1 (de) | Verfahren und Vorrichtung zur Fertigung von Fugen in Beton- und/oder Zementputzböden | |
| CH687629A5 (de) | Behaelter und Verfahren zu seiner Herstellung. | |
| DE361680C (de) | Verfahren und Vorrichtung zur Entfernung des Sinkschlammes aus dem unteren Teil des Klaerbeckens | |
| DE3201692A1 (de) | Kerndichtung in dammbauwerken fuer talsperren | |
| DE2054356A1 (de) | Fertigteil und Verfahren zur Her stellung des Fertigteil | |
| DE736752C (de) | Verfahren zum Herstellen wasserdurchlaessiger, standfester Decken fuer Plaetze | |
| DD219814A1 (de) | Verfahren zur hydraulischen aufhaldung von staubfoermigem bis feinkoernigen spuelgut | |
| EP4622445A1 (de) | Substrat zur kultivierung von pflanzen, verfahren zur herstellung von substrat und verwendung von substrat | |
| DE1708675C (de) | Verbundstein, insbesondere Pflasterstein, und Vorrichtung zu dessen Herstellung |
Legal Events
| Date | Code | Title | Description |
|---|---|---|---|
| PUAI | Public reference made under article 153(3) epc to a published international application that has entered the european phase |
Free format text: ORIGINAL CODE: 0009012 |
|
| AK | Designated contracting states |
Kind code of ref document: A1 Designated state(s): BE DE FR NL |
|
| 17P | Request for examination filed |
Effective date: 19891204 |
|
| 17Q | First examination report despatched |
Effective date: 19910308 |
|
| GRAA | (expected) grant |
Free format text: ORIGINAL CODE: 0009210 |
|
| AK | Designated contracting states |
Kind code of ref document: B1 Designated state(s): BE DE FR NL |
|
| REF | Corresponds to: |
Ref document number: 58900857 Country of ref document: DE Date of ref document: 19920402 |
|
| ET | Fr: translation filed | ||
| PLBE | No opposition filed within time limit |
Free format text: ORIGINAL CODE: 0009261 |
|
| STAA | Information on the status of an ep patent application or granted ep patent |
Free format text: STATUS: NO OPPOSITION FILED WITHIN TIME LIMIT |
|
| 26N | No opposition filed | ||
| PGFP | Annual fee paid to national office [announced via postgrant information from national office to epo] |
Ref country code: FR Payment date: 20000517 Year of fee payment: 12 |
|
| PGFP | Annual fee paid to national office [announced via postgrant information from national office to epo] |
Ref country code: NL Payment date: 20000620 Year of fee payment: 12 |
|
| PGFP | Annual fee paid to national office [announced via postgrant information from national office to epo] |
Ref country code: BE Payment date: 20000623 Year of fee payment: 12 |
|
| PG25 | Lapsed in a contracting state [announced via postgrant information from national office to epo] |
Ref country code: BE Free format text: LAPSE BECAUSE OF NON-PAYMENT OF DUE FEES Effective date: 20010630 |
|
| PGFP | Annual fee paid to national office [announced via postgrant information from national office to epo] |
Ref country code: DE Payment date: 20010821 Year of fee payment: 13 |
|
| BERE | Be: lapsed |
Owner name: KOCK HEINZ Effective date: 20010630 Owner name: MANSFELD LOTHAR Effective date: 20010630 |
|
| PG25 | Lapsed in a contracting state [announced via postgrant information from national office to epo] |
Ref country code: NL Free format text: LAPSE BECAUSE OF NON-PAYMENT OF DUE FEES Effective date: 20020101 |
|
| PG25 | Lapsed in a contracting state [announced via postgrant information from national office to epo] |
Ref country code: FR Free format text: LAPSE BECAUSE OF NON-PAYMENT OF DUE FEES Effective date: 20020228 |
|
| NLV4 | Nl: lapsed or anulled due to non-payment of the annual fee |
Effective date: 20020101 |
|
| PG25 | Lapsed in a contracting state [announced via postgrant information from national office to epo] |
Ref country code: DE Free format text: LAPSE BECAUSE OF NON-PAYMENT OF DUE FEES Effective date: 20030101 |