EP0342470B1 - Handschuh insbesondere für einen radioaktive Stoffe enthaltenden Handschuhkasten und Verfahren zu seiner Herstellung - Google Patents

Handschuh insbesondere für einen radioaktive Stoffe enthaltenden Handschuhkasten und Verfahren zu seiner Herstellung Download PDF

Info

Publication number
EP0342470B1
EP0342470B1 EP89108251A EP89108251A EP0342470B1 EP 0342470 B1 EP0342470 B1 EP 0342470B1 EP 89108251 A EP89108251 A EP 89108251A EP 89108251 A EP89108251 A EP 89108251A EP 0342470 B1 EP0342470 B1 EP 0342470B1
Authority
EP
European Patent Office
Prior art keywords
synthetic rubber
glove
coating
polyester urethane
solvent
Prior art date
Legal status (The legal status is an assumption and is not a legal conclusion. Google has not performed a legal analysis and makes no representation as to the accuracy of the status listed.)
Expired - Lifetime
Application number
EP89108251A
Other languages
English (en)
French (fr)
Other versions
EP0342470A1 (de
Inventor
Wolfgang Dr. Dams
Werner Dipl.-Ing. Wegner
Current Assignee (The listed assignees may be inaccurate. Google has not performed a legal analysis and makes no representation or warranty as to the accuracy of the list.)
Siemens AG
Original Assignee
Siemens AG
Priority date (The priority date is an assumption and is not a legal conclusion. Google has not performed a legal analysis and makes no representation as to the accuracy of the date listed.)
Filing date
Publication date
Application filed by Siemens AG filed Critical Siemens AG
Publication of EP0342470A1 publication Critical patent/EP0342470A1/de
Application granted granted Critical
Publication of EP0342470B1 publication Critical patent/EP0342470B1/de
Anticipated expiration legal-status Critical
Expired - Lifetime legal-status Critical Current

Links

Images

Classifications

    • GPHYSICS
    • G21NUCLEAR PHYSICS; NUCLEAR ENGINEERING
    • G21FPROTECTION AGAINST X-RADIATION, GAMMA RADIATION, CORPUSCULAR RADIATION OR PARTICLE BOMBARDMENT; TREATING RADIOACTIVELY CONTAMINATED MATERIAL; DECONTAMINATION ARRANGEMENTS THEREFOR
    • G21F3/00Shielding characterised by its physical form, e.g. granules, or shape of the material
    • G21F3/02Clothing
    • G21F3/035Gloves
    • AHUMAN NECESSITIES
    • A41WEARING APPAREL
    • A41DOUTERWEAR; PROTECTIVE GARMENTS; ACCESSORIES
    • A41D19/00Gloves
    • A41D19/0055Plastic or rubber gloves
    • A41D19/0058Three-dimensional gloves

Definitions

  • the invention relates to a glove according to the preamble of claim 1 and a method for producing a glove.
  • Such a glove is known from US-A-3 883 749. It is used for surgical purposes and is produced with a molded body that runs out into a hand, which is repeatedly immersed in a mixture of the one-component polyester methane with a solvent consisting of dimetylacetamide and is then pulled out of this mixture.
  • a mixture of the one-component polyester methane with a solvent consisting of dimetylacetamide can be used as the starting material for manufacturing the glove.
  • the object of the invention is to create a glove with a glove body that is as thin and elastic as possible, but which is also protected against chemical decomposition.
  • thermoplastic one-component polyester urethane based on an aromatic diisocyanate used for this glove is only soluble in organic solvents and results in a homogeneous, viscous honey or syrup-like solution. If a shaped body is immersed in this solution and pulled out again, the coating consisting of the solution can be dried on this shaped body by moving the shaped body in a warm air stream. From the molded body can then a glove made of polymerized polyester urethane is removed, the glove body of which not only does not have to have a supporting fabric and can be particularly thin, but whose glove body also has a particularly high tear resistance, high tear resistance and high puncture resistance. The tensile strength and elasticity are also extremely high.
  • the synthetic rubber layer protects against the action of aggressive chemicals.
  • Such a glove can be produced in a favorable manner in accordance with the method of claim 8.
  • Claims 2 to 7 are directed to advantageous developments of the glove according to the invention and claims 9 to 14 are directed to advantageous developments of the method for producing a glove according to the invention.
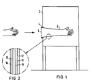
  • FIG. 1 shows schematically a longitudinal section through a glove box.
  • FIG. 2 schematically shows the cross section of the wall of the glove body of a glove according to the invention.
  • the glove box has a wall 2 in which there is a housing opening 3.
  • an outwardly projecting ring 4 is inserted, on which a gas-tight work glove 5 is seated on the outside of the housing wall 2.
  • the glove body of the work glove 5 can have four interconnected layers 12 to 15 arranged from one side of the glove body to the other.
  • the layer 12 on one side of the glove body consists of thermoplastic one-component polyester urethane based on an aromatic diisocyanate.
  • the layer 13 following this layer 12 consists of synthetic rubber, the next layer 14 consists of a mixture of lead oxide and polychloroprene, the next layer 15 consists of synthetic rubber and the layer 16 on the other side of the glove body again consists of thermoplastic one-component polyester urethane based on an aromatic diisocyanate.
  • the composite system consisting of layers 12 to 16 further improves the tear resistance, tear resistance, puncture resistance and elongation at break and tensile strength of the work glove.
  • Layer 14 of lead oxide and polychloroprene shields radioactive rays, and layers 13 and 15 of synthetic rubber protect the thermoplastic polyester urethane of layers 12 and 16 from a decomposing chemical reaction with the lead in layer 14.
  • the synthetic rubber from which the layers 13 and 15 consist is advantageously vulcanized.
  • a 30% solution of a thermoplastic one-component polyester urethane based on an aromatic which is commercially available under the trade name "Impranil ENB-03" from Bayer, Leverkusen, is used.
  • a solvent consisting of a mixture of dimethylformamide and methyl ethyl ketone in a ratio of 2: 1.
  • the solvent mixture can also contain 20 to 30% toluene addition.
  • a molded body that runs out into a hand is immersed in this solution and, with a polyester urethane coating, pulled out of the solution.
  • the solvent is dried by drying e.g. expelled in a warm air stream while moving the molded body at 130 ° C. After this drying, there is a polyester urethane coating on the molded body, which corresponds, for example, to layer 12 in FIG.
  • the molded body with the dried polyester urethane coating is then immersed in a solution of synthetic rubber and toluene as the solvent. After pulling out of this solution, the dried polyester urethane coating is provided on the molded body with a synthetic rubber coating, from which the solvent is expelled by drying in a hot air stream and which corresponds to layer 13 in FIG. 2.
  • a connecting layer made of a mixture of polyurethane and synthetic rubber has also been formed, which ideally ensures that the layers 12 and 13 adhere to one another.
  • the molded body is suspended in a suspension of lead oxide, polychloroprene and Toluene immersed and provided with a coating of a mixture of lead oxide and polychloroprene pulled out of the suspension.
  • the toluene is then expelled from this coating by drying in a warm air stream.
  • the coating of the mixture of lead oxide and polychloroprene corresponds to layer 14 in FIG. 2.
  • the molded body is then immersed again in the solution of chlorosulfonated polyethylene and toluene as the solvent and, with an additional coating of chlorosulfonated polyethylene, drawn out of the solution.
  • the solvent is then expelled again from this chlorosulfonated polyethylene by drying.
  • This dried additional coating made of chlorosulfonated polyethylene corresponds to layer 15 in FIG. 2.
  • the molded body with the coatings on it is then introduced into a vulcanizing furnace, in which the coatings consisting of synthetic rubber are vulcanized in air at elevated temperature and pressure.
  • the molded body After vulcanization, the molded body is finally immersed again in the solution of the one-component thermoplastic polyester based on an aromatic diisocyanate in the solvent consisting of the mixture of dimethylformamide and methyl ethyl ketone with the addition of toluene and pulled out of the solution provided with a polyester urethane coating. After drying by expelling the solvent from this polyester urethane coating in a warm air stream, this polyester urethane coating corresponds to layer 16 in FIG. 2.
  • the finished glove can then be removed from the molded body and attached, for example, to the glove box according to FIG. 1.
  • the wall thickness of the glove body can be between 0.4 and 0.9 mm.
  • the layers 12 to 16 can each have a thickness of 0.05 to 0.4 mm. The layers 12 to 16 adhere well to one another.
  • a glove body with the layers 12 and 13 in FIG. 2 is sufficient. Since the connection layer made of polyester urethane and synthetic rubber is located between these layers 12 and 13, such a glove body can not only be extremely thin be executed, but this glove body is also extremely gas-tight. Furthermore, the glove body has a high tear, tensile and puncture resistance.

Landscapes

  • Engineering & Computer Science (AREA)
  • Physics & Mathematics (AREA)
  • General Engineering & Computer Science (AREA)
  • High Energy & Nuclear Physics (AREA)
  • Textile Engineering (AREA)
  • Gloves (AREA)
  • Laminated Bodies (AREA)
  • Manipulator (AREA)
  • Moulding By Coating Moulds (AREA)

Description

  • Die Erfindung betrifft einen Handschuh nach dem Oberbegriff des Patentanspruches 1 und ein Verfahren zur Herstellung eines Handschuhs.
  • Ein derartiger Handschuh ist aus US-A-3 883 749 bekannt. Er dient zu chirurgischen Zwecken und wird mit einem in eine Hand auslaufenden Formkörper hergestellt, der in eine Mischung des Einkomponentenpolyestermethans mit einem aus Dimetylacetamid bestehenden Lösungsmittel wiederholt eingestaucht und aus dieser Mischung wieder herausgezogen wird. Anstelle dieser Mischung kann auch u.a. synthetischer Gummi als Ausgangsmaterial zum Herstellen des Handschuhs, verwendet werden.
  • Der Erfindung liegt die Aufgabe zugrunde, einen Handschuh zu schaffen mit einem möglichst dünnen und möglichst elastischen Handschuhkörper, der aber auch gegen chemische Zersetzung geschützt ist.
  • Zur Lösung dieser Aufgabe hat ein Handschuh der eingangs erwähnten Art erfindungsgemäß die Merkmale des kennzeichnenden Teiles des Patentanspruches 1.
  • Das für diesen Handschuh verwendete thermoplastische Einkomponenten-Polyesterurethan auf der Basis eines aromatischen Diisocyanats ist nur in organischen Lösungsmitteln löslich und ergibt eine homogene, zähe honig- oder sirupartige Lösung. Wird ein Formkörper in diese Lösung eingetaucht und wieder herausgezogen, so kann der aus der Lösung bestehende Überzug auf diesem Formkörper unter Bewegen des Formkörpers in einem Warmluftstrom getrocknet werden. Von dem Formkörper kann dann ein Handschuh aus auspolymerisiertem Polyesterurethan abgenommen werden, dessen Handschuhkörper nicht nur kein Stützgewebe aufzuweisen braucht und besonders dünn sein kann, sondern dessen Handschuhkörper auch eine besonders hohe Reißfestigkeit, hohe Weiterreißfestigkeit und hohe Durchstoßfestigkeit hat. Auch sind Zugfestigkeit und Elastizität außerordentlich hoch. Die Schicht aus Synthesekautschuk schützt gegen Einwirkung aggressiver Chemikalien.
  • In günstiger Weise kann ein solcher Handschuh entsprechend dem Verfahren nach Patentanspruch 8 hergestellt werden.
  • Die Patentansprüche 2 bis 7 sind auf vorteilhafte Weiterbildungen des erfindungsgemäßen Handschuhs gerichtet und die Patentansprüche 9 bis 14 auf vorteilhafte weiterbildungen des Verfahrens zum Herstellen eines erfindungsgemäßen Handschuhs.
  • Die Erfindung und ihre Vorteile seien anhand der Zeichnung an Ausführungsbeispielen näher erläutert:
  • FIG 1 zeigt schematisch einen Längsschnitt durch einen Handschuhkasten.
  • FIG 2 zeigt schematisch den Querschnitt der Wandung des Handschuhkörpers eines erfindungsgemäßen Handschuhs.
  • In dem Handschuhkasten nach FIG 1 können beispielsweise radioaktive Stoffe, insbesondere Alphastrahler wie Plutonium, verarbeitet werden. Der Handschuhkasten weist eine Wandung 2 auf, in der sich eine Gehäuseöffnung 3 befindet. In dieser Gehäuseöffnung 3 ist ein nach außen vorstehender Ring 4 eingesetzt, auf dem auf der Außenseite der Gehäusewandung 2 ein gasdichter Arbeitshandschuh 5 sitzt.
  • Wie FIG 2 zeigt, kann der Handschuhkörper des Arbeitshandschuhs 5 vier miteinander verbundene, von der einen Seite des Handschuhkörpers zur anderen Seite übereinander angeordnete Schichten 12 bis 15 aufweisen. Die Schicht 12 auf der einen Seite des Handschuhkörpers besteht aus thermoplastischem Einkomponenten-Polyesterurethan auf der Basis eines aromatischen Diisocyanats. Die dieser Schicht 12 folgende Schicht 13 besteht aus Synthesekautschuk, die nächstfolgende Schicht 14 aus einem Gemisch aus Bleioxid und Polychloropren, die nächstfolgende Schicht 15 aus Synthesekautschuk und die Schicht 16 auf der anderen Seite des Handschuhkörpers wieder aus thermoplastischem Einkomponentenpolyesterurethan auf der Basis eines aromatischen Diisocyanats.
  • Das Verbundsystem aus den Schichten 12 bis 16 wirkt weiter verbessernd auf die Reißfestigkeit, die Weiterreißfestigkeit, die Durchstoßfestigkeit und die Reißdehnung und Zugfestigkeit des Arbeitshandschuhs. Die Schicht 14 aus Bleioxid und Polychloropren schirmt radioaktive Strahlen ab, und die Schichten 13 und 15 aus Synthesekautschuk schützen das thermoplastische Polyesterurethan der Schichten 12 und 16 vor einer zersetzenden chemischen Reaktion mit dem Blei in der Schicht 14.
  • Kann eine Seite des Handschuhkörpers Arbeitshandschuhs 5 z.B. mit Salpetersäure in Berührung kommen, die Polyesterurethan angreift, so hat der Handschuhkörper des Arbeitshandschuhs 5 günstigerweise nur einen Vierschichtaufbau, der so gestaltet ist, daß sich an der der Salpetersäure ausgesetzten Oberfläche des Handschuhkörpers eine Schicht 13 bzw. 15 aus salpetersäurebeständigem Synthesekautschuk befindet. Dieser Synthesekautschuk kann ein chlorsulfoniertes Polyethylen sein. Eine Innenschicht 13 oder 15 kann auch aus ungesättigtem Ethylen-Propylen-Kautschuk sein.
  • Günstigerweise ist der Synthesekautschuk, aus dem die Schichten 13 und 15 bestehen, ausvulkanisiert.
  • Zur Herstellung eines Handschuhkörpers für einen Arbeitshandschuh 5 entsprechend FIG 1 mit einer Schichtenfolge entsprechend FIG 2 wird eine 30%ige Lösung eines unter der Handelsbezeichnung "Impranil ENB-03" der Firma Bayer, Leverkusen im Handel befindliches thermoplastisches Einkomponenten-Polyesterurethan auf der Basis eines aromatischen Diisocyanats in einem Lösungsmittel angesetzt, das aus einer Mischung aus Dimethylformamid und Methylethylketon im Verhältnis 2:1 besteht. Zur weiteren Verdünnung kann das Lösungsmittelgemisch auch noch 20 bis 30 % Toluolzusatz enthalten.
  • Ein in eine Hand auslaufender Formkörper wird in diese Lösung eingetaucht und mit einem Polyesterurethanüberzug versehen aus der Lösung wieder herausgezogen. Das Lösungsmittel wird durch Trocknen z.B. in einem Warmluftstrom unter Bewegen des Formkörpers bei 130 °C ausgetrieben. Nach diesem Trocknen befindet sich auf dem Formkörper ein Polyesterurethanüberzug, der beispielsweise der Schicht 12 in FIG 2 entspricht.
  • Der Formkörper mit dem getrockneten Polyesterurethanüberzug wird sodann in eine Lösung aus Synthesekautschuk und Toluol als Lösungsmittel eingetaucht. Nach dem Herausziehen aus dieser Lösung ist der getrocknete Polyesterurethanüberzug auf dem Formkörper mit einem Synthesekautschuküberzug versehen, aus dem das Lösungsmittel durch Trocknen in einem Warmluftstrom ausgetrieben wird und der der Schicht 13 in FIG 2 entspricht. Zwischen der Schicht 13 aus Synthesekautschuk und der den Handschuhkörper zunächst darstellenden Schicht 12 aus Polyurethan hat sich zugleich eine Verbindungsschicht aus einem Gemisch aus Polyurethan und Synthesekautschuk ausgebildet, die das Aneinanderhaften der Schichten 12 und 13 in idealer Weise gewährleistet.
  • Nach dem Trocknen des Synthesekautschuküberzuges wird der Formkörper in eine Suspension aus Bleioxid, Polychloropren und Toluol eingetaucht und mit einem Überzug aus einem Gemisch aus Bleioxid und Polychloropren versehen aus der Suspension herausgezogen. Das Toluol wird anschließend aus diesem Überzug durch Trocknen in einem Warmluftstrom ausgetrieben. Der Überzug aus dem Gemisch aus Bleioxid und Polychloropren entspricht der Schicht 14 in FIG 2.
  • Der Formkörper wird nun wieder in die Lösung aus chlorsulfoniertem Polyethylen und Toluol als Lösungsmittel eingetaucht und mit einem Zusatzüberzug aus chlorsulfoniertem Polyethylen versehen aus der Lösung herausgezogen. Das Lösungsmittel wird anschließend wieder durch Trocknen aus diesem chlorsulfoniertem Polyethylen ausgetrieben. Dieser getrocknete Zusatzüberzug aus chlorsulfoniertem Polyethylen entspricht der Schicht 15 in FIG 2.
  • Hierauf wird der Formkörper mit den auf ihn befindlichen Überzügen in einen Vulkanisierofen eingebracht, in dem die aus Synthesekautschuk bestehenden Überzüge in Luft bei erhöhter Temperatur und erhöhtem Druck ausvulkanisiert werden.
  • Nach dem Ausvulkanisieren wird der Formkörper schließlich wieder in die Lösung des theroplastischen Einkomponenten-Polyestherurethans auf der Basis eines aromatischen Diisocyanats in dem aus der Mischung von Dimethylformamid und Methylethylketon mit Toluolzusatz bestehenden Lösungsmittel eingetaucht und mit einem Polyesterurethanüberzug versehen aus der Lösung herausgezogen. Nach dem Trocknen durch Austreiben des Lösungsmittels aus diesem Polyesterurethanüberzug in einem Warmluftstrom entspricht dieser Polyesterurethanüberzug der Schicht 16 in FIG 2.
  • Hierauf kann der fertige Handschuh vom Formkörper abgezogen und beispielsweise am Handschuhkasten nach FIG 1 angebracht werden.
  • Die Wandstärke des Handschuhkörpers kann zwischen 0.4 und 0.9 mm betragen. Die Schichten 12 bis 16 können je eine Dicke von 0.05 bis 0.4 mm haben. Die Schichten 12 bis 16 haften gut aneinander.
  • Ist es nicht erforderlich, daß der Handschuhkörper radioaktive Strahlung abschirmt, genügt ein Handschuhkörper nur mit den Schichten 12 und 13 in FIG 2. Da sich zwischen diesen Schichten 12 und 13 die Verbindungsschicht aus Polyesterurethan und Synthesekautschuk befindet, kann ein solcher Handschuhkörper nicht nur extrem dünn ausgeführt sein, sondern dieser Handschuhkörper ist auch außerordentlich gasdicht. Ferner hat der Handschuhkörper eine hohe Reiß-, Zug- und Durchstoßfestigkeit.

Claims (14)

1. Handschuh, insbesondere für einen radioaktive Stoffe enthaltenden Handschuhkasten, mit einem aus Polyurethan gebildeten Handschuhkörper, der aus thermoplastischem Einkomponenten-Polyesterurethan auf der Basis eines aromatischen Diisocyanats besteht und stützgewebefrei ist,
dadurch gekennzeichnet,
daß der Handschuhkörper mindestens auf einer Seite eine Schicht aus Synthesekautschuk aufweist mit einer Verbindungsschicht zum Handschuhkörper aus einem Gemisch aus dem Polyesterurethan und dem Synthesekautschuk.
2. Handschuh nach Anspruch 1,
dadurch gekennzeichnet,
daß sich auf der Schicht aus Synthesekautschuk eine weitere Schicht aus einem Gemisch aus Bleioxid und Polychloropren befindet, die ihrerseits mit einem Zusatzüberzug aus Synthesekautschuk versehen ist.
3. Handschuh nach Anspruch 2,
dadurch gekennzeichnet,
daß auf dem Zusatzüberzug aus Synthesekautschuk ein stützgewebefreier Oberflächenüberzug aus thermoplastischem Einkomponentenpolyesterurethan auf der Basis eines aromatischen Diisocyanats sitzt mit einer Verbindungsschicht zu dem Zusatzüberzug aus Synthesekatuschuk aus einem Gemisch aus dem Polyesterurethan und dem Synthesekautschuk.
4. Handschuh nach einem der Ansprüche 2 und 3,
dadurch gekennzeichnet,
daß der Synthesekautschuk chlorsulfoniertes Polyäthylen ist.
5. Handschuh nach einem der Anspruche 2 und 3,
dadurch gekennzeichnet,
daß der Synthesekautschuk ungesättigter Ethylen-Propylen-Kautschuk ist.
6. Handschuh nach einem der Ansprüche 2 und 3,
dadurch gekennzeichnet,
daß der Synthesekautschuk ausvulkanisiert ist.
7. Handschuh nach einem der Ansprüche 1 bis 6,
dadurch gekennzeichnet,
daß am offenen Handschuhende eine Öffnung im Gehäuse eines Handschuhkastens angeschlossen ist.
8. Verfahren zum Herstellen eines Handschuhs,
dadurch gekennzeichnet,
daß ein in eine Hand auslaufender Formkörper in eine Lösung des thermoplastischen Einkomponenten-Polyesterurethans in einem aus einer Mischung aus Dimethylformamid und Methylethylketon bestehendem Lösungsmittel eingetaucht und mit einem Polyesterurethanüberzug versehen aus der Lösung herausgezogen wird, daß das Lösungsmittel anschließend durch Trocknen aus dem Polyesterurethanüberzug ausgetrieben wird, daß der Formkörper nach dem Trocknen des Polyesterurethanüberzuges in eine Lösung aus dem Synthesekautschuk und Toluol als Lösungsmittel eingetaucht und mit einem Synthesekautschuküberzug versehen aus der Lösung herausgezogen wird und daß das Lösungsmittel anschließend durch Trocknen aus dem Synthesekautschuküberzug ausgetrieben wird.
9. Verfahren nach Anspruch 8,
dadurch gekennzeichnet,
daß das aus einer Mischung aus Dimethylformamid und Methylethylketon bestehende Lösungsmittel mit Toluolzusatz verwendet wird.
10. Verfahren nach Anspruch 8,
dadurch gekennzeichnet,
daß der Formkörper nach dem Trocknen des Synthesekautschuküberzuges in eine Suspension aus dem Bleioxid, dem Polychloropren und Toluol eingetaucht und mit einem Überzug aus einem Gemisch aus Bleioxid und Polychloropren versehen aus der Suspension herausgezogen wird und daß das Toluol anschließend aus diesem Überzug durch Trocknen ausgetrieben wird.
11. Verfahren nach Anspruch 10,
dadurch gekennzeichnet,
daß der Formkörper nach dem Trocknen des Überzuges aus dem Gemisch aus Bleioxid und Polychloropren in eine Lösung aus dem Synthesekautschuk in Toluol als Lösungsmittel eingetaucht und mit einem Zusatzüberzug aus Synthesekautschuk versehen aus der Lösung herausgezogen wird und daß das Lösungsmittel anschließend durch Trocknen aus diesem Synthesekautschuk ausgetrieben wird.
12. Verfahren nach einem der Ansprüche 8 bis 11,
dadurch gekennzeichnet,
daß der Synthesekautschuküberzug bzw. Synthesekautschukzusatzüberzug nach dem Trocknen ausvulkanisiert wird.
13.Verfahren nach Anspruch 11,
dadurch gekennzeichnet,
daß der Formkörper nach dem Trocknen des Zusatzüberzuges aus Synthesekautschuk in eine Lösung des Polyesterurethans in einem aus einer Mischung von Dimethylformamid und Methylethylketon bestehenden Lösungsmittel eingetaucht und mit einem Polyesterurethanüberzug versehen aus der Lösung herausgezogen wird und daß das Lösungsmittel anschließend durch Trocknen aus dem Polyesterurethanüberzug ausgetrieben wird.
14. Verfahren nach Anspruch 13,
dadurch gekennzeichnet,
daß das aus einer Mischung von Dimethylformamid und Methylethylketon bestehende Lösungsmittel mit Toluolzusatz verwendet wird.
EP89108251A 1988-05-18 1989-05-08 Handschuh insbesondere für einen radioaktive Stoffe enthaltenden Handschuhkasten und Verfahren zu seiner Herstellung Expired - Lifetime EP0342470B1 (de)

Applications Claiming Priority (2)

Application Number Priority Date Filing Date Title
DE3816951 1988-05-18
DE3816951 1988-05-18

Publications (2)

Publication Number Publication Date
EP0342470A1 EP0342470A1 (de) 1989-11-23
EP0342470B1 true EP0342470B1 (de) 1992-04-15

Family

ID=6354637

Family Applications (1)

Application Number Title Priority Date Filing Date
EP89108251A Expired - Lifetime EP0342470B1 (de) 1988-05-18 1989-05-08 Handschuh insbesondere für einen radioaktive Stoffe enthaltenden Handschuhkasten und Verfahren zu seiner Herstellung

Country Status (4)

Country Link
US (1) US5165114A (de)
EP (1) EP0342470B1 (de)
JP (1) JPH0248910A (de)
DE (1) DE58901139D1 (de)

Families Citing this family (10)

* Cited by examiner, † Cited by third party
Publication number Priority date Publication date Assignee Title
JPH0816750B2 (ja) * 1991-08-26 1996-02-21 セイコーエプソン株式会社 液晶表示装置
WO1994014589A1 (en) * 1992-12-24 1994-07-07 Smith & Nephew Plc Injection moulding
WO1996031856A1 (en) * 1995-04-06 1996-10-10 The Regents Of The University Of California Puncture detecting barrier materials
US5761743A (en) * 1996-06-28 1998-06-09 Marmon Holdings, Inc. Finger cot and method of manufacturing finger cot
FR2777163B1 (fr) * 1998-04-08 2000-06-09 Piercan Sa Gant souple et etanche
US6347408B1 (en) 1998-11-05 2002-02-19 Allegiance Corporation Powder-free gloves having a coating containing cross-linked polyurethane and silicone and method of making the same
JP2007255946A (ja) * 2006-03-20 2007-10-04 Mitsui Eng & Shipbuild Co Ltd グローブボックス用グローブ
RU2358627C2 (ru) * 2007-07-31 2009-06-20 Открытое акционерное общество "Научно-исследовательский институт резиновых и латексных изделий" (ОАО "НИИР") Резиновая композиция и изделия, полученные на ее основе, и способ их изготовления
CN101591457B (zh) * 2009-04-24 2012-05-23 中国核动力研究设计院 橡胶基柔性屏蔽材料及其制备工艺
CN111452094B (zh) * 2020-03-26 2023-04-07 上海微纳国际贸易有限公司 一种存在压差工况下的操作方法

Family Cites Families (18)

* Cited by examiner, † Cited by third party
Publication number Priority date Publication date Assignee Title
US2312921A (en) * 1941-10-17 1943-03-02 Wolf X Ray Products Inc X-ray-proof glove
US2367446A (en) * 1941-11-13 1945-01-16 Louis J Strobino Process for making flexible protective shields
US3025403A (en) * 1959-02-11 1962-03-13 Charleston Rubber Company Seamless article
US3200085A (en) * 1959-03-02 1965-08-10 Arthur L Barber Jr Radiation barrier material and method of making the same
US3045121A (en) * 1959-04-07 1962-07-17 Charles W Leguillon X-ray protective shields
DE1142832B (de) * 1959-12-22 1963-01-31 Teroson Werk Erich Ross Verfahren zur Herstellung von Schutzkleidung, insbesondere Handschuhen
GB926238A (en) * 1961-03-07 1963-05-15 Veedip Ltd Manufacture of flexible articles or materials of polymeric organic materials containing heavy metals such as lead
US3609372A (en) * 1963-06-04 1971-09-28 Marxen Friedrich Shaped polymeric shield against neutron and gamma radiation
FR1384603A (fr) * 1963-06-07 1965-01-08 Pneumatiques, Caoutchouc Manufacture Et Plastiques Kleber-Colombes Mélange de polyéthylène et de composés du plomb
US3382138A (en) * 1964-11-04 1968-05-07 Internat Latex & Chemical Corp Process and articles involving codeposition of latex and polyurethane
GB1203727A (en) * 1968-02-21 1970-09-03 Bp Chem Int Ltd Lead-filled polyurethane foams
US3883749A (en) * 1972-08-15 1975-05-13 Arco Nuclear Co Radio opaque gloves
FR2448307A1 (fr) * 1979-02-12 1980-09-05 Hutchinson Mapa Perfectionnements apportes aux gants de protection, notamment pour electriciens, et a leurs procedes de fabrication
DE3201976A1 (de) * 1982-01-22 1983-08-04 Alkem Gmbh, 6450 Hanau Handschuhkasten
US4441213A (en) * 1982-06-07 1984-04-10 Northern Telecom Limited Flexible tear resistant protective glove for use on high voltage systems
JPS6088544A (ja) * 1983-10-22 1985-05-18 レイテック株式会社 プラスチツク手袋の製造方法及びプラスチツク手袋
JPS61146802A (ja) * 1984-12-21 1986-07-04 ダイヤゴム株式会社 透湿性且つ耐油性作業用手袋およびその製造方法
US4785479A (en) * 1987-11-23 1988-11-22 Towa Glove Co., Ltd. Glove and the method of making the same

Also Published As

Publication number Publication date
US5165114A (en) 1992-11-24
JPH0248910A (ja) 1990-02-19
DE58901139D1 (de) 1992-05-21
EP0342470A1 (de) 1989-11-23

Similar Documents

Publication Publication Date Title
EP0342470B1 (de) Handschuh insbesondere für einen radioaktive Stoffe enthaltenden Handschuhkasten und Verfahren zu seiner Herstellung
DE1586651A1 (de) Mehrlagige Wandung fuer Fluessigkeitsbehaelter
CH623461A5 (de)
DE60007067T2 (de) Verfahren zum herstellen einer klebemittelbehandelten faserkordel aus polyester
DE2628462B2 (de) Gummihandschuh und Verfahren zu seiner Herstellung
DE1178998B (de) Verfahren zur Herstellung von mit Fasern oder Geweben verstaerkten elastomeren Formkoerpern
DE2555173A1 (de) Laminierter behaelter
EP1256512A2 (de) Verstärkungselement für einen Hohlkörper, insbesondere für einen Fahrzeugkarosserieholm
DE7717997U1 (de) Schlauchreifen fuer fahrraeder
DE1505062A1 (de) Leichtwulst fuer Luftreifen
DE2550664C3 (de) Verfahren zum Herstellen eines druckmittelfiihrenden Schlauches
DE1905930A1 (de) Verfahren zum Giessen verstaerkter Gegenstaende
DE1097220B (de) Mehrschichtiges Rohr aus Kunststoffen
DE2700184B2 (de) Verfahren zur Herstellung eines Rohres
DE1544786C3 (de) Verfahren zur Verbesserung der Haftung von Naturkautschuk und synthetischen Elastomeren an Glasfasern
WO1991004432A1 (de) Schlauch
DE102016004311A1 (de) Verfahren zum Herstellen einer Polstervorrichtung für ein Tragegurtsystem für ein Atemgerät, Polstervorrichtung, Tragegurtsystem und Atemgerät
EP0161509B1 (de) Verfahren zur Herstellung von vulkanisierten Gummischläuchen
DE919741C (de) Saeurebestaendiger Druck- und Saugschlauch
DE1925852A1 (de) Ballonkatheter
DE202004000533U1 (de) Armierter Polymerschlauch und Vorrichtung zur Herstellung
DE2145157A1 (de) Polyurethanverbindung
DE2215399A1 (de) Gewebe für Schutzplanen oder ähnliche Verwendungszwecke
DD269975A3 (de) Verfahren zum innengummieren von gewebeschlaeuchen
DE1420131A1 (de) Verfahren zum haftfesten Binden eines Athylenpolymerisats oder -mischpolymerisats anNatur- oder Synthesekautschuk

Legal Events

Date Code Title Description
PUAI Public reference made under article 153(3) epc to a published international application that has entered the european phase

Free format text: ORIGINAL CODE: 0009012

AK Designated contracting states

Kind code of ref document: A1

Designated state(s): BE DE FR GB

17P Request for examination filed

Effective date: 19891219

17Q First examination report despatched

Effective date: 19910625

GRAA (expected) grant

Free format text: ORIGINAL CODE: 0009210

AK Designated contracting states

Kind code of ref document: B1

Designated state(s): BE DE FR GB

REF Corresponds to:

Ref document number: 58901139

Country of ref document: DE

Date of ref document: 19920521

ET Fr: translation filed
GBT Gb: translation of ep patent filed (gb section 77(6)(a)/1977)
PLBE No opposition filed within time limit

Free format text: ORIGINAL CODE: 0009261

26N No opposition filed
PGFP Annual fee paid to national office [announced via postgrant information from national office to epo]

Ref country code: BE

Payment date: 19950511

Year of fee payment: 7

PGFP Annual fee paid to national office [announced via postgrant information from national office to epo]

Ref country code: FR

Payment date: 19950522

Year of fee payment: 7

PGFP Annual fee paid to national office [announced via postgrant information from national office to epo]

Ref country code: DE

Payment date: 19950720

Year of fee payment: 7

PGFP Annual fee paid to national office [announced via postgrant information from national office to epo]

Ref country code: GB

Payment date: 19960419

Year of fee payment: 8

PG25 Lapsed in a contracting state [announced via postgrant information from national office to epo]

Ref country code: BE

Effective date: 19960531

BERE Be: lapsed

Owner name: SIEMENS A.G.

Effective date: 19960531

PG25 Lapsed in a contracting state [announced via postgrant information from national office to epo]

Ref country code: FR

Effective date: 19970131

PG25 Lapsed in a contracting state [announced via postgrant information from national office to epo]

Ref country code: DE

Effective date: 19970201

REG Reference to a national code

Ref country code: FR

Ref legal event code: ST

PG25 Lapsed in a contracting state [announced via postgrant information from national office to epo]

Ref country code: GB

Effective date: 19970508

GBPC Gb: european patent ceased through non-payment of renewal fee

Effective date: 19970508