EP0334802A2 - Giesseinrichtung zur kontinuierlichen Herstellung von Metallband und Verfahren - Google Patents

Giesseinrichtung zur kontinuierlichen Herstellung von Metallband und Verfahren Download PDF

Info

Publication number
EP0334802A2
EP0334802A2 EP89730066A EP89730066A EP0334802A2 EP 0334802 A2 EP0334802 A2 EP 0334802A2 EP 89730066 A EP89730066 A EP 89730066A EP 89730066 A EP89730066 A EP 89730066A EP 0334802 A2 EP0334802 A2 EP 0334802A2
Authority
EP
European Patent Office
Prior art keywords
pouring
nozzle
casting
distributor
cooling belt
Prior art date
Legal status (The legal status is an assumption and is not a legal conclusion. Google has not performed a legal analysis and makes no representation as to the accuracy of the status listed.)
Granted
Application number
EP89730066A
Other languages
English (en)
French (fr)
Other versions
EP0334802B1 (de
EP0334802A3 (en
Inventor
Ewald Feuerstacke
Current Assignee (The listed assignees may be inaccurate. Google has not performed a legal analysis and makes no representation or warranty as to the accuracy of the list.)
Vodafone GmbH
Original Assignee
Mannesmann AG
Priority date (The priority date is an assumption and is not a legal conclusion. Google has not performed a legal analysis and makes no representation as to the accuracy of the date listed.)
Filing date
Publication date
Family has litigation
First worldwide family litigation filed litigation Critical https://patents.darts-ip.com/?family=6350766&utm_source=google_patent&utm_medium=platform_link&utm_campaign=public_patent_search&patent=EP0334802(A2) "Global patent litigation dataset” by Darts-ip is licensed under a Creative Commons Attribution 4.0 International License.
Application filed by Mannesmann AG filed Critical Mannesmann AG
Priority to AT89730066T priority Critical patent/ATE89770T1/de
Publication of EP0334802A2 publication Critical patent/EP0334802A2/de
Publication of EP0334802A3 publication Critical patent/EP0334802A3/de
Application granted granted Critical
Publication of EP0334802B1 publication Critical patent/EP0334802B1/de
Anticipated expiration legal-status Critical
Expired - Lifetime legal-status Critical Current

Links

Images

Classifications

    • BPERFORMING OPERATIONS; TRANSPORTING
    • B22CASTING; POWDER METALLURGY
    • B22DCASTING OF METALS; CASTING OF OTHER SUBSTANCES BY THE SAME PROCESSES OR DEVICES
    • B22D11/00Continuous casting of metals, i.e. casting in indefinite lengths
    • BPERFORMING OPERATIONS; TRANSPORTING
    • B22CASTING; POWDER METALLURGY
    • B22DCASTING OF METALS; CASTING OF OTHER SUBSTANCES BY THE SAME PROCESSES OR DEVICES
    • B22D11/00Continuous casting of metals, i.e. casting in indefinite lengths
    • B22D11/16Controlling or regulating processes or operations
    • BPERFORMING OPERATIONS; TRANSPORTING
    • B22CASTING; POWDER METALLURGY
    • B22DCASTING OF METALS; CASTING OF OTHER SUBSTANCES BY THE SAME PROCESSES OR DEVICES
    • B22D11/00Continuous casting of metals, i.e. casting in indefinite lengths
    • B22D11/06Continuous casting of metals, i.e. casting in indefinite lengths into moulds with travelling walls, e.g. with rolls, plates, belts, caterpillars
    • B22D11/0602Continuous casting of metals, i.e. casting in indefinite lengths into moulds with travelling walls, e.g. with rolls, plates, belts, caterpillars formed by a casting wheel and belt, e.g. Properzi-process
    • BPERFORMING OPERATIONS; TRANSPORTING
    • B22CASTING; POWDER METALLURGY
    • B22DCASTING OF METALS; CASTING OF OTHER SUBSTANCES BY THE SAME PROCESSES OR DEVICES
    • B22D11/00Continuous casting of metals, i.e. casting in indefinite lengths
    • B22D11/06Continuous casting of metals, i.e. casting in indefinite lengths into moulds with travelling walls, e.g. with rolls, plates, belts, caterpillars
    • B22D11/0631Continuous casting of metals, i.e. casting in indefinite lengths into moulds with travelling walls, e.g. with rolls, plates, belts, caterpillars formed by a travelling straight surface, e.g. through-like moulds, a belt
    • BPERFORMING OPERATIONS; TRANSPORTING
    • B22CASTING; POWDER METALLURGY
    • B22DCASTING OF METALS; CASTING OF OTHER SUBSTANCES BY THE SAME PROCESSES OR DEVICES
    • B22D11/00Continuous casting of metals, i.e. casting in indefinite lengths
    • B22D11/06Continuous casting of metals, i.e. casting in indefinite lengths into moulds with travelling walls, e.g. with rolls, plates, belts, caterpillars
    • B22D11/0637Accessories therefor
    • B22D11/064Accessories therefor for supplying molten metal

Definitions

  • the present invention relates to an apparatus and a method for casting strips of metal, in particular steel, in which the molten metal is fed from a pouring nozzle, which preferably corresponds to the strip width, onto a continuously moving, cooled conveyor belt and the nozzle mouth with its plane to the thickness of the metal strip to be cast, ie is adjustable to an acute angle to the conveyor belt level.
  • a pouring nozzle which preferably corresponds to the strip width
  • a continuously moving, cooled conveyor belt and the nozzle mouth with its plane to the thickness of the metal strip to be cast ie is adjustable to an acute angle to the conveyor belt level.
  • the object of the present invention is to improve the quality of the thin steel strips that can be produced with such a system and to improve the system in terms of manageability and operational safety.
  • the invention therefore proposes that the Distributor designed as a double chamber vessel, at least the pouring chamber provided with the pouring nozzle is sealed gas-tight above the melt and is connected to a pressure-controllable gas source, that the pouring nozzle is followed by a position-adjustable, adjustable smoothing roller, at least one distance measuring device on the pouring nozzle for determining the position of the pouring nozzle Cooling belt is provided and is connected via a controller with means for changing the position of the distributor.
  • the Distributor designed as a double chamber vessel, at least the pouring chamber provided with the pouring nozzle is sealed gas-tight above the melt and is connected to a pressure-controllable gas source, that the pouring nozzle is followed by a position-adjustable, adjustable smoothing roller, at least one distance measuring device on the pouring nozzle for determining the position of the pouring nozzle Cooling belt is provided and is connected via a controller with means for changing the position of the distributor.
  • the distance measuring device is a dynamic pressure measuring device and the measuring opening is arranged in the plane of the outlet opening of the casting nozzle in the wall of the casting nozzle which is assigned to the strip inlet side and which Outlet opening of the pouring nozzle is arranged inclined to the surface of the cooling belt and the angle of inclination opens in the direction of strip withdrawal.
  • means are arranged in the strip take-off direction behind the casting nozzle, with which the thickness of the cast strip can be detected and that the measured values are compared in a control unit with predetermined target values and the regulator on the gas source in the sense of a Pressure change acts to regulate the intended strip thickness by controlling the melt flow rate.
  • the means for determining the strip thickness is in particular a radiometric measuring device.
  • the radiometric measuring device can be connected to a further controller, which is connected to actuators by a height-adjustable support element arranged below the cooling belt. This support element is in particular below the pouring nozzle and can also be used to control the strip thickness.
  • each measuring device is connected to the corresponding actuating drives of one supporting element each via a controller.
  • the distance measuring devices mentioned at the outset are arranged in the outer region of the pouring nozzle in order to prevent the strip from tilting relative to the pouring nozzle and to create a thick band that is uniform across the entire width.
  • the thickness of the cast strip is measured, the measured value is fed to a regulator and, after comparison with a predetermined setpoint characterizing the thickness of the strip, the gas pressure in the pouring chamber of the distributor vessel in connection is regulated with the flow rate of the melt into the pouring chamber.
  • the above-described method for operating a pouring device can be characterized in a further embodiment of the invention, starting from the previously described generic type, in that the distance of the pouring nozzle is measured by means of a dynamic pressure measurement of a gas jet emerging from a measuring opening in the plane in the outlet opening, a the measured value of Signal corresponding to the dynamic pressure is fed to a controller and, after comparison with a target value which characterizes the distance of the nozzle from the cooling belt, actuating means acting on the distributor are actuated in the sense of keeping the measured value constant or the distance between the casting nozzle and the cooling belt surface.
  • the thickness of the cast strip is measured by means of several thickness gauges in the vicinity of the pouring nozzle distributed over the bandwidth, the measured values of the individual measuring instruments with a predetermined setpoint characterizing the thickness of the strip in one measuring device each assigned controller and, in the event of deviations from the setpoint, supplied to the actuator of the respective support element assigned to the thickness measuring device and opposite the casting nozzle for setting a desired profile and is set.
  • Fig. 1 shows a casting device for the continuous production of metal strip 19, consisting of the endless cooling belt 9, which is guided over transport rollers 20, 21 and driven in rotation.
  • a cooling or smoothing roller 1 is arranged above the cooling belt 9 and its position relative to the cooling belt 9 can be changed by actuating cylinders 22.
  • the cooling belt 9 including the transport rollers 20, 21 is mounted on a frame 2 which is adjustable in the inclination to the horizontal.
  • the frame 2 is articulated on one side, with an articulated axis 4, which extends transversely to the tape take-off direction and rests on the opposite side on vertically arranged hydraulically operated actuating cylinders 16.
  • a gas source is designated, which is connected to the outlet chamber 3 ⁇ .
  • the distribution vessel 3 is also adjustable in position.
  • the distributor vessel 3 consists of an inlet chamber 3 'and an outlet chamber 3 ⁇ . At the outlet chamber 3 ⁇ , the pouring nozzle 7 is arranged.
  • the pouring chamber 3 is sealed gas-tight above the melt.
  • the distributor 3, which is designed as a double-chamber vessel, is separated into the areas of the pouring chamber 3 'and the pouring chamber 3' by a central wall 23 which projects from above into the distributor and into the melt.
  • the movable carriage 6 carrying the distributor 3 is mounted on the frame 2.
  • the distributor 3 can be adjusted in height by means of a hydraulic cylinder 13.
  • the hydraulic cylinder 13 is included in a control circuit which includes the regulator R1 and a dynamic pressure measurement of a gas jet emerging at the casting nozzle 7, as shown in more detail in FIG. 3.
  • the distance measuring device 11 with the measuring opening 11 ' is arranged on or in the wall of the casting nozzle 7 assigned to the belt inlet side.
  • the dynamic pressure of the gas emerging at 11 'as a measure of the distance of the pouring nozzle 7 from the cooling belt 9 is fed to the controller R1.
  • the controller R1 controls the hydraulic cylinder 13 in the sense of keeping the distance of the pouring nozzle 7 from the surface of the cooling belt 9 constant.
  • the pouring nozzle 7 is immediately downstream of a thickness measuring device 14 in the direction of strip travel for determining the thickness of the metal strip 19 produced.
  • the thickness measuring device works according to the radiographic method and accordingly has transmitters and receivers which are arranged above or below the strip.
  • the measuring device 14 is connected to the pressure-controllable gas source 24 via the regulator R2.
  • the bath level of the melt 25 can be regulated via the gas pressure in the pouring chamber 3 ⁇ and thus the amount of outflow from the pouring nozzle 7 leaking metal.
  • the “gas source” is operated as a connection to a vacuum chamber.
  • the measuring device 14 is also connected to a further controller R4, which carries adjusting means for influencing the distance from the support elements 18 arranged below the cooling belt 9.
  • the support elements 18 in the form of a continuous roll or a roll consisting of individual sections are arranged in the region of the outlet opening of the pouring nozzle 7.
  • the controllable position of the support elements 18 also makes it possible to influence the thickness of the band 19 to be produced. In the event that the support element 18 consists of several individual rollers, a corresponding number of adjusting elements 15 are of course required.
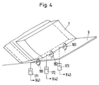
  • FIG. 4. 4 shows the pouring nozzle 7 with individual rollers 181, 182, 183 arranged below the belt 9.
  • Each roller is assigned a corresponding actuating means 171, 172, 173, each of which is connected to its own controller R41, R42, R43.
  • R41, R42, R43 Such a breakdown of the support elements naturally makes it necessary for a corresponding number of thickness measuring devices 14 to also be present, so that each thickness measuring device 14 is assigned a corresponding supporting roller. This division makes it possible to achieve a finer adjustment and influencing of the strip thickness over the strip width.
  • FIG. 2 which detects the belt speed of the cooling belt 9, feeds the belt speed to a controller R3 and acts on an actuating cylinder 16, with the aid of which the inclination of the casting belt can be regulated as a function of the belt speed.

Landscapes

  • Engineering & Computer Science (AREA)
  • Mechanical Engineering (AREA)
  • Continuous Casting (AREA)
  • Treatment Of Steel In Its Molten State (AREA)
  • Forging (AREA)
  • Manufacture Of Alloys Or Alloy Compounds (AREA)

Abstract

Eine Gießeinrichtung zur kontinuierlichen Herstellung von Metallband mit einem umlaufenden Kühlband (9) sowie einem Verteiler (3), der als Doppelkammergefäß ausgebildet ist. Um die Anlage hinsichtlich der Handhabbarkeit und Betriebssicherheit zu verbessern und die Qualität der Stahlbänder zu erhöhen, wird vorgeschlagen, daß die gasdicht verschlossene Kammer mit einer druckregelbaren Gasquelle (24) verbunden ist und daß an der Gießdüse (7) wenigstens ein Abstandsmeßgerät zur Feststellung der Lage der Gießdüse zum Kühlband vorgesehen ist, die mit Reglern zur Lageveränderung des Verteilers gekoppelt ist.

Description

  • Die vorliegende Erfindung betrifft eine Vorrichtung und ein Verfahren zum Gießen von Bändern aus Metall, insbesondere aus Stahl, bei dem die Metallschmelze aus einer vorzugsweise der Bandbreite entsprechenden Ausgießdüse auf ein kontinuierlich bewegtes, gekühltes Transportband aufgegeben wird und der Düsenmund mit seiner Ebene auf die Dicke des zu gießenden Metallbandes, d.h. auf einen spitzen Winkel zur Transportbandebene einstellbar ist. Eine derartige Vorrichtung gehört gemäß der älteren Patentanmeldung P 37 07 897.6 zum Stand der Technik.
  • Die vorliegende Erfindung hat sich die Aufgabe gestellt, die mit einer derartigen Anlage herstellbaren dünnen Stahlbänder qualitätsmäßig und die Anlage hinsichtlich der Handhabbarkeit und der Betriebssicherheit zu verbessern.
  • In bezug auf die Gießeinrichtung zur kontinuierlichen Herstellung von Metallband, mit einem umlaufenden Kühlband und einem Verteiler mit Gießdüse, wobei das Kühlband auf einem in der Neigung zur Horizontalen verstellbaren Rahmen gelagert und der Verteiler innerhalb des Rahmens höhenverstellbar ist, wird daher erfindungsgemäß vorgeschlagen, daß der Verteiler als Doppelkammergefäß ausgebildet, zumindest die mit der Gießdüse versehene Ausgießkammer oberhalb der Schmelze gasdicht geschlossen und mit einer druckregelbaren Gasquelle verbunden ist, daß ferner der Gießdüse eine lagenveränderbare, anstellbare Glättrolle nachgeordnet ist, an der Gießdüse wenigstens ein Abstandsmeßgerät zur Feststellung der Lage der Gießdüse zum Kühlband vorgesehen und über einen Regler mit Mitteln zur Lageänderung des Verteilers verbunden ist.
  • Eine weitere erfindungsgemäße Ausgestaltung der Gießeinrichtung sieht vor, daß das Abstandsmeßgerät ein Staudruckmeßgerät ist und die Meßöffnung in der Ebene der Austrittsöffnung der Gießdüse in der Wand der Gießdüse angeordnet ist, die der Bandeinlaufseite zugeordnet ist und die Austrittsöffnung der Gießdüse zur Oberfläche des Kühlbandes geneigt angeordnet ist und der Neigungswinkel sich in Bandabzugsrichtung öffnet.
  • In weiterer Ausgestaltung der Erfindung ist vorgesehen, daß in Bandabzugsrichtung hinter der Gießdüse Mittel angeordnet sind, mit denen die Dicke des gegossenen Bandes erfaßt werden kann und daß die gemessenen Werte in einer Regeleinheit mit vorgegebenen Sollwerten verglichen werden und der Regler auf die Gasquelle im Sinne einer Druckänderung einwirkt, um über eine Steuerung der Schmelzenausflußmenge die vorgesehene Banddicke zu regulieren.
  • Das Mittel zur Feststellung der Banddicke ist insbesondere ein radiometrisch arbeitendes Meßgerät. In einer Abwandlung des erfindungsgemäßen Verfahrens kann das radiometrisch arbeitende Meßgerät mit einem weiteren Regler verbunden sein, der mit Stellantrieben von einem unterhalb des Kühlbandes angeordneten, höhenverstellbaren Stützelement verbunden ist. Dieses Stützelement liegt insbesondere unterhalb der Gießdüse und kann mit zur Steuerung der Banddicke herangezogen werden.
  • In weiterer Ausgestaltung der Erfindung wird vorgeschlagen, daß über die Bandbreite verteilt mehrere Meßgeräte angeordnet sind, wobei jedes Meßgerät jeweils über einen Regler mit den entsprechenden Stellantrieben je eines Stützelementes verbunden ist.
  • In weiterer Ausgestaltung der Erfindung ist vorgesehen, daß für den Fall, daß die Gießdüse in der Breitenerstreckung der Breite des zu gießenden Bandes entspricht, die eingangs erwähnten Abstandsmeßgeräte in den Außenbereich der Gießdüse angeordnet sind, um ein Verkippen des Bandes gegenüber des Gießdüse zu vermeiden und um ein über die gesamte Breite gleichmäßiges dickes Band zu erzeugen.
  • Bezüglich des Verfahrens zum Betrieb einer Gießvorrichtung zur kontinuierlichen Herstellung von Metallband, bei dem Schmelze aus einem Verteiler in eine Gießform, die aus einem umlaufenden Kühlband, einer Gießdüse und dem Kühlband zugeordneter Kühlrolle besteht, zugeführt wird, wobei die Lage der Austrittsöffnung der Gießdüse zum Kühlband die Dicke des des erzeugten Bandes bestimmt, wird erfindungsgemäß vorgeschlagen, daß die daß die Dicke des gegossenen Bandes gemessen, der Meßwert einem Regeler zugeführt wird und nach Vergleich mit einem vorgegebenen, die Dicke des Bandes charakterisierenden Sollwert der Gasdruck in der Ausgießkammer des Verteilergefäßes in Verbindung mit der Zulaufmenge der Schmelze in die Eingießkammer geregelt wird.
  • Das vorbeschriebene Verfahren zum Betrieb einer Gießeinrichtung kann in weiterer Ausgestaltung der Erfindung, ausgehend von der zuvor beschriebenen gattungsgemäßen Art dadurch gekennzeichnet sein, daß der Abstand der Gießdüse mittels Staudruckmessung eines aus einer Meßöffnung in der Ebene in der Austrittsöffnung austretenden Gasstrahles erfaßt, ein dem Meßwert des Staudruckes entsprechendes Signal einem Regler zugeführt wird und nach Vergleich mit einem Sollwert, der den Abstand der Düse vom Kühlband charakterisiert, an den Verteiler angreifende Stellmittel in Sinne einer Konstanthaltung des Meßwertes bzw. des Abstandes Gießdüse zur Kühlbandoberfläche betätigt wird.
  • Es gehört mit zur verfahrenstechnischen Ausgestaltung der Erfindung, daß die Dicke des gegossenen Bandes mittels mehrerer Dickenmeßgeräte in der Nähe der Gießdüse verteilt über die Bandbreite gemessen wird, die Meßwerte der einzelnen Meßgeräte mit einer vorgegebenen, die Dicke des Bandes charakterisierenden Sollwertes in einem je einem Meßgerät zugeordneten Regler verglichen und bei Abweichungen vom Sollwert dem Stellantrieb des jeweils dem Dickenmeßgerät zugeordneten, der Gießdüse gegenüberliegenden Stützelement zur Einstellung eines gewünschten Profils zugeführt und eingestellt wird.
  • Die Erfindung soll anhand der beiliegenden Zeichnungen näher erläutert werden.
  • Es zeigen
    • Fig. 1 eine Seitenansicht der Gießeinrichtung,
    • Fig. 2 eine Seitenansicht der Gießeinrichtung mit den erfindungsgemäßen Regelkreisen,
    • Fig. 3 die Anordnung des Staudruckmeßgerätes an der Gießdüse und
    • Fig. 4 die Anordnung von Stützelementen für das Kühlband unter der Gießdüse.
  • In der Zeichnung sind gleiche Teile mit den gleichen Bezugszeichen versehen.
  • Fig. 1 zeigt eine Gießeinrichtung zum kontinuierlichen Herstellen von Metallband 19, bestehend aus dem endlosen Kühlband 9, das über Transportrollen 20, 21 geführt und umlaufend angetrieben wird. Oberhalb des Kühlbandes 9 ist eine Kühl- bzw. Glättrolle 1 angeordnet, die durch Stellzylinder 22 in ihrer Lage zum Kühlband 9 veränderbar ist. Das Kühlband 9 einschließlich der Transportrollen 20, 21 ist auf einem Rahmen 2 gelagert, der in der Neigung zur Horizontalen verstellbar ist. Zu diesem Zweck ist der Rahmen 2 an einer Seite gelenkig gelagert, mit einer Gelenkachse 4, die sich quer zur Bandabzugsrichtung erstreckt und an der gegenüberliegenden Seite auf vertikal angeordneten hydraulisch betriebenen Stellzylindern 16 ruht. Mit 24 ist eine Gasquelle bezeichnet, die an die Auslaufkammer 3˝ angeschlossen ist.
  • Innerhalb des Rahmens 2 ist das Verteilergefäß 3 ebenfalls in der Lage verstellbar gelagert. Das Verteilergefäß 3 besteht aus einer Einlaufkammer 3′ und aus einer Auslaufkammer 3˝. An der Auslaufkammer 3˝ ist die Gießdüse 7 angeordnet. Die Ausgießkammer 3 ist oberhalb des Schmelze gasdicht verschlossen. Der als Doppelkammergefäß ausgebildete Verteiler 3 wird in die Bereiche Eingießkammer 3′ und Ausgießkammer 3˝ durch eine Mittenwand 23 getrennt, die von oben in den Verteiler bis in die Schmelze hineinragt.
  • Gemäß Fig. 2 ist der den Verteiler 3 tragende, verfahrbare Wagen 6 auf dem Rahmen 2 gelagert. Der Verteiler 3 ist mittels Hydraulikzylinder 13 höhenverstellbar. Der Hydraulikzylinder 13 ist in einen Regelkreis einbezogen, der den Regler R1 und eine Staudruckmessung eines an der Gießdüse 7 austretenden Gasstrahles umfaßt, wie in Fig. 3 näher dargestellt. Hier ist in der Ebene der Düsenaustrittsöffnung 8, die einen Neigungswinkel 10 zum Kühlband 9 einschließt, das Abstandsmeßgerät 11 mit der Meßöffnung 11′ an bzw. in der der Bandeinlaufseite zugeordneten Wand der Gießdüse 7 angeordnet. Der Staudruck des bei 11′ austretenden Gases als Maß für den Abstand der Gießdüse 7 vom Kühlband 9 wird dem Regler R1 zugeführt. Der Regler R1 steuert den Hydraulikzylinder 13 im Sinne einer Konstanthaltung des Abstandes der Gießdüse 7 von der Oberfläche des Kühlbandes 9.
  • Weiter ist in Fig. 2 der Gießdüse 7 in Bandlaufrichtung unmittelbar nachgeordnet ein Dickenmeßgerät 14 zur Feststellung der Dicke des erzeugten Metallbandes 19. Das Dickenmaßgerät arbeitet nach der Durchstrahlungsmethode und weist demgemäß Sender und Empfänger auf, die über bzw. unter dem Band angeordnet sind. Das Meßgerät 14 ist über den Regler R2 mit der drucksteuerbaren Gasquelle 24 verbunden. Über den Gasdruck in der Ausgießkammer 3˝ kann der Badspiegelstand der Schmelze 25 geregelt werden und damit die Ausflußmenge des aus der Gießdüse 7 austretenden Metalles. In Abhängigkeit von der Geometrie des Verteilers 3, also der Ausbildung als Doppelkammer der Lage der Gießdüse 7 und der Lage der Unterkante der Mittenwand 23, wird die "Gasquelle" als Anschluß an eine Unterdruckkammer betrieben. Dadurch ist es möglich, in Abstimmung mit der in die Eingießkammer fließenden Schmelzenmenge den Höhenstand der Schmelze so zu regulieren, daß für den Schmelzenfluß in der Gießdüse nur der in der Eingießkammer vorhandene ferrostatische Druck maßgeblich wirkt. Das Meßgerät 14 steht ferner mit einem weiteren Regler R4 in Verbindung, der Stellmittel zur Beeinflussung des Abstandes von unterhalb des Kühlbandes 9 angeordneten Stützelementen 18 trägt. Die Stützelemente 18 in Form einer durchgehenden oder auch aus einzelnen Abschnitten bestehenden Rolle sind im Bereich der Austrittsöffnung der Gießdüse 7 angeordnet. Durch die steuerbare Lage der Stützelemente 18 ist ebenfalls eine Beeinflussung der Dicke des zu erzeugenden Bandes 19 möglich. Für den Fall, daß das Stützelement 18 aus mehreren Einzelrollen besteht, sind natürlich eine entsprechende Anzahl von Stellelementen 15 erforderlich. Diese Einzelheit ist in Fig. 4 dargestellt. Fig. 4 zeigt die Gießdüse 7 mit unterhalb des Bandes 9 angeordneten Einzelrollen 181, 182, 183. Dabei ist jeder Rolle ein entsprechendes Stellmittel 171, 172, 173 zugeordnet, die jeweils mit einem eigenen Regler R41, R42, R43 verbunden sind. Eine derartige Aufgliederung der Stützelemente macht es natürlich erforderlich, daß auch eine entsprechende Anzahl von Dickenmeßgeräten 14 vorhanden ist, so daß jedem Dickenmeßgerät 14 eine entsprechende Stützrolle zugeordnet ist. Durch diese Aufteilung ist es möglich, eine feinere Einstellung und Beeinflussung der Banddicke über die Bandbreite zu erzielen.
  • Desweiteren ist in Fig. 2 ein zusätzlicher Regelkreis dargestellt, der die Bandgeschwindigkeit des Kühlbandes 9 erfaßt, die Bandgeschwindigkeit einem Regler R3 zuführt und auf einen Stellzylinder 16 wirkt, mit dessen Hilfe die Neigung des Gießbandes in Abhängigkeit von der Bandgeschwindigkeit geregelt werden kann.

Claims (10)

1. Gießeinrichtung zur kontinuierlichen Herstellung von Metallband, mit einem umlaufenden Kühlband, einem Verteiler mit Gießdüse udn der Gießdüse nachgeordneter lageveränderbarer anstellbarer Glättrolle, wobei das Kühlband auf einem in der Neigung zur Horizontalen verstellbaren Rahmen gelagert und der Verteiler innerhalb des Rahmens höhenverstellbar ist, der Verteiler (3) als Doppelkammergefäß mit einer Eingießkammer (3′) und einer Ausgießkammer (3˝) ausgebildet und zumindest die mit der Gießdüse (7) versehene Ausgießkammer (3˝) oberhalb der Schmelze gasdicht geschlossen ist,
dadurch gekennzeichnet,
daß die gasdicht verschlossene Kammer mit einer druckregelbaren Gasquelle (24) verbunden ist und an der Gießdüse (7) wenigstens ein Abstandsmeßgerät (11) zur Feststellung der Lage der Gießdüse (7) zum Kühlband (9) vorgesehen und über einen Regler (R1) mit Mitteln (13) zur Lageänderung des Verteilers (3) verbunden ist.
2. Gießeinrichtung nach Anspruch 1,
dadurch gekennzeichnet,
daß das Abstandsmeßgerät (11) ein Staudruckmeßgerät ist und die Meßöffnung (11′) in der Ebene der Austrittsöffnung (8) der Gießdüse (7) in der Wand der Gießdüse (7) angeordnet ist, die der Bandeinlaufseite zugeordnet ist und die Austrittsöffnung (8) der Gießdüse (7) zur Oberfläche des Kühlbandes (9) geneigt angeordnet ist und der Neigungswinkel (10) sich in Bandabzugsrichtung öffnet.
3. Gießeinrichtung nach Anspruch 1,
dadurch gekennzeichnet,
daß die druckregelbare Gasquelle (24) über einen Regler (R2) mit in Bandabzugsrichtung der Gießdüse (7) nachgeordneten Mitteln (14) zur Feststellung der Dicke des gegossenen Bandes (19) versehen ist.
4. Gießeinrichtung nach Anspruch 3,
dadurch gekennzeichnet,
daß das Mittel (14) ein radiometrisch arbeitendes Meßgerät ist.
5. Gießeinrichtung nach einem der Ansprüche 1 bis 4,
dadurch gekennzeichnet,
daß das radiometrisch arbeitende Meßgerät (14) mit einem Regler (R4) verbunden und der Regler (R4) mit einem Stellantriebe (17) von einem unterhalb des Kühlbandes (9) angeordneten, der Gießdüse (7) gegenüberliegenden, höhenverstellbaren Stützelement (18) verbunden ist.
6. Gießeinrichtung nach Anspruch 5,
dadurch gekennzeichnet,
daß über die Bandbreite verteilt mehrere Meßgeräte (14) angeordnet sind, wobei jedes Meßgerät jeweils über einen Regler (R41, R42, R43) mit den entsprechenden Stellantrieben (171, 172, 173) je eines Stützelementes (181, 182, 183) verbunden ist.
7. Gießeinrichtung nach den Ansprüchen 1 und 2,
dadurch gekennzeichnet,
daß die Gießdüse (7) der Breite des zu gießenden Bandes (19) entspricht und in den Außenbereichen der Gießdüse (7) Abstandsmeßgeräte (11) angeordnet sind.
8. Verfahren zum Betrieb einer Gießeinrichtung zur kontinuierlichen Herstellung von Metallband, bei dem Schmelze aus einem Verteiler in eine Gießform, die aus einem umlaufenden Kühlband, einer Gießdüse und dem Kühlband zugeordneter Kühlrolle besteht, zugeführt wird, wobei der ferrostatische Druck im Verteiler und die Größe des Austrittsquerschnittes der Gießdüse in Verbindung mit der Lage der Austrittsöffnung der Gießdüse zum Kühlband die Dicke des erzeugten bandes bestimmt,
dadurch gekennzeichnet,
daß die Dicke des gegossenen Bandes gemessen, der Meßwert einem Regeler zugeführt wird und nach Vergleich mit einem vorgegebenen, die Dicke des Bandes charakterisierenden Sollwert der Gasdruck in der Ausgießkammer (3˝) des Verteilergefäßes (3) in Verbindung mit der Zulaufmenge der Schmelze in die Eingießkammer (3′) geregelt wird.
9. Verfahren zum Betrieb einer Gießeinrichtung zur kontinuierlichen Herstellung von Metallband, bei dem Schmelze aus einem Verteiler in eine Gießform, die aus einem umlaufenden Kühlband, einer Gießdüse und dem Kühlband zugeordneter Kühlrolle besteht, zugeführt wird, wobei der ferrostatische Druck im Verteiler und die Größe des Austrittsquerschnittes der Gießdüse in Verbindung mit der Lage der Austrittsöffnung der Gießdüse zum Kühlband die Dicke des erzeugten Bandes bestimmt,
dadurch gekennzeichnet,
daß der Abstand der Gießdüse (7) mittels Staudruckmessung eines aus einer Öffnung in der Ebene der Austrittsöffnung (8) austretenden Gasstrahles erfaßt, daß ein den Meßwert des Staudruckes entsprechendes Signal einem Regler zugeführt wird und nach Vergleich mit einem Sollwert, der den Abstand der Düse (7) vom Kühlband (9) charakterisiert, an den Verteiler (3) angreifende Stellmittel (13) im Sinne einer Konstanthaltung des Meßwertes bzw. des Abstandes der Gießdüse (7) zur Kühlbandoberfläche betätigt werden.
10. Verfahren zum Betrieb einer Gießeinrichtung zur kontinuierlichen Herstellung von Metallband, bei dem Schmelze aus einem Verteiler in eine Gießform, die aus einem umlaufenden Kühlband, einer Gießdüse und dem Kühlband zugeordneter Kühlrolle besteht, zugeführt wird, wobei der ferrostatische Druck im Verteiler und die Größe des Austrittsquerschnittes der Gießdüse in Verbindung mit der Lage der Austrittsöffnung der Gießdüse zum Kühlband die Dicke des erzeugten Bandes bestimmt,
dadurch gekennzeichnet,
daß die Dicke des gegossenen Bandes mittels mehrerer Dickenmeßgeräte in der Nähe der Gießdüse verteilt über die Bandbreite gemessen wird, die Meßwerte der einzelnen Meßgeräte mit einer vorgegebenen, die Dicke des Bandes charakterisierenden Sollwertes in einem je einem Meßgerät zugeordneten Regler verglichen und bei Abweichungen vom Sollwert dem Stellantrieb des jeweils dem Dickenmeßgerät zugeordneten, der Gießdüse gegenüberliegenden Stützelement zur Einstellung eines gewünschten Profils zugeführt und eingestellt wird.
EP89730066A 1988-03-24 1989-03-14 Giesseinrichtung zur kontinuierlichen Herstellung von Metallband und Verfahren Expired - Lifetime EP0334802B1 (de)

Priority Applications (1)

Application Number Priority Date Filing Date Title
AT89730066T ATE89770T1 (de) 1988-03-24 1989-03-14 Giesseinrichtung zur kontinuierlichen herstellung von metallband und verfahren.

Applications Claiming Priority (2)

Application Number Priority Date Filing Date Title
DE3810302A DE3810302A1 (de) 1988-03-24 1988-03-24 Giesseinrichtung zur kontinuierlichen herstellung von metallband
DE3810302 1988-03-24

Publications (3)

Publication Number Publication Date
EP0334802A2 true EP0334802A2 (de) 1989-09-27
EP0334802A3 EP0334802A3 (en) 1990-11-22
EP0334802B1 EP0334802B1 (de) 1993-05-26

Family

ID=6350766

Family Applications (1)

Application Number Title Priority Date Filing Date
EP89730066A Expired - Lifetime EP0334802B1 (de) 1988-03-24 1989-03-14 Giesseinrichtung zur kontinuierlichen Herstellung von Metallband und Verfahren

Country Status (10)

Country Link
US (1) US5000250A (de)
EP (1) EP0334802B1 (de)
JP (1) JP2925568B2 (de)
KR (1) KR960007493B1 (de)
AT (1) ATE89770T1 (de)
BR (1) BR8901364A (de)
DE (2) DE3810302A1 (de)
DK (1) DK137189A (de)
ES (1) ES2040497T3 (de)
ZA (1) ZA892180B (de)

Cited By (8)

* Cited by examiner, † Cited by third party
Publication number Priority date Publication date Assignee Title
EP0463255A3 (en) * 1990-06-22 1992-09-23 Armco Inc. Pneumatic gap sensor and method
EP0463256A3 (en) * 1990-06-22 1992-10-14 Armco Inc. Electronic gap sensor and method
EP0534174A1 (de) * 1991-09-27 1993-03-31 Wieland-Werke Ag Verfahren und Vorrichtung zur Herstellung eines endabmessungsnahen Metallbandes
WO1994008742A1 (de) * 1992-10-10 1994-04-28 Sundwiger Eisenhütte Maschinenfabrik Gmbh & Co. Bandgiessmaschine, bestehend aus mindestens einer bewegten kühlfläche, insbesondere einem giessrad mit vorgeordneter giessdüse oder tundish
EP0613744A1 (de) * 1993-03-05 1994-09-07 Wieland-Werke Ag Giessvorrichtung zur kontinuierlichen Herstellung von Metallband
US5538071A (en) * 1991-07-01 1996-07-23 Mannesmann Aktiengesellschaft Machine and method of continuously casting a metal strip
WO2008110330A1 (de) * 2007-03-09 2008-09-18 Sms Siemag Ag Vorrichtung zur dickenmessung und verfahren hierfür
WO2012080191A1 (de) * 2010-12-15 2012-06-21 Sms Siemag Ag Vorrichtung und verfahren zum horizontalen giessen von metallbändern

Families Citing this family (11)

* Cited by examiner, † Cited by third party
Publication number Priority date Publication date Assignee Title
US5092392A (en) * 1990-06-22 1992-03-03 Armco, Inc. Pneumatic gap sensor and method
DE4039959C1 (de) * 1990-12-14 1992-01-23 Wieland-Werke Ag, 7900 Ulm, De
DE4132189C1 (en) * 1991-09-27 1993-02-04 Wieland-Werke Ag, 7900 Ulm, De Metal strip prodn. - by feeding molten metal from tundish via casting nozzle onto cooled conveyor belt
DE4344953C2 (de) * 1993-12-27 1996-10-02 Mannesmann Ag Verfahren und Vorrichtung zum Angießen eines endabmessungsnahen Metallbandes
DE4407873C2 (de) * 1994-03-04 1997-04-10 Mannesmann Ag Verfahren und Vorrichtung zum Kühlen schmelzflüssigen Stahls
US6026887A (en) * 1997-03-04 2000-02-22 Hazelett Strip-Casting Corporation Steering, tensing and driving a revolving casting belt using an exit-pulley drum for achieving all three functions
DE19811434C2 (de) * 1998-03-17 2002-05-16 Mannesmann Ag Verfahren und Vorrichtung zum Vergleichmäßigen eines schmelzflüssigen Metallfilmes
ATE305834T1 (de) * 2003-08-01 2005-10-15 Hof Te Fiennes N V Giesssystem und verfahren zum vergiessen von ne- metallschmelzen
DE102008005727B3 (de) * 2008-01-23 2009-10-01 Technische Universität Clausthal Zuführeinrichtung für eine Metallschmelze und eine mit einer solchen Vorrichtung ausgestattete Bandgießeinrichtung
CN103286291B (zh) * 2013-05-27 2015-04-29 平湖东创新材料科技有限公司 板材成型设备
DE102015114725B3 (de) * 2015-09-03 2016-12-08 Salzgitter Flachstahl Gmbh Schmelzenaufgabesystem für eine horizontale Bandgießanlage

Family Cites Families (10)

* Cited by examiner, † Cited by third party
Publication number Priority date Publication date Assignee Title
US4449568A (en) * 1980-02-28 1984-05-22 Allied Corporation Continuous casting controller
JPS57142748A (en) * 1981-02-27 1982-09-03 Hitachi Ltd Molding device for thin plate
JPS59150646A (ja) * 1983-02-17 1984-08-28 Kawasaki Steel Corp 金属板の連続鋳造方法およびその装置
CH662073A5 (de) * 1983-06-01 1987-09-15 Lauener W F Ag Verfahren zum zufuehren einer metallschmelze und giessmaschine zur durchfuehrung des verfahrens.
CH661882A5 (de) * 1983-06-01 1987-08-31 Lauener W F Ag Verfahren zum zufuehren einer metallschmelze in den giessspalt einer giessmaschine und giessmaschine zur durchfuehrung des verfahrens.
DE3403152C2 (de) * 1984-01-31 1986-02-20 Fried. Krupp Gmbh, 4300 Essen Verfahren zum Zuführen von Stahlschmelze aus einem Zwischenbehälter in eine Doppelbandstranggießkokille und Zwischenbehälter zur Durchführung des Verfahrens
DE3440237C2 (de) * 1984-11-03 1986-11-06 Mannesmann AG, 4000 Düsseldorf Vorrichtung zum Bandstranggießen von Metallen, insbesondere von Stahl
JPS61144251A (ja) * 1984-12-18 1986-07-01 Kawasaki Heavy Ind Ltd 連続鋳造設備のノズル交換方法および装置
US4646812A (en) 1985-09-20 1987-03-03 Battelle Development Corporation Flow casting
DE3707897A1 (de) * 1987-03-12 1988-09-22 Mannesmann Ag Verfahren und giessvorrichtung zum giessen von baendern aus metall, insbesondere aus stahl

Cited By (12)

* Cited by examiner, † Cited by third party
Publication number Priority date Publication date Assignee Title
EP0463255A3 (en) * 1990-06-22 1992-09-23 Armco Inc. Pneumatic gap sensor and method
EP0463256A3 (en) * 1990-06-22 1992-10-14 Armco Inc. Electronic gap sensor and method
AU644112B2 (en) * 1990-06-22 1993-12-02 Armco Inc. Pneumatic gap sensor and method
US5538071A (en) * 1991-07-01 1996-07-23 Mannesmann Aktiengesellschaft Machine and method of continuously casting a metal strip
EP0534174A1 (de) * 1991-09-27 1993-03-31 Wieland-Werke Ag Verfahren und Vorrichtung zur Herstellung eines endabmessungsnahen Metallbandes
WO1994008742A1 (de) * 1992-10-10 1994-04-28 Sundwiger Eisenhütte Maschinenfabrik Gmbh & Co. Bandgiessmaschine, bestehend aus mindestens einer bewegten kühlfläche, insbesondere einem giessrad mit vorgeordneter giessdüse oder tundish
EP0613744A1 (de) * 1993-03-05 1994-09-07 Wieland-Werke Ag Giessvorrichtung zur kontinuierlichen Herstellung von Metallband
WO2008110330A1 (de) * 2007-03-09 2008-09-18 Sms Siemag Ag Vorrichtung zur dickenmessung und verfahren hierfür
RU2431116C2 (ru) * 2007-03-09 2011-10-10 Смс Зимаг Аг Устройство и способ измерения толщины
US9335164B2 (en) 2007-03-09 2016-05-10 Sms Group Gmbh Device for thickness measurement and method therefor
WO2012080191A1 (de) * 2010-12-15 2012-06-21 Sms Siemag Ag Vorrichtung und verfahren zum horizontalen giessen von metallbändern
DE102010063093B4 (de) 2010-12-15 2023-07-06 Sms Group Gmbh Vorrichtung und Verfahren zum horizontalen Gießen von Metallbändern

Also Published As

Publication number Publication date
BR8901364A (pt) 1989-11-07
EP0334802B1 (de) 1993-05-26
ATE89770T1 (de) 1993-06-15
KR890014189A (ko) 1989-10-23
DK137189D0 (da) 1989-03-21
DE3810302A1 (de) 1989-10-12
DE3810302C2 (de) 1990-07-05
DK137189A (da) 1989-09-25
KR960007493B1 (ko) 1996-06-05
DE58904455D1 (de) 1993-07-01
ES2040497T3 (es) 1993-10-16
US5000250A (en) 1991-03-19
ZA892180B (en) 1989-11-29
EP0334802A3 (en) 1990-11-22
JP2925568B2 (ja) 1999-07-28
JPH01278946A (ja) 1989-11-09

Similar Documents

Publication Publication Date Title
EP0334802B1 (de) Giesseinrichtung zur kontinuierlichen Herstellung von Metallband und Verfahren
DE69503742T2 (de) Vorrichtung zum Stranggiessen zwischen Giesswalzen mit Inertgasschutz
DE2757052A1 (de) Vorrichtung zur niveauueberwachung und -steuerung des geschmolzenen metalls in der gussform einer strang-gussmaschine
DE2939322C2 (de) Vorrichtung zur Änderung des Abstandes von Spritzbalken einer Stranggießanlage
DE3532763A1 (de) Verfahren und vorrichtung zum automatischen vergiessen von fluessigem metall
EP0515010A2 (de) Temperaturmessung an einer Brammenkokille
EP0114293B1 (de) Verfahren und Vorrichtung zur Einstellung der Konizität von Schmalseitenwänden von Stranggiesskokillen
EP0019114B1 (de) Verfahren und Vorrichtung zum Stranggiessen von mehreren Strängen
DE4138655C2 (de) Ausflußregler für Zwischengefäß
DE3707897C2 (de)
DE69801945T2 (de) Giessen von Metallbändern
DE4313041A1 (de) Gießen von Metallband
DE3440236C2 (de)
EP3486001B1 (de) Dünnbrammengiessanlage mit wechselbarem maschinenkopf
EP4514554B1 (de) Giess-walz-anlage und verfahren zur erzeugung eines stahlbandes
EP0613744B1 (de) Giessvorrichtung zur kontinuierlichen Herstellung von Metallband
EP1057557B1 (de) Verfahren und Vorrichtung zum kontinuierlichen Giessen von Metall
EP0383413A2 (de) Verfahren zum Stranggiessen
DE10122118A1 (de) Verfahren und Vorrichtung zum Stranggiessen von Blöcken, Brammen und Dünnbrammen
EP0083916A1 (de) Vorrichtung zum Horizontal-Stranggiessen von Metallen und Legierungen, insbesondere von Stählen
DE2830840B2 (de) Verfahren und Vorrichtung zum Regeln des Badspiegels beim Stranggießen
DE3241405A1 (de) Kokillen- oder induktions-stranggiessverfahren
DE102008005727B3 (de) Zuführeinrichtung für eine Metallschmelze und eine mit einer solchen Vorrichtung ausgestattete Bandgießeinrichtung
DE10311280A1 (de) Stranggießanlage zum Gießen von Strängen aus flüssigem Metall, insbesondere aus flüssigem Stahlwerkstoff mit einem Verteilerrinnen-Wagen
DE3934975A1 (de) Verfahren zur regelung der lage des giessspiegels in einer bandstranggiessanlage und einrichtung hierzu

Legal Events

Date Code Title Description
PUAI Public reference made under article 153(3) epc to a published international application that has entered the european phase

Free format text: ORIGINAL CODE: 0009012

AK Designated contracting states

Kind code of ref document: A2

Designated state(s): AT BE CH DE ES FR GB GR IT LI LU NL SE

PUAL Search report despatched

Free format text: ORIGINAL CODE: 0009013

AK Designated contracting states

Kind code of ref document: A3

Designated state(s): AT BE CH DE ES FR GB GR IT LI LU NL SE

17P Request for examination filed

Effective date: 19910516

17Q First examination report despatched

Effective date: 19920714

GRAA (expected) grant

Free format text: ORIGINAL CODE: 0009210

AK Designated contracting states

Kind code of ref document: B1

Designated state(s): AT BE CH DE ES FR GB GR IT LI LU NL SE

PG25 Lapsed in a contracting state [announced via postgrant information from national office to epo]

Ref country code: GR

Free format text: LAPSE BECAUSE OF FAILURE TO SUBMIT A TRANSLATION OF THE DESCRIPTION OR TO PAY THE FEE WITHIN THE PRESCRIBED TIME-LIMIT

Effective date: 19930526

REF Corresponds to:

Ref document number: 89770

Country of ref document: AT

Date of ref document: 19930615

Kind code of ref document: T

ITF It: translation for a ep patent filed
ET Fr: translation filed
REF Corresponds to:

Ref document number: 58904455

Country of ref document: DE

Date of ref document: 19930701

GBT Gb: translation of ep patent filed (gb section 77(6)(a)/1977)

Effective date: 19930812

REG Reference to a national code

Ref country code: ES

Ref legal event code: FG2A

Ref document number: 2040497

Country of ref document: ES

Kind code of ref document: T3

PLBI Opposition filed

Free format text: ORIGINAL CODE: 0009260

EPTA Lu: last paid annual fee
PG25 Lapsed in a contracting state [announced via postgrant information from national office to epo]

Ref country code: CH

Effective date: 19940331

Ref country code: LI

Effective date: 19940331

26 Opposition filed

Opponent name: SUNDWIGER EISENHUETTE MASCHINENFABRIK

Effective date: 19940224

NLR1 Nl: opposition has been filed with the epo

Opponent name: SUNDWIGER EISENHUETTE MASCHINENFABRIK.

REG Reference to a national code

Ref country code: CH

Ref legal event code: PL

EAL Se: european patent in force in sweden

Ref document number: 89730066.1

PLBN Opposition rejected

Free format text: ORIGINAL CODE: 0009273

STAA Information on the status of an ep patent application or granted ep patent

Free format text: STATUS: OPPOSITION REJECTED

PGFP Annual fee paid to national office [announced via postgrant information from national office to epo]

Ref country code: LU

Payment date: 19960201

Year of fee payment: 8

27O Opposition rejected

Effective date: 19951026

NLR2 Nl: decision of opposition
PG25 Lapsed in a contracting state [announced via postgrant information from national office to epo]

Ref country code: LU

Free format text: LAPSE BECAUSE OF NON-PAYMENT OF DUE FEES

Effective date: 19970314

REG Reference to a national code

Ref country code: GB

Ref legal event code: IF02

PGFP Annual fee paid to national office [announced via postgrant information from national office to epo]

Ref country code: ES

Payment date: 20080328

Year of fee payment: 20

PGFP Annual fee paid to national office [announced via postgrant information from national office to epo]

Ref country code: NL

Payment date: 20080318

Year of fee payment: 20

Ref country code: SE

Payment date: 20080313

Year of fee payment: 20

Ref country code: GB

Payment date: 20080320

Year of fee payment: 20

Ref country code: IT

Payment date: 20080321

Year of fee payment: 20

PGFP Annual fee paid to national office [announced via postgrant information from national office to epo]

Ref country code: AT

Payment date: 20080314

Year of fee payment: 20

PGFP Annual fee paid to national office [announced via postgrant information from national office to epo]

Ref country code: FR

Payment date: 20080314

Year of fee payment: 20

Ref country code: DE

Payment date: 20080321

Year of fee payment: 20

PGFP Annual fee paid to national office [announced via postgrant information from national office to epo]

Ref country code: BE

Payment date: 20080430

Year of fee payment: 20

BE20 Be: patent expired

Owner name: *MANNESMANN A.G.

Effective date: 20090314

REG Reference to a national code

Ref country code: GB

Ref legal event code: PE20

Expiry date: 20090313

NLV7 Nl: ceased due to reaching the maximum lifetime of a patent

Effective date: 20090314

REG Reference to a national code

Ref country code: ES

Ref legal event code: FD2A

Effective date: 20090316

PG25 Lapsed in a contracting state [announced via postgrant information from national office to epo]

Ref country code: NL

Free format text: LAPSE BECAUSE OF EXPIRATION OF PROTECTION

Effective date: 20090314

PG25 Lapsed in a contracting state [announced via postgrant information from national office to epo]

Ref country code: GB

Free format text: LAPSE BECAUSE OF EXPIRATION OF PROTECTION

Effective date: 20090313

PG25 Lapsed in a contracting state [announced via postgrant information from national office to epo]

Ref country code: ES

Free format text: LAPSE BECAUSE OF EXPIRATION OF PROTECTION

Effective date: 20090316