EP0277342A2 - Verfahren u. Vorrichtung zur Vergleichmässigung der Erwärmung von Speisen in einem mit Mikrowellenenergie beheizten Gargerät - Google Patents

Verfahren u. Vorrichtung zur Vergleichmässigung der Erwärmung von Speisen in einem mit Mikrowellenenergie beheizten Gargerät Download PDF

Info

Publication number
EP0277342A2
EP0277342A2 EP87118985A EP87118985A EP0277342A2 EP 0277342 A2 EP0277342 A2 EP 0277342A2 EP 87118985 A EP87118985 A EP 87118985A EP 87118985 A EP87118985 A EP 87118985A EP 0277342 A2 EP0277342 A2 EP 0277342A2
Authority
EP
European Patent Office
Prior art keywords
waveguide
rotating body
rear wall
microwaves
cooking
Prior art date
Legal status (The legal status is an assumption and is not a legal conclusion. Google has not performed a legal analysis and makes no representation as to the accuracy of the status listed.)
Granted
Application number
EP87118985A
Other languages
English (en)
French (fr)
Other versions
EP0277342B1 (de
EP0277342A3 (en
Inventor
Gerd Dr. Naumann
Current Assignee (The listed assignees may be inaccurate. Google has not performed a legal analysis and makes no representation or warranty as to the accuracy of the list.)
Electrolux Juno Kuchentechnik GmbH
Original Assignee
Electrolux Juno Kuchentechnik GmbH
Buderus Kuechentechnik GmbH
Priority date (The priority date is an assumption and is not a legal conclusion. Google has not performed a legal analysis and makes no representation as to the accuracy of the date listed.)
Filing date
Publication date
Application filed by Electrolux Juno Kuchentechnik GmbH, Buderus Kuechentechnik GmbH filed Critical Electrolux Juno Kuchentechnik GmbH
Priority to AT87118985T priority Critical patent/ATE91375T1/de
Publication of EP0277342A2 publication Critical patent/EP0277342A2/de
Publication of EP0277342A3 publication Critical patent/EP0277342A3/de
Application granted granted Critical
Publication of EP0277342B1 publication Critical patent/EP0277342B1/de
Anticipated expiration legal-status Critical
Expired - Lifetime legal-status Critical Current

Links

Images

Classifications

    • HELECTRICITY
    • H05ELECTRIC TECHNIQUES NOT OTHERWISE PROVIDED FOR
    • H05BELECTRIC HEATING; ELECTRIC LIGHT SOURCES NOT OTHERWISE PROVIDED FOR; CIRCUIT ARRANGEMENTS FOR ELECTRIC LIGHT SOURCES, IN GENERAL
    • H05B6/00Heating by electric, magnetic or electromagnetic fields
    • H05B6/64Heating using microwaves
    • H05B6/70Feed lines
    • H05B6/707Feed lines using waveguides
    • HELECTRICITY
    • H05ELECTRIC TECHNIQUES NOT OTHERWISE PROVIDED FOR
    • H05BELECTRIC HEATING; ELECTRIC LIGHT SOURCES NOT OTHERWISE PROVIDED FOR; CIRCUIT ARRANGEMENTS FOR ELECTRIC LIGHT SOURCES, IN GENERAL
    • H05B6/00Heating by electric, magnetic or electromagnetic fields
    • H05B6/64Heating using microwaves
    • H05B6/74Mode transformers or mode stirrers
    • H05B6/745Rotatable stirrers

Definitions

  • the invention relates to a method for equalizing the heating of food in a microwave oven heated cooking device and an apparatus for performing this method.
  • the microwaves generated by a magnetron are fed into a cooking chamber which acts as a resonance chamber and which is enclosed by the metallic walls of the cooking muffle. It is possible to feed the magnetron output probe directly into the cooking space.
  • a cooking chamber which acts as a resonance chamber and which is enclosed by the metallic walls of the cooking muffle. It is possible to feed the magnetron output probe directly into the cooking space.
  • rotating antennas which move the microwave field relative to the food at rest.
  • the direct feeding of the microwaves into the cooking space entails great difficulties in adapting the magnetron to different loads in the cooking space, such a construction is very complex. Because of the different resonance structure of the cooking chamber, the heating remains uneven.
  • the object of the invention is to remedy the disadvantage of microwave ovens, namely that the material to be heated is inhomogeneously heated due to an uneven field distribution, by a simple measure.
  • the undesirable change in the load impedance of the magnetron under different loading conditions is used to bring about a change in frequency of the magnetron and thereby achieve a uniform heating of the food.
  • the periodic change in the wave resistance results in a periodic change in the output frequency of the magnetron and this change in frequency causes the excitation of different forms of resonance in the cooking chamber serving as a resonator.
  • the superimposition of different resonance forms leads to an overall uniform heating result.
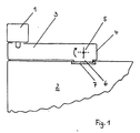
  • the waveguide 3 is arranged between the magentron 1 generating the microwaves and the cooking chamber 2.
  • the rotating body 5 In front of the rear wall 4 of the end of the waveguide 3 facing away from the magnetron, the rotating body 5 is arranged, which consists of a plate running parallel to the rear wall and rotatable about its central longitudinal axis.
  • the wave resistance of the magnetron 1 through the waveguide 3 via the coupling opening 6 into the cooking space can be changed periodically by the rotating body 5.
  • This change in the input resistance of the furnace affects the magnetron 1 by periodically changing its output frequency.
  • the change at an output frequency of 2.450 GHz can be up to ⁇ 10 MHz, which results in a superposition of different resonance forms. This leads to an even heating of the food.
  • the effect of the device according to the invention is not based on the deflection of the microwaves by a complicated "wave stirrer", but on the "change in length" of the waveguide, which couples the microwaves into the cooking space. This is done by a simple sheet metal part. While the waveguide is shortened in the position of the plate of the rotating body shown, this plate is practically ineffective in the dashed position. When the plate rotates in the direction of the arrow, the wave resistance changes constantly and periodically.
  • the coupling opening 6 is covered in a known manner by a wall 7 which is permeable to microwaves and which prevents harmful influences from acting on the magnetron from the cooking space. High-temperature resistant dielectric materials such as ceramics or borosilicate glass are common for this.
  • the rotating body 5 has a good effect if it is located at a distance between ⁇ / 4 and ⁇ / 2 from the rear wall 4 and above the coupling opening 6.

Landscapes

  • Physics & Mathematics (AREA)
  • Electromagnetism (AREA)
  • Engineering & Computer Science (AREA)
  • Power Engineering (AREA)
  • Constitution Of High-Frequency Heating (AREA)
  • Electric Ovens (AREA)
  • General Preparation And Processing Of Foods (AREA)

Abstract

Die bekannten Methoden zur Vergleichmäßigung der Feldverteilung in einem mit Mikrowellen beheizten Garraum, wie Drehantennen, Drehteller und Wellenrührer sind verhältnismäßig aufwendig. Durch ein im Wellenleiter (3) zwischen dem Magnetron (1) und der Einkopplungsöffnung (6) in den Garraum (2) angeordnetes Drehelement (5) wird der Wellenwiderstand (Impedanz) periodisch verändert. Dadurch verändert sich auch die Ausgangsfrequenz des Magnetrons mit der Folge einer Feldvergleichmäßigung.

Description



  • Die Erfindung betrifft ein Verfahren zur Vergleichmäßigung der Erwärmung von Speisen in einem mit Mikrowellen­energie beheizten Gargerät und eine Vorrichtung zur Durch­führung dieses Verfahrens.
  • Bei einem Mikrowellenofen werden in einen als Resonanz­kammer wirkenden Garraum, welcher von den metallischen Wänden der Garmuffel umschlossen wird, die von einem Magnetron erzeugten Mikrowellen eingespeist. Es ist dabei möglich die Ausgangssonde des Magnetrons unmittelbar in den Garraum zu führen. Zur Verbesserung der Gleichförmig­keit der Erwärmung des Gargutes ist es bereits bekannt sogenannte Drehantennen vorzusehen, welche das Mikrowellen­feld relativ zum ruhenden Gargut bewegen. Abgesehen davon, daß die direkte Einspeisung der Mikrowellen in den Garraum große Anpassungsschwierigkeiten des Magnetrons an unterschiedliche Beschickung des Garraumes mit sich bringt, ist eine solche Konstruktion sehr aufwendig. Auch verbleibt wegen der unterschiedlichen Resonanz­struktur des Garraumes eine Umgleichmäßigkeit der Er­wärmung.
  • Es ist heute allgemein üblich, die Antennensonde des Magnetrons in eine Wellenleitung einzusetzen, wobei die Antennensonde im Abstand von einem Viertel der Wellen­länge von einem kurzgeschlossenen Ende der Wellenleitung eingesetzt ist, so daß möglichst die gesamte Mikrowellen­energie in die andere Richtung ausgekoppelt wird. Das dem kurzgeschlossenen Ende der Wellenleitung gegenüber­liegende Ende mündet im allgemeinen über eine Einkopplungs­öffnung zwischen Wellenleiter und Garraum in der Gar­muffel. Zur Vergleichmäßigung der Erwärmung ist es dabei üblich, in der Nähe der Einflopplungsöffnung einen soge­nannten "Wellenrührer" anzuordnen. Die DE-PS 26 22 363 zeigt einen solchen Wellenrührer, dess Rührflügel unter dem Magnetron aber über dem Garraum angeordnet und vom Garraum durch eine Wand getrennt sind. Eine ähnliche Ausführung zeigt die DE-OS 29 21 266 in Fig. 2. Die Wellen­rührer haben die Aufgabe mit ihren sich drehenden Flügeln die Mikrowellen unterschieldich zu reflektieren und so ein Streufeld in den Garraum einzuspeisen. Auch solche Konstruktionen sind aufwendig, ebenso wie die bekannten Drehteller, bei denen das Gargut in dem Garraum stetig bewegt wird, um eine gleichmäßige Erwärmung zu erzielen.
  • Der Erfindung liegt die Aufgabe zugrunde, den Nachteil von Mikrowellenöfen, daß nämlich das Erwärmungsgut aufgrund einer ungleichmäßigen Feldverteilung inhomogen erwärmt wird, durch eine einfche Maßnahme zu beheben.
  • Zur Lösung dieser Aufgabe wird die an sich unerwünschte Änderung der Belastungsimpedanz des Magnetrons bei unter­schiedlicher Beschicksbedingung dazu benutzt, eine Frequenzänderung des Magnetrons herbeizuführen und da­durch eine gleichmäßige Erwärmung des Gargutes zu erzielen.
  • Im Patentanspruch 1 sind die zur Lösung der Aufgabe dienenden Merkmale angegeben.
  • Durch die periodische Veränderung des Wellenwiderstandes ergibt sich eine periodische Veränderung der Ausgangs­frequenz des Magnetrons und diese Frequenzänderung be­wirkt in dem als Resonator dienenden Garraum die An­regung unterschiedlicher Resonanzformen. Die Überlagerung verschiedener Resonanzformen führt zu einem in der Summe gleichmäßigen Erwärmungsergebnis.
  • In der Zeichnung ist ein Ausführungsbeispiel der Erfindung dargestellt. Es zeigen:
    • Fig. 1 schematisch die Vorrichtung zur Mikrowellen­einspeisung
    • Fig. 2 den periodischen Verlauf der Eingangsimpedanz eines Mikrowellenofens im Smith-Diagramm.
  • Zwischen dem die Mikrowellen erzeugenden Magentron 1 und dem Garraum 2 ist der Hohlleiter 3 angeordnet. Vor der Ruckwand 4 des dem Magnetron abgewandten Ende des Hohl­leiters 3 ist der Drehkörper 5 angeordnet, welcher aus einer parallel zur Rückwand verlaufenden und um seine Mittelängsachse drehbaren Platte besteht. Der Wellen­widerstand der vom Magnetron 1 durch den Hohlleiter 3 über die Einkopplungsöffnung 6 in den Garraum kann durch den Drehkörper 5 periodisch verändert werden. Diese Änderung des Eingangswiderstandes des Ofens wirkt auf des Magnetron 1 zurück indem dessen Ausgangsfrequenz periodisch verändert wird. Wie aus dem Diagramm nach Fig. 2 zu entnehmen ist, kann die Änderung bei einer Ausgangs­frequenz von 2,450 GHz bis zu ± 10 MHz betragen, wodurch sich eine Überlagerung verschiedener Resonanzformen er­gibt. Dies führt zu einer gleichmäßigen Erwärmung des Gargutes. Die Wirkung der erfindungsgemäßen Vorrichtung beruht nicht auf der Umlenkung der Mikrowellen durch einen komplizierten "Wellenrührer", sondern durch die "Längenänderung" des Hohlleiters, der die Mikrowellen in den Garraum einkoppelt. Diese erfolgt durch ein einfaches Blechteil. Während in der gezeigten Stellung der Platte des Drehkörpers der Hohlleiter verkürzt ist, ist in der gestrichelten Stellung diese Platte praktisch nicht wirksam. Bei Drehung der Platte in Pfeilrichtung ändert sich somit ständig und periodisch der Wellenwiderstand. Die Einkopplungsöffnung 6 ist in bekannter Weise durch eine für Mikrowellen durchlässige Wand 7 abgedeckt, welche verhindert, daß aus dem Garraum schädliche Einflüsse auf das Magnetron einwirken können. Üblich sind hierfür hochtemperaturbeständige dielektrische Materialien wie Keramik oder Borsilikatglas.
  • Eine gute Wirkung des Drehkörpers 5 ist gegeben, wenn er sich im Abstand zwischen λ/4 und λ/2 von der Rückwand 4 und oberhalb der Einkopplungsöffnung 6 befindet.

Claims (7)

1. Verfahren zur Vergleichmäßigung der Erwärmung von Speisen in einem mit Mikrowellenenergie beheizten Garge­rät, dessen Garraum von einem Magnetron über einen Wellenleiter mit Mikrowellen beschickt wird dadurch gekennzeichnet, daß der Wellenwiderstand der durch den Wellenleiter zum Garraum geführten Mikrowellen durch ein innerhalb des Wellenleiters angeordnetes und periodisch bewegtes elektrisches oder dielektrisches Drehelement (5) verändert wird.
2. Vorrichtung zur Durchführung des Verfahrens nach Anspruch 1, bei einem Mikrowellenofen mit einem von der Mikroenergiequelle zum Garraum führenden länglichen Hohl­leiter, welcher an seinem dem Mikrowellenerzeuger abgwandten Ende mit einer senkrecht zu einer Einkopplungsöffung zwischen Hohlleiter und Garraum angeordneten Rückwand abschließt
dadurch gekennzeichnet, daß sich von der Rückwand (4) des Hohlleiters (3) eine die Rückwand veränderlich ab­schirmender Drehkörper (5) befindet.
3. Vorrichtung nach Anspruch 2
dadurch gekennzeichnet, daß der Drehkörper (5) aus einer um seine Mittellängsachse drehbaren Platte besteht.
5. Vorrichtung nach Anspruch 2 und/oder 3
dadurch gekennzeichnet, daß der Drehkörper (5) im Abstand λ/4 bis λ/2 vor der Rückwand (4) angeordnet ist.
Vorrichtung nach einem der Ansprüche 2 bis 4
dadurch gekennzeichnet, daß der Drehkörper etwa im Ab­stand 3λ/8 vor der Rückwand (4) angeordnet ist.
6. Vorrichtung nach einem der Ansprüche 2 bis 5
dadurch gekennzeichnet, daß sich die sich die Einkopplungs­öffnung (6) unterhalb des Drehkörpers (5) befindet.
7. Vorrichtung nach einem der Ansprüche 2 bis 6
dadurch gekennzeichnet, daß eine Änderung der Ausgangs­frequenz von 2,450 GHz auf ± 10 MHz erfolgt.
EP87118985A 1987-02-03 1987-12-21 Verfahren u. Vorrichtung zur Vergleichmässigung der Erwärmung von Speisen in einem mit Mikrowellenenergie beheizten Gargerät Expired - Lifetime EP0277342B1 (de)

Priority Applications (1)

Application Number Priority Date Filing Date Title
AT87118985T ATE91375T1 (de) 1987-02-03 1987-12-21 Verfahren u. vorrichtung zur vergleichmaessigung der erwaermung von speisen in einem mit mikrowellenenergie beheizten gargeraet.

Applications Claiming Priority (2)

Application Number Priority Date Filing Date Title
DE3703133 1987-02-03
DE19873703133 DE3703133A1 (de) 1987-02-03 1987-02-03 Verfahren und vorrichtung zur vergleichmaessigung der erwaermung von speisen in einem mit mikrowellenenergie beheizten gargeraet

Publications (3)

Publication Number Publication Date
EP0277342A2 true EP0277342A2 (de) 1988-08-10
EP0277342A3 EP0277342A3 (en) 1988-08-31
EP0277342B1 EP0277342B1 (de) 1993-07-07

Family

ID=6320098

Family Applications (1)

Application Number Title Priority Date Filing Date
EP87118985A Expired - Lifetime EP0277342B1 (de) 1987-02-03 1987-12-21 Verfahren u. Vorrichtung zur Vergleichmässigung der Erwärmung von Speisen in einem mit Mikrowellenenergie beheizten Gargerät

Country Status (3)

Country Link
EP (1) EP0277342B1 (de)
AT (1) ATE91375T1 (de)
DE (2) DE3703133A1 (de)

Cited By (3)

* Cited by examiner, † Cited by third party
Publication number Priority date Publication date Assignee Title
EP0344438A1 (de) * 1988-05-31 1989-12-06 Bosch-Siemens HausgerÀ¤te GmbH Mikrowellen-Haushaltgerät
WO1997047161A3 (en) * 1996-06-03 1998-02-05 Matsushita Electric Industrial Co Ltd Microwave heating apparatus
EP2187702A1 (de) * 2008-11-17 2010-05-19 Topinox Sarl Gargerät mit Mikrowellenheizung

Families Citing this family (1)

* Cited by examiner, † Cited by third party
Publication number Priority date Publication date Assignee Title
DE3843039A1 (de) * 1988-12-21 1990-06-28 Bosch Siemens Hausgeraete Haushaltgeraet

Family Cites Families (8)

* Cited by examiner, † Cited by third party
Publication number Priority date Publication date Assignee Title
US2761942A (en) * 1952-06-06 1956-09-04 Raytheon Mfg Co Heating apparatus
GB752206A (en) * 1953-11-12 1956-07-04 Raytheon Mfg Co Improvements in or relating to high frequency dielectric heating apparatus
FR1208182A (fr) * 1957-12-10 1960-02-22 Miwag Mikrowellen A G Dispositif pour engendrer une distribution primaire définie de champ dans une cavité en vue de chauffer des substances organiques au moyen d'hyperfréquences
CH393577A (de) * 1961-12-13 1965-06-15 Patelhold Patentverwertung Vorrichtung zum dielektrischen Erwärmen von Stoffen
US3521019A (en) * 1968-02-19 1970-07-21 Varian Associates Microwave heating cavity with a venetian blind mode stirrer
SE345903B (de) * 1970-12-21 1972-06-12 Philips Svenska Ab
US4301347A (en) * 1980-08-14 1981-11-17 General Electric Company Feed system for microwave oven
US4336434A (en) * 1980-08-15 1982-06-22 General Electric Company Microwave oven cavity excitation system employing circularly polarized beam steering for uniformity of energy distribution and improved impedance matching

Cited By (4)

* Cited by examiner, † Cited by third party
Publication number Priority date Publication date Assignee Title
EP0344438A1 (de) * 1988-05-31 1989-12-06 Bosch-Siemens HausgerÀ¤te GmbH Mikrowellen-Haushaltgerät
WO1997047161A3 (en) * 1996-06-03 1998-02-05 Matsushita Electric Industrial Co Ltd Microwave heating apparatus
US6114677A (en) * 1996-06-03 2000-09-05 Matsushita Electric Industrial Co., Ltd. Microwave heating apparatus having a metal plate rotatably disposed in a wave guide
EP2187702A1 (de) * 2008-11-17 2010-05-19 Topinox Sarl Gargerät mit Mikrowellenheizung

Also Published As

Publication number Publication date
DE3703133A1 (de) 1988-08-11
EP0277342B1 (de) 1993-07-07
EP0277342A3 (en) 1988-08-31
DE3786451D1 (de) 1993-08-12
ATE91375T1 (de) 1993-07-15

Similar Documents

Publication Publication Date Title
DE2622173C3 (de) Vorrichtung zum Erhitzen eines in eine Heizkammer eingebrachten Gegenstandes
DE2650681C3 (de) Mikrowellenofen
DE2504860B2 (de) Mikrowellen-Heizvorrichtung
DE69106825T2 (de) Mikrowellenofen, eine Methode zur Anregung einer Ofenkavität, und eine Wellenleiteranordnung zur Ausführung der Methode.
DE69322017T2 (de) Wellenleitersystem von einem Mikrowellenofen
DE2516622C3 (de) Mikrowellenofen
DE2058901C3 (de) Hochfrequenzheizgerät
DE112015000981T5 (de) Mikrowellen-Behandlungsvorrichtung
DE2232065C3 (de) Mikrowellen-Erhitzungseinrichtung
EP0277342B1 (de) Verfahren u. Vorrichtung zur Vergleichmässigung der Erwärmung von Speisen in einem mit Mikrowellenenergie beheizten Gargerät
DE3308732A1 (de) Hochfrequnezheizgeraet mit einer rotierenden antenne
EP0285020A2 (de) Vorrichtung zur Einbringung von Mikrowellenenergie mit einem offenen Mikrowellenleiter
DE1051337B (de) Wanderfeldroehre mit einer Wendel als Verzoegerungsleitung
DE7815419U1 (de) Vorrichtung zur herstellung fester teilchen
DE2417577C2 (de) Hochfrequenz-Erhitzungsvorrichtung zur Erhitzung eines dielektrischen Materials von langgestreckter Form und geringen Querschnitts
EP0049817B1 (de) Mikrowellenheizgerät mit Abdichtung an der Türe zur Verhinderung des Austrittes von Mikrowellen
DE3331432A1 (de) Hochfrequenzheizgeraet
DE3818490C2 (de)
DE69408022T2 (de) Vorrichtung mit grosser Blende zur Überwachung der Dicke einer leitenden Beschichtung auf optischen Fasern
DE102017100074B4 (de) Verfahren zum Behandeln von Gargut und Gargerät zur Durchführung eines solchen Verfahrens
DE1523101A1 (de) Mikrowellen-Hohlraumresonator
DE2636633C3 (de) Verzögerungsleitung für Wanderfeldröhren, insbesondere zur Verstärkung von mm-Wellen
DE1615463C3 (de) Ofen mit Abstrahlung von Mikrowellenenergie und mit einem widerstandsbeheizten Metallelement
DE1565259C3 (de)
DE2450131C3 (de) Stehwellen-Linear-Beschleuniger

Legal Events

Date Code Title Description
PUAI Public reference made under article 153(3) epc to a published international application that has entered the european phase

Free format text: ORIGINAL CODE: 0009012

PUAL Search report despatched

Free format text: ORIGINAL CODE: 0009013

AK Designated contracting states

Kind code of ref document: A2

Designated state(s): AT BE CH DE FR GB IT LI NL

AK Designated contracting states

Kind code of ref document: A3

Designated state(s): AT BE CH DE FR GB IT LI NL

17P Request for examination filed

Effective date: 19881010

17Q First examination report despatched

Effective date: 19910208

RAP1 Party data changed (applicant data changed or rights of an application transferred)

Owner name: ELECTROLUX-JUNO KUECHENTECHNIK GMBH

GRAA (expected) grant

Free format text: ORIGINAL CODE: 0009210

AK Designated contracting states

Kind code of ref document: B1

Designated state(s): AT BE CH DE FR GB IT LI NL

PG25 Lapsed in a contracting state [announced via postgrant information from national office to epo]

Ref country code: NL

Effective date: 19930707

Ref country code: BE

Effective date: 19930707

REF Corresponds to:

Ref document number: 91375

Country of ref document: AT

Date of ref document: 19930715

Kind code of ref document: T

REF Corresponds to:

Ref document number: 3786451

Country of ref document: DE

Date of ref document: 19930812

ET Fr: translation filed
GBT Gb: translation of ep patent filed (gb section 77(6)(a)/1977)

Effective date: 19930728

ITF It: translation for a ep patent filed
PGFP Annual fee paid to national office [announced via postgrant information from national office to epo]

Ref country code: GB

Payment date: 19931206

Year of fee payment: 7

NLV1 Nl: lapsed or annulled due to failure to fulfill the requirements of art. 29p and 29m of the patents act
PGFP Annual fee paid to national office [announced via postgrant information from national office to epo]

Ref country code: FR

Payment date: 19931217

Year of fee payment: 7

PG25 Lapsed in a contracting state [announced via postgrant information from national office to epo]

Ref country code: AT

Effective date: 19931221

PG25 Lapsed in a contracting state [announced via postgrant information from national office to epo]

Ref country code: LI

Effective date: 19931231

Ref country code: CH

Effective date: 19931231

PGFP Annual fee paid to national office [announced via postgrant information from national office to epo]

Ref country code: DE

Payment date: 19940225

Year of fee payment: 7

PLBE No opposition filed within time limit

Free format text: ORIGINAL CODE: 0009261

STAA Information on the status of an ep patent application or granted ep patent

Free format text: STATUS: NO OPPOSITION FILED WITHIN TIME LIMIT

26N No opposition filed
REG Reference to a national code

Ref country code: CH

Ref legal event code: PL

PG25 Lapsed in a contracting state [announced via postgrant information from national office to epo]

Ref country code: GB

Effective date: 19941221

GBPC Gb: european patent ceased through non-payment of renewal fee

Effective date: 19941221

PG25 Lapsed in a contracting state [announced via postgrant information from national office to epo]

Ref country code: FR

Effective date: 19950831

PG25 Lapsed in a contracting state [announced via postgrant information from national office to epo]

Ref country code: DE

Effective date: 19950901

REG Reference to a national code

Ref country code: FR

Ref legal event code: ST

PG25 Lapsed in a contracting state [announced via postgrant information from national office to epo]

Ref country code: IT

Free format text: LAPSE BECAUSE OF NON-PAYMENT OF DUE FEES;WARNING: LAPSES OF ITALIAN PATENTS WITH EFFECTIVE DATE BEFORE 2007 MAY HAVE OCCURRED AT ANY TIME BEFORE 2007. THE CORRECT EFFECTIVE DATE MAY BE DIFFERENT FROM THE ONE RECORDED.

Effective date: 20051221