EP0245635A2 - Vorrichtung zur Verankerung von Platten - Google Patents

Vorrichtung zur Verankerung von Platten Download PDF

Info

Publication number
EP0245635A2
EP0245635A2 EP87104715A EP87104715A EP0245635A2 EP 0245635 A2 EP0245635 A2 EP 0245635A2 EP 87104715 A EP87104715 A EP 87104715A EP 87104715 A EP87104715 A EP 87104715A EP 0245635 A2 EP0245635 A2 EP 0245635A2
Authority
EP
European Patent Office
Prior art keywords
bolt
clamping
clamping plates
longitudinal
teeth
Prior art date
Legal status (The legal status is an assumption and is not a legal conclusion. Google has not performed a legal analysis and makes no representation as to the accuracy of the status listed.)
Granted
Application number
EP87104715A
Other languages
English (en)
French (fr)
Other versions
EP0245635B1 (de
EP0245635A3 (en
Inventor
Siegfried Fricker
Current Assignee (The listed assignees may be inaccurate. Google has not performed a legal analysis and makes no representation or warranty as to the accuracy of the list.)
Halfen & Co unistrut E GmbH KG
Original Assignee
Unistrut Europe PLC
Priority date (The priority date is an assumption and is not a legal conclusion. Google has not performed a legal analysis and makes no representation as to the accuracy of the date listed.)
Filing date
Publication date
Application filed by Unistrut Europe PLC filed Critical Unistrut Europe PLC
Priority to AT87104715T priority Critical patent/ATE72284T1/de
Publication of EP0245635A2 publication Critical patent/EP0245635A2/de
Publication of EP0245635A3 publication Critical patent/EP0245635A3/de
Application granted granted Critical
Publication of EP0245635B1 publication Critical patent/EP0245635B1/de
Anticipated expiration legal-status Critical
Expired - Lifetime legal-status Critical Current

Links

Images

Classifications

    • EFIXED CONSTRUCTIONS
    • E04BUILDING
    • E04FFINISHING WORK ON BUILDINGS, e.g. STAIRS, FLOORS
    • E04F13/00Coverings or linings, e.g. for walls or ceilings
    • E04F13/07Coverings or linings, e.g. for walls or ceilings composed of covering or lining elements; Sub-structures therefor; Fastening means therefor
    • E04F13/08Coverings or linings, e.g. for walls or ceilings composed of covering or lining elements; Sub-structures therefor; Fastening means therefor composed of a plurality of similar covering or lining elements
    • E04F13/0801Separate fastening elements
    • E04F13/0832Separate fastening elements without load-supporting elongated furring elements between wall and covering elements
    • E04F13/0853Separate fastening elements without load-supporting elongated furring elements between wall and covering elements adjustable perpendicular to the wall
    • E04F13/0855Separate fastening elements without load-supporting elongated furring elements between wall and covering elements adjustable perpendicular to the wall adjustable in several directions, one of which is perpendicular to the wall

Definitions

  • the invention relates to a device for anchoring panels with the features of the preamble of claim 1.
  • a known device of this type (EP-OS 0132003) has a vertical holding part designed as a bent sheet metal part and a horizontally striving support part, which is also designed as a bent sheet metal part.
  • the holding part and the supporting part are assembled to form an angular holder, the connection being made in the corner corner region by spot welding.
  • the horizontal support part is designed as a sleeve bent from a relatively wide sheet metal blank, which is also held together by a welded connection. In this sleeve of the support part, a nut thread is cut into which a horizontal threaded bolt can be screwed, which is on its protruding End receiving pin for the facing panels to be attached or the like.
  • the object of the invention is to further develop a plate anchoring device with the features of the preamble of claim 1 in such a way that inexpensive manufacture and an absolutely tight fit of the adjusting bolt with easy to carry out rough and fine adjustment are achieved with simple means.
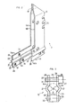
  • the anchoring device 1 can be attached via an anchoring element 2 to a vertical anchoring base, not shown here, such as a building wall or the like.
  • the anchoring device 1 has an angular holder 3 and a bolt 4, which has a threaded part 5 and an adjoining flat rectangular end part 6, on which pin-shaped receptacles 7 are arranged, which are transverse to the plane of the flat end part 6 and transverse to the longitudinal axis of the Bolt 4 extend.
  • On the receiving pin 7 facing plates, not shown, can be fixed, which are spaced approximately parallel to the building wall.
  • the receiving pins 7 engage in corresponding holes which are formed in the corner regions of the facing panels.
  • the anchoring device 1 can be used to make an exact adjustment in different directions, both vertically, horizontally and diagonally, and readjustments can also be carried out without the facing panels having to be removed .
  • the anchoring device 1 is also so stable overall that even very large wind, suction and pressure forces are absorbed absolutely safely, so that the Facing panels are fixed and free of play or wobble-free in front of the building wall.
  • the angular holder 3 shown in the drawing has a vertical holding part 8 which can be fixed on the building wall and which has two parallel, flat holding struts 9a, 9b which are perpendicular to the surface of the anchoring base. Between the two struts 9a, 9b is the anchoring element 2, which can preferably be designed as a screw connection and has a U-shaped bracket 10 formed from flat iron, which overlaps the two struts 9a, 9b.
  • the fastening screw 11 passes through the bracket 10 in a horizontal slot, not shown here, whereby the holder 3 can be adjusted in the plane of the building wall in the horizontal direction.
  • the fastening screw 11 is fastened to the anchoring base (building wall).
  • a threaded nut 12 presses firmly against the bracket 10, so that the holder 3 is immovably fixed in the assembled state.
  • the horizontal support part 13 of the angular holder 3 consists of two mutually parallel clamping plates 14a, 14b.
  • the vertical holding struts 9a, 9b and the horizontal clamping plates 14a, 14b each lie in the same vertical parallel planes.
  • Both the holding strut 9a and the clamping plate 14a as well as the holding strut 9b and the clamping plate 14b are as angular stamped parts formed so that there is a one-piece construction of uniform material, which has a high strength and is also inexpensive to produce.
  • Suitable stiffening parts 15 can be arranged in the outer corner corner region of the holder 3, whereby the stability and bending stiffness of the holder 3 is increased.
  • the two holding struts 9a, 9b are bent toward one another and connected to one another, this connection preferably being able to be designed as a weld 16.
  • a wedge plate 17 is provided so that the anchoring device 1 can also be continuously adjusted in the vertical direction.
  • the wedge plate 17 has an edge 18 which is bent towards the holder 3 and which engages in recesses 19 which are formed on the rear side of the holding struts 9a, 9b facing the building wall.
  • the lower edge 20 of the wedge plate 17 extends obliquely and lies on the fastening screw 11. The height of the anchoring device 1 is adjusted by horizontally moving the wedge plate 17.
  • the two clamping plates 14a, 14b each have a longitudinal bead 21, which preferably extends in the horizontal direction over the entire length of the clamping plates 14a, 14b.
  • the two longitudinal beads 21 are prism-shaped in cross-section such that the bolt 4 or its threaded part 5 on two parallel longitudinal edges 22 with the Teeth 23 abuts in a line.
  • a positive centering of the bolt 4 in the longitudinal bead 21 is automatically achieved, so that particularly advantageously different bolts 4 with differently sized thread part diameters can optionally be used, always with a positive centering in the longitudinal bead 21, without the bulging of the longitudinal bead 21 the respective diameter of the threaded part 5 must be adapted or shaped.
  • each of the two clamping plates 14a, 14b each have a longitudinal bead 21, the threaded part 5 of the bolt 4 of the present exemplary embodiment is clamped in total between four parallel linear longitudinal edges 22. It is not absolutely necessary for the bolt 4 to have the toothing 23, since a simple round bolt or the like would also be held by the linearly pressed longitudinal edges 22 of the clamping plates 14a, 14b, but an additional latching lock is achieved by the toothing 23. There is also the possibility of providing teeth only on the inside of the clamping plates 14a, 14b in the region of the longitudinal beads 21.
  • FIG. 2 it can be seen that preferably in the area of all four longitudinal edges 22 of the prism-shaped longitudinal beads 21 a locking toothing 24 can be formed, which engages with the toothing 23 of the threaded part 5, whereby a particularly secure locking the bolt 4 is achieved.
  • the teeth 23 of the bolt 4 and the locking teeth 24 of the clamping plates 14a, 14b do not have to be the same, but can also be designed differently without further ado.
  • the locking teeth 24 may have a much smaller tooth pitch than the teeth 23 of the threaded part 5.
  • a fine-stage horizontal adjustment can be carried out only by axially displacing the bolt 4 without it having to be rotated.
  • FIG. 1 makes it clear that the two separate clamping plates 14a, 14b, which enclose the bolt 4 or its threaded part 5, are drawn together by clamping parts, which are preferably designed as clamping screws 25.
  • the threaded part 5 of the bolt 4 is absolutely firmly clamped between the clamping plates 14a, 14b due to the pretensioning force of the clamping screws 25, so that both a positive and a non-positive connection is produced.
  • the releasable clamping screws 25 according to FIG. 1 are located in the region of web parts 26 of the clamping plates 14a, 14b.
  • the longitudinal bead 21 is preferably formed symmetrically between the two web parts 26 of each clamping plate 14a, 14b.
  • the clamping screw 25 has a head 27, which can have an internal hexagon (Allen) for the engagement of an actuating tool and rests on the outside 28 of the web part 26.
  • the clamping screw 25 passes through a bore 29 in the web part 26 of one clamping plate 14b and engages with a threaded end 30 in a threaded hole 31 of the opposite web part 26 of the other clamping plate 14a.
  • a nut can also be screwed onto the threaded end 30.
  • a total of three clamping screws 25 are provided, which are arranged in the form of a triangle.
  • four or more clamping screws 25 can also be provided for bracing the clamping plates 14a, 14b against the threaded part 5 of the bolt 4. Simply by loosening the upper clamping screw 25, the clamping plates 14a, 14b can be loosened so far that the bolt 4 can be rotated about its axis.
  • the distance between the two clamping plates 14a, 14b can be increased so far that the thread Part 5 comes out of locking engagement, so that the bolt 4 can be quickly adjusted by simply moving in the axial direction.
  • the longitudinal edges 22 of the clamping plates 14a, 14b are pressed so firmly against the threaded part 5 that the bolt 4 is clamped absolutely securely against displacement and rotation in the horizontal support part 13.
  • FIG. 3 it can be seen that it can also be advantageous to connect the web parts 26 of the clamping plates 14a, 14b to one another, for example the lower side of the bolt 4, by means of a non-adjustable connecting web, which can preferably be designed as a rivet bolt 32, whereby a particularly simple manufacture is possible.
  • a clamping screw 25 is provided only on the opposite (upper) side of the bolt 4, by means of which the two clamping plates 14a, 14b can be braced against one another, so that an absolute tight fit of the bolt 4 can be achieved via the linear four-point arrangement of the longitudinal edges 22.
  • FIG. 3 it can be seen particularly clearly that, owing to the prism-shaped design of the longitudinal beads 21, bolts 4 with very different diameters can be firmly clamped between the clamping plates 14a, 14b.
  • Another significant advantage of the clamping plate design according to the invention is that no additional lock nut has to be provided for the bolt 4, since the bolt locking is achieved by the clamping force applied via the clamping screws 25. Now that a lock nut is no longer required, the bolt 4 can be inserted axially into the support part 13 so that even the part of the flat end part 6 adjoining the threaded part 5 protrudes somewhat into the area of the beads 21, so that the Recordings 7 to be fixed facing plates can be brought up close to the anchoring device 1.
  • the anchoring device 1 represents an optimally variable anchoring system which enables versatile and easy-to-carry out adjustment options for the exact plane-parallel alignment of the facing plates and which is also easy to manufacture and has a high strength which ensures that the facing plates are held firmly in any setting position.

Landscapes

  • Engineering & Computer Science (AREA)
  • Architecture (AREA)
  • Civil Engineering (AREA)
  • Structural Engineering (AREA)
  • Joining Of Building Structures In Genera (AREA)
  • Finishing Walls (AREA)
  • Soil Working Implements (AREA)
  • Cultivation Of Seaweed (AREA)
  • Pit Excavations, Shoring, Fill Or Stabilisation Of Slopes (AREA)
  • Conveying And Assembling Of Building Elements In Situ (AREA)

Abstract

Mit der vorgeschlagenen Verankerungsvorrichtung können Verblendplatten an einer Gebäudewand oder dergleichen Verankerungsgrund befestigt werden. Die Vorrichtung weist einen winkelförmigen Halter (3) auf, der einen am Verankerungsgrund festlegbaren Halteteil (8) und einen horizontal abstrebenden Tragteil (13) besitzt . Außerdem ist ein Bolzen (4) vorgesehen, der eine Aufnahme (7) für die zu befestigenden Platten aufweist und mit einer Zahnung (23) im horizontalen Tragteil (13) auf axialer Länge buchsenartig umschlossen und verstellbar gelagert ist. Dazu ist der Bolzen (4) mit der Zahnung (23) an gegenüberliegenden Längsseiten zwischen zwei getrennten Klemmplatten (14a,14b) eingespannt, die den horizontalen Tragteil (13) bilden und durch beidseitig des Bolzens (4) befindliche Spannteile (25,32) verbunden sind. Mindestens einer dieser Spannteile ist hierbei verstellbar gelagert.

Description

  • Die Erfindung betrifft eine Vorrichtung zur Ver­ankerung von Platten mit den Merkmalen des Oberbe­griffs des Anspruchs 1.
  • Eine bekannte Vorrichtung dieser Art (EP-OS 0132003 ) weist einen als Blechbiegeteil ausgeführten vertikalen Halteteil und einen horizontal ab­strebenden Tragteil auf, der ebenfalls als Blech­biegeteil ausgebildet ist. Der Halteteil und der Tragteil werden zu einem winkelförmigen Halter zusammengesetzt, wobei die Verbindung im Winkel­eckbereich durch eine Punktschweißung vor­genommen wird. Der horizontale Tragteil ist als aus einem verhältnismäßig breiten Blechzuschnitt gebogene Hülse ausgebildet, die ebenfalls durch eine Schweißverbindung zusammengehalten wird. In diese Hülse des Tragteils ist ein Muttergewinde einzuschneiden, in das ein horizontaler Gewinde­bolzen einschraubbar ist, der an seinem vorstehenden Ende Aufnahmezapfen für die zu befestigenden Ver­blendplatten oder dergleichen aufweist. Aufgrund der verschiedenen Blechbiegeteile, der Schweiß­verbindungen und der Gewindeschneidarbeiten ist die Herstellung dieser Vorrichtung insgesamt auf­wendig und teuer. Die einwirkenden Lasten, Wind- und Sogkräfte beanspruchen die Punktverschweißung, die keine absolut sichere Aufnahme der Kräfte gewährleisten kann, so daß hohe Anforderungen an die Sicherheit bei Zulassungsprüfungen nicht erfüllt werden können. Außerdem ist die gebogene Ausführung insofern nachteilig, daß sie unter Einwirkung der Lasten sich verformen kann, wodurch gleichfalls eine Unsicherheit in statischer Hinsicht besteht. Ein weiterer Nachteil besteht darin, daß die axiale Verstellung des Gewindebolzens für eine genaue Ausrichtung der Verblendplatten umständlich und zeitraubend ist, da verhältnismäßig viele Umdrehungen ausgeführt werden müssen, um den Gewindebolzen über einen größeren Weg axial zu verstellen. Eine Nachjustierung bei bereits montierter Wandplatte ist besonders aufwendig, da hierzu die Platte entweder von dem Aufnahmestift abgenommen werden muß oder der winkelförmige Halter ist durch Lösen der Befestigungsschraube als Ganzes von der Wand zu demontieren, um danach eine Verstellung über das Gewinde erzielen zu können. Zudem besteht durch das zwangsläufig vorhandene Spiel zwischen dem Gewindebolzen und der Gewinde­hülse eine gewisse Instabilität. Um den Gewinde­bolzen gegen ein solches Wackelspiel und gegen ein unerwünschtes Verdrehen zu sichern, wird üblicherweise eine zusätzliche Kontermutter aufge­bracht, die allerdings den Verstellweg des Gewinde­bolzens einschränkt, so daß die Verblendplatte nicht bis unmittelbar dicht an das freie Ende des horizontalen Tragteils herangebracht werden kann.
  • Die Aufgabe der Erfindung besteht darin, eine Plattenverankerungsvorrichtung mit den Merkmalen des Oberbegriffs des Anspruchs 1 dahingehend weiterzubilden, daß eine kostengünstige Herstellung sowie ein absolut fester Sitz des Verstellbolzens mit leicht auszuführender Grob- und Feinverstellung mit einfachen Mitteln erzielt wird.
  • Diese Aufgabe wird erfindungsgemäß durch die kenn­zeichnenden Merkmale des Anspruchs 1 gelöst.
  • Bevorzugte Ausgestaltungen und Weiterbildungen sowie weitere Vorteile und wesentliche Einzel­heiten der Erfindung sind den Merkmalen der Unter­ansprüche, der nachfolgenden Beschreibung und der Zeichnung zu entnehmen, die in schematischer Darstellung bevorzugte Ausführungsformen als Bei­spiel zeigt. Es stellen dar:
    • FIG. 1 eine erfindungsgemäße Verankerungsvor­richtung in perspektivischer Darstellung,
    • FIG. 2 den winkelförmigen Halter der Verankerungs­vorrichtung gemäß FIG. 1 mit zum Teil abgeschnittenem Tragteilschenkel in perspektivischer Darstellung und
    • FIG. 3 den horizontalen Tragteil der Verankerungs­vorrichtung ähnlich der FIG. 1 in Vorder­ansicht.
  • Die erfindungsgemäße Verankerungsvorrichtung 1 kann über ein Verankerungselement 2 an einem hier nicht dargestellten vertikalen Verankerungsgrund, wie Gebäudewand oder dergleichen, befestigt werden. Die Verankerungsvorrichtung 1 besitzt einen winkel­förmigen Halter 3 und einen Bolzen 4, der einen Gewindeteil 5 und einen sich an diesen anschließen­den flachrechteckförmigen Endteil 6 aufweist, an dem zapfenförmige Aufnahmen 7 angeordnet sind, die sich quer zur Ebene des flachen Endteils 6 und quer zur Längsachse des Bolzens 4 erstrecken. An den Aufnahmezapfen 7 können hier nicht darge­stellte Verblendplatten festgelegt werden, die auf Abstand etwa parallel zur Gebäudewand liegen. Die Aufnahmezapfen 7 greifen dabei in entsprechende Löcher ein, die in den Eckbereichen der Verblend­platten ausgebildet sind. Damit die Verblend­platten sowohl zueinander als auch gegenüber der Gebäudewand genau ausgerichtet werden können, kann über die Verankerungsvorrichtung 1 eine exakte Justierung in verschiedenen Richtungen sowohl vertikal, horizontal als auch diagonal vorgenommen werden, wobei auch Nachjustierungen durchgeführt werden können, ohne daß die Verblendplatten demontiert werden müssen. Die Verankerungsvor­richtung 1 ist insgesamt zudem so stabil ausgeführt, daß selbst sehr große Wind-, Sog- und Druckkräfte absolut sicher aufgefangen werden, so daß die Verblendplatten fest und spielfrei bzw. wackelfrei vor der Gebäudewand festgelegt sind.
  • Der in der Zeichnung dargestellte winkelförmige Halter 3 besitzt einen an der Gebäudewand festleg­baren vertikalen Halteteil 8, der zwei parallele, senkrecht zur Oberfläche des Verankerungsgrundes stehende flache Haltestreben 9a,9b aufweist. Zwischen den beiden Haltestreben 9a,9b befindet sich das Verankerungselement 2, das bevorzugt als Schraubbolzenverbindung ausgeführt sein kann und einen aus Flacheisen gebildeten U-förmigen Bügel 10 aufweist, der die beiden Haltestreben 9a,9b, übergreift. Die Befestigungsschraube 11 durchsetzt den Bügel 10 in einem hier nicht darge­stellten horizontalen Langloch, wodurch der Halter 3 in der Ebene der Gebäudewand in horizontaler Richtung verstellt werden kann. Die Befestigungs­schraube 11 ist am Verankerungsgrund (Gebäudewand) befestigt. Eine Gewindemutter 12 drückt fest gegen den Bügel 10, so daß der Halter 3 im montierten Zustand unverrückbar festgelegt ist.
  • Der horizontale Tragteil 13 des winkelförmigen Halters 3 besteht aus zwei zueinander parallelen Klemmplatten 14a,14b. Die vertikalen Haltestreben 9a,9b und die horizontalen Klemmplatten 14a,14b liegen jeweils in denselben vertikalen Parallel­ebenen. Sowohl die Haltestrebe 9a und die Klemm­platte 14a als auch die Haltestrebe 9b und die Klemmplatte 14b sind als winkelförmige Stanzteile ausgebildet, so daß eine materialeinheitlich ein­stückige Ausführung gegeben ist, die eine hohe Festigkeit besitzt und zudem kostengünstig herstell­bar ist. Im äußeren Winkeleckbereich des Halters 3 können geeignete Aussteifungsteile 15 angeordnet sein, wodurch die Stabilität und Biegesteifigkeit des Halters 3 erhöht wird. Am oberen Endbereich sind die beiden Haltestreben 9a,9b aufeinander zugebogen und miteinander verbunden, wobei diese Verbindung bevorzugt als Schweißstelle 16 ausgeführt sein kann.
  • Damit die Verankerungsvorrichtung 1 auch in verti­kaler Richtung stufenlos verstellt werden kann, ist eine Keilplatte 17 vorgesehen. Die Keilplatte 17 besitzt einen zum Halter 3 hin abgebogenen Rand 18, der in Aussparungen 19 eingreift, die an der der Gebäudewand zugewandten Rückseite der Haltestreben 9a,9b ausgebildet sind. Die untere Kante 20 der Keilplatte 17 verläuft schräg und liegt auf der Befestigungsschraube 11 auf. Die Höhenverstellung der Verankerungsvorrichtung 1 erfolgt durch horizontales Verschieben der Keil­platte 17.
  • Die beiden Klemmplatten 14a,14b weisen je eine Längssicke 21 auf, die sich bevorzugt über die gesamte Länge der Klemmplatten 14a,14b in hori­zontaler Richtung erstreckt. Die beiden Längssicken 21 sind im Querschnitt derart prismenförmig ge­staltet, daß der Bolzen 4 bzw. dessen Gewinde­teil 5 an zwei parallelen Längskanten 22 mit der Zahnung 23 linienförmig anliegt. Dadurch wird automatisch eine formschlüssige Zentrierung des Bolzens 4 in der Längssicke 21 erzielt, so daß besonders vorteilhaft auch verschiedene Bolzen 4 mit unterschiedlich großen Gewindeteildurch­messern wahlweise verwendet werden können, wobei stets eine Zwangszentrierung in der Längssicke 21 erfolgt, ohne daß die Auswölbung der Längssicke 21 an den jeweiligen Durchmesser des Gewindeteils 5 angepaßt bzw. ausgeformt sein muß. Da jede der beiden Klemmplatten 14a,14b je eine Längssicke 21 aufweisen, ist der Gewindeteil 5 des Bolzens 4 des vorliegenden Ausführungsbeispiels insgesamt zwischen vier parallelen linienförmigen Längskanten 22 eingeklemmt. Es ist nicht zwingend erforderlich, daß der Bolzen 4 die Zahnung 23 aufweist, da auch ein einfacher Rundbolzen oder dergleichen durch die linienförmig angepreßten Längskanten 22 der Klemmplatten 14a,14b festgehalten würde, allerdings wird durch die Zahnung 23 eine zusätzliche Rast­arretierung erreicht. Es besteht auch die Möglich­keit, eine Verzahnung ausschließlich an den Innen­seiten der Klemmplatten 14a,14b im Bereich der Längssicken 21 vorzusehen.
  • Insbesondere der FIG. 2 ist zu entnehmen, daß bevorzugt im Bereich aller vier Längskanten 22 der prismenförmigen Läangssicken 21 je eine Rast­zahnung 24 ausgebildet sein kann, die mit der Zahnung 23 des Gewindeteils 5 in Eingriff steht, wodurch eine besonders sichere Rastarretierung des Bolzens 4 erzielt wird. Die Zahnung 23 des Bolzens 4 und die Rastzahnung 24 der Klemmplatten 14a,14b müssen nicht gleich ausgeführt sein, sondern können auch ohne weiteres unterschiedlich gestaltet sein. Z.B. kann die Rastzahnung 24 eine wesentlich kleinere Zahnteilung besitzen als die Zahnung 23 des Gewindeteils 5. Es ist auch möglich, den Bolzen 4 mit einem Feingewinde zu versehen, das in eine deutlich gröber ausgeführte Rastzahnung 24 der Längskanten 22 eingreift. Durch eine kleine Zahnteilung des Gewindeteils 5 und/oder der Rast­zahnung 24 kann allein durch axiales Verschieben des Bolzens 4, ohne daß dieser gedreht werden muß, eine feinstufige Horizontalverstellung vor­genommen werden.
  • Die FIG. 1 macht deutlich, daß die beiden getrennten Klemmplatten 14a,14b, die den Bolzen 4 bzw. dessen Gewindeteil 5 umschließen, durch Spannteile zu­sammengezogen sind, die bevorzugt als Spannschrauben 25 ausgeführt sind. Der Gewindeteil 5 des Bolzens 4 ist aufgrund der Vorspannkraft der Spannschrauben 25 absolut fest zwischen den Klemmplatten 14a,14b eingeklemmt, so daß sowohl eine formschlüssige als auch eine kraftschlüssige Verbindung herge­stellt ist. Die lösbaren Spannschrauben 25 gemäß FIG. 1 befinden sich im Bereich von Stegteilen 26 der Klemmplatten 14a,14b. Zwischen den beiden Stegteilen 26 einer jeden Klemmplatte 14a,14b ist die Längssicke 21 bevorzugt symmetrisch ausge­bildet. Die Spannschraube 25 besitzt einen Kopf 27, der für den Eingriff eines Betätigungswerkzeugs einen Innensechskant (Inbus) aufweisen kann und an der Außenseite 28 des Stegteils 26 anliegt. Die Spannschraube 25 durchsetzt eine Bohrung 29 im Stegteil 26 der einen Klemmplatte 14b und greift mit einem Gewindeende 30 in ein Gewindeloch 31 des gegenüberliegenden Stegteils 26 der anderen KLemmplatte 14a ein. Statt des Gewindelochs 31 kann auf das Gewindeende 30 auch eine Mutter aufge­schraubt werden.
  • Beim Ausführungsbeispiel der FIG. 1 sind insgesamt drei Spannschrauben 25 vorgesehen, die in Form eines Dreiecks angeordnet sind. Dabei befinden sich zwei Spannschrauben 25 in den unteren Steg­teilen 26 der Klemmplatten 14a,14b, während die dritte Spannschraube 25 auf der anderen Seite des Bolzens 4 die oberen Stegteile 26 der beiden Klemmplatten 14a,14b verbindet. Es ist auch möglich, auf jeder Seite des Bolzens 4 nur jeweils eine die Stegteile 26 verbindende Spannschraube 25 vorzusehen. Allerdings können auch vier oder mehr Spannschrauben 25 für das Verspannen der Klemm­platten 14a,14b gegen den Gewindeteil 5 des Bolzens 4 vorgesehen werden. Allein durch Lösen der oberen Spannschraube 25 können die Klemmplatten 14a,14b schon so weit gelockert werden, daß der Bolzen 4 um seine Achse gedreht werden kann. Durch zu­sätzliches Lösen der unteren Spannschrauben 25 kann der Abstand zwischen den beiden Klemmplatten 14a,14b so weit vergrößert werden, daß der Gewinde­ teil 5 außer Rasteingriff gelangt, so daß der Bolzen 4 durch einfaches Verschieben in axialer Richtung schnell verstellt werden kann. Durch anschließendes Anziehen der Spannschrauben 25 werden die Längskanten 22 der Klemmplatten 14a,14b so fest gegen den Gewindeteil 5 gepreßt, daß der Bolzen 4 absolut sicher gegen Verschiebung und Verdrehung im horizontalen Tragteil 13 eingespannt ist.
  • Dem Ausführungsbeispiel der FIG. 3 ist zu entnehmen, daß es auch günstig sein kann, an der einen, z.B. unteren Seite des Bolzens 4 die Stegteile 26 der Klemmplatten 14a,14b durch einen nicht verstell­baren Verbindungssteg miteinander zu verbinden, der vorzugsweise als Nietbolzen 32 ausgeführt sein kann, wodurch eine besonders einfache Her­stellung möglich ist. Lediglich auf der gegen­überliegenden (oberen) Seite des Bolzens 4 ist eine Spannschraube 25 vorgesehen, mittels der die beiden Klemmplatten 14a,14b gegeneinander verspannt werden können, so daß über die linien­förmige Vierpunktanlage der Längskanten 22 ein absoluter Festsitz des Bolzens 4 erreicht werden kann. Der FIG. 3 ist besonders deutlich zu ent­nehmen, daß aufgrund der prismenförmigen Ausbildung der Längssicken 21 im Durchmesser sehr unterschied­liche Bolzen 4 fest zwischen den Klemmplatten 14a,14b eingespannt werden können.
  • Ein weiterer wesentlicher Vorteil der erfindungs­gemäßen Klemmplattenausführung besteht darin, daß keine zusätzliche Kontermutter für den Bolzen 4 vorgesehen werden muß, da die Bolzensicherung durch die über die Spannschrauben 25 aufgebrachte Klemmkraft erzielt wird. Da nun keine Kontermutter mehr erforderlich ist, kann der Bolzen 4 axial so weit in den Tragteil 13 eingebracht werden, daß sogar der sich an den Gewindeteil 5 an­schließende Teil des flachen Endteils 6 etwas in den Bereich der Sicken 21 hineinragt, so daß die an den Aufnahmen 7 festzulegenden Verblend­platten bis dicht an die Verankerungsvorrichtung 1 herangebracht werden können. Insgesamt stellt die erfindungsgemäße Verankerungsvorrichtung 1 ein optimal variables Verankerungssystem dar, das vielseitige und einfach durchzuführende Justier­möglichkeiten zur genauen planparallelen Ausrichtung der Verblendplatten ermöglicht und das zudem einfach herzustellen ist und eine hohe Festigkeit besitzt, die in jeder Einstellposition einen absolut festen Halt der Verblendplatten gewährleistet.

Claims (12)

1. Vorrichtung zur Verankerung von Platten, ins­besondere Verblendplatten, an einem Verankerungs­grund, wie Gebäudewand und dergleichen, mit einem winkelförmigen Halter (3), der einen am Ver­ankerungsgrund festlegbaren Halteteil (8) und einen horizontal abstrebenden Tragteil (13) auf­weist, an dem ein eine Aufnahme (7) für die zu befestigenden Platten aufweisender Bolzen (4) mit einer Zahnung (23) auf axialer Länge buchsen­artig umschlossen und verstellbar gelagert ist, dadurch gekennzeichnet, daß der Bolzen (4) mit der Zahnung (23) an gegenüberliegenden Längsseiten zwischen zwei den Tragteil (13) bildenden getrennten Klemmplatten (14a,14b) und durch beidseitig des Bolzens (4) befindliche Spannteile (25,32) einge­spannt ist, von denen mindestens einer verstellbar ausgeführt ist.
2. Vorrichtung nach Anspruch 1, dadurch gekenn­zeichnet, daß mindestens eine der Klemmplatten (14a,14b) eine prismenförmige Längssicke (21) aufweist, die sich mindestens über einen Teil der horizontalen Klemmplattenlänge erstreckt und in der der Bolzen (4) an zwei parallelen Längskanten (22) linienförmig umgriffen ist.
3. Vorrichtung nach einem der Ansprüche 1 oder 2, dadurch gekennzeichnet, daß der Bolzen (4) zwischen zwei prismenförmigen Längssicken (21) der beiden Klemmplatten (14a,14b) zwischen vier linienförmigen Längskanten (22) eingeklemmt ist.
4. Vorrichtung nach einem der Ansprüche 1 bis 3, dadurch gekennzeichnet, daß an mindestens einer der Längskanten (22) der prismenförmigen Längssicke (21) eine mit der bevorzugt als Schraubgewinde ausgeführten Zahnung (23) des Bolzens (4) in Ein­griff stehende Rastzahnung (24) ausgebildet ist.
5. Vorrichtung nach einem der Ansprüche 1 bis 4, dadurch gekennzeichnet, daß die Rastzahnung (24) an der Längskante (22) der prismenförmigen Längssicke (21) und die Zahnung (23) des Bolzens (4) verschieden sind.
6. Vorrichtung nach einem der Ansprüche 1 bis 5, dadurch gekennzeichnet, daß die Zahnteilung der Rastzahnung (24) an der Längskante (22) der Längssicke (21) kleiner ist als die Teilung der Zahnung (23) des Bolzens (4).
7. Vorrichtung nach einem der vorstehenden An­sprüche, dadurch gekennzeichnet, daß die Längssicke (21) zwischen zwei Stegteilen (26) der Klemmplatte (14a,14b) ausgeformt ist und sich bevorzugt über deren gesamte Länge erstreckt.
8. Vorrichtung nach einem der Ansprüche 1 bis 7, dadurch gekennzeichnet, daß der lösbare Spannteil als die beiden Klemmplatten (14a,14b) gegen den Bolzen (4) pressende Spannschraube (25) ausgebildet ist, die die einander gegenüberliegenden Stegteile (26) der beiden Klemmplatten (14a,14b) durchsetzt.
9. Vorrichtung nach einem der Ansprüche 1 bis 8, dadurch gekennzeichnet, daß die Spannschraube (25) mit einem Kopf (27) an der Außenseite (28) des Stegteils (26) der einen Klemmplatte (14b) anliegt und mit einem Gewindeende (30) in einem Gewindeloch (31) des gegenüberliegenden Stegteils (26) der anderen Klemmplatte (14a) gelagert ist.
10. Vorrichtung nach einem der Ansprüche 1 bis 9, dadurch gekennzeichnet, daß die beiden Klemm­platten (14a,14b) des Tragteils (13) über insgesamt drei in Form eines Dreiecks angeordnete Spannteile (25) gegen den Bolzen (4) verspannt sind, wobei zwei der Spannteile (25) an der einen (unteren) Seite des Bolzens (4) und der dritte Spannteil (25) an der anderen (oberen) Bolzenseite an den Stegteilen (26) der Klemmplatten (14a,14b) vorge­sehen sind.
11. Vorrichtung nach einem der Ansprüche 1 bis 10, dadurch gekennzeichnet, daß mindestens einer der die beiden Klemmplatten (14a,14b) an der einen Seite des Bolzens (4) verbindenden Spannteile ein nicht verstellbarer Verbindungssteg, vorzugs­weise ein Nietbolzen (32) ist.
12. Vorrichtung nach einem der Ansprüche 1 bis 11, dadurch gekennzeichnet, daß die beiden gegen den Bolzen (4) verspannbaren Klemmplatten (14a, 14b) mit je einer rechtwinklig abstrebenden, den vertikalen Halteteil (8) des winkelförmigen Halters (3) mitbildenden Haltestrebe (9a,9b) materialein­heitlich einstückig ausgebildet sind.
EP87104715A 1986-05-14 1987-03-31 Vorrichtung zur Verankerung von Platten Expired - Lifetime EP0245635B1 (de)

Priority Applications (1)

Application Number Priority Date Filing Date Title
AT87104715T ATE72284T1 (de) 1986-05-14 1987-03-31 Vorrichtung zur verankerung von platten.

Applications Claiming Priority (2)

Application Number Priority Date Filing Date Title
DE3616210 1986-05-14
DE19863616210 DE3616210A1 (de) 1986-05-14 1986-05-14 Vorrichtung zur verankerung von platten

Publications (3)

Publication Number Publication Date
EP0245635A2 true EP0245635A2 (de) 1987-11-19
EP0245635A3 EP0245635A3 (en) 1988-08-03
EP0245635B1 EP0245635B1 (de) 1992-01-29

Family

ID=6300803

Family Applications (1)

Application Number Title Priority Date Filing Date
EP87104715A Expired - Lifetime EP0245635B1 (de) 1986-05-14 1987-03-31 Vorrichtung zur Verankerung von Platten

Country Status (6)

Country Link
US (1) US4739602A (de)
EP (1) EP0245635B1 (de)
AT (1) ATE72284T1 (de)
DE (2) DE3616210A1 (de)
ES (1) ES2027983T3 (de)
GR (1) GR3004038T3 (de)

Cited By (6)

* Cited by examiner, † Cited by third party
Publication number Priority date Publication date Assignee Title
EP0275019A3 (en) * 1987-01-10 1989-03-29 Siegfried Fricker Device to anchor plates
EP0393210A1 (de) * 1989-04-15 1990-10-24 Firma Peter Lung Gmbh Justierbarer Dübelanker für eine verdeckte Anbringung von Fassadenelementen
EP0433656A1 (de) * 1989-12-22 1991-06-26 Riss AG An einer Tragstruktur befestigte Gebäudefassade
EP0869232A1 (de) * 1997-04-01 1998-10-07 Hakron Verankeringstechniek B.V. Konsoleneinrichtung
NL1005692C2 (nl) * 1997-04-01 1998-10-12 Hakron Verankeringstechniek B Consolesamenstel.
RU186885U1 (ru) * 2018-12-26 2019-02-07 Общество с ограниченной ответственностью "ИТФ" Опора кронштейна для навесного фасада

Families Citing this family (11)

* Cited by examiner, † Cited by third party
Publication number Priority date Publication date Assignee Title
JPH0624493Y2 (ja) * 1986-11-27 1994-06-29 日立金属株式会社 プレキャストコンクリート板の固定用金具
IT224173Z2 (it) * 1991-01-18 1996-02-09 Fischer Italia Di Paolo Morasu Elemento adattatore per dispositivi di ancoraggio di lastre per il rivestimento di pareti
FR2694033B1 (fr) * 1992-07-21 1994-10-21 Philippe Duroyaume Console de fixation de revêtement ou de panneaux.
DE9314313U1 (de) * 1993-09-22 1993-12-02 Peter Lung GmbH, 56727 Mayen Eckverbinder
DE19722260A1 (de) * 1997-05-28 1998-12-03 Bauagentur Deutschland Verfahren und Vorrichtung zur Verankerung von Verblendelementen
EP0898919B1 (de) * 1997-08-29 2003-03-05 Villeroy & Boch Wellness B.V. Verstellelement für eine Duschvorrichtung oder dgl.
SK282503B6 (sk) 1998-04-03 2002-10-08 Jozef �Ervenko Príchytka plošných materiálov
EP1591672B1 (de) * 2004-04-30 2007-11-07 Airbus Deutschland GmbH Klemmhalter für eine Tragstruktur
DE102004021513B4 (de) * 2004-04-30 2012-05-16 Airbus Operations Gmbh Einhängklemmhalter für eine Trägerstruktur
KR101028425B1 (ko) * 2008-06-30 2011-04-14 (주)해주석재 건축물 외장용 석재판 고정장치
US9206594B1 (en) 2014-09-04 2015-12-08 Columbia Insurance Company Hanger with locator tooth

Family Cites Families (7)

* Cited by examiner, † Cited by third party
Publication number Priority date Publication date Assignee Title
US467866A (en) * 1892-01-26 Earnest t
US1683516A (en) * 1926-06-07 1928-09-04 J G Brill Co Brake rod
US2250787A (en) * 1940-05-24 1941-07-29 Tuttle & Bailey Inc Fusible nut
FR2453950A1 (fr) * 1979-04-13 1980-11-07 Bonnel Jean Louis Dispositif pour la fixation des elements de facade d'une construction
DE2916003C2 (de) * 1979-04-20 1982-10-07 Frimeda Metall- Und Drahtwarenfabrik Siegfried Fricker, 7135 Wiernsheim Verbindungsvorrichtung für zwei Bauteile von Bauwerken
EP0132003A3 (de) * 1983-07-13 1986-01-15 "Metag", s.p.r.l. Vorrichtung zur Verankerung von mit Abstand angeordneten Verkleidungsplatten für die Fertigstellung von Fassaden und von Betonrohbauten
AT379185B (de) * 1984-06-08 1985-11-25 Pointner Ferdinand Anker fuer steinplattenverkleidungen von fassaden od. dgl.

Cited By (6)

* Cited by examiner, † Cited by third party
Publication number Priority date Publication date Assignee Title
EP0275019A3 (en) * 1987-01-10 1989-03-29 Siegfried Fricker Device to anchor plates
EP0393210A1 (de) * 1989-04-15 1990-10-24 Firma Peter Lung Gmbh Justierbarer Dübelanker für eine verdeckte Anbringung von Fassadenelementen
EP0433656A1 (de) * 1989-12-22 1991-06-26 Riss AG An einer Tragstruktur befestigte Gebäudefassade
EP0869232A1 (de) * 1997-04-01 1998-10-07 Hakron Verankeringstechniek B.V. Konsoleneinrichtung
NL1005692C2 (nl) * 1997-04-01 1998-10-12 Hakron Verankeringstechniek B Consolesamenstel.
RU186885U1 (ru) * 2018-12-26 2019-02-07 Общество с ограниченной ответственностью "ИТФ" Опора кронштейна для навесного фасада

Also Published As

Publication number Publication date
US4739602A (en) 1988-04-26
EP0245635B1 (de) 1992-01-29
DE3616210A1 (de) 1987-11-19
DE3776400D1 (de) 1992-03-12
ES2027983T3 (es) 1992-07-01
GR3004038T3 (de) 1993-03-31
EP0245635A3 (en) 1988-08-03
ATE72284T1 (de) 1992-02-15

Similar Documents

Publication Publication Date Title
EP0245635B1 (de) Vorrichtung zur Verankerung von Platten
EP0243612B1 (de) Vorrichtung zur Verankerung von Platten
DE2734343C2 (de) Werkbank mit Spanneinrichtung
EP0212228B1 (de) Vorrichtung zur Verankerung von Platten
DE4108455C2 (de) Montagezwinge zum Montieren eines Türfutters einer Türzarge
EP0356387A1 (de) Vorrichtung zum justierbaren Befestigen von Schienen auf einer Unterlage
DE1809616C3 (de) Verstellbares Möbelscharnier Zusätzen: 21 Ol 082
EP3215317A1 (de) Spannvorrichtung
EP0275019B1 (de) Vorrichtung zur verankerung von Platten
EP1388620A2 (de) Verbindungselement für ein Montagesystem
EP0252177B1 (de) Vorrichtung zum Verbinden eines Schwingarmes einer Schaftmaschine mit einem Schaft einer Webmaschine
DE29717355U1 (de) Bausatz zum modulartigen Aufbau einer aus drei Hauptmodulen aufgebauten Konsole
DE29809994U1 (de) Modular aufgebautes Tischgestell
AT516721A4 (de) Geländer und Verfahren zur Herstellung eines Geländers
DE9212546U1 (de) Rohrgestell
CH671906A5 (en) Clamping table mounting workpiece on machine tool - has three adjusting screws to align table at required angle
DE3940626C2 (de) Verfahren und Vorrichtung zum Befestigen eines Balkonbretts
DE20315497U1 (de) Vorrichtung zur Aufnahme von Werkstücken
DE2834380A1 (de) Verankerungsvorrichtung
DE3405631C2 (de)
DE29513842U1 (de) Tischkreissäge
WO2025162808A1 (de) PROFILELEMENT FÜR EIN SCHWEIß- UND SPANNTISCHSYSTEM
DE1905829A1 (de) Halterung zur Befestigung an hohlen,rohrfoermigen Traegern mit einem Schlitz auf einer ihrer Aussenflaechen
DE29810308U1 (de) Vorrichtung zur Befestigung einer Fülltafel
DE2549507A1 (de) In der hochbautechnik zu verwendende haltevorrichtung

Legal Events

Date Code Title Description
PUAI Public reference made under article 153(3) epc to a published international application that has entered the european phase

Free format text: ORIGINAL CODE: 0009012

AK Designated contracting states

Kind code of ref document: A2

Designated state(s): AT BE CH DE ES FR GB GR IT LI LU NL SE

PUAL Search report despatched

Free format text: ORIGINAL CODE: 0009013

AK Designated contracting states

Kind code of ref document: A3

Designated state(s): AT BE CH DE ES FR GB GR IT LI LU NL SE

17P Request for examination filed

Effective date: 19881208

17Q First examination report despatched

Effective date: 19900227

RAP1 Party data changed (applicant data changed or rights of an application transferred)

Owner name: UNISTRUT EUROPE PLC

RIN1 Information on inventor provided before grant (corrected)

Inventor name: FRICKER, SIEGFRIED

GRAA (expected) grant

Free format text: ORIGINAL CODE: 0009210

AK Designated contracting states

Kind code of ref document: B1

Designated state(s): AT BE CH DE ES FR GB GR IT LI LU NL SE

REF Corresponds to:

Ref document number: 72284

Country of ref document: AT

Date of ref document: 19920215

Kind code of ref document: T

ET Fr: translation filed
REF Corresponds to:

Ref document number: 3776400

Country of ref document: DE

Date of ref document: 19920312

ITF It: translation for a ep patent filed
GBT Gb: translation of ep patent filed (gb section 77(6)(a)/1977)
PLBE No opposition filed within time limit

Free format text: ORIGINAL CODE: 0009261

STAA Information on the status of an ep patent application or granted ep patent

Free format text: STATUS: NO OPPOSITION FILED WITHIN TIME LIMIT

REG Reference to a national code

Ref country code: GR

Ref legal event code: FG4A

Free format text: 3004038

26N No opposition filed
EPTA Lu: last paid annual fee
EAL Se: european patent in force in sweden

Ref document number: 87104715.5

REG Reference to a national code

Ref country code: CH

Ref legal event code: PFA

Free format text: UNISTRUT EUROPE PLC TRANSFER- UNISTRUT EUROPE LIMITED

Ref country code: CH

Ref legal event code: PUE

Owner name: UNISTRUT EUROPE LIMITED TRANSFER- HALFEN GMBH & CO

NLS Nl: assignments of ep-patents

Owner name: HALFEN GMBH & CO. KOMMANDITGESELLSCHAFT;UNISTRUT E

REG Reference to a national code

Ref country code: ES

Ref legal event code: PC2A

Owner name: HALFEN GMBH & CO. KOMMANDITGESELLSCHAFT

REG Reference to a national code

Ref country code: FR

Ref legal event code: TP

Ref country code: FR

Ref legal event code: CJ

REG Reference to a national code

Ref country code: GB

Ref legal event code: 732E

BECA Be: change of holder's address

Free format text: 960606 *HALFEN G.M.B.H. & CO. K.G.:HARFFSTRASSE 47-51, D-40591 DUESSELDORF

BECH Be: change of holder

Free format text: 960606 *HALFEN G.M.B.H. & CO. K.G.

REG Reference to a national code

Ref country code: GB

Ref legal event code: IF02

PGFP Annual fee paid to national office [announced via postgrant information from national office to epo]

Ref country code: FR

Payment date: 20060313

Year of fee payment: 20

PGFP Annual fee paid to national office [announced via postgrant information from national office to epo]

Ref country code: LU

Payment date: 20060314

Year of fee payment: 20

Ref country code: NL

Payment date: 20060314

Year of fee payment: 20

Ref country code: DE

Payment date: 20060314

Year of fee payment: 20

PGFP Annual fee paid to national office [announced via postgrant information from national office to epo]

Ref country code: CH

Payment date: 20060315

Year of fee payment: 20

Ref country code: AT

Payment date: 20060315

Year of fee payment: 20

PGFP Annual fee paid to national office [announced via postgrant information from national office to epo]

Ref country code: GB

Payment date: 20060322

Year of fee payment: 20

PGFP Annual fee paid to national office [announced via postgrant information from national office to epo]

Ref country code: GR

Payment date: 20060323

Year of fee payment: 20

PGFP Annual fee paid to national office [announced via postgrant information from national office to epo]

Ref country code: ES

Payment date: 20060329

Year of fee payment: 20

PGFP Annual fee paid to national office [announced via postgrant information from national office to epo]

Ref country code: IT

Payment date: 20060331

Year of fee payment: 20

Ref country code: BE

Payment date: 20060331

Year of fee payment: 20

PG25 Lapsed in a contracting state [announced via postgrant information from national office to epo]

Ref country code: GB

Free format text: LAPSE BECAUSE OF EXPIRATION OF PROTECTION

Effective date: 20070330

PG25 Lapsed in a contracting state [announced via postgrant information from national office to epo]

Ref country code: NL

Free format text: LAPSE BECAUSE OF EXPIRATION OF PROTECTION

Effective date: 20070331

PG25 Lapsed in a contracting state [announced via postgrant information from national office to epo]

Ref country code: ES

Free format text: LAPSE BECAUSE OF EXPIRATION OF PROTECTION

Effective date: 20070402

REG Reference to a national code

Ref country code: GB

Ref legal event code: PE20

REG Reference to a national code

Ref country code: CH

Ref legal event code: PL

NLV7 Nl: ceased due to reaching the maximum lifetime of a patent

Effective date: 20070331

REG Reference to a national code

Ref country code: ES

Ref legal event code: FD2A

Effective date: 20070402

EUG Se: european patent has lapsed
BE20 Be: patent expired

Owner name: *HALFEN G.M.B.H. & CO. K.G.

Effective date: 20070331

PGFP Annual fee paid to national office [announced via postgrant information from national office to epo]

Ref country code: SE

Payment date: 20060314

Year of fee payment: 20