EP0242500A1 - Vorrichtung zur Beschleunigung von Projektilen durch ein elektrisch aufgeheiztes Plasma - Google Patents

Vorrichtung zur Beschleunigung von Projektilen durch ein elektrisch aufgeheiztes Plasma Download PDF

Info

Publication number
EP0242500A1
EP0242500A1 EP87100186A EP87100186A EP0242500A1 EP 0242500 A1 EP0242500 A1 EP 0242500A1 EP 87100186 A EP87100186 A EP 87100186A EP 87100186 A EP87100186 A EP 87100186A EP 0242500 A1 EP0242500 A1 EP 0242500A1
Authority
EP
European Patent Office
Prior art keywords
projectile
electrode
plasma
electrodes
tube
Prior art date
Legal status (The legal status is an assumption and is not a legal conclusion. Google has not performed a legal analysis and makes no representation as to the accuracy of the status listed.)
Granted
Application number
EP87100186A
Other languages
English (en)
French (fr)
Other versions
EP0242500B1 (de
Inventor
Wolfram Dr. Witt
Current Assignee (The listed assignees may be inaccurate. Google has not performed a legal analysis and makes no representation or warranty as to the accuracy of the list.)
Rheinmetall Industrie AG
Original Assignee
Rheinmetall GmbH
Priority date (The priority date is an assumption and is not a legal conclusion. Google has not performed a legal analysis and makes no representation as to the accuracy of the date listed.)
Filing date
Publication date
Application filed by Rheinmetall GmbH filed Critical Rheinmetall GmbH
Publication of EP0242500A1 publication Critical patent/EP0242500A1/de
Application granted granted Critical
Publication of EP0242500B1 publication Critical patent/EP0242500B1/de
Anticipated expiration legal-status Critical
Expired - Lifetime legal-status Critical Current

Links

Images

Classifications

    • FMECHANICAL ENGINEERING; LIGHTING; HEATING; WEAPONS; BLASTING
    • F41WEAPONS
    • F41BWEAPONS FOR PROJECTING MISSILES WITHOUT USE OF EXPLOSIVE OR COMBUSTIBLE PROPELLANT CHARGE; WEAPONS NOT OTHERWISE PROVIDED FOR
    • F41B6/00Electromagnetic launchers ; Plasma-actuated launchers

Definitions

  • the present invention relates to a device for accelerating projectiles located in a tube closed on one side by an electrically heated plasma with the features of the preamble of claim 1.
  • the present invention was therefore based on the object of further developing a device of the type mentioned at the outset in such a way that the corresponding tube parts are subject to only slight wear, even with a high weft sequence.
  • the invention is therefore essentially based on the fact that the spread of the plasma is no longer initiated by parts of the accelerator itself, as in the known devices, but rather that both the initiation of the gas discharge and the subsequent heating processes in easily replaceable separate units in which the projectile is also located. Therefore, not only the projectiles but rather the entire cartridge are preferably fed to the tube.
  • a known acceleration device is shown again, such as that in the report by Goldstein et. al. is described in more detail.
  • Fig. 1 denotes a tube which is closed on one side and on the tube bottom of which the closure is located a first electrode 2 is arranged.
  • a second electrode (ring electrode) 3 is connected to the first electrode 2 via a voltage source 4 and a switch.
  • the two electrodes 2 and 3 define a plasma chamber designated 6 in the tube 1, which is initially closed in the area of the ring electrode 3 by a projectile 7 to be accelerated.
  • this device has the disadvantage that the part of the tube forming the plasma space is subject to extremely high wear due to the material evaporation and heating processes.
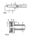
  • FIG. 2 The cartridge 8 shown in FIG. 2 and then its function in connection with a gun (FIG. 3) will be described in more detail below.
  • the cartridge 8 essentially consists of the projectile 80, a sleeve 81 surrounding the projectile, a second electrode 82 designed as a contact ring and a first electrode 83 designed as a contact piece.
  • the first electrode 83 and the second electrode 82 are separated by an insulating piece 84.
  • the second electrode 82 has a contact plate ring 85 on its front side and a contact plate ring 86 on its rear side.
  • the first electrode 83 has a contact lamella 87 on its side facing away from the projectile 80.
  • a splat-shaped discharge space 88 is located between the projectile 80 and the first electrode 83.
  • the sleeve 81 can preferably consist of a combustible, light-gas material, for example polyethylene, and the insulating body 84 can be made of polycarbonate.
  • light-gassing materials are substances that break down into molecules (gases) with a low molecular weight (molecular weight ⁇ 30) under the effect of the arc discharge.
  • aluminum was used as the material for the electrodes 82 and 83.
  • Fig. 3 shows how the cartridge 8 is arranged in a plasma gun.
  • a base piece 91 is screwed onto the tube 90, for example.
  • the inner conductor 92 is then contacted in the sealing space via the contact lamella disk 87 with the first electrode 83.
  • the outer conductor 93 is correspondingly connected to the ring electrode 82 via the contact lamella ring 86.
  • the contacts 85, 86 and 87 of the cartridge are pressed firmly against the tube 90 and against the coaxial first electrode by the pressure of the base piece 91.
  • An elastic silicone rubber seal 97 is arranged between the insulating means 94 and the insulating piece 84 for electrical sealing.
  • a voltage is applied between the inner conductor 92 and the outer conductor 93.
  • the acceleration process is then initiated by a gas discharge which forms between the first electrode 83 and the coaxial electrode 82 in the narrow gap 88 and which is indicated by 96 in FIG. 3.
  • material is vaporized and heated predominantly in the base areas of the hot arc.
  • further material is evaporated by the close contact of the arc with the walls of the gap 88. The resulting pressure drives the projectile 80 towards the pipe end.
  • a plasma forms behind the projectile 80 in the increasing combustion chamber.
  • the plasma consists of a current-carrying stem in the axis of the accelerator and (if a sleeve 81 made of plastic is used) a current-carrying sleeve which is pressed against the sleeve 81 by the current forces that occur. Due to the close contact of the plasma shell with the sleeve 81, the latter is vaporized on the surface and thus further material is supplied to the plasma.
  • FIG. 4 shows a further exemplary embodiment according to the invention.
  • the same parts as in Fig. 2 have been given the same reference numerals.
  • the projectile 80 with the sleeve 81 on the one hand and on the other hand the electrodes 82, 83 provided with the contact blades 85, 86, 87 with the insulating piece 84 are each combined to form a unit.
  • Such a division into separate structural units makes it possible first to introduce the projectile 80 with the sleeve 81 and in a subsequent period of time the unit consisting of electrodes 82, 83 and insulating piece 84 into the gun barrel. Such a division and loading into two time periods is often necessary, especially for large-caliber weapons.
  • FIG. 5 shows a simplified circuit diagram for the operation of the plasma cannon according to the invention.
  • the schematically illustrated plasma cannon was designated by 10 and the simplified circuit diagram by 11. Only one projectile 100 was shown in the plasma gun 10 instead of a cartridge.
  • 101 denotes the first electrode and 102 denotes the second electrode, which is connected to the tube.
  • a drive for. B. is a motor powered by a liquid fuel
  • 111 denotes a DC generator.
  • the voltage generated by the direct current generator is fed via switch 112 to a capacitance 113 which acts as a capacitive energy store.
  • the capacitance 113 is connected on the one hand to the first electrode 101 via a switch 114 and on the other hand to the second electrode 102 via an inductance 116.
  • the capacitance 113 can be short-circuited via a switch 115.
  • the capacitive energy store 113 is charged to the voltage Uo.
  • the gap-shaped space 88 can also be filled with a slightly gassing substance (e.g. polyethylene). Because the additional material evaporation of this substance increases the plasma pressure, so that the projectile leaves the tube 90 at a higher speed.
  • a slightly gassing substance e.g. polyethylene

Landscapes

  • Engineering & Computer Science (AREA)
  • Physics & Mathematics (AREA)
  • Electromagnetism (AREA)
  • Plasma & Fusion (AREA)
  • General Engineering & Computer Science (AREA)
  • Plasma Technology (AREA)
  • Generation Of Surge Voltage And Current (AREA)
  • Magnetic Treatment Devices (AREA)
  • Vending Machines For Individual Products (AREA)
  • Buildings Adapted To Withstand Abnormal External Influences (AREA)

Abstract

Die Erfindung betrifft eine Vorrichtung zur Beschleunigung von in einem einseitig verschlossenen Rohr (90) befindlichen Projektil (80) durch ein elektrisch aufgeheiztes Plasma. Zur Erzeugung des Plasmas sind zwei Elektroden (82, 83) vorgesehen, wobei die erste Elektrode (83) in dem verschlußseitigen Teil des Rohres koaxial angeordnet und die zweite Elektrode (82) als Ringelektrode ausgebildet ist. Damit die Rohrteile nur einem geringen Verschleiß, selbst bei hoher Schußfolge unterliegen, wurden alle einem starken Verschleiß unterliegenden Teile (81, 82, 83) einschließlich der beiden Elektroden (81, 82) in einer auswechselbaren Kartusche (8) angeordnet.

Description

  • Die vorliegende Erfindung betrifft eine Vorrichtung zur Beschleunigung von in einem einseitig verschlossenem Rohr befindlichen Projektilen durch ein elektrisch aufgeheiz­tes Plasma mit den Merkmalen des Oberbegriffs des An­spruchs 1.
  • Es ist bekannt, daß mit elektrisch aufgeheizten Plasmen Projektile in metallischen Rohren auf hohe Geschwindig­keiten beschleunigt werden können (vgl. Goldstein S.A. et. al. Final Report on Research and Development of a Plasma Jet Mass Accelerator as a Driver for Impact Fusion; GT-Devices, Alexandria, VA, USA, Contract DE-ACO5-81-­ER10846, May 1984). Bei diesen bekannten Vorrichtungen werden in engen Isolierstoffkapilaren Plasmastrahlen er­zeugt, die auf den Projektilboden einwirken. Durch Kon­takt der Gasentladung mit den Kapillarwänden kommt es zur Ablation von Isolierstoff und zur Aufheizung des Plasmas. Die Folge sind Plasmastrahlen, die aus den Kapillaröffnun­gen austreten.
  • Besonders nachteilig ist bei diesen bekannten Vorrichtun­gen, daß durch die Materilaverdampfung und Auifheizungs­vorgänge die kapillaren Teile des Beschleunigers einem großen Verschleiß unterliegen.
  • Die Rohre entsprechender Waffen, die nach diesem Prinzip arbeiten, müssen daher sehr häufig ausgewechselt werden. Dieses gilt insbesondere dann, wenn mit diesen Waffen eine hohe Schußfolge erreicht werden soll.
  • Der vorliegenden Erfindung lag daher die Aufgabe zugrunde, eine Vorrichtung der eingangs erwähnten Art so weiterzu­entwickeln, daß die entsprechenden Rohrteile nur einem geringen Verschleiß, selbst bei hoher Schußfolge, unter­liegen.
  • Erfindungsgemäß wird diese Aufgabe durch die Merkmale des kennzeichnenden Teils des Anspruchs 1 gelöst.
  • Die Unteransprüche geben besonders vorteilhafte Ausge­staltungen der Erfindung wieder.
  • Die Erfindung beruht also im wesentlichen darauf, daß die Ausbreitung des Plasmas nicht mehr - wie bei den bekannten Vorrichtungen - durch Teile des Beschleunigers selbst eingeleitet wird, sondern daß sowohl die Einlei­tung der Gasentladung als auch die anschließenden Auf­heizvorgänge in leicht auswechselbaren separaten Ein­heiten, in der sich auch das Projektil befindet, erfolgen. Es werden daher vorzugsweise dem Rohr nicht nur die Projektile, sondern die gesamte Kartusche jeweils zuge­führt.
  • Weitere Vorteile der Erfindung werden im folgenden an­hand von Ausführungsbeispielen, welche mit Hilfe von Figuren erläutert werden, beschrieben.
  • Es zeigen:
    • Fig. 1 eine bekannte Vorrichtung zur Beschleunigung von Projektilen mittels eines elektrisch auf­geheizten Plasmas;
    • Fig. 2 den Schnitt eines ersten Ausführungsbeispiels einer erfindungsgemäßen Kartusche;
    • Fig. 3 den Schnitt einer erfindungsgemäßen Plasma­kanone mit Kartusche gemäß Fig. 2;
    • Fig. 4 den Schnitt eines zweiten erfindungsgemäßen Ausführungsbeispiels;
    • Fig. 5 einen vereinfachten Schaltplan zum Betrieb der erfindungsgemäßen Plasmakanone;
    • Fig. 6 den zeitlichen Verlauf des Stromes in der Plasmakanone.
  • In Fig. 1 ist noch einmal eine bekannte Beschleunigungs­vorrichtung dargestellt, wie sie etwa in dem eingangs zitierten Bericht von Goldstein et. al. näher beschrie­ben wird.
  • In Fig. 1 ist mit 1 ein einseitig verschlossenes Rohr bezeichnet, an dessen verschlußseitigem Rohrboden eine erste Elektrode 2 angeordnet ist. Eine zweite Elektrode (Ringelektrode) 3 ist über eine Spannungsquelle 4 und einen Schalter mit der ersten Elektrode 2 verbunden. Durch die beiden Elektroden 2 und 3 wird in dem Rohr 1 eine mit 6 bezeichnete Plasmakammer definiert, die im Bereich der Ringelektrode 3 zunächst durch ein zu be­schleunigendes Projektil 7 abgeschlossen ist.
  • Nach dem Schließen des Schalters 5 wird zwischen den Elek­troden 2 und 3 ein Lichtbogen gezündet und daß Projektil 7 durch den Druck des Lichtbogenplasmas beschleunigt.
  • Wie bereits eingangs erwähnt, weist diese Vorrichtung den Nachteil auf, daß durch die Materialverdampfungs- und Auf­heizungsvorgänge der den Plasmaraum bildende Teil des Rohres einem außerordentlich starkem Verschleiß unterliegt.
  • Erfindungsgemäß werden daher einer entsprechenden Plasma­kanone nicht mehr nur das Projektil 7 allein, sondern alle einem starken Verschleiß unterliegenden Teile ein­schließlich der Elektroden, in Form einer Kartusche zuge­führt.
  • Im folgenden wird zunächst die in Fig. 2 dargestellte Kartusche 8 und anschließend ihre Funktion in Verbindung mit einem Geschütz (Fig. 3) näher beschrieben.
  • Die Kartusche 8 besteht im wesentlichen aus dem Projektil 80, einer das Projektil umgebenden Hülse 81, einer als Kontaktring ausgebildeten zweiten Elektrode 82 und einer als Kontaktstück ausgebildeten ersten Elektrode 83. Die erste Elektrode 83 und die zweite Elektrode 82 sind durch ein Isolierstück 84 getrennt. Außerdem weist die zweite Elektrode 82 auf ihrer vorderen Seite einen Kontaktla­mellenring 85 und auf ihrer Rückseite einen Kontaktla­mellenring 86 auf. Die erste Elektrode 83 besitzt auf ihrer dem Projektil 80 abgewandten Seite eine Kontakt­lamellenscheibe 87. Zwischem dem Projektil 80 und der ersten Elektrode 83 befindet sich ein splatförmiger Entladungsraum 88.
  • Die Hülse 81 kann vorzugsweise aus einem verbrennbaren leichtgasenden Material, beispielsweise Polyäthylen und der Isolierkörper 84 aus Polycarbonat bestehen. Als leichtgasendes Material werden dabei solche Stoffe be­zeichnet, die unter der Wirkung der Lichtbogenentladung in Moleküle (Gase) mit niedrigem Molekulargewicht (Molekulargewicht <30) zerfallen.
  • Als Material für die Elektroden 82 und 83 wurde im einem Ausführungsbeispiel Aluminium verwendet.
  • Fig. 3 zeigt, wie die Kartusche 8 in einer Plasmakanone angeordnet ist. Die nicht erfindungswesentlichen Teile, wie der Verschluß, wurden nur schematisch dargestellt. Mit 9 wurde der verschlußseitige Teil des Rohres 90 be­zeichnet. Auf dem Rohr 90 ist ein Bodenstück 91 bei­spielsweise aufgeschraubt. Durch eine Öffnung 95 des Bodenstückes 91 werden sowohl ein Innenleiter 92 als auch ein Außenleiter 93, der durch Isoliermittel 94 von dem Innenleiter 92 elektrisch getrennt ist, in den nicht extra bezeichneten Verschlußraum des Rohres 90 geführt. In dem Verschlußraum erfolgt dann die Kontaktierung des Innenleiters 92 über die Kontaktlamellenscheibe 87 mit der ersten Elektrode 83. Entsprechend wird der Außenleiter 93 über den Kontaktlamellenring 86 mit der Ringelektrode 82 verbunden.
  • Die Kontakte 85, 86 und 87 der Kartusche werden durch den Druck des Bodenstückes 91 fest gegen das Rohr 90 und gegen die koaxiale erste Elektrode gepreßt.
  • Zwischen den Isoliermitteln 94 und dem Isolierstück 84 ist zur elektrischen Abdichtung eine elastische Silikon­kautschukdichtung 97 angeordnet.
  • Zur Auslösung des Beschleunigungsvorganges wird zwi­schen den Inneleiter 92 und den Außenleiter 93 eine Spannung angelegt. Der Beschleunigungsvorgang wird dann durch eine Gasentladung eingeleitet, die sich zwischen der ersten Elektrode 83 und der koaxialen Elektrode 82 in dem engen Spalt 88 ausbildet und die in Fig. 3 mit 96 angedeutet ist. Während des raschen Anstieges des Stromes i, der von der Außenelektrode 93 über die Kontaktlamelle 86, die Ringelektrode 82, die Gasentladung 96, die koaxiale Innenelektrode 83 und die Kontaktlamellenscheibe 87 in den Innenleiter fließt, wird überwiegend in den Fußpunktsgebieten des heißen Lichtbogens Material verdampft und aufgeheizt. Zusätz­lich wird durch den engen Kontakt des Lichtbogens mit den Wänden des Spaltes 88 weiteres Material verdampft. Der dabei entstehende Druck treibt das Projektil 80 in Richtung des Rohrendes.
  • Während der Beschleunigung bildet sich in dem größerwer­denden Brennraum hinter dem Projektil 80 ein Plasma aus. Das Plasma besteht aus einem stromführenden Stiel in der Achse des Beschleunigers und (bei Verwendung einer aus Kunststoff bestehenden Hülse 81) einer stromführenden Hülle, die durch die auftretenden Strokräfte gegen die Hülse 81 gedrückt wird. Durch den engen Kontakt der Plasmahülle mit der Hülse 81 wird diese oberflächlich verdampft und somit dem Plasma weiteres Material zuge­führt.
  • In Fig. 4 ist ein weiteres Ausführungsbeispiel gemäß der Erfindung dargestellt. Dabei sind die gleichen Teile wie in Fig. 2 mit den gleichen Bezugszeichen versehen worden. Im Unterschied zu Fig. 2 sind in diesem Ausführungsbei­spiel einerseits das Projektil 80 mit der Hülse 81 und andererseits die mit den Kontaktlamellen 85, 86, 87 versehenen Elektroden 82, 83 mit dem Isolierstück 84 jeweils zu einer Einheit zusammengefaßt.
  • Durch eine derartige Aufteilung in getrennte Baueinhei­ten ist es möglich, zunächst das Projektil 80 mit Hülse 81 und in einem nachfolgenden Zeitabschnitt die aus Elek­troden 82, 83 und Isolierstück 84 bestehende Einheit in das Geschützrohr einzuführen. Eine derartige Auftei­lund des Ladens in zwei Zeitabschnitte ist häufig ins­besondere bei großkalibrigen Waffen erforderlich.
  • Fig. 5 zeigt einen vereinfachten Schaltplan zum Betrieb der erfindungsgemäßen Plasmakanone. Mit 10 wurde dabei die schematisch dargestellte Plasmakanone und mit 11 der vereinfachte Schaltplan bezeichnet. Dabei wurde in der Plasmakanone 10 statt einer Kartusche lediglich ein Projektil 100 dargestellt. Mit 101 ist die erste Elektro­de und mit 102 die zweite Elektrode, die mit dem Rohr verbunden ist, bezeichnet.
  • In dem Schaltplan 11 wird mit 110 ein Antrieb, z. B. ein mit einem Flüssigtreibstoff gespeister Motor, und mit 111 ein Gleichstromgenenrator bezeichnet. Die von dem Gleichstromgenerator erzeugte Spannung wird über den Schalter 112 eine Kapazität 113 zugeführt, die als kapazitiver Energiespeicher wirkt. Die Kapazität 113 ist einerseits über einen Schalter 114 mit der ersten Elektrode 101 und andererseits über eine Induk­tivität 116 mit der zweiten Elektrode 102 verbunden.
  • Außerdem kann die Kapazität 113 über einen Schalter 115 kurzgeschlossen werden.
  • Zu Beginn des Beschleunigungsvorganges ist der kapazitive Energiespeicher 113 auf die Spannung Uo aufgeladen. Nach Einlegen des Schalters 114 zum Zeitpunkt t = 0 (vgl. auch Fig. 6), entlädt sich der Energiespeicher über die In­duktivität 116 und über das Plasma im Beschleuniger. Wenn zum Zeitpunkt t = t1 der Strom sein imax erreicht hat, wird der Kurzschlußschalter 115 geschlossen. Der abnehmende Stromfluß über das Beschleunigerplasma wird danach durch die Induktivität der Spule 116 aufrechter­halten.
  • Um die Abmessungen der Kartusche 8 (Fig. 2) möglichst klein zu gestalten, kann das Projektil 80 auch direkt an die koaxiale Innenelektrode 83 anschließen (Abstand zwischen Innenelektrode und Projektil = 0).
  • Vorzugsweise kann der spaltförmige Zwischenraum 88 aber auch mit einem leicht gasenden Stoff (z. B. Polyäthylen) gefüllt werden. Denn durch die zusätzliche Materialver­dampfung dieses Stoffes erhöht sich der Plasmadruck, so daß das Projektil mit höherer Geschwindigkeit das Rohr 90 verläßt.

Claims (7)

1. Vorrichtung zur Beschleunigung von in einem einseitig verschlossenen Rohr befindlichen Projektil durch ein elektrisch aufgeheiztes Plasma, bei der zur Erzeugung des Plasmas zwei Elektroden vorgesehen sind, wobei die erste Elektrode in dem verschlußseitigen Teil des Roh­res koaxial angeordnet und die zweite Elektrode als Ringelektrode ausgebildet ist, dadurch ge­kennzeichnet, daß alle einem starken Verschleiß unterliegenden Teile (81, 82, 83) ein­schließlich der beiden Elektroden (81, 82) leicht aus­wechselbar sind.
2. Vorrichtung nach Anspruch 1, dadurch ge­kennzeichnet, daß die einem starken Verschleiß unter­liegenden Teile (81, 82, 83) zusammen mit dem Projektil (80) in einer auswechselbaren Kartusche (8) am ver­schlußseitigen Teil (9) des Rohres (90) zusammengefaßt sind.
3. Vorrichtung nach Anspruch 2, dadurch ge­kennzeichnet, daß die Kartusche aus zwei Einheiten besteht (Fig. 4), wobei die erste Einheit das Projektil (80) und eine das Projektil umgebende Hülle (81) und die zweite Einheit die mit Kontaktlamellen (85, 86, 87) versehenen Elektroden (82, 83) und ein zwischen den Elektroden (82, 83) angeordnetes Isolierstück (84) enthalten.
4. Vorrichtung nach Anspruch 2, dadurch ge­kennzeichnet, daß die beiden Elektroden (82, 83) zusammen mit dem Projektil (80) einen spalt­förmigen Entladungsraum (88) bilden.
5. Vorrichtung nach Anspruch 4, dadurch ge­kennzeichnet, daß sich in dem splatförmigen Entladungsraum (88) leichtgasende Stoffe befinden.
6. Vorrichtung nach Anspruch 5, dadurch ge­kennzeichnet, daß als leichtgasender Stoff Polyäthylen verwendet wird.
7. Vorrichtung nach einem der Ansprüche 1 bis 6, da­durch gekennzeichnet, daß das Projektil (80) von einer verbrennbaren Hülse (81) um­geben ist, die aus einem leichtgasenden Stoff besteht.
EP87100186A 1986-04-19 1987-01-09 Vorrichtung zur Beschleunigung von Projektilen durch ein elektrisch aufgeheiztes Plasma Expired - Lifetime EP0242500B1 (de)

Applications Claiming Priority (2)

Application Number Priority Date Filing Date Title
DE19863613259 DE3613259A1 (de) 1986-04-19 1986-04-19 Vorrichtung zur beschleunigung von projektilen durch ein elektrisch aufgeheiztes plasma
DE3613259 1986-04-19

Publications (2)

Publication Number Publication Date
EP0242500A1 true EP0242500A1 (de) 1987-10-28
EP0242500B1 EP0242500B1 (de) 1990-04-04

Family

ID=6299057

Family Applications (1)

Application Number Title Priority Date Filing Date
EP87100186A Expired - Lifetime EP0242500B1 (de) 1986-04-19 1987-01-09 Vorrichtung zur Beschleunigung von Projektilen durch ein elektrisch aufgeheiztes Plasma

Country Status (5)

Country Link
EP (1) EP0242500B1 (de)
JP (1) JPS62248999A (de)
DE (2) DE3613259A1 (de)
ES (1) ES2013729B3 (de)
NO (1) NO870473L (de)

Cited By (5)

* Cited by examiner, † Cited by third party
Publication number Priority date Publication date Assignee Title
GB2218495A (en) * 1988-05-13 1989-11-15 Tzn Forschung & Entwicklung Cartridges
GB2229799A (en) * 1989-04-01 1990-10-03 Diehl Gmbh & Co Device for accelerating a projectile
FR2649193A1 (fr) * 1989-06-29 1991-01-04 Saint Louis Inst Dispositif pour le lancement d'un projectile
GB2260187B (en) * 1991-10-01 1996-01-17 Tzn Forschung & Entwicklung Electrothermal firing device and cartridge
CN113916050A (zh) * 2021-10-19 2022-01-11 西南科技大学 一种电弧放电赋能气体驱动的二级轻气炮

Families Citing this family (9)

* Cited by examiner, † Cited by third party
Publication number Priority date Publication date Assignee Title
JPH067040B2 (ja) * 1988-03-29 1994-01-26 防衛庁技術研究本部長 電磁加速装置
US5042359A (en) * 1988-04-28 1991-08-27 Rheinmetall Gmbh Projectile accelerating device
DE3814332C2 (de) * 1988-04-28 1997-05-15 Rheinmetall Ind Ag Vorrichtung zur Beschleunigung von Projektilen
DE3814330C2 (de) * 1988-04-28 1997-05-15 Rheinmetall Ind Ag Elektrothermische Beschleunigungsvorrichtung
DE3814331A1 (de) * 1988-04-28 1989-11-09 Rheinmetall Gmbh Vorrichtung zur beschleunigung von projektilen
DE3830902C1 (de) * 1988-09-10 1992-04-09 Diehl Gmbh & Co, 8500 Nuernberg, De
DE3924056A1 (de) * 1989-07-21 1991-01-24 Diehl Gmbh & Co Vorrichtung zur beschleunigung von projektilen durch ein elektrisch aufgeheiztes plasma
DE4028874A1 (de) * 1990-09-12 1992-03-19 Diehl Gmbh & Co Elektrothermische kanone
DE19617895C2 (de) * 1996-05-04 1998-02-26 Rheinmetall Ind Ag Plasmainjektionsvorrichtung

Citations (2)

* Cited by examiner, † Cited by third party
Publication number Priority date Publication date Assignee Title
US3431816A (en) * 1967-07-21 1969-03-11 John R Dale Mobile gas-operated electrically-actuated projectile firing system
US4170922A (en) * 1977-09-16 1979-10-16 The United States Of America As Represented By The Secretary Of The Navy Ignitor

Family Cites Families (2)

* Cited by examiner, † Cited by third party
Publication number Priority date Publication date Assignee Title
US4534263A (en) * 1982-07-19 1985-08-13 Westinghouse Electric Corp. Electromagnetic launcher with high repetition rate switch
DE3321034A1 (de) * 1983-06-10 1984-12-13 Messerschmitt-Bölkow-Blohm GmbH, 8012 Ottobrunn Elektromagnetische kanone

Patent Citations (2)

* Cited by examiner, † Cited by third party
Publication number Priority date Publication date Assignee Title
US3431816A (en) * 1967-07-21 1969-03-11 John R Dale Mobile gas-operated electrically-actuated projectile firing system
US4170922A (en) * 1977-09-16 1979-10-16 The United States Of America As Represented By The Secretary Of The Navy Ignitor

Cited By (8)

* Cited by examiner, † Cited by third party
Publication number Priority date Publication date Assignee Title
GB2218495A (en) * 1988-05-13 1989-11-15 Tzn Forschung & Entwicklung Cartridges
GB2218495B (en) * 1988-05-13 1991-11-20 Tzn Forschung & Entwicklung Cartridge for an electrothermal firing device
US5115743A (en) * 1988-05-13 1992-05-26 Tzn Forschungs- Und Entwicklungszentrum Unterluss Gmbh Propellant casing assembly for an electrothermic projectile firing device
GB2229799A (en) * 1989-04-01 1990-10-03 Diehl Gmbh & Co Device for accelerating a projectile
GB2229799B (en) * 1989-04-01 1993-05-19 Diehl Gmbh & Co An arrangement for accelerating a projectile by means of a plasma
FR2649193A1 (fr) * 1989-06-29 1991-01-04 Saint Louis Inst Dispositif pour le lancement d'un projectile
GB2260187B (en) * 1991-10-01 1996-01-17 Tzn Forschung & Entwicklung Electrothermal firing device and cartridge
CN113916050A (zh) * 2021-10-19 2022-01-11 西南科技大学 一种电弧放电赋能气体驱动的二级轻气炮

Also Published As

Publication number Publication date
NO870473D0 (no) 1987-02-06
DE3613259C2 (de) 1989-12-21
ES2013729B3 (es) 1990-06-01
EP0242500B1 (de) 1990-04-04
DE3613259A1 (de) 1987-10-29
JPS62248999A (ja) 1987-10-29
DE3762165D1 (de) 1990-05-10
NO870473L (no) 1987-10-20

Similar Documents

Publication Publication Date Title
EP0242500B1 (de) Vorrichtung zur Beschleunigung von Projektilen durch ein elektrisch aufgeheiztes Plasma
DE68909659T2 (de) Plasma-Waffe mit einem Verbrennungsverstärker.
DE3413728C3 (de)
EP1348929B1 (de) Patrone mit elektrischer Zündung der Treibladung
DE3814331C2 (de)
EP0242501B1 (de) Vorrichtung zur Beschleunigung von Projektilen durch ein elektrisch aufgeheiztes Plasma
CH656400A5 (de) Plasmalichtbogeneinrichtung zum auftragen von ueberzuegen.
DE3814330C2 (de) Elektrothermische Beschleunigungsvorrichtung
DE19617895C2 (de) Plasmainjektionsvorrichtung
DE4132657C2 (de) Elektrothermische Abschußvorrichtung und Kartusche zur Verwendung in derartigen Vorrichtungen
DE4410325C2 (de) Waffenrohr mit einer erosionsmindernden Einlage und Verwendung des Waffenrohres in elektrischen Kanonen
DE3012497A1 (de) Verfahren zum herstellen einer zuendelektrode
DE19757443C2 (de) Plasmabrennervorrichtung für elektrothermische und elektrothermisch-chemische Kanonensysteme
EP0899356B1 (de) Verfahren und Vorrichtung zur Innenbeschichtung eines Metallrohres
DE3814332C2 (de) Vorrichtung zur Beschleunigung von Projektilen
DE4003320C2 (de) Geschoß für elektrothermische Beschleunigungsvorrichtungen
EP1148313B1 (de) Elektrothermische Anzündvorrichtung und Verfahren zu ihrer Herstellung
DE4039089A1 (de) Vorrichtung zum beschleunigen eines projektils mittels eines plasmas
DE3716078A1 (de) Lauf zur beschleunigung von geschossen
DE102008028166A1 (de) Vorrichtung zur Erzeugung eines Plasma-Jets
DE1777441A1 (de) Elektrodenanordnung fuer eine vorrichtung zum plastischen verformen eines werkstueckes
DE4337964C2 (de) Elektrischer Hybridbeschleuniger für eine Spezialmuntion
EP0080690B1 (de) Verfahren zum Löschen des Lichtbogens in Hochspannungs-Hochleistungsschaltern
DE3708910C2 (de) Elektromagnetischer Schienenbeschleuniger und Verwendung des Schienenbeschleunigers zur Beschleunigung von Geschossen mit mehreren hintereinander angeordneten plasmabildenden Zonen
DE2408127C3 (de) Verfahren zur Zündung und Betrieb einer Bogenlampe und dafür geeignete Bogenlampe sowie Schaltungsanordnung

Legal Events

Date Code Title Description
PUAI Public reference made under article 153(3) epc to a published international application that has entered the european phase

Free format text: ORIGINAL CODE: 0009012

17P Request for examination filed

Effective date: 19870424

AK Designated contracting states

Kind code of ref document: A1

Designated state(s): CH DE ES FR GB IT LI NL SE

17Q First examination report despatched

Effective date: 19880705

ITF It: translation for a ep patent filed
GRAA (expected) grant

Free format text: ORIGINAL CODE: 0009210

AK Designated contracting states

Kind code of ref document: B1

Designated state(s): CH DE ES FR GB IT LI NL SE

GBT Gb: translation of ep patent filed (gb section 77(6)(a)/1977)
REF Corresponds to:

Ref document number: 3762165

Country of ref document: DE

Date of ref document: 19900510

ET Fr: translation filed
PG25 Lapsed in a contracting state [announced via postgrant information from national office to epo]

Ref country code: SE

Effective date: 19910110

Ref country code: ES

Free format text: LAPSE BECAUSE OF NON-PAYMENT OF DUE FEES

Effective date: 19910110

PLBE No opposition filed within time limit

Free format text: ORIGINAL CODE: 0009261

STAA Information on the status of an ep patent application or granted ep patent

Free format text: STATUS: NO OPPOSITION FILED WITHIN TIME LIMIT

PG25 Lapsed in a contracting state [announced via postgrant information from national office to epo]

Ref country code: LI

Effective date: 19910131

Ref country code: CH

Effective date: 19910131

26N No opposition filed
PG25 Lapsed in a contracting state [announced via postgrant information from national office to epo]

Ref country code: NL

Effective date: 19910801

NLV4 Nl: lapsed or anulled due to non-payment of the annual fee
REG Reference to a national code

Ref country code: CH

Ref legal event code: PL

EUG Se: european patent has lapsed

Ref document number: 87100186.3

Effective date: 19910910

PGFP Annual fee paid to national office [announced via postgrant information from national office to epo]

Ref country code: GB

Payment date: 19971211

Year of fee payment: 12

PGFP Annual fee paid to national office [announced via postgrant information from national office to epo]

Ref country code: FR

Payment date: 19971231

Year of fee payment: 12

PGFP Annual fee paid to national office [announced via postgrant information from national office to epo]

Ref country code: DE

Payment date: 19980107

Year of fee payment: 12

PG25 Lapsed in a contracting state [announced via postgrant information from national office to epo]

Ref country code: GB

Free format text: LAPSE BECAUSE OF NON-PAYMENT OF DUE FEES

Effective date: 19990109

REG Reference to a national code

Ref country code: ES

Ref legal event code: FD2A

Effective date: 19990201

GBPC Gb: european patent ceased through non-payment of renewal fee

Effective date: 19990109

PG25 Lapsed in a contracting state [announced via postgrant information from national office to epo]

Ref country code: FR

Free format text: LAPSE BECAUSE OF NON-PAYMENT OF DUE FEES

Effective date: 19990930

PG25 Lapsed in a contracting state [announced via postgrant information from national office to epo]

Ref country code: DE

Free format text: LAPSE BECAUSE OF NON-PAYMENT OF DUE FEES

Effective date: 19991103

REG Reference to a national code

Ref country code: FR

Ref legal event code: ST

PG25 Lapsed in a contracting state [announced via postgrant information from national office to epo]

Ref country code: IT

Free format text: LAPSE BECAUSE OF NON-PAYMENT OF DUE FEES;WARNING: LAPSES OF ITALIAN PATENTS WITH EFFECTIVE DATE BEFORE 2007 MAY HAVE OCCURRED AT ANY TIME BEFORE 2007. THE CORRECT EFFECTIVE DATE MAY BE DIFFERENT FROM THE ONE RECORDED.

Effective date: 20050109