EP0230862A2 - Spritzflasche - Google Patents

Spritzflasche Download PDF

Info

Publication number
EP0230862A2
EP0230862A2 EP86810613A EP86810613A EP0230862A2 EP 0230862 A2 EP0230862 A2 EP 0230862A2 EP 86810613 A EP86810613 A EP 86810613A EP 86810613 A EP86810613 A EP 86810613A EP 0230862 A2 EP0230862 A2 EP 0230862A2
Authority
EP
European Patent Office
Prior art keywords
nozzle head
nozzle
bottle according
nozzles
spray bottle
Prior art date
Legal status (The legal status is an assumption and is not a legal conclusion. Google has not performed a legal analysis and makes no representation as to the accuracy of the status listed.)
Granted
Application number
EP86810613A
Other languages
English (en)
French (fr)
Other versions
EP0230862B1 (de
EP0230862A3 (en
Inventor
Artemio Granzotto
Current Assignee (The listed assignees may be inaccurate. Google has not performed a legal analysis and makes no representation or warranty as to the accuracy of the list.)
Individual
Original Assignee
Individual
Priority date (The priority date is an assumption and is not a legal conclusion. Google has not performed a legal analysis and makes no representation as to the accuracy of the date listed.)
Filing date
Publication date
Application filed by Individual filed Critical Individual
Priority to AT86810613T priority Critical patent/ATE69420T1/de
Publication of EP0230862A2 publication Critical patent/EP0230862A2/de
Publication of EP0230862A3 publication Critical patent/EP0230862A3/de
Application granted granted Critical
Publication of EP0230862B1 publication Critical patent/EP0230862B1/de
Anticipated expiration legal-status Critical
Expired - Lifetime legal-status Critical Current

Links

Images

Classifications

    • BPERFORMING OPERATIONS; TRANSPORTING
    • B65CONVEYING; PACKING; STORING; HANDLING THIN OR FILAMENTARY MATERIAL
    • B65DCONTAINERS FOR STORAGE OR TRANSPORT OF ARTICLES OR MATERIALS, e.g. BAGS, BARRELS, BOTTLES, BOXES, CANS, CARTONS, CRATES, DRUMS, JARS, TANKS, HOPPERS, FORWARDING CONTAINERS; ACCESSORIES, CLOSURES, OR FITTINGS THEREFOR; PACKAGING ELEMENTS; PACKAGES
    • B65D47/00Closures with filling and discharging, or with discharging, devices
    • B65D47/04Closures with discharging devices other than pumps
    • B65D47/06Closures with discharging devices other than pumps with pouring spouts or tubes; with discharge nozzles or passages

Definitions

  • the invention relates to a squirt bottle according to the preamble of claim 1.
  • Wash bottles of the type mentioned at the outset are known several times, for example from CH-PS 638 114.
  • a hollow plug which has a spray tube which leads outside and communicates with a feed tube leading into the interior of the bottle.
  • the liquid is only sprayed in one direction in a jet.
  • the bottle In the case of a structure with a U-shaped structural part, the bottle has to be moved back and forth several times and the position thereof has to be changed in order to accommodate the offset surfaces of depressions to be sprayed simultaneously by repeated squeezing. Uniform spraying is normally impossible, and the necessary back and forth movements and changes in position of the bottle when moving are time-consuming and cumbersome.
  • the invention has for its object to design a squirt bottle of the type mentioned in such a way that the uniform spraying of several mutually offset surfaces of a hollow profile that is open on one side, such as the edge of a toilet bowl, can be carried out in a single operation, thus reducing the time required for this purpose and reduce the fluid consumption thanks to even spraying.
  • this object is achieved by the features defined in the characterizing part of claim 1.
  • a squeeze bottle it is possible to wet a hollow profile, for example a U-profile, which is open on one side, at least for the most part, preferably completely, with a liquid in a single operation, which not only reduces the working time for such wetting, but also a safe one Wetting of at least the largest part of the inner surface of the hollow profile is reliably achieved, in which case the outlay on liquid is also reduced, since repeated, non-targeted spraying of the surfaces is eliminated.
  • a slot nozzle or two nozzle openings arranged at an angle can suffice to allow the hollow profile, which is open on one side, to be sprayed out.
  • it is advantageous to provide a further central nozzle so that, for example in the case of a U-shaped hollow profile, a separate nozzle is assigned to each side of the profile.
  • training according to claim 3 is advantageous.
  • the nozzles can be arranged distributed on a nozzle head, it is essential that they are effective in different directions, so that each nozzle can spray a different inner surface of a hollow profile.
  • an embodiment according to claim 4 is advantageous, since then there is a specific association between nozzles and containers, so that when using the position of the container, the user can simultaneously determine in which direction the spraying of the hollow profile will take place.
  • a nozzle head can be designed flat and contain nozzles arranged in a correspondingly inclined manner. It is more advantageous if the nozzle head is designed like a cap, so that a spherical arrangement of the nozzles is possible.
  • nozzle head it may be sufficient to arrange the nozzle head directly on the neck of the container. If, however, the nozzle head is not located close to or directly at the lowest point in the operating position of the squirt bottle, an embodiment according to claim 9 is recommended.
  • the wash bottle is particularly suitable for spraying a cleaning and / or disinfecting liquid into the U-shaped edge of a toilet bowl.
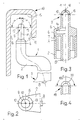
  • Figures 1 to 3 shows the upper part 1 of a conventional squirt bottle made of plastic, which can be compressed manually and is used to hold and eject a liquid.
  • the upper part 1 contains a bottle neck 2, which extends at right angles to a container 3.
  • a hollow cylindrical plug 5 is arranged at the opening 4 of the bottle neck 2.
  • the latter has an inwardly directed shoulder 6 on its outside, with which he sits on the end face 7 of the opening 4 on the bottle neck 3.
  • a supply tube 8 is connected to the stopper 2 and reaches the deepest point when the wash bottle is in the use position.
  • the feed tube 8 is connected to a nozzle head 9, which is cap-shaped.
  • the nozzle head 9 contains a central nozzle 10 which is arranged and aligned coaxially with the axis 11 of the nozzle head 9.
  • Two lateral nozzles 12 and 13 are arranged at an angle ⁇ of, for example, 90 ° to the axis 11 of the nozzle head.
  • an intermediate chamber 14 can be arranged in the feed tube.
  • the liquid is pressed through the feed tube 8 into the nozzle head 9 and sprays out in three different directions through the nozzles 10, 11 and 12.
  • the three inner surfaces 15, 16, 17 of a hollow profile 18 which is open on one side, for example the U-profile shown, of the edge of a toilet bowl are sprayed and thus wetted uniformly.
  • this intermediate chamber 14 can serve to cause an intermediate buffer in the supply tube 8, so that air can be sucked in via the additional ventilation valve during the pumping movement when the container is relieved, without the supply tube being emptied, so that when a new pressure is applied, liquid can be sprayed out immediately on the nozzle head without first having to fill the feed tube 8.
  • FIG. 4 shows a modified embodiment of a nozzle head 19 with a slot nozzle 20, which has, for example, an opening angle of 180 °, so that a uniform spray curtain can be produced with such a nozzle, which can wet the inner surfaces of a hollow profile.
  • the opening angle of the slot nozzle 20 can optionally also be larger or smaller than 180 °.
  • FIGS. 5 and 6 show a further exemplary embodiment of a spray bottle 21, with a flat container 22 which has an angled bottle neck 23, at the end of which a nozzle head 24 is arranged.
  • the nozzle head has two nozzles 26, 27 inclined at an angle ⁇ to the axis 25 of the nozzle head 24. The angle is selected such that the liquid jet is directed into the outer region of the upper inner surface 15 of the hollow profile 18, so that the liquid flow also receives a component of motion which drives it against the lateral inner surfaces 16, 17 of the hollow profile 18. to wet the inner surfaces of the hollow profile 18 at least approximately completely with only two nozzles.
  • the nozzles 26, 27 are further arranged so that they lie in the main plane of the flat container, which is given by the main axis 28 of the container and the axis 25 of the nozzle head 24.
  • the nozzle head 24 can be connected directly to the interior of the bottle neck 23 and thus the container 22. It is more expedient if the nozzle head 24 is connected to a feed tube 29 which is indicated by dash-dotted lines in FIG. 5 and which extends to the lowest point of the spray bottle 21 when it is in the operating position.
  • FIG. 7 shows the nozzle head 24 with modified nozzles 26a and 27a, which are slit-shaped. This makes it possible to cover a larger area.
  • FIG. 8 shows a further nozzle head 30 with nozzles 31, 32 and 33 which are arranged distributed around the circumference of the head.
  • a central nozzle 31 is used for spraying a liquid jet approximately parallel to the axis 34 of the nozzle head and thus for coating, for example, the inner surface 15 of the hollow profile 18 of Figures 1 and 5.
  • the side nozzles 32, 33 must be analogous to the nozzles of Figures 1 and 5 at an angle to the axis 34 of the nozzle head 30 in order to be able to spray the inner surfaces 16, 17 of the hollow profile 18 according to FIGS. 1 and 5 with a liquid.

Landscapes

  • Engineering & Computer Science (AREA)
  • Mechanical Engineering (AREA)
  • Cleaning In General (AREA)
  • Containers And Packaging Bodies Having A Special Means To Remove Contents (AREA)
  • Filters For Electric Vacuum Cleaners (AREA)
  • Medicinal Preparation (AREA)
  • Closures For Containers (AREA)

Abstract

Die Spritzflasche weist einen zusammendrückbaren Behälter (3) auf, an dem ein Düsenkopf (9) angeschlossen ist. Der Düsenkopf weist Düsen (10, 12, 13) auf, deren Düsenachsen unter einem Winkel (α) zur Achse (11) des Düsenkopfes (9) ge­neigt sind. Dadurch ist es möglich, die gesamte Innenfläche (15, 16, 17) des Hohlprofils (18) in einem Arbeitsgang minde­stens grösstenteils mit der Flüssigkeit zu benetzen.

Description

  • Die Erfindung betrifft eine Spritzflasche gemäss Oberbegriff des Anspruches 1.
  • Spritzflaschen der eingangs genannten Art sind mehrfach be­kannt, so beispielsweise aus der CH-PS 638 114. In deren Fla­schenhals steckt ein hohler Pfropfen, welcher ein Spritzröhr­chen besitzt, welches ins Freie führt und mit einem ins Fla­scheninnere führenden Zuleitröhrchen kommuniziert. Die Flüs­sigkeit wird bei raschem Zusammendrücken der Flasche mittels einer Düse nur in einer Richtung in einem Strahl ausge­spritzt Bei einem Baukörper mit einem U-förmigen Struktur­teil muss die Flasche mehrfach hin- sowie herbewegt und die Stellung derselben verändert werden, um die zueinander ver­setzten Flächen von Vertiefungen gleichzeitig durch wiederhol­tes Zusammendrücken zu bespritzen. Eine gleichmässige Besprit­zung ist normalerweise unmöglich, überdies sind die erforder­lichen Hin- und Herbewegungen und Stellungsveränderungen der Flasche beim Bewegen zeitraubend und umständlich.
  • Der Erfindung liegt die Aufgabe zugrunde, eine Spritzflasche der eingangs genannten Art so auszubilden, dass die gleich­mässige Bespritzung mehrerer zueinander versetzter Flächen enes einseitig offenen Hohlprofils, wie den Rand einer Klo­settschüssel, in einem einzigen Arbeitsgang auszuführen, und damit den hierzu benötigten Zeitbedarf zu verkürzen sowie den Flüssigkeitsaufwand dank gleichmässiger Bespritzung zu reduzieren.
  • Erfindungsgemäss wird diese Aufgabe durch die im Kennzeichen des Anspruches 1 definierten Merkmale gelöst. Mit einer sol­chen Spritzflasche ist es möglich, ein einseitig offenes Hohl­profil, beispielsweise ein U-Profil, in einem einzigen Arbeitsgang mindestens grösstenteils, vorzugsweise vollständig mit einer Flüssigkeit zu benetzen, wodurch nicht nur die Arbeitszeit für ein solches Benetzen reduziert wird, sondern auch ein sicheres Benetzen mindestens des grössten Teils der Innenfläche des Hohlprofils sicher erreicht wird, wobei dann überdies der Aufwand an Flüssigkeit reduziert wird, da ein mehrmaliges ungezieltes Bespritzen der Flächen entfällt.
  • Vorteilhafte Ausgestaltungen der Spritzflasche sind in den Ansprüchen 2 bis 10 beschrieben.
  • Es können eine Schlitzdüse oder zwei unter einem Winkel ange­ordnete Düsenöffnungen genügen, um ein Ausspritzen des ein­seitig offenen Hohlprofils zu ermöglichen. Insbesondere bei Verwendung normaler Düsenöffnungen ist es jedoch vorteilhaft gemäss Anspruch 2 eine weitere zentrale Düse vorzusehen, so­dass beispielsweise bei einem U-förmigen Hohlprofil jeder Seite des Profils eine eigene Düse zugeordnet ist. Insbeson­dere in diesem Falle ist eine Ausbildung nach Anspruch 3 von Vorteil. Die Düsen können verteilt an einem Düsenkopf ange­ordnet sein, wesentlich ist, dass sie in verschiedenen Rich­tungen wirksam sind, sodass jede Düse eine andere Innenfläche eines Hohlprofils bespritzen kann. Vorteilhaft ist jedoch eine Ausgestaltung nach Anspruch 4, da dann eine bestimmte Zuordnung zwischen Düsen und Behältern gegeben ist, sodass bei der Benützung anhand der Lage des Behälters der Benützer auch gleichzeitig feststellen kann in welcher Richtung das Bespritzen des Hohlprofils erfolgen wird.
  • Für die Ausbildung des Spritzkopfes bestehen verschiedene Möglichkeiten. Neben Düsenöffnungen mit kreisrundem Quer­schnitt können beispielsweise auch solche gemäss Anspruch 5 vorgesehen sein. Auch eine Schlitzdüse gemäss Anspruch 6 ist möglich. Ein Düsenkopf kann flach ausgestaltet sein und entsprechend geneigt angeordnete Düsen enthalten. Vorteilhaf­ter ist es, wenn der Düsenkopf gemäss Anspruch 7 kappenartig ausgebildet ist, sodass eine sphärische Anordnung der Düsen möglich ist.
  • Es kann ausreichend sein, den Düsenkopf gemäss Anspruch 8 direkt am Hals des Behälters anzuordnen. Wenn jedoch der Dü­senkopf in Betriebsstellung der Spritzflasche nicht nahe oder direkt am tiefsten Ort angeordnet ist, empfiehlt sich eine Ausgestaltung nach Anspruch 9. Gegebenenfalls kann es zweck­mässig sein, eine Zwischenkammer gemäss Anspruch 10 vorzuse­hen.
  • Die Spritzflasche ist besonders geeignet zum Ausspritzen ein­er Reinigungs- und/oder Desinfektionsflüssigkeit in den U-för­migen Rand einer Klosettschüssel.
  • Ausführungsbeispiele der Erfindung werden nachfolgend anhand der Zeichnungen näher erläutert, dabei zeigen:
    • Figur 1 die Anordnung eines Flaschenhalses mit Spritzdüse in einem nach unten offenen Hohlprofil, in Seitenansicht;
    • Figur 2 den Flaschenhals mit Düsenkopf in Drauf­sicht und in grösserem Massstab;
    • Figur 3 den Düsenkopf am Flaschenhals im Längs­schnitt und in grösserem Massstab;
    • Figur 4 eine Schlitzdüse eines Düsenkopfes im Längsschnitt;
    • Figur 5 eine weitere Spritzflasche an einem nach unten offenen Hohlprofil, in Seitenansicht und teilweise geschnitten;
    • Figur 6 die Spritzflasche der Figur 5 in Draufsicht
    • Figur 7 einen Düsenkopf mit schlitzförmigen Düsen, in Draufsicht;
      und
    • Figur 8 einen Düsenkopf mit einer weiteren Anord­nung von Düsen in Draufsicht.
  • Die Figuren 1 bis 3 zeigt den Oberteil 1 einer konventionel­len Spritzflasche aus Kunststoff, die manuell zusammendrück­bar ist und zur Aufnahme und zum Ausspritzen einer Flüssig­keit dient. Der Oberteil 1 enthält einen Flaschenhals 2, der in rechtwinkligen Krümmungen zu einem Behälter 3 verläuft. An der Oeffnung 4 des Flaschenhalses 2 ist ein hohlzylindrischer Pfropfen 5 angeordnet. Letzterer weist an seiner Aussenseite einen einwärts gerichteten Absatz 6 auf, mit welchem er an der Stirnseite 7 der Oeffnung 4 am Flaschenhals 3 aufsitzt. Am Pfropfen 2 ist ein Zuleitungsröhrchen 8 angeschlossen, das bei in Gebrauchsstellung befindlicher Spritzflasche bis an deren tiefsten Punkt erreicht. Das Zuleitungsröhrchen 8 steht mit einem Düsenkopf 9 in Verbindung, der kappenartig ausge­bildet ist. Der Düsenkopf 9 enthält eine zentrale Düse 10, die koaxial mit der Achse 11 des Düsenkopfes 9 angeordnet und ausgerichtet ist. Zwei seitliche Düsen 12 und 13 sind in einem Winkel α von beispielsweise 90° zur Achse 11 des Düsenkopfes angeordnet. Im Zuleitungsröhrchen kann, wie auf der linken Seite der Figur 3 angedeutet, eine Zwischenkammer 14 angeordnet sein.
  • Die Flüssigkeit wird, beim Zusammendrücken des Behälters 3 durch den entstehenden Innendruck durch das Zuleitungsröhr­chen 8 in den Düsenkopf 9 gepresst und spritzt in drei ver­schiedenen Richtungen durch die Düsen 10, 11 und 12 aus. Da­bei werden die drei Innenflächen 15, 16, 17 eines einseitig offenen Hohlprofils 18, beispielsweise des gezeigten U-Pro­fils des Randes einer Klosettschüssel bespritzt und damit gleichmäsig benetzt.
  • Bei Verwendung der Zwischenkammer 14 erfolgt das Ausspritzen der Flüssigkeit beim Zusammendrücken der Spritzflasche nicht sofort und schlagartig, da die Zwischenkammer 14 erst gefüllt werden muss, bevor die Flüssigkeit in den Düsenkopf 9 gelangt und aus den Düsen 10, 11 und 12 austreten kann. Dadurch wird eine sparsamere Verwendung der Flüssigkeit ermöglicht. Diese Zwischenkammer 14 kann, in Verbindung mit einem zusätzlichen, nicht dargestellten Belüftungsventil dazu dienen, einen Zwischenpuffer im Zuleitungsröhrchen 8 zu bewirken, sodass bei der Pumpbewegung beim Entlasten des Behälters Luft über das zusätzliche Belüftungsventil angesaugt werden kann, ohne dass sich das Zuleitungsröhrchen entleert, sodass beim Anle­gen eines neuen Druckes sofort Flüssigkeit am Düsenkopf ausge­spritzt werden kann, ohne dass das Zuleitungsröhrchen 8 erst gefüllt werden muss.
  • Die Figur 4 zeigt eine abgewandelte Ausführung eines Düsen­kopfes 19 mit einer Schlitzdüse 20, die beispielsweise einen Oeffnungwinkel von 180° aufweist, sodass mit einer solchen Düse ein gleichmässiger Spritzvorhang erzeugt werden kann, der die Innenflächen eines Hohlprofils benetzen kann. Der Oeffnungswinkel der Schlitzdüse 20 kann gegebenenfalls auch grösser oder kleiner als 180° sein.
  • Die Figuren 5 und 6 zeigen ein weiteres Ausführungsbeispiel einer Spritzflasche 21, mit einem flachen Behälter 22 der einen abgewinkelten Flaschenhals 23 aufweist, an dessen Ende ein Düsenkopf 24 angeordnet ist. Der Düsenkopf weist zwei unter einem Winkel α zur Achse 25 des Düsenkopfes 24 geneigte Düsen 26, 27 auf. Der Winkel ist so gewählt, dass der Flüssig­keitsstrahl in den äusseren Bereich der oberen Innenfläche 15 des Hohlprofils 18 gerichtet ist, sodass der Flüssigkeits­strom auch eine Bewegungskomponente erhält, die ihn gegen die seitlichen Innenflächen 16, 17 des Hohlprofiles 18 treibt, damit ist es möglich, mit nur zwei Düsen die Innen­flächen des Hohlprofils 18 mindestens annähernd vollständig zu benetzen. Die Düsen 26, 27 sind ferner so angeordnet, dass sie in der Hauptebene des flachen Behälters liegen, die durch die Hauptachse 28 des Behälters und die Achse 25 des Düsen­kopfes 24 gegeben ist. Der Düsenkopf 24 kann direkt mit dem Inneren des Flaschenhalses 23 und damit des Behälters 22 in Verbindung stehen. Zweckmässiger ist es, wenn der Düsenkopf 24 mit einem Zuleitungsröhrchen 29 in Verbindung steht, das in Figur 5 strichpunktiert angedeutet ist und das an die tiefste Stelle der Spritzflasche 21 reicht, wenn diese sich in Betriebsstellung befindet.
  • Die Figur 7 zeigt den Düsenkopf 24 mit abgewandelten Düsen 26a und 27a, die schlitzförmig ausgebildet sind. Dadurch ist die Bestreichung eines grösseren Flächenbereiches möglich.
  • Figur 8 zeigt einen weiteren Düsenkopf 30 mit Düsen 31, 32 und 33, die am Umfang des Kopfes verteilt angeordnet sind. Eine zentrale Düse 31 dient dabei zum Ausspritzen eines Flüs­sigkeitsstrahles annähernd parallel zur Aches 34 des Düsen­kopfes und damit zur Bestreichung beispielsweise der Innen fläche 15 des Hohlprofils 18 der Figuren 1 bzw. 5. Die seit­lichen Düsen 32, 33 müssen analog den Düsen der Figuren 1 und 5 unter einem Winkel zur Achse 34 des Düsenkopfes 30 ange­ordnet sein, um die Innenflächen 16, 17 des Hohlprofiles 18 gemäss den Figuren 1 bzw. 5 mit einer Flüssigkeit bespritzen zu können.
  • Es sind noch zahlreiche weitere Ausführungsbeispiele denkbar, insbesondere sind auch einzelne Merkmale der gezeigten Aus­führungsbeispiele untereinander austauschbar.

Claims (10)

1. Spritzflasche mit einem zusammendrückbaren Behälter (3, 22), an dem ein Düsenkopf (9, 19, 24, 30) angeschlossen ist, dadurch gekennzeichnet, dass der Düsenkopf (9, 19, 24, 30) eine Schlitzdüse (20) oder mindestens zwei Düsen (10, 12, 13, 26, 27, 26a, 27a, 31, 32, 33) aufweist, deren Düsenachsen unter einem Winkel α zur Achse (11, 25, 34) des Düsenkopfes (9, 24, 30) geneigt sind, das Ganze der­art, dass die Innenflächen (15, 16, 17) eines einseitig offenen Hohlprofils in einem Spritzvorgang mindestens grösstenteils mit einer Flüssigkeit benetzbar sind.
2. Spritzflasche nach Anspruch 1, dadurch gekennzeichnet, dass der Düsenkopf (9, 30) zusätzlich eine vorzugsweise in der Achse (11), des Düsenkopfes (9, 34) liegende zentrale Düse (10, 31) aufweist.
3. Spritzflasche nach Anspruch 1, dadurch gekennzeichnet, dass die Düsen (12, 13) jeweils einen Winkel α bis zu an­nähernd 90° mit der Achse (11) des Düsenkopfes (9) bilden.
4. Spritzflasche nach Anspruch 1, dadurch gekennzeichnet, dass die Düsen (10, 12, 13, 20, 26, 27, 26a, 27a) an­nähernd in einer Ebene liegen, die vorzugsweise der Haupt­ebene eines flach ausgebildeten Behälters (3, 22) ent­spricht.
5. Spritzflasche nach Anspruch 1, dadurch gekennzeichnet, dass die Düsen (26a, 27a) einen schlitzförmigen Quer­schnitt aufweisen, deren Längsachsen gegen die Achse (25) des Düsenkopfes (24) gerichtet sind.
6. Spritzflasche nach Anspruch 1, dadurch gekennzeichnet, dass die Schlitzdüse (20) einen Oeffnungswinkel von an­nähernd 180° aufweist.
7. Spritzflasche nach Anspruch 1, dadurch gekennzeichnet, dass der Düsenkopf (9) kappenartig ausgebildet ist.
8. Spritzflasche nach Anspruch 1, dadurch gekennzeichnet, dass der Behälter (3, 22) einen Hals (2, 23) aufweist, an dem der Düsenkopf (9, 24) direkt angeordnet ist.
9. Spritzflasche nach Anspruch 1, dadurch gekennzeichnet, dass der Düsenkopf (9, 24) mit einem Zuleitungsröhrchen (8, 29) verbunden ist, das mindestens annähernd an die tiefste Stelle des Behälters (3, 22) reicht, wenn sich dieser in Gebrauchsstellung befindet.
10. Spritzflasche nach Anspruch 9, dadurch gekennzeichnet, dass im Zuleitungsröhrchen (8) eine Zwischenkammer (14) angeordnet ist.
EP86810613A 1986-01-20 1986-12-29 Spritzflasche Expired - Lifetime EP0230862B1 (de)

Priority Applications (1)

Application Number Priority Date Filing Date Title
AT86810613T ATE69420T1 (de) 1986-01-20 1986-12-29 Spritzflasche.

Applications Claiming Priority (2)

Application Number Priority Date Filing Date Title
CH197/86 1986-01-20
CH19786 1986-01-20

Publications (3)

Publication Number Publication Date
EP0230862A2 true EP0230862A2 (de) 1987-08-05
EP0230862A3 EP0230862A3 (en) 1989-10-18
EP0230862B1 EP0230862B1 (de) 1991-11-13

Family

ID=4181470

Family Applications (1)

Application Number Title Priority Date Filing Date
EP86810613A Expired - Lifetime EP0230862B1 (de) 1986-01-20 1986-12-29 Spritzflasche

Country Status (4)

Country Link
EP (1) EP0230862B1 (de)
AT (1) ATE69420T1 (de)
DE (1) DE3682498D1 (de)
ES (1) ES2027640T3 (de)

Cited By (2)

* Cited by examiner, † Cited by third party
Publication number Priority date Publication date Assignee Title
DE102015111043A1 (de) * 2015-07-08 2017-01-12 Thyssenkrupp Ag Verfahren und Vorrichtung zur Benetzung der Wandung einer Bohrung
EP2296820B1 (de) * 2008-06-18 2019-12-11 Silgan Dispensing Systems Slatersville LLC Abgabeverschluss für eine fächersprühdüse

Family Cites Families (4)

* Cited by examiner, † Cited by third party
Publication number Priority date Publication date Assignee Title
US2578864A (en) * 1948-12-01 1951-12-18 Earl S Tupper Seal for flexible containers
FR1032143A (fr) * 1951-02-07 1953-06-30 Bouchage des flacons avec verseur diffusant les liquides
US3369707A (en) * 1966-10-14 1968-02-20 Products Design And Engineerin Dispensing cap for a container
CH638114A5 (de) * 1980-07-03 1983-09-15 Duering Ag Hand-quetschflasche zur erzeugung eines gerichteten fluessigkeitsstrahles.

Cited By (2)

* Cited by examiner, † Cited by third party
Publication number Priority date Publication date Assignee Title
EP2296820B1 (de) * 2008-06-18 2019-12-11 Silgan Dispensing Systems Slatersville LLC Abgabeverschluss für eine fächersprühdüse
DE102015111043A1 (de) * 2015-07-08 2017-01-12 Thyssenkrupp Ag Verfahren und Vorrichtung zur Benetzung der Wandung einer Bohrung

Also Published As

Publication number Publication date
ATE69420T1 (de) 1991-11-15
DE3682498D1 (de) 1991-12-19
EP0230862B1 (de) 1991-11-13
EP0230862A3 (en) 1989-10-18
ES2027640T3 (es) 1992-06-16

Similar Documents

Publication Publication Date Title
DE3121591C2 (de) Hand-Quetschflasche, insbesondere zur Reinigung von WC-Schüsseln
DE2731980C2 (de) Vorrichtung zum Ausspeisen von flüssigen oder pastösen Erzeugnisse
DE69809570T2 (de) Mit einer sprühvorrichtung kombinierbarer flüssigkeitspeicher, insbesondere für ein lösbares konzentrat
DE3884025T2 (de) Bürste.
DE2265392C3 (de) Flüssigkeitssprühvorrichtung
DE2852946A1 (de) Abzapfgeraet fuer das abzapfen kohlensaeurehaltiger getraenke aus mit einem einverleibten kohlensaeurevorratsbehaelter versehenen fluessigkeitsbehaeltern
DE2610129A1 (de) Schaumerzeuger
DE2228207C3 (de) Flüssigkeitsspriihvorrichtung
CH638697A5 (de) Vorrichtung zum erzeugen von schaum fuer schaumspruehapparat.
DE7024995U (de) Geschirrspülmaschine
DE2612471A1 (de) Dosierspruehvorrichtung
DE2512803C3 (de) Zerstäuberkopf
DE69004583T2 (de) Spender.
DE1475167A1 (de) Spruehkopf fuer elastische Kunststoff-Flaschen
EP0230862B1 (de) Spritzflasche
DE20301533U1 (de) Klobürste
DE3410305C1 (de) Membranpumpe
DE946595C (de) Trichter fuer Schankzwecke od. dgl.
DE837298C (de) Selbsttaetiger Verschluss fuer Behaelter, die gleichzeitig als Giesser, Verteiler, Dosierer oder Zerstaeuber dienen
DE7802067U1 (de) Vorrichtung zum Ausdruecken von Tubenpaste
DE2348974A1 (de) Spruehvorrichtung fuer fluessige, insbesondere biotechnische spruehmittel
DE808878C (de) Zerstaeuber
DE69201672T2 (de) Sprühvorrichtung für deformierbaren Behälter.
DE102022130554A1 (de) Wiederverwendbarer und modular aufgebauter Spender für Fluide
DE19710871C2 (de) Vorrichtung zum Auftragen von Flüssigkeiten

Legal Events

Date Code Title Description
PUAI Public reference made under article 153(3) epc to a published international application that has entered the european phase

Free format text: ORIGINAL CODE: 0009012

AK Designated contracting states

Kind code of ref document: A2

Designated state(s): AT BE CH DE ES FR GB IT LI LU NL SE

PUAL Search report despatched

Free format text: ORIGINAL CODE: 0009013

AK Designated contracting states

Kind code of ref document: A3

Designated state(s): AT BE CH DE ES FR GB IT LI LU NL SE

RHK1 Main classification (correction)

Ipc: B65D 1/32

17P Request for examination filed

Effective date: 19900321

17Q First examination report despatched

Effective date: 19900813

GRAA (expected) grant

Free format text: ORIGINAL CODE: 0009210

AK Designated contracting states

Kind code of ref document: B1

Designated state(s): AT BE CH DE ES FR GB IT LI LU NL SE

REF Corresponds to:

Ref document number: 69420

Country of ref document: AT

Date of ref document: 19911115

Kind code of ref document: T

REF Corresponds to:

Ref document number: 3682498

Country of ref document: DE

Date of ref document: 19911219

ET Fr: translation filed
ITF It: translation for a ep patent filed
GBT Gb: translation of ep patent filed (gb section 77(6)(a)/1977)
REG Reference to a national code

Ref country code: ES

Ref legal event code: FG2A

Ref document number: 2027640

Country of ref document: ES

Kind code of ref document: T3

PLBE No opposition filed within time limit

Free format text: ORIGINAL CODE: 0009261

STAA Information on the status of an ep patent application or granted ep patent

Free format text: STATUS: NO OPPOSITION FILED WITHIN TIME LIMIT

26N No opposition filed
PGFP Annual fee paid to national office [announced via postgrant information from national office to epo]

Ref country code: AT

Payment date: 19921214

Year of fee payment: 7

PGFP Annual fee paid to national office [announced via postgrant information from national office to epo]

Ref country code: LU

Payment date: 19921215

Year of fee payment: 7

EPTA Lu: last paid annual fee
PG25 Lapsed in a contracting state [announced via postgrant information from national office to epo]

Ref country code: LU

Free format text: LAPSE BECAUSE OF NON-PAYMENT OF DUE FEES

Effective date: 19931229

Ref country code: AT

Effective date: 19931229

PGFP Annual fee paid to national office [announced via postgrant information from national office to epo]

Ref country code: GB

Payment date: 19941222

Year of fee payment: 9

PGFP Annual fee paid to national office [announced via postgrant information from national office to epo]

Ref country code: FR

Payment date: 19941226

Year of fee payment: 9

PGFP Annual fee paid to national office [announced via postgrant information from national office to epo]

Ref country code: DE

Payment date: 19941227

Year of fee payment: 9

PGFP Annual fee paid to national office [announced via postgrant information from national office to epo]

Ref country code: SE

Payment date: 19941229

Year of fee payment: 9

PGFP Annual fee paid to national office [announced via postgrant information from national office to epo]

Ref country code: ES

Payment date: 19941230

Year of fee payment: 9

PGFP Annual fee paid to national office [announced via postgrant information from national office to epo]

Ref country code: NL

Payment date: 19941231

Year of fee payment: 9

PGFP Annual fee paid to national office [announced via postgrant information from national office to epo]

Ref country code: BE

Payment date: 19950118

Year of fee payment: 9

EAL Se: european patent in force in sweden

Ref document number: 86810613.9

PGFP Annual fee paid to national office [announced via postgrant information from national office to epo]

Ref country code: CH

Payment date: 19950328

Year of fee payment: 9

PG25 Lapsed in a contracting state [announced via postgrant information from national office to epo]

Ref country code: GB

Effective date: 19951229

PG25 Lapsed in a contracting state [announced via postgrant information from national office to epo]

Ref country code: SE

Effective date: 19951230

Ref country code: ES

Free format text: LAPSE BECAUSE OF NON-PAYMENT OF DUE FEES

Effective date: 19951230

PG25 Lapsed in a contracting state [announced via postgrant information from national office to epo]

Ref country code: LI

Effective date: 19951231

Ref country code: CH

Effective date: 19951231

Ref country code: BE

Effective date: 19951231

BERE Be: lapsed

Owner name: GRANZOTTO ARTEMIO

Effective date: 19951231

PG25 Lapsed in a contracting state [announced via postgrant information from national office to epo]

Ref country code: NL

Effective date: 19960701

REG Reference to a national code

Ref country code: CH

Ref legal event code: PL

GBPC Gb: european patent ceased through non-payment of renewal fee

Effective date: 19951229

PG25 Lapsed in a contracting state [announced via postgrant information from national office to epo]

Ref country code: FR

Effective date: 19960830

NLV4 Nl: lapsed or anulled due to non-payment of the annual fee

Effective date: 19960701

PG25 Lapsed in a contracting state [announced via postgrant information from national office to epo]

Ref country code: DE

Effective date: 19960903

REG Reference to a national code

Ref country code: FR

Ref legal event code: ST

REG Reference to a national code

Ref country code: ES

Ref legal event code: FD2A

Effective date: 20010503

PG25 Lapsed in a contracting state [announced via postgrant information from national office to epo]

Ref country code: IT

Free format text: LAPSE BECAUSE OF NON-PAYMENT OF DUE FEES

Effective date: 20051229