EP0157724A2 - Transportvorrichtung für Drucker, insbesondere für Matrixdrucker - Google Patents

Transportvorrichtung für Drucker, insbesondere für Matrixdrucker Download PDF

Info

Publication number
EP0157724A2
EP0157724A2 EP85730019A EP85730019A EP0157724A2 EP 0157724 A2 EP0157724 A2 EP 0157724A2 EP 85730019 A EP85730019 A EP 85730019A EP 85730019 A EP85730019 A EP 85730019A EP 0157724 A2 EP0157724 A2 EP 0157724A2
Authority
EP
European Patent Office
Prior art keywords
tractor
bearings
flap
transport device
flap component
Prior art date
Legal status (The legal status is an assumption and is not a legal conclusion. Google has not performed a legal analysis and makes no representation as to the accuracy of the status listed.)
Granted
Application number
EP85730019A
Other languages
English (en)
French (fr)
Other versions
EP0157724A3 (en
EP0157724B1 (de
Inventor
Gerhard Lohrmann
Kurt Röhrer
Current Assignee (The listed assignees may be inaccurate. Google has not performed a legal analysis and makes no representation or warranty as to the accuracy of the list.)
Vodafone GmbH
Original Assignee
Mannesmann AG
Priority date (The priority date is an assumption and is not a legal conclusion. Google has not performed a legal analysis and makes no representation as to the accuracy of the date listed.)
Filing date
Publication date
Application filed by Mannesmann AG filed Critical Mannesmann AG
Priority to AT85730019T priority Critical patent/ATE62627T1/de
Publication of EP0157724A2 publication Critical patent/EP0157724A2/de
Publication of EP0157724A3 publication Critical patent/EP0157724A3/de
Application granted granted Critical
Publication of EP0157724B1 publication Critical patent/EP0157724B1/de
Anticipated expiration legal-status Critical
Expired - Lifetime legal-status Critical Current

Links

Images

Classifications

    • BPERFORMING OPERATIONS; TRANSPORTING
    • B41PRINTING; LINING MACHINES; TYPEWRITERS; STAMPS
    • B41JTYPEWRITERS; SELECTIVE PRINTING MECHANISMS, i.e. MECHANISMS PRINTING OTHERWISE THAN FROM A FORME; CORRECTION OF TYPOGRAPHICAL ERRORS
    • B41J11/00Devices or arrangements  of selective printing mechanisms, e.g. ink-jet printers or thermal printers, for supporting or handling copy material in sheet or web form
    • B41J11/26Pin feeds
    • B41J11/30Pin traction elements other than wheels, e.g. pins on endless bands

Definitions

  • the invention relates to a transport device for printers, in particular for matrix printers, which are provided with paired tractor devices for guiding and / or advancing the record carrier, with foldable components being fastened by means of spherical bearings.
  • Such transport devices are used for line-by-line, step-by-step or continuous feed of record carriers, which e.g. consist of paper webs.
  • record carriers which e.g. consist of paper webs.
  • the tractor hatches i.e. Swing covers that hold the paper web on the pins away.
  • the tractor flaps are therefore held in swivel bearings so that they can be swung out.
  • the swiveling-in of foldable components that are pivoted out during operation is advantageous in order to save transport and packaging space.
  • the invention is therefore based on the object of creating a simple articulated bearing for foldable components on printers and also a simple locking device for the foldable positions.
  • a cut spring steel wire piece is used as a hinge pin and for fixing a closed or open position of the flap component, which is put under tension by curvature.
  • a preferred embodiment of the invention is designed in such a way that on the tractor body spaced-apart tractor bearings are provided, in which the ends of the spring steel wire stucco are mounted, and that at least one valve component bearing with a through hole for the spring-standing wire piece is provided on the valve component between the tractor bearings of the tractor body is that, in addition, in the closed and open position, the flap component bearing (s) bear with outer, flat surfaces on a flat counter surface of the tractor body and that the bores in the tractor bearings and in the flap component bearing differ in their axes.
  • a functionally reversed design of this solution consists in that flap component end bearings, in which the ends of the spring steel wire piece are mounted, are provided on the flap component in the feed direction.
  • the tractor body between the flap component end bearings at least one tractor bearing with a through hole for the spring steel wire piece is provided that in addition in the closed and open position, the flap component parts bearings rest with flat outer surfaces on a flat counter surface of the tractor body and that the through holes in the tractor bearings and in the valve component end bearings differ in their internal axis.
  • Falling out of the spring steel wire piece can be avoided by crimping the ends of the spring steel wire piece.
  • the application of the invention to a matrix printer results from the fact that the flap component consists of a cover flap for the belt band of the tractor device.
  • the flap component consists of a lateral guide flap for the record carrier.
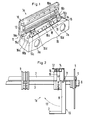
  • Fig. List drawn without the Aufzechchnungani.
  • the transport device shown is arranged in pairs to the left and right of the record carrier.
  • Fig. List the left tractor device la and in Fig. 2, the right tractor device 1b visible, both tractor devices 1a, 1b are guided on a mounting rod 2 and a drive shaft 3, which themselves are set exactly in parallel by side bracket 4 and adjusting screws 5.
  • the fastening rod 2 runs in FIG. 1 through the bore 2a and the drive shaft 3, which is square in cross section, runs through a square bushing which is inserted in the bore 3a.
  • the drive axle 3 is in this case rotatably supported in the bushing 6 fastened in the side carrier 4.
  • the Aufzelchnugesel is at one point on the wings 7 of the baffle flap 8 and later at another location on the support 9.
  • the spring steel wire piece 18 runs in the through bores 10c.
  • the flap component bearings 10a and 10b have outer, flat surfaces 10d which are supported on a flat counter surface 16c of the tractor body 16, the spring steel wire piece 18 running slightly curved, i.e. is under tension. This preload is achieved by an offset of approximately 0.8 mm between the axes of the through bores 10c and the bores 16d in the tractor bearings 16a and 16u.
  • At least one tractor bearing (16a or 16b) centrally attached to the tractor body 16 is provided and the flap component 10 in question has bearings (10a; 10b) on its flap component parts.
  • the spring steel wire piece 18 is crimped at its ends 18a, 18b to prevent it from falling out.
  • the flap component 10 can in each case be placed upright, ie vertically and fixed.
  • the outer, flat counter surface 16c of the tractor body 16 extends at 90 ° to corresponding surfaces 10d of the flap component bearings 10a, 10b.
  • This principle can be used both for the cover flap 12 over the Hiemenband 15 as well as for the lateral Leitwandklappe 8 for the recording medium and any at all K lappbau tone a printer, in particular a M d trix horrers be employed.

Landscapes

  • Handling Of Sheets (AREA)
  • Advancing Webs (AREA)
  • Hinge Accessories (AREA)
  • Liquid Developers In Electrophotography (AREA)
  • Combination Of More Than One Step In Electrophotography (AREA)
  • Character Spaces And Line Spaces In Printers (AREA)
  • Macromonomer-Based Addition Polymer (AREA)
  • Polymers With Sulfur, Phosphorus Or Metals In The Main Chain (AREA)

Abstract

Eine solche Transportvorrichtung dient für die Führung und/oder den Vorschub des Aufzeichnungsträgers, wobei paarweise angeordnete Traktorvorrichtungen (1a, 1b) vorgesehen sind, die Klappbauteile aufweisen, die mittels Gelenklagern (11) in verschiedene Klapp-Positionen einstellbar sind.
Um Klappbauteile an Druckern, insbesondere an Matrixdruckern mit wirtschaftlich herstellbaren, einfachen Gelenklagern zu versehen und um eine besondere Feststellvorrichtung für die Klappstellungen einzusparen, wird vorgeschlagen, dass als Gelenkzapfen (17) und zur Fixierung einer Schliess- oder Offenstellung des Klappenbauteils (10) ein abgelangtes Federstahldrahtstück (18) dient, das durch Krümmung unter Vorspannung gesetzt ist.

Description

  • Die Erfindung betrifft eine Transportvorrichtung für Drucker, insbesondere für Matrixdrucker, die für die Führung und/oder den vorschub des Aufzeichnungstrkgers mit paarweise angeordneten Traktorvorrichtungen versehen sind, wobei klappbare Bauteile mittels Gelenklagern befestigt sind.
  • Derartige Transportvorrichtungen dienen dem zeilenweisen, schrittweisen oder kontinuierlichen Vorschub von Aufzeichnungsträgern, die z.B. aus Papierbahnen bestehen. Für einen störungsfreien Betrieb eines Druckers ist es von Bedeutung, die Papierbahn mit ihrem Anfang fachgerecht in die Vorschub- bzw. Führungsorgane der Transportvorrichtung einzulegen.
  • Beim Einlegen der Papierbahn in die Stifte des Riemenbandes eines Traktors ist es z.B. erforderlich, die Traktorklappen, d.h. Abdeckungen, die die Papierbahn auf den Stiften halten, wegzuschwenken. Trktorklappen sind daher abschwenkbar in Gelenklagern gehalten.
  • Das Einführen der Papierbahn von der Unterseite oder von der Rückseite des Druckers macht bei einigen Druchkerbauformen ebenfalls das Abschwenken von klappbaren Bauteilen mittels Gelenklagern erforderlich.
  • Für den Transport ist das Einschwenken von während des Betriebes ausgeschwenkten klappbaren Bauteilen von Vorteil, um Transport- bzw. Verpackungsraum zu sparen.
  • Allen erwähnten Beispielen haftet der Nachteil an, daß klappbare Bauteile an Druckern fUr die Gelenklager einen erheblichen Aufwand benötigen. Ein zusätzlicher Aufwand entsteht, wenn der klappbare Bauteil in seinen Klapp-Positionen zusätzlich noch fixiert werden soll. Ein diesbezüglicher Aufwand Ist wirtschaftlich kaum noch zu vertreten.
  • Der Erfindung llegt daher die Aufgabe zugrunde, für klappbare Bauteile an Druckern ein einfaches Gelenklager zu schaffen und ebenso eine einfache Feststellvorrichtung für die Klapp-Positionen.
  • Die gestellte Aufgabe wird erfindungsgemäß dadurch gelöst, daß als Gelenkzapfen und zur Fixierung einer Schließ- oder Offenstellung des Klappenbauteils ein abgelängtes Federstahldrahtstck dient, das durch Krümmung unter Vorspannung gesetzt ist. Diese Erfindung verwirklicht auf wirtschaftliche und einfache Weise ein Gelenk und erlaubt gleichzeitig die Feststellung des Klappendauteils in gewünschten Endpositionen,
  • Eine bevorzugte Ausführungsform der Erfindung ist dahingehend gestaltet, daß am Traktorkörper in Vorschbrichtung beabstandete Traktorlager vorgesehen sind, in denen die Enden des Federstahldrahtstucks gelagert sind, daß ferner an dem Klappenbauteil zwischen den Traktorlagern des Traktorkörpers zumindest ein Klappenbauteil-Lager mit einer Durchgangsbohrung für das Federstanldrahtstück vorgesehen ist, daß außerdem in Schließ- und Offenstellung das bzw. die Klappenbauteil-Lager mit äußeren, ebenen Flächen auf einer ebenen Gegenflache des Traktorkorpers anliegen und daß die Bohrungen in den Traktorlagern und in dem Klappenbauteli-Lager in ihrer Achse voneinander abweichen.
  • Eine funktionell umgekehrte Gestaltung dieser Lösung besteht darin, daß am Klappenbauteil in Vorschubrichtng beabstandete Klappenbautellenden-Lager vorgesehen sind, in denen die Enden des Federstahldrahtstückes gelagert sind, daß ferner an. dem Traktorkörper zwischen den Klappenbauteilenden-Lagern zumindest ein Traktorlager mit einer Durchgangsbohrung für das Federstahldrahtstück vorgesehen ist, daß außerdem in Schließ- und Offenstellung die Klappenbauteilanden-Lager mit äußeren ebenen Flächen auf einer ebenen Gegenfläche des Traktorkörpers anliegen und daß die Durchgangsbohrungen in den Traktorlagern und in den Klappenbauteilenden-Lagern in inrer Achse voneinander abweichen.
  • Ein herausfallen des Federstahldrahtstückes kann vermieden werden, indem die Enden des Federstahldrahtstückes angequetscht sind.
  • Die erfindungsgemäßen Wirkungen treten bei Klappenbautilen für Drueker schon dann ein, wenn die parallelen Achsen der Bohrungen in den Iraktorlagern und in den Klappenbauteil-Lagern einen Abstand von etwa 0,8 mm aufweisen.
  • Die praktischen Fixierstellungen werden vorteilhafterweise dadurch erzlelt. daß die äußere ebene Gegenfläche des Traktorkörpers zu der Fläche der Klappenbauteil-Lager für Schließ- bzw. Offenstellung unter einem Winkel von 90° zueinander verlaufen.
  • Die Anwendung der Erfindung auf einen Matrixdrucker ergibt sich dadurch, daß das Klappenbautil aus einer Abdeckklappe für das Riemenband der Traktorvorrichtung besteht.
  • Eine andere Anwendbarkeit wird dadurch erzielt. daß das Klappenbautell aus einer seitlichen Führungsklappe für den Aufzeichnungsträger besteht.
  • Ausführungsbeispiele der Erfindung sind in der Zeichnung dargestellt und werden nachfolgend näher beschrieben.
  • Es zeigen:
    • Fig. 1 den oberen Teil einer Traktorvorrichtung eines Matrixdruckers in perspektivischer Ansicht und
    • Fig. 2 den rechten Teil einer Transportvorrichtung mit Traktorvorrichtung und einer zusätzlichen Führung für den Aufzeichnungsträger etwa in Transportrichtung des Aufzeichnungsträgers gesehen.
  • Die Transportvorrichtung gemäß Fig. list ohne den Aufzelchnungsträger gezeichnet. Die dargestellte Transportvorrichtung ist jedoch paarweise links und rechts vom Aufzeichnungsträger angeordnet. In Fig. list die llnke Traktorvorrichtung la und in Fig. 2 die rechte Traktorvorrichtung 1b sichtbar, wobei beide Traktorvorrichtungen 1a, 1b auf einer Befestigungsstange 2 und einer Antriebsachse 3 geführt sind, die selbst durch Seitenträger 4 und Einstellschrauben 5 genau parallel eingestellt sind. Die Befestigungsstange 2 verläuft in Fig. 1 durch die Bohrung 2a und die im Querschnitt quadratische Antriebsachse 3 verläuft durch eine Vierkantbuchse, die in der Bohrung 3a eingesetzt ist. Die Antriebsachse 3 ist hierbei in der im Seitentrager 4 befestigten Buchse 6 drehgelagert. Der Aufzelchnugsträger liegt an einer Stelle auf den Flügeln 7 der Leitwandklappe 8 und später an einer anderen Stelle auf der Auflage 9 auf.
  • Die beiden in den Fig. 1 und 2 dargestellten Ausführungsbeispiele besitzen für ihre Klappenbauteile 10 Gelenklager 11. Gemäß Flg. 1 besteht das dortige Klappenbauteil 10 aus einer Abdeckklappe 12 und gemäß Fig. 2 besteht das dortige Klappenbauteil 10 aus der Leitwandklappe 8. Währenddem die Leitwandklappe 8 zu Transport- bzw. Verpackungszwecken in Richtung 13 einschweenkbaer ist, dient das Auf-und Einschwenken der Traktorklappe 12 dem Einlegen des randgelochten Aufzeichnungsträgers, d. h. der randgelochten Papierbahn. Die Papierbahn wird mit ihrer Lochung in die Stifte 14 des Riemenbandes 15 eingelegt, das im Traktorkörper 16 geführt ist. Anschließend wird die Abdeckklappe 12 aus der dargestellten senkrechten Position in die waagerechte Position, in der sie das Riemenband 15 abdeckt, geschwenkt. Die Gelenklager 11 sind nunmehr wie nachfolgend beschrieben ausgebildet:
    • Die Gelenklager 11 weisen Gelenkzapfen 17 in Form von abgelängten Federstahldrahtstücken 18 auf. Am Traktorkörper 16 sind in Vorschubrichtung 19 beabstandet Traktorlager.16a und 16b vorgesehen, in denen die Enden 18a und 18b des Federstahldrahtstückes 18 gelagert sind. Der Klappenbauteil 10 trägt zwei Klappenbauteil-Lager 10a und 100. die Jewells mit einer Durchgangsbohrung 10c versehen sind.
  • In den Durchgangsbohrungen 10c verläuft das Federstahldrahtstück 18. Die Klappenbauteil-Lager 10a und 10b besitzen äußere, ebene Flächen 10d, die sich auf einer ebenen Gegenfläche 16c des Traktorkörpers 16 aufstützen, wobei das Federstahldrahtstück 18 leicht gekrümmt verlauft, d.h. unter Vorspannung gesetzt ist. Diese Vorspannung wird durch einen Versatz von ca. 0,8 mm zwischen den Achsen der Durchgangsbonrungen 10c und der Bohrungen 16d in den Traktorlagern 16a bzw. 16u erreicht.
  • Es werden die beschriebenen Wirkungen auch dadurch erzielt, daß zumindest ein am Traktorkörper 16 mittig befestigtes Traktorlager (16a oder 16b) vorgesehen ist und das betreffende Klappenbauteil 10 an seinen Klappenbauteilenden Lager (10a;10b) aufweist.
  • Das Federstahldrahtstück 18 ist an seinen Enden 18a, 18b gequetscht, um ein Herausfallen zu vertneiden.
  • Für das Einlegen der Papierbahn bzw. das Verpacken ist es vorteilhaft, wenn das Klappenbauteil 10 jeweils aufrecht, d.h. senkrecht gestellt und fixiert werden kann. Hierzu verläuft die äußere, ebene Gegenfläche 16c des Traktorkörpers 16 unter 90° zu korrespondierenden Flächen 10d der Klappenbautelllager 10a, 10b. Dieses Prinzip kann sowohl für die Abdeckklappe 12 über dem Hiemenband 15 als auch für die seitliche Leitwandklappe 8 für den Aufzeichnungsträger und beliebig an allen Klappbauteilen eines Druckers, insbesondere eines Mdtrixdruckers, angewendet werden.

Claims (8)

1. Transportvorrichtung für Drucker, insbesondere für Matrixdrucker, die für die Führung und/oder den Vorschub des Aufzeichnungsträgers wit paarweise angeordneten Traktorvorrichtungen versehen sind, wobei klepphare Bauteile wittels Gelenklagern befestigt sind,
dadurch gekennzeichnet,
daß als Gelenkzapfen (17) und zur Fixierung einer Schließ- oder Offenstellung des Klappenbauteils (10) ein abgelängtes Federstahldrahtstück (18) dient, das durch Krümmung unter Vorspannung gesetzt ist.
2. Transportvorrichtung nach Anspruch 1,
dadurch gekennzeichnet,
daß am Traktorkörper (16) in Vorschubrichtung (19) beabstandete Traktorlager (16a,16b) vorgesehen sind, in denen die Enden (18a,18b) des Federstahldrahtsttlcks (18) gelagert sind, daß ferner an dem Klappenbauteil (10) zwischen den Traktorlagern (16a,16b) des Traktorkörpers ;16 ) zumindest ein Kappenbauteil -Lager (10a, 10b) mit einer Durchgangsbohrung (10c) für das federstahldrantssück (18) vorgesehen ist, daß außerdem in Schließ- und Offenstellung das bzw. die Klappenbautell-Lager (10a,10b) mit äußeren, ebenen Flächen (10d) auf einer ebenen Gegenfläche (16c) des Traktorkörpers (16) anliegen und daß die Bohrungen (16d) in den lraktorlagern (16a,16b) und in dem Klappenbauteil-Lager (10a bzw. 10b) in ihrer Achse voneinander abweichen.
3. Transportvorrichtung nach Anspruch 1,
dadurch gekennzeichnet,
daß am Klappenbauteil (10) in Vorschubrichtung (19) beabstandete Klappenbauteiienden-Lager vorgesehen sind, in denen die Enden (18a,18b) des Federstahldrahtstückes (18) gelagert sind, daß ferner an dem Traktorkörper (16) zwischen den Klappenbdutellenden-Lagern zumindest ein Traktorlager (16a bzw. 16b) mit einer Durchgangsbohrung (10c) für das Federstahldrahtstück (18) vorgesehen ist, daß außerdem in Schließ- und Offenstellung die Klappenbauteilenden-Layer mit äußeren ebenen Flächen auf einer ebenen Gegenfläche (16c) des Traktorkörpers (16) anliegen und daß die Durchgangsbohrungen (10c) in den Traktorlagern (16a bzw. 16b) und in den Klappenbauteilanden-Lagern in ihrer Achse voneinander abweichen.
4. Transportvorrichtung nach den Ansprüchen 1 bis 3,
dadurch gekennzeichnet,
daß die Enden (18a,18b) des Federstahl drahtstückes (18) angequetscht sind.
5. Transportvorrichtung nach den Ansprüchen 1 bis 4,
dadurch gekennzeichnet,
daß die parallelen Achsen der Bohrungen (10c bzw. 16d) in den Traktorlagern (16a,16b) und In den Klappenbautail-Lagern (10a,10b) einen Abstand von etwa 0,8 mm aufweisen.
6. Transportvorrichtung nach den Ansprüchen 1 bis 5,
dadurch gekennzeichnet,
daß die äußere, ebene Gegenfläche (16c) des Traktorkörpers (16) zu der Fläche (10d) der Klappenbauteil-Lager (10a,10b) für SchlieB- bzw. Offenstellung unter einem Winkel von 90° zueinander verlaufen.
7. Transportvorrichtung nach den Ansprüchen 1 bis 6,
dadurch gekennzeichnet,
daß das Klappenbauteil (10) aus einer Abdeckklappe (12) für das Riemenband (15) der Traktorvorrfchtung (la) besteht.
8. Transpsportvorrichtng nach den Ansprüchen 1 bis 7,
dadurch gekennzeichnet,
daß das Klappenbauteil (10) aus einer seitlichen Führungsklappe (8) für den Aufze1chnungsträger besteht.
EP85730019A 1984-04-03 1985-02-06 Transportvorrichtung für Drucker, insbesondere für Matrixdrucker Expired - Lifetime EP0157724B1 (de)

Priority Applications (1)

Application Number Priority Date Filing Date Title
AT85730019T ATE62627T1 (de) 1984-04-03 1985-02-06 Transportvorrichtung fuer drucker, insbesondere fuer matrixdrucker.

Applications Claiming Priority (2)

Application Number Priority Date Filing Date Title
DE3412852 1984-04-03
DE3412852A DE3412852C2 (de) 1984-04-03 1984-04-03 Transportvorrichtung für Drucker, insbesondere für Matrixdrucker

Publications (3)

Publication Number Publication Date
EP0157724A2 true EP0157724A2 (de) 1985-10-09
EP0157724A3 EP0157724A3 (en) 1988-06-08
EP0157724B1 EP0157724B1 (de) 1991-04-17

Family

ID=6232780

Family Applications (1)

Application Number Title Priority Date Filing Date
EP85730019A Expired - Lifetime EP0157724B1 (de) 1984-04-03 1985-02-06 Transportvorrichtung für Drucker, insbesondere für Matrixdrucker

Country Status (5)

Country Link
US (1) US4650358A (de)
EP (1) EP0157724B1 (de)
JP (1) JPS60212366A (de)
AT (1) ATE62627T1 (de)
DE (2) DE3412852C2 (de)

Families Citing this family (11)

* Cited by examiner, † Cited by third party
Publication number Priority date Publication date Assignee Title
US4758107A (en) * 1986-05-02 1988-07-19 Sakase Kagaku Kogyo Kabushiki Kaisha Web feed tractor for printer
US4780013A (en) * 1986-05-02 1988-10-25 Sakase Kagaku Kogyo Kabushiki Kaisha Web feed tractor for printer
JPS6399969A (ja) * 1986-10-17 1988-05-02 Canon Inc 記録装置のピンフイ−ド装置
DE8711771U1 (de) * 1987-08-31 1987-10-29 Nixdorf Computer Ag, 4790 Paderborn Transporteinrichtung zum Transport eines Aufzeichnungsträgers durch einen Drucker
US4817842A (en) * 1988-01-29 1989-04-04 International Business Machines Corporation Door and spring assembly for a paper feed mechanism
EP0352397B1 (de) * 1988-07-26 1993-01-07 MANNESMANN Aktiengesellschaft Vorrichtung zum Regeln der Geschwindigkeit von pulsbreitenmodulierten Elektromotoren, insbesondere von Gleichstrommotoren
US4955520A (en) * 1989-03-24 1990-09-11 Precision Handling Devices, Inc. Web feed device having an improved lid mechanism
US5488467A (en) * 1994-06-24 1996-01-30 Rjs, Inc. Laser printer paper handling system
SI2537900T1 (sl) 2011-06-21 2015-11-30 Omya International Ag Postopek za proizvodnjo oborjenega kalcijevega karbonata
CN109262070B (zh) * 2018-11-08 2020-04-17 温州普睿达机械科技有限公司 一种管道加工切割喷码一体机
CN114715707B (zh) * 2022-03-31 2023-01-03 先之科半导体科技(东莞)有限公司 一种便于调整的晶片料带传动结构

Family Cites Families (14)

* Cited by examiner, † Cited by third party
Publication number Priority date Publication date Assignee Title
US2342477A (en) * 1941-08-08 1944-02-22 Waterbury Button Company Plastic hinge cap
US2442873A (en) * 1944-04-28 1948-06-08 Trig Corp Molded plastic receptacle hinge
US2797434A (en) * 1953-12-23 1957-07-02 Chrysler Corp Hood or deck lid hinge
US2707800A (en) * 1954-08-16 1955-05-10 Popper Emil Spring hinge for bracelets, watch bands, and the like
US2987332A (en) * 1958-11-17 1961-06-06 Bonmartini Glovanni Resilient torque-transmitting hinge structure
US3388420A (en) * 1966-09-15 1968-06-18 Gen Motors Corp Integral hinge and hinge bias structure
DE1524445B2 (de) * 1966-12-24 1973-02-15 IBM Deutschland, 7000 Stuttgart Vorrichtung zum voneinander unabhaengigen transportieren von zwei papierbahnen
US3545034A (en) * 1969-01-31 1970-12-08 Gen Motors Corp Over-center door hinge
JPS552043A (en) * 1978-06-22 1980-01-09 Oki Electric Ind Co Ltd Fixing system for continuous supply device
DE3036642A1 (de) * 1980-09-29 1982-05-13 Philips Patentverwaltung Gmbh, 2000 Hamburg Transportvorrichtung fuer papierbahnen in buchungsmaschinen
IT1135127B (it) * 1981-01-22 1986-08-20 Honeywell Inf Systems Meccanismo di trasporto carta per stampante
FR2499618A1 (fr) * 1981-02-06 1982-08-13 Lucas Noel Charniere multiposition
US4390002A (en) * 1981-08-14 1983-06-28 Unarco Industries, Inc. Hinge for cover of kettle cooker
US4493680A (en) * 1982-12-02 1985-01-15 Florkey's Conveyor Service, Inc. Wear compensating link pin

Also Published As

Publication number Publication date
EP0157724A3 (en) 1988-06-08
JPH0431314B2 (de) 1992-05-26
US4650358A (en) 1987-03-17
DE3582511D1 (de) 1991-05-23
ATE62627T1 (de) 1991-05-15
JPS60212366A (ja) 1985-10-24
EP0157724B1 (de) 1991-04-17
DE3412852C2 (de) 1986-07-17
DE3412852A1 (de) 1985-10-03

Similar Documents

Publication Publication Date Title
DE2913186C2 (de) Kippbares Rollenlager
DE3044806C2 (de)
DE2840053C2 (de) Scharnier für eine Haube eines Kraftfahrzeuges
DE2551989A1 (de) Kassette fuer ein endloses farbband fuer druckende bueromaschinen
DE102020110154A1 (de) Verbindungsstruktur zur Verhinderung des Schwankens von gegenläufigen Schiebetüren
DE2834342C2 (de) Lager für Wendeflügelfenster
EP0157724A2 (de) Transportvorrichtung für Drucker, insbesondere für Matrixdrucker
DE3128169C2 (de) Abnehmbarer Tragegriff
DE2137975C2 (de) Formulartraktor mit Transportstiften
DE60225625T2 (de) Abkantpresse für Bleche mit einer beweglichen Anschlageinrichtung
DE2447472B2 (de) Vorlagenhaltevorrichtung für ein Kopiergerät
DE3876236T2 (de) Traktorklappen fuer einen papiervorschubmechanismus.
DE4190357C2 (de) Feilschablone für das Feilen von Sägeketten
DE1179349B (de) Fernbetaetigbares Handhabungsgeraet (Manipulator)
DE2601152C2 (de) Elektrisches Trockenrasiergerät
DE3008540C2 (de) Vorrichtung an Schreibwalzenlagergestell von Schreib- oder ähnlichen Maschinen zum Verstellen der Schreibwalze in Abdruckrichtung
DE102019200066A1 (de) Lukenanordnung für ein Freizeitfahrzeug
EP0812795A2 (de) Wickelvorrichtung für Gurte, Kordeln od.dgl.
DE3536215C2 (de)
DE3136192C2 (de) Papierführung für Drucker
EP0292683A2 (de) Kraftwagen-Türfeststeller
DE3545787C2 (de)
DE2559494C3 (de) Farbbandkassette für Schreib- und ähnliche Maschinen
DE2637870C3 (de) Sicherheitsskibindung
DE2827133C2 (de) Stützanordnung zur Sicherung eines hochgestellten Klappteils gegen Herunterfallen, insbesondere zur Sicherung eines in Kippstellung befindlichen LKW-Fahrerhauses

Legal Events

Date Code Title Description
PUAI Public reference made under article 153(3) epc to a published international application that has entered the european phase

Free format text: ORIGINAL CODE: 0009012

AK Designated contracting states

Designated state(s): AT BE CH DE FR GB IT LI NL

17P Request for examination filed

Effective date: 19850907

PUAL Search report despatched

Free format text: ORIGINAL CODE: 0009013

AK Designated contracting states

Kind code of ref document: A3

Designated state(s): AT BE CH DE FR GB IT LI NL

17Q First examination report despatched

Effective date: 19891013

GRAA (expected) grant

Free format text: ORIGINAL CODE: 0009210

AK Designated contracting states

Kind code of ref document: B1

Designated state(s): AT BE CH DE FR GB IT LI NL

REF Corresponds to:

Ref document number: 62627

Country of ref document: AT

Date of ref document: 19910515

Kind code of ref document: T

ITF It: translation for a ep patent filed
ET Fr: translation filed
REF Corresponds to:

Ref document number: 3582511

Country of ref document: DE

Date of ref document: 19910523

GBT Gb: translation of ep patent filed (gb section 77(6)(a)/1977)
PG25 Lapsed in a contracting state [announced via postgrant information from national office to epo]

Ref country code: AT

Effective date: 19920206

PLBE No opposition filed within time limit

Free format text: ORIGINAL CODE: 0009261

STAA Information on the status of an ep patent application or granted ep patent

Free format text: STATUS: NO OPPOSITION FILED WITHIN TIME LIMIT

PG25 Lapsed in a contracting state [announced via postgrant information from national office to epo]

Ref country code: BE

Effective date: 19920228

PG25 Lapsed in a contracting state [announced via postgrant information from national office to epo]

Ref country code: LI

Effective date: 19920229

Ref country code: CH

Effective date: 19920229

26N No opposition filed
BERE Be: lapsed

Owner name: MANNESMANN A.G.

Effective date: 19920228

PG25 Lapsed in a contracting state [announced via postgrant information from national office to epo]

Ref country code: NL

Effective date: 19920901

NLV4 Nl: lapsed or anulled due to non-payment of the annual fee
REG Reference to a national code

Ref country code: CH

Ref legal event code: PL

PGFP Annual fee paid to national office [announced via postgrant information from national office to epo]

Ref country code: GB

Payment date: 19930113

Year of fee payment: 9

PGFP Annual fee paid to national office [announced via postgrant information from national office to epo]

Ref country code: FR

Payment date: 19930120

Year of fee payment: 9

PGFP Annual fee paid to national office [announced via postgrant information from national office to epo]

Ref country code: DE

Payment date: 19930322

Year of fee payment: 9

PG25 Lapsed in a contracting state [announced via postgrant information from national office to epo]

Ref country code: GB

Effective date: 19940206

GBPC Gb: european patent ceased through non-payment of renewal fee

Effective date: 19940206

PG25 Lapsed in a contracting state [announced via postgrant information from national office to epo]

Ref country code: FR

Effective date: 19941031

PG25 Lapsed in a contracting state [announced via postgrant information from national office to epo]

Ref country code: DE

Effective date: 19941101

REG Reference to a national code

Ref country code: FR

Ref legal event code: ST