EP0004012A2 - Türverriegelungsvorrichtung für elektrische Geräte - Google Patents

Türverriegelungsvorrichtung für elektrische Geräte Download PDF

Info

Publication number
EP0004012A2
EP0004012A2 EP79100562A EP79100562A EP0004012A2 EP 0004012 A2 EP0004012 A2 EP 0004012A2 EP 79100562 A EP79100562 A EP 79100562A EP 79100562 A EP79100562 A EP 79100562A EP 0004012 A2 EP0004012 A2 EP 0004012A2
Authority
EP
European Patent Office
Prior art keywords
locking
housing
lock plate
switch
door
Prior art date
Legal status (The legal status is an assumption and is not a legal conclusion. Google has not performed a legal analysis and makes no representation as to the accuracy of the status listed.)
Granted
Application number
EP79100562A
Other languages
English (en)
French (fr)
Other versions
EP0004012A3 (en
EP0004012B1 (de
Inventor
Fritz Krasser
Oswald Onderka
Current Assignee (The listed assignees may be inaccurate. Google has not performed a legal analysis and makes no representation or warranty as to the accuracy of the list.)
ETA ELTECH APP
Ellenberger and Poensgen GmbH
E-T-A Elektrotechnische Apparate GmbH
Original Assignee
ETA ELTECH APP
Ellenberger and Poensgen GmbH
E-T-A Elektrotechnische Apparate GmbH
Priority date (The priority date is an assumption and is not a legal conclusion. Google has not performed a legal analysis and makes no representation as to the accuracy of the date listed.)
Filing date
Publication date
Application filed by ETA ELTECH APP, Ellenberger and Poensgen GmbH, E-T-A Elektrotechnische Apparate GmbH filed Critical ETA ELTECH APP
Publication of EP0004012A2 publication Critical patent/EP0004012A2/de
Publication of EP0004012A3 publication Critical patent/EP0004012A3/xx
Application granted granted Critical
Publication of EP0004012B1 publication Critical patent/EP0004012B1/de
Expired legal-status Critical Current

Links

Images

Classifications

    • DTEXTILES; PAPER
    • D06TREATMENT OF TEXTILES OR THE LIKE; LAUNDERING; FLEXIBLE MATERIALS NOT OTHERWISE PROVIDED FOR
    • D06FLAUNDERING, DRYING, IRONING, PRESSING OR FOLDING TEXTILE ARTICLES
    • D06F37/00Details specific to washing machines covered by groups D06F21/00 - D06F25/00
    • D06F37/42Safety arrangements, e.g. for stopping rotation of the receptacle upon opening of the casing door

Definitions

  • the invention relates to a door locking device of the type characterized in the preamble of claim 1.
  • Such door locking devices serve to prevent the risk of injury by blocking the device access during device operation.
  • the door lock hook engages to hold the door in the closed position behind the edge of a window-like recess which is introduced into a lateral arm of the cover plate of the housing of the locking device.
  • the door lock hook When the door lock hook is inserted into the window-like recess, it is immersed in a window-like recess of the lock plate which is covered by the cover plate recess and which is mounted within the cover plate of the housing at right angles to the immersion direction of the door lock hook, namely in the rear grip direction of the door lock hook.
  • the lock plate is displaced within its guide.
  • the lock plate is provided with a further passage recess which, in the shifting end position of the lock plate, which corresponds to the closed position of the door lock hook, is in overlap with a locking slide which is displaceably mounted within the housing.
  • the locking slide is placed on the end of a contact spring of a switch for a device circuit, which bends against a housing-fixed mating contact due to the deflection of a bimetal and at the same time causes the locking slide to move.
  • the locking slide dips into the recess in the lock plate which overlaps with it and blocks its return movement into the overlapping position with the recess in the extension arm of the cover plate of the housing.
  • the recess in the lock plate intended for receiving the door lock hook takes up a position in this locking position, which makes it impossible for the lock hook to escape from its rear engagement position behind the edge of the recess in the arm of the housing cover. The door cannot be opened when the lock plate is locked.
  • the heating of the metal strip of the locking device must be switched on after the completion of the closing path of the door lock hook by a separate switch.
  • the bending out of the bimetallic strip then leads synchronously to the switching on of a device circuit and to the blocking of the mobility of the lock plate in the door lock hook holding position of displacement.
  • the separate switch for the bimetal heating must also be installed on the device frame and adjusted in relation to the lock plate.
  • this door locking device requires that it be adapted to the installation conditions on the respective machine.
  • the invention is based on the object to provide a door locking device of the type mentioned, which contains all the parts necessary for their function and which is adapted to individual installation conditions on different machines. This object is achieved by the characterizing part of claim 1.
  • the housing containing all the functional parts of the locking device can simply be riveted to a frame built according to individual requirements, the adaptation to the individual requirements of the machine being possible solely by choosing a lock plate which has been modified with regard to its design, without this having to be done when the locking device is being assembled requires other individual consideration.
  • the housing which contains the drive and locking parts, is a uniformly designed part that can be mass-produced and delivered to the device manufacturer.
  • a lock plate selected in accordance with the individual device requirements, for example rivets the housing to the device frame in this position.
  • Adapting the shape the lock plate to the individual requirements of the electrical device presents no difficulties, because the lock plate can be produced as a simple stamped part from a sheet metal.
  • the characteristics of claim 2 ensure that the lock plate is properly guided without requiring special training of the device frame.
  • the characterizing part of claim 3 enables a particularly flat construction of the device perpendicular to the lock plate. As a result, the device can also be used advantageously in confined spaces.
  • the locking projections are arranged in all displacement positions of the locking slide in the overlap area of the lock plate. They do not protrude laterally beyond the lock plate, which also serves to economize on space.
  • the projection projections of the locking slide possibly intercept directly at right angles to the direction of displacement of the lock plate on these displacement pressures caused by the guide projections. Tilting of the lock plate due to its locking gelung on the part of the locking slide within their leadership is therefore not possible.
  • the guide projections additionally fix the distance between the lock plate-side housing wall and the device frame and also provide guidance of the lock plate between these parts.
  • the characterizing part of claim 8 ensures a space-saving arrangement of the locking slide within the housing. Due to the further feature of claim 9, the lock plate is locked in a known manner in the optimal vicinity of the door lock hook, so that the lock plate can be made relatively short in this direction.
  • the locking slide is characterized by an easy to manufacture and space-saving in the longitudinal direction of the lock plate design.
  • the characterizing part of claim 17 enables a particularly space-saving construction of the device housing. Its maximum width only needs to be slightly larger than that of the lock plate in order to allow lateral guidance.
  • the characteristic of claim 18 guarantees a spatial, rollover-proof separation of the essential individual parts of the control drive for the locking slide.
  • the characterizing part of claim 19 favors the flat, space-saving design of the housing already sought by the feature of claim 17.
  • the characterizing part of claim 20 enables a cost-saving production of the device.
  • the features according to at least one of claims 21 to 23 make it possible, without changing the individual parts of the device by simply arranging the door lock switch within its recess, to make the device usable for door locks in accordance with the invention in which the door lock hook is in the housing is turned away into its closed end position in such a way that not - as is generally the case - the lock plate with the transfer of the lock hook into its closed end position in the direction of the housing but in the direction of Housing is moved away while maintaining the longitudinal axis of the sliding movement.
  • the door locking device according to the invention can be adapted even better to individual conditions on the electrical device.
  • the characterizing part of claim 24 also serves to ensure a space-saving design of the device according to the invention.
  • the electrical connections of the device can be connected with a handle.
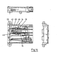
  • the lock hook 1 of the T is not shown in detail, is at the closing of the door for transferring in its closed position along the direction indicated by an arrow trajectory 2 in shown in Fig 4 ÜR - transferred shown closed end -.
  • Upper panel of the lock hook 1. Here, it dips into a window-like opening 3 of the frame 4, which is part of the electrical device, for example part of a washing machine frame.
  • the lock hook 1 engages with its locking projection 5 on a side edge of the window-like opening 3 in the frame 4. Thereafter, it is no longer possible to move the lock hook 1 in its longitudinal direction 6 from the closed end position to move.
  • the lock plate 8 is used. It also serves for the purpose outside the operation or the ready position of the electrical device to release the opening and closing movement of the lock hook 1, so that it can be operated solely by the (not shown) door handle of the door. Outside the operating position or the ready position of the electrical device, the lock plate 8 is therefore ineffective with respect to the lock hook 1.
  • the lock plate 8 is mounted in the direction of displacement 7 parallel to the frame 4 on its - with reference to FIGS. 2, 4, 6 and 8 - rear engaging side. It lies on the surface of the frame 4, which - just like the lock plate as a whole - is flat in this area in order to make it possible to provide a leading support for the lock plate 8.
  • the lock plate 8 is also provided in the area of the opening 3 in the frame 4 with a window-like passage opening 9. With regard to its size, the opening 9 of the lock plate 8 corresponds to the opening 3 in the frame 4. In a sliding end position of the lock plate 8, its opening 9 overlaps with the window-like opening 3 of the frame 4.
  • the openings 3 point in the direction of projection of the locking projection 5 of the lock hook 1 , 9 of the frame 4 or the lock plate 8 have a clear cross-sectional width 10, which corresponds approximately to the length 11 of the head of the lock hook 1 measured in this direction in the region of the locking projection 5.
  • the lock hook 1 with its head can freely penetrate through the opening 3 of the frame 4 and into the opening 9 of the lock plate 8.
  • the lock hook 1 is enclosed with its head in the direction of displacement 7 relative to the lock plate 8 essentially immovably.
  • the side walls 12, 13 opposing the direction of displacement 7 are formed by bending the sheet metal blank of the lock plate 8. These upward bends can be carried out without difficulty when punching out the opening 9.
  • the lock plate 8 Due to the transfer of the lock hook 1 into the closed end position shown in FIG. 4 caused by the door handle (not shown), the lock plate 8 is shifted to the right in the displacement direction 7 with reference to FIG. 4. The locking of the lock plate 8 in this displacement end position causes the lock hook 1 to lock, with the result that it cannot be moved in the shifting direction 7 with respect to FIG. 4 to the left for the duration of the lock, that is to say the door cannot be opened.
  • the actual locking device 14 is used to lock the lock plate 8 in the closed end position.
  • the locking drive In addition to the locking drive, it contains a door lock switch 15 which triggers this, depending on the closing movement of the lock hook 1 and thus the displacement movement of the lock plate 8, which actuates the lock plate 8 triggers, and a door lock switch 16, which is only triggered when the locking end position of the locking slide 17 is reached and produces the operational readiness of the electrical device or - depending on its circuit - carries out its activation.
  • the switch-on takes place only at the moment when the locking of the lock plate 8 is ensured in the closed position of the lock hook 1. This is based on the design of the locking switch as a so-called snap switch, which will be described in detail later.
  • the locking slide 17 of the locking device 14 is parallel to the plane of the lock plate 8, perpendicular to the direction of displacement 7, ie in the direction of arrow 18 within the device housing 19 stored in cash. With two locking projections 20, it penetrates the lock plate-side base 21 of the housing 14 in two through grooves 22 one behind the other in the direction of the arrow 18 and thus in the direction of displacement 7 of the lock plate 8 is particularly space-saving.
  • the two locking projections 20 each protrude into a window-like recess 23 in the lock plate 8.
  • the length of the recesses 23 in the direction of displacement 7 of the lock plate 8 corresponds to at least that of a displacement stroke of the lock plate 8 plus the width of a locking projection 20.
  • the recesses 23 are arranged relative to the locking projections 20 of the locking slide 17 such that in the open position of the locking slide 17, the locking projections 20 of the sliding movement the lock plate 8 do not hinder between their two displacement end positions. This position is shown in Fig. 1.
  • Running in the locking direction of the locking projections 20 of the locking slide 17 and in the closed end position of the lock plate 8 with the locking projections 20 overlapping are the side boundary edges of the recesses 23 in the form of one opposite the locking direction of the locking slide 17 Lock groove 24 enlarged.
  • the locking grooves 24 have approximately the cross-sectional shape of the locking projections 20 of the locking slide 17. If the lock plate 8 is in the closed end position and the locking slide 17 is moved into its locking position, the locking projections 20 dip into the locking grooves 24 of the recesses 23 and prevent any displacement of the lock plate 8 in the displacement direction 7 (FIG. 3) in this position. In the open position corresponding to the retracted position (FIG. 1) of the locking projections 20, however, the lock plate 8 can move freely in the direction of displacement 7. In the two displacement end positions, the locking projections 20 each lie on one of the side edges lying in the displacement direction 7 . Recesses 23 on.
  • the projection 25 extends through the bottom 21 of the device housing 19 in an elongated hole 27 extending in the direction of displacement 7.
  • the projection 25 engages in a window-like passage recess 28 of the lock plate 8 with a play seat.
  • the lock plate 8 is between the outer surface of the bottom 21 and the surface of the device frame 4 as between two over the outer surface of the bottom 21 from the housing in the direction of the device frame 4 projecting guide projections 29 of the housing 19. It rests with its two side edges 30 running parallel to one another in the direction of displacement 7 on the inner sides 31 of the guide projections 29, which also run parallel to one another.
  • the guide projections 29 lie in the longitudinal plane of the locking slide 17 with the same distance on both sides of the central longitudinal axis 32 of the locking device.
  • the guide projections 29 are designed as set-up feet opposite the device frame 4. They each have a passage opening 33 running approximately perpendicular to the bottom 21 for the passage of fastening rivets with which the housing 19 can be riveted to the device frame 4. Since the locking slide 17 runs directly next to the housing wall 34 on the lock hook side, the guide projections 29 and the set-up feet of the housing 19 also lie on the housing end assigned to the locking slide 17.
  • a third support projection 35 for supporting the housing 19 on the device frame 4 protrudes from the bottom 21 of the housing 19 outside the overlap region of the lock plate 8 in the region of the central longitudinal axis 32. This provides three-point support.
  • the support projection 35 is also provided with a recess 36 for engaging a fastening means to the device frame 4.
  • the embodiment of the door locking device according to FIGS. 5-8 differs from that according to FIG 1 - 4 by the exactly opposite course of the movement path 2 of the lock hook 1 and the exactly opposite orientation of the locking projection 5 of the lock hook 1 in the direction of displacement 7 of the lock plate 8.
  • 6 8 engages behind the locking projection 5 of the lock hook 1 the edge of the window-like frame opening 3 with reference to FIGS. 6 and 8 to the left and not - as in the embodiment according to FIGS. 2 and 4 - to the right.
  • the locking grooves 24 extending from the window-like recesses 23 in the lock plate 8 in the direction of displacement 18 of the locking slide 17 are not arranged in the lower left area with respect to FIGS.
  • the bimetal control, designated overall by 38, the door closing switch 15, the locking switch 16 which switches the device circuit and the slide switch 26 are in the housing 19 next to one another and with respect to their longitudinal extension or longest dimension essentially in the direction of displacement 7 of the lock plate 8, that is to say at right angles to the direction of displacement of the locking slide 17 , on the same Side next to the locking slide 17 arranged together with this in a plane parallel to the bottom 21.
  • Bimetal control 38, locking switch 16, door closing switch 15 and slide switch 26 are each accommodated in a separate recess in the housing 19, the partitions 39, 40, 41 of which each run parallel to one another.
  • the planes of movement of the bimetal control 38, the locking switch 16 and the door closing switch 15 also lie in a plane running parallel to the floor 21.
  • Locking and door closing switches 16 and 15 are known, preferably identically designed snap switches.
  • the movable contact bridge 42 and the snap actuating part 43 of these snap switches are each formed by a rigid, band-shaped, metallic component.
  • the contact bridge 42 and snap actuating part 43 are each stored in V-shaped notches in the two opposite side edges of a bearing 44.
  • the bearings 44 are integrally formed on the inner ends of the electrical connections 45.
  • the bearings 44 are formed by a U-shaped bending of lateral projections of the connections 45 which run perpendicular to the plane of the drawing in FIG. 9.
  • the movable contact bridge 42 and the snap actuating part 43 of the two closing switches 15 and locking switches 16 forming snap switches are directly connected to each other by a tension spring 46.
  • the tension spring pulls the movable contact bridge 42 and the snap-actuator 43 each s with its bearing side edges in the V-conveyor mi g notches of the bearing 44 into it.
  • the pan away from both the snap actuation part 41 and the movable contact bridge 42 is delimited on both sides of the dead center by corresponding housing stops or by the fixed contacts 47 cooperating with the contact bridges 42.
  • the bimetal control 38 is installed in the lower housing recess.
  • a leaf spring 49 is fastened, which projects with its free end into a passage slot 50 of the locking slide 17 approximately in a form-fitting manner.
  • the unexcited bimetal 51 counteracts the pretension of the leaf spring 49, so that the starting position shown in FIG. 9 is adopted.
  • the heating coil 52 is wound around the bimetal 51.
  • a wire end 53 of the winding is connected to the terminal 45 of the door closing switch 15.
  • the other wire end 54 is connected directly to the free end of the bimetal 51.
  • the bimetal 51 is firmly riveted into the housing 19 with the crimp sleeve 55.
  • An adjusting screw 56 protrudes through the crimping sleeve, the conical end of which can be used to adjust the pretension of the bimetal via the nose 57 striving at approximately right angles from the bimetal 51.
  • a series resistor 58 or a diode is located between bimetal 51 and terminal 48. In the rest position, the series resistor is short-circuited by the contact point formed between the bimetal 51 and the leaf spring 49.
  • the heating winding 52 is directly connected to this voltage.
  • the bimetal 51 is heated and moves upwards (FIG. 13). With this movement, the leaf spring 49 becomes effective and moves the locking slide 17 into its locking position shown in FIG. 13.
  • the contact point 59 existing between the bimetal 51 and the leaf spring 49 is opened in the locking end position of the locking slide 17.
  • the series resistor 58 is connected in series with the heating winding 52. With a constant voltage source, a smaller current now flows.
  • the bimetal 51 is only heated to the extent that the position according to FIG. 13 is maintained.
  • the slide switch 26 is provided with a recess 60 which penetrates it in the direction of displacement 18 of the locking slide 17 in a window-like manner.
  • the side wall facing the door closing switch 15 of the housing recess receiving the slide switch 26 is provided in the movement area of the slide switch recess 60 with an opening 61 for the passage of a driver 62, which is firmly connected to the snap actuating part 43 of the door closing switch 15 and serves for its movement.
  • the driver 62 is bent in an S-shape and projects with its free S-leg into the passage recess 60 of the slide switch 26.
  • the end faces of the partition walls 39, 40, 41 of the housing recesses facing the locking slide 17 for receiving the two switches 15, 16 are designed as guide parts for the locking slide 16.
  • All connections 45, 48 and fixed contacts 47 of the bimetallic control 38, the locking switch 16 and the door closing switch 15 are passed through the side wall of the housing 19 opposite the locking slide 17 in the direction of displacement 7 of the lock plate 8.
  • the housing 19 can be closed by a cover 64 on its side opposite the base 21.
  • the embodiment of the locking device 14 according to FIGS. 14-16 differs from the embodiment according to FIGS. 9-13 only in that the contacts of the door closing switch 15 in a 180 ° around the central longitudinal axis 65 of the housing recess 66 for receiving the door closing switch 15 pivoted position are arranged in the plane of movement of the door closing switch 15 running parallel to the floor 21. Furthermore, the driver 62 is fastened on the inside of the bearing 44 to the snap actuating part 43 of the door closing switch 15. It extends with its free S-leg in the same way as in the embodiment according to FIGS. 9-13 into the recess 60 of the slide switch 26 mounted in the same way as in the embodiment according to FIGS. 9-13. Only the return spring 63 acting on the slide switch 26 is located on the other end face of the slide switch 26, in order to counteract the displacement of the slide switch 26 when the lock plate 8 is transferred from its open to the closed position.
  • the locking device works as follows:
  • the bimetal swings out in the direction of the arrow 67 (FIGS. 13, 16).
  • the leaf spring 49 pivots in the manner described in detail above under the pressure of its bias also in the direction of arrow 67 and thereby moves the locking slide 17 into its locking end position in which its locking projections 20 engage in the locking grooves 24 of the recesses 23 in the lock plate 8 .
  • the snap actuating part 43 of the locking switch 16 is transferred into its other snap end position, whereby the movable contact bridge 42 of the locking switch 16 is taken along and brought into contact with the fixed contact 47 assigned to it.
  • the circuit of the locking switch 16 is thus closed.
  • the electrical device is switched on or is now in the ready-to-switch-on position after the locking of the lock hook 1 in its closed end position is ensured.
  • the return spring acting on the slide switch 26 in the direction of its initial position serves to facilitate assembly so that the projection 25 always assumes the position corresponding to the open position of the device.

Landscapes

  • Engineering & Computer Science (AREA)
  • Textile Engineering (AREA)
  • Casings For Electric Apparatus (AREA)

Abstract

Die bei Betrieb eines elektrischen Gerätes selbsttätig sperrende Turverriegelung enthalt einen Verriegelungsschieber (17), der in den Verschiebeweg der Schloßplatte (8) des Türschiosses einführbar ist und gleichzeitig den Stromkreis zum Betrieb des elektrischen Gerätes schließt Die hierzu erforderliche Bimetallsteuerung (38), der Verriegelungsschieber (17) und Verriegeiungsschalter (16) sind in einem gemeinsamen Gehäuse (19) untergebracht Um eine Verwendbarkeit der Verriegelungsvorrichtung in gleicher Weise an unterschiedlich ausgebildeten elektrischen Geräten zu ermöglichen, ist auch der zur Steuerung der Verriegelungsbewegung des Verriegelungsschiebers (17) erforderliche Türschließschalter (15) im Gehäuse (19) untergebracht Aus dem Gehäuseboden (21) stehen der Verriegelungsschieber (17) und das Betatigungateil (26) des Türschließschalters (15) nach außen in Richtung auf die Schloßplatte (8) vor. Die Schloßplatte (8) ist vollständig auf der Außenseite des Gehäusebodens (21) angeordnet, so daß die Verriegelungsvorrichtung fertigmontiert auf gegebenenfalls unterschiedlich ausgebildete Schloßplatten (8) und gemeinsam mit einer solchen auf den Geräterahmen (4) aufsetzbar ist

Description

  • Die Erfindung betrifft eine Türverriegelungsvorrichtung der im Oberbegriff des Anspruches 1 gekennzeichneten Art. Derartige Türverriegelungsvorrichtungen dienen zur Verhinderung von Verletzungsgefahren durch Sperren des Gerätezuganges beim Gerätebetrieb.
  • Bei einer bekannten Türverriegelungsvorrichtung dieser Art (DE-OS 27 08 086) greift der Türschloßhaken zur Haltung der Tür in Schließstellung hinter den Rand einer fensterartigen Ausnehmung, die in einen seitlichen Ausleger der Abdeckplatte des Gehäuses der Verriegelungsvorrichtung eingebracht ist. Beim Einführen des Türschloßhakens in die fensterartige Ausnehmung taucht er in eine mit der Abdeckplattenausnehmung in überdeckung stehende fensterartige Ausnehmung der Schloßplatte ein, die rechtwinklig zur Eintauchrichtung des Türschloßhakens und zwar in Hintergreifrichtung des Türschloßhakens verschiebbar innerhalb der Abdeckplatte des Gehäuses gelagert ist. Beim Hintergreifen des Türschloßhakens hinter den inneren Rand der Ausnehmung in dem Ausleger der Abdeckplatte des Gehäuses wird die Schloßplatte innerhalb ihrer Führung verschoben. Die Schloßplatte ist mit einer weiteren Durchtrittsausnehmung versehen, die in Verschiebeendstellung der Schloßplatte, die der Schließstellung des Türschloßhakens entspricht, in überdeckung mit einem innerhalb des Gehäuses verschiebbar gelagerten Sperrschiebers steht. Der Sperrschieber ist auf das Ende einer Kontaktfeder eines Schalters für einen Gerätestromkreis aufgesetzt, die sich durch die Ausbiegung eines Bimetalls gegen einen gehäusefesten Gegenkontakt legt und dabei gleichzeitig die Verschiebung des Sperrschiebers bewirkt. Dabei taucht der Sperrschieber in die mit ihm in überdeckung stehende Ausnehmung in der Schloßplatte ein und sperrt deren Rückbewegung in die überdeckungsstellung mit der Ausnehmung im Ausleger der Abdeckplatte des Gehäuses. Die zur Aufnahme des Türschloßhakens bestimmte Ausnehmung in der Schloßplatte nimmt in dieser Verriegelungsstellung eine Lage-ein, die es dem Schloßhaken unmöglich macht, aus seiner Hintergreifstellung hinter dem Rand der Ausnehmung im Ausleger der Gehäuseabdeckung zu entweichen. Die Tür ist also bei verriegelter Schloßplatte nicht zu öffnen.
  • Bei dieser Türverriegelungsvorrichtung muß nach der Beendigung des Schließweges des Türschloßhakens durch einen gesonderten Schalter die Heizung des Bemetallstreifens der Verriegelungsvorrichtung eingeschaltet werden. Das Ausbiegen des Bimetallstreifens führt dann synchron zur Einschaltung eines Gerätestromkreises und zur Sperrung der Beweglichkeit der Schloßplatte in den Türschloßhaken festhaltender Verschiebeendstellung.
  • Der gesonderte Schalter für die Bimetallheizung muß zusätzlich an dem Geräterahmen installiert und gegenüber der Schloßplatte einjustiert werden. Darüber hinaus erfordert diese Türverriegelungsvorrichtung, daß ihr die Einbauverhältnisse an der jeweiligen Maschine angepaßt werden.
  • Der Erfindung liegt demgegenüber die Aufgabe zugrunde, eine Türverriegelungsvorrichtung der eingangs genannten Art zu schaffen, die sämtliche für ihre Funktion notwendigen Teile enthält und die von Hause aus individuellen Einbauverhältnissen an unterschiedlichen Maschinen angepaßt ist. Diese Aufgabe wird durch das Kennzeichen des Anspruches 1 gelöst.
  • Durch die Lösung ist das sämtliche Funktionsteile der Verriegelungsvorrichtung enthaltende Gehäuse einfach auf einen nach individuellen Erfordernissen gebauten Rahmen aufnietbar, wobei die Anpassung an die individuellen Erfordernisse der Maschine allein durch Wahl einer hinsichtlich ihrer Ausgestaltung geänderten Schloßplatte möglich ist, ohne daß dies bei der Fertigmontage der Verriegelungsvorrichtung eine sonstige individuelle Berücksichtigung erfordert. Das die Antriebs- und Verriegelungsteile komplett enthaltende Gehäuse ist ein einheitlich gestaltetes Teil, welches in Serienfertigung hergestellt und an den Gerätehersteller ausgeliefert werden kann. Bei der Montage seines Gerätes setzt dieser das fertigmontierte Gehäuse lediglich auf eine entsprechend den individuellen Geräteerfordernissen ausgewählte Schloßplatte auf und befestigt, z.B. vernietet in derart aufgesetzter Stellung das Gehäuse mit dem Geräterahmen. Die Anpassung der Form der Schloßplatte an die individuellen Erfordernisse des elektrischen Gerätes bereitet keine Schwierigkeiten, weil die Schloßplatte als einfaches Stanzteil aus einem Blech herstellbar ist.
  • Durch das Kennzeichen des Anspruches 2 ist eine einwandfreie Führung der Schloßplatte gewährleistet, ohne daß es hierzu einer besonderen Ausbildung des Geräterahmens bedarf.
  • Das Kennzeichen des Anspruches 3 ermöglicht eine besonders flache Bauweise der Vorrichtung lotrecht zur Schloßplatte. Dadurch ist die Vorrichtung auch bei beengten Raumverhältnissen vorteilhaft einsetzbar.
  • Durch das Kennzeichen des Anspruches 4 sind die Verriegelungsvorsprünge in allen Verschiebestellungen des Verriegelungsschiebers im überdeckungsbereich der Schloßplatte angeordnet. Sie stehen nicht seitlich über die Schloßplatte hinaus, was ebenfalls der Raumökonomie dient.
  • Durch das Kennzeichen des Anspruches 4 brauchen bei der Fertigung des bzw. der Verriegelungsvorsprünge des Verriegelungsschiebers keine engen Toleranzen in der Richtung lotrecht zur Ebene der Schloßplatte eingehalten zu werden.
  • Nach dem Kennzeichen des Anspruches 6 werden durch den Vorsprung des Verriegelungsschiebers möglicherweise rechtwinklig zur Verschieberichtung der Schloßplatte auf diese einwirkende Versetzungsdrücke unmittelbar durch die Führungsvorsprünge abgefangen. Ein Verkanten der Schloßplatte durch deren Verriegelung seitens des Verriegelungsschiebers innerhalb ihrer Führung ist daher nicht möglich.
  • Durch das Kennzeichen des Anspruches 7 fixieren die Führungsvorsprünge zusätzlich den Abstand zwischen der schloßplattenseitigen Gehäusewand und dem Geräterahmen und schaffen auch zwischen diesen Teilen eine Führung der Schloßplatte.
  • Durch das Kennzeichen des Anspruches 8 ist eine raumsparende Anordnung des Verriegelungsschiebers innerhalb des Gehäuses gewährleistet. Durch das weitere Merkmal des Anspruches 9 erfolgt die Verriegelung der Schloßplatte in an sich bekannter Weise in optimaler Nähe des Türschloßhakens, so daß die Schloßplatte in dieser Richtung verhältnismäßig kurz ausgebildet werden kann.
  • Durch das Kennzeichen des Anspruches 10 - gegebenenfalls gemeinsam mit dem der Ansprüche 11 und/ oder 12 - ist in einfacher Weise eine statisch bestimmte Festlegung des Gehäuses am Geräterahmen in einfacher Weise möglich. Da der dritte Auflagevorsprung eine den Führungsvorsprüngen entsprechende überstehhöhe über die schloßplattenseitige Gehäusewand aufweist, ist zwischen der Gehäusewand und dem gegenüberliegenden Geräterahmen eine lange Führung für die Schloßplatte möglich.
  • Durch das Merkmal des Anspruches 13 zeichnet sich der Verriegelungsschieber durch eine einfach herstellbare und in Verschiebelängsrichtung der Schloßplatte raumsparende Ausgestaltung aus.
  • Durch das Kennzeichen des Anspruches 14 ist eine einfache Betätigung des innerhalb des Gehäuses liegenden Türschließschalters durch die Verschiebebewegung der Schloßplatte möglich.
  • Das Kennzeichen des Anspruches 17 ermöglicht eine besonders raumsparende Konstruktion des Vorrichtungsgehäuses. Dessen maximale Breite braucht nur geringfügig größer als die der Schloßplatte zu sein, um die seitliche Führung zu ermöglichen.
  • Das Kennzeichen des Anspruches.18 gewährleistet eine räumliche, überschlagsichere Trennung der wesentlichen Einzelteile des Steuerantriebes für den Verriegelungsschieber. Das Kennzeichen des Anspruches 19 begünstigt die bereits durch das Merkmal des Anspruches 17 angestrebte flache, raumsparende Bauweise des Gehäuses.
  • Das Kennzeichen des Anspruches 20 ermöglicht eine kostensparende Herstellung der Vorrichtung. Die Merkmale nach mindestens einem der Ansprüche 21 bis 23 ermöglichen es, ohne Änderung der Einzelteile der Vorrichtung durch lediglich eine umgestellte Anordnung des Türschließschalters innerhalb seiner Ausnehmung die Vorrichtung auch für solche Türverriegelungen in erfindungsgemäßer Weise einsetzbar zu machen, bei denen der Türschloßhaken in von dem Gehäuse weggewandter Richtung in seine Schließendstellung überführt wird derart, daß nicht - wie allgemein üblich - die Schloßplatte mit der überführung des Schloßhakens in seine Schließendstellung in Richtung auf das Gehäuse sondern in Richtung vom Gehäuse weg unter Beibehaltung der Längsachse der Verschiebebewegung verschoben wird. Dadurch ist die erfindungsgemäße Türverriegelungsvorrichtung noch besser individuellen Verhältnissen am elektrischen Gerät anpaßbar.
  • Auch das Kennzeichen des Anspruches 24 dient der Gewährleistung einer raumsparenden Bauweise der erfindungsgemäßen Vorrichtung. Durch das Kennzeichen des Anspruches 25 lassen sich die elektrischen Anschlüsse der Vorrichtung mit einem Griff anschließen.
  • Der Gegenstand der Erfindung wird anhand von in den Figuren dargestellten Ausführungsbeispielen näher erläutert. Es zeigen:
    • Fig. 1 eine Draufsicht auf die schloßplattenseitige Oberfläche der Türverriegelungsvorrichtung in Offenstellung,
    • Fig. 2 eine Seitenansicht entsprechend Pfeil II in Fig. 1,
    • Fig. 3 eine Draufsicht analog Fig. 1 in Verriegelungsendstellung,
    • Fig. 4 eine Seitenansicht entsprechend Pfeil IV in Fig. 3,
    • Fig. 5 eine Draufsicht analog Fig. 1 in Offenstellung auf eine Vorrichtung, bei welcher durch den Schließvorgang des Türhakens die Schloßplatte in vom Vorrichtungsgehäuse weggewandter Richtung verschoben wird,
    • Fig. 6 eine Seitenansicht entsprechend Pfeil VI in Fig. 5,
    • Fig. 7 eine Draufsicht analog Fig. 5 in Verriegelungsendstellung der Schloßplatte,
    • Fig. 8 eine Seitenansicht entsprechend Pfeil VIII in Fig. 6,
    • Fig. 9 eine Draufsicht auf die geöffnete Rückseite des Gehäuses gemäß Fig. 1 in Offenstellung des Verriegelungsschiebers, wobei das Vorrichtungsgehäuse für die in Fig. 1 - 4 dargestellte Wirkungsweise der Schloßplatte bestimmt ist,
    • Fig. 10 eine Seitenansicht entsprechend Pfeil X in Fig. 9,
    • Fig. 11 eine Flankenansicht entsprechend Pfeil XI in Fig. 9,
    • Fig. 12 eine Ansicht analog Fig. 9 bei geschlossenem Schloßhaken der Tür, jedoch in unerregter Stellung des Bimetallstreifens,
    • Fig. 13 eine Ansicht des Vorrichtungsgehäuses in Offenstellung der Schloßplatte analog Fig. 9, jedoch bei einer Fig. 5 - 8 entsprechenden, umgekehrten Wirkungsrichtung der Schloßplatte,
    • Fig. 14 eine Draufsicht analog Fig. 9 auf eine modifizierte Ausführungsform für eine umgekehrte Wirkrichtung der Schloßplatte,
    • Fig. 15 eine Darstellung analog Fig. 14, jedoch bei geschlossener Tür und unerregtem Bimetallstreifen, die der Darstellung in Fig. 12, jedoch bei umgekehrter Wirkrichtung der Schloßplatte entspricht,
    • Fig. 16 eine Darstellung analog Fig. 14 und 15 bei geschlossener Tür in erregter Stellung des Bimetallstreifens, wie diese Fig. 13 entspricht, jedoch bei umgekehrter Wirkrichtung der Schloßplatte.
  • Der Schloßhaken 1 der nicht näher dargestellten Tür wird bei Schließung der Tür zur überführung in seine Schließstellung entlang der durch einen Pfeil gekennzeichneten Bewegungsbahn 2 in die in Fig. 4 - obere Darstellung des Schloßhakens 1 - dargestellte Schließendstellung überführt. Hierbei taucht.er in eine fensterartige Öffnung 3 des Rahmens 4 ein, welcher Teil des elektrischen Gerätes, z.B. Teil eines Waschmaschinenrahmens ist. In der in Fig. 4 - obere Darstellung des Schloßhakens 1 - dargestellten Schließendstellung hintergreift der Schloßhaken 1 mit seinem Schließvorsprung 5 eine Seitenkante der fensterartigen öffnung 3 im Rahmen 4. Danach ist es nicht mehr möglich, den Schloßhaken 1 in seiner Längsrichtung 6 aus der Schließendstellung zu bewegen. Dies wäre nur möglich, wenn vorher der Schloßhaken 1 mit seinem Schließvorsprung 5 in zur Ober-fläche des Rahmens 4 paralleler Richtung 7 aus seiner Hintergreifstellung gegenüber der fensterartigen Öffnung herausbewegt würde. Zur Verhinderung der Bewegung des Schloßhakens 1 aus seiner in Fig. 4 dargestellten Schließstellung in die Öffnungsstellung - überdeckungsstellung gegenüber der Öffnung 3 - während des Betriebes bzw. der Betriebsbereitschaftsstellung dient die Schloßplatte 8. Sie dient weiter dazu, außerhalb des Betriebes bzw. der Betriebsbereitschaftsstellung des elektrischen Gerätes die öffnungs- und Schließbewegung des Schloßhakens 1 freizugeben, so daß er allein durch den (nicht dargestellten) Türgriff der Tür zu betätigen ist. Außerhalb der Betriebsstellung bzw. der Betriebsbereitschaftsstellung des elektrischen Gerätes ist somit die Schloßplatte 8 gegenüber dem Schloßhaken 1 wirkungslos.
  • Die Schloßplatte 8 ist in Verschieberichtung 7 parallel zum Rahmen 4 auf dessen - mit Bezug auf Fig. 2, 4,6 und 8 oberer - Hintergreifseite verschiebbar gelagert. Sie liegt dabei auf der Oberfläche des Rahmens 4 auf, der - genauso wie die Schloßplatte insgesamt - in diesem Bereich zur einfachen Ermöglichung einer führenden Auflage der Schloßplatte 8 eben ausgebildet ist. Die Schloßplatte 8 ist im Bereich der öffnung 3 im Rahmen 4 ebenfalls mit einer fensterartigen Durchtrittsöffnung 9 versehen. Hinsichtlich ihrer Größe entspricht die öffnung 9 der Schloßplatte 8 der öffnung 3 im Rahmen 4. In einer Verschiebeendstellung der Schloßplatte 8 steht deren öffnung 9 in überdeckung mit der fensterartigen öffnung 3 des Rahmens 4. In Vorstehrichtung des Schließvorsprunges 5 des Schloßhakens 1 weisen die öffnungen 3,9 des Rahmens 4 bzw. der Schloßplatte 8 eine lichte Querschnittsweite 10 auf, die etwa der in dieser Richtung im Bereich des Schließvorsprunges 5 gemessenen Länge 11 des Kopfes des Schloßhakens 1 entspricht. Hierdurch kann der Schloßhaken 1 mit seinem Kopf unbehindert durch die öffnung 3 des Rahmens 4 hindurch und in die öffnung 9 der Schloßplatte 8 hineintauchen. Innerhalb der öffnung 9 ist der Schloßhaken 1 jedoch mit seinem Kopf in Verschieberichtung 7 relativ zur Schloßplatte 8 im wesentlichen unverschiebbar eingefaßt. Um die Einführung des Kopfes des Schloßhakens 1 in die öffnung 9 der Schloßplatte 8 zu erleichtern, ohne die Herstellung der Schloßplatte 8 dadurch zu verteuern, sind die der Verschieberichtung 7 entgegenstehenden Seitenwände 12,13 durch Hochbiegungen des Blechzuschnittes der Schloßplatte 8 gebildet. Diese Hochbiegungen können beim Ausstanzen der öffnung 9 ohne Schwierigkeiten durchgeführt werden.
  • Durch die vom nicht dargestellten Türgriff bewirkte überführung des Schloßhakens 1 in die aus Fig. 4 ersichtliche Schließendstellung wird die Schloßplatte 8 in Verschieberichtung 7 mit Bezug auf Fig. 4 nach rechts verschoben. Die Arretierung der Schloßplatte 8 in dieser Verschiebeendstellung bewirkt die Verriegelung des Schloßhakens 1 mit der Folge, daß dieser für die Dauer der Verriegelung nicht in Verschieberichtung 7 mit Bezug auf Fig. 4 nach links verschoben, also die Tür nicht geöffnet werden kann. Zur Verriegelung der Schloßplatte 8 in Schließendstellung dient das eigentliche Verriegelungsgerät 14. Es enthält neben dem Verriegelungsantrieb einen diesen auslösenden, in Abhängigkeit von der Schließbewegung des Schloßhakens 1 und damit der Verschiebebewegung der Schloßplatte 8 betätigten Türschließschalter 15, welcher den Antrieb für die Verriegelung der Schloßplatte 8 auslöst, und einen Türverriegelungsschalter 16, welcher erst mit Erreichung der Verriegelungsendstellung des Verriegelungsschieber 17 ausgelöst wird und die Betriebsbereitschaft des elektrischen Gerätes herstellt oder aber - je nach dessen Schaltung - dessen Einschaltung vornimmt. Die Einschaltung erfolgt also erst in dem Augenblick, in welchem die Verriegelung der Schloßplatte 8 in Schließstellung des Schloßhakens 1 sichergestellt ist. Dies beruht auf der später noch im einzelnen beschriebenen Ausbildung des Verriegelungsschalters als sogenannter Schnappschalter.
  • Der Verriegelungsschieber 17 des Verriegelungsgerätes 14 ist parallel zur Ebene der Schloßplatte 8, rechtwinklig zur Verschieberichtung 7, d.h. in Pfeilrichtung 18 innerhalb des Gerätegehäuses 19 verschiebbar gelagert. Er durchdringt mit zwei Verriegelungsvorsprüngen 20 den schloßplattenseitigen Boden 21 des Gehäuses 14 jeweils in zwei in Pfeilrichtung 18 hintereinanderliegenden Durchgangsnuten 22. Er ist gemeinsam mit seinen Verriegelungsvorsprüngen 20 durch ein einstückiges, plattenförmiges Stanzteil gebildet, dessen Mittelebene senkrecht zur Ebene der Schloßplatte 8 in Pfeilrichtung 18 verläuft und damit in Verschieberichtung 7 der Schloßplatte 8 besonders platzsparend ist.
  • Die beiden Verriegelungsvorsprünge 20 ragen in jeweils eine fensterartige Durchtrir-tsausnehmung 23 der Schloßplatte 8 hinein. Die Länge der Ausnehmungen 23 in Verschieberichtung 7 der Schloßplatte 8 entspricht mindestens der eines Verschiebehubes der Schloßplatte 8 zuzüglich Breite eines Verriegelungsvorsprunges 20. Die Ausnehmungen 23 sind so gegenüber den Verriegelungsvorsprüngen 20 des Verriegelungsschiebers 17 angeordnet, daß in Offenstellung des Verriegelungsschiebers 17 dessen Verriegelungsvorsprünge 20 die Verschiebebewegung der Schloßplatte 8 zwischen ihren beiden Verschiebeendstellungen nicht behindern. Diese Stellung ist in Fig. 1 dargestellt.
  • In Verriegelungsrichtung der Verriegelungsvorsprünge 20 des Verriegelungsschiebers 17 verlaufend und in Schließendstellung der Schloßplatte 8 mit den Verriegelungsvorsprüngen 20 in überdeckung stehend sind die der Verriegelungsrichtung des Verriegelungsschiebers 17 entgegenstehenden Seitenbegrenzungskanten der Ausnehmungen 23 in Form jeweils einer Sperrnut 24 vergrößert. Die Sperrnuten 24 weisen etwa die Querschnittsform der Verriegelungsvorsprünge 20 des Verriegelungsschieber 17 auf. Befindet sich die Schloßplatte 8 in Schließendstellung und wird der Verriegelungsschieber 17 in seine Verriegelungsstellung verschoben, so tauchen die Verriegelungsvorsprünge 20 in die Sperrnuten 24 der Ausnehmungen 23 ein und verhindern in dieser Stellung eine jegliche Verschiebung der Schloßplatte 8 in Verschieberichtung 7 (Fig. 3). In der Offenstellung entsprechend zurückgezogener Stellung (Fig. 1) der Verriegelungsvorsprünge 20 läßt sich indessen die Schloßplatte 8 in Verschieberichtung 7 frei bewegen. In den beiden Verschiebeendstellungen liegen jeweils die Verriegelungsvorsprünge 20 an einer der in Verschieberichtung 7 liegenden Seitenkanten der.Ausnehmungen 23 an.
  • Aus dem Boden 21 des Gerätegehäuses 19 steht weiterhin der Vorsprung 25 eines innerhalb des Gehäuses 19 in Verschieberichtung 7 verschiebbar gelagerten Schaltschiebers 26 vor. Der Vorsprung 25 durchgreift den Boden 21 des Gerätegehäuses 19 in einem in Verschieberichtung 7 verlaufenden Langloch 27. Der Vorsprung 25 greift in eine fensterartige Durchtrittsausnehmung 28 der Schloßplatte 8 mit Spielsitz ein. Bei einer Längsverschiebung der Schloßplatte 8 in Verschieberichtung 7 wird der Schaltschieber 26 über den Vorsprung 25 mitgenommen, so daß der Schaltschieber 26 eine hinsichtlich Größe und Richtung gleiche Bewegung wie die Schloßplatte 8 innerhalb des Gehäuses 19 vollzieht.
  • Die Schloßplatte 8 ist zwischen der Außenfläche des Bodens 21 und der Oberfläche des Geräterahmens 4 sowie zwischen zwei über die Außenfläche des Bodens 21 aus dem Gehäuse in Richtung auf den Geräterahmen 4 vorstehenden Führungsvorsprüngen 29 des Gehäuses 19 geführt. Sie liegt mit ihren beiden in Verschieberichtung 7 zueinander parallellaufenden Seitenkanten 30 an den ebenfalls zueinander parallellaufenden Innenseiten 31 der Führungsvorsprünge 29 an. Die Führungsvorsprünge 29 liegen in der Längsebene des Verriegelungsschiebers 17 mit gleichem Abstand beiderseits der Mittellängsachse 32 der Verriegelungsvorrichtung. Die Führungsvorsprünge 29 sind als Aufstellfüße gegenüber dem Geräterahmen 4 ausgebildet. Sie weisen je eine etwa senkrecht zum Boden 21 verlaufende Durchtrittsöffnung 33 für den Durchtritt von Befestigungsnieten auf, mit denen das Gehäuse 19 am Geräterahmen 4 festgenietet werden kann. Da der Verriegelungsschieber 17 unmittelbar neben der schloßhakenseitigen Gehäusewand 34 verläuft, liegen auch die Führungsvorsprünge 29 bzw. die Aufstellfüße des Gehäuses 19 an dem dem Verriegelungsschieber 17 zugeordneten Gehäuseende.
  • Aus dem Boden 21 des Gehäuses 19 steht außerhalb des überdeckungsbereiches der Schloßplatte 8 im Bereich der Mittellängsachse 32 ein dritter Auflagevorsprung 35 zur Abstützung des Gehäuses 19 am Geräterahmen 4 vor. Damit ist eine Dreipunktabstützung gegeben. Auch der Auflagevorsprung 35 ist mit einer Ausnehmung 36 zum Angriff eines Befestigungsmittels zum Geräterahmen 4 versehen.
  • Die Ausführungsform der Türverriegelungsvorrichtung gemäß Fig. 5 - 8 unterscheidet sich von der gemäß Fig. 1 - 4 durch den genau entgegengesetzten Verlauf der Bewegungsbahn 2 des Schloßhakens 1 und die genau entgegengesetzte Ausrichtung des Schließvorsprunges 5 des Schloßhakens 1 in Verschieberichtung 7 der Schloßplatte 8. In den aus Fig. 1,2 und 5,6 ersichtlichen öffnungsstellungen der Schloßplatte 8 hintergreift der Schließvorsprung 5 des Schloßhakens 1 den Rand der fensterartigen Rahmenöffnung 3 mit Bezug auf Fig. 6 und 8 nach links und nicht - wie bei der Ausführungsform gemäß Fig. 2 und 4 - nach rechts. Dementsprechend sind die von den fensterartigen Ausnehmungen 23 in der Schloßplatte 8 in Verschieberichtung 18 des Verriegelungsschiebers 17 weisend ausgehenden-Sperrnuten 24 nicht im mit Bezug auf Fig. 1 und 3 linken unteren sondern im rechten unteren Bereich der Ausnehmungen 23 angeordnet, um die Verriegelung der Schloßplatte 8 in der aus Fig. 8 ersichtlichen Schließendstellung des Schloßhakens 1 vornehmen zu können, d.h. in einer Stellung, in der die Verriegelungsvorsprünge 20 in überdeckung mit den Sperrnuten 24 der Ausnehmungen 23 stehen. Hinsichtlich weiterer Einzelheiten besteht auf der Außenseite des Gehäuses 19 kein ins Gewicht fallender Unterschied zwischen der Ausführungsform gemäß Fig. 1 - 4 und der gemäß Fig. 5 - 8.
  • Die insgesamt mit 38 bezeichnete Bimetallsteuerung, der Türschließschalter 15, der den Gerätestromkreis schaltende Verriegelungsschalter 16 und der Schaltschieber 26 sind im Gehäuse 19 nebeneinander und hinsichtlich ihrer Längserstreckung bzw. längsten Dimension im wesentlichen in Verschieberichtung 7 der Schloßplatte 8, d.h. rechtwinklig zur Verschieberichtung des Verriegelungsschiebers 17, auf derselben Seite neben dem Verriegelungsschieber 17 gemeinsam mit diesem in einer parallel zum Boden 21 liegenden Ebene angeordnet. Bimetallsteuerung 38, Verriegelungsschalter 16, Türschließschalter 15 und Schaltschieber 26 sind jeweils in einer gesonderten Ausnehmung des Gehäuses 19 untergebracht, deren Trennwände 39,40,41 jeweils parallel zueinander verlaufen. Auch die Bewegungsebenen von Bimetallsteuerung 38, Verriegelungsschalter 16 und Türschließschalter 15 liegen in einer parallel zum Boden 21 verlaufenden Ebene. Verriegelungs- und Türschließschalter 16 bzw. 15 sind an sich bekannte, vorzugsweise gleichgestaltete Schnappschalter. Die bewegliche Kontaktbrücke 42 und das Schnappbetätigungsteil 43 dieser Schnappschalter sind jeweils durch ein starres, bandförmiges, metallisches Bauteil gebildet. Die Lagerung von Kontaktbrücke 42 und Schnappbetätigungsteil 43 erfolgt jeweils in V-förmigen Kerben in den beiden, einander gegenüberliegenden Seitenkanten eines Lagers 44. Die Lager 44 sind fest an die inneren Enden der elektrischen Anschlüsse 45 angeformt. Insbesondere sind die Lager 44 durch ein U-förmiges Aufbiegen von seitlichen, lotrecht zur Zeichnungsebene von Fig. 9 verlaufenden Vorsprüngen der Anschlüsse 45 gebildet.
  • Die bewegliche Kontaktbrücke 42 und das Schnappbetätigungsteil 43 der beiden Schließschalter 15 und Verriegelungsschalter 16 bildenden Schnappschalter sind unmittelbar durch jeweils eine Zugfeder 46.miteinander verbunden. Die Zugfeder zieht die bewegliche Kontaktbrücke 42 und das Schnappbetätigungsteil 43 jeweils mit ihren lagerseitigen Kanten in die V-för- migen Einkerbungen des Lagers 44 hinein. Der Schwenkweg sowohl des Schnappbetätigungsteiles 41 als auch der beweglichen Kontaktbrücke 42 ist beiderseits des Bewegungstotpunktes durch entsprechende Gehäuseanschläge bzw. durch die mit den Kontaktbrücken 42 zusammenwirkenden Festkontakte 47 begrenzt.
  • Die Bimetallsteuerung 38 ist in die untere Gehäuseausnehmung eingebaut. Am Anschluß 48 ist eine Blattfeder 49 befestigt, die mit ihrem freien Ende in einen Durchtrittsschlitz 50 des Verriegelungsschiebers 17 etwa formschlüssig hineinragt. Das unerregte Bimetall 51 wirkt der Vorspannung der Blattfeder 49 entgegen, so daß die in Fig. 9 dargestellte Ausgangsstellung eingenommen wird. Um das Bimetall 51 ist die Heizwicklung 52 gewickelt. Ein Drahtende 53 der Wicklung ist mit dem Anschluß 45 des Türschließschalters 15 verbunden. Das andere Drahtende 54 ist direkt mit dem freien Ende des Bimetalls 51 verbunden. Das Bimetall 51 ist mit der Bördelhülse 55 fest in das Gehäuse 19 eingenietet. Durch die Bördelhülse ragt eine Justierschraube 56, durch deren kegelförmiges Wirkende über die etwa rechtwinklig vom Bimetall 51 abstrebende Nase 57 die Vorspannung des Bimetalls einjustiert werden kann.
  • Zwischen Bimetall 51 und Anschluß 48 liegt ein Vorwiderstand 58 oder eine Diode. In der Ruhestellung ist der Vorwiderstand durch die zwischen dem Bimetall 51 und der Blattfeder 49 gebildete Kontaktstelle kurzgeschlossen.
  • Wird an die Anschlüsse 48,45 der Bimetallsteuerung und des Türschließschalters 15 eine konstante Spannung, z.B. 220 V angelegt, so liegt die Heizwicklung 52 direkt an dieser Spannung. Das Bimetall 51 wird erwärmt und bewegt sich nach oben (Fig. 13). Mit dieser Bewegung wird die Blattfeder 49 wirksam und verschiebt den Verriegelungsschieber 17 in seine aus Fig. 13 ersichtliche Verriegelungsstellung. Gleichzeitig wird die zwischen Bimetall 51 und Blattfeder 49 bestehende Kontaktstelle 59 in Verriegelungsendstellung des Verriegelungsschiebers 17 geöffnet. Von diesem Zeitpunkt an ist der Vorwiderstand 58 mit der Heizwicklung 52 in Reihe geschaltet. Bei konstanter Spannungsquelle fließt jetzt ein kleinerer Strom. Das Bimetall 51 wird nur noch soweit erwärmt, daß damit die Stellung nach Fig. 13 aufrechterhalten bleibt.
  • Der Schaltschieber 26 ist mit einer ihn in Verschieberichtung 18 des Verriegelungsschiebers 17 fensterartig durchsetzenden Ausnehmung 60 versehen. Die dem Türschließschalter 15 zugewandte Seitenwandung der den Schaltschieber 26 aufnehmenden Gehäuseausnehmung ist im Bewegungsbereich der Schaltschieberausnehmung 60 mit einer Durchbrechung 61 zum Durchtritt eines Mitnehmers 62 versehen, welcher mit dem Schnappbetätigungsteil 43 des Türschließschalters 15 fest verbunden ist und zu dessen Bewegung dient. Der Mitnehmer 62 ist S-förmig gebogen und ragt mit seinem freien S-Schenkel in die Durchtrittsausnehmung 60 des Schaltschiebers 26 hinein. Durch Längsverschiebung des Schaltschiebers 26 innerhalb seiner Gehäuseausnehmung aus seiner der öffnungsstellung des Sperrschiebers 17 entsprechenden Ruhestellung entgegen dem Druck der Rückstellfeder 63 in Verschieberichtung der Schloßplatte 8 auf dem Wege von deren öffnungsstellung in die Türschließstellung wird der freie S-Schenkel des Mitnehmers 62 durch eine Seitenwandung der Ausnehmung 60 mitgenommen. Dadurch wird die Schwenkung des Schnappbetätigungsteiles 43 des Türschließschalters 15 aus der Anlagestellung am freien Ende der Trennwand 41 in eine neue Anlagestellung am freien Ende der Trennwand 40 vollzogen. Diese Schnappbewegung des Schnappbetätigungsteiles 43 bewirkt eine entsprechende Schnappbewegung der beweglichen Kontaktbrücke 42 des Türschließschalters 15 gegen den ihr zugeordneten Festkontakt 47.
  • Die dem Verriegelungsschieber 17 zugewandten Stirnenden der Trennwände 39,40,41 der Gehäuseausnehmungen zur Aufnahme der beiden Schalter 15,16 sind als Führungsteile für den Verriegelungsschieber 16 ausgebildet.
  • Sämtliche Anschlüsse 45,48 und Festkontakte 47 der Bimetallsteuerung 38, des Verriegelungsschalters 16 und des Türschließschalters 15 sind durch die dem Verriegelungsschieber 17 gegenüberliegende Seitenwand des Gehäuses 19 in Verschieberichtung 7 der Schloßplatte 8 hindurchgeführt. Das Gehäuse 19 ist auf seiner dem Boden 21 gegenüberliegenden Seite durch einen Deckel 64 verschließbar.
  • Die Ausführungsform des Verriegelungsgerätes 14 gemäß Fig. 14 - 16 unterscheidet sich von der Ausführungsform gemäß Fig. 9 - 13 lediglich dadurch, daß die Kontakte des Türschließschalters 15 in einer um 180° um die Mittellängsachse 65 der Gehäuseausnehmung 66 für die Aufnahme des Türschließschalters 15 geschwenkten Lage in der parallel zum Boden 21 verlaufenden Bewegungsebene des Türschließschalters 15 angeordnet sind. Desweiteren ist der Mitnehmer 62 auf der Innenseite des Lagers 44 am Schnappbetätigungsteil 43 des Türschließschalters 15 befestigt. Er reicht mit seinem freien S-Schenkel in gleicher Weise wie bei der Ausführungsform gemäß Fig. 9 - 13 in die Ausnehmung 60 des in gleicher Weise wie bei der Ausführungsform gemäß Fig. 9 - 13 gelagerten Schaltschiebers 26 hinein. Nur befindet sich die auf den Schaltschieber 26 einwirkende Rückstellfeder 63 auf der anderen Stirnseite des Schaltschiebers 26, um wiederum der Verschiebung des Schaltschiebers 26 bei der überführung der Schloßplatte 8 aus ihrer öffnungs- in die Schließstellung entgegenzuwirken.
  • Die Funktionsweise der Verriegelungsvorrichtung ist folgende:
  • Beim überführen des Schloßhakens 1 in seine Schließendstellung wird die Schloßplatte 8 in Verschieberichtung 7 mit Bezug auf Fig. 1 - 4 nach rechts oder mit Bezug auf Fig. 5 - 8 nach links verschoben. Diese Verschiebebewegung wird über den Vorsprung 25 in gleicher Größe auf den Schaltschieber 26 übertragen. Der Schaltschieber 26 schwenkt dabei über den Mitnehmer 62 das Schnappbetätigungsteil 43 des Türschließschalters 15 aus der in Fig. 9 und 14 in die aus Fig. 12 und 15 ersichtliche andere Schwenkstellung, wodurch die bewegliche Kontaktbrücke 42 des Türschließschalters an dem ihr zugeordneten Festkontakt 47 in Anlage kommt und den Stromkreis des Türschließschalters schließt. Damit ist die Erregung der Heizwicklung 52 des Bimetalls 51 freigegeben. Gegebenenfalls kann durch diesen Schaltschritt auch unmittelbar die Heizwicklung 52 des Bimetalls 51 erregt werden.
  • Durch die Erregung der Heizwicklung 52 schwenkt das Bimetall nach oben in Pfeilrichtung 67 aus (Fig. 13, 16). Die Blattfeder 49 schwenkt in der weiter oben im einzelnen beschriebenen Weise unter dem Druck ihrer Vorspannung ebenfalls in Pfeilrichtung 67 nach oben und verschiebt dabei den Verriegelungsschieber 17 in seine Verriegelungsendstellung, in der seine Verriegelungsvorsprünge 20 in die Sperrnuten 24 der Ausnehmungen 23 in der Schloßplatte 8 eingreifen. Mit der Verschiebung des Verriegelungsschiebers 17 in seine Verriegelungsendstellung wird das Schnappbetätigungsteil 43 des Verriegelungsschalters 16 in seine andere Schnappendstellung überführt, wodurch die bewegliche Kontaktbrücke 42 des Verriegelungsschalters 16 mitgenommen und in Anlage an den ihr zugeordneten Festkontakt 47 gebracht wird. Damit ist der Stromkreis des Verriegelungsschalters 16 geschlossen. Das elektrische Gerät wird eingeschaltet oder befindet sich nunmehr in Einschaltbereitschaftsstellung, nachdem die Verriegelung des Schloßhakens 1 in seiner Schließendstellung gewährleistet ist.
  • Mit der Abschaltung des elektrischen Gerätes wird die an der Heizwicklung 52 liegende Heispannung abgeschaltet. Das Bimetall 51 erkaltet und schwenkt entgegen der Pfeilrichtung 67 in seine geradlinige Ausgangsstellung zurück (Fig. 12 und 15). Dabei wird der Verriegelungsschieber 17 in seine Entriegelungsstellung zurückgeholt und gleichzeitig damit erfolgt die Öffnung des Verriegelungsschalters, also die Aufhebung der Betriebsbereitschaftsstellung des elektrischen Gerätes. Nach der Entriegelung der Schloßplatte 8 kann nunmehr der Schloßhaken 1 durch Betätigung des nicht dargestellten Türhandgriffes zunächst in Verschieberichtung 7 in die überdeckungsstellung mit der Rahmenöffnung 3 und sodann in Längsrichtung 6 aus der Rahmenöffnung 3 herausgeführt werden. Gleichbedeutend damit ist die öffnung der Tür. Durch die Rückschiebung des Schloßhakens 1 in überdeckungsstellung mit der Rahmenöffnung 3 wird die Schloßplatte 8 in ihre öffnungsstellung zurückgeschoben. Dabei nimmt sie über den Vorsprung 25 den Schaltschieber 26 mit. Dieser schaltet über den Mitnehmer 62 den Türschließschalter 15, durch den der Stromkreis auch des Türschließschalters unterbrochen wird.
  • Die den Schaltschieber 26 in Richtung auf dessen Ausgangsstellung beaufschlagende Rückstellfeder dient zur Montageerleichterung, damit der Vorsprung 25 immer die der öffnungsstellung des Gerätes entsprechende Stellung einnimmt.

Claims (27)

1. In Abhängigkeit vom Betrieb eines elektrischen Gerätes, insbesondere einer Waschmaschine, betätigbare Türverriegelungsvorrichtung mit folgenden Merkmalen:
1) Die Türverriegelungsvorrichtung weist einen bimetallgesteuerten Verriegelungsschieber auf.
1-1) Der Verriegelungsschieber ist bewegungssperrend in den Verschiebeweg einer den Türschloßhaken bei geschlossener Tür mit einer Ausnehmung umfassenden Schloßplatte einführbar.
1-2) Die Verriegelungsbewegung des Verriegelungsschiebers ist von einem durch die Türschließung betätigbaren Türschließschalter steuerbar.
1-3) Durch die Verriegelungsbewegung des Verriegelungsschiebers ist der Stromkreis zum Betrieb des'elektrischen Gerätes schließbar.
2) Bimetallsteuerung, Verriegelungsschieber und Verriegelungsschalter sind in einem gemeinsamen Gehäuse untergebracht,
gekennzeichnet durch folgende Merkmale:
3) Auch der Türschließschalter (15) ist im Gehäuse (19) untergebracht.
4) Das Betätigungsteil (Schaltschieber 26) des Türschließschalters (15) ist in Verschieberichtung (7) der Schloßplatte (8) verschiebbar und reicht mit einem Vorsprung (25) in den Verschiebeweg der Schloßplatte (8).
5) Aus dem Gehäuseboden (21) stehen mindestens ein Verriegelungsvorsprung (20) des Verriegelungsschiebers (17) und der Vorsprung (25) des Betätigungsteiles (Schaltschieber 26) des Türschließschalters (15) nach außen vor.
6) Die Schloßplatte (8) ist vollständig auf der Außenseite des Gehäusebodens (21) angeordnet derart, daß die Verriegelungsvorrichtung fertigmontiert auf die Schloßplatte (8) und gemeinsam mit dieser auf den Geräterahmen (4) aufsetzbar ist.
2. Vorrichtung nach Anspruch 1, dadurch gekennzeichnet, daß ihr Gehäuse (19) auf seiner Außenseite mit die Schloßplatte (8) seitlich umfassenden Führungsvorsprüngen (29) versehen ist, an denen die Schloßplatte (8) mit ihren zur Verschieberichtung (7) parallelen Seitenkanten (30) anliegt.
3. Vorrichtung nach Anspruch 1 oder 2, dadurch gekennzeichnet, daß der Verriegelungsschieber (17) parallel zum Boden (21) und rechtwinklig zur Verschieberichtung (7) der Schloßplatte (8) verschiebbar gelagert ist und mit einem Verriegelungsvorsprung (20) in eine rechtwinklig zur Verschieberichtung (7) verlaufende Sperrnut (24) an der Schloßplatte (8) deren Verschiebbarkeit gegenüber dem Gehäuse (19) sperrend einführbar ist.
4. Vorrichtung nach einem oder mehreren der vorhergehenden Ansprüche, dadurch gekennzeichnet, daß ein Verriegelungsvorsprung (20) in einer zwischen den Seitenkanten (30) der Schloßplatte (8) angeordneten Ausnehmung (23) einliegt, deren Länge in Verschieberichtung (7) der Schloßplatte (8) mindestens der eines Verschiebehubes der Schloßplatte (8) entspricht und daß die Sperrnut (24) in eine Seite der Ausnehmung (23) eingebracht ist.
5. Vorrichtung nach Anspruch 3 oder 4, dadurch gekennzeichnet, daß die Sperrnut (24) und/oder die Ausnehmung (23) die Schloßplatte (8) insbesondere fensterartig durchdringen.
6. Vorrichtung nach einem oder mehreren der vorhergehenden Ansprüche, dadurch gekennzeichnet, daß die Längsachse des Verriegelungsschiebers (17) zwischen zwei einander rechtwinklig zur Verschieberichtung (7) der Schloßplatte (8) gegenüberliegenden Führungsvorsprüngen (29) verläuft.
7. Vorrichtung nach einem oder mehreren der vorhergehenden Ansprüche, dadurch gekennzeichnet, daß die Führungsvorsprünge (29) als Aufstellfüße gegenüber dem Geräterahmen (4) ausgebildet sind und mindestens je eine etwa senkrecht zur schloßplattenseitigen Gehäusewand (Boden 21) verlaufende Durchtrittsöffnung (33) für Mittel zur Befestigung am Geräterahmen (4) aufweisen.
8. Vorrichtung nach einem oder mehreren der vorhergehenden Ansprüche, dadurch gekennzeichnet, daß der Verriegelungsschieber (17) unmittelbar neben einer parallel zu ihm verlaufenden Gehäusewand (34) angeordnet ist.
9. Vorrichtung nach Anspruch 8, dadurch gekennzeichnet, daß der Verriegelungsschieber (17) neben der Gehäusewand (34) angeordnet ist, die der zur Aufnahme des Türschloßhakens (1) bestimmten öffnung (9) der Schloßplatte (8) zugewandt ist.
10. Vorrichtung nach einem oder mehreren der vorhergehenden Ansprüche, gekennzeichnet durch mindestens einen dritten aus dem Gehäuseboden (21) außerhalb des überdeckungsbereiches der Schloßplatte (8) vorstehenden Auflagevorsprung (35) zur Gehäuseabstützung am Geräterahmen (4)..
11. Vorrichtung nach Anspruch 10, dadurch gekennzeichnet, daß der dritte Auflagevorsprung (35) im Bereich der Mittellängsachse (32) der Schloßplatte (8) angeordnet ist.
12. Vorrichtung nach Anspruch 11, dadurch gekennzeichnet, daß der dritte Auflagevorsprung (35) mit einer Ausnehmung (36) zum Angriff eines Befestigungsmittels zum 'Geräterahmen (4) versehen ist.
13. Vorrichtung nach einem oder mehreren der vorhergehenden Ansprüche, dadurch gekennzeichnet, daß der Verriegelungsschieber (17) gemeinsam mit mindestens einem Verriegelungsvorsprung (20) durch ein einstückiges, plattenförmiges Teil, insbesondere Stanzteil, gebildet sind, dessen Mittelebene senkrecht zur Mittellängsebene der Schloßplatte (8) verläuft.
14. Vorrichtung nach Anspruch 1, dadurch gekennzeichnet, daß der Vorsprung (25) des Betätigungsteiles des Türschließschalters (15) zur Herstellung einer antriebsmäßigen Verbindung in eine insbesondere fensterartige Ausnehmung (28) der Schloßplatte (8) eingreift.
15. Vorrichtung nach Anspruch 14, dadurch gekennzeichnet, daß das Betätigungsteil des Türschließschalters (15) ein im Gehäuse (19) parallel zum Boden (21) in Verschieberichtung (7). der Schloßplatte
(8) geführter Schaltschieber (26) ist, dessen Vorsprung (25) durch ein in Verschieberichtung (7) der Schloßplatte (8) verlaufendes Langloch (27) durch den Gehäuseboden (21) hindurchreicht.
16. Vorrichtung nach Anspruch 15, dadurch gekennzeichnet, daß der Schaltschieber (26) an einer Stirnwand von einer in Axialrichtung gegen die Verriegelungsrichtung der Schloßplatte (8) wirksamen Federkraft (63) beaufschlagt ist.
17. Vorrichtung insbesondere nach einem oder mehreren der vorhergehenden Ansprüche, dadurch gekennzeichnet, daß Bimetallsteuerung (38), Verriegelungsschalter (16) und Türschließschalter (15) nebeneinander und hinsichtlich ihrer längsten Dimension im wesentlichen rechtwinklig zur Verschieberichtung
(18) des Verriegelungsschiebers (17) auf derselben Seite neben dem Verriegelungsschieber (17) gemeinsam mit diesem in einer parallel zum Gehäuseboden (21) liegenden Ebene angeordnet sind.
18. Vorrichtung nach Anspruch 17, dadurch gekennzeichnet, daß Bimetallsteuerung (38), Verriegelungsschalter (16) und Türschließschalter (15) jeweils in einer gesonderten Gehäuseausnehmung untergebracht sind.
19. Vorrichtung nach einem oder mehreren der vorhergehenden Ansprüche, dadurch gekennzeichnet, daß die Bewegungsebenen der Bimetallsteuerung (38), des Verriegelungsschalters (16) und des Türschließschalters (15) in einer parallel zum Gehäuseboden (21) verlaufenden Ebene liegen.
20. Vorrichtung nach Anspruch 19, dadurch gekennzeichnet, daß Verriegelungs-(16) und Türschließschalter (15) an sich bekannte, vorzugsweise gleichgestaltete Schnappschalter sind.
21. Vorrichtung nach einem oder mehreren der vorhergehenden Ansprüche, dadurch gekennzeichnet, daß die Gehäuseausnehmung für den Schaltschieber (26) neben der Gehäuseausnehmung für den Türschließschalter (15) angeordnet ist.
22. Vorrichtung nach einem oder mehreren der vorhergehenden Ansprüche, dadurch gekennzeichnet, daß der Schaltschieber (26) mit einer in der Bewegungsebene der Schalter (15,16) liegenden, rechtwinklig zu seiner Längsrichtung verlaufenden Ausnehmung (60), insbesondere Durchtrittsausnehmung versehen ist und daß die dem Türschließschalter (16) zugewandte Trennwand der den Schaltschieber (26) aufnehmenden Gehäuseausnehmung im Bewegungsbereich der Schaltschieberausnehmung mit einer Durchbrechung (61) zum Durchtritt eines Mitnehmers (62) zur Betätigung des Schnappbetätigungsteiles (43) des Türschließschalters (15) versehen sind.
23. Vorrichtung nach einem oder mehreren der vorhergehenden Ansprüche, dadurch gekennzeichnet, daß die Kontakte (45,46) des Türschließschalters (15) je nach der Verriegelungsrichtung (7) der Schloßplatte (8) in einer um 180° um etwa die Mittellängsachse (65) der Gehäuseausnehmung (66) geschwenkten Lage in der Bewegungsebene des Schalters angeordnet und in denselben Gehäusedurchführungsöffnungen gelagert sind derart, daß der Mitnehmer (62) des Schnappbetätigungsteiles (43) des Türschließschalters (15) entweder von der Innen- oder von der Außenseite des Schwenkweges des Schnappbetätigungsteiles (43) her an diesem angreift.
24. Vorrichtung nach einem oder mehreren der vorhergehenden Ansprüche, dadurch gekennzeichnet, daß die dem Verriegelungsschieber (17) zugewandten Stirnenden der Gehäuseausnehmung zur Aufnahme des Türschließschalters (15) offen sind, mit ihren Seitenkanten Begrenzungsanschläge für das Schnappbetätigungsteil (43) bilden und als Führungsteile an dem Verriegelungsschieber (17) anliegen.
25. Vorrichtung nach einem oder mehreren der vorhergehenden Ansprüche, dadurch gekennzeichnet, daß sämtliche Anschlüsse (45,47,48) der Bimetallsteuerung (38), des Verriegelungsschalters (16) und des Türschließschalters (15) parallellaufend und durch die dem Verriegelungsschieber (17) gegenüberliegende Gehäusewand hindurchgeführt sind.
EP79100562A 1978-03-11 1979-02-24 Türverriegelungsvorrichtung für elektrische Geräte Expired EP0004012B1 (de)

Applications Claiming Priority (2)

Application Number Priority Date Filing Date Title
DE2810667 1978-03-11
DE2810667A DE2810667C2 (de) 1978-03-11 1978-03-11 Türverriegelungsvorrichtung für elektrische Geräte

Publications (3)

Publication Number Publication Date
EP0004012A2 true EP0004012A2 (de) 1979-09-19
EP0004012A3 EP0004012A3 (en) 1979-10-17
EP0004012B1 EP0004012B1 (de) 1981-09-02

Family

ID=6034194

Family Applications (1)

Application Number Title Priority Date Filing Date
EP79100562A Expired EP0004012B1 (de) 1978-03-11 1979-02-24 Türverriegelungsvorrichtung für elektrische Geräte

Country Status (3)

Country Link
EP (1) EP0004012B1 (de)
AT (1) AT370145B (de)
DE (1) DE2810667C2 (de)

Cited By (3)

* Cited by examiner, † Cited by third party
Publication number Priority date Publication date Assignee Title
FR2566438A1 (fr) * 1984-06-22 1985-12-27 Texas Instruments Italia Spa Dispositif pour la commande de l'alimentation electrique et pour le verrouillage a deblocage retarde des portes de machines a laver ou similaires
EP1418266A3 (de) * 2002-11-08 2006-06-28 Elettrotecnica Rold Srl Vorrichtung zur Verriegelung der Tür einer Waschmaschine
EP1726750A1 (de) * 2005-02-25 2006-11-29 Elettrotecnica Rold Srl Eine Vorrichtung zum Verriegeln einer Bullaugentür einer Waschmaschine

Families Citing this family (2)

* Cited by examiner, † Cited by third party
Publication number Priority date Publication date Assignee Title
DE3008756C2 (de) * 1980-03-07 1985-08-08 Kiekert GmbH & Co KG, 5628 Heiligenhaus Verriegelungsvorrichtung für eine Haushaltsmaschine o.dgl.
US9957657B2 (en) * 2015-01-30 2018-05-01 Emz-Hanauer Gmbh & Co. Kgaa Appliance lock

Family Cites Families (7)

* Cited by examiner, † Cited by third party
Publication number Priority date Publication date Assignee Title
DE7807461U1 (de) * 1978-08-03 Ellenberger & Poensgen Gmbh, 8503 Altdorf Türverriegelungsvorrichtung für elektrische Geräte
GB1252767A (de) * 1967-12-15 1971-11-10
DE1815720C3 (de) * 1968-12-13 1980-06-12 Bosch-Siemens Hausgeraete Gmbh, 7000 Stuttgart Verriegelungseinrichtung fur die Beschickungstur einer Waschmaschine
CH520225A (de) * 1969-10-27 1972-03-15 Ellenberger & Poensgen Elektrothermisches Relais zur Verriegelung von Waschmaschinentüren
BE791863A (fr) * 1971-11-26 1973-03-16 Rocchitelli Onofrio Appareil pour le verrouillage et le deverrouillage temporise dedispositifs de fermeture de portes de machines
IT948518B (it) * 1971-12-17 1973-06-11 Feme Dispositivo per il blocco con consenso ritardato alla apertura du un portello od altro organo di accesso all interno di apparecchia ture in genere e macchine lavatri ci in particolare
IT994158B (it) * 1973-08-21 1975-10-20 Texas Instruments Italia Spa Dispositivo di bloccaggio con interruttore ritardatore termico ad azionamento voltmetrico per sportelli

Cited By (3)

* Cited by examiner, † Cited by third party
Publication number Priority date Publication date Assignee Title
FR2566438A1 (fr) * 1984-06-22 1985-12-27 Texas Instruments Italia Spa Dispositif pour la commande de l'alimentation electrique et pour le verrouillage a deblocage retarde des portes de machines a laver ou similaires
EP1418266A3 (de) * 2002-11-08 2006-06-28 Elettrotecnica Rold Srl Vorrichtung zur Verriegelung der Tür einer Waschmaschine
EP1726750A1 (de) * 2005-02-25 2006-11-29 Elettrotecnica Rold Srl Eine Vorrichtung zum Verriegeln einer Bullaugentür einer Waschmaschine

Also Published As

Publication number Publication date
DE2810667A1 (de) 1979-09-13
ATA119679A (de) 1982-07-15
AT370145B (de) 1983-03-10
EP0004012A3 (en) 1979-10-17
DE2810667C2 (de) 1982-07-29
EP0004012B1 (de) 1981-09-02

Similar Documents

Publication Publication Date Title
DE2725263A1 (de) Bimetallunterbrecherschalter
EP0268098B1 (de) Elektro-Schaltgerät, insbesondere zur Leistungssteuerung
DE19708609C2 (de) Schiebeschalter
DE4129938C2 (de)
EP1074030B1 (de) Schaltgerät mit einer schaltkammer-baugruppe
DE2901246C2 (de) Elektrische Schaltvorrichtung
DE3327675C2 (de)
DE2449457C3 (de) Klappankerrelais
DE3233909A1 (de) Schnappvorrichtung, insbesondere elektrischer schnappschalter
DE2619002B2 (de) Elektromagnetisches Klappankerrelais
DE1465705B1 (de) Elektrischer Schnappschalter mit Drueckerhebel
EP0004012A2 (de) Türverriegelungsvorrichtung für elektrische Geräte
DE2541922B2 (de) Verriegelbarer Drucktastenschalter
EP0500546B1 (de) Verriegelungsvorrichtung für einen einschub
DE2256721A1 (de) Zusatzgeraet zur verklinkung eines relais
DE2532734C3 (de) Mehrpoliger Druckschalter mit thermischer Überstromauslösung
DE7807461U1 (de) Türverriegelungsvorrichtung für elektrische Geräte
DE2739928C3 (de) Temperaturabhängig arbeitender elektrischer Schalter in Flachbauweise
EP0091687A1 (de) Elektromagnetisches Relais
EP0494278B1 (de) Elektrischer schalter
DE2107804C3 (de) Elektrischer Steuerschalter
EP0003973B1 (de) Niederspannungs-Leitungsschalter mit einem elektromagnetischen Auslöser
WO1998010456A1 (de) Überstromschutzschalter
EP0043406B1 (de) Schutzschaltelement zum Anbau an einen als Drehschalter ausgebildeten Geräte-Ein/Aus-Schalter
DE2741292C2 (de) Tastenschalter

Legal Events

Date Code Title Description
PUAI Public reference made under article 153(3) epc to a published international application that has entered the european phase

Free format text: ORIGINAL CODE: 0009012

PUAL Search report despatched

Free format text: ORIGINAL CODE: 0009013

AK Designated contracting states

Designated state(s): CH FR GB IT SE

AK Designated contracting states

Designated state(s): CH FR GB IT SE

17P Request for examination filed
ITCL It: translation for ep claims filed

Representative=s name: RICCARDI SERGIO & CO.

ITF It: translation for a ep patent filed
GRAA (expected) grant

Free format text: ORIGINAL CODE: 0009210

AK Designated contracting states

Designated state(s): CH FR GB IT SE

PGFP Annual fee paid to national office [announced via postgrant information from national office to epo]

Ref country code: FR

Payment date: 19840305

Year of fee payment: 6

PGFP Annual fee paid to national office [announced via postgrant information from national office to epo]

Ref country code: SE

Payment date: 19840331

Year of fee payment: 6

PGFP Annual fee paid to national office [announced via postgrant information from national office to epo]

Ref country code: CH

Payment date: 19840425

Year of fee payment: 6

PG25 Lapsed in a contracting state [announced via postgrant information from national office to epo]

Ref country code: SE

Effective date: 19850225

PG25 Lapsed in a contracting state [announced via postgrant information from national office to epo]

Ref country code: CH

Effective date: 19850228

GBPC Gb: european patent ceased through non-payment of renewal fee
PG25 Lapsed in a contracting state [announced via postgrant information from national office to epo]

Ref country code: FR

Free format text: LAPSE BECAUSE OF NON-PAYMENT OF DUE FEES

Effective date: 19851031

REG Reference to a national code

Ref country code: CH

Ref legal event code: PL

REG Reference to a national code

Ref country code: FR

Ref legal event code: ST

PG25 Lapsed in a contracting state [announced via postgrant information from national office to epo]

Ref country code: GB

Effective date: 19881117

EUG Se: european patent has lapsed

Ref document number: 79100562.2

Effective date: 19860129

PLBE No opposition filed within time limit

Free format text: ORIGINAL CODE: 0009261

STAA Information on the status of an ep patent application or granted ep patent

Free format text: STATUS: NO OPPOSITION FILED WITHIN TIME LIMIT