WO2022190445A1 - 電界効果トランジスタ - Google Patents

電界効果トランジスタ Download PDF

Info

Publication number
WO2022190445A1
WO2022190445A1 PCT/JP2021/037475 JP2021037475W WO2022190445A1 WO 2022190445 A1 WO2022190445 A1 WO 2022190445A1 JP 2021037475 W JP2021037475 W JP 2021037475W WO 2022190445 A1 WO2022190445 A1 WO 2022190445A1
Authority
WO
WIPO (PCT)
Prior art keywords
layer
type deep
type
semiconductor substrate
trench
Prior art date
Legal status (The legal status is an assumption and is not a legal conclusion. Google has not performed a legal analysis and makes no representation as to the accuracy of the status listed.)
Ceased
Application number
PCT/JP2021/037475
Other languages
English (en)
French (fr)
Japanese (ja)
Inventor
秀史 高谷
Current Assignee (The listed assignees may be inaccurate. Google has not performed a legal analysis and makes no representation or warranty as to the accuracy of the list.)
Denso Corp
Original Assignee
Denso Corp
Priority date (The priority date is an assumption and is not a legal conclusion. Google has not performed a legal analysis and makes no representation as to the accuracy of the date listed.)
Filing date
Publication date
Application filed by Denso Corp filed Critical Denso Corp
Priority to EP21930292.4A priority Critical patent/EP4307381A4/en
Priority to CN202180095443.1A priority patent/CN116982159A/zh
Publication of WO2022190445A1 publication Critical patent/WO2022190445A1/ja
Priority to US18/354,769 priority patent/US20230361171A1/en
Anticipated expiration legal-status Critical
Ceased legal-status Critical Current

Links

Images

Classifications

    • HELECTRICITY
    • H01ELECTRIC ELEMENTS
    • H01LSEMICONDUCTOR DEVICES NOT COVERED BY CLASS H10
    • H01L21/00Processes or apparatus adapted for the manufacture or treatment of semiconductor or solid state devices or of parts thereof
    • H01L21/02Manufacture or treatment of semiconductor devices or of parts thereof
    • H01L21/04Manufacture or treatment of semiconductor devices or of parts thereof the devices having potential barriers, e.g. a PN junction, depletion layer or carrier concentration layer
    • H01L21/0445Manufacture or treatment of semiconductor devices or of parts thereof the devices having potential barriers, e.g. a PN junction, depletion layer or carrier concentration layer the devices having semiconductor bodies comprising crystalline silicon carbide
    • H01L21/0455Making n or p doped regions or layers, e.g. using diffusion
    • H01L21/046Making n or p doped regions or layers, e.g. using diffusion using ion implantation
    • HELECTRICITY
    • H10SEMICONDUCTOR DEVICES; ELECTRIC SOLID-STATE DEVICES NOT OTHERWISE PROVIDED FOR
    • H10DINORGANIC ELECTRIC SEMICONDUCTOR DEVICES
    • H10D12/00Bipolar devices controlled by the field effect, e.g. insulated-gate bipolar transistors [IGBT]
    • H10D12/01Manufacture or treatment
    • H10D12/031Manufacture or treatment of IGBTs
    • HELECTRICITY
    • H10SEMICONDUCTOR DEVICES; ELECTRIC SOLID-STATE DEVICES NOT OTHERWISE PROVIDED FOR
    • H10DINORGANIC ELECTRIC SEMICONDUCTOR DEVICES
    • H10D30/00Field-effect transistors [FET]
    • H10D30/01Manufacture or treatment
    • H10D30/021Manufacture or treatment of FETs having insulated gates [IGFET]
    • HELECTRICITY
    • H10SEMICONDUCTOR DEVICES; ELECTRIC SOLID-STATE DEVICES NOT OTHERWISE PROVIDED FOR
    • H10DINORGANIC ELECTRIC SEMICONDUCTOR DEVICES
    • H10D30/00Field-effect transistors [FET]
    • H10D30/60Insulated-gate field-effect transistors [IGFET]
    • HELECTRICITY
    • H10SEMICONDUCTOR DEVICES; ELECTRIC SOLID-STATE DEVICES NOT OTHERWISE PROVIDED FOR
    • H10DINORGANIC ELECTRIC SEMICONDUCTOR DEVICES
    • H10D30/00Field-effect transistors [FET]
    • H10D30/60Insulated-gate field-effect transistors [IGFET]
    • H10D30/64Double-diffused metal-oxide semiconductor [DMOS] FETs
    • H10D30/66Vertical DMOS [VDMOS] FETs
    • H10D30/668Vertical DMOS [VDMOS] FETs having trench gate electrodes, e.g. UMOS transistors
    • HELECTRICITY
    • H10SEMICONDUCTOR DEVICES; ELECTRIC SOLID-STATE DEVICES NOT OTHERWISE PROVIDED FOR
    • H10DINORGANIC ELECTRIC SEMICONDUCTOR DEVICES
    • H10D62/00Semiconductor bodies, or regions thereof, of devices having potential barriers
    • H10D62/01Manufacture or treatment
    • H10D62/051Forming charge compensation regions, e.g. superjunctions
    • H10D62/052Forming charge compensation regions, e.g. superjunctions by forming stacked epitaxial layers
    • HELECTRICITY
    • H10SEMICONDUCTOR DEVICES; ELECTRIC SOLID-STATE DEVICES NOT OTHERWISE PROVIDED FOR
    • H10DINORGANIC ELECTRIC SEMICONDUCTOR DEVICES
    • H10D62/00Semiconductor bodies, or regions thereof, of devices having potential barriers
    • H10D62/10Shapes, relative sizes or dispositions of the regions of the semiconductor bodies; Shapes of the semiconductor bodies
    • H10D62/102Constructional design considerations for preventing surface leakage or controlling electric field concentration
    • H10D62/103Constructional design considerations for preventing surface leakage or controlling electric field concentration for increasing or controlling the breakdown voltage of reverse-biased devices
    • H10D62/105Constructional design considerations for preventing surface leakage or controlling electric field concentration for increasing or controlling the breakdown voltage of reverse-biased devices by having particular doping profiles, shapes or arrangements of PN junctions; by having supplementary regions, e.g. junction termination extension [JTE] 
    • H10D62/109Reduced surface field [RESURF] PN junction structures
    • H10D62/111Multiple RESURF structures, e.g. double RESURF or 3D-RESURF structures
    • HELECTRICITY
    • H10SEMICONDUCTOR DEVICES; ELECTRIC SOLID-STATE DEVICES NOT OTHERWISE PROVIDED FOR
    • H10DINORGANIC ELECTRIC SEMICONDUCTOR DEVICES
    • H10D62/00Semiconductor bodies, or regions thereof, of devices having potential barriers
    • H10D62/10Shapes, relative sizes or dispositions of the regions of the semiconductor bodies; Shapes of the semiconductor bodies
    • H10D62/124Shapes, relative sizes or dispositions of the regions of semiconductor bodies or of junctions between the regions
    • H10D62/126Top-view geometrical layouts of the regions or the junctions
    • H10D62/127Top-view geometrical layouts of the regions or the junctions of cellular field-effect devices, e.g. multicellular DMOS transistors or IGBTs
    • HELECTRICITY
    • H10SEMICONDUCTOR DEVICES; ELECTRIC SOLID-STATE DEVICES NOT OTHERWISE PROVIDED FOR
    • H10DINORGANIC ELECTRIC SEMICONDUCTOR DEVICES
    • H10D62/00Semiconductor bodies, or regions thereof, of devices having potential barriers
    • H10D62/10Shapes, relative sizes or dispositions of the regions of the semiconductor bodies; Shapes of the semiconductor bodies
    • H10D62/17Semiconductor regions connected to electrodes not carrying current to be rectified, amplified or switched, e.g. channel regions
    • H10D62/393Body regions of DMOS transistors or IGBTs 
    • HELECTRICITY
    • H10SEMICONDUCTOR DEVICES; ELECTRIC SOLID-STATE DEVICES NOT OTHERWISE PROVIDED FOR
    • H10DINORGANIC ELECTRIC SEMICONDUCTOR DEVICES
    • H10D62/00Semiconductor bodies, or regions thereof, of devices having potential barriers
    • H10D62/80Semiconductor bodies, or regions thereof, of devices having potential barriers characterised by the materials
    • H10D62/83Semiconductor bodies, or regions thereof, of devices having potential barriers characterised by the materials being Group IV materials, e.g. B-doped Si or undoped Ge
    • H10D62/832Semiconductor bodies, or regions thereof, of devices having potential barriers characterised by the materials being Group IV materials, e.g. B-doped Si or undoped Ge being Group IV materials comprising two or more elements, e.g. SiGe
    • H10D62/8325Silicon carbide
    • HELECTRICITY
    • H10SEMICONDUCTOR DEVICES; ELECTRIC SOLID-STATE DEVICES NOT OTHERWISE PROVIDED FOR
    • H10DINORGANIC ELECTRIC SEMICONDUCTOR DEVICES
    • H10D30/00Field-effect transistors [FET]
    • H10D30/01Manufacture or treatment
    • H10D30/021Manufacture or treatment of FETs having insulated gates [IGFET]
    • H10D30/028Manufacture or treatment of FETs having insulated gates [IGFET] of double-diffused metal oxide semiconductor [DMOS] FETs
    • H10D30/0291Manufacture or treatment of FETs having insulated gates [IGFET] of double-diffused metal oxide semiconductor [DMOS] FETs of vertical DMOS [VDMOS] FETs
    • H10D30/0297Manufacture or treatment of FETs having insulated gates [IGFET] of double-diffused metal oxide semiconductor [DMOS] FETs of vertical DMOS [VDMOS] FETs using recessing of the gate electrodes, e.g. to form trench gate electrodes

Definitions

  • the technology disclosed in this specification relates to field effect transistors.
  • Patent Document 1 discloses a trench gate type field effect transistor.
  • This field effect transistor has a plurality of p-type deep layers protruding downward from the body layer. Each p-type deep layer extends to intersect the trench when the semiconductor substrate is viewed from above. The plurality of p-type deep layers are arranged with intervals in the width direction. Each p-type deep layer extends from the body layer to below the bottom surface of the trench.
  • each p-type deep layer is in contact with the gate insulating film on the side surface and the bottom surface of the trench located below the body layer.
  • the field effect transistor also has an n-type drift layer in contact with the body layer and each p-type deep layer.
  • a depletion layer spreads from the body layer into the drift layer.
  • a depletion layer extending into the drift layer holds the source-drain voltage.
  • a depletion layer spreads from each deep p-layer into the drift layer as well. Since each deep p-layer is in contact with the gate insulating film at the bottom of the trench, the drift layer around the bottom of the trench is depleted by the depletion layer spreading from each deep p-layer.
  • the depletion layer extending from each deep p layer to the periphery of the bottom surface of the trench suppresses the occurrence of electric field concentration in the gate insulating film and the drift layer around the bottom surface of the trench. Therefore, this field effect transistor has a high withstand voltage.
  • Patent Document 1 has a high on-resistance.
  • This specification proposes a technique for realizing low on-resistance in a field effect transistor having a plurality of p-type deep layers.
  • a field-effect transistor disclosed in the present specification includes a semiconductor substrate having a trench on its upper surface, a gate insulating film covering the inner surface of the trench, and a gate insulating film disposed in the trench. a gate electrode that is insulated.
  • the semiconductor substrate comprises an n-type source layer in contact with the gate insulating film on side surfaces of the trench, and a p-type body layer in contact with the gate insulating film on the side surfaces of the trench located below the source layer. , a plurality of p-type deep layers, a plurality of n-type deep layers, and a drift layer.
  • Each of the p-type deep layers protrudes downward from the body layer, extends from the body layer to below the bottom surface of the trench, and extends relative to the trench when the semiconductor substrate is viewed from above. extending along a first direction that intersects with the body layer, and are spaced apart in a second direction perpendicular to the first direction when the semiconductor substrate is viewed from above; The side surface of the trench located on the lower side and the bottom surface of the trench are in contact with the gate insulating film.
  • Each of the n-type deep layers is arranged in the corresponding space and is in contact with the gate insulating film on the side surface of the trench located below the body layer.
  • the drift layer is of n-type having a lower n-type impurity concentration than each of the n-type deep layers, and is in contact with the lower surfaces of the plurality of n-type deep layers.
  • Each of the p-type deep layers has a shape that is larger in the thickness direction of the semiconductor substrate than in the second direction.
  • Each of the n-type deep layers has a shape in which the dimension in the thickness direction of the semiconductor substrate is larger than the dimension in the second direction.
  • the "dimension in the second direction" of the p-type deep layer means the distance between both side surfaces of the p-type deep layer in the second direction.
  • the "dimension in the thickness direction of the semiconductor substrate" of the p-type deep layer is the distance in the thickness direction of the semiconductor substrate from the bottom surface of the body layer (that is, the top surface of the p-type deep layer) to the bottom surface of the p-type deep layer.
  • the "dimension in the second direction" of the n-type deep layer means the distance between both side surfaces of the n-type deep layer in the second direction.
  • the "dimension in the thickness direction of the semiconductor substrate" of the n-type deep layer is the distance in the thickness direction of the semiconductor substrate from the bottom surface of the body layer (that is, the top surface of the n-type deep layer) to the bottom surface of the n-type deep layer. means.
  • this field effect transistor has a plurality of p-type deep layers, electric field concentration around the bottom of the trench can be suppressed when the field effect transistor is turned off. Therefore, this field effect transistor has a high withstand voltage. Further, in this field effect transistor, an n-type deep layer having a higher n-type impurity concentration than the drift layer is provided between the plurality of p-type deep layers. Also, the dimension of the n-type deep layer in the thickness direction of the semiconductor substrate is larger than the dimension of the n-type deep layer in the second direction. That is, the n-type deep layer has a shape elongated in the vertical direction (that is, the thickness direction of the semiconductor substrate).
  • a wide range of the spacing portion is composed of the n-type deep layer.
  • this field effect transistor When this field effect transistor is turned on, electrons flow from the source layer to the drift layer via the channel and the n-type deep layer. Since the n-type deep layer is arranged in the space, a depletion layer extends from the p-type deep layers on both sides of the n-type deep layer. However, since the n-type deep layer has a high n-type impurity concentration, the width of the depletion layer extending from the p-type deep layer to the n-type deep layer is narrow. Therefore, a wide electron distribution path is ensured in the n-type deep layer. Therefore, the resistance of the space can be made lower than before. Therefore, according to the configuration of this field effect transistor, a low on-resistance can be achieved.
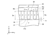
  • FIG. 2 is a cross-sectional perspective view of MOSFET 10; FIG. (The figure which shows the xz cross section which does not contain the p-type deep layer 36).
  • FIG. 2 is a cross-sectional perspective view of the MOSFET 10 with the source electrode 22 and the interlayer insulating film 20 omitted;
  • FIG. 2 is a plan view showing the arrangement of trenches 14 and p-type deep layers 36 when the semiconductor substrate 12 is viewed from above;
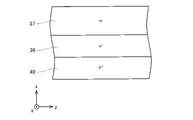
  • FIG. 2 is an enlarged cross-sectional view of a p-type deep layer 36 and an n-type deep layer 37;
  • FIG. 2 is a cross-sectional perspective view of the MOSFET 10 (a diagram showing the xz cross section including the p-type deep layer 36).
  • FIG. 4 is a diagram showing the distribution of depletion layers in the n-type deep layer 37 when the MOSFET 10 is on; 4 is a graph showing the relationship between the standard value Dn/Dp and the characteristics of the MOSFET 10;
  • FIG. 4 is an enlarged cross-sectional view of a p-type deep layer 36 and an n-type deep layer 37 of a MOSFET of a first modified example;
  • FIG. 4 is an enlarged cross-sectional view of a p-type deep layer 36 and an n-type deep layer 37 of a MOSFET of a second modification;
  • FIG. 11 is an enlarged cross-sectional view of a p-type deep layer 36 and an n-type deep layer 37 of a MOSFET of a third modified example;
  • the plurality of n-type deep layers may extend from the lower surface of the body layer to the depth of the lower surfaces of the plurality of p-type deep layers. In this case, the plurality of n-type deep layers may extend from the lower surface of the body layer to below the lower surfaces of the plurality of p-type deep layers.
  • the entire space can be composed of the n-type deep layer with a high n-type impurity concentration. Therefore, the on-resistance of the field effect transistor can be further reduced.
  • the plurality of n-type deep layers may be connected to each other via regions below the lower surfaces of the plurality of p-type deep layers.
  • the dimension of the n-type deep layer in the thickness direction of the semiconductor substrate is 1.07 times or less the dimension of the p-type deep layer in the thickness direction of the semiconductor substrate.
  • the MOSFET 10 metal-oxide-semiconductor field effect transistor
  • the thickness direction of the semiconductor substrate 12 is referred to as the z-direction
  • one direction parallel to the upper surface 12a of the semiconductor substrate 12 is referred to as the x-direction
  • the direction perpendicular to the x-direction and the z-direction. is called the y-direction.
  • the semiconductor substrate 12 is made of silicon carbide (that is, SiC).
  • the semiconductor substrate 12 may be made of other semiconductor materials such as silicon and gallium nitride.
  • a plurality of trenches 14 are provided in the upper surface 12 a of the semiconductor substrate 12 . As shown in FIG. 2, the plurality of trenches 14 elongate along the y direction on the upper surface 12a. The multiple trenches 14 are spaced apart in the x-direction.
  • each trench 14 is covered with a gate insulating film 16 .
  • a gate electrode 18 is disposed within each trench 14 .
  • Each gate electrode 18 is insulated from the semiconductor substrate 12 by a gate insulating film 16 .
  • the top surface of each gate electrode 18 is covered with an interlayer insulating film 20 .
  • a source electrode 22 is provided on the semiconductor substrate 12 .
  • a source electrode 22 covers each interlayer insulating film 20 .
  • the source electrode 22 is insulated from the gate electrode 18 by the interlayer insulating film 20 .
  • the source electrode 22 is in contact with the upper surface 12a of the semiconductor substrate 12 at a position where the interlayer insulating film 20 does not exist.
  • a drain electrode 24 is arranged below the semiconductor substrate 12 .
  • the drain electrode 24 is in contact with the entire lower surface 12 b of the semiconductor substrate 12 .
  • the semiconductor substrate 12 includes a plurality of source layers 30, a plurality of contact layers 32, a body layer 34, a plurality of p-type deep layers 36, a plurality of n-type deep layers 37, a drift layer 38, and a drain layer 40 .
  • Each source layer 30 is an n-type layer having a high n-type impurity concentration. Each source layer 30 is arranged in a range partially including the upper surface 12 a of the semiconductor substrate 12 . Each source layer 30 is in ohmic contact with the source electrode 22 . Each source layer 30 is in contact with the gate insulating film 16 at the uppermost side of the trench 14 . Each source layer 30 faces the gate electrode 18 with the gate insulating film 16 interposed therebetween. Each source layer 30 extends long in the y-direction along the side surface of the trench 14 .
  • Each contact layer 32 is a p-type layer having a high p-type impurity concentration. Each contact layer 32 is arranged in a range partially including the upper surface 12 a of the semiconductor substrate 12 . Each contact layer 32 is arranged between two corresponding source layers 30 . Each contact layer 32 is in ohmic contact with the source electrode 22 . Each contact layer 32 extends long in the y direction.
  • the body layer 34 is a p-type layer having a p-type impurity concentration lower than that of the contact layer 32 .
  • the body layer 34 is arranged below the plurality of source layers 30 and the plurality of contact layers 32 .
  • the body layer 34 is in contact with the plurality of source layers 30 and the plurality of contact layers 32 from below.
  • the body layer 34 is in contact with the gate insulating film 16 on the side surface of the trench 14 located below the source layer 30 .
  • the body layer 34 faces the gate electrode 18 with the gate insulating film 16 interposed therebetween.
  • Each p-type deep layer 36 is a p-type layer projecting downward from the lower surface of the body layer 34 .
  • the p-type impurity concentration of each p-type deep layer 36 is higher than the p-type impurity concentration of the body layer 34 and lower than the p-type impurity concentration of the contact layer 32 .
  • each p-type deep layer 36 extends long in the x-direction and is perpendicular to the trench 14 .
  • a plurality of p-type deep layers 36 are arranged at intervals in the y direction. A portion between the plurality of p-type deep layers 36 is hereinafter referred to as a spacing portion 39 . As shown in FIG.
  • the p-type deep layer 36 has a shape elongated in the z direction in the yz cross section. That is, the dimension of the p-type deep layer 36 in the z direction (hereinafter referred to as depth Dp) is larger than the dimension of the p-type deep layer 36 in the y direction (hereinafter referred to as width Wp). For example, the depth Dp can be 1-4 times the width Wp.
  • each p-type deep layer 36 extends from the bottom surface of the body layer 34 to a depth below the bottom surface of each trench 14 .
  • Each p-type deep layer 36 is in contact with the gate insulating film 16 on the side surface of the trench 14 located below the body layer 34 .
  • Each p-type deep layer 36 is in contact with the gate insulating film 16 at the bottom of the trench 14 .
  • Each p-type deep layer 36 faces the gate electrode 18 with the gate insulating film 16 interposed therebetween.
  • Each n-type deep layer 37 is an n-type layer having a higher n-type impurity concentration than the drift layer 38 .
  • the n-type impurity concentration of each n-type deep layer 37 is lower than the p-type impurity concentration of each p-type deep layer 36 .
  • each n-type deep layer 37 is arranged within a corresponding spacing portion 39 .
  • Each n-type deep layer 37 is in contact with the bottom surface of the body layer 34 .
  • Each n-type deep layer 37 is in contact with the side surfaces of the p-type deep layers 36 on both sides thereof.
  • Each n-type deep layer 37 extends from the bottom surface of the body layer 34 to below the bottom surface of each trench 14 and the bottom surface of each p-type deep layer 36 .
  • the n-type deep layer 37 in the spacing portion 39 has a shape elongated in the z direction in the yz cross section. That is, the dimension of the n-type deep layer 37 in the z-direction (hereinafter referred to as depth Dn) is larger than the dimension in the y-direction of the n-type deep layer 37 in the spacing portion 39 (hereinafter referred to as width Wn).
  • the depth Dn can be 1-4 times the width Wn.
  • the width Wn of the n-type deep layer 37 is approximately equal to the width Wp of the p-type deep layer 36 .
  • Each n-type deep layer 37 has a connection region 37a extending directly below the lower surface of the adjacent p-type deep layer 36 .
  • Each connection region 37 a is in contact with the lower surface of the corresponding p-type deep layer 36 .
  • Each n-type deep layer 37 is connected to each other through each connection region 37a.
  • the thickness T1 of the portion where the n-type deep layer 37 protrudes below the bottom surface of the p-type deep layer 36 is It is about 0.1 ⁇ m and extremely thin.
  • each n-type deep layer 37 is in contact with the gate insulating film 16 within each spacing portion 39 . That is, each n-type deep layer 37 is in contact with the gate insulating film 16 at the side surface of the trench 14 located below the body layer 34 and the bottom surface of the trench 14 .
  • the drift layer 38 is an n-type layer having an n-type impurity concentration lower than that of the source layer 30 .
  • the drift layer 38 is arranged below the n-type deep layer 37 .
  • the drift layer 38 is in contact with the n-type deep layer 37 from below.
  • the drain layer 40 is an n-type layer having a higher n-type impurity concentration than the drift layer 38 and the n-type deep layer 37 .
  • the drain layer 40 is in contact with the drift layer 38 from below.
  • the drain layer 40 is arranged in a range including the lower surface 12b of the semiconductor substrate 12 .
  • the drain layer 40 is in ohmic contact with the drain electrode 24 .
  • MOSFET 10 is fabricated from a semiconductor substrate entirely constituted by drain layer 40 .
  • the drift layer 38 is formed by epitaxial growth on the drain layer 40, and the n-type deep layer 37 is formed by ion-implanting n-type impurities into the surface layer portion of the formed drift layer 38.
  • a plurality of p-type deep layers 36 are formed in the n-type deep layer 37 by selectively implanting p-type impurity ions into the n-type deep layer 37 .
  • FIG. 6 the drift layer 38 is formed by epitaxial growth on the drain layer 40
  • the n-type deep layer 37 is formed by ion-implanting n-type impurities into the surface layer portion of the formed drift layer 38.
  • a plurality of p-type deep layers 36 are formed in the n-type deep layer 37 by selectively implanting p-type impurity ions into the n-type deep layer 37 .
  • the body layer 34 is epitaxially grown on the n-type deep layer 37 and the p-type deep layer 36 .
  • the step of forming the p-type deep layer 36 may be performed after the step of forming the body layer 34 .
  • the source layer 30 and the contact layer 32 are formed by selectively implanting n-type impurity ions and p-type impurity ions into the body layer 34 .
  • the trench 14, the gate insulating film 16, the gate electrode 18, the interlayer insulating film 20, the source electrode 22, and the drain electrode 24 are formed to complete the MOSFET 10.
  • the MOSFET 10 is used with the drain electrode 24 applied with a higher potential than the source electrode 22 .
  • a potential equal to or higher than the gate threshold is applied to each gate electrode 18, a channel is formed in the body layer 34 near the gate insulating film 16.
  • FIG. The channel connects the source layer 30 and the n-type deep layer 37 . Therefore, electrons flow from the source layer 30 to the drain layer 40 via the channel, the n-type deep layer 37 and the drift layer 38, as indicated by an arrow 100 in FIG. That is, the MOSFET 10 is turned on.
  • the potential of each gate electrode 18 is lowered from a value above the gate threshold to a value below the gate threshold, the channel disappears and electron flow stops. That is, the MOSFET 10 is turned off.
  • each p-type deep layer 36 is connected to the body layer 34 and has substantially the same potential as the body layer 34 . Therefore, when the channel disappears, a reverse voltage is also applied to the pn junction at the interface between each p-type deep layer 36 and each n-type deep layer 37 . Therefore, a depletion layer spreads from each p-type deep layer 36 to each n-type deep layer 37 as well. As shown in FIG.
  • each n-type deep layer 37 is entirely depleted by a depletion layer extending from the body layer 34 and each p-type deep layer 36 .
  • each n-type deep layer 37 has a lower n-type impurity concentration than the drift layer 38 , a depletion layer is less likely to spread in each n-type deep layer 37 than in the drift layer 38 .
  • each n-type deep layer 37 is sandwiched between p-type deep layers 36 and the width Wn of each n-type deep layer 37 is narrow, each n-type deep layer 37 is entirely depleted. Also, the depletion layer spreads to the drift layer 38 via each n-type deep layer 37 . Since the drift layer 38 has a low n-type impurity concentration, almost the entire drift layer 38 is depleted. A high voltage applied between the drain electrode 24 and the source electrode 22 is held by the depleted drift layer 38 and each n-type deep layer 37 . Therefore, MOSFET 10 has a high withstand voltage.
  • FIG. 9 shows the distribution of the depletion layer 90 within the n-type deep layer 37 when the MOSFET 10 is on.
  • the hatched area is the depletion layer 90 .
  • pn junction 70 no reverse voltage is applied to the pn junction (hereinafter referred to as pn junction 70) at the interface between the n-type deep layer 37 and the p-type deep layer 36.
  • the n-type deep layer 37 has a high n-type impurity concentration, the width Wd of the depletion layer 90 extending from the pn junction 70 into the n-type deep layer 37 is narrow. Therefore, the width We of the electron distribution path (that is, the n-type deep layer 37 that is not depleted) in the spacing portion 39 is wide. Therefore, the resistance of the n-type deep layer 37 is low when the MOSFET 10 is on. Therefore, MOSFET 10 has a low on-resistance.
  • FIG. 10 shows simulation results of the on-resistance and breakdown voltage of the MOSFET when the depth Dn of the n-type deep layer 37 is varied.
  • the horizontal axis indicates the standard value Dn/Dp obtained by dividing the depth Dn of the n-type deep layer 37 by the depth Dp of the p-type deep layer 36 .
  • Dn/Dp>1.00 the n-type deep layer 37 extends below the p-type deep layer 36 as shown in FIG.
  • Dn/Dp 1.00, as shown in FIG.
  • the lower end of the n-type deep layer 37 and the lower end of the p-type deep layer 36 are aligned.
  • Dn/Dp ⁇ 1.00 as shown in FIG.
  • the drift layer 38 extends into the space 39 (that is, the region 39a in FIG. 12).
  • the larger the standard value Dn/Dp the lower the on-resistance.
  • the reason why the on-resistance is high when the standard value Dn/Dp is small is that the n-type impurity concentration in the region 39a of FIG. This is probably because the width of the depletion layer extending from the layer 36 to the region 39a is wide, and the electron distribution path is narrow in the region 39a.
  • FIG. 10 the reason why the on-resistance is high when the standard value Dn/Dp is small is that the n-type impurity concentration in the region 39a of FIG. This is probably because the width of the depletion layer extending from the layer 36 to the region 39a is wide, and the electron distribution path is
  • the on-resistance can be relatively reduced when the standard value Dn/Dp is 0.67 or more, and the on-resistance can be further reduced when the standard value Dn/Dp is 1.0 or more. can be effectively reduced.
  • the breakdown voltage of the MOSFET is lowered. This is probably because the electric field tends to concentrate in the drift layer 38 when the thickness T1 of the portion where the n-type deep layer 37 protrudes downward from the lower surface of the p-type deep layer 36 increases.
  • a high breakdown voltage is obtained when the standard value Dn/Dp is 1.07 or less, and a more stable breakdown voltage is obtained when the standard value Dn/Dp is 1.03 or less.
  • each n-type deep layer 37 and each p-type deep layer 36 have a vertically long shape.
  • the capacitance that is, the feedback capacitance
  • the switching speed of the MOSFET 10 can be improved.
  • the depth of the n-type deep layer 37 was deeper than the depth of the p-type deep layer 36.
  • the depth of the n-type deep layer 37 may be equal to the depth of the p-type deep layer 36 as shown in FIG. 11 described above.
  • the depth of the p-type deep layer 36 may be deeper than the depth of the n-type deep layer 37 as shown in FIG. 12 described above.
  • each n-type deep layer 37 has a connection region 37a extending directly below the p-type deep layer 36. As shown in FIG. However, as shown in FIG. 13, the n-type deep layer 37 does not have to have the connection region 37a.
  • each p-type deep layer 36 crosses each trench 14 at right angles, but each p-type deep layer 36 may cross each trench 14 obliquely.

Landscapes

  • Engineering & Computer Science (AREA)
  • Chemical & Material Sciences (AREA)
  • Crystallography & Structural Chemistry (AREA)
  • Physics & Mathematics (AREA)
  • Condensed Matter Physics & Semiconductors (AREA)
  • General Physics & Mathematics (AREA)
  • Manufacturing & Machinery (AREA)
  • Computer Hardware Design (AREA)
  • Microelectronics & Electronic Packaging (AREA)
  • Power Engineering (AREA)
  • Insulated Gate Type Field-Effect Transistor (AREA)
  • Composite Materials (AREA)
PCT/JP2021/037475 2021-03-11 2021-10-08 電界効果トランジスタ Ceased WO2022190445A1 (ja)

Priority Applications (3)

Application Number Priority Date Filing Date Title
EP21930292.4A EP4307381A4 (en) 2021-03-11 2021-10-08 Field-effect transistor
CN202180095443.1A CN116982159A (zh) 2021-03-11 2021-10-08 场效应晶体管
US18/354,769 US20230361171A1 (en) 2021-03-11 2023-07-19 Field effect transistor

Applications Claiming Priority (2)

Application Number Priority Date Filing Date Title
JP2021039306A JP7517206B2 (ja) 2021-03-11 2021-03-11 電界効果トランジスタ
JP2021-039306 2021-03-11

Related Child Applications (1)

Application Number Title Priority Date Filing Date
US18/354,769 Continuation US20230361171A1 (en) 2021-03-11 2023-07-19 Field effect transistor

Publications (1)

Publication Number Publication Date
WO2022190445A1 true WO2022190445A1 (ja) 2022-09-15

Family

ID=83227727

Family Applications (1)

Application Number Title Priority Date Filing Date
PCT/JP2021/037475 Ceased WO2022190445A1 (ja) 2021-03-11 2021-10-08 電界効果トランジスタ

Country Status (5)

Country Link
US (1) US20230361171A1 (enExample)
EP (1) EP4307381A4 (enExample)
JP (3) JP7517206B2 (enExample)
CN (1) CN116982159A (enExample)
WO (1) WO2022190445A1 (enExample)

Families Citing this family (1)

* Cited by examiner, † Cited by third party
Publication number Priority date Publication date Assignee Title
WO2025190499A1 (en) * 2024-03-15 2025-09-18 Hitachi Energy Ltd Unit cell of a multi-trench semiconductor device and semiconductor device

Citations (5)

* Cited by examiner, † Cited by third party
Publication number Priority date Publication date Assignee Title
JP2005019528A (ja) * 2003-06-24 2005-01-20 Toyota Central Res & Dev Lab Inc 半導体装置とその製造方法
US20080009109A1 (en) * 2006-07-06 2008-01-10 International Business Machines Corporation Epitaxial filled deep trench structures
JP2009194065A (ja) 2008-02-13 2009-08-27 Denso Corp 炭化珪素半導体装置およびその製造方法
JP2011253837A (ja) * 2010-05-31 2011-12-15 Denso Corp 炭化珪素半導体装置およびその製造方法
JP2020119939A (ja) * 2019-01-21 2020-08-06 株式会社デンソー 半導体装置

Family Cites Families (12)

* Cited by examiner, † Cited by third party
Publication number Priority date Publication date Assignee Title
JP5369372B2 (ja) * 2005-11-28 2013-12-18 富士電機株式会社 半導体装置および半導体装置の製造方法
JP5201307B2 (ja) * 2005-12-22 2013-06-05 富士電機株式会社 半導体装置
JP4539680B2 (ja) * 2007-05-14 2010-09-08 株式会社デンソー 半導体装置およびその製造方法
US7943989B2 (en) * 2008-12-31 2011-05-17 Alpha And Omega Semiconductor Incorporated Nano-tube MOSFET technology and devices
JP5728992B2 (ja) * 2011-02-11 2015-06-03 株式会社デンソー 炭化珪素半導体装置およびその製造方法
US9515137B2 (en) * 2013-02-21 2016-12-06 Infineon Technologies Austria Ag Super junction semiconductor device with a nominal breakdown voltage in a cell area
JP6048317B2 (ja) * 2013-06-05 2016-12-21 株式会社デンソー 炭化珪素半導体装置
JP2015072999A (ja) * 2013-10-02 2015-04-16 株式会社デンソー 炭化珪素半導体装置
JP6409681B2 (ja) * 2015-05-29 2018-10-24 株式会社デンソー 半導体装置およびその製造方法
JP7190144B2 (ja) * 2018-11-29 2022-12-15 富士電機株式会社 超接合炭化珪素半導体装置および超接合炭化珪素半導体装置の製造方法
JP7505217B2 (ja) * 2019-05-15 2024-06-25 富士電機株式会社 超接合半導体装置および超接合半導体装置の製造方法
JP7439417B2 (ja) * 2019-09-03 2024-02-28 富士電機株式会社 超接合半導体装置および超接合半導体装置の製造方法

Patent Citations (5)

* Cited by examiner, † Cited by third party
Publication number Priority date Publication date Assignee Title
JP2005019528A (ja) * 2003-06-24 2005-01-20 Toyota Central Res & Dev Lab Inc 半導体装置とその製造方法
US20080009109A1 (en) * 2006-07-06 2008-01-10 International Business Machines Corporation Epitaxial filled deep trench structures
JP2009194065A (ja) 2008-02-13 2009-08-27 Denso Corp 炭化珪素半導体装置およびその製造方法
JP2011253837A (ja) * 2010-05-31 2011-12-15 Denso Corp 炭化珪素半導体装置およびその製造方法
JP2020119939A (ja) * 2019-01-21 2020-08-06 株式会社デンソー 半導体装置

Non-Patent Citations (1)

* Cited by examiner, † Cited by third party
Title
See also references of EP4307381A4

Also Published As

Publication number Publication date
US20230361171A1 (en) 2023-11-09
EP4307381A1 (en) 2024-01-17
JP2025159185A (ja) 2025-10-17
JP2022139078A (ja) 2022-09-26
CN116982159A (zh) 2023-10-31
EP4307381A4 (en) 2024-09-04
JP7517206B2 (ja) 2024-07-17
JP7736123B2 (ja) 2025-09-09
JP2024107477A (ja) 2024-08-08

Similar Documents

Publication Publication Date Title
US10546950B2 (en) Semiconductor device
US9093493B2 (en) Wide bandgap insulated gate semiconductor device
JP6367760B2 (ja) 絶縁ゲート型スイッチング装置とその製造方法
JP7750347B2 (ja) 電界効果トランジスタ
JP5900698B2 (ja) 半導体装置
US9748393B2 (en) Silicon carbide semiconductor device with a trench
US20230369484A1 (en) Field effect transistor
WO2023284481A1 (zh) 体栅横向双扩散金属氧化物半导体场效应管及其制作方法
WO2017094339A1 (ja) 炭化珪素半導体装置
WO2019186785A1 (ja) 炭化珪素半導体装置およびその製造方法
JP2025159185A (ja) 電界効果トランジスタ
JP2025122207A (ja) 半導体装置とその製造方法
JP2020123607A (ja) 半導体装置
JP2024137200A (ja) 電界効果トランジスタ
WO2024042814A1 (ja) 電界効果トランジスタ
US20240297223A1 (en) Silicon carbide semiconductor device
JP7628874B2 (ja) 半導体装置及びその製造方法
US20230163174A1 (en) Shielding Structure for Silicon Carbide Devices
JP2024131786A (ja) 半導体装置
WO2025187565A1 (ja) 半導体装置およびその製造方法
WO2024176583A1 (ja) 電界効果トランジスタの製造方法
WO2025192705A1 (ja) 半導体装置およびその製造方法

Legal Events

Date Code Title Description
121 Ep: the epo has been informed by wipo that ep was designated in this application

Ref document number: 21930292

Country of ref document: EP

Kind code of ref document: A1

WWE Wipo information: entry into national phase

Ref document number: 202180095443.1

Country of ref document: CN

WWE Wipo information: entry into national phase

Ref document number: 2021930292

Country of ref document: EP

NENP Non-entry into the national phase

Ref country code: DE

ENP Entry into the national phase

Ref document number: 2021930292

Country of ref document: EP

Effective date: 20231011