WO2022085338A1 - ガスセンサ - Google Patents

ガスセンサ Download PDF

Info

Publication number
WO2022085338A1
WO2022085338A1 PCT/JP2021/033669 JP2021033669W WO2022085338A1 WO 2022085338 A1 WO2022085338 A1 WO 2022085338A1 JP 2021033669 W JP2021033669 W JP 2021033669W WO 2022085338 A1 WO2022085338 A1 WO 2022085338A1
Authority
WO
WIPO (PCT)
Prior art keywords
base end
end side
disc spring
insulating insulator
insulator
Prior art date
Legal status (The legal status is an assumption and is not a legal conclusion. Google has not performed a legal analysis and makes no representation as to the accuracy of the status listed.)
Ceased
Application number
PCT/JP2021/033669
Other languages
English (en)
French (fr)
Japanese (ja)
Inventor
直人 小澤
Current Assignee (The listed assignees may be inaccurate. Google has not performed a legal analysis and makes no representation or warranty as to the accuracy of the list.)
Denso Corp
Original Assignee
Denso Corp
Priority date (The priority date is an assumption and is not a legal conclusion. Google has not performed a legal analysis and makes no representation as to the accuracy of the date listed.)
Filing date
Publication date
Application filed by Denso Corp filed Critical Denso Corp
Publication of WO2022085338A1 publication Critical patent/WO2022085338A1/ja
Priority to US18/304,667 priority Critical patent/US12360009B2/en
Anticipated expiration legal-status Critical
Ceased legal-status Critical Current

Links

Images

Classifications

    • GPHYSICS
    • G01MEASURING; TESTING
    • G01MTESTING STATIC OR DYNAMIC BALANCE OF MACHINES OR STRUCTURES; TESTING OF STRUCTURES OR APPARATUS, NOT OTHERWISE PROVIDED FOR
    • G01M15/00Testing of engines
    • G01M15/04Testing internal-combustion engines
    • G01M15/10Testing internal-combustion engines by monitoring exhaust gases or combustion flame
    • G01M15/102Testing internal-combustion engines by monitoring exhaust gases or combustion flame by monitoring exhaust gases
    • GPHYSICS
    • G01MEASURING; TESTING
    • G01NINVESTIGATING OR ANALYSING MATERIALS BY DETERMINING THEIR CHEMICAL OR PHYSICAL PROPERTIES
    • G01N27/00Investigating or analysing materials by the use of electric, electrochemical, or magnetic means
    • G01N27/26Investigating or analysing materials by the use of electric, electrochemical, or magnetic means by investigating electrochemical variables; by using electrolysis or electrophoresis
    • G01N27/403Cells and electrode assemblies
    • G01N27/406Cells and probes with solid electrolytes
    • G01N27/407Cells and probes with solid electrolytes for investigating or analysing gases
    • G01N27/409Oxygen concentration cells
    • GPHYSICS
    • G01MEASURING; TESTING
    • G01NINVESTIGATING OR ANALYSING MATERIALS BY DETERMINING THEIR CHEMICAL OR PHYSICAL PROPERTIES
    • G01N27/00Investigating or analysing materials by the use of electric, electrochemical, or magnetic means
    • G01N27/26Investigating or analysing materials by the use of electric, electrochemical, or magnetic means by investigating electrochemical variables; by using electrolysis or electrophoresis
    • G01N27/403Cells and electrode assemblies
    • G01N27/406Cells and probes with solid electrolytes
    • G01N27/407Cells and probes with solid electrolytes for investigating or analysing gases
    • G01N27/41Oxygen pumping cells
    • GPHYSICS
    • G01MEASURING; TESTING
    • G01NINVESTIGATING OR ANALYSING MATERIALS BY DETERMINING THEIR CHEMICAL OR PHYSICAL PROPERTIES
    • G01N27/00Investigating or analysing materials by the use of electric, electrochemical, or magnetic means
    • G01N27/26Investigating or analysing materials by the use of electric, electrochemical, or magnetic means by investigating electrochemical variables; by using electrolysis or electrophoresis
    • G01N27/416Systems

Definitions

  • This disclosure relates to gas sensors.
  • Patent Document 1 discloses a structure in which an insulator is pushed in the axial direction by an elastic member in order to stably hold the insulator.
  • Patent Document 1 also describes an embodiment in which an elastic member can be fixed to an insulating insulator. According to this description, the elastic member is fixed to the insulating insulator in a state where the inner peripheral surface of the substantially annular elastic member is pressed against the outer peripheral surface of a part of the insulating insulator.
  • the elastic member disclosed in Patent Document 1 is hollow and has a substantially C-shaped cross section orthogonal to the circumferential direction. Therefore, when the elastic member is compressed in the plug axial direction, the elastic member tends to be deformed so as to spread toward the inner peripheral side and the outer peripheral side in the radial direction. That is, when the insulating insulator to which the elastic member is fixed is assembled to other components of the gas sensor, the elastic member tries to be deformed so as to spread toward the inner peripheral side and the outer peripheral side in the radial direction. However, since the inner peripheral side of the elastic member is in contact with the insulating insulator, the deformation of the elastic member is hindered. Therefore, it becomes difficult to apply the load from the elastic member in the axial direction to the insulating insulator as intended.
  • the present disclosure is intended to provide a gas sensor capable of achieving both the ease of adjusting the load on the insulating insulator and the ease of assembling the gas sensor.
  • One aspect of the present disclosure is a sensor element that detects a specific gas concentration in the gas to be measured, and A housing in which the sensor element is arranged on the inner peripheral side, and Contact terminals that come into contact with the electrode terminals formed on the sensor element, Insulators that hold the contact terminals and A base end cover that is fixed to the base end side of the housing and covers the insulating insulator, It has a disc spring, which is arranged between the base end side cover and the insulating insulator and pushes the insulating insulator toward the tip side.
  • the insulating insulator has a base end side protrusion protruding toward the base end side, and also has an outer peripheral base end surface facing the base end side around the base end side protrusion.
  • the disc spring is in a gas sensor having an annular main body portion and a plurality of claw portions protruding from the inner peripheral end of the annular main body portion toward the proximal end side.
  • the disc spring has a plurality of the claws. Therefore, in the stage before assembling the gas sensor, a plurality of claws can be pressed against the side surface of the base end side protruding portion of the insulating insulator, and the disc spring can be attached to the insulating insulator.
  • the disc spring can be attached to the insulating insulator before assembling the gas sensor, the ease of assembling the gas sensor can be improved. Since the elastic deformation of the disc spring is not hindered, the load can be easily adjusted to the insulating insulator by the disc spring.
  • FIG. 1 is a cross-sectional view taken along the axial direction of the gas sensor in the first embodiment.
  • FIG. 2 is an enlarged cross-sectional view of the vicinity of the insulating insulator in the first embodiment.
  • FIG. 3 is a plan view of the disc spring in the first embodiment.
  • FIG. 4 is a cross-sectional view taken along the line IV-IV of FIG.
  • FIG. 5 is a cross-sectional view corresponding to a cross section taken along the line IV-IV of FIG. 3 of a disc spring having no flange.
  • FIG. 6 is a partial cross-sectional perspective view of the countersunk spring in the first embodiment.
  • FIG. 7 is a cross-sectional view of the tip side sub-assy in the first embodiment.
  • FIG. 8 is a cross-sectional view of the terminal portion sub-assy in the first embodiment.
  • FIG. 9 is a view taken along the line IX of FIG.
  • FIG. 10 is an explanatory view of the method of assembling the gas sensor in the first embodiment, and is a schematic cross-sectional view of a state immediately before elastically compressing the disc spring.
  • FIG. 11 is an explanatory view of the method of assembling the gas sensor in the first embodiment, and is a schematic cross-sectional view of a state in which the disc spring is elastically compressed.
  • FIG. 10 is an explanatory view of the method of assembling the gas sensor in the first embodiment, and is a schematic cross-sectional view of a state in which the disc spring is elastically compressed.
  • FIG. 12 is an explanatory view of the method of assembling the gas sensor in the first embodiment, and is another schematic cross-sectional view of the state in which the disc spring is elastically compressed.
  • FIG. 13 is a schematic view showing a state before and after elastic compression of the disc spring in the first embodiment.
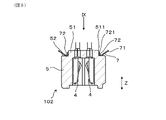
  • the gas sensor 1 of this embodiment has a sensor element 2, a housing 3, a contact terminal 4, an insulating insulator 5, a base end side cover 6, and a disc spring 7.
  • the sensor element 2 is an element that detects a specific gas concentration in the gas to be measured.
  • the sensor element 2 is arranged on the inner peripheral side of the housing 3.
  • the contact terminal 4 comes into contact with the electrode terminal 21 formed at the base end portion of the sensor element 2.
  • the insulating insulator 5 holds the contact terminal 4.
  • the base end side cover 6 is fixed to the base end side of the housing 3 and covers the insulating insulator 5.
  • the disc spring 7 is arranged between the base end side cover 6 and the insulating insulator 5, and pushes the insulating insulator 5 toward the tip side.
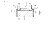
  • the insulating insulator 5 has a proximal end side projecting portion 51 projecting toward the proximal end side. Further, the insulating insulator 5 has an outer peripheral base end surface 52 facing the base end side around the base end side protrusion 51.
  • the disc spring 7 has an annular main body portion 71 and a plurality of claw portions 72. As shown in FIGS. 2 and 4, the claw portion 72 protrudes from the inner peripheral end of the annular main body portion 71 toward the base end side.
  • the protruding end 721 of the claw portion 72 of the disc spring 7 is separated from the base end side protruding portion 51. Further, the protruding end 721 of the claw portion 72 is located on the distal end side in the axial direction Z with respect to the proximal end of the proximal end side protruding portion 51 of the insulating insulator 5.
  • the gas sensor 1 can be installed in the exhaust pipe of the internal combustion engine of a vehicle, for example, to detect the gas of the exhaust gas flowing in the exhaust pipe.
  • the gas sensor 1 is attached to the exhaust pipe by screwing the mounting screw portion 31 of the housing 3 into the female screw provided in the exhaust pipe.
  • the side inserted into the exhaust pipe is referred to as the tip end side, and the opposite side thereof is referred to as the base end side.
  • the gas sensor 1 of the present embodiment has an element holder 11 that holds the sensor element 2.
  • the element holder 11 is held on the inner peripheral side of the housing 3 while the sensor element 2 is inserted and held.
  • the element holder 11 is made of, for example, an insulating member such as ceramic.
  • the material of the element holder 11 is not particularly limited, and may be made of metal, for example.
  • the tip of the insulating insulator 5 and the base end of the element holder 11 are in contact with each other in the axial direction Z. That is, the insulating insulator 5 is sandwiched between the disc spring 7 and the element holder 11. Then, the elastically deformed disc spring 7 presses the insulating insulator 5 against the element holder 11 in the axial direction Z by the restoring force. As a result, the insulating insulator 5 is stably arranged in the base end side cover 6.
  • the base end side cover 6 is fixed to the base end portion of the housing 3 by welding or the like.
  • the base end side cover 6 is formed in a cylindrical shape so as to cover the insulating insulator 5.
  • the base end side cover 6 has a stepped portion 61 whose inner surface faces the tip end side at an axial position near the base end portion of the insulating insulator 5.
  • the outer peripheral end of the disc spring 7 is supported by the step portion 61. Then, a part of the vicinity of the inner peripheral end of the disc spring 7 is in contact with the outer peripheral base end surface 52 of the insulating insulator 5. In this way, the disc spring 7 is interposed between the base end side cover 6 and the insulating insulator 5.
  • the insulating insulator 5 is made of, for example, a ceramic such as alumina.
  • the insulating insulator 5 houses and holds a plurality of contact terminals 4 inside.
  • the contact terminal 4 is in pressure contact with the electrode terminal 21 of the sensor element 2.
  • the electrode terminal 21 is electrically connected to a sensor cell (not shown) of the sensor element 2.
  • Each contact terminal 4 is connected to the lead wire 12 by penetrating the base end portion thereof to the base end side of the insulating insulator 5. As shown in FIG. 1, the lead wire 12 penetrates the rubber bush 13 provided at the base end portion of the base end side cover 6 and extends to the outside.
  • the tip side cover 16 is fixed to the tip end side of the housing 3.
  • the tip side cover 16 is formed so as to cover the tip portion of the sensor element 2.
  • the front end side cover 16 is formed with a ventilation hole 161 through which the gas to be measured passes.
  • the tip side cover 16 has a double structure.
  • FIG. 4, and FIG. 6 show the shape of the disc spring 7 in the free state.
  • the annular main body 71 is formed in an annular shape.
  • the annular main body 71 is inclined toward the proximal end side toward the outer peripheral side.
  • a plurality of claw portions 72 project from the inner peripheral end of the annular main body portion 71.
  • Each claw portion 72 protrudes from the inner peripheral end of the annular main body portion 71 toward the inner peripheral side and is curved and protrudes toward the base end side.
  • the claw portion 72 is inclined toward the inner peripheral side toward the proximal end side.
  • the disc spring 7 has a flange portion 73 protruding from the inner peripheral end of the annular main body portion 71 toward the inner peripheral side.
  • the flange portion 73 is in contact with the outer peripheral base end surface 52 of the insulating insulator 5 (see FIG. 12).
  • the flange portion 73 is formed in a planar shape substantially orthogonal to the axial direction Z in the free state.
  • a slit 74 is formed between the claw portion 72 and the flange portion 73 in the circumferential direction of the disc spring 7.
  • a plurality of flange portions 73 are formed side by side in the circumferential direction between two claw portions 72 adjacent to each other in the circumferential direction of the disc spring 7.
  • two flange portions 73 are formed side by side in the circumferential direction between two adjacent claw portions 72.
  • a slit 740 is formed between the two flanges 73. As shown in FIG.
  • the root portion 722 and the flange portion 73 of the claw portion 72 branched from the annular main body portion 71 is slightly closer to the tip end side in the axial direction Z (that is, than the inner peripheral end of the annular main body portion 71). , The lower side of FIG. 4).
  • the claw portion 72 is formed so as to protrude toward the proximal end side in the axial direction Z after slightly protruding toward the tip end side in the axial direction Z at the root portion 722 branching from the annular main body portion 71. Therefore, if the flange portion 73 is not provided, as shown in FIG.
  • the disc spring 7 is made of a material that can secure sufficient spring characteristics even in a high temperature environment in the exhaust system of an internal combustion engine.
  • the material of the disc spring 7 for example, alloys such as Inconel 718, Inconel X750, Inconel 600, SUS310, and SUS304 can be used. Inconel is a registered trademark.
  • the plate thickness of the disc spring 7 can be, for example, about 0.2 to 1.1 mm.
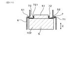
  • the tip side cover 16 and the element holder 11 holding the sensor element 2 are fixed to the housing 3, and the tip side sub-assy 101 is assembled.
  • the contact terminal 4 is assembled to the insulating insulator 5, and the disc spring 7 is attached to the insulating insulator 5 to assemble the contact portion sub-assy 102.
  • the disc spring 7 shown in FIGS. 3, 4, and 6 is attached to the outer periphery of the base end side projecting portion 51 of the insulating insulator 5, as shown in FIGS. 8 and 9. .. That is, the base end side protruding portion 51 is fitted inside the disc spring 7. At this time, the plurality of claws 72 of the disc spring 7 are in pressure contact with the outer peripheral surface of the base end side protruding portion 51.
  • each claw portion 72 is slightly elastically deformed, and the diameter of the inscribed circle of the protruding ends 721 of the plurality of claw portions 72 is slightly wider than in the free state.
  • the diameter of the inscribed circle of the protruding ends 721 of the plurality of claws 72 in the disc spring 7 in the free state is slightly smaller than the diameter of the base end side protruding portion 51 of the insulating insulator 5. Therefore, as described above, the plurality of claws 72 are pressed against the base end side protrusion 51, and the disc spring 7 is attached to the insulating insulator 5.
  • the claw portion 72 is inclined toward the inner peripheral side toward the proximal end side. Then, the protruding end 721 of the claw portion 72 is in pressure contact with the side surface of the base end side protruding portion 51 of the insulating insulator 5.
  • the corner portion of the proximal end of the proximal end side protruding portion 51 has a chamfered portion 511. Therefore, the protruding end 721 of the claw portion 72 is in contact with the side surface of the base end side protruding portion 51 on the tip end side in the axial direction Z with respect to the chamfered portion 511.
  • the disc spring 7 is also brought into contact with the outer peripheral base end surface 52 of the insulating insulator 5. At this time, the flange portion 73 also comes into contact with the outer peripheral base end surface 52 together with the root portion of the claw portion 72. At the stage of assembling the contact portion sub-assy 102, the disc spring 7 does not necessarily have to be in contact with the outer peripheral base end surface 52. That is, the contact of the disc spring 7 with the outer peripheral base end surface 52 can be realized when the disc spring 7 is subsequently elastically compressed.
  • the contact portion sub-assy 102 shown in FIGS. 8 and 9 is assembled. It is also possible to connect the lead wire 12 to the contact terminal 4 at the stage of the contact portion sub-assy 102. Further, as shown in FIGS. 9 and 12, the flange portion 73 does not come into contact with the base end side protruding portion 51 before or after elastic compression of the disc spring 7.
  • the contact portion sub-assy 102 is arranged on the base end side of the tip-side sub-assy 101.
  • the tip of the insulating insulator 5 comes into contact with the base end of the element holder 11.
  • the base end side cover 6 is covered from the base end side so that the base end side cover 6 covers the outer periphery of the contact portion sub-assy 102.
  • the step portion 61 of the base end side cover 6 abuts on the disc spring 7 in the contact portion sub-assy 102 from the base end side in the axial direction Z.
  • the step portion 61 abuts on the outer peripheral end of the annular main body portion 71 of the disc spring 7.
  • the step portion 61 abuts over the entire circumference of the outer peripheral edge of the annular main body portion 71.
  • the angle of the claw portion 72 changes as well as the angle of the annular main body 71.
  • the shape shown by the solid line shows the state before the elastic deformation
  • the shape shown by the broken line shows the state after the elastic deformation.
  • the vicinity of the inner peripheral end of the annular main body 71 and the vicinity of the root of the claw portion 72 becomes the fulcrum P, and the outer peripheral end of the annular main body 71 is deformed toward the tip side.
  • the protruding end 721 of the claw portion 72 moves toward the outer peripheral side, or the pressure contact force of the claw portion 72 with the base end side protruding portion 51 decreases.
  • the protruding end 721 of the claw portion 72 remains until the deformed portion is restored. , Remains in contact with the proximal end side protrusion 51. After the above deformation is restored, the protruding end 721 of the claw portion 72 is displaced toward the outer peripheral side due to the deformation of the annular main body portion 71. As a result, as shown in FIG. 11, the protruding end 721 of the claw portion 72 is separated from the base end side protruding portion 51. Therefore, the compressive deformation of the disc spring 7 is not hindered by the presence of the claw portion 72. As a result, the restoring force corresponding to the elastic compression amount of the disc spring 7 acts on the insulating insulator 5, and it becomes easy to adjust the load as intended.
  • the base end side cover 6 With the base end side cover 6 pushed in to a predetermined position, the base end side cover 6 is fixed to the housing 3 by welding or the like. As a result, the gas sensor 1 shown in FIG. 1 is obtained.
  • the disc spring 7 has a plurality of claws 72. Therefore, in the stage before assembling the gas sensor 1, the disc spring 7 can be attached to the insulating insulator 5 by pressing the plurality of claws 72 against the side surface of the base end side protruding portion 51 of the insulating insulator 5.
  • the disc spring 7 can be attached to the insulating insulator 5 before assembling the gas sensor 1, the ease of assembling the gas sensor 1 can be improved. Since the elastic deformation of the disc spring 7 is not hindered, the load of the insulating insulator 5 can be easily adjusted by the disc spring 7.
  • the disc spring 7 has a flange portion 73, and the flange portion 73 is in contact with the outer peripheral base end surface 52. Therefore, the contact area where the disc spring 7 abuts on the outer peripheral base end surface 52 of the insulating insulator 5 can be increased. That is, since the contact portion of the disc spring 7 with respect to the outer peripheral base end surface 52 can be provided not only at the root portion of the claw portion 72 but also at the flange portion 73, it is easy to increase the contact area. As a result, it is possible to prevent the load from acting locally on the insulating insulator 5.
  • a slit 74 is formed between the claw portion 72 and the flange portion 73 in the circumferential direction of the disc spring 7.
  • a plurality of flange portions 73 are formed side by side in the circumferential direction between two claw portions 72 adjacent to each other in the circumferential direction of the disc spring 7. As a result, it is easy to increase the contact area between the outer peripheral base end surface 52 of the insulating insulator 5 and the disc spring 7 while suppressing the spring constant of the disc spring 7 from becoming too high due to the provision of the flange portion 73.
  • the protruding end 721 of the claw portion 72 is separated from the base end side protruding portion 51. Therefore, it is possible to more reliably prevent the interference between the claw portion 72 and the base end side projecting portion 51 of the insulating insulator 5 from hindering the elastic deformation of the disc spring 7.
  • the insulating insulator 5 is in contact with the element holder 11, but the insulating insulator 5 may be in contact with another member such as the housing 3. Further, in the above embodiment, the element holder 11 holding the sensor element 2 is fixed to the housing 3, but the sensor element may be directly held by the housing. Further, in the above embodiment, the number of claws 72 in the disc spring 7 is set to 4, but the number of claws may be a plurality and is not limited. However, from the viewpoint of stability, the number of claws is preferably 3 or more.

Landscapes

  • Chemical & Material Sciences (AREA)
  • Health & Medical Sciences (AREA)
  • Life Sciences & Earth Sciences (AREA)
  • General Physics & Mathematics (AREA)
  • Physics & Mathematics (AREA)
  • Combustion & Propulsion (AREA)
  • Engineering & Computer Science (AREA)
  • Biochemistry (AREA)
  • Analytical Chemistry (AREA)
  • General Health & Medical Sciences (AREA)
  • Electrochemistry (AREA)
  • Immunology (AREA)
  • Pathology (AREA)
  • Chemical Kinetics & Catalysis (AREA)
  • Molecular Biology (AREA)
  • Measuring Oxygen Concentration In Cells (AREA)
PCT/JP2021/033669 2020-10-22 2021-09-14 ガスセンサ Ceased WO2022085338A1 (ja)

Priority Applications (1)

Application Number Priority Date Filing Date Title
US18/304,667 US12360009B2 (en) 2020-10-22 2023-04-21 Gas sensor

Applications Claiming Priority (2)

Application Number Priority Date Filing Date Title
JP2020177372A JP7298584B2 (ja) 2020-10-22 2020-10-22 ガスセンサ
JP2020-177372 2020-10-22

Related Child Applications (1)

Application Number Title Priority Date Filing Date
US18/304,667 Continuation US12360009B2 (en) 2020-10-22 2023-04-21 Gas sensor

Publications (1)

Publication Number Publication Date
WO2022085338A1 true WO2022085338A1 (ja) 2022-04-28

Family

ID=81289739

Family Applications (1)

Application Number Title Priority Date Filing Date
PCT/JP2021/033669 Ceased WO2022085338A1 (ja) 2020-10-22 2021-09-14 ガスセンサ

Country Status (3)

Country Link
US (1) US12360009B2 (enExample)
JP (1) JP7298584B2 (enExample)
WO (1) WO2022085338A1 (enExample)

Cited By (1)

* Cited by examiner, † Cited by third party
Publication number Priority date Publication date Assignee Title
CN116799380A (zh) * 2023-08-24 2023-09-22 深圳海辰储能控制技术有限公司 电池单体及用电设备

Citations (8)

* Cited by examiner, † Cited by third party
Publication number Priority date Publication date Assignee Title
JPS6117951A (ja) * 1984-06-27 1986-01-25 ローベルト・ボツシユ・ゲゼルシヤフト・ミツト・ベシユレンクテル・ハフツング 酸素センサ
JPH066774U (ja) * 1992-07-03 1994-01-28 株式会社協豊製作所 軸方向制動装置の皿ばね状締付部材
JP2004324722A (ja) * 2003-04-23 2004-11-18 Ochiai:Kk 皿状バネ及び皿状バネを使用した固定構造
JP2005208036A (ja) * 2003-12-24 2005-08-04 Denso Corp ガスセンサ
JP2010084892A (ja) * 2008-10-01 2010-04-15 Aisin Seiki Co Ltd 皿バネ組付体
JP2016121964A (ja) * 2014-12-25 2016-07-07 株式会社デンソー ガスセンサ
JP2017089792A (ja) * 2015-11-12 2017-05-25 中央発條株式会社 皿ばね
CN211263287U (zh) * 2019-01-24 2020-08-14 苏州工业园区传世汽车电子有限公司 一种氧传感器

Family Cites Families (3)

* Cited by examiner, † Cited by third party
Publication number Priority date Publication date Assignee Title
JP2004198360A (ja) 2002-12-20 2004-07-15 Denso Corp ガスセンサ
DE102004062189B4 (de) 2003-12-24 2018-10-11 Denso Corporation Aufbau eines Gassensors zur Verminderung mechanischer Beschädigung des Sensorelements
JP4838274B2 (ja) 2007-03-06 2011-12-14 日立オートモティブシステムズ株式会社 ガスセンサ

Patent Citations (8)

* Cited by examiner, † Cited by third party
Publication number Priority date Publication date Assignee Title
JPS6117951A (ja) * 1984-06-27 1986-01-25 ローベルト・ボツシユ・ゲゼルシヤフト・ミツト・ベシユレンクテル・ハフツング 酸素センサ
JPH066774U (ja) * 1992-07-03 1994-01-28 株式会社協豊製作所 軸方向制動装置の皿ばね状締付部材
JP2004324722A (ja) * 2003-04-23 2004-11-18 Ochiai:Kk 皿状バネ及び皿状バネを使用した固定構造
JP2005208036A (ja) * 2003-12-24 2005-08-04 Denso Corp ガスセンサ
JP2010084892A (ja) * 2008-10-01 2010-04-15 Aisin Seiki Co Ltd 皿バネ組付体
JP2016121964A (ja) * 2014-12-25 2016-07-07 株式会社デンソー ガスセンサ
JP2017089792A (ja) * 2015-11-12 2017-05-25 中央発條株式会社 皿ばね
CN211263287U (zh) * 2019-01-24 2020-08-14 苏州工业园区传世汽车电子有限公司 一种氧传感器

Cited By (2)

* Cited by examiner, † Cited by third party
Publication number Priority date Publication date Assignee Title
CN116799380A (zh) * 2023-08-24 2023-09-22 深圳海辰储能控制技术有限公司 电池单体及用电设备
CN116799380B (zh) * 2023-08-24 2023-10-17 深圳海辰储能控制技术有限公司 电池单体及用电设备

Also Published As

Publication number Publication date
JP7298584B2 (ja) 2023-06-27
US20230258533A1 (en) 2023-08-17
US12360009B2 (en) 2025-07-15
JP2022068601A (ja) 2022-05-10

Similar Documents

Publication Publication Date Title
US7032433B2 (en) Sensor, sensor producing method, and assembly of separator and urging member
US20080295576A1 (en) Gas sensor having insulator assembly for supporting heater
JP2001311713A (ja) ガスセンサ
WO2015076223A1 (ja) ガスセンサ
JP4241432B2 (ja) センサ
US5759365A (en) Oxygen concentration sensor
WO2022085338A1 (ja) ガスセンサ
JP4706491B2 (ja) ガスセンサ
US7524407B2 (en) Gas sensor
US20160209351A1 (en) Sensor
US7178382B2 (en) Structure of gas sensor designed to reduce mechanical damage to sensor element
JP2000258384A (ja) ガスセンサ
JP2005072007A (ja) 測定ガスの物理的特性を特定するための測定センサ
WO2005012895A1 (ja) ガスセンサ、ガスセンサキャップ、及びガスセンサユニット
JP5947726B2 (ja) ガスセンサ
JP2013246093A (ja) ガスセンサ
JP4644051B2 (ja) センサ
JP5099786B2 (ja) ガスセンサ
CN113557428B (zh) 气体传感器
JP2006153702A (ja) ガスセンサ
JPH0612527Y2 (ja) 酸素センサ
JP2025014950A (ja) ガスセンサ
JP2000241380A (ja) ガスセンサ
JP4187025B2 (ja) 酸素センサー
JP2000097900A (ja) ガスセンサ

Legal Events

Date Code Title Description
121 Ep: the epo has been informed by wipo that ep was designated in this application

Ref document number: 21882479

Country of ref document: EP

Kind code of ref document: A1

NENP Non-entry into the national phase

Ref country code: DE

122 Ep: pct application non-entry in european phase

Ref document number: 21882479

Country of ref document: EP

Kind code of ref document: A1