WO2021182257A1 - プログラム、端末及びゲーム管理装置 - Google Patents

プログラム、端末及びゲーム管理装置 Download PDF

Info

Publication number
WO2021182257A1
WO2021182257A1 PCT/JP2021/008286 JP2021008286W WO2021182257A1 WO 2021182257 A1 WO2021182257 A1 WO 2021182257A1 JP 2021008286 W JP2021008286 W JP 2021008286W WO 2021182257 A1 WO2021182257 A1 WO 2021182257A1
Authority
WO
WIPO (PCT)
Prior art keywords
deck
player
information
game
introduction
Prior art date
Legal status (The legal status is an assumption and is not a legal conclusion. Google has not performed a legal analysis and makes no representation as to the accuracy of the status listed.)
Ceased
Application number
PCT/JP2021/008286
Other languages
English (en)
French (fr)
Japanese (ja)
Inventor
孝 名倉
英斗 小谷
奈緒 山口
真彦 齊藤
賢秀 李
Current Assignee (The listed assignees may be inaccurate. Google has not performed a legal analysis and makes no representation or warranty as to the accuracy of the list.)
Bandai Co Ltd
Original Assignee
Bandai Co Ltd
Priority date (The priority date is an assumption and is not a legal conclusion. Google has not performed a legal analysis and makes no representation as to the accuracy of the date listed.)
Filing date
Publication date
Application filed by Bandai Co Ltd filed Critical Bandai Co Ltd
Publication of WO2021182257A1 publication Critical patent/WO2021182257A1/ja
Anticipated expiration legal-status Critical
Ceased legal-status Critical Current

Links

Images

Classifications

    • AHUMAN NECESSITIES
    • A63SPORTS; GAMES; AMUSEMENTS
    • A63FCARD, BOARD, OR ROULETTE GAMES; INDOOR GAMES USING SMALL MOVING PLAYING BODIES; VIDEO GAMES; GAMES NOT OTHERWISE PROVIDED FOR
    • A63F13/00Video games, i.e. games using an electronically generated display having two or more dimensions
    • A63F13/50Controlling the output signals based on the game progress
    • A63F13/53Controlling the output signals based on the game progress involving additional visual information provided to the game scene, e.g. by overlay to simulate a head-up display [HUD] or displaying a laser sight in a shooting game
    • AHUMAN NECESSITIES
    • A63SPORTS; GAMES; AMUSEMENTS
    • A63FCARD, BOARD, OR ROULETTE GAMES; INDOOR GAMES USING SMALL MOVING PLAYING BODIES; VIDEO GAMES; GAMES NOT OTHERWISE PROVIDED FOR
    • A63F13/00Video games, i.e. games using an electronically generated display having two or more dimensions
    • A63F13/60Generating or modifying game content before or while executing the game program, e.g. authoring tools specially adapted for game development or game-integrated level editor
    • A63F13/69Generating or modifying game content before or while executing the game program, e.g. authoring tools specially adapted for game development or game-integrated level editor by enabling or updating specific game elements, e.g. unlocking hidden features, items, levels or versions
    • AHUMAN NECESSITIES
    • A63SPORTS; GAMES; AMUSEMENTS
    • A63FCARD, BOARD, OR ROULETTE GAMES; INDOOR GAMES USING SMALL MOVING PLAYING BODIES; VIDEO GAMES; GAMES NOT OTHERWISE PROVIDED FOR
    • A63F13/00Video games, i.e. games using an electronically generated display having two or more dimensions
    • A63F13/70Game security or game management aspects
    • A63F13/79Game security or game management aspects involving player-related data, e.g. identities, accounts, preferences or play histories
    • AHUMAN NECESSITIES
    • A63SPORTS; GAMES; AMUSEMENTS
    • A63FCARD, BOARD, OR ROULETTE GAMES; INDOOR GAMES USING SMALL MOVING PLAYING BODIES; VIDEO GAMES; GAMES NOT OTHERWISE PROVIDED FOR
    • A63F13/00Video games, i.e. games using an electronically generated display having two or more dimensions
    • A63F13/80Special adaptations for executing a specific game genre or game mode
    • AHUMAN NECESSITIES
    • A63SPORTS; GAMES; AMUSEMENTS
    • A63FCARD, BOARD, OR ROULETTE GAMES; INDOOR GAMES USING SMALL MOVING PLAYING BODIES; VIDEO GAMES; GAMES NOT OTHERWISE PROVIDED FOR
    • A63F13/00Video games, i.e. games using an electronically generated display having two or more dimensions
    • A63F13/85Providing additional services to players
    • A63F13/87Communicating with other players during game play, e.g. by e-mail or chat
    • GPHYSICS
    • G06COMPUTING OR CALCULATING; COUNTING
    • G06FELECTRIC DIGITAL DATA PROCESSING
    • G06F13/00Interconnection of, or transfer of information or other signals between, memories, input/output devices or central processing units
    • GPHYSICS
    • G06COMPUTING OR CALCULATING; COUNTING
    • G06QINFORMATION AND COMMUNICATION TECHNOLOGY [ICT] SPECIALLY ADAPTED FOR ADMINISTRATIVE, COMMERCIAL, FINANCIAL, MANAGERIAL OR SUPERVISORY PURPOSES; SYSTEMS OR METHODS SPECIALLY ADAPTED FOR ADMINISTRATIVE, COMMERCIAL, FINANCIAL, MANAGERIAL OR SUPERVISORY PURPOSES, NOT OTHERWISE PROVIDED FOR
    • G06Q50/00Information and communication technology [ICT] specially adapted for implementation of business processes of specific business sectors, e.g. utilities or tourism

Definitions

  • the present invention relates to a program, a terminal and a game management device.
  • SNS Social Network Service
  • Many SNS are almost always used as a communication platform for exchanging messages between members.
  • services are provided by introducing and providing new games requested by users (for example, Patent Document 1).
  • An object of the present invention is to provide a program, a terminal, and a game management device that improve the interest of a game by using an SNS (Social Network Service).
  • SNS Social Network Service
  • One aspect of the present invention is a program for executing a game played by a player using a first game element, wherein a computer can set a deck of a player composed of the first game element, and a deck setting means. It is a program that functions as a providing means for providing introduction deck information about an introduction deck to be introduced to other players among the set decks to a social network service capable of sharing information between players.
  • a deck setting means capable of setting a player's deck composed of a first game element and introduction deck information regarding an introduction deck to be introduced to another player among the set decks are provided between players. It is a terminal provided with a providing means for providing a social network service capable of sharing information.
  • One aspect of the present invention is a game management device that manages a game played by a player using the first game element, and is a deck setting permission means for permitting the setting of a player's deck having the first game element as a component.
  • a game management device including an access information generating means for generating access information for accessing the referral deck information about the referral deck to be introduced to other players among the decks permitted to be set, and transmitting the access information to the terminal of the player. Is.
  • the present invention can provide a game with improved interest of a user who is a player.
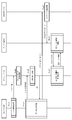
  • FIG. 1 is a diagram showing an example of the overall configuration of the game system according to the present embodiment.
  • FIG. 2 is a diagram showing an example of a device configuration of a smartphone, which is an example of a player terminal 1.
  • FIG. 3 is a block diagram showing a functional configuration example of the player terminal 1.
  • FIG. 4 is a diagram showing an example of possessed card data D1.
  • FIG. 5 is a diagram showing an example of the card character data D2.
  • FIG. 6 is a diagram showing an example of deck setting data D3.
  • FIG. 7 is a diagram showing an example of the buddy setting data D4 of the player A.
  • FIG. 8 is a block diagram showing a functional configuration example of the game server 2.
  • FIG. 9 is a diagram showing an example of user information data D6.
  • FIG. 10 is an overall sequence diagram for explaining the operations of the player terminal 1, the game server 2, and the SNS server 3.
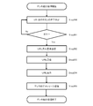
  • FIG. 11 is a flowchart of the deck knitting process (Step 1).
  • FIG. 12 is an example of the screen of My Deck that displays a list of decks.
  • FIG. 13 is an example of a deck organization screen displayed on the player terminal 1.
  • FIG. 14 shows an example in which the color of the displayed card is changed depending on the player's card holding.
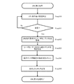
  • FIG. 15 is a flowchart of the deck introduction process (Step 3).
  • FIG. 16 is a display example of a URL indicating the access destination (link destination) of the introduction deck displayed on the deck organization screen.
  • FIG. 17 is a diagram showing an example of an SNS message with a URL.
  • FIG. 18 is a flowchart of the URL issuing process (Step 4).
  • FIG. 19 is a flowchart of the introduction deck organization process (Step 6).
  • FIG. 20 is a sequence diagram of the second embodiment.
  • FIG. 21 is a flowchart of the introduction deck trial terminal processing (Step 8).
  • FIG. 22 is an example of a screen for selecting a trial method of the introduction deck on the deck organization screen of the introduction deck.
  • FIG. 23 is a flowchart of the introduction deck trial server processing (Step 9).
  • FIG. 24 is an example of displaying a mark indicating that the introduction deck is being used.
  • FIG. 1 is a diagram showing an example of the overall configuration of the game system according to the present embodiment.
  • the game system includes a player terminal 1 prepared for each player A and B of the game, a game server 2, and an SNS server 3.
  • the player terminal 1, the game server 2, and the SNS server 3 can be connected to the communication line N and can communicate with each other.
  • Communication line N means a communication path capable of data communication. That is, the communication line N includes a telephone communication network, a cable network, a communication network such as the Internet, as well as a LAN by a dedicated line (dedicated cable) for direct connection and Ethernet (registered trademark), and the communication method is wired. / Regardless of wireless.
  • the player terminal 1 is a computer capable of executing a game program, and can be connected to a communication line N via a wireless communication base station or the like to perform data communication with the game server 2 and the SNS server 3.
  • the player terminal 1 is, for example, a smartphone, a mobile phone, a portable game device, a stationary home-use game device, a business-use game device, a personal computer, a tablet computer, a controller of a stationary home-use game device, or the like. Basically, there are a plurality of player terminals 1, and each player operates them.
  • FIG. 2 is a diagram showing an example of a device configuration of a smartphone, which is an example of the player terminal 1.
  • the player terminal 1 includes a display 11, a touch operation panel 12 integrally configured with the display 11, and a speaker 13. Further, the player terminal 1 is provided with a control board, a built-in battery, a power button, a volume control button, and the like (not shown).
  • the control board is equipped with various microprocessors such as CPU, GPU, and DSP, various IC memories such as ASIC, VRAM, RAM, and ROM, and a wireless communication module for wireless communication with a mobile phone base station. Further, a so-called I / F circuit (interface circuit) or the like, such as a driver circuit of the touch operation panel 12, is mounted on the control board. Each element mounted on these control boards is electrically connected via a bus circuit or the like, and is connected so as to be able to read / write data and send / receive signals.
  • I / F circuit interface circuit
  • the game server 2 is a server system configured to include one or more server devices, storage devices, and the like.
  • the game server 2 provides various services for operating the game of the present embodiment, manages data necessary for operating the game, distributes game programs and data necessary for executing the game on the player terminal 1, and the like. It can be performed.
  • the SNS server 3 consists of a Web server that provides a social network service (SNS) to each member, and each player activates an SNS application from a player terminal 1 (including a mobile phone, a smartphone, a tablet, a PC, etc.).
  • a player terminal 1 including a mobile phone, a smartphone, a tablet, a PC, etc.
  • SNS social network service
  • the SNS screen is displayed on the display 11 of the player terminal 1.
  • the authentication method and the like do not necessarily require password input.
  • basic functions as an SNS application for example, input and display of one's own status, and message exchange with other users are included.
  • As the message one or more of still images, icons (including so-called "stamps"), moving images, voices, etc. can be used.
  • the first game element is a character, which is expressed as an image, a virtual or tangible article, or the like. Images include still images and moving images.
  • An example of a virtual or tangible article is, for example, a virtual card displayed on a computer, a tangible card, or the like.
  • the article is not limited to a card as long as it is an article configured so that the associated game element can be specified.
  • the article may be, for example, a modeled object such as a figure having the appearance of a game element.
  • the first game element is a character whose behavior is controlled based on the operation of the card of the player (including the non-player operated by the computer). It will be described as assuming that the design of the corresponding character (an image showing the appearance of the character) is attached. Further, the character is not limited to this, and it goes without saying that the character may specify other game elements such as an item of the game to be executed and an effect to be activated.
  • the deck is composed of a predetermined number of first game elements.
  • a predetermined number of first game elements are set as the player's deck.
  • the deck is a group of cards composed of a predetermined number of cards selected by the player. Then, the player can set a plurality of decks composed of the cards he holds. The player selects a desired deck from the set decks, and plays a game using the cards that make up the deck.
  • the second game element is a character like the first game element, but it does not necessarily have to be associated with a virtual or real article. And, unlike the first game element, the second game element is not the operation target of the player (including the non-player operated by the computer) in the in-game battle, and is not operated by the player or together with the player. It has the property of playing a match against other players by itself using the deck set by the player.
  • the second game element is autonomous or in-game, unlike the first game element, whose behavior is controlled based on the operation of a player (including a non-player operated by a computer). Voluntarily, the player plays a match against another player using the first game element of the deck set by the player.
  • the ability of the second game element changes depending on the character information of the second game element.
  • the character information changes according to the progress of the player's game.
  • Character information can have a plurality of parameters.
  • the character information depends on a parameter (hereinafter referred to as a level) that changes depending on the experience value obtained from the result of the player's game and the frequency of use of the first type of game element used by the player.
  • a level a parameter that changes depending on the experience value obtained from the result of the player's game and the frequency of use of the first type of game element used by the player.
  • Parameters that change hereinafter referred to as card comprehension
  • parameters that change depending on the usage ratio of the type of game element of the first type used by the player hereinafter referred to as personality
  • a predetermined event by the player Includes parameters that change upon achievement (hereinafter referred to as synchro levels). Therefore, it should be noted that the level of competition performed by the second game element may differ depending on the character information of the second game element.
  • each second game element may have different character information at the initial stage. Then, the player may select a desired second game element from a plurality of second game elements having different character information.
  • the autonomous or voluntary action of the second game element described above is performed by the AI function provided in the game server 2.
  • This AI function is possible by a learning model obtained by machine learning using the contents of the game progress of many competitive games and the results thereof as teacher data.
  • the machine learning method is typically, but not limited to, deep learning, reinforcement learning, or a combination thereof.
  • the learning model can compete at different levels (strengths) according to the character information of the second game element. As a method of realizing this, for example, the higher the character information of the second game element, the more time it takes to select the first game element and to search for the optimum solution of attack or defense by the selected first game element.
  • FIG. 3 is a block diagram showing a functional configuration example of the player terminal 1.
  • the player terminal 1 includes an operation input unit 51, a processing unit 52, an image display unit 53, a sound output unit 54, a communication unit 55, and a storage unit 56.
  • the operation input unit 51 is for the player to input various operations related to the game, and outputs an operation input signal corresponding to the operation input to the processing unit 52.
  • the functions of the operation input unit 51 include, for example, touch operation pads, home buttons, button switches, joysticks, trackballs, and other elements directly operated by player A with fingers, as well as acceleration sensors, angular velocity sensors, tilt sensors, and geomagnetic sensors. It can also be realized by an element that detects movement or posture. In FIG. 2, the touch operation panel 12 corresponds to this.
  • the processing unit 52 comprehensively controls the operation of the player terminal 1 based on the programs and data stored in the storage unit 56, the operation input signal from the operation input unit 51, and the like.
  • the function of the processing unit 52 can be realized by, for example, a microprocessor such as a CPU or GPU, or an electronic component such as an ASIC or an IC memory.
  • the processing unit 52 includes a game calculation unit 61, an image generation unit 62, a sound generation unit 63, and a communication control unit 64 as main functional units.
  • the game calculation unit 61 executes various game processes for realizing the game of the present embodiment, and outputs the processing results to the image generation unit 62 and the sound generation unit 63.
  • the game calculation unit 61 includes a player information management unit 70, a card management unit 71, a deck setting unit 72, a buddy setting unit 73, a game management unit 74, and an SNS execution unit 75.
  • the player information management unit 70 manages player information.
  • the information to be managed manages basic user information such as a player's nickname, player rank, and buddy level.
  • the card management unit 71 manages the cards that can be provided by the game system, including whether or not the players A and B are possessed, by using the possessed card data D1 and the card character data D2 stored in the storage unit 56. ..
  • the possessed card data D1 includes card identification information of a card that can be provided by the game system, a possession flag indicating whether or not the player possesses the card, and a usage permission flag indicating whether or not the card can be used by the player. Is the associated data.
  • FIG. 4 is a diagram showing an example of possessed card data D1. In FIG. 4, the card identification information of the card that can be provided by the game system is described in the card identification information field. Then, when the player holds the card of the card identification information, "1" is set in the holding flag field, and when the player does not hold the card, "0" is set in the holding flag field. Has been done.
  • FIG. 4 shows an example of the possessed card data D1, and the present invention is not limited to this.
  • the card character data D2 is data in which the card identification information of the card and the character information of the card are associated with each other.
  • FIG. 5 is a diagram showing an example of the card character data D2.
  • card identification information and character information are associated with each other. Note that FIG. 5 shows an example of the card character data D2, and the present invention is not limited to this.
  • the card management unit 71 acquires the card identification information of the card and the card character data D2 of the card identification information via communication with the game server 2. Then, the card management unit 71 adds the acquired card identification information to the possessed card data D1, sets the possession flag of the card identification information to "0", and sets the field of the usable flag to "0". Further, the acquired card character data D2 is stored in the storage unit 56. Then, when the player newly acquires and holds a card, the card management unit 71 sets the holding flag of the card identification information to "1" and the field of the usable flag to "1".
  • the deck setting unit 72 presents a card (in principle, a possessed card) that can be currently used as a card constituting the deck by using the possessed card data D1 and the card character data D2, and the presented card is operated by the user. Select the cards that make up the deck from, and set (edit) the deck.
  • the deck setting unit 72 generates deck setting data D3 in which the name of the set deck, the identification information (deck ID) of the deck, and the card identification information of each card constituting the deck are associated with each other, and the storage unit 72 generates the deck setting data D3.
  • FIG. 6 is a diagram showing an example of deck setting data D3. In the example of FIG.
  • FIG. 6 shows an example of the deck setting data D3 of the deck 1 of the player A, and the deck 1 of the deck ID “D001” is from the cards of the card identification information “0001”, “0006” to the card identification information “0450”. This is an example showing that it is configured. Note that FIG. 6 shows an example of the deck setting data D3, and the present invention is not limited to this.
  • the deck setting unit 72 requests the server 2 to acquire the access information which is the link destination of the deck information in order to notify other players of the deck information regarding the deck selected from the set decks, and accesses the server 2.
  • Get information
  • the deck information includes a deck name, a deck ID, identification information of cards constituting the deck, and the like.
  • the access information is a Uniform Resource Locator (URL) or the like.
  • the deck setting unit 72 accesses the link destination from the access information of other players acquired via the social network service and acquires the deck information, as will be described later. Then, the deck can be set (edited) by using the acquired deck information.
  • the buddy setting unit 73 manages the information about the buddy selected by the players A and B from the plurality of buddies (second game elements) at the time of account registration by the players A and B using the buddy setting data D4. ..
  • the buddy setting data D4 is the character information of the buddy selected from the menu setting. The character information of this buddy changes as the game progresses, but when it changes, the changed character information is notified from the game server 2 and the character information is updated.
  • FIG. 7 is a diagram showing an example of the buddy setting data D4 of the player A.
  • the buddy setting data D4 includes the buddy identification information, the buddy image, the buddy name, the level, and the character information.
  • FIG. 7 shows an example of the buddy setting data D4, and the present invention is not limited to this.
  • the buddy (second game element) level and character information at the time of account registration are set to the initial values (lowest values).
  • the buddy setting unit 73 outputs the image information of the buddy to the image generation unit 62 during the battle or on other menu screens.
  • the game management unit 74 manages the progress of the entire game.
  • the SNS execution unit 75 creates a message including the access information (URL) acquired by the deck setting unit 72 and provides it to the social network service (SNS).
  • SNS social network service
  • existing technology can be used.
  • social network services include Facebook (registered trademark), LINE (registered trademark), Twitter (registered trademark), and the like.
  • the image generation unit 62 generates one game screen in one frame time (for example, 1/60 second) based on the processing result of the game calculation unit 61, and outputs the image signal of the generated game screen to the image display unit 103. do.
  • the function of the image generation unit 62 is used, for example, for a processor such as a GPU or a digital signal processor (DSP), a program such as a video signal IC or a video codec, an IC memory for a drawing frame such as a frame buffer, and texture data expansion. It can be realized by using an IC memory or the like.
  • the sound generation unit 63 generates sound signals such as sound effects related to the game, BGM, voice information of operation assistance information, and various operation sounds based on the processing result of the game calculation unit 61, and outputs the sound signals to the sound output unit 54.
  • the function of the sound generation unit 63 can be realized by, for example, a processor such as a digital signal processor (DSP) or a voice synthesis IC, an audio codec capable of reproducing a voice file, or the like.
  • DSP digital signal processor
  • voice synthesis IC an audio codec capable of reproducing a voice file, or the like.
  • the communication control unit 64 performs communication connection and data processing for data communication with the game server 2.
  • the image display unit 53 displays various game screens based on the image signal input from the image generation unit 62.
  • the function of the image display unit 53 can be realized by, for example, a display device such as a flat panel display, a cathode ray tube (CRT), a projector, or a head-mounted display.
  • the image display unit 62 corresponds to the display 11.
  • the sound output unit 54 is for outputting sound effects and the like related to the game based on the sound signal input from the sound generation unit 63.
  • the sound output unit 54 corresponds to the speaker 13.
  • the communication unit 55 connects to the communication line N to realize communication.
  • the function of the communication unit 55 can be realized by, for example, a wireless communication device, a modem, a TA (terminal adapter), a jack of a wired communication cable, a control circuit, or the like.
  • the storage unit 56 stores in advance a program for operating the player terminal 1 and realizing various functions included in the player terminal 1, data used during execution of this program, and the like, or temporarily stores each time a process is performed. Is remembered.
  • the storage unit 56 can be realized by, for example, an IC memory such as a RAM, a ROM, or a flash memory, a magnetic disk such as a hard disk, an optical disk such as a CD-ROM or a DVD, or the like.
  • the system program and the game program are stored in the storage unit 56.
  • the system program is a program for realizing the basic functions of the player terminal 1 as a computer.
  • the game program is a program for causing the processing unit 52 to function as the game calculation unit 61. This program is distributed from the game server 2 or another application distribution server when the player completes the account registration.
  • the storage unit 56 stores the possessed card data D1, the card character data D2, the deck setting data D3, the buddy setting data D4, and the card composite data D5.
  • model data, texture data, motion data, effect data, background image of the game screen, sound data such as sound effects, etc. for displaying images of card characters and buddies are necessary data for the game as appropriate. Is delivered and stored in the storage unit 56.
  • FIG. 8 is a block diagram showing a functional configuration example of the game server 2.
  • the game server 2 includes a processing unit 91, a communication unit 92, and a storage unit 93.
  • the processing unit 91 includes a player management unit 101, an access information issuing unit 102, a game management unit 103, an AI processing unit 104, and a character information updating unit 105.
  • the player management unit 101 manages accounts, game progress, etc. for each connected player terminal 1 using user information data described later.
  • the access information issuing unit 102 issues the access information in response to the request for the access information of the deck from the player terminal 1. The process of issuing access information will be described later.
  • the game management unit 103 receives card setting information, action selection information, and the like from the player terminal 1, performs battle processing using the card setting information, action selection information, and card data described later, and outputs the battle result.
  • the AI processing unit 104 has a learning model obtained by machine learning the contents of the game progress of many competitive games and teacher data such as the results thereof. Deep learning is a typical method of machine learning, but it is not limited to this.
  • the AI processing unit 104 inputs the card setting information or action selection information transmitted from the player terminal 1 and the character information (buddy ability) of the player buddy of the player terminal 1, and the card setting information or action selection information. Outputs operation assistance information in the situation of.
  • the output content of the operation auxiliary information differs depending on the character information (buddy's ability) of the buddy. As an example of such a learning model, the higher the buddy's character information (buddy's ability), the longer it takes to search for the optimum solution, and the higher the buddy's character information (buddy's ability), the more certain the situation. There is a learning model that gives a more optimal solution to deal with.
  • the character information update unit 105 receives card setting information or action selection information and battle results from the game management unit 103, and uses the information to perform various parameters of character information (level, card comprehension, personality, synchronization level). ) Is calculated, and the character information (ability of the buddy) of the players A and B in the user information data D6 is updated to be increased or changed.
  • the character information (buddy's ability) may be updated not only with card setting information, action selection information, and battle results, but also with other information, for example, the number of times the game has been logged in, not information about the battle. ..
  • the communication unit 92 connects to the communication line N to realize communication.
  • the system program and the game program are stored in the storage unit 93.
  • the system program is a program for realizing the basic functions of the game server 2 as a computer.
  • the game program is a program for causing the processing unit 91 to function as a player management unit 101, an access information issuing unit 102, a game management unit 103, an AI processing unit 104, and a character information updating unit 105.
  • the recording unit 92 stores the user information data D6 and the card data.
  • the user information data D6 is the basic data of the players participating in the game, and the user information data D6 for each player is recorded.
  • FIG. 9 is a diagram showing an example of user information data D6.
  • the user identification information of the player, the possessed card data D1, the deck setting data D3, and the buddy setting data D4 are included. Note that FIG. 9 shows an example of the user information data D6, and the present invention is not limited to this.
  • the card data is the card data of all the cards used in this game. Basically, the same data as the card character data of FIG. 5 described above is stored for all the cards used in the game.
  • the card data includes basic data of the buddy used in this game (buddy identification information, character image, buddy name, initial level, initial value of card comprehension, initial value of personality, and initial value of synchro level. ) May be included.
  • basic data of the buddy used in this game buddy identification information, character image, buddy name, initial level, initial value of card comprehension, initial value of personality, and initial value of synchro level. ) May be included.
  • the operations of the player terminal 1, the game server 2, and the SNS server 3 will be described.
  • an example will be described in which the player A introduces one of his / her own decks to the player B by using the player terminal 1.
  • a URL will be described as an example.
  • FIG. 10 is an overall sequence diagram for explaining the operation of the player terminal 1, the game server 2, and the SNS server 3.
  • FIG. 11 is a flowchart of the deck knitting process (Step 1).
  • Player A displays the screen of My Deck that displays a list of decks from the menu.
  • FIG. 12 is an example of the screen of My Deck that displays a list of decks.
  • the button 31 of the corresponding deck select the button 30 for creating a deck.
  • the deck setting unit 72 reads the card identification information of the cards constituting the deck from the deck setting data D3 (Step 101). Subsequently, the card character data corresponding to the card identification information is read from the card character data D2 (Step 102). Then, the images of the cards constituting the deck are displayed in the deck card area (Step 103).
  • the deck setting unit 72 reads out the card identification information (card identification information in which the field of the possession flag is "1") of the card possessed by the player from the possession card data D1 (Step104), and the corresponding card character data. Is read from the card character data D2 (Step 105). Then, the image of the possessed card is displayed in the possessed card area (Step 106).
  • FIG. 13 is an example of a deck organization screen displayed on the player terminal 1.
  • the cards constituting the deck are displayed in the deck card area 34, and the cards held are displayed in the possessed card area 35.
  • a deck save button 32 for saving (setting) the organized deck and a URL issuing button 33 for issuing access information of the introduction deck described later are displayed.
  • the color of the displayed cards may be changed depending on whether or not the player possesses the cards.
  • the character data corresponding to the card identification information of all the cards is read, and the color of the card is changed depending on the presence or absence (0 or 1) of the flag in the possession flag field of the possession card data D1.
  • FIG. 14 shows an example in which the color of the displayed card is changed depending on the player's card holding.
  • FIG. 14 shows an example in which cards owned by the player are displayed in color, and cards not owned by the player are displayed in grayscale.
  • the deck When cards are displayed in the deck card area 34 or the possessed card area 35 on the deck organization screen, the deck can be organized. The formation of the deck is possible by moving the cards for which the deck is to be formed from the possessed card area 35 to the deck card area 34.
  • the deck setting unit 72 determines the movement of the card (Step 107), and if there is a movement of the card (Step 108), changes the display of the cards in the deck card area 34 and the possessed card area 35 (Step 109).
  • the deck setting unit 72 updates the deck setting data D3 or creates new data (Step 111). ). Then, the deck setting unit 72 transmits the updated deck setting data D3 as deck information to the game server 2.
  • the player management unit 101 of the game server 2 updates the deck setting data of the user information data D6 from the received deck information (Step 2).
  • the deck introduction process is a process for introducing the deck created by the player A to another player B or the like.
  • a deck introduced by player A to other player B or the like is referred to as an introduction deck.
  • FIG. 15 is a flowchart of the deck introduction process (Step 3).
  • the deck setting unit 72 determines that the URL issuance button 33 is pressed (Step 200).
  • a request for issuing the URL of the introduction deck is made (Step 202).
  • the URL issuance request to be transmitted includes the user identification information (ID) of the player A and the deck ID of the introduction deck.
  • the deck setting unit 72 receives the URL from the game server 2 (Step 203).
  • the deck setting unit 72 displays the received URL on the deck organization screen (Step204).
  • FIG. 16 is a display example of a URL indicating the access destination (link destination) of the introduction deck displayed on the deck organization screen.
  • a button for selecting the SNS to send the URL is also displayed.
  • FIG. 17 is a diagram showing an example of an SNS message with a URL.
  • FIG. 18 is a flowchart of the URL issuing process (Step 4).
  • the access information issuing unit 102 of the game server 2 determines that the URL issuance request is received from the terminal 1 of the player A (Step 300).
  • the URL issuance request is received (Step 301)
  • the player identification information (ID) and deck ID included in the URL issuance request are acquired (Step 302).
  • the access information issuing unit 102 reads the card identification information of the cards constituting the deck corresponding to the deck ID from the user information data D6 of the user identification information (ID) from the user identification information (ID) and the deck ID.
  • the name of the referral deck, and the referral deck information including the card identification information of the cards constituting the referral deck are generated (Step 303).
  • the introduction deck information is temporarily stored in the storage unit 93, the address of the storage destination is converted into a URL, issued (Step 304), and transmitted to the terminal 1 of the player A (Step 305).
  • the deck introduction process (Step 3) and the URL issuance process (Step 4) are performed between the terminal 1 of the player A and the game server 2.
  • the SNS server 3 sends a message with a URL to the terminal 1 of the player B (Step 5).
  • the terminal 1 of the player B receives the message with the URL from the SNS server and performs the introduction deck organization process (Step 6).
  • FIG. 19 is a flowchart of the introduction deck organization process (Step 6).
  • the deck setting unit 72 of the terminal 1 of the player B accesses the URL described in the received message (Step 400).
  • the access information issuing unit 102 of the game server 2 transmits the introduction deck information in response to the access of the terminal 1 of the player B (Step 7).
  • the referral deck information to be transmitted is the referral deck name and the card identification information of the cards constituting the referral deck.
  • the deck setting unit 72 of the terminal 1 of the player B receives and acquires the introduction deck information (Step 401).
  • the referral deck information to be acquired is the referral deck name and the card identification information of the cards constituting the referral deck.
  • the deck setting unit 72 reads the presence / absence of the possession flag of the card identification information from the possession card data D1 (Step402). Further, the deck setting unit 72 reads the card character data of all the cards from the card character data D2 (Step 403).
  • the deck setting unit 72 displays the card corresponding to the card identification information included in the introduction deck information in the deck card area by changing the display color depending on whether or not the player B is possessed (presence or absence of the possession flag) (Step 404). On the other hand, the deck setting unit 72 displays the cards corresponding to all the card identification information in the possessed card area by changing the display color depending on whether or not the player B is possessed (presence or absence of the possession flag) (Step 405).
  • Step 406 to Step 4011 is the same as the operation of Step 107 to Step 112 of FIG. 11 described above.
  • the contents of the deck organized by the player can be easily introduced to other players.
  • the player who has been introduced to the deck can easily acquire the introduction deck information from the access information, and further, the contents of the introduction deck can be set as his / her own deck on the deck organization screen.
  • the player introduced to the deck can confirm the contents of the introduced deck on the deck formation screen.
  • the referral deck cannot be organized as its own deck because it does not have the cards that make up the referral deck.
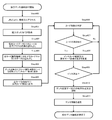
  • FIG. 20 is a sequence diagram of the second embodiment.
  • the introduction deck trial terminal processing (Step 8) newly performed on the terminal 2 and the introduction deck trial server processing (Step 9) performed on the game server 2 are newly added to the sequence diagram of FIG.
  • FIG. 21 is a flowchart of the introduction deck trial terminal processing (Step 8).
  • FIG. 22 is an example of a screen for selecting a trial method of the introduction deck on the deck organization screen of the introduction deck.
  • the selection button 40 when the player tries the referral deck by himself and the buddy of the player who introduced the referral deck (using the referral deck in the battle) and the selection when playing against the introduced player. Button 41 is displayed.
  • the deck setting unit 72 of the terminal 1 of the player B determines the transition to the trial screen of the introduction deck on the deck organization screen (Step500).
  • Step 501 it is determined whether either the selection button 40 or the selection button 41 is selected (Step 502).
  • the temporary trial request is a request for permission to use a player's unowned card, and includes user identification information of player B and card identification information of an unowned card among the cards constituting the introduction deck.
  • the deck setting unit 72 When the deck setting unit 72 receives the permission to temporarily use the unowned card from the game server 2 (Step 504), the deck setting unit 72 sets the use permission flag of the unowned card among the cards constituting the introduction deck to "" via the card management unit 71. Set to 1 ”(Step 505). As a result, even if the card is not owned, the card can be used. However, if there is no limit on the number of times of use, the card that is not owned can be used forever, so a limit on the number of times of use is set. For example, the number of battles using the referral deck is two. Then, the player B organizes the introduction deck on the deck organization screen (Step 506).
  • Player B uses the referral deck to play against other players (Step 507).
  • This process is a match process performed by the game management unit 74.
  • the deck setting unit 72 determines the number of battles (the number of times the referral deck is used) (Step 508), and when the number of battles (the number of times the referral deck is used) becomes equal to the predetermined limit number (Step 509), the unowned card. Delete (set to 0) the permission flag of (Step 510).
  • Step 502 when the selection button 41 is selected and player B selects to play against player B's buddy through the referral deck (Step 502), a match request for the referral deck is made (Step 511).
  • the match request includes the player identification information and the deck ID included in the introduction deck information.
  • the game management unit 74 plays against the buddy of layer B (Step 511).
  • FIG. 23 is a flowchart of the introduction deck trial server processing (Step 9).
  • the game server 2 determines the reception of the request (Step 600).
  • Step601 When a request for temporary trial of the referral deck is received (Step601), the user identification information of player B included in the temporary trial request of the referral deck and the card identification information of the unowned card among the cards constituting the referral deck are used. Then, among the possessed card data of the user information data D6 of the player B, the use permission flag of the card identification information of the unowned card is set to "1" (Step 602), and the card corresponding to the card identification information of the unowned card Send the license (Step 603).
  • the player identification information and the deck ID included in the battle request are acquired (Step 604), and the buddy and deck ID of the player A are obtained from the user information data D6 of the player identification information (player A). Identify the deck corresponding to (Step 605). Then, the game management unit 103 executes a battle between the buddy of the player A who has tried the introduction deck and the player B (Step 606).
  • the player can try the referral deck by himself / herself and play against the buddy (player) who has tried the referral deck, so the referral deck is only set as his / her own deck. You can judge if it is worth it.
  • the player who introduced the introduced deck may be notified of information indicating that the introduced player is trying out the introduced deck. For example, while the introduced player is trying out the referral deck, the introduced player sends the trial information to the introduced player A terminal 1, and while receiving the information, the referral deck on the screen of the my deck of the player A terminal 1 is displayed. The mark 43 under trial is displayed on the icon of the deck corresponding to.
  • a card game using a virtual game card is illustrated, but the applicable game genre is not limited.
  • it may be a sports competition game in which a character associated with the first game element is used as a player, or a character training game associated with the first game element.
  • [Appendix 1] A terminal that executes a competitive game on a computer using game elements by the player. It has a memory for storing execution instructions and a processor. The processor receives the execution instruction. Deck setting processing that can set the deck of the player composed of the first game element, A terminal that executes a provision process of providing introduction deck information about an introduction deck to be introduced to other players among the set decks to a social network service capable of sharing information between players.
  • a game management device that manages a game played by a player using the first game element. It has a memory for storing execution instructions and a processor. The processor receives the execution instruction. Deck setting permission processing that permits the setting of the player's deck whose component is the first game element, A game management device that generates access information for accessing referral deck information related to a referral deck to be introduced to another player among the decks permitted to be set, and executes an access information generation process to be transmitted to the terminal of the player.

Landscapes

  • Engineering & Computer Science (AREA)
  • Multimedia (AREA)
  • Physics & Mathematics (AREA)
  • Theoretical Computer Science (AREA)
  • Business, Economics & Management (AREA)
  • General Business, Economics & Management (AREA)
  • General Physics & Mathematics (AREA)
  • General Health & Medical Sciences (AREA)
  • Tourism & Hospitality (AREA)
  • Marketing (AREA)
  • Human Resources & Organizations (AREA)
  • Strategic Management (AREA)
  • Primary Health Care (AREA)
  • Economics (AREA)
  • General Engineering & Computer Science (AREA)
  • Health & Medical Sciences (AREA)
  • Computer Security & Cryptography (AREA)
  • Optics & Photonics (AREA)
  • Management, Administration, Business Operations System, And Electronic Commerce (AREA)
  • Information Transfer Between Computers (AREA)
PCT/JP2021/008286 2020-03-10 2021-03-03 プログラム、端末及びゲーム管理装置 Ceased WO2021182257A1 (ja)

Applications Claiming Priority (2)

Application Number Priority Date Filing Date Title
JP2020-040569 2020-03-10
JP2020040569A JP7000481B2 (ja) 2020-03-10 2020-03-10 プログラム、端末及びゲーム管理装置

Publications (1)

Publication Number Publication Date
WO2021182257A1 true WO2021182257A1 (ja) 2021-09-16

Family

ID=77672224

Family Applications (1)

Application Number Title Priority Date Filing Date
PCT/JP2021/008286 Ceased WO2021182257A1 (ja) 2020-03-10 2021-03-03 プログラム、端末及びゲーム管理装置

Country Status (2)

Country Link
JP (4) JP7000481B2 (enExample)
WO (1) WO2021182257A1 (enExample)

Families Citing this family (4)

* Cited by examiner, † Cited by third party
Publication number Priority date Publication date Assignee Title
JP7000481B2 (ja) * 2020-03-10 2022-01-19 株式会社バンダイ プログラム、端末及びゲーム管理装置
JP7610746B1 (ja) * 2024-02-22 2025-01-08 株式会社バンダイ プログラム、提供管理装置、及びゲーム装置
JP7738690B1 (ja) 2024-02-27 2025-09-12 株式会社バンダイ プログラム、及びゲーム装置
JP7673266B1 (ja) 2024-02-27 2025-05-08 株式会社バンダイ プログラム、及びゲーム装置

Citations (3)

* Cited by examiner, † Cited by third party
Publication number Priority date Publication date Assignee Title
JP2015230725A (ja) * 2015-02-04 2015-12-21 株式会社 ディー・エヌ・エー サービスの紹介を管理するサーバ、方法、及びプログラム
JP2018171472A (ja) * 2018-06-22 2018-11-08 株式会社ドリコム ゲームシステム、ゲーム提供方法、ならびに、プログラム
JP6521550B1 (ja) * 2018-08-28 2019-05-29 株式会社コナミデジタルエンタテインメント ゲームシステム、及び、プログラム

Family Cites Families (5)

* Cited by examiner, † Cited by third party
Publication number Priority date Publication date Assignee Title
JP2015008879A (ja) 2013-06-28 2015-01-19 小泉 彌和 ゲームシステムおよびゲームシステムの制御方法
JP5555819B1 (ja) * 2014-03-19 2014-07-23 株式会社 ディー・エヌ・エー ゲームプログラム、及び、情報処理装置
JP6005887B1 (ja) 2016-04-12 2016-10-12 株式会社Cygames プログラム、情報処理装置、情報処理方法及び情報処理システム
JP6318438B2 (ja) 2016-04-28 2018-05-09 株式会社コナミデジタルエンタテインメント 情報処理装置、サーバ装置、及びプログラム
JP7000481B2 (ja) 2020-03-10 2022-01-19 株式会社バンダイ プログラム、端末及びゲーム管理装置

Patent Citations (3)

* Cited by examiner, † Cited by third party
Publication number Priority date Publication date Assignee Title
JP2015230725A (ja) * 2015-02-04 2015-12-21 株式会社 ディー・エヌ・エー サービスの紹介を管理するサーバ、方法、及びプログラム
JP2018171472A (ja) * 2018-06-22 2018-11-08 株式会社ドリコム ゲームシステム、ゲーム提供方法、ならびに、プログラム
JP6521550B1 (ja) * 2018-08-28 2019-05-29 株式会社コナミデジタルエンタテインメント ゲームシステム、及び、プログラム

Non-Patent Citations (1)

* Cited by examiner, † Cited by third party
Title
ANONYMOUS: "Card hero speed battle custom: various modes", WEB.ARCHIVE.ORG, 18 August 2014 (2014-08-18), Retrieved from the Internet <URL:https://web.archive.org/web/20140818060215/https://www.nintendo.co.jp/ds/dsiware/kchj/mode/index.htm1> [retrieved on 20210413] *

Also Published As

Publication number Publication date
JP2022059601A (ja) 2022-04-13
JP7529649B2 (ja) 2024-08-06
JP2021141950A (ja) 2021-09-24
JP7000481B2 (ja) 2022-01-19
JP2024144577A (ja) 2024-10-11
JP2024144588A (ja) 2024-10-11

Similar Documents

Publication Publication Date Title
JP7529649B2 (ja) プログラム、端末及びゲーム管理装置
JP6766238B1 (ja) プログラム、端末、ゲーム管理装置及びゲームシステム
JP6853861B2 (ja) プログラム、ゲームシステム及びゲーム管理サーバ
JP6820643B1 (ja) プログラム、端末、ゲームシステム及びゲーム管理サーバ
JP6810291B1 (ja) プログラム、端末、ゲーム管理装置、ゲームシステム及びゲーム方法
JP2021029978A (ja) プログラム、端末、サーバ装置及びシステム
JP6843201B1 (ja) プログラム、情報処理装置及びゲームシステム
JP7353322B2 (ja) プログラム、情報処理装置及びゲームシステム
JP6821838B1 (ja) プログラム、端末、及びゲームシステム
JP6761075B2 (ja) プログラム、端末、ゲームシステム及びゲーム管理装置
JP2021145760A (ja) プログラム、端末、ゲームシステム及びゲーム管理装置
JP2021159218A (ja) プログラム、端末、ゲームシステム及びゲーム管理装置
JP7132264B2 (ja) ゲームシステム、プログラム、端末及びゲーム管理装置
JP7047004B2 (ja) プログラム及び端末
JP2021146062A (ja) プログラム及びゲーム管理装置
JP6826183B1 (ja) プログラム、端末、ゲームシステム及びゲーム管理装置
JP2021053518A (ja) プログラム、端末、サーバ装置及びシステム
JP2021153996A (ja) ゲーム管理装置及びプログラム
JP2021126499A (ja) プログラム、端末、ゲームシステム及びゲーム管理装置
JP2021142260A (ja) プログラム、端末、及びゲームシステム

Legal Events

Date Code Title Description
121 Ep: the epo has been informed by wipo that ep was designated in this application

Ref document number: 21768646

Country of ref document: EP

Kind code of ref document: A1

NENP Non-entry into the national phase

Ref country code: DE

122 Ep: pct application non-entry in european phase

Ref document number: 21768646

Country of ref document: EP

Kind code of ref document: A1