WO2021065631A1 - 画像データ転送装置および画像圧縮方法 - Google Patents

画像データ転送装置および画像圧縮方法 Download PDF

Info

Publication number
WO2021065631A1
WO2021065631A1 PCT/JP2020/035834 JP2020035834W WO2021065631A1 WO 2021065631 A1 WO2021065631 A1 WO 2021065631A1 JP 2020035834 W JP2020035834 W JP 2020035834W WO 2021065631 A1 WO2021065631 A1 WO 2021065631A1
Authority
WO
WIPO (PCT)
Prior art keywords
image
unit
data
frame
display
Prior art date
Legal status (The legal status is an assumption and is not a legal conclusion. Google has not performed a legal analysis and makes no representation as to the accuracy of the status listed.)
Ceased
Application number
PCT/JP2020/035834
Other languages
English (en)
French (fr)
Japanese (ja)
Inventor
活志 大塚
Current Assignee (The listed assignees may be inaccurate. Google has not performed a legal analysis and makes no representation or warranty as to the accuracy of the list.)
Sony Interactive Entertainment Inc
Original Assignee
Sony Interactive Entertainment Inc
Priority date (The priority date is an assumption and is not a legal conclusion. Google has not performed a legal analysis and makes no representation as to the accuracy of the date listed.)
Filing date
Publication date
Application filed by Sony Interactive Entertainment Inc filed Critical Sony Interactive Entertainment Inc
Priority to US17/638,655 priority Critical patent/US12464146B2/en
Publication of WO2021065631A1 publication Critical patent/WO2021065631A1/ja
Anticipated expiration legal-status Critical
Ceased legal-status Critical Current

Links

Images

Classifications

    • HELECTRICITY
    • H04ELECTRIC COMMUNICATION TECHNIQUE
    • H04NPICTORIAL COMMUNICATION, e.g. TELEVISION
    • H04N19/00Methods or arrangements for coding, decoding, compressing or decompressing digital video signals
    • H04N19/30Methods or arrangements for coding, decoding, compressing or decompressing digital video signals using hierarchical techniques, e.g. scalability
    • H04N19/37Methods or arrangements for coding, decoding, compressing or decompressing digital video signals using hierarchical techniques, e.g. scalability with arrangements for assigning different transmission priorities to video input data or to video coded data
    • HELECTRICITY
    • H04ELECTRIC COMMUNICATION TECHNIQUE
    • H04NPICTORIAL COMMUNICATION, e.g. TELEVISION
    • H04N19/00Methods or arrangements for coding, decoding, compressing or decompressing digital video signals
    • H04N19/10Methods or arrangements for coding, decoding, compressing or decompressing digital video signals using adaptive coding
    • H04N19/102Methods or arrangements for coding, decoding, compressing or decompressing digital video signals using adaptive coding characterised by the element, parameter or selection affected or controlled by the adaptive coding
    • H04N19/124Quantisation
    • HELECTRICITY
    • H04ELECTRIC COMMUNICATION TECHNIQUE
    • H04NPICTORIAL COMMUNICATION, e.g. TELEVISION
    • H04N19/00Methods or arrangements for coding, decoding, compressing or decompressing digital video signals
    • H04N19/10Methods or arrangements for coding, decoding, compressing or decompressing digital video signals using adaptive coding
    • H04N19/134Methods or arrangements for coding, decoding, compressing or decompressing digital video signals using adaptive coding characterised by the element, parameter or criterion affecting or controlling the adaptive coding
    • H04N19/136Incoming video signal characteristics or properties
    • H04N19/14Coding unit complexity, e.g. amount of activity or edge presence estimation
    • HELECTRICITY
    • H04ELECTRIC COMMUNICATION TECHNIQUE
    • H04NPICTORIAL COMMUNICATION, e.g. TELEVISION
    • H04N19/00Methods or arrangements for coding, decoding, compressing or decompressing digital video signals
    • H04N19/10Methods or arrangements for coding, decoding, compressing or decompressing digital video signals using adaptive coding
    • H04N19/169Methods or arrangements for coding, decoding, compressing or decompressing digital video signals using adaptive coding characterised by the coding unit, i.e. the structural portion or semantic portion of the video signal being the object or the subject of the adaptive coding
    • H04N19/17Methods or arrangements for coding, decoding, compressing or decompressing digital video signals using adaptive coding characterised by the coding unit, i.e. the structural portion or semantic portion of the video signal being the object or the subject of the adaptive coding the unit being an image region, e.g. an object
    • H04N19/176Methods or arrangements for coding, decoding, compressing or decompressing digital video signals using adaptive coding characterised by the coding unit, i.e. the structural portion or semantic portion of the video signal being the object or the subject of the adaptive coding the unit being an image region, e.g. an object the region being a block, e.g. a macroblock
    • HELECTRICITY
    • H04ELECTRIC COMMUNICATION TECHNIQUE
    • H04NPICTORIAL COMMUNICATION, e.g. TELEVISION
    • H04N19/00Methods or arrangements for coding, decoding, compressing or decompressing digital video signals
    • H04N19/30Methods or arrangements for coding, decoding, compressing or decompressing digital video signals using hierarchical techniques, e.g. scalability
    • H04N19/31Methods or arrangements for coding, decoding, compressing or decompressing digital video signals using hierarchical techniques, e.g. scalability in the temporal domain
    • HELECTRICITY
    • H04ELECTRIC COMMUNICATION TECHNIQUE
    • H04NPICTORIAL COMMUNICATION, e.g. TELEVISION
    • H04N19/00Methods or arrangements for coding, decoding, compressing or decompressing digital video signals
    • H04N19/30Methods or arrangements for coding, decoding, compressing or decompressing digital video signals using hierarchical techniques, e.g. scalability
    • H04N19/33Methods or arrangements for coding, decoding, compressing or decompressing digital video signals using hierarchical techniques, e.g. scalability in the spatial domain
    • HELECTRICITY
    • H04ELECTRIC COMMUNICATION TECHNIQUE
    • H04NPICTORIAL COMMUNICATION, e.g. TELEVISION
    • H04N19/00Methods or arrangements for coding, decoding, compressing or decompressing digital video signals
    • H04N19/42Methods or arrangements for coding, decoding, compressing or decompressing digital video signals characterised by implementation details or hardware specially adapted for video compression or decompression, e.g. dedicated software implementation
    • H04N19/436Methods or arrangements for coding, decoding, compressing or decompressing digital video signals characterised by implementation details or hardware specially adapted for video compression or decompression, e.g. dedicated software implementation using parallelised computational arrangements
    • HELECTRICITY
    • H04ELECTRIC COMMUNICATION TECHNIQUE
    • H04NPICTORIAL COMMUNICATION, e.g. TELEVISION
    • H04N19/00Methods or arrangements for coding, decoding, compressing or decompressing digital video signals
    • H04N19/50Methods or arrangements for coding, decoding, compressing or decompressing digital video signals using predictive coding
    • H04N19/59Methods or arrangements for coding, decoding, compressing or decompressing digital video signals using predictive coding involving spatial sub-sampling or interpolation, e.g. alteration of picture size or resolution
    • HELECTRICITY
    • H04ELECTRIC COMMUNICATION TECHNIQUE
    • H04NPICTORIAL COMMUNICATION, e.g. TELEVISION
    • H04N19/00Methods or arrangements for coding, decoding, compressing or decompressing digital video signals
    • H04N19/50Methods or arrangements for coding, decoding, compressing or decompressing digital video signals using predictive coding
    • H04N19/597Methods or arrangements for coding, decoding, compressing or decompressing digital video signals using predictive coding specially adapted for multi-view video sequence encoding
    • HELECTRICITY
    • H04ELECTRIC COMMUNICATION TECHNIQUE
    • H04NPICTORIAL COMMUNICATION, e.g. TELEVISION
    • H04N19/00Methods or arrangements for coding, decoding, compressing or decompressing digital video signals
    • H04N19/85Methods or arrangements for coding, decoding, compressing or decompressing digital video signals using pre-processing or post-processing specially adapted for video compression
    • HELECTRICITY
    • H04ELECTRIC COMMUNICATION TECHNIQUE
    • H04NPICTORIAL COMMUNICATION, e.g. TELEVISION
    • H04N21/00Selective content distribution, e.g. interactive television or video on demand [VOD]
    • H04N21/20Servers specifically adapted for the distribution of content, e.g. VOD servers; Operations thereof
    • H04N21/23Processing of content or additional data; Elementary server operations; Server middleware
    • H04N21/234Processing of video elementary streams, e.g. splicing of video streams or manipulating encoded video stream scene graphs
    • HELECTRICITY
    • H04ELECTRIC COMMUNICATION TECHNIQUE
    • H04NPICTORIAL COMMUNICATION, e.g. TELEVISION
    • H04N21/00Selective content distribution, e.g. interactive television or video on demand [VOD]
    • H04N21/20Servers specifically adapted for the distribution of content, e.g. VOD servers; Operations thereof
    • H04N21/23Processing of content or additional data; Elementary server operations; Server middleware
    • H04N21/24Monitoring of processes or resources, e.g. monitoring of server load, available bandwidth, upstream requests

Definitions

  • the present invention relates to an image data transfer device and an image compression method for processing moving image data to be displayed.
  • the delay time due to the communication between the client terminal and the server can be a problem.
  • the display may be delayed with respect to the movement of the user's head, which may impair the sense of presence or cause image sickness. This problem is more likely to become apparent as the pursuit of higher image quality is pursued.
  • the present invention has been made in view of these problems, and an object of the present invention is to provide a technique capable of achieving both image quality and reduction of delay time in image display accompanied by data transmission by communication.
  • an aspect of the present invention relates to an image data transfer device.
  • This image data transfer device has a drawing unit that draws a moving image to be displayed, an image content acquisition unit that acquires information related to the content represented by the moving image, and a communication status acquisition unit that acquires the communication status used for streaming the moving image.
  • a compression coding unit that adjusts the data size of the moving image and compresses and encodes it by means determined based on the content represented by the moving image according to the change in the communication status, and the data of the compressed and encoded moving image. It is characterized by having a communication unit for streaming transfer of data.
  • the image data transfer device has a step of drawing a moving image to be displayed, a step of acquiring information related to the content represented by the moving image, and a step of acquiring the communication status used for streaming the moving image.
  • both image quality and reduction of delay time can be achieved at the same time.
  • FIG. 1 It is a figure which shows the configuration example of the image processing system in this embodiment. It is a figure which shows the appearance example of the head-mounted display of this embodiment. It is a figure which shows the basic structure of the server and the image processing apparatus in this embodiment. It is a figure which conceptually shows the state of the process from drawing to display of an image in this embodiment. It is a figure which shows the functional block of the server and the image processing apparatus of this embodiment. It is a figure for demonstrating the effect that a server and an image processing apparatus perform pipeline processing for each partial image in this embodiment. It is a figure which illustrates the transmission state of the data of a partial image between a server and an image processing apparatus in this embodiment.
  • FIG. 5 is a flowchart showing an example of a processing procedure in which the display control unit outputs partial image data to the display panel while adjusting the output target and output timing in the present embodiment. It is a figure which shows the structure of the functional block of the image processing apparatus which has a reprojection function in this embodiment. It is a figure for demonstrating the reprojection and the distortion correction for an eyepiece performed by the 1st correction part in this Embodiment. It is a figure for demonstrating an example of the procedure of the correction process performed by the 1st correction part in this embodiment.
  • FIG. 5 is a flowchart showing a processing procedure in which an output target determination unit of a display control unit adjusts an output target when the image processing apparatus performs reprojection in the present embodiment. In S94 of FIG.
  • FIG. 12 it is a figure for demonstrating the method of quantifying the degree of data loss based on the viewpoint of a user. It is a figure for demonstrating the data necessary for reprojection evaluated in S96 of FIG.
  • FIG. 5 is a flowchart showing a processing procedure for transmitting image data in a format determined by the server according to the display mode in the present embodiment.
  • this embodiment it is a figure which shows the structure of the functional block of the server which has the function of compressing the image of a plurality of viewpoints at a high rate, and the image processing apparatus which processes it. It is a figure which illustrates the relationship between the image block which the 1st coding part and the 2nd coding part compress-encode in this embodiment, and the image block which refers to the compression-encoding result for that purpose. It is a figure for demonstrating the effect that the server compresses and encodes in the image block unit by utilizing the similarity of the image of a plurality of viewpoints in this embodiment.
  • FIG. 1 shows a configuration example of an image processing system according to the present embodiment.
  • the image display system 1 includes an image processing device 200, a head-mounted display 100, a flat plate display 302, and a server 400.
  • the image processing device 200 is connected to the head-mounted display 100 and the flat-plate display 302 by wireless communication or an interface 300 such as USB Type-C or HDMI (registered trademark).
  • the image processing device 200 is further connected to the server 400 via a network 306 such as the Internet or a LAN (Local Area Network).
  • a network 306 such as the Internet or a LAN (Local Area Network).
  • the server 400 As an image data transfer device, the server 400 generates at least a part of the image to be displayed and transmits it to the image processing device 200.
  • the server 400 may be a server of a company or the like that provides various distribution services such as a cloud game, or a home server that transmits data to an arbitrary terminal. Therefore, the scale of the network 306 is not limited, such as a public network such as the Internet or a LAN (Local Area Network).
  • the network 306 may be via a mobile phone carrier network, a Wi-Fi spot in the city, or a Wi-Fi access point at home.
  • the image processing device 200 and the server 400 may be directly connected by a video interface.
  • the image processing device 200 performs necessary processing on the image data transmitted from the server 400, and outputs the data to at least one of the head-mounted display 100 and the flat plate display 302.
  • the server 400 receives the movements of the heads and user operations of a plurality of users who each wear the head-mounted display 100 from the plurality of image processing devices 200 connected to the head-mounted display 100. Then, the virtual world changed according to the user operation is drawn in the field of view corresponding to the movement of the head of each user, and then transmitted to each image processing device 200.
  • the image processing device 200 converts the transmitted image data into a format suitable for the head-mounted display 100 and the flat-plate display 302 as necessary, and then converts the transmitted image data into the head-mounted display 100 and the flat-plate display 302 at an appropriate timing. Output. By repeating such processing for each frame of the moving image, it is possible to realize a cloud gaming system in which a plurality of users participate.
  • the image processing device 200 uses the image transmitted from the server 400 as a separately prepared UI (User Interface) plain image (also referred to as an OSD (On Screen Display) plain image) or a camera included in the head mount display 100. After synthesizing the images captured by the above, the images may be output to the head mount display 100 or the flat plate display 302.
  • UI User Interface
  • OSD On Screen Display
  • the image processing device 200 may also improve the followability of the display with respect to the movement of the head by correcting the image transmitted from the server 400 based on the position and posture immediately before the display of the head-mounted display 100.
  • the image processing device 200 displays an image on the flat plate display 302 in the same field of view so that another person can see what kind of image the user wearing the head-mounted display 100 is viewing. You may do so.
  • the server 400 may display an image taken by a camera (not shown) as a display target and deliver it live to the image processing device 200.
  • the server 400 acquires multi-viewpoint images taken by a plurality of cameras at an event venue such as a sports competition or a concert, and uses the images to create an image in a field of view corresponding to the movement of the head-mounted display 100.
  • a free-viewpoint live image may be generated and distributed to each image processing device 200.
  • the configuration of the system to which this embodiment can be applied is not limited to the one shown in the figure.
  • the display device connected to the image processing device 200 may be either the head-mounted display 100 or the flat plate display 302, or may be a plurality of head-mounted displays 100.
  • the image processing device 200 may be built in the head-mounted display 100 or the flat plate display 302.
  • a flat-plate display and an image processing device may be used as a personal computer or a mobile terminal (portable game machine, high-performance mobile phone, tablet terminal) that integrally includes them.
  • At least one of the head-mounted display 100 and the flat plate display 302 may be connected to these devices as needed.
  • An input device (not shown) may be built in or connected to the image processing device 200 or these terminals.
  • the number of image processing devices 200 connected to the server 400 is not limited.
  • the server 400 receives the operation contents of the plurality of users who are viewing the flat plate display 302 from the plurality of image processing devices 200 connected to the flat plate display 302, and generates an image corresponding to the operation contents. Moreover, it may be transmitted to each image processing apparatus 200.
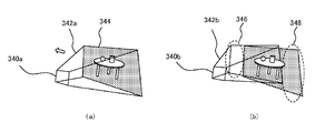
  • FIG. 2 shows an example of the appearance of the head-mounted display 100.
  • the head-mounted display 100 is composed of an output mechanism unit 102 and a mounting mechanism unit 104.
  • the mounting mechanism unit 104 includes a mounting band 106 that goes around the head and realizes fixing of the device when the user wears it.
  • the output mechanism 102 includes a housing 108 having a shape that covers the left and right eyes when the head-mounted display 100 is worn by the user, and includes a display panel inside so as to face the eyes when the head-mounted display 100 is worn.
  • the inside of the housing 108 is further provided with an eyepiece located between the display panel and the user's eyes when the head-mounted display 100 is attached to magnify the image.
  • the head-mounted display 100 may further include a speaker or earphone at a position corresponding to the user's ear when worn.
  • the head-mounted display 100 has a built-in motion sensor, and may detect the translational motion and the rotational motion of the head of the user wearing the head-mounted display 100, and eventually the position and posture at each time.
  • the head-mounted display 100 further includes a stereo camera 110 on the front surface of the housing 108, a monocular camera 111 with a wide viewing angle in the center, and four cameras 112 with a wide viewing angle at the four corners of the upper left, upper right, lower left, and lower right. Take a video of the real space in the direction corresponding to the direction of the face.
  • the head-mounted display 100 provides a see-through mode in which a moving image captured by the stereo camera 110 is immediately displayed to show the state of the real space in the direction in which the user is facing.
  • At least one of the images captured by the stereo camera 110, the monocular camera 111, and the four cameras 112 may be used to generate the display image.
  • SLAM Simultaneous Localization and Mapping
  • the image may be corrected in the device 200.
  • the captured image may be combined with the image transmitted from the server 400 to form a display image.
  • the head-mounted display 100 may be provided with any of motion sensors for deriving the position, orientation, and movement of the head-mounted display 100, such as an acceleration sensor, a gyro sensor, and a geomagnetic sensor.
  • the image processing device 200 acquires information on the position and posture of the user's head at a predetermined rate based on the measured values of the motion sensor. This information can be used to determine the field of view of the image generated by the server 400 and to correct the image in the image processing apparatus 200.
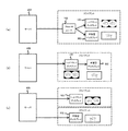
  • FIG. 3 shows the basic configuration of the server 400 and the image processing device 200 according to the present embodiment.
  • the server 400 and the image processing device 200 according to the present embodiment are provided with a local memory for storing a partial image smaller than one frame of the displayed image at a key point. Then, compression coding and transmission of image data in the server 400, data reception in the image processing device 200, decoding / decompression, various image processing, and output to the display device are pipelined in units of the partial image. As a result, the delay time from the drawing of the image on the server 400 to the display on the display device connected to the image processing device 200 is reduced.
  • the drawing control unit 402 is realized by the CPU (Central Processing Unit) and controls the drawing of the image in the image drawing unit 404.
  • the content of the image to be displayed in the present embodiment is not particularly limited, but the drawing control unit 402 advances the cloud game, for example, and causes the image drawing unit 404 to draw a frame of a moving image representing the result.
  • the drawing control unit 402 may acquire information related to the position and posture of the user's head from the image processing device 200 and control the drawing to draw each frame in the corresponding visual field.
  • the image drawing unit 404 is realized by the GPU (Graphics Processing Unit), draws a frame of a moving image at a predetermined or variable rate under the control of the drawing control unit 402, and stores the result in the frame buffer 406.
  • the frame buffer 406 is realized by RAM (Random Access Memory).
  • the video encoder 408 compresses and encodes the image data stored in the frame buffer 406 in units of partial images smaller than one frame.
  • the partial image is an image of each region formed by dividing the image plane of the frame into a predetermined size. That is, the partial image is, for example, an image of each region formed by dividing the image plane by a boundary line set in the horizontal direction, the vertical direction, the vertical / horizontal bidirectional direction, or the diagonal direction.
  • the video encoder 408 may start the compression coding of the frame as soon as the drawing of one frame by the image drawing unit 404 is completed, without waiting for the vertical synchronization signal of the server.
  • the frame order is managed by aligning the time given to each process from image drawing to display in frame units. Is easy.
  • the drawing process ends early depending on the contents of the frame, it is necessary to wait for the compression coding process until the next vertical synchronization signal.
  • the present embodiment as will be described later, by managing the generation time for each partial image, unnecessary waiting time is prevented from occurring.
  • the coding method used by the video encoder 408 for compression coding is H.I. 264 / AVC and H. A general one such as 265 / HEVC may be used.
  • the video encoder 408 stores the image data of the compressed and encoded partial image unit in the partial image storage unit 410.
  • the partial image storage unit 410 is a local memory realized by SRAM (Static Random Access Memory) or the like, and has a storage area corresponding to a data size of a partial image smaller than one frame. The same applies to the "partial image storage unit" described later.
  • the video stream control unit 414 reads out the compressed and encoded partial image data each time it is stored in the partial image storage unit 410, includes audio data, control information, and the like as necessary, and then packets the data. To do.
  • the control unit 412 constantly monitors the data writing status of the video encoder 408 for the partial image storage unit 410, the data reading status of the video stream control unit 414, and the like, and appropriately controls the operations of both. For example, the control unit 412 controls the partial image storage unit 410 so that data shortage, that is, buffer underrun, or data overflow, that is, buffer overrun does not occur.
  • the input / output interface 416 establishes communication with the image processing device 200, and the video stream control unit 414 sequentially transmits packetized data via the network 306.
  • the input / output interface 416 may appropriately transmit audio data and the like in addition to image data. Further, as described above, the input / output interface 416 may further acquire information relating to the user operation and the position and posture of the user's head from the image processing device 200 and supply the information to the drawing control unit 402.
  • the input / output interface 202 sequentially acquires image and audio data transmitted from the server 400.
  • the input / output interface 202 may further acquire information related to the user operation and the position and posture of the user's head from the head-mounted display 100, an input device (not shown), or the like, and transmit the information to the server 400.
  • the input / output interface 202 decodes the packet acquired from the server 400, and stores the extracted image data in the partial image storage unit 204.
  • the partial image storage unit 204 is a local memory provided between the input / output interface 202 and the video decoder 208, and constitutes a compressed data storage unit.
  • the control unit 206 constantly monitors the data writing status of the input / output interface 202 to the partial image storage unit 204, the data reading status of the video decoder 208, and the like, and appropriately controls the operations of both.
  • the video decoder 208 reads out the data each time the partial image data is stored in the partial image storage unit 204, decodes and decompresses the data according to the encoding method, and then stores the partial image data in the partial image storage unit 210.
  • the partial image storage unit 210 is a local memory provided between the video decoder 208 and the image processing unit 214, and constitutes a data storage unit after decoding.
  • the control unit 212 constantly monitors the data writing status of the video decoder 208 for the partial image storage unit 210, the data reading status of the image processing unit 214, and the like, and appropriately controls the operations of both.
  • the image processing unit 214 reads out the decrypted and decompressed partial image data each time the data is stored in the partial image storage unit 210, and performs processing necessary for display. For example, in the head-mounted display 100, in order to visually recognize an image without distortion when viewed through the eyepiece, a correction process of giving distortion opposite to the distortion caused by the eyepiece is performed.
  • the image processing unit 214 may refer to the separately prepared UI plane image and combine (superimpose) it with the image transmitted from the server 400. Further, the image processing unit 214 may combine the image captured by the camera included in the head-mounted display 100 with the image transmitted from the server 400. The image processing unit 214 may also correct the image transmitted from the server 400 so that the field of view corresponds to the position and posture of the user's head at the time of processing. The image processing unit 214 may also perform image processing suitable for output to the flat plate display 302, such as super-resolution processing.
  • the image processing unit 214 performs processing in units of the partial images stored in the partial image storage unit 210, and sequentially stores the partial images in the partial image storage unit 216.
  • the partial image storage unit 216 is a local memory provided between the image processing unit 214 and the display controller 220.
  • the control unit 218 constantly monitors the data writing status of the image processing unit 214 for the partial image storage unit 216, the data reading status of the display controller 220, and the like, and appropriately controls the operations of both.
  • the display controller 220 reads the data and outputs the data to the head-mounted display 100 or the flat plate display 302 at an appropriate timing. Specifically, the data of the uppermost partial image of each frame is output at the timing corresponding to the vertical synchronization signal of those displays, and then the data of the partial image is sequentially output downward.
  • FIG. 4 conceptually shows the state of processing from drawing to displaying an image in the present embodiment.
  • the server 400 generates a moving image frame 90 at a predetermined or variable rate.
  • the frame 90 has a configuration in which images for the left eye and an image for the right eye are represented in a region divided into two equal parts on the left and right, but the configuration of the image generated by the server 400 is not limited to this.
  • the server 400 compresses and encodes the frame 90 for each partial image.
  • the image plane is divided into five in the horizontal direction to obtain partial images 92a, 92b, 92c, 92d, and 92e.
  • the partial images are compressed and coded one after another in this order, transmitted to the image processing apparatus 200 and displayed as shown by the arrows. That is, while the uppermost partial image 92a is subjected to processing such as compression coding, transmission, decoding / decompression, and output to the display panel 94, the lower partial image 92b and the lower partial image 92c are referred to.
  • the partial images are sequentially transmitted and displayed as described above. As a result, various processes required from image drawing to display can be performed in parallel, and the display can be advanced with the minimum delay even if the transfer time intervenes.
  • FIG. 5 shows the functional blocks of the server 400 and the image processing device 200 of this embodiment.
  • Each functional block shown in the figure can be realized by a CPU, GPU, encoder, decoder, arithmetic unit, various memories, etc. in terms of hardware, and in terms of software, an information processing function and an image loaded into memory from a recording medium. It is realized by a program that exerts various functions such as drawing function, data input / output function, and communication function. Therefore, it is understood by those skilled in the art that these functional blocks can be realized in various forms by hardware only, software only, or a combination thereof, and is not limited to any of them. The same applies to the functional blocks described later.
  • the server 400 includes an image generation unit 420, a compression coding unit 422, a packetization unit 424, and a communication unit 426.
  • the image generation unit 420 is composed of the drawing control unit 402, the image drawing unit 404, and the frame buffer 406 of FIG. 3, and generates a frame of a moving image such as a game image to be transmitted to the image processing device 200 at a predetermined or variable rate. ..
  • the image generation unit 420 may acquire moving image data from a camera, a storage device, or the like (not shown). In this case, the image generation unit 420 can be read as an image acquisition unit. The same applies to the following description.
  • the compression coding unit 422 is composed of the video encoder 408, the partial image storage unit 410, and the control unit 412 of FIG. 3, and compresses and encodes the image data generated by the image generation unit 420 in units of partial images.
  • the compression coding unit 422 performs motion compensation and coding in units of an area of a predetermined number of lines such as one line and two lines and a rectangular area of a predetermined size such as 16 ⁇ 16 pixels and 64 ⁇ 64 pixels. Therefore, the compression coding unit 422 may start the compression coding when the image generation unit 420 generates data in the minimum unit area required for the compression coding.
  • the partial image which is a unit of pipeline processing in compression coding and transmission, may be the same as the area of the minimum unit, or may be a larger area.
  • the packetizing unit 424 is composed of the video stream control unit 414 and the control unit 412 of FIG. 3, and packetizes the compressed and encoded partial image data in a format according to the communication protocol to be used.
  • the time when the partial image is drawn (hereinafter, referred to as “generation time”) is obtained from the image generation unit 420 or the compression coding unit 422 and is associated with the data of the partial image.
  • the communication unit 426 is composed of the input / output interface 416 of FIG. 3, and transmits a packet including the compression-encoded partial image data and the generation time thereof to the image processing device 200.
  • the server 400 performs compression coding, packetization, and transmission in parallel by pipeline processing in units of partial images smaller than one frame.
  • the image processing device 200 includes an image data acquisition unit 240, a decoding / stretching unit 242, an image processing unit 244, and a display control unit 246.
  • the decoding / stretching unit 242 and the image processing unit 244 have a common function in that the partial image data is subjected to predetermined processing to generate the partial image data for display, and at least one of them is referred to as "image”. It can also be collectively referred to as "processing unit”.
  • the image data acquisition unit 240 is composed of the input / output interface 202, the partial image storage unit 204, and the control unit 206 of FIG. 3, and acquires the compressed coded partial image data from the server 400 together with the generation time.
  • the decoding / decompression unit 242 is composed of the video decoder 208, the partial image storage unit 210, the control unit 206, and the control unit 212 of FIG. 3, and decodes and decompresses the data of the compressed and encoded partial image.
  • the decoding / decompression unit 242 may start the decoding / decompression processing when the image data acquisition unit 240 acquires data in the smallest unit region required for compression coding such as motion compensation and coding.
  • the image processing unit 244 is composed of the image processing unit 214, the partial image storage unit 216, the control unit 212, and the control unit 218 of FIG. 3, and performs predetermined processing on the partial image data to generate the partial image data for display. To do. For example, as described above, the image processing unit 244 makes a correction that gives the opposite distortion in consideration of the distortion of the eyepiece included in the head-mounted display 100.
  • the image processing unit 244 synthesizes an image to be displayed together with a moving image, such as a UI plain image, in units of partial images.
  • the image processing unit 244 acquires the position and posture of the user's head at that time, and corrects the image generated by the server 400 so that the field of view at the time of display is correct. This makes it possible to minimize the time lag between the movement of the user's head and the displayed image due to the transfer time from the server 400.
  • the image processing unit 244 may also perform any or a combination of commonly performed image processing.
  • the image processing unit 244 may perform gun marker correction, tone curve correction, contrast enhancement, and the like. That is, necessary offset correction may be performed on the pixel value / luminance value of the decoded / decompressed image data based on the characteristics of the display device or the user's specification.
  • the image processing unit 244 may perform noise removal processing that performs processing such as superimposition, weighted averaging, and smoothing with reference to neighboring pixels.
  • the image processing unit 244 may match the resolution of the image data with the resolution of the display panel, refer to neighboring pixels, and perform weighted averaging / oversampling such as bilinear / trilinear. Further, the image processing unit 244 may refer to neighboring pixels, determine the type of image texture, and selectively process denoising, edge enhancement, smoothing, tone / gamma / contrast correction accordingly. At this time, the image processing unit 244 may process the image together with the upscaler / downscaler of the image size.
  • the image processing unit 244 may perform format conversion when the pixel format of the image data and the pixel format of the display panel are different. For example, conversion between YUV to RGB, RGB to YUV, conversion between 444, 422, and 420 in YUV, conversion between 8, 10 and 12-bit colors in RGB, and the like may be performed. Further, in the image processing unit 244, when the decoded image data is in an HDR (High Dynamic Range) brightness range compatible format, but the HDR brightness range compatible range of the display display is narrow (the displayable brightness dynamic range is defined in the HDR format). Pseudo-HDR processing (color space change) may be performed to convert the HDR image into a brightness range format in a range compatible with the display panel while retaining the features of the HDR image as much as possible (such as narrower).
  • HDR High Dynamic Range
  • the image processing unit 244 uses an HDR-compatible format for the decoded image data, but when the display display supports only SDR (Standard Dynamic Range), the color space is changed to the SDR format while retaining the features of the HDR image as much as possible. It may be converted.
  • the decoded image data is in an SDR compatible format, but when the display display is compatible with HDR, the image processing unit 244 may enhance conversion to the HDR format according to the characteristics of the HDR panel as much as possible.
  • the image processing unit 244 may add error diffusion or perform a dithering process that is processed together with the pixel format conversion. Further, the image processing unit 244 may correct the region when there is a partial loss or abnormality in the decoded image data due to lack of network transfer data or garbled bits. Further, the image processing unit 244 may perform correction with pixels estimated from the periphery of the past frame or the current frame by filling with a single color, correction by duplication of nearby pixels, correction by pixels near the previous frame, and adaptive defect correction.
  • the image processing unit 244 may perform image compression in order to reduce the required band of the interface output from the image processing device 200 to the display device.
  • the image processing unit 244 may perform lightweight entropy coding by reference to neighboring pixels, index value reference coding, Huffman coding, and the like.
  • the resolution can be increased, but the reaction speed is slow.
  • an organic EL panel is used as the display device, the reaction speed is high, but it is difficult to increase the resolution, and a phenomenon called Black Smearing, in which color bleeding occurs in and around the black region, may occur.
  • the image processing unit 244 may make corrections so as to eliminate various adverse effects of such a display panel. For example, in the case of a liquid crystal panel, the image processing unit 244 resets the liquid crystal by inserting a black image between the frames to improve the reaction speed. Further, in the case of an organic EL panel, the image processing unit 244 offsets the luminance value and the gamma value in the gamma correction to make the color bleeding due to Black Smearing less noticeable.
  • the display control unit 246 is composed of the display controller 220 and the control unit 218 of FIG. 3, and sequentially displays partial image data for display on the display panel of the head-mounted display 100 or the flat plate display 302.
  • the acquisition order may be changed depending on the communication status, or the partial image data itself may not be acquired due to packet loss. Conceivable.
  • the display control unit 246 derives the elapsed time from the drawing of the partial image from the generation time of each partial image, and outputs the partial image to the display panel so as to reproduce the drawing timing on the server 400. Adjust the timing.
  • the display control unit 246 includes a data acquisition status specifying unit 248, an output target determination unit 250, and an output unit 252.
  • the data acquisition status specifying unit 248 determines the original display order and display timing of the partial image data, the amount of missing partial image data, etc., based on the generation time of the partial image data and / or the elapsed time from the generation time. Identify the data acquisition status.
  • the output target determination unit 250 changes the output target to the display panel and appropriately adjusts the output order and output timing according to the data acquisition status. For example, the output target determination unit 250 determines whether to output the data of the original partial image included in the next frame or to output the data of the partial image included in the previous frame again according to the data acquisition status. To do. The output target determination unit 250 determines such an output target by the timing of the vertical synchronization signal, which is the display start time of the next frame.
  • the output target determination unit 250 determines the amount (ratio) of the acquired partial image, such as replacing the output target with the data of the previous frame when the partial image is missing at a ratio of a predetermined value or more in the frame.
  • the output target may be changed accordingly.
  • the output target determination unit 250 may change the output target of the next frame display period according to the past output record of the frame and the elapsed time from the generation time.
  • the output unit 252 outputs the data of the partial image determined as the output target to the display panel in the order and timing determined by the output target determination unit 250.
  • FIG. 6 is a diagram for explaining the effect of the server 400 and the image processing device 200 performing pipeline processing in units of partial images in the present embodiment.
  • the horizontal direction of the figure indicates the passage of time, and each processing time is indicated by an arrow together with the processing name.
  • the processing on the server 400 side is shown by a thin line
  • the processing on the image processing device 200 side is shown by a thick line.
  • the processing for one frame of the frame number m is (m)
  • the processing of the nth partial image of the frame number m is (m / n).
  • the vertical synchronization signal on the server 400 side is described as vssync (server), and the vertical synchronization signal on the image processing device 200 and the display device side is described as vssync (client).
  • (a) shows as a comparison a conventional mode in which processing is progressed in units of one frame.
  • the server 400 controls the processing for each frame by the vertical synchronization signal. Therefore, the server 400 starts the compression coding of the data of the first frame stored in the frame buffer in accordance with the vertical synchronization signal.
  • the server 400 starts the compression coding of the data in the second frame in accordance with the next vertical synchronization signal, and packets the data in the first frame that has been compressed and encoded in a predetermined unit and sends it out.
  • the image processing device 200 performs decoding / decompression processing in the order of arrival frames. However, even if the decoding / decompression is completed and the display becomes possible, the display is waited until the timing of the next vertical synchronization signal. As a result, in the illustrated example, a delay of two frames or more is generated from the completion of drawing one frame on the server 400 and the start of the compression coding process to the start of display.
  • the server 400 starts transmitting the data of the partial image when the compression coding of the first partial image of the first frame is completed. While the data is being transmitted through the network 306, the transmission process is performed in units of partial images such as compression coding and transmission of the second partial image, compression coding and transmission of the third partial image, and so on. Make progress.
  • the acquired partial image data is sequentially decoded and decompressed.
  • the data of the first partial image reaches a state in which it can be displayed much faster than in the case of (a).
  • the data of the first partial image waits for display until the timing of the next vertical synchronization signal.
  • Subsequent partial images are output in sequence following the output of the first partial image. Since the display time of one frame itself is the same as in (a), the display of the nth partial image is completed by the next vertical synchronization signal.
  • the display can be realized at a timing one frame earlier than in the case of (a). ..
  • the compression coding by the server 400 is started by the vertical synchronization signal, but as described above, if the compression coding is performed without waiting for the vertical synchronization signal, there is a delay. You can save even more time.
  • the display control unit 246 of the image processing device 200 has a timing of at least one of a vertical synchronization signal and a horizontal synchronization signal within a range allowed by the display device according to the timing when the partial image data can be displayed. May be shifted.
  • the display control unit 246 changes the operating frequency of the pixel clock, which is the base of all display timings, by a predetermined minute time, or changes the horizontal blanking interval and the vertical blanking interval by a predetermined minute time.
  • the waiting time from when the output to the display panel is ready to the actual output may be shortened.
  • the display control unit 246 may repeat this change every frame so that the display does not collapse with one large change.
  • FIG. 6 shows an ideal case in which the partial image data independently transmitted from the server 400 reaches the image processing device 200 in approximately the same transmission time without delay.
  • FIG. 7 illustrates the transmission status of partial image data between the server 400 and the image processing device 200.
  • the vertical direction of the figure represents the passage of time, and the time required for the data of the first to seventh partial images shown on the axis of the server 400 to reach the image processing device 200 is indicated by an arrow. Since the communication status between the server 400 and the image processing device 200 can always change, and the data size of the partial image after compression coding can also change each time, the data transmission time of each partial image also varies. .. Therefore, even if the partial image data is sequentially transmitted from the server 400 at the same cycle, the state is not always maintained at the time of acquisition by the image processing device 200.
  • the data acquisition interval t1 of the first and second partial images and the data acquisition interval t2 of the second and third partial images are significantly different.
  • the acquisition order of the data of the fourth and fifth partial images is reversed.
  • data that does not reach the image processing device 200 due to packet loss such as the data of the sixth partial image, may be generated.
  • the image processing device 200 outputs the acquired partial image data to the display panel in the same order, the original image may not be displayed or the display cycle may be disrupted. It can happen.
  • the data acquisition status specifying unit 248 refers to the generation time of each partial image on the server 400 side, and grasps various situations shown in FIG. 7.
  • the output target determination unit 250 optimizes the output target and the output timing of the partial image in the display period of each frame. Therefore, the communication unit 426 of the server 400 may transmit the history of the generation time of a predetermined number of transmitted partial images to the image processing device 200 together with the data of the partial images and the generation time thereof.
  • the communication unit 426 transmits the generation time of the 64 sub-images transmitted most recently together with the data of the next sub-image.
  • the data acquisition status specifying unit 248 of the image processing apparatus 200 can grasp the lack of data and the reversal of the acquisition order by collating the history of the generation time with the generation time of the actually acquired partial image. That is, when data is missing, the data acquisition status specifying unit 248 makes it possible to acquire the generation time of the partial image from the history of the generation time transmitted together with the subsequent partial image.
  • FIG. 8 is a flowchart showing an example of a processing procedure in which the display control unit 246 outputs partial image data to the display panel while adjusting the output target and output timing in the present embodiment.
  • This flowchart shows a procedure of processing to be performed on a frame to be displayed in accordance with the vertical synchronization signal at a predetermined timing prior to the timing of the vertical synchronization signal of the display panel. That is, the illustrated process is repeated for each frame.
  • the data acquisition status specifying unit 248 of the display control unit 246 specifies the acquisition status of the partial image included in the target frame (S10).
  • the data acquisition status specifying unit 248 may further record the output record of the partial image in the frame up to that point and refer to it.
  • the output result is, for example, at least one of the following data. 1.
  • History of classifications selected in the past predetermined period among the three classifications described later 2.
  • the output target determination unit 250 determines which of the classifications prepared in advance corresponds to those identified situations (S12).
  • the output target determination unit 250 basically makes a comprehensive determination from various viewpoints and determines the output target so that the user experience is the best. Therefore, the data acquisition status specifying unit 248 acquires at least one of the following parameters in S10.
  • the output target determination unit 250 classifies the situation by giving a score according to which range the parameters acquired for the target frame correspond to. For example, a score is given to each of the parameters acquired in S10 based on a predetermined table, and the situation is classified based on the distribution of the scores of all the parameters. In the illustrated example, three classifications are prepared. When the first classification is applied, the output target determination unit 250 determines the latest partial image data obtained so far as the output target, and causes the output unit 252 to output the data (S14).
  • the output target determination unit 250 classifies the target frame into the first category based on the score determination. And. At this time, the output target determination unit 250 adjusts the timing so that the partial images are output in the order corresponding to each generation time. Ideally, as shown in FIG. 6, the partial images in the upper part of the frame are sequentially output.
  • the output target determination unit 250 can display the partial image of the target frame at a predetermined value (predetermined ratio) or more even if it has not been acquired. It may be classified into one category.
  • the table for determining the above-mentioned score may be set as such. As a result, the movement of the image can be expressed to the extent possible even if it is a part.
  • the missing image may be repaired by the image processing unit 244 after guessing.
  • the output target determination unit 250 determines the image data of the frame before the target frame as the output target, and causes the output unit 252 to output it (S16). In this case, the same frame will continue to be displayed on the display panel. For example, if the partial image of the target frame cannot be acquired at a predetermined value (predetermined ratio) or more and the partial image is acquired at a predetermined value (predetermined ratio) or more in the frame within the previous predetermined time, the output target determination unit In 250, the target frame is classified as the second category.
  • the table for determining the above-mentioned score may be set as such.
  • the output target determination unit 250 determines that nothing is output during the period in which the data of the target frame should be output (S18). In this case, a blackout period for one frame occurs on the display panel. For example, if the partial image of the target frame cannot be acquired for a predetermined value (predetermined ratio) or more and the elapsed time from the generation time is too long to continuously display the displayed image, the output target determination unit 250 sets the target frame as the third. It is classified. The table for determining the above-mentioned score may be set as such.
  • the blackout is basically to display a black filled image, but another preset color may be used.
  • the image can be partially updated or some image can be updated by branching to the first category regardless of the partial image acquisition status as described above. Good. It should be noted that the user experience is likely to be impaired as the first classification progresses to the third classification. Therefore, for each parameter acquired in S10, a table is determined so as to give a high score when the user experience should be good.
  • the display method classification of the first to third classifications is selected.
  • the threshold value for which the side with the larger total value is the first classification and the side with the smaller total value is the third classification is determined in advance.
  • the type of information acquired by the data acquisition status specifying unit 248, the judgment criteria for classification by the output target determination unit 250, and the output target in each classification are the contents of the moving image to be displayed. , Determine appropriately based on the allowable degree of omission, the duration of omission, the permissible display delay, display stop time, and the like. Further, the display control unit 246 holds an image accumulated while waiting until the next vertical synchronization signal, a displayed image in a certain range, a generation time, a determination result in S10 or S12, or a score (not shown) in a memory or the like. You may.
  • the output target determination unit 250 determines whether or not the situation related to the target frame corresponds to the condition to warn the user, in addition to the determination in S12 (S20). For example, the output target determination unit 250 determines that a warning to the user is necessary on the condition that the blackout time per unit time and the amount of missing partial images exceed the threshold value (S20). Y). At this time, the output target determination unit 250 displays a message indicating that the communication status affects the image display (S22).
  • the message may be displayed by the image processing unit 244 superimposing it on the partial image. This allows the user to know the cause of the defect in the displayed image. If the warning condition is not met, the message is not displayed (N in S20). The above procedure ends the processing related to the target frame and starts the processing for the next frame.
  • the data acquisition status specifying unit 248 may derive a tendency of the data transmission delay time based on the elapsed time from the generation time of the partial image acquired in S10 to the processing time. For example, the data acquisition status specifying unit 248 generates a histogram of the elapsed time from the generation time of a predetermined number of partial images acquired in the past. Then, the data acquisition status specifying unit 248 detects the tendency of the elapsed time to increase when the histogram is biased in the direction in which the elapsed time becomes longer than the reference value.
  • the data acquisition status specifying unit 248 may request the server 400 via the image data acquisition unit 240 or the like to suppress the size of the image data to be transmitted.
  • the data acquisition status specifying unit 248 requests that the data transmission of one frame of the image be skipped, or that the compression rate be increased by a predetermined amount. You may request that the screen resolution be reduced by a predetermined amount.
  • the data acquisition status specifying unit 248 may request the output target determination unit 250 to skip the data output of one frame of the image.
  • the data acquisition status specifying unit 248 may transmit the elapsed time from the generation time of the partial image to the acquisition to the server 400.
  • the communication unit 426 of the server 400 acquires this, and when the compression coding unit 422 generates a histogram and the histogram is biased in the direction of increasing the elapsed time, the communication unit 426 detects the tendency of the elapsed time to increase and transmits the histogram.
  • the size of the image data to be used may be suppressed.
  • the data acquisition status specifying unit 248 may notify the server 400 of the amount of occurrence of the first to third categories described above. With these measures, the delay time increases, and it is possible to prevent the display of subsequent frames from being significantly delayed or data being lost.
  • the server 400 is a portion smaller than one frame.
  • Image data is compressed and encoded in image units and transmitted.
  • the image processing apparatus 200 also decodes and decompresses each partial image, performs necessary processing, and sequentially outputs the image to the display panel.
  • both the server 400 and the image processing device 200 can perform pipeline processing with a grain size finer than one frame.
  • the waiting time can be reduced compared to the processing for each frame, and the delay time from drawing to display can be reduced.
  • the image processing device 200 reproduces the order in which the server 400 generated the images even if the independent data are transmitted one after another in a short cycle.
  • the display can be advanced in this way.
  • the missing partial image can be grasped based on the generation time, whether to display the latest data, reuse the data of the previous frame, or output nothing, depending on the display content and display policy.
  • Such aspects can be appropriately selected. Since the measures that can be taken for various situations related to data transmission will increase, it is possible to display with low delay while suppressing obstacles by taking measures so as not to deteriorate the user experience.
  • FIG. 9 shows a configuration of a functional block of an image processing device 200 having a reprojection function and a server 400 having a corresponding function.
  • Reprojection is a mode in which a head-mounted display 100 is used to display an image in a field of view according to the movement of the user's head, and the once drawn image corresponds to the position and posture of the head immediately before display. Refers to the process of making corrections.
  • image data is transmitted from the server 400 as in the present embodiment
  • the data is transmitted during the data transmission period.
  • the changed position and posture are not reflected in the image.
  • the image processing device 200 makes corrections according to the position and posture of the head, when the correction is made on a frame-by-frame basis, the changes in position and posture that occur during the correction processing are not reflected in the image. ..
  • a rendering device and a head-mounted display for performing reprojection on a frame-by-frame basis are disclosed in, for example, International Publication No. 2019/0276765.
  • the rendering device predicts the position and orientation of the head-mounted display at the time of frame display and draws the image, and the head-mounted display further corrects the image based on the difference between the predicted value and the latest position and orientation. And then display.
  • the rendering device is used as a server, the transmission path to the head-mounted display and the transmission time will vary, and there will be a difficult-to-correct discrepancy between the predicted position and orientation and the actual position and orientation at the time of display. It is also possible.
  • the server 400 includes an image generation unit 420, a compression coding unit 422, a packetization unit 424, and a communication unit 426.
  • the image processing device 200 includes an image data acquisition unit 240, a decoding / stretching unit 242, an image processing unit 244, and a display control unit 246.
  • the compression coding unit 422, the packetization unit 424, the communication unit 426, the image data acquisition unit 240, and the decoding / decompression unit 242 of the server 400 have the same functions as those described with reference to FIG. However, the purpose is not to limit those functions, and for example, the image data acquisition unit 240 may acquire the data of the partial image that is not compressed and encoded from the server 400. In this case, the functions of the compression coding unit 422 in the server 400 and the decoding / decompression unit 242 in the image processing device 200 can be omitted.
  • the server 400 may realize a multiplayer game in which a plurality of players participate, live distribution of a sports competition, and the like.
  • the server 400 continuously acquires the movements of the heads of each of the plurality of users, generates an image in the field of view corresponding to the movement, and distributes the image to the image processing device 200 of each user by streaming.
  • the server 400 draws a virtual world seen from each viewpoint based on the footprint of each player in the three-dimensional space.
  • the server 400 generates an image corresponding to each user's viewpoint based on an image of the state of the competition taken by a plurality of distributed cameras.
  • the image generation unit 420 of the server 400 includes a position / orientation acquisition unit 284, a position / orientation prediction unit 286, and a drawing unit 288.
  • the position / orientation acquisition unit 284 acquires information on the position and orientation of the user's head to which the head-mounted display 100 is attached from the image processing device 200 at a predetermined rate.
  • the position / posture prediction unit 286 predicts the position and posture of the user at the time when the generated image frame is displayed. That is, the position / orientation prediction unit 286 obtains the delay time from the generation of the image frame to the display on the head-mounted display 100, and how the position and posture acquired by the position / orientation acquisition unit 284 change after the delay time elapses. Predict what to do.
  • the delay time is derived based on the processing performance of the server 400 and the image processing device 200, the delay time in the transmission line, and the like. Then, the amount of change in the position or posture is obtained by multiplying the translational speed or the angular velocity of the head-mounted display 100 by the delay time, and is added to the position or posture acquired by the position / posture acquisition unit 284.
  • the drawing unit 288 sets the view screen based on the predicted position and posture information, and draws an image frame.
  • the packetizing unit 424 acquires from the image generation unit 420 the predicted values of the position and orientation of the user's head, which are used as a premise when drawing the image frame, as well as the generation time of the image frame. Correspond to image data.
  • the image data acquisition unit 240 of the image processing device 200 acquires the generation time and the predicted value of the position and posture of the user's head together with the partial image data.
  • the communication unit 426 of the server 400 determines the predicted values of a predetermined number of positions and orientations transmitted most recently. , May be transmitted with the data of the next partial image.
  • the image processing apparatus 200 may acquire the generation time for each frame from the server 400 instead of the generation time for each partial image. In the latter case, the delay time described below is in frame units.
  • the image processing unit 244 of the image processing device 200 includes a position / orientation tracking unit 260, a first correction unit 262, a composition unit 264, and a second correction unit 266.
  • the position / posture tracking unit 260 acquires an image taken by at least one of the cameras included in the head-mounted display or a measured value of a motion sensor built in the head-mounted display 100, and determines the position and orientation of the user's head. Derived at the rate.
  • any of the various methods that have been put into practical use may be used for deriving the position and posture of the head.
  • the information may be derived inside the head-mounted display 100, and the position / orientation tracking unit 260 may only acquire the information from the head-mounted display 100 at a predetermined rate.
  • This information is transmitted to the server 400 via the image data acquisition unit 240.
  • the captured image that is the source of the information on the position and posture of the head of the transmission target and the time when the measured value of the motion sensor is obtained are associated and transmitted.
  • the first correction unit 262 is based on the difference between the position and posture of the head most recently acquired by the position / orientation tracking unit 260 and the predicted values at the time when the partial image is generated in the server 400. Reprojection processing is performed on the partial image transmitted from.
  • the difference used as the basis for the reprojection may be at least one of the position of the user's head and the posture of the user's head, but these are collectively referred to as "positional posture".
  • the first correction unit 262 may strictly obtain the latest position / orientation information at the time of correction by interpolating the position / orientation information acquired at a predetermined time interval. Then, the first correction unit 262 corrects by deriving the difference between the position and orientation at the time of correction and the predicted value thereof. More specifically, the first correction unit 262 creates a displacement vector map in which a displacement vector indicating the position where the pixels in the image before correction are displaced by the correction is represented on the image plane.
  • the corrected partial image is generated by acquiring the pixel position of the displacement destination with reference to the displacement vector map.
  • the area of the corrected image that can be generated from the partial image before the correction may change.
  • the first correction unit 262 performs correction processing with reference to the displacement vector map when the data of the partial image before correction, which is necessary for generating the data of the partial image after correction, is stored in the local memory of the previous stage. To start. This makes it possible to process the corrected image in units of partial images.
  • the first correction unit 262 may further perform correction for giving the distortion at the same time.
  • the displacement vector represented by the displacement vector map for each pixel is a vector obtained by synthesizing the displacement vector for reprojection and the displacement vector for distortion correction.
  • the displacement vector for distortion correction is data unique to the eyepiece and does not depend on the movement of the user, so it can be created in advance.
  • the first correction unit 262 updates the displacement vector map and then corrects the displacement vector prepared in this way by synthesizing the displacement vector required for the reprojection with the displacement vector for distortion correction. ..
  • the displacement vector map is also updated for each region corresponding to the partial image, and by reflecting the position and posture of the head immediately before, an image with little delay from the movement of the head can be displayed in the entire frame.
  • the compositing unit 264 synthesizes a UI plain image in units of partial images with a partial image that has been corrected by reprojection or the like.
  • the target to be combined with the partial image by the compositing unit 264 is not limited to the UI plain image, and may be any image such as an image taken by the camera of the head-mounted display 100. In any case, when the image is displayed on the head-mounted display 100, the image to be combined is also given distortion for the eyepiece in advance.
  • the composition process by the composition unit 264 may be performed before the reprojection or distortion correction by the first correction unit 262.
  • the image to be combined may not be distorted, and the combined image may be collectively corrected for distortion or the like. If there is no image to be combined, the processing of the composition unit 264 can be omitted.
  • the second correction unit 266 performs the remaining correction processing among the corrections to be made into the display image. For example, when correcting chromatic aberration, the first correction unit 262 applies a common distortion corresponding to the eyepiece regardless of the primary color of the display panel.
  • the second correction unit 266 For example, considering the characteristics of the human eye looking at the display panel, first correct the green color. Then, the second correction unit 266 generates a partial image of the red component by correcting only the difference between the red displacement vector and the green displacement vector. Further, a partial image of the blue component is generated by correcting only the difference between the blue displacement vector and the green displacement vector. Therefore, the second correction unit 266 prepares a displacement vector map in which the displacement vector representing the difference for generating the red and blue images is represented on the image plane.
  • the first correction unit 262, the composition unit 264, and the second correction unit 266 may perform pipeline processing by performing each processing in units of partial images.
  • the partial image storage unit and the control unit shown in FIG. 3 may be provided in each functional block.
  • the content and order of the processes performed by the first correction unit 262, the synthesis unit 264, and the second correction unit 266 are not limited.
  • the first correction unit 262 may refer to the displacement vector map for each primary color and correct the chromatic aberration at the same time as other corrections.
  • the display control unit 246 basically has the same function as that shown in FIG. 5, but in addition to the elapsed time since the partial image was drawn, the difference between the predicted value of the position / orientation and the actual position / orientation. Also changes the output target to the display panel. That is, the data acquisition status specifying unit 248a is based on the difference between the predicted value of the position / orientation and the actual position / orientation in addition to the elapsed time from the generation time, the original display order, display timing, and partial image of the partial image data. Identify the data acquisition status such as the amount of missing data.
  • the output target determination unit 250b changes the output target to the display panel and appropriately adjusts the output order and output timing according to the results. At this time, the output target determination unit 250b adds a criterion due to the position and orientation of the user's head, such as whether or not the display is broken by performing reprojection, to the various classifications shown in FIG. Then, when it is determined that the failure does not occur, the image processing unit 244 performs reprojection, and the output unit 252 outputs it to the display panel. That is, in this case, after the display control unit 246 determines the output target, the image processing unit 244 performs various processes including reprojection. Alternatively, execute both in parallel.
  • FIG. 10 is a diagram for explaining the reprojection performed by the first correction unit 262 and the distortion correction for the eyepiece.
  • the server 400 predicts the position and orientation of the head of the user 120, and sets the view screen 122 at the corresponding position and orientation. Then, the server 400 projects an object existing inside the viewing frustum 124 in the space to be displayed onto the view screen 122.
  • the server 400 appropriately compresses and encodes each partial image and transmits it to the image processing device 200.
  • the image processing device 200 sequentially outputs the images to the display panel by appropriately decoding and decompressing them.
  • the difference between the predicted value of the position and orientation on the server 400 and the actual position and orientation is large, the movement of the head and the movement of the head occur.
  • the display may not be linked, which may give the user a sense of discomfort or cause image sickness. Therefore, the first correction unit 262 shifts the image on the image by the difference so that the latest position and orientation of the head is reflected in the display.
  • the first correction unit 262 sets a new view screen 126 so as to correspond to the latest position and orientation.
  • the view screen 126 is the original view screen 122 shifted to the lower right.
  • the image moves in the opposite direction, that is, to the upper left.
  • the first correction unit 262 makes a correction that displaces the image by the amount of displacement of the view screen in the direction opposite to the displacement direction of the view screen.
  • the view screen is not limited to parallel movement in two dimensions, and the posture in three-dimensional space may be changed depending on the movement of the head.
  • the amount of displacement of the image can change depending on the position on the image plane, but the displacement vector can be calculated by a general conversion formula used in computer graphics.
  • the first correction unit 262 may further perform distortion correction for the eyepiece at the same time. That is, as shown in the lower part of (b), the original image is distorted so that the original image can be visually recognized without distortion when viewed through the eyepiece.
  • the calculation formula used for this processing a general formula related to the correction of lens distortion can be used.
  • the required correction amount and correction direction are calculated for each pixel and prepared as a displacement vector map.
  • the first correction unit 262 generates a displacement vector map by synthesizing the displacement vector for reprojection obtained in real time with the displacement vector for this distortion correction, and by referring to the displacement vector map, two corrections are made. Is realized at once.
  • FIG. 11 is a diagram for explaining an example of the procedure of the correction process performed by the first correction unit 262.
  • (A) shows the image before correction
  • (b) shows the plane of the image after correction.
  • In the image plane before correction represent the positions where the displacement vector is set in the displacement vector map.
  • the displacement vectors are set discretely in the horizontal and vertical directions of the image plane (for example, at equal intervals such as every 8 pixels or 16 pixels).
  • the first correction unit 262 maps the image before correction to the image after correction in the unit of the smallest triangle having the pixel for which the displacement vector is set as the apex. For example, a triangle having vertices S00, S01, and S10 of the image before correction is mapped to a triangle having vertices D00, D01, and D10 of the image after correction.
  • the pixels inside the triangle are displaced linearly according to the distances from D00, D01, and D10, or to the positions interpolated by bilinear, trilinear, or the like.
  • the first correction unit 262 determines the pixel value of the corrected image by reading the value of the corresponding pixel of the partial image before correction stored in the connected local memory.
  • the pixel values of the corrected image are derived by interpolating the values of a plurality of pixels within a predetermined range from the read destination position in the image before correction by bilinear, trilinear, or the like.
  • the first correction unit 262 can draw the corrected image in the order of pixel strings in the unit of the triangle which is the displacement destination of the triangle of the image before the correction.
  • the first correction unit 262 may update the displacement vector map in the area unit corresponding to the partial image.
  • the second correction unit 266 may refer to a displacement vector map different from that of the first correction unit 262 and map the pixels for each of the smallest triangles. For example, when correcting chromatic aberration, an image of each primary color component can be generated by using a displacement vector map that is different for each primary color.
  • FIG. 12 is a flowchart showing a processing procedure in which the output target determination unit 250b of the display control unit 246 adjusts the output target when the image processing device 200 performs reprojection.
  • This flowchart is performed after the determination process of S12 in the flowchart shown in FIG. More specifically, the output target determination unit 250b makes an additional determination in order to change to the third category as necessary, even if the frame is applicable to the first category or the second category in the determination process of S12. Do. Therefore, in S12 of FIG. 8, when it is determined from the acquisition status of the partial image that the target frame falls under the third category, the output target determination unit 250b ends the process as it is (N in S90).
  • the output target determination unit 250b first determines the position and orientation of the user's head predicted when the server 400 generates an image frame. It is determined whether or not the difference from the latest position / orientation is within the permissible range (S92). As described above, it often takes longer to transfer data when transmitting data from a cloud server or the like, as compared with the case where image data is transmitted from a rendering device near the head-mounted display 100. Therefore, there is a high possibility that the deviation between the predicted value of the position and the posture and the actual value will widen.
  • the output target determination unit 250b changes the classification of the target frame classified as the first classification or the second classification to the third classification (N, S98 of S92). In this case, the display is blacked out.
  • the first classification may be left as it is, and the past frame may not be used for displaying the missing portion in S14 of FIG.
  • the criteria for determining whether the difference in position and orientation is within the permissible range is whether the entire area of the frame can be covered by the latest partial image (1st classification), or whether even a part of the past frame partial image is used (1st classification or). It may be different depending on the second category). Specifically, the smaller the difference in position and orientation, the more it may be allowed to use the partial image of the past frame. Whether or not it is within the permissible range may be determined by the magnitude relationship with the threshold value set for the difference in position and orientation, and as the score value within the permissible range, a function that becomes lower as the difference in position and orientation increases. Then, the score value and the like used for the determination in FIG. 8 may be added up to make a comprehensive determination.
  • the output target determination unit 250b When it is determined that the difference in position and orientation is within the permissible range (Y in S92), the output target determination unit 250b then evaluates the degree of data loss in the target frame from the viewpoint of the user, and the result is within the permissible range. Whether or not it is determined (S94). Specifically, the closer to the user's gaze point, the greater the weighting is used to quantify the degree of data loss, and when the value exceeds the threshold value, it is determined that the degree of data loss is not within the permissible range. When the degree of omission is not within the permissible range (N in S94), the output target determination unit 250b changes the target frame classified as the first classification to the second classification or the third classification.
  • the target frame classified as the second category is changed to the third category (S98).
  • S94 the more data is missing in the part that is easy for the user to see, the more the past frame is reused or blacked out without outputting the frame.
  • the determination process of S94 may be performed at the same time as the determination process of S12 of FIG. After determining that the degree of data loss is within the permissible range (Y in S94), the output target determination unit 250b then determines whether there is sufficient data required for reprojection (S96).
  • the output target determination unit 250b changes the target frame classified as the first classification to the second classification or the third classification. Alternatively, the target frame classified as the second classification is changed to the third classification (S98). When sufficient data is obtained, the output target determination unit 250b ends the process with the original classification (Y in S96).
  • S92, S94, and S96 are not limited to being judged independently, but scores are obtained based on each judgment criterion, and by adding them up, it is judged comprehensively and simultaneously whether or not classification or display content change is necessary. You may. As a result of the additional determination in this way, any of the processes S14, S16, and S18 of FIG. 8 is performed. However, in the processing of S14 and S16, the image processing unit 244 performs the correction processing including the reprojection as described above. That is, in the case of the first classification, the image processing unit 244 performs reprojection on the latest image frame or the image frame using the past frame in the missing portion.
  • the image processing unit 244 starts the correction process after all the image data in the range used for the reprojection of the partial image to be processed arrives at the partial image storage unit in the previous stage.
  • the image processing unit 244 reads the corresponding data from the memory (not shown) of the display control unit 246.
  • the range of the image used for the reprojection is determined by the difference between the predicted value of the position and orientation and the actual position and orientation.
  • FIG. 13 is a diagram for explaining a method of quantifying the degree of data loss based on the user's viewpoint in S94 of FIG.
  • the user's gazing point 292 is assumed to exist near the center of the display screen 290. Since the user wearing the head-mounted display 100 usually turns his / her face in the desired direction, the center of the display screen 290 can be regarded as the gazing point 292.
  • the region 294 corresponding within 5 ° with the line of sight from the pupil to the gazing point as the central axis is called a discriminative visual field, and has excellent visual functions such as visual acuity.
  • the region 296 corresponding to within about 30 ° in the horizontal direction and within about 20 ° in the vertical direction is called an effective visual field, and information can be instantly received only by eye movement.
  • the area 298 corresponding to 60 to 90 ° in the horizontal direction and 45 to 70 ° in the vertical direction is a stable gaze
  • the area 299 corresponding to 100 to 200 ° in the horizontal direction and 85 to 130 ° in the vertical direction is auxiliary. The farther away from the gazing point 292, such as the visual field, the lower the ability to discriminate information.
  • weighting functions 320a and 320b are set so as to be closer to the gazing point 292 on the plane of the display screen 290.
  • the weighting functions 320a and 320b for the one-dimensional positions in the horizontal and vertical directions on the plane of the display screen 290 are shown, but in reality, the functions for the two-dimensional position coordinates on the plane. Or use a table.
  • the output target determination unit 250b multiplies the missing area of the partial image by a weight based on the position coordinates where the missing occurs, and totals it over the entire area of the target frame to derive the degree of missing as a numerical value. ..
  • the degree of missing can be estimated high, and it is possible to determine whether or not it is within the allowable range in consideration of the impression of appearance.
  • the shapes of the weighting functions 320a and 320b shown in the figure are merely examples, and the shapes may be optimized or made into discontinuous functions based on the visual characteristics of each range described above.
  • the output target determination unit 250b may move the position where the weighting functions 320a and 320b are maximized according to the movement of the gazing point 292.
  • FIG. 14 is a diagram for explaining the data required for reprojection, which is evaluated in S96 of FIG. First, (a) shows a state in which the view screen 340a is set so as to correspond to the position and orientation predicted by the server 400.
  • the server 400 draws an image 344 included in the viewing frustum 342a determined by the view screen 340a on the view screen 340a.
  • the position / orientation at the time of display faces slightly to the left of the predicted position / orientation.
  • the image processing unit 244 of the image processing device 200 turns the view screen 340b slightly to the left and corrects the image so that the image corresponds to the view screen 340b.
  • the larger the area 346 that is not transmitted from the server 400 the more difficult the reprojection becomes. Therefore, it is determined that the data is not sufficient when there is a predetermined ratio or more of the area 346 in which the data has not been acquired in the display area after the projection.
  • the image transmitted from the server 400 also includes an area 348 that is not included in the newly set viewing frustum 342b. That is, since the data in the area 348 becomes an unnecessary area after the reprojection, there is no problem in displaying even if the data is missing. Therefore, the output target determination unit 250b may exclude the region 348 from the evaluation target when evaluating the missing area or the like in S12 of FIG. Even if sufficient image data required for reprojection is acquired, if the difference between the position / orientation predicted by the server 400 and the actual position / orientation is too large, the image after reprojection may become unnatural. Conceivable.
  • the output target determination unit 250b performs the determination of S92 separately from the determination of S96, and cancels the output to the display panel when the difference in position and orientation is large. In any case, it is desirable to reduce the area 346 for which data is not acquired among the areas required for reprojection shown in FIG. 14 as much as possible regardless of the movement of the user's head.
  • FIG. 15 is a flowchart showing a procedure of processing performed by the server 400 and the image processing device 200 when the image processing device 200 performs reprojection. This flowchart is basically performed on a frame-by-frame basis for moving images.
  • the image data acquisition unit 240 of the image processing device 200 acquires the latest position / orientation of the user's head from the position / orientation tracking unit 260 and transmits it to the server 400 (S100).
  • the image data acquisition unit 240 has a history of the delay time obtained for the past frame from the generation time in the server 400 to the processing by the image processing device 200, and the predicted value and the actual position / orientation of the user's head.
  • the history of the difference from and is acquired from the display control unit 246 and transmitted to the server 400 (S102).
  • the transmission processing of S100 and S102 may be performed at an arbitrary timing that is not synchronized with the frame. Further, in S102, it is possible to prepare for a transmission failure by transmitting a history of a predetermined number of frames in the past.
  • the position / orientation acquisition unit 284 of the server 400 receives the information, and the position / orientation prediction unit 286 predicts the position / orientation of the user's head (S104). That is, the position / orientation after the delay time until the image processing device 200 processes the image is predicted by using the position / orientation transmitted from the image processing device 200.
  • the drawing unit 288 draws an image corresponding to the predicted position / orientation (S106). At this time, the drawing unit 288 may deviate from the position / orientation to the most recently predicted delay time based on the delay time history and the position / orientation difference history transmitted from the image processing device 200. To identify. That is, as shown by the arrow shown in FIG. 14A, the vector representing the amount and the direction of deviation is predicted with respect to the predicted value of the position and orientation.
  • the drawing unit 288 expands the drawing target in the direction in which the view screen is displaced by the vector. That is, a region outside the frame corresponding to the predicted value of the position and orientation, such as the region 346 in FIG. 14B, is determined based on a vector representing the predicted deviation, and the image is additionally drawn.
  • the packetizing unit 424 packetizes the drawn image in units of partial images as necessary, and sequentially transmits the drawn image from the communication unit 426 to the image processing device 200.
  • the communication unit 426 transmits the generation time of the partial image and the predicted value of the position / orientation used for drawing in association with the partial image (S108).
  • the communication unit 426 also transmits a history of generation time and a history of predicted values of position and orientation of a predetermined number of transmitted partial images to prepare for a transmission failure to the image processing device 200.
  • the display control unit 246 acquires the delay time after the partial image is generated and the difference between the predicted value of the position and orientation and the actual value ( S110). Then, the display control unit 246 controls the output target by classifying the frames based on the data (S112).
  • the image processing unit 244 performs reprojection based on the position and orientation at that time with respect to the current frame or the previous frame determined by the display control unit 246 in units of partial images.
  • the output unit 252 outputs the image to the display panel (S114).
  • the image processing unit 244 uses an image additionally drawn by the server 400 based on the deviation of the prediction as necessary.
  • the image processing unit 244 may appropriately perform correction for removing lens distortion and chromatic aberration correction together with reprojection. When focusing on reprojection, it works effectively even if each process is executed in frame units instead of partial image units. At that time as well, the image data additionally generated by the server 400 based on the deviation from the predicted value of the position and orientation may be transmitted from the server 400 to the image processing device 200 in partial image units.
  • the server predicts the position and orientation of the user's head at the time of display and generates an image in the corresponding field of view. Then, the image processing device corrects the image transmitted from the server immediately before the display so as to correspond to the position and posture of the head at that time. As a result, it is possible to improve the followability of the display with respect to the movement of the head, which tends to be a bottleneck in the mode of displaying the image streamed from the server on the head-mounted display.
  • the image processing device determines the difference between the position / orientation predicted by the server and the actual position / orientation, the degree of data loss evaluated from the user's point of view, and the acquisition rate of image data used for reprojection. Control the output target based on, etc. For example, if it is predicted that the result of reprojection with the latest data is not good, it will not be displayed, or the data of the past frame will be the target of reprojection. Further, the server further predicts the predicted displacement of the position and orientation, and speculatively generates an image of the corresponding area. By these processes, the result of reprojection can be made as good as possible, and a high-quality image can be displayed with good responsiveness.
  • the image display system 1 of the present embodiment has a function of simultaneously displaying images having the same contents on the head-mounted display 100 and the flat plate display 302. .
  • the display content is unknown to anyone other than the user wearing the head-mounted display 100. Therefore, it is not possible for a plurality of users to watch the progress of the game together and share the sense of presence as one.
  • the format of the image to be displayed differs greatly between the head-mounted display 100 and the flat-plate display 302, but it is inefficient in terms of transmission band and processing load to generate and transmit data of a plurality of images having different formats on the server 400. There are cases. Therefore, by linking the server 400 and the image processing device 200 to appropriately select the division and timing of data format conversion, it is possible to efficiently display a plurality of forms of images.
  • FIG. 16 shows the configuration of the functional blocks of the server 400 and the image processing device 200 that can support display on a plurality of display devices having different forms.
  • the server 400 includes an image generation unit 420, a compression coding unit 422, a packetization unit 424, and a communication unit 426.
  • the image processing device 200 includes an image data acquisition unit 240, a decoding / stretching unit 242, an image processing unit 244, and a display control unit 246.
  • the compression coding unit 422, the packetization unit 424, the communication unit 426, and the image data acquisition unit 240 and the decoding / decompression unit 242 of the image processing device 200 of the server 400 have the same functions as those described with reference to FIG.
  • the server 400 may transmit data of a partial image that is not compressed and encoded.
  • the functions of the compression coding unit 422 of the server 400 and the decoding / decompression unit 242 of the image processing device 200 can be omitted.
  • the image processing unit 244 of the image processing device 200 may further have at least one of the various functions shown in FIG.
  • the image generation unit 420 of the server 400 includes a drawing unit 430, a formation content switching unit 432, and a data formation unit 434.
  • the drawing unit 430 and the data forming unit 434 may be realized by a combination of the image drawing unit 404 (GPU) of FIG. 3, the drawing control unit 402 (CPU), and software.
  • the formation content switching unit 432 may be realized by a combination of the drawing control unit 402 (CPU) of FIG. 3 and software.
  • the drawing unit 430 generates a frame of a moving image at a predetermined or variable rate.
  • the image drawn here may be a general image that does not depend on the form of the display device connected to the image processing device 200. Alternatively, the drawing unit 430 may sequentially acquire frames of the captured moving image from a camera (not shown).
  • the formation content switching unit 432 switches the content of the processing to be performed by the server 400 among the formation processes required to form the format corresponding to the display form of the display device connected to the image processing device 200 according to a predetermined rule.
  • the formation content switching unit 432 prepares images for the left eye and the right eye and gives distortion corresponding to the eyepiece depending on whether or not the head-mounted display 100 is connected to the image processing device 200. Decide whether or not.
  • the image processing device 200 to which the head-mounted display 100 is connected is processed on the server 400 side and then the image is transmitted, at least a part of the correction processing in the image processing device 200 can be omitted.
  • the fact that the data transmitted from the server 400 can be displayed almost as it is is advantageous for the display with low delay.
  • the flat plate display 302 when the images for the left eye and the right eye, which are distorted for the eyepiece, are transmitted from the server 400, one of the images may be cut out. Processing such as removing distortion is required, and the processing load may increase on the contrary. When a plurality of formats of images are transmitted from the server 400, the required transmission band increases.
  • the formation content switching unit 432 can transmit the image in the most efficient format to the image processing device 200 without increasing the transmission band by appropriately selecting the processing to be performed on the server 400 side according to the situation. To. In addition, it is possible to transmit an image in a format having the best image quality and display delay according to the application.
  • the formation content switching unit 432 includes the form of the display device connected to the image processing device 200, the processing performance of the correction unit that further performs the formation processing in the image processing device 200, the characteristics of the moving image, and the image processing device 200.
  • the processing content is determined based on at least one of the communication conditions of.
  • the form of the display device is, for example, resolution, compatible frame rate, compatible color space, optical parameters when viewing through a lens, number of display devices, and the like.
  • the communication status is, for example, the communication bandwidth and communication delay realized at that time. Such information may be acquired from the image data acquisition unit 240 of the image processing apparatus 200.
  • the formation content switching unit 432 determines whether or not to generate images for the left eye and the right eye according to the display form of the head-mounted display 100, and whether or not to perform distortion correction for the eyepiece. And so on.
  • the required processing is not limited to this, depending on the display form desired to be realized by the image processing device 200 of each user, and various possibilities such as reduction of resolution and deformation of the image can be considered. Therefore, the candidates for the processing content determined by the formation content switching unit 432 are also appropriately set accordingly.
  • the data forming unit 434 performs a part of the forming process necessary to make each frame of the moving image into a format corresponding to the display form realized by the image processing device 200 according to the determination of the forming content switching unit 432. ..
  • the communication unit 426 transmits the data of the image appropriately formed in this way to the image processing device 200.
  • the data forming unit 434 performs a forming process suitable for each image processing device 200.
  • the image data in one format selected appropriately can be transmitted to one image processing device 200 to obtain a required communication band. Prevent growth.
  • the communication unit 426 transmits the image data by adding information indicating what kind of formation processing has been performed on the server 400 side. Image data in a format suitable for each of the plurality of image processing devices 200 that realize different display forms is transmitted in association with information indicating the content of the formation process.
  • the image processing unit 244 of the image processing device 200 has the first forming unit 270a (first correction unit) and the second forming unit 270a (first correction unit) in which the image transmitted from the server 400 is in a format corresponding to the display form to be realized as the correction unit.
  • a unit 270b (second correction unit) is included.
  • the image processing unit 244 has a function of generating a plurality of frames having different formats from one frame transmitted from the server 400, and the number depends on the number of display forms to be realized.
  • the first forming unit 270a and the second forming unit 270b are processes necessary for forming a format corresponding to each display form based on the contents of the forming process performed on the server 400 side, which is transmitted from the server 400 together with the image data. To determine.
  • the function of the first forming unit 270a or the second forming unit 270b can be omitted depending on the content of the forming process performed on the server 400 side. For example, when the image data that can be displayed on the head-mounted display 100 as it is is transmitted from the server 400, the first forming unit 270a corresponding to the head-mounted display 100 can omit the process.
  • either one of the first forming portion 270a or the second forming portion 270b may perform a necessary forming process on the image formed by the other.
  • the image for the head-mounted display 100 formed by the first forming portion 270a may be formed by the second forming portion 270b to generate an image for the flat plate display 302.
  • the various image processes shown in the image processing unit 244 of FIG. 9 and the forming process according to the display form may be appropriately combined.
  • the synthesis part 264 is incorporated immediately before the first forming part 270a and the second forming part 270b. Then, after synthesizing the image taken by the camera included in the head-mounted display 100 and the UI plane image with the frame transmitted from the server 400, the first forming unit 270a is used as an image in the display format of the head-mounted display 100, and the second forming is performed.
  • Part 270b is an image in the display format of the flat plate display 302.
  • the synthetic unit 264 may be incorporated immediately after the first forming unit 270a and the second forming unit 270b.
  • the image to be synthesized needs to be in a format corresponding to the image formed by the first forming portion 270a and the second forming portion 270b, respectively.
  • the reprojection may be performed by including the function of the first correction unit 262 shown in FIG. 9 in the first forming unit 270a.
  • the first forming portion 270a and the second forming portion 270b generate a displacement vector map as described above, and make corrections for each partial image based on the displacement vector map.
  • the first forming unit 270a may perform a plurality of corrections at once by generating a displacement vector map formed by synthesizing the displacement vectors.
  • the display control unit 246 includes a first control unit 272a and a second control unit 272b, and displays an image formed by the first forming unit 270a and the second forming unit 270b on the head-mounted display 100 and the flat plate display 302, respectively. Output to the panel.
  • the transmission from the server 400 and the processing inside the image processing apparatus 200, including the processing of the first forming unit 270a and the second forming unit 270b, are sequentially performed in units of partial images. Therefore, the first control unit 272a and the second control unit 272b each include a partial image storage unit for storing the data after the formation process.
  • FIG. 17 illustrates the transition of the image format that can be realized in the present embodiment.
  • the head-mounted display 100 and the flat-plate display 302 are connected to the image processing device 200.
  • the figure shows four patterns (a), (b), (c), and (d), the final format of the image to be displayed on the head-mounted display 100 and the flat plate display 302 does not depend on the pattern.
  • the image 132 to be displayed on the head-mounted display 100 is composed of an image for the left eye and an image for the right eye, each of which has a distorted format (first format) for the eyepiece.
  • the image 134 to be displayed on the flat plate display 302 is composed of one image common to both eyes, and has a general image format (second format) without lens distortion or the like.
  • (a) is a pattern in which the server 400 side generates a pair 130a of the image for the left eye and the image for the right eye.
  • the first forming unit 270a of the image processing device 200 gives distortion for the eyepiece of the head-mounted display 100 to the transmitted image.
  • correction such as reprojection may be further performed.
  • the second forming unit 270b cuts out either an image for the left eye or an image for the right eye to make an appropriate image size.
  • (B) is a pattern in which an image 130b suitable for a flat plate display is transmitted from the server 400.
  • the data forming unit 434 of the server 400 does not have to perform any forming process on the image drawn by the drawing unit 430.
  • the first forming unit 270a of the image processing device 200 generates images for the left eye and the right eye from the transmitted image, and gives distortion for the eyepiece.
  • correction such as reprojection may be further performed.
  • the second forming portion 270b can omit the forming process.
  • (C) is a pattern in which the server 400 side generates images for the left eye and the right eye for the head-mounted display 100, and then generates a distorted image 130c for the eyepiece.
  • the first forming unit 270a of the image processing apparatus 200 can omit the forming process.
  • correction such as reprojection may be performed by the first correction unit 262.
  • the second forming unit 270b cuts out an image of either the left eye image or the right eye image, performs correction to remove distortion, and makes the image size appropriate.
  • the panoramic image 130d is generally an image of the whole celestial sphere (360 ° image) represented by the equirectangular projection.
  • the format of the image is not limited, and any of the polyconic projection, the equidistant projection, and various other formats used for the image representation of the fisheye lens may be used.
  • the server 400 may generate a 360 ° panoramic image using images for two eyes.
  • the panoramic image is not limited to the image taken by the camera, and the server 400 may draw an image viewed from a plurality of virtual starting points.
  • the data forming unit 434 of the server 400 does not have to perform any forming process on the panoramic image drawn by the drawing unit 430.
  • the first forming unit 270a of the image processing device 200 cuts out the visual field regions of the left eye and the right eye corresponding to the latest position and orientation of the user's head from the transmitted images, and generates images for the left eye and the right eye. To do.
  • the first forming unit 270a removes distortion due to the camera lens and distortion due to equirectangular projection, polyconic projection, equidistant projection, etc. in the transmitted image, and then removes the distortion, and then head-mounted display. Gives distortion for 100 eyepieces. In the polyconic projection image, the gaps between the cones are joined in consideration of the distortion of the eyepiece. Further, the image processing unit 244 may be combined with at least one of the various corrections described above, and the correction may be performed collectively using the displacement vector map.
  • the second forming unit 270b cuts out the field of view by both eyes from the transmitted image, and removes any distortion caused by the camera lens.
  • the images to be displayed on the head-mounted display 100 and the flat-plate display 302 may have different ranges as shown in the figure, or may be in the same range.
  • the image displayed on the head-mounted display 100 is within the range corresponding to the position and orientation of the user's head, while the image displayed on the flat-plate display 302 is separately specified by user operation via a game controller or the like. It may be in the range.
  • the pattern (a) can be simultaneously subjected to distortion correction and reprojection in the image processing device 200.
  • the server 400 and the image processing device 200 have the same processing capacity, and the same displacement vector and pixel interpolation processing are performed. In the case of (a), there is a high possibility that the time required for output to the head-mounted display 100 can be shortened.
  • the video content of the panoramic image generated in advance or the game image generated in real time may be used.
  • the process corresponding to the above-mentioned reprojection is not necessary. Further, since the range of the transmitted image is not limited, there is no possibility that the data required for generating the display image by the reprojection is insufficient.
  • the pattern (a) can be output to the flat plate display 302 with the pattern (b). It is possible to output at almost the same speed as. Since the images transmitted from the server 400 in the patterns (b) and (d) do not include parallax and depth information, the image 132 output to the head-mounted display 100 is an image without parallax.
  • the image 134 output to the flat plate display 302 in the pattern (c) includes a process of restoring the image deformed by the server 400 on the image processing device 200 side, the patterns (a) and (b) The output speed will be slower. Further, the process of restoring the distorted image to the original state increases the possibility that the image quality is deteriorated as compared with the patterns of (a) and (b).
  • the server 400 Even if the viewpoint on the display side is various, the server 400 only needs to transmit one type of image data, so that the processing can be streamlined. On the other hand, since data in an area unnecessary for display is also transmitted, when data is transmitted with the same bandwidth as (a), (b), and (c) and a display image of one viewpoint is generated, those patterns are used. Image quality may deteriorate. Since each pattern has a characteristic as described above, the formation content switching unit 432 determines one of the patterns according to the rule set based on the characteristic.
  • FIG. 18 illustrates variations of the display device connection method on the user side (client side).
  • (a) shows a configuration in which a head-mounted display 100 and a flat-plate display 302 are connected in parallel to a processor unit 140 that acts as a distributor.
  • the processor unit 140 may be built in the image processing device 200 which is not integrated with the head-mounted display 100 and the flat plate display 302.
  • (B) shows a configuration in which the head-mounted display 100 and the flat-plate display 302 are connected in series.
  • (C) shows a configuration in which the head-mounted display 100 and the flat-plate display 302 are located at different locations, and each of them acquires data from the server 400.
  • the server 400 may transmit data in a different format according to the display format of the destination.
  • the head-mounted display 100 and the flat-plate display 302 are not directly connected. Therefore, when the images taken by the camera of the head-mounted display 100 are combined and displayed, the flat-plate display 302 reflects the images. Is difficult.
  • the four transmission patterns described in FIG. 17 can be applied to any of the connection systems shown in FIG.
  • the image processing device 200 is integrally provided on each of the head-mounted display 100 and the flat plate type display 302
  • the first forming portion 270a and the second forming portion 270b are shown in FIGS. 18A and 18B.
  • (C) and the format of the data transmitted from the server 400 determine whether or not to operate itself, and if so, the processing content. If the first control unit 272a and the second control unit 272b are operated according to the corresponding display modes, it is possible to display an image according to the mode of each display device regardless of the configuration shown in FIG. It becomes.
  • FIG. 19 is a flowchart showing a processing procedure for transmitting image data in a format determined by the server 400 according to the display form.
  • This flowchart is started by the user selecting a game to be played, a moving image to be watched, or the like from the image processing device 200.
  • the image data acquisition unit 240 of the image processing device 200 requests the server 400 to that effect, so that the server 400 establishes communication with the image processing device 200 (S30).
  • the formation content switching unit 432 of the server 400 confirms the necessary information by handshaking with the image processing device 200 (Y, S32 of S31). Specifically, check at least one of the following items.
  • the patterns that can be handled by the image processing apparatus 200 side 2. Whether or not to display an image on the flat plate display 302 from the same viewpoint as the head mounted display 100. Format that can be output on the server side 4. 5. Required values for delay time, image quality, and the presence or absence of left-right parallax. Communication speed (communication band or transfer band, communication delay or transfer delay) 6. Contents (processing capacity) that can be processed by the image processing unit 244 of the image processing device 200 7. Resolution, frame rate, color space, and optical parameters of the eyepiece of the head-mounted display 100 and the flat-plate display 302
  • the formation content switching unit 432 determines the formation content of the image to be executed on the server 400 side according to the preset rule based on the confirmed information (S34). For example, in the pattern shown in FIG. 17, the output delay time to the head-mounted display 100 is (c) ⁇ (d)> (b)> (a), and the output delay time to the flat plate display 302 is (c). ) ⁇ (d)> (a)> (b). The quality of the image displayed on the flat plate display 302 is highest in (b) and lowest in (c).
  • the server 400 has more processing capacity than the image processing device 200, and can perform processing for improving image quality such as a high-density displacement vector map and pixel interpolation processing with more taps in a short time. Therefore, even if the image for the head-mounted display 100 is corrected twice (c), the image quality may be superior. It should be noted that the image quality cannot be unconditionally compared between (a), (c) and (b) depending on the presence or absence of parallax processing and the like.
  • Rules are set so that the optimum pattern can be selected according to the balance between such delay time and image quality, the pattern that can be executed by the image processing device 200 and the server 400, and the like.
  • the communication band (transfer band) and the communication delay (transfer delay) are also taken into consideration.
  • the total delay time is the total of the processing time in the server 400, the communication delay, and the processing time in the image processing device 200.
  • an acceptable level for the total delay time may be determined in advance.
  • the pattern (a) may be selected on the premise that the image processing apparatus 200 collectively processes the lens distortion and the projection with a standard image quality.
  • the communication delay (transfer delay) is smaller than that, a pattern having a long processing time in the server 400 or the image processing device 200 may be selected to improve the image quality.
  • the pattern (c) may be selected instead of the pattern (a) in FIG. 17 for the display on the head-mounted display 100.
  • the pattern of (c) cannot be selected, and (a) or (b) It is necessary to select the pattern of.
  • the data forming unit 434 performs a forming process on the frame drawn by the drawing unit 430 with the determined contents (S36). If the data forming unit 434 decides to transmit the frame drawn by the drawing unit 430 as it is, the forming process is omitted. After that, the compression coding unit 422 compresses and encodes the image data as necessary, and the packetizing unit 424 associates the image data with the formed contents applied to the data to form a packet, thereby forming a communication unit. 426 transmits to the image processing device 200 (S38). The processes of S36 and S38 are actually sequentially progressed in units of partial images as described above.
  • the quantization parameters, resolution, frame rate, color space, etc. at the time of data compression are controlled by the control described later.
  • the data size may be reduced by changing at least one of the above.
  • the image processing unit 244 of the image processing device 200 may upscale the image size or the like. If it is not necessary to stop the transmission of the image due to a user operation on the image processing device 200 (N in S40), the drawing, forming processing, and transmission of the subsequent frames are repeated (N in S31, S36, S38).
  • the formation content switching unit 432 updates the formation content by the processing of S32 and S34 (Y in S31).
  • the timing for switching the image formation content is when the application executed by the image processing device 200 is switched, when the mode is switched within the application, or when the timing is specified by the user operation for the image processing device 200. Can occur.
  • the formation content switching unit 432 may further constantly monitor the communication speed and dynamically switch the formation content as needed.
  • the server 400 ends all the processing (Y in S40).
  • the server 400 performs the data formation processing necessary for display based on the display form to be realized in the image processing device 200 which is the transmission destination of the image data.
  • the image processing device 200 which is the transmission destination of the image data.
  • Displayed under a given environment by determining the content of the formation process according to the type of display device connected to the image processing device 200, the processing performance of the image processing device, the communication status, the content of the moving image to be displayed, and the like. The responsiveness and image quality of the image can be maximized.
  • the server 400 selects one suitable data format, performs formation processing, and then transmits the data, depending on the number of display formats. Data can be transmitted in the same communication band. As a result, on the image processing apparatus 200 side, data corresponding to each display form can be formed with less processing. In addition, it is easy to combine various corrections such as reprojection and compositing with other images. As a result, the image provided via the network can be displayed with low delay and high image quality regardless of the type and number of display forms to be realized.
  • each frame of a moving image is composed of a plurality of images obtained from different viewpoints. For example, if a display image is generated from a viewpoint corresponding to the left and right eyes of a person and displayed in the left eye region and the right eye region of the head-mounted display 100, the user can enjoy a realistic image world. As an example, an event such as a sports competition is photographed by a plurality of cameras arranged in a space, and the images for the left eye and the right eye are generated and displayed according to the movement of the head of the head-mounted display 100. By doing so, the user can see the event from a free viewpoint as if he / she is at the venue.
  • the images for the left eye and the right eye that should be transmitted from the server 400 basically represent images in the same space, and therefore have high similarity. Therefore, the compression coding unit 422 of the server 400 realizes a higher compression rate by compressing and coding one image and using the other data as information representing the difference from the image. Alternatively, the compression coding unit 422 may acquire information representing the difference from the compression coding result of the corresponding viewpoint of the past frame. That is, the compression coding unit 422 performs predictive coding by referring to at least one of the compression coding results of another image representing the image at the same time in the moving image data or the image of the past frame.
  • FIG. 20 shows a configuration of a server 400 having a function of compressing an image of a plurality of viewpoints at a high rate and a functional block of an image processing device 200 for processing the server 400.
  • the server 400 includes an image generation unit 420, a compression coding unit 422, a packetization unit 424, and a communication unit 426.
  • the image processing device 200 includes an image data acquisition unit 240, a decoding / stretching unit 242, an image processing unit 244, and a display control unit 246.
  • the image generation unit 420, the packetization unit 424, the communication unit 426 of the server 400, the image data acquisition unit 240, the image processing unit 244, and the display control unit 246 of the image processing device 200 have been described with reference to FIGS. 5 or 16. It has a similar function.
  • the image processing unit 244 of the image processing device 200 may have various functions shown in FIG. Further, the image generation unit 420 of the server 400 acquires data of a plurality of moving images obtained for different viewpoints. For example, the image generation unit 420 may acquire images taken by a plurality of cameras arranged at different positions, or may draw an image viewed from a plurality of virtual viewpoints. That is, the image generation unit 420 is not limited to generating an image by itself, and may acquire image data from an external camera or the like.
  • the image generation unit 420 may also generate images for the left eye and the right eye in a field of view corresponding to the viewpoint of the user wearing the head-mounted display 100, based on the images of the plurality of viewpoints once acquired.
  • images of a plurality of viewpoints may be transmitted by the server 400, and the image processing device 200 of the transmission destination may generate images for the left eye and the right eye.
  • the image processing device 200 may perform some kind of image analysis using the transmitted images of the plurality of viewpoints.
  • the image generation unit 420 acquires or generates frames of a plurality of moving images in which at least a part of the object to be represented is common at a predetermined or variable rate, and sequentially supplies the frames to the compression coding unit 422.
  • the compression coding unit 422 includes a division unit 440, a first coding unit 442, and a second coding unit 444.
  • the dividing unit 440 forms an image block by dividing the corresponding frames of a plurality of moving images at a common boundary of the image plane.
  • the first coding unit 442 compresses and encodes a frame of one viewpoint among a plurality of frames having different viewpoints in units of image blocks.
  • the second coding unit 444 compresses and encodes the frames of other viewpoints in units of image blocks using the data compressed and coded by the first coding unit 442.
  • the coding method is not particularly limited, but it is desirable to adopt a method in which the deterioration of the image quality is small even if the entire frame is not used and each partial region is compressed independently. As a result, frames of a plurality of viewpoints can be sequentially compressed and encoded in units smaller than one frame, and by the same pipeline processing as described above, each partial image can be transmitted to the image processing apparatus 200 with a small delay time.
  • the boundary of the image block is appropriately set according to the order in which the image generation unit 420 acquires data on the image plane. That is, the boundary of the image block is determined so that the region acquired first is compressed and encoded first and sent out.
  • the division unit 440 forms an image block consisting of a predetermined number of rows by setting a boundary line in the horizontal direction. ..
  • the order of the data acquired by the image generation unit 420 and the image division direction are not particularly limited.
  • the division unit 440 sets the boundary line in the vertical direction.
  • the boundary line is not limited to one direction, and the image block may be tiled by dividing the image block in both vertical and horizontal directions.
  • the image generation unit 420 may acquire the data of the pixel string every other row in one scan and acquire the data of the remaining rows in the next scan, or may acquire the data by an interlace method, or obtain the image plane.
  • the data may be acquired in a meandering manner. In the latter case, the dividing portion 440 sets the dividing boundary line in the oblique direction of the image plane.
  • the division pattern corresponding to the data acquisition order is appropriately set so that the data in the region acquired first by the image generation unit 420 is first compressed and encoded, and the division unit 440 is set.
  • the image plane is divided into patterns according to the data acquisition order of the image generation unit 420.
  • the division unit 440 sets the minimum unit region required for motion compensation and coding as the minimum division unit.
  • the first coding unit 442 and the second coding unit 444 perform compression coding in units of image blocks divided in this way by the dividing unit 440.
  • the second coding unit 444 increases the compression rate of the image data of another viewpoint by using the image data compressed and coded by the first coding unit 442.
  • the first coding unit 442 and the second coding unit 444 may further compress and encode each image block of the current frame by using the compression coding data of the image block at the same position in the past frame.
  • FIG. 21 illustrates the relationship between the image block that the first coding unit 442 and the second coding unit 444 compress and encode, and the image block that refers to the compression coding result for that purpose.
  • the figure shows the image plane when the left-eye and right-eye images with distortion for the eyepiece are processed, and N is a natural number, the left is the Nth frame, and the right is the N + 1th frame. ing.
  • the first coding unit 442 compresses the image 350a for the left eye in units of image blocks (1-1), (1-2), ..., (1-n).
  • the second coding unit 444 compresses and encodes the image 350b for the right eye in units of image blocks (2-1), (2-2), ..., (2-n).
  • the second coding unit 444 refers to the data of the image block of the left eye image (for example, the left eye image 350a) compressed and coded by the first coding unit 442 as shown by the solid line arrow (for example, the solid line arrow 352). Used as a tip, each image block of a right-eye image (for example, right-eye image 350b) is compressed and encoded.
  • the second coding unit 444 uses the compression coding result of the image block in the right eye image 350b of the Nth frame as a reference destination, as in the alternate long and short dash line arrow (for example, the alternate long and short dash line arrow 354), and N + 1 after one.
  • the image block at the same position in the image for the right eye of the frame may be compressed and encoded.
  • the second coding unit 444 may compress-encode the target image block by using both the reference destination indicated by the solid line arrow and the alternate long and short dash arrow at the same time.
  • the first coding unit 442 uses the compression coding result of the image block in the left eye image 350a of the Nth frame as a reference destination as shown by the broken line arrow (for example, the broken line arrow 356), and is used for the left eye of the N + 1th frame.
  • Image blocks at the same position in the image may be compressed and encoded.
  • an MVC (Multiview Video Coding) algorithm which is a multi-view video coding method, can be used.
  • MVC predicts an image of another viewpoint by using a decoded image of the viewpoint compressed and coded by a method such as AVC (H264, MPEG-4), and combines it with the actual image.
  • AVC H264, MPEG-4
  • the difference is the target of compression coding of the other viewpoint.
  • the coding format is not particularly limited, and for example, MV-HEVC (multi-view video coding extension), which is an extended standard for multi-view coding for HEVC (High Efficiency Video Coding), may be used.
  • the base coding method may be VP9, AV1 (AOMediaVideo1), VVC (VersatileVideoCoding), or the like.
  • the delay time until transmission is shortened by performing the compression coding process in units of image blocks.
  • the first coding unit compresses and encodes the nth (n is a natural number) image block in the frame of one viewpoint
  • the second coding unit is the n-1th in the frame of the other viewpoint.
  • the image block of is compressed and coded.
  • the pipelines can be operated simultaneously in parallel in the order in which the frame data is acquired, and the compression process can be speeded up.
  • the first coding unit 442 and the second coding unit 444 may have one or more viewpoints to be compressed and coded, respectively.
  • the frames of the moving image of the plurality of viewpoints compressed and encoded by the first coding unit 442 and the second coding unit 444 are sequentially supplied to the packetizing unit 424 and transmitted from the communication unit 426 to the image processing device 200. ..
  • each data is associated with information for distinguishing whether the data is compressed by the first coding unit 442 or the second coding unit 444.
  • the image block which is a compression unit, may be the same as the partial image, which is the unit of pipeline processing described so far, or one partial image may include data of a plurality of image blocks.
  • the decoding / stretching unit 242 of the image processing device 200 includes a first decoding unit 280 and a second decoding unit 282.
  • the first decoding unit 280 decodes and decompresses the image of the viewpoint compressed and encoded by the first coding unit 442.
  • the second decoding unit 282 decodes and decompresses the image of the viewpoint compressed and encoded by the second coding unit 444.
  • the first decoding unit 280 decodes the frame of the moving image of a part of the viewpoint by a general decoding process according to the coding method using only the data compressed and encoded by the first coding unit 442. To do.
  • the second decoding unit 282 decodes the frame of the moving image of the remaining viewpoint by using the data compressed and coded by the first coding unit 442 and the data compressed and coded by the second coding unit 444. ..
  • the image of the viewpoint to be targeted is predicted by the former, and the image of the viewpoint is decoded by adding the decoding result of the data compressed and encoded by the second coding unit 444.
  • the decoding / decompression unit 242 acquires compression-encoded partial image data from the image data acquisition unit 240, decodes / decompresses the data in that unit, and supplies the data to the image processing unit 244.
  • the data size to be transmitted from the server 400 can be reduced, and an image display with less delay can be realized without squeezing the communication band.
  • FIG. 22 is a diagram for explaining the effect of the server 400 compressing and coding each image block by utilizing the similarity of images from a plurality of viewpoints in the present embodiment.
  • the upper part of the figure illustrates the classification of images when the images for the left eye and the right eye, which are distorted for the eyepiece, are processed.
  • the horizontal direction in the lower part of the figure represents the passage of time, and the time of the compression coding process for each region is indicated by an arrow together with the number of each region shown in the upper part.
  • the procedure (a) first, the entire image for the left eye of (1) is compressed and encoded, and the difference between the predicted image of the image for the right eye and the actual image using the result is set as the compression target of the image for the right eye of (2). The case of doing so is shown as a comparison.
  • this procedure when compressing and coding the image for the right eye in (2), first wait for the completion of the compression coding of the entire image for the left eye, and then make a prediction using the data or check the difference from the actual image. You need to ask. As a result, as shown in the lower part, it takes a relatively long time to finish compressing and encoding both images.
  • the procedure (b) is treated as one image in which the left-eye image and the right-eye image are connected, and is divided in the horizontal direction in units of image blocks (1), (2), ..., (N).
  • the case of compression coding is shown as a comparison. As shown in the lower part of this procedure, the time required for compression coding can be shortened as compared with the procedure (a) because the process of making a prediction or obtaining a difference from the data once compressed and encoded is not included. However, since the predictive coding is not used, the compression ratio is lower than that in (a).
  • the first coding unit 442 applies the image for the left eye to the image blocks (1-1), (1-2), ..., (1-).
  • the second coding unit 444 compresses the difference between the predicted image of the right eye image using each data and the actual image, thereby compressing the difference between the image block (2-1) and (2). -2), ...,
  • This is a case where the compressed coded data of the image for the right eye in the unit of (2-n) is used.
  • the compression coding of the image blocks (2-1), (2-2), ..., (2-n) of the image for the right eye is corresponded to the image for the left eye. It can be started immediately after the completion of the compression coding of the image blocks (1-1), (1-2), ..., (1-n) to be performed.
  • the compression coding time of each image block is small. Is shorter than the compression coding time converted per image block in (a). As a result, a higher compression ratio can be realized in a short time similar to that of the procedure (b). Further, as described above, since the compressed and encoded image blocks are sequentially packetized and transmitted to the image processing apparatus 200, the delay until display can be remarkably suppressed as compared with the procedure of (a). ..
  • the first coding unit 442 and the second coding unit 444 are shown separately as functional blocks, but in reality, one circuit or software module can execute two types of processing in order. ..
  • (c)'shown in the lower part of the figure shows a case where the first coding unit 442 and the second coding unit 444 are configured to perform compression coding in parallel.
  • the second coding unit 444 compresses the image block (1-2), ..., (1-n).
  • the previous image block in the image for the right eye that is, the image block (2-1), ..., (2- (n-1)) th image block is compressed and encoded.
  • the procedure of (c)'' is a modification of the procedure of (c)', and when a predetermined unit area of the image block of the image for the left eye is compressed and coded, the image for the right eye is used using the data.
  • the case where the compression coding of the corresponding region of is started is shown.
  • the image of the same object appears at a position shifted by the visual difference, so in principle, if there is a reference image in the range of several pixels to several tens of pixels that allows for the amount of deviation. , The other image can be predictively encoded.
  • the minimum unit area required for motion compensation and coding in compression coding is an area of a predetermined number of lines such as one line and two lines, and a predetermined area such as 16 ⁇ 16 pixels and 64 ⁇ 64 pixels. A rectangular area of size. Therefore, the second coding unit 444 can start the compression coding when the compression coding of the image for the left eye of the region required as a reference destination is completed in the first coding unit 442, and the minimum unit thereof is motion compensation or motion compensation. This is the unit area required for coding.
  • the second coding unit 444 compresses and encodes the entire image block before the compression coding of the entire image block is completed.
  • the compression coding of the corresponding image block of the image can be started. In this way, the time required for compression coding can be further shortened as compared with the case of (c)'.
  • the compression coding unit 422 can shorten the time required for the compression coding process by starting the compression coding as soon as the data of the minimum unit area required for the compression coding is prepared. So far, we have mainly described compression coding of images from multiple viewpoints, but even if parameters other than the viewpoint are different in multiple images corresponding to each frame of a moving image, the same processing results in low delay and high. Efficient compression coding and transfer can be achieved. For example, in a scalable video coding technology that generates redundant data by layering different resolutions, image quality, and frame rates when compressing and encoding one moving image, the data in each layer is similar. High quality.
  • a higher compression rate is realized by compressing and coding the image in the base layer and using the data in the other layers as information indicating the difference from it. That is, predictive coding is performed with reference to at least one of the compression coding results of another image representing the same image at the same time or the image of the past frame among the moving image data.
  • another image representing the same image at the same time has a different resolution and image quality defined hierarchically.
  • an image representing the same image has a resolution of 4K (3840 x 2160 pixels), HD (1920 x 1080 pixels), and an image quality of level 0 and 1 with a quantization parameter (QP).
  • the image of the past frame refers to the immediately preceding frame or the like at different frame rates defined hierarchically.
  • the immediately preceding frame in the 30 fps layer means a frame 1/30 second ago, which is two frames before in the 60 fps layer.
  • compression coding of each layer may be performed in units of image blocks.
  • SVC Scalable Video Coding
  • AVC H264, MPEG-4
  • SHVC Scalable High Efficiency Video Coding
  • the base coding method may also be VP9, AV1, VVC, or the like.
  • FIG. 23 shows the configuration of the functional block of the compression coding unit 422 when performing scalable video coding.
  • the compression coding unit 422 includes the resolution conversion unit 360, the communication status acquisition unit 452, and the transmission target adjustment in addition to the division unit 440, the first coding unit 442, and the second coding unit 444 shown in FIG. A unit 362 is provided.
  • the resolution conversion unit 360 gradually reduces each frame of the moving image generated or acquired by the image generation unit 420 to obtain an image having a plurality of resolutions.
  • the division unit 440 forms an image block by dividing the image having a plurality of resolutions at a common boundary of the image plane.
  • the division rules may be the same as described above.
  • the first coding unit 442 compresses and encodes the image having the lowest resolution in units of image blocks. As described above, the compression coding at this time is performed by referring only to the image, or further, referring to the image block at the same position in the image of the past frame having the same resolution.
  • the second coding unit 444 compresses and encodes a high-resolution image in units of image blocks by using the result of compression coding by the first coding unit 442.
  • the resolution is two layers
  • the first coding unit 442 and the second coding unit 444 are shown.
  • the coding units are divided by the number of layers.
  • Predictive coding is performed using the compression coding result of the image provided and the resolution is one step lower.
  • the image block at the same position in the image of the past frame having the same resolution may be referred to.
  • the frame rate and the quantization parameter to be used may be adjusted as necessary to provide a difference in the frame rate and the image quality between the layers.
  • the frame rate of processing in the compression coding unit 422 is the rate of the highest frame rate layer.
  • the reference destination frame changes depending on the frame rate.
  • the first coding unit 442 selects QP level0, which is the base image quality, in the quantization parameter, and the second coding unit 444 and the nth coding unit side above it have higher image quality. It is realized by selecting QP level of.
  • the first coding unit 442 processes the former and the second coding unit 444 processes the latter.
  • the processing of the layer is carried out by a third coding unit (not shown). That is, if the QP level is different even with the same resolution, a coding unit for that amount is provided.
  • the combination of resolution, image quality, and frame rate hierarchy is not limited to this.
  • the second coding unit 444 compresses and encodes it.
  • the n-1st image block in the image in the hierarchy above it is compressed and encoded.
  • each coding unit has a hierarchy. The image blocks that are shifted forward one by one as they go up are compressed and coded in parallel.
  • An example of each parameter of the scalable video coding realized in the present embodiment is shown below.
  • the communication status acquisition unit 452 acquires the communication status with the image processing device 200 at a predetermined rate. For example, the communication status acquisition unit 452 acquires the delay time from the transmission of the image data to the arrival at the image processing device 200 based on the response signal from the image processing device 200, or obtains the aggregated information of the image processing device 200. Obtain based on. Alternatively, the communication status acquisition unit 452 acquires the ratio of the packets that have reached the image processing device 200 from the transmitted image data packets from the image processing device 200 as the data arrival rate. Further, based on this information, the amount of data that can be transmitted per unit time, that is, the available bandwidth is acquired. The communication status acquisition unit 452 monitors the communication status by acquiring at least one of these pieces of information at a predetermined rate.
  • the transmission target adjustment unit 362 determines the target to be transmitted to the image processing device 200 among the hierarchical data compressed and encoded by the scalable video coding according to the communication status.
  • the transmission target adjustment unit 362 gives the highest priority to the data of the lowest resolution image compressed and encoded by the first coding unit 442 among the hierarchical data.
  • the transmission target adjustment unit 362 determines whether or not to expand the transmission target in the upper layer direction according to the communication status. For example, a plurality of threshold values are set for the available transfer band, and each time the threshold value is exceeded, the transmission target is gradually expanded to the image data in the upper layer.
  • the transmission target adjusting unit 362 adjusts the transfer priority given to each layer according to the communication status. For example, the transmission target adjustment unit 362 lowers the transfer priority of the data in the upper layer as necessary.
  • the transfer priority may be multi-level.
  • the packetizing unit 424 packetizes the information indicating the transfer priority given together with the image data, and transmits it from the communication unit 426.
  • the packet may be discarded as necessary.
  • a transfer protocol that omits handshaking such as UDP is generally used.
  • the transmitting server 400 is the network 306. It doesn't even matter if the packet was dropped in the middle of the route.
  • the routers and the like are to be discarded in order from the upper layer based on the assigned transfer priority.
  • the processing capacity of the decoding / decompression unit 242 possessed by each image processing device 200 and the communication performance of the network up to each image processing device 200 vary. Is.
  • the transmission target adjustment unit 362 may individually determine the transmission target according to the situation of each image processing device 200, but in that case, it is necessary to adjust a plurality of communication sessions separately, which increases the processing load. Very expensive.
  • the server 400 can handle a plurality of communication sessions under the same conditions, and the processing efficiency can be improved.
  • the transmission target adjusting unit 362 and the like may be implemented by combining the mode of controlling the transmission target itself and the mode of performing priority control as described above.
  • the server 400 may transmit compressed coded hierarchical data to a relay server (not shown), and the relay server may simultaneously transmit data to a plurality of image processing devices 200.
  • the server 400 may transmit the data of all layers to the relay server by the priority control, and the relay server may individually determine the transmission target and transmit the data according to the situation of each image processing device 200.
  • the transmission target adjusting unit 362 further (1) changes the parameters used by each layer and / or (2) changes the hierarchical relationship based on at least one of the communication status and the content represented by the moving image described later. Good.
  • the transmission target adjustment unit 362 uses a WQHD (2560 ⁇ 1440 pixel) layer instead of 4K. It does not mean that the WQHD layer is added. Such a change may be made when there are many cases where the threshold value for a plurality of realized bands is lower than the threshold value on the high band side.
  • the transmission target adjustment unit 362 uses the QP level 2 layer instead of the QP level 1. In this case as well, the hierarchy of QP level 2 is not added.
  • Such a change may be made when there are many cases where the threshold value on the high band side is exceeded among the threshold values for a plurality of realized bands. Alternatively, it may be performed when the result of image analysis is a scene in which image quality should be emphasized.
  • the case (2) will be described later.
  • the transmission target adjusting unit 362 requests the resolution conversion unit 360, the first coding unit 442, and the second coding unit 444 to perform processing under the conditions determined as necessary. You may. Specific examples of the contents represented by the moving image, which are the basis of the adjustment, will be described later.
  • FIG. 24 shows the relationship between the image block to be compressed and encoded by the first coding unit 442 and the second coding unit 444 and the image block for which the compression coding result is referred to when performing scalable video coding.
  • N is a natural number
  • the left is the Nth frame and the right is the N + 1th frame.
  • the first coding unit 442 divides the low-resolution images 480a and 480b of each frame in units of image blocks (1-1), (1-2), ..., (1-n). Compress and code.
  • the second coding unit 444 compresses and encodes the high-resolution images 482a and 482b in units of image blocks (2-1), (2-2), ..., (2-n).
  • the second coding unit 444 is an image of the corresponding positions of the low resolution images 480a and 480b in the same frame compressed and coded by the first coding unit 442 as shown by the solid line arrows (for example, the solid line arrows 484a and 484b).
  • each image block of the high-resolution images 482a and 482b is compressed and coded.
  • the second coding unit 444 uses the compression coding result of the image block in the high-resolution image 482a at the Nth frame as a reference destination, as in the alternate long and short dash line arrow (for example, the alternate long and short dash line arrow 488), and N + 1 after one.
  • the image block at the same position in the high-resolution image 482b of the frame may be compressed and encoded.
  • the second coding unit 444 may compress-encode the target image block by using both the reference destination indicated by the solid line arrow and the alternate long and short dash arrow at the same time.
  • the first coding unit 442 uses the compression coding result of the image block in the low resolution image 480a of the Nth frame as a reference destination as shown by the broken line arrow (for example, the broken line arrow 486), and uses the low resolution of the N + 1th frame as a reference destination.
  • the image block at the same position in the image 480b may be compressed and encoded.
  • FIG. 25 also shows the relationship between the image block to be compressed and encoded by the first coding unit 442 and the second coding unit 444 and the image block for which the compression coding result is referred to when performing scalable video coding. Illustrate.
  • the horizontal direction of the figure is the time axis, and shows the first frame, the second frame, the third frame, and the fourth frame from the left.
  • the first frame is an I frame (intra frame)
  • the other frames are P frames (forward prediction frames).
  • I frame intra frame
  • P frames forward prediction frames
  • each hierarchy level 0, level 1
  • each hierarchy level 0, level 1
  • symbols a to d for identifying the combination of layers are attached.
  • the images compressed and encoded by the first coding unit 442 are in the order of 1a, 2c, 3a, and 4c.
  • the images compressed and encoded by the second coding unit 444 are in the order of 1b, 2d, 3b, and 4d.
  • the communication band is the smallest, the images displayed on the image processing apparatus 200 side are in the order of 1a, 3a, ....
  • the communication band is the largest, the images displayed on the image processing apparatus 200 side are in the order of 1b, 2d, 3b, and 4d.
  • Each coding unit compresses and encodes in units of image blocks as described above.
  • the second coding unit 444 is a block of images at the corresponding positions of the low-resolution image in the same frame compressed and coded by the first coding unit 442, as shown by the solid line arrows (for example, solid line arrows 500a and 500b). Using the data as a reference, each image block of a high-resolution image is compressed and coded.
  • the first coding unit 442 and the second coding unit 444 refer to the compression coding result of the image block of the image of the same resolution in the same frame rate hierarchy as shown by the broken line arrows (for example, the broken line arrows 502a and 502b). It may be used as a first and the image block at the same position in the next frame may be compressed and encoded.
  • first coding unit 442 and the second coding unit 444 are compression coding results of image blocks of images having the same resolution in different frame rate layers, such as the alternate long and short dash line arrows (for example, the alternate long and short dash line arrows 504a and 504b). May be used as a reference destination to compress-encode the image block at the same position in the next frame.
  • the first coding unit 442 and the second coding unit 444 may be compression-encoded by using any of these reference destinations, or may be compression-encoded by using a plurality of reference destinations at the same time.
  • any of (c), (c) ′, and (c) ′′ shown in FIG. 22 may be adopted.
  • the procedure of (c)'or (c)' is used.
  • the transmission target adjustment unit 362 has at least one of the resolution, the image quality, and the frame rate. , Change the number of hierarchies.
  • the transmission target adjustment unit 362 changes the reference destination as follows.
  • the frame sequence is frame 1 level 0.
  • Frame 2 Level 1 (See Immediate Level 0 Frame 1)
  • Frame 3 Level 0 (See Immediate Level 0 Frame 1)
  • Frame 4 Level 1 (See Immediate Level 0 Frame 3)
  • Frame 5 Level 0 (See Immediate Level 0 Frame 3)
  • Frame 6 Level 1 (See Immediate Level 0 Frame 5)
  • Frame 7 Level 0 (See Immediate Level 0 Frame 5) ⁇ ⁇ ⁇ Will be.
  • the transmission target adjustment unit 362 changes this, and increases the number of references between levels 1 as follows, for example.
  • the plurality of images corresponding to each frame of the moving image are divided into image blocks according to the rules according to the acquisition order of the image data, and the unit is Compress and code.
  • the compression rate is improved by compressing and coding another image using the compression coding result of one image.
  • the time required for the compression coding itself can be shortened, and since the image block for which the compression coding has been completed can be transmitted, it is possible to display the image with low delay even in the distribution of the image via the network. ..
  • the size of data to be transmitted can be reduced, it brings robustness to changes in communication conditions. For example, even in the mode of transmitting three or more image data, the required communication bandwidth can be reduced as compared with the case of transmitting the entire image, and the data is completed in units of image blocks, so that the data can be stored during communication. Recovery is easy even if it is lost. As a result, an image with a small delay time can be displayed with high image quality. Furthermore, it can flexibly respond to various environments such as the number of image processing devices to be transmitted, the communication status, and the processing performance of the image processing devices. For example, in live game broadcasting (eSports broadcasting) and cloud gaming with a large number of participants, it is possible to achieve both high efficiency, low delay and high image quality with high flexibility.
  • live game broadcasting eSports broadcasting
  • cloud gaming with a large number of participants
  • FIG. 26 shows the configuration of the functional block of the server 400 having the function of optimizing the data size reduction means.
  • the server 400 includes an image generation unit 420, a compression coding unit 422, a packetization unit 424, and a communication unit 426.
  • the image generation unit 420, the packetization unit 424, and the communication unit 426 have the same functions as those described with reference to FIGS. 5 and 12.
  • the image generation unit 420 may draw a moving image to be transmitted on the spot, that is, may dynamically draw a video that has not existed until then.
  • the compression coding unit 422 may further include a division unit 440, a second coding unit 444, a transmission target adjustment unit 362, and the like shown in FIGS. 20 and 23. ..
  • the compression coding unit 422 includes an image content acquisition unit 450, a communication status acquisition unit 452, and a compression coding processing unit 454.
  • the image content acquisition unit 450 acquires information related to the content represented by the moving image to be processed.
  • the image content acquisition unit 450 acquires, for example, the features of the image drawn by the image generation unit 420 from the image generation unit 420 at predetermined timings such as frame by frame, scene switching, and moving image processing start.
  • the image content acquisition unit 450 increases the processing load even in small units such as frame by frame. Accurate information about the content can be obtained without any need.
  • the image content acquisition unit 450 determines whether or not the scene is switched, the type of image texture displayed in the frame, the distribution of feature points, depth information, the amount of objects, and the mipmap texture used for three-dimensional graphics.
  • Information such as the usage amount of each level, LOD (Level Of Detail), usage amount of each level of tessellation, amount of characters and symbols, type of scene to be represented, and the like can be obtained from the image generation unit 420.
  • the type of image texture is a type of region represented by the texture on the image, such as an edge region, a flat region, a dense region, a detailed region, and a crowd region.
  • the edge is a portion where the rate of change of the brightness value on the image is equal to or higher than a predetermined value.
  • the distribution of feature points refers to the positions of feature points and edges on the image plane, the intensity of edges, that is, the rate of change in the brightness value, and the like.
  • the various texture areas described above are two-dimensionally determined as to what kind of texture the two-dimensional image is, which is the result of being drawn as three-dimensional graphics. Therefore, it is different from the texture used to generate 3D graphics.
  • Depth information is the distance to the object represented by each pixel, and is obtained as a Z value in 3D graphics.
  • the amount of objects refers to the number of objects represented such as chairs and cars and the area occupied in the image plane.
  • the mipmap texture level is selected in the mipmap method in which texture data representing the surface of an object is prepared at multiple resolutions, and a texture with an appropriate resolution is used according to the distance of the object and the apparent size. The level of resolution.
  • the level of LOD and tessellation is the level of detail in the technique of expressing with appropriate detail by adjusting the number of polygons depending on the distance of the object and the apparent size.
  • the type of scene represented is a situation or genre on the output of contents such as a game executed by the image generation unit 420, for example, a movie screen, a menu screen, a setting screen, a loading screen, a subjective line-of-sight drawing, etc. It refers to types such as bird's-eye view drawing, 2-dimensional dot drawing game, 3-dimensional drawing game, first person shooting game, race game, sports game, action game, simulation game, and adventure novel game.
  • the image content acquisition unit 450 acquires at least one of the information from the image generation unit 420.
  • the image content acquisition unit 450 and the score calculation function described later may be provided in the image generation unit 420.
  • a game engine or the like which is a software framework that operates in the image generation unit 420, may realize these functions.
  • the image content acquisition unit 450 includes the timing of user operations for content that defines moving images such as games, the interval between the timings, the content of user operations, and the content grasped by the image generation unit 420, which is transmitted from the image processing device 200. At least one of the status and the status of the audio generated by the content may be acquired.
  • the timing of the user operation may differ from the timing of frame drawing of the moving image in the image generation unit 420, it can be used for data size adjustment means and adjustment amount switching by using it for detecting scene switching.
  • the content status is, for example, a) a scene that requires user operation and affects the processing content of the content, b) a movie scene that does not require user operation, or c) a movie scene that does not require user operation.
  • Information for determining at least one of a scene other than the above, or d) a scene that requires user operation but is not the main content of the content is acquired from the image generation unit 420.
  • the audio status is information for determining at least one of the presence / absence of audio, the number of audio channels, the content of background music, and the content of sound effects (SE), and is acquired from an audio generator (not shown).
  • the image content acquisition unit 450 may acquire at least one of the above-mentioned information by analyzing the image generated by the image generation unit 420 by itself. Also in this case, the timing of the analysis process is not particularly limited. Further, the image content acquisition unit 450 may acquire the above-mentioned scene type or the like by reading the bibliographic information from a storage device or the like (not shown) when the server 400 starts distribution of the moving image.
  • the image content acquisition unit 450 may also acquire information related to the content of the moving image by using the information acquired in the compression coding process performed by the compression coding processing unit 454. For example, when motion compensation is performed in the compression coding process, the amount of optical flow, that is, in which direction the pixels are moving, the speed at which the pixel region is moving, and the like can be obtained. Motion estimation (ME) also gives the direction in which the rectangular area on the image is moving, and the speed of the moving rectangular area if it is moving.
  • the allocation status of the coding unit used by the compression coding processing unit 454 for the processing, the timing of inserting the intra frame, and the like can be obtained.
  • the latter is the basis for identifying the timing of scene switching in a moving image.
  • the image content acquisition unit 450 may acquire any of the parameters as shown in the "score control rule at the scene switching timing" described later.
  • the image content acquisition unit 450 may acquire at least one of these information from the compression coding processing unit 454, or may acquire necessary information by analyzing the image by itself. In this case as well, the acquisition timing is not particularly limited.
  • the communication status acquisition unit 452 acquires the communication status with the image processing device 200 at a predetermined rate as described with reference to FIG. 23.
  • the compression coding processing unit 454 compresses and encodes the moving image so that the data size of the moving image becomes appropriate by means determined based on the content represented by the moving image according to the change in the communication situation. Specifically, the compression coding processing unit 454 changes at least one of the frame rate, the resolution, and the quantization parameter of the moving image so that the data size is determined by the communication situation. Basically, the content of the image is evaluated from various viewpoints, and the optimum combination of numerical values (frame rate, resolution, quantization parameter) is determined.
  • the compression coding processing unit 454 determines the means to be adjusted and the adjustment amount based on the priority items in order to maximize the user experience under the conditions of limited communication bandwidth and processing resources. For example, prioritize the frame rate when realizing a first-person shooter scene, a fighting action scene, or virtual reality or augmented reality, where the image moves quickly and requires immediate interlocking with user input. Is desirable. In scenes where there are many detailed objects and it is necessary to read characters, symbols, signs, and pixel art, it is desirable to prioritize resolution.
  • the compression coding processing unit 454 measures the data size by means for maintaining the user experience as much as possible even if the communication condition deteriorates. Make it appropriate.
  • the rules for determining the adjustment means and the adjustment amount from the contents of the moving image are prepared in advance in the form of a table or a calculation model, and are stored inside the compression coding processing unit 454.
  • the compression coding processing unit 454 derives a score for determining the adjustment means and the adjustment amount according to at least one of the following rules.
  • the balance (priority) of weights given to frame rate, resolution, and quantization quality is determined depending on which of the above a to d is the status on the output of the content. To do. Specifically, a) In the case of a scene that requires user operation and affects the processing content of the content, at least one of the score determination rules described below is followed. b) For movie scenes that do not require user interaction, the quality or resolution of quantization is prioritized over the frame rate. c) For scenes other than movie scenes that do not require user operation, the resolution or frame rate is prioritized over the quality of quantization. d) In the case of a scene that requires user operation but is not the main content, the resolution or the quality of quantization is prioritized over the frame rate.
  • Rule for determining balance based on content genre In the case of the above a, that is, a scene that requires user operation and affects the content processing content, the genre of the content being implemented is read from a storage device or the like and prepared separately as a table. , Refer to the score balance that represents the resolution, frame rate, and quantization parameter weights that are generally recommended for each genre. In addition, when a plurality of rules described below are applied in parallel and the results are comprehensively judged to determine the final score to be used, this rule may be used as an initial value.
  • Score determination rule based on the size of the image on the image Refers to LOD, mipmap texture, tessellation, and object size, and there is an object with higher definition than a predetermined value, and the ratio of the area occupied by it in the entire image. The larger the value (there is a large high-definition object near the view screen), the higher the score that represents the weight of quantization quality and resolution.
  • Score determination rule based on the fineness of objects Objects smaller than the specified value, the amount of fine characters, symbols, signs, and pixel art generated is large, and the ratio of the area occupied by them in the entire image is larger than the specified value (near the view screen) (There are no large high-definition objects), the higher the score representing the weight of resolution.
  • Score determination rule based on texture type The image texture type of each unit area formed by dividing the image plane is aggregated, and the larger the ratio of the area occupied by the dense area, detailed area, and crowd area in the entire image Increase the score, which represents the weight of the resolution.
  • Score control rule at scene switching timing Information about the switching timing is obtained from the image generation unit 420.
  • the amount of objects, feature points, edges, optical flow, motion estimation, pixel contrast, brightness dynamic range, presence / absence of audio, number of audio channels, or audio mode are all suddenly changed or reset in the time series direction. Switch the score when you do.
  • at least two frames or more are referred to.
  • the compression coding processing unit 454 can also detect scene switching based on the correlation with the previous frame in order to grasp the necessity of the frame as the intra frame in the compression coding.
  • the score representing the quantization parameter and resolution weight is set to the target frame and a predetermined number of subsequent frames. To reduce. In addition, emphasis may be placed on the rapid switching of scenes, the score representing the weight of the frame rate may be increased until the scene is switched, and the restriction may be removed after the switching.
  • Score determination rule based on the timing of user operations
  • content such as games executed by the image generation unit 420
  • the longer the interval between user operations the easier it is to lower the frame rate. Therefore, the score representing the weight of the frame rate is lowered (user).
  • the shorter the interval between operations the lower the score that represents the weight of other parameters).
  • Score determination rule based on the content of user operation
  • content such as a game executed by the image generation unit 420
  • the user expects high responsiveness from the content. It is estimated that there is. Therefore, the larger the amount of change, the higher the score representing the weight of the frame rate. If the amount of change is small even if the operation is performed, the level of the score is lowered by one level.
  • the user operation analyzes input information acquired by an input device (not shown) such as a game controller, keyboard, and mouse, the position, posture, and movement of the head mount display 100, and an image taken by the camera of the head mount display 100 or an external camera (not shown).
  • an input device such as a game controller, keyboard, and mouse
  • the position, posture, and movement of the head mount display 100 and an image taken by the camera of the head mount display 100 or an external camera (not shown).
  • a gesture (hand sign) instruction based on the result, a voice instruction acquired by a microphone (not shown), and the like are acquired from the image processing device 200.
  • Score determination rule for the object to be operated by the user When there is an object on the screen that meets a predetermined criterion that is considered to reflect the user operation in the immediately preceding predetermined period, the score derived by another determination rule is increased. adjust.
  • the user may be one person, or may be a plurality of people who share the same image processing device 200 or have different image processing devices 200 connected to the same server 400.
  • Objects on the screen that reflect user operations are objects that the user operates, such as people, avatars, robots, vehicles and machines, objects that confront such main objects, and the life status of the player in the game.
  • a unit area containing an indicator whose purpose is to notify the player of information, such as possessed weapon status, game score, etc., is usually the object that the user is most interested in.
  • the compression coding processing unit 454 raises the score in, for example, in determining the scores of 3 to 9 and 10 above, higher than in other cases. That is, this decision rule has an effect of preferentially applying the above decision rule to the object to be operated by the user. For example, if the score of the entire screen based on the image size is summarized in 3, and the reference score that increases the weight of the quantization quality and the resolution is slightly insufficient, the compression coding processing unit 454 scores up to the reference. Pull up.
  • the compression coding processing unit 454 raises the score to the reference.
  • the scene switching timing of 8 although there was a sudden change in the area of the object to be operated by the user, the score judged to sandwich the intra frame was slightly insufficient due to the summary of the score of the entire screen. If so, the compression coding processing unit 454 raises the score to the reference.
  • Control of switching frequency between adjustment target and adjustment amount Refer to the history of (frame rate, resolution, quantization parameter) adopted in the predetermined period immediately before, and each parameter so that switching is within the allowable range from the viewpoint of user experience. Adjust the score that represents the weight of.
  • the "tolerance range" is determined based on a predefined table or model.
  • the compression coding processing unit 454 comprehensively determines the final weights of the frame rate, the resolution, and the quantization parameter by one of the above rules or by the total value of the scores obtained by the plurality of rules. .. Note that the compression coding processing unit 454 may refer to the Z value in order to grasp the position of the object, the order of projection, the size, and the relative distance from the view screen in the above rules 1 to 8.
  • the decision rule may be optimized by machine learning or deep learning while collecting the adjustment results in various past cases.
  • the object of optimization may be a table in which decision rules are defined or a calculation model. For deep learning, optimize the computational model.
  • a score database created manually and a gameplay experience by a user are used as teacher data.
  • learning is performed by using the case of subjective drawing as a constraint condition of the calculation model, PSNR (Peak Signal-to-Noise Ratio) indicating image quality, SSIM (Structural Similarity), parameter switching frequency, time series smoothness, etc. as indicators.
  • PSNR Peak Signal-to-Noise Ratio
  • SSIM Structural Similarity
  • parameter switching frequency is added to the index in consideration of the fact that the user experience is rather deteriorated if the resolution and frame rate are switched too little.
  • the compression coding processing unit 454 derives the final score representing the weight given to each of the frame rate, the resolution, and the quality of quantization, and the data size according to the communication situation can be obtained, and the above-mentioned Determine the combination of values (frame rate, resolution, quantization parameters) to follow the balance represented by the score. More specifically, the compression coding processing unit 454 predicts and calculates the combination of each value so as to satisfy the target data size determined according to the communication status, but at that time, the parameter having a high weight is lowered as much as possible. Control so that there is no.
  • the compression coding processing unit 454 compresses and encodes the data accordingly. For example, when lowering the frame rate, the compression coding processing unit 454 thins out the frames generated by the image generation unit 420 by a predetermined amount per unit time. When the resolution is lowered, the compression coding processing unit 454 performs existing operations such as the nearest neighbor method, the bilinear method, and the bicubic method on the image generated by the image generation unit 420.
  • the compression coding processing unit 454 compresses and encodes the image generated by the image generation unit 420 at an appropriate compression rate by the adjusted quantization parameter.
  • the compression coding processing unit 454 performs all of these processing in units of partial images of the frame generated by the image generation unit 420, and sequentially supplies the packetization unit 424. At this time, by supplying the data of the frame rate, the resolution, and the quantization parameter in association with each other, the packetizing unit 424 packetizes the partial image data together with the data.
  • the compression-encoded partial image data is transmitted to the image processing device 200 via the communication unit 426 in the same manner as described above.
  • the unit for optimizing the data size adjusting means and the adjustment amount by the compression coding processing unit 454 may be a partial image unit which is a compression coding unit, a frame unit, a predetermined number of frame units, or the like. Good.
  • the decoding / decompression unit 242 of the image processing apparatus 200 performs dequantization based on the quantization parameters transmitted together with the image data.
  • the server 400 may also transmit additional data that cannot be specified only by the low resolution image.
  • the additional data includes, for example, a feature amount in the original image generated by the image generation unit 420 and various parameters determined by the compression coding unit 422 at the time of compression coding.
  • the feature amount may include at least one of the feature points of the original image, the edge strength, the depth of each pixel contained in the original image, the type of texture, the optical flow, and the motion estimation information.
  • the additional data may include data indicating an object represented by the original image, which is specified by the object recognition process performed by the compression coding unit 422.
  • the decoding / stretching unit 242 of the image processing device 200 accurately generates a high-resolution display image based on the transmitted image data and additional data. This feature has been filed by the present inventor as Japanese Patent Application No. 2019-08626.
  • FIGS. 27 to 31 show an example in which the score is determined according to the content of the moving image.
  • FIG. 27 shows an example of applying the score determination rule based on the size of the image on the image of 3 above.
  • the three images shown represent different frames of the same moving image.
  • Objects 152a, 152b, and 152c using the same object model are drawn in each frame.
  • the object model actually has three-dimensional information composed of polygons and textures.
  • the image generation unit 420 draws the objects 152a, 152b, 152c, etc. by arranging the object model in the space to be drawn and projecting it on the view screen. At this time, since the apparent size of the objects 152a, 152b, and 152c changes depending on the distance from the view screen, the image generation unit 420 appropriately adjusts the number of polygons used for drawing and the resolution of the texture.
  • the object model 150 is defined with 1 million polygons, while the object 152c away from the view screen has 10,000 polygons and the object 152a near the view screen has 100,000 polygons. , Each drawn.
  • the resolution of the texture is object 152a> object 152b> object 152c.
  • the image content acquisition unit 450 uses such information, that is, the LOD of the object viewed from the view screen, the level of the mipmap texture, the level of tessellation, the size of the image, and the like as information related to the content represented by the image. Get from 420.
  • the compression coding processing unit 454 adjusts the frame rate, resolution, and quantization parameter based on the information related to the content represented by the image in order to set the data size corresponding to the communication status. That is, for all the objects appearing in the scene, the LOD of the objects, the level of the mipmap texture, the level of tessellation, and the size of the image are totaled, and the score given to the parameter to be adjusted is calculated.
  • the image on the left has an object drawn in high definition, and the area occupied by the object in the entire image is large (people and avatars are drawn in high definition as a whole). Increase the score, which represents the weight of the quality and resolution of the conversion.
  • FIG. 28 shows an example of applying the score determination rule based on the fineness of the object in 4 above.
  • the two images shown represent different frames of the same moving image. Each is a frame that zooms in and out on the same landscape.
  • the left image has a large amount of small objects, and the proportion of the area occupied by them in the entire image is large (as a whole, detailed objects, characters and symbols, There are many signs and dot pictures). Therefore, in this example, the compression coding processing unit 454 increases the score representing the weight of the resolution toward the left image.
  • FIG. 29 shows an example of applying the score determination rule based on the contrast and dynamic range of 5 above.
  • the compression coding processing unit 454 increases the score representing the weight of the quantization quality toward the left image.
  • FIG. 30 shows an example of applying the score determination rule based on the movement of the image in 6 above.
  • the two images shown represent different frames of the same moving image.
  • the absolute value of the movement amount (vector) of the object on the image plane, and the size and amount of the optical flow and motion estimation for each unit area formed by dividing the image plane into a predetermined size are totaled.
  • the left image has many objects with a large movement amount, and the ratio of the area in the entire image is large, that is, the total absolute value of the movement amount (vector) in the entire image is large. .. Therefore, in this example, the compression coding processing unit 454 increases the score representing the weight of the frame rate toward the left image.
  • FIG. 31 shows an example of applying the score determination rule based on the type of texture in 7 above.
  • the two images shown represent different frames of the same moving image.
  • the area on the left has a higher density in the entire image due to the difference between the objects 152h to 152j and the object 152k.
  • Detailed area, area occupied by crowd area is large. Therefore, in this example, the compression coding processing unit 454 increases the score representing the weight of the resolution toward the left image.
  • FIG. 32 is a flowchart showing a processing procedure in which the server 400 adjusts the data size according to the communication status. This flowchart is started by the user selecting a game to be played, a moving image to be watched, or the like from the image processing device 200. On the other hand, the communication status acquisition unit 452 of the server 400 starts acquiring the communication status used for streaming to the image processing device 200 (S50).
  • the communication status acquisition unit 452 acquires necessary information from the communication unit 426. Specifically, the communication status acquisition unit 452 acquires the arrival delay time of the image data transmitted to the image processing device 200 and the arrival rate of the image data, and derives an index representing the communication status from the information. The derivation rule is set in advance.
  • the image generation unit 420 starts generating a moving image (S52).
  • the image generation unit 420 is not limited to drawing computer graphics, and may acquire a captured image from the camera.
  • the image content acquisition unit 450 of the compression coding unit 422 starts acquiring information related to the content of the moving image (S54).
  • the image content acquisition unit 450 acquires predetermined information at an arbitrary timing by acquiring information from the image generation unit 420 and the compression coding processing unit 454 or by analyzing the image by itself.
  • the compression coding processing unit 454 determines the transmission size of the image data according to the latest communication status acquired by the communication status acquisition unit 452 (S56).
  • the compression coding processing unit 454 first acquires a score from the content of the moving image acquired by the image content acquisition unit 450 at that time according to at least one of the above-mentioned rules (S58). Next, the compression coding processing unit 454 derives the data size adjusting means and the adjusting amount based on the obtained score (S60). That is, the total weight for the frame rate, the resolution, and the quantization parameter is calculated by summing the scores, and the value of each parameter is determined so as to match the target data size with a balance according to the weight.
  • a table showing each association may be prepared, or a program for modeling a derivation rule or the like may be prepared. It may be realized by.
  • the adjustment means and the adjustment amount may be changed depending on the level of the communication status. Even if the communication status is stable and the data size that can be transmitted does not change, the compression coding processing unit 454 continuously derives the score corresponding to the content of the moving image, and even if the transmission size is the same. The combination of each value of the frame rate, the resolution, and the quantization parameter may be changed.
  • the data transmission size is determined in multiple stages according to the communication status, and the frame rate, resolution, and quantization parameters are adjusted accordingly. Adjust the combination.
  • the tables and calculation models that define the derivation rules may be optimized at any time by using machine learning or deep learning.
  • the score value is acquired from the content of the moving image in S58, and the adjustment means and the adjustment amount are obtained in S60 based on the score value. You may prepare a decision rule so that it can be done.
  • the compression coding processing unit 454 performs compression coding in units of partial images while adjusting the data size according to the adjustment means and adjustment amount determined in this way, and sequentially supplies the data of the image to the packetization unit 424. (S62). At this time, information on the resolution, frame rate, and quantization parameter is also supplied in association with each other.
  • the packetizing unit 424 packetizes it and transmits it from the communication unit 426 to the image processing device 200.
  • the compression coding processing unit 454 may acquire the score and derive the adjustment means and the adjustment amount in the background of the compression coding processing. Further, in reality, the frequency of determining the data size in S56 and the frequency of compression coding and transmission in units of partial images in S62 may be the same or different.
  • the compression coding processing unit 454 may reset the means and the adjustment amount used for adjusting the data size at predetermined time intervals. Unless it is necessary to stop the transmission of the image due to a user operation on the image processing device 200 (N in S64), compression coding and transmission of the subsequent frame are performed while changing the adjustment means and the adjustment amount as necessary. The process is repeated (S56, S58, S60, S62). However, as described in 11 above, the compression coding processing unit 454 refers to the history of changes in the adjustment means and the adjustment amount in the immediately preceding predetermined period, and makes adjustments within an allowable range so as not to deteriorate the user experience. When it becomes necessary to stop the transmission of the image, the server 400 terminates all the processing (Y in S64).
  • the means suitable for the information related to the content represented by the moving image being transmitted according to the communication status used for streaming from the server 400 to the image processing device 200 Adjust the data size of the image with and the amount.
  • adjusting by combining a plurality of adjusting means such as resolution, frame rate, and quantization parameter, it is possible to significantly increase the variation of the state change that can be taken, rather than adjusting only one parameter. As a result, the deterioration of the image quality can be suppressed to the extent that the user can tolerate.
  • FIG. 33 shows the configuration of the functional block of the server 400 having a function of changing the compression ratio depending on the area on the frame based on the content represented by the moving image.
  • the server 400 includes an image generation unit 420, a compression coding unit 422, a packetization unit 424, and a communication unit 426.
  • the image generation unit 420, the packetization unit 424, and the communication unit 426 have the same functions as those described with reference to FIGS. 5, 16 and 24.
  • the image generation unit 420 may draw a moving image to be transmitted on the spot, that is, may dynamically draw a video that did not exist until then.
  • the compression coding unit 422 may further include a division unit 440, a second coding unit 444, a transmission target adjustment unit 362, and the like shown in FIGS. 20 and 23. ..
  • the compression coding unit 422 includes an image content acquisition unit 450, an attention level estimation unit 460, a communication status acquisition unit 462, and a compression coding processing unit 464.
  • the image content acquisition unit 450 acquires information related to the content represented by the moving image to be processed from the image processing device 200, the image generation unit 420, and the compression coding processing unit 464, or by itself. Obtained by performing image analysis.
  • the attention level estimation unit 460 estimates the user's attention level according to the displayed content for each unit area formed by dividing the frame plane of the moving image based on the information related to the content represented by the moving image.
  • the degree of attention is an index such as a numerical value indicating the degree of attention of the user. For example, a high degree of attention is estimated for a unit area including an area where a main object is shown and an area where characters are shown. Therefore, the image content acquisition unit 450 may acquire information relating to the type of the object represented in the image and its position in addition to the information relating to the content of the moving image illustrated with reference to FIG.
  • the information may be acquired by the image content acquisition unit 450 itself executing the image recognition process, or may be notified as a result of image drawing from the image generation unit 420 or the like.
  • the image content acquisition unit 450 uses the acquired optical flow, motion estimation, coding unit allocation status, whether or not the scene is switched, the type of image texture displayed in the frame, and the feature points.
  • Image recognition may be performed using at least one of the distribution, depth information, and the like, and the degree of attention of the recognized object may be estimated.
  • the communication status acquisition unit 462 has the same function as the communication status acquisition unit 452 shown in FIGS. 23 and 26.
  • the compression coding processing unit 464 compresses and encodes the image data after making the compression ratios different on the image plane based on the distribution of the attention degree estimated by the attention degree estimation unit 460. At this time, the compression coding processing unit 464 determines the compression ratio in the frame plane and the distribution of the quantization parameter based on the combination of the degree of attention, the communication bandwidth that can be used for data transmission, the frame rate, and the resolution. ..
  • the compression coding processing unit 464 lowers the compression rate by lowering the value of the quantization parameter for the unit quantity range where a high degree of attention is estimated, and allocates a larger bit rate.
  • the quantization parameter is determined based only on the estimated high degree of attention, it may occur that the available communication band is compressed more than necessary or the compression is insufficient.
  • the compression coding processing unit 464 determines the distribution of the compression ratio in the image plane so that the data size of the entire frame matches the available communication band, taking into consideration the frame rate and the resolution. However, as described above, the compression coding processing unit 464 performs compression coding for each partial image of the frame generated by the image generation unit 420.
  • the partial image is, for example, an integral multiple of the unit area for estimating the degree of attention.
  • the compression coding processing unit 464 determines the quantization parameter for each unit region, and compresses and encodes each unit region included in the partial image using the determined quantization parameter. At this time, the compression coding processing unit 464 grasps the total data size for each partial image.
  • the compression coding processing unit 464 sequentially supplies the data of the partial image compressed and encoded in this way to the packetization unit 424. At this time, by supplying the quantization parameters applied to the unit region of the partial image in association with each other, the packetizing unit 424 packetizes the partial image data together with the data. As a result, the compression-encoded partial image data is transmitted to the image processing device 200 via the communication unit 426 in the same manner as described above.
  • the decoding / decompression unit 242 of the image processing apparatus 200 performs dequantization based on the quantization parameters transmitted together with the image data.
  • FIG. 34 is a diagram for explaining a process in which the attention level estimation unit 460 estimates the attention level distribution on the image plane.
  • the image 160 represents a certain frame in the moving image data.
  • the image 160 shows objects 162a, 162b and GUI 162c.
  • the attention level estimation unit 460 forms a unit area (for example, a unit area 164) by dividing the image plane in both vertical and horizontal directions at predetermined intervals as shown by a broken line. Then, the degree of attention is estimated for each unit area.
  • the figure shows that the set of unit regions 166a and 166b in which the objects 162a and 162b are represented, surrounded by the alternate long and short dash line, is estimated to have a higher degree of attention than the other unit regions.
  • the degree of attention is estimated based on various information as illustrated in "6. Optimization of data size reduction means" above.
  • the degree of attention may be 0 or 1, that is, a binary value of not being noticed or being noticed, or may be represented by more gradations.
  • the attention level estimation unit 460 may derive a score representing the attention level according to at least one of the following rules, and comprehensively determine the attention level for each unit area based on the total.
  • the image content acquisition unit 450 obtains information from the image generation unit 420, or estimates these objects from the interlocking between the object specified by the image recognition and the user operation.
  • the user may be one person, or may be a plurality of people who share the same image processing device 200 or have different image processing devices 200 connected to the same server 400.
  • the image content acquisition unit 450 obtains information from the image generation unit 420 or identifies these objects by image recognition.
  • image recognition a general face detection algorithm or the like may be used. For example, the face is detected by searching the image for a position where the feature amount of the eyes, nose, and mouth is relatively located in a T shape.
  • the indicator is specified by the image content acquisition unit 450 to obtain information from the image generation unit 420 or by image recognition.
  • the image content acquisition unit 450 obtains information from the image generation unit 420 or identifies the object by image recognition.
  • Score determination rule based on the size of the image on the image Refers to LOD, mipmap texture, tessellation, and object size, and there is an object with higher definition than a predetermined value, and the ratio of the area occupied by it in the entire image. The larger the value (there is a large high-definition object near the view screen), the higher the score of the unit area containing the object is set.
  • Score determination rule based on contrast and dynamic range The contrast based on the distribution of pixel values and the dynamic range based on the distribution of brightness are referred to, and the higher the contrast or dynamic range, the higher the score. 7. Score determination rule based on image movement Refers to the amount of movement of an object's image, optical flow, and the size and amount of motion estimation, and many objects have a movement amount larger than a predetermined value, and the percentage of the area they occupy in the entire image. The larger the unit area, the higher the score.
  • Score determination rule based on texture type The image texture type of each unit area is aggregated, and when the ratio of the area occupied by the dense area, detailed area, and crowd area is large in the entire image, the unit area including the texture is included. Is a higher score than the others.
  • Score control rule at scene switching timing Information about the switching timing is obtained from the image generation unit 420.
  • the amount of objects, feature points, edges, optical flow, motion estimation, pixel contrast, brightness dynamic range, presence / absence of audio, number of audio channels, or audio mode are all suddenly changed or reset in the time series direction. Switch the score when you do.
  • at least two frames or more are referred to.
  • the compression coding processing unit 454 can also detect scene switching based on the correlation with the previous frame in order to grasp the necessity of the frame as the intra frame in the compression coding.
  • the score determination rule described above may be used in combination to improve the detection accuracy of switching.
  • the score of the high-scoring unit area set based on other scoring rules is further increased for the frames up to that point.
  • the score of the unit area, which has been regarded as a high score is reset once. Since an intra frame is required to switch the detected scene and the data size tends to increase in a surge manner, the total score of all the unit areas is reduced in the target frame and a predetermined number of subsequent frames.
  • Score determination rule based on the content of user operation In content such as a game executed by the image generation unit 420, when the amount of change in user operation in the immediately preceding predetermined period is equal to or greater than a predetermined value, the user obtains high responsiveness from the content. We are expecting it, and it is estimated that there is a region of interest. Therefore, the score of the unit region in which the score equal to or higher than the predetermined value is given by other scoring rules is further amplified. If the amount of change is small even if the operation is performed, the level of the score is lowered by one step from the amplification result.
  • the user operation analyzes input information acquired by an input device (not shown) such as a game controller, keyboard, and mouse, the position, posture, and movement of the head mount display 100, and an image taken by the camera of the head mount display 100 or an external camera (not shown).
  • an input device such as a game controller, keyboard, and mouse
  • the position, posture, and movement of the head mount display 100 and an image taken by the camera of the head mount display 100 or an external camera (not shown).
  • a gesture (hand sign) instruction based on the result, a voice instruction acquired by a microphone (not shown), and the like are acquired from the image processing device 200.
  • Controlling the frequency of switching the distribution of the compression rate The score is adjusted so that the switching is within the permissible range from the viewpoint of the user experience by referring to the history of the degree of attention determined in the predetermined period immediately before.
  • the "tolerance range" is determined based on a predefined table or model.
  • the attention level estimation unit 460 comprehensively determines the attention level of each unit area according to one of the above rules or the total value of the scores obtained by a plurality of rules.
  • the compression coding processing unit 454 may refer to the Z value in order to grasp the position of the object, the order of projection, the size, and the relative distance from the view screen in the above rules 1 to 9.
  • the above-mentioned decision rule is prepared in advance in the form of a table or a calculation model, and is held inside the attention level estimation unit 460.
  • the compression coding processing unit 464 determines the compression rate (quantization parameter) of each unit region based on the distribution of the degree of attention estimated in this way. For example, in the illustrated example, when one line of the unit area is used as a partial image, the uppermost partial image 168a and the lowermost partial image 168b, which do not have a unit area determined to have a high degree of attention, are intermediate portions other than the above. The compression rate is higher than that of the partial image of. Further, when the object 162a has a higher degree of attention than the object 162b, it is conceivable that the unit region set 166b in which the object 162b is represented has a higher compression ratio than the unit region set 166a.
  • the compression coding processing unit 464 updates the distribution of the compression rate in any of partial image units, one frame unit, a predetermined number of frame units, and a predetermined time interval, so that the data size is the latest. Make it suitable for the communication situation. For example, if the available communication bandwidth, resolution, and frame rate are the same, the larger the unit area estimated to have high attention, the smaller the difference in compression ratio between the attention area and the non-attention area. Such adjustments may be made individually for each set of unit regions 166a and 166b, depending on the degree of attention. In some cases, a set of some unit regions (for example, a set of unit regions 166b) may be excluded from the target for lowering the compression rate based on the determined priority of attention.
  • the data size control may be any of a partial image unit, a frame unit, a predetermined number of frame units, and a predetermined time unit. Rules for determining the distribution of quantization parameters based on a combination of attention, available communication bandwidth, frame rate, and resolution for each unit region should be prepared in advance in the form of a table or computational model.
  • the decision rule may be optimized by machine learning or deep learning while collecting the adjustment results in various past cases.
  • FIG. 35 is a flowchart showing a processing procedure in which the server 400 controls the compression ratio for each area of the image plane. This flowchart is started by the user selecting a game to be played, a moving image to be watched, or the like from the image processing device 200.
  • the communication status acquisition unit 462 of the server 400 starts acquiring the communication status used for streaming to the image processing device 200 (S70). As described above, since the communication status is determined by sending and receiving signals to and from the image processing device 200, the communication status acquisition unit 462 acquires necessary information from the communication unit 426.
  • the image generation unit 420 starts generating the corresponding moving image (S72).
  • the image generation unit 420 is not limited to drawing computer graphics, and may acquire a captured image from the camera.
  • the image content acquisition unit 450 of the compression coding unit 422 starts acquiring information related to the content of the moving image (S73).
  • the compression coding processing unit 464 determines the transmission size of the image data according to the latest communication status acquired by the communication status acquisition unit 462 (S74).
  • the attention degree estimation unit 460 of the compression coding unit 422 estimates the attention degree distribution with respect to the frame to be processed based on the information related to the content of the moving image (S75). That is, the plane of the frame is divided into unit areas, and the degree of attention is derived for each.
  • the compression coding processing unit 464 determines the distribution of the quantization parameters based on the distribution of the degree of attention (S76). As described above, the quantization parameters are determined in consideration of the available communication bandwidth, resolution, and frame rate in addition to the degree of attention.
  • the compression coding processing unit 464 derives an appropriate distribution of quantization parameters from those parameters by referring to a table or using a calculation model. Then, the compression coding processing unit 464 compresses and encodes the unit region included in the partial image using the determined quantization parameter, and sequentially supplies the unit region to the packetizing unit 424, whereby the communication unit 426 is used as an image processing device. It is transmitted to 200 (S80).
  • the compression coding processing unit 464 repeats compression coding and transmission of all partial image data for the frame to be processed (N, S80 in S82). If it is not necessary to stop the transmission of the image due to user operation on the image processing device 200 (N in S84), the data size is determined, the attention distribution is estimated, the quantization parameter distribution is determined, and the portion of the subsequent frame. Image compression coding and transmission are repeated (N, S74, S75, S76, S80, S82 of S84).
  • the server 400 terminates all the processing (Y in S84).
  • the server 400 estimates the degree of attention of the user for each unit region based on the content represented by the moving image. Then, the distribution of the quantization parameters is determined so that the higher the degree of attention is, the lower the compression rate is, and then the compression coding is performed and transmitted to the image processing apparatus 200. This can improve the quality of the user experience under limited communication bandwidth and resource environment.
  • the degree of attention is more accurate and detailed. Distribution can be estimated.
  • the compression rate can be finely controlled in response to changes in resolution, frame rate, and communication status, and it can respond flexibly to various situation changes. it can.
  • the attention level is estimated based on the content represented by the moving image, but the attention level can also be estimated based on the part actually paid by the user.
  • the server 400 acquires the position information of the gazing point on the screen from the device that detects the gazing point of the user who is looking at the head-mounted display 100 or the flat plate display 302, and estimates the distribution of attention based on the position information. To do.
  • the distribution of attention may be derived based on both the content represented by the moving image and the gaze point of the user.
  • FIG. 36 shows the configuration of the functional block of the server 400 having a function of changing the compression ratio depending on the area on the frame based on the user's gaze point.
  • the server 400 includes an image generation unit 420, a compression coding unit 422, a packetization unit 424, and a communication unit 426.
  • the image generation unit 420, the packetization unit 424, and the communication unit 426 have the same functions as described with reference to FIGS. 5, 9, 16, 26, and 33.
  • the compression coding unit 422 may further include a division unit 440, a second coding unit 444, a transmission target adjustment unit 362, and the like shown in FIGS. 20 and 23.
  • the compression coding unit 422 includes a gaze point acquisition unit 470, an attention level estimation unit 472, a communication status acquisition unit 474, and a compression coding processing unit 476.
  • the gazing point acquisition unit 470 acquires the position information of the gazing point of the user with respect to the drawn moving image displayed on the display device connected to the image processing device 200 such as the head-mounted display 100 and the flat plate display 302.
  • a gaze point detector is provided inside the head-mounted display 100, or a gaze point detector is attached to a user who is looking at the flat plate display 302, and the measurement result by the gaze point detector is acquired.
  • the image data acquisition unit 240 of the image processing device 200 transmits the position coordinate information of the gazing point to the communication unit 426 of the server 400 at a predetermined rate, so that the gazing point acquisition unit 470 acquires it.
  • the gazing point detector may be a general device that irradiates the user's eyeball with reference light such as infrared rays and identifies the gazing point from the direction of the pupil obtained by detecting the reflected light with a sensor.
  • the gazing point acquisition unit 470 preferably acquires the gazing point position information at a frequency higher than the frame rate of the moving image.
  • the gaze point acquisition unit 470 may generate position information at an appropriate frequency by temporally interpolating the position information of the gaze point acquired from the image processing device 200.
  • the gazing point acquisition unit 470 may simultaneously acquire a predetermined number of historical values from the image processing device 200 together with the latest value of the gazing point position information.
  • the attention level estimation unit 472 estimates the attention level for each unit area formed by dividing the frame plane of the moving image based on the position of the gazing point. Specifically, the attention level estimation unit 472 estimates the attention level based on at least one of the frequency at which the gazing point is included, the residence time of the gazing point, the presence / absence of a saccade, and the presence / absence of blinking. Qualitatively, the attention level estimation unit 472 increases the attention level of the unit region as the frequency at which the gazing point is included per unit time or the residence time increases.
  • a saccade is a high-speed movement of the eyeball that occurs when the line of sight is directed at an object, and it is known that the processing of visual signals in the brain is interrupted during the period when the saccade is occurring. Of course, the image is not recognized during the blinking period. Therefore, the attention level estimation unit 472 changes the attention level difference so as to reduce or eliminate the difference in attention level during those periods. Techniques for detecting saccades and blink periods are disclosed, for example, in US Patent Application Publication No. 2017/0285736.
  • the attention level estimation unit 472 acquires new position information. You may update the attention level each time you get. That is, the distribution of attention may change during the compression coding process for one frame. As described above, the attention level estimation unit 472 further estimates the attention level based on the content represented by the moving image for each unit region, and sets the attention level at the position of the gazing point, similarly to the attention level estimation unit 460 described in 7-1. The final attention distribution may be obtained by integrating with the based attention.
  • the communication status acquisition unit 474 has the same function as the communication status acquisition unit 452 of FIG. 26.
  • the compression coding processing unit 476 basically has the same function as the compression coding processing unit 464 of FIG. 33. That is, the compression coding processing unit 476 compresses and encodes the image data after making the compression ratio different on the image plane based on the distribution of the attention degree estimated by the attention degree estimation unit 472. At this time, the compression coding processing unit 476 determines the compression ratio in the frame plane and the distribution of the quantization parameter based on the combination of the communication bandwidth, the frame rate, and the resolution that can be used for data transmission.
  • the compression coding processing unit 476 adjusts the distribution of the compression rate based on the comparison between the data size of the latest predetermined number of frames and the available communication bandwidth acquired by the communication status acquisition unit 474.
  • the movement of the gazing point is generally complicated, and there is a possibility that the degree of attention cannot be obtained with stable accuracy. Therefore, the compression coding processing unit 476 may refer to the compression result in the latest frame in addition to the attention level distribution estimated by the attention level estimation unit 472 to improve the accuracy of determining the compression rate of the frame to be processed.
  • the compression coding processing unit 476 may adjust the distribution of the compression rate of the frame to be processed based on the compression coding result of the latest predetermined number of frames, that is, the region where the compression rate is increased and the compression rate thereof. Good. This makes it possible to alleviate the bias in the distribution of the compression ratio.
  • the compression coding processing unit 476 determines the effectiveness of the degree of attention for each unit region, and when it is determined that it is not valid, refers to the compression coding result of the latest predetermined number of frames to determine the distribution of the compression ratio. You may decide.
  • the compression coding processing unit 476 adopts the distribution of the compression ratio determined by the latest predetermined number of frames as it is. Or extrapolate the change in distribution to determine the distribution of the compression ratio of the frame to be processed. Further, as described above in 7-1, the compression coding processing unit 476 considers the frame rate and the resolution, and sets the compression ratio in the image plane so that the data size of the entire frame matches the available communication band. Determine the distribution. Subsequent processing is the same as described above in 7-1.
  • FIG. 37 is a diagram for explaining a process in which the attention level estimation unit 472 estimates the attention level distribution on the image plane.
  • the image 180 represents a certain frame in the moving image data.
  • the circle (for example, circle 182) shown on the image represents the position where the gazing point stayed, and the size of the circle represents the length of the residence time.
  • “retention” means that the gazing point stays within a predetermined range considered to be the same position for a predetermined time or longer.
  • the line (for example, line 184) represents a movement route that occurs at a frequency of a predetermined value or more among the movement routes of the gazing point.
  • the attention level estimation unit 472 acquires the position information of the gazing point from the gazing point acquisition unit 470 at a predetermined cycle, and generates the information as shown in the figure. Then, for each unit area, the degree of attention is estimated based on the frequency at which the gazing point is included, the residence time, the presence / absence of saccade, the presence / absence of blinking, and the like. In the figure, for example, the unit region included in the regions 186a, 186b, and 186c surrounded by the alternate long and short dash line is estimated to have a higher degree of attention than the other unit regions. Furthermore, the unit region that has become the path of viewpoint movement at a high frequency equal to or higher than the threshold value may also be given a high degree of attention. In this embodiment as well, the degree of attention may be 0 or 1, that is, a binary value of not being noticed or being noticed, or may be represented by more gradations.
  • FIG. 38 is a diagram for explaining a method in which the compression coding processing unit 476 determines the distribution of the compression ratio based on the gazing point.
  • the compression coding processing unit 476 determines the compression ratio (quantization parameter) for each partial image based on the latest distribution of attention and the available communication bandwidth. Determine and compress code.
  • the data size as a result of compression can vary depending on the content of the image, and the gazing point information can be updated in the unprocessed partial image in the target frame.
  • the actual result may differ from the intended data size at the time when the compression coding of the target frame is started. Therefore, if the available communication bandwidth is temporarily exceeded or is likely to be exceeded, the target frame or subsequent frames can be canceled to cancel the specification of compression rate reduction based on the degree of attention and adjust the data size. It is carried out in the compression coding process of. In the case of the figure, as shown in the upper part, seven partial regions (for example, partial region 192) formed by equally dividing the plane of the image 190 in the horizontal direction are formed.
  • the compression coding processing unit 476 compresses and encodes each partial image, for example, when the partial image includes a unit region whose compression ratio should be reduced, or when the partial image is a unit region whose compression ratio should be reduced. , The compression rate is lowered by lowering the quantization parameter for the partial image. Further, if new position information of the gazing point is obtained while compression coding is performed in order from the upper partial image of the image 190, the attention level estimation unit 472 updates the attention level for each unit area accordingly and compresses the image 190. The coding processing unit 476 determines the compression rate of the partial image based on the latest degree of attention. That is, when the attention level is updated after the start of processing of the frame to be processed, the compression coding processing unit 476 compresses and encodes the partial image at a compression rate based on the distribution of the latest attention level.
  • the compression rate may be adjusted with reference to the compression coding results up to that point.
  • the bar graph in the lower part of the figure shows the data size after compression coding for each partial image in four consecutive frames (“Frame 0” to “Frame 3”) as the compression coding result in bit rate (bit / sec). Further, for each frame, the bit rate after compression coding per frame is shown by a line graph 196.
  • the bit rate "A” indicates the communication bandwidth that can be used for communication between the server 400 and the image processing device 200.
  • the compression coding processing unit 476 adjusts the compression ratio of each partial image, and thus the quantization parameter, by comparing the bit rate per frame with the available communication bandwidth, for example.
  • the bit rate per frame of "Frame 0" is sufficiently lower than the communication bandwidth, whereas in the next "Frame 1", it is close to the communication bandwidth.
  • the compression coding processing unit 476 predicts the bit rate per frame in the compression coding processing of each partial image, and the difference from the communication bandwidth may be smaller than a predetermined threshold value as in "Flame 1". Once found, increase the compression ratio of any of the partial images.
  • the arrow indicates that the bit rate was lowered by increasing the compression ratio of the seventh partial image of "Flame 1" to be higher than the initial determination.
  • the compression coding processing unit 476 may adjust the compression rate for the next frame "Flame 3".
  • the arrow indicates that the bit rate was lowered by increasing the compression ratio of the first partial image of "Flame 3" from the initial determination.
  • the degree of attention is represented by a binary value of whether it is attracting attention or not, and the 7th partial image of "Flame 1" and the 1st part of "Flame 3", which were initially the regions of interest.
  • the compression coding processing unit 476 includes a unit region of high attention that should reduce the compression rate when the bit rate per frame exceeds the communication bandwidth or the difference between the two becomes smaller than a predetermined value. Even if it is a partial image, the reduction of the compression rate is cancelled.
  • the same compression rate as other areas that are not attracting attention may be given, or the compression rate may be increased by a predetermined value.
  • the adjustment method is not limited to the one shown in the figure, and the amount of change in the compression rate may be different depending on the degree of attention, or the entire distribution of the compression rate may be changed, especially when the degree of attention is expressed in multiple stages. You may.
  • the compression coding processing unit 476 may determine the quantization parameter based only on the frame to be processed, or determine the quantization parameter by referring to the compression coding result in the latest predetermined number of frames. You may.
  • the compression coding processing unit 476 multilaterally confirms the temporal changes of parameters such as the distribution of the quantization parameters in the past frames, the available communication bandwidth, and the data size of the entire frame, and based on this, in the frame to be processed.
  • the distribution of quantization parameters may be determined. Determines the distribution of quantization parameters based on the rules that determine the distribution of quantization parameters based on the degree of attention, the distribution of quantization parameters in past frames, the available communication bandwidth, and the time variation of parameters such as the data size of the entire frame.
  • the rules to be used may be optimized by machine learning or deep learning while collecting the adjustment results in various past cases.
  • the processing procedure in which the server 400 controls the compression ratio for each area of the image plane may be the same as that shown in FIG. 35.
  • the attention level estimation process may be updated as necessary each time the position information of the gazing point is obtained, and the quantization parameter may be changed at any time accordingly.
  • the server 400 acquires the actual movement of the line of sight of the user and estimates the degree of attention of the user for each unit region based on the result. .. As a result, it is possible to accurately determine the target that is actually attracting attention, and by preferentially allocating resources to the target, it is possible to improve the image quality in terms of user recognition.
  • the accuracy of setting the compression rate can be maintained even if there is an error in the estimation of the degree of attention. Furthermore, by monitoring the data size after compression coding in the entire frame, even if there are too many areas that are judged to have high attention in the initial setting, or the compression rate of the area is excessively low. , Those values can be adjusted appropriately. Also, as with 7-1, by treating the degree of attention as a distribution and determining the distribution of the compression rate according to the distribution, the compression rate can be finely controlled with respect to changes in resolution, frame rate, and communication conditions, and various Can respond flexibly to changes in circumstances.
  • the gazing point acquisition unit 470 and the attention level estimation unit 472 are provided on the image processing device 200 side, and the server 400 acquires the attention level information estimated for each unit area from the image processing device 200. You may.
  • the gazing point acquisition unit 470 acquires the gazing point position information which is the measurement result from the gazing point detector described above.
  • the attention level estimation unit 472 estimates the attention level for each unit area based on the position information of the gazing point in the same manner as when the server 400 is provided.
  • the position information of the gazing point may be acquired at a frequency higher than the frame rate, and the distribution of attention may be updated at any time accordingly.
  • the attention level information estimated by the attention level estimation unit 472 is transmitted to the communication unit 426 of the server 400 at a predetermined rate via, for example, the image data acquisition unit 240.
  • the attention level estimation unit 472 may simultaneously transmit a predetermined number of historical values together with the latest value of the attention level estimation result in preparation for a transmission failure.
  • the operations of the communication status acquisition unit 474 and the compression coding processing unit 476 of the server 400 are the same as described above. Even with such a configuration, the same effects as described above can be realized.
  • the present invention can be used for various devices such as an image processing device, an image data transfer device, and a content providing server, and a system including any of them.
  • 1 image display system 100 head mount display, 200 image processing device, 202 input / output interface, 204 partial image storage unit, 206 control unit, 208 video decoder, 210 partial image storage unit, 212 control unit, 214 image processing unit, 216 Partial image storage unit, 218 control unit, 220 display controller, 240 image data acquisition unit, 242 decoding / decompression unit, 244 image processing unit, 246 display control unit, 248 data acquisition status identification unit, 250 output target determination unit, 252 output unit , 260 position / orientation tracking unit, 262 first correction unit, 264 synthesis unit, 266 second correction unit, 270a first formation unit, 270b second formation unit, 272a first control unit, 272b second control unit, 280 first Decoding unit, 282 second decoding unit, 302 flat plate display, 400 server, 402 drawing control unit, 404 image drawing unit, 406 frame buffer, 408 video encoder, 410 partial image storage unit, 412 control unit, 414 video stream control unit , 416 I / O

Landscapes

  • Engineering & Computer Science (AREA)
  • Multimedia (AREA)
  • Signal Processing (AREA)
  • Computing Systems (AREA)
  • Theoretical Computer Science (AREA)
  • Compression Or Coding Systems Of Tv Signals (AREA)
  • Two-Way Televisions, Distribution Of Moving Picture Or The Like (AREA)
  • Controls And Circuits For Display Device (AREA)
PCT/JP2020/035834 2019-09-30 2020-09-23 画像データ転送装置および画像圧縮方法 Ceased WO2021065631A1 (ja)

Priority Applications (1)

Application Number Priority Date Filing Date Title
US17/638,655 US12464146B2 (en) 2019-09-30 2020-09-23 Image data transfer apparatus and image compression method

Applications Claiming Priority (2)

Application Number Priority Date Filing Date Title
JP2019-179439 2019-09-30
JP2019179439A JP7491676B2 (ja) 2019-09-30 2019-09-30 画像データ転送装置および画像圧縮方法

Publications (1)

Publication Number Publication Date
WO2021065631A1 true WO2021065631A1 (ja) 2021-04-08

Family

ID=75271208

Family Applications (1)

Application Number Title Priority Date Filing Date
PCT/JP2020/035834 Ceased WO2021065631A1 (ja) 2019-09-30 2020-09-23 画像データ転送装置および画像圧縮方法

Country Status (3)

Country Link
US (1) US12464146B2 (enExample)
JP (1) JP7491676B2 (enExample)
WO (1) WO2021065631A1 (enExample)

Cited By (2)

* Cited by examiner, † Cited by third party
Publication number Priority date Publication date Assignee Title
CN113660488A (zh) * 2021-10-18 2021-11-16 腾讯科技(深圳)有限公司 对多媒体数据进行流控及流控模型训练方法、以及装置
CN119342219A (zh) * 2024-12-19 2025-01-21 长沙超创电子科技有限公司 一种端到端低延时的图像传输方法

Families Citing this family (8)

* Cited by examiner, † Cited by third party
Publication number Priority date Publication date Assignee Title
JP7491676B2 (ja) * 2019-09-30 2024-05-28 株式会社ソニー・インタラクティブエンタテインメント 画像データ転送装置および画像圧縮方法
JP7429512B2 (ja) 2019-09-30 2024-02-08 株式会社ソニー・インタラクティブエンタテインメント 画像処理装置、画像データ転送装置、画像処理方法、および画像データ転送方法
JP7433155B2 (ja) * 2020-07-17 2024-02-19 京セラ株式会社 電子機器、情報処理装置、推定方法、および推定プログラム
WO2024143565A1 (ko) * 2022-12-26 2024-07-04 광운대학교 산학협력단 원격 의료시스템을 위한 동영상 압축 전송 방법 및 장치
CN118741229A (zh) * 2023-03-31 2024-10-01 华为技术有限公司 一种视频传输方法、装置、存储介质和系统
JP7698774B1 (ja) * 2024-07-24 2025-06-25 Kddi株式会社 情報処理装置、情報処理方法及びプログラム
CN118741127B (zh) * 2024-08-29 2024-12-03 大石桥市瓦房沟铁矿有限公司 一种铁矿视频数据智能压缩方法及系统
CN119625563B (zh) * 2024-12-11 2025-11-07 成都祥龙华创科技有限公司 一种基于gis技术的林业资源采集方法

Citations (11)

* Cited by examiner, † Cited by third party
Publication number Priority date Publication date Assignee Title
JPH05344495A (ja) * 1992-06-10 1993-12-24 Ricoh Co Ltd 動画像符号化方式
JPH10200900A (ja) * 1997-01-10 1998-07-31 Nippon Telegr & Teleph Corp <Ntt> 符号化映像の高画質メディア同期再生方法及び装置
JP2004005452A (ja) * 2002-04-16 2004-01-08 Sony Computer Entertainment Inc 画像処理装置、画像処理方法、半導体デバイス、コンピュータプログラム、記録媒体
JP2006324767A (ja) * 2005-05-17 2006-11-30 Sony Corp 画像処理装置、および画像処理方法、並びにコンピュータ・プログラム
JP2009049976A (ja) * 2007-07-20 2009-03-05 Fujifilm Corp 画像処理装置、画像処理方法、及びプログラム
JP2016533659A (ja) * 2013-06-07 2016-10-27 ソニー インタラクティブ エンタテインメント アメリカ リミテッド ライアビリテイ カンパニー ヘッドマウントシステムに関連するホップ数を削減するためのシステム及び方法
WO2017138458A1 (ja) * 2016-02-09 2017-08-17 株式会社ソニー・インタラクティブエンタテインメント 映像表示システム
WO2018026730A1 (en) * 2016-08-01 2018-02-08 Facebook, Inc. Adaptive parameters in image regions based on eye tracking information
JP2018026677A (ja) * 2016-08-09 2018-02-15 日本電信電話株式会社 符号化装置、符号化方法及び符号化プログラム
JP2018141816A (ja) * 2015-09-18 2018-09-13 フォーブ インコーポレーテッド 映像システム、映像生成方法、映像配信方法、映像生成プログラム及び映像配信プログラム
JP2019083492A (ja) * 2017-10-31 2019-05-30 日本電信電話株式会社 量子化パラメータ補正装置、量子化パラメータ補正方法及び量子化パラメータ補正プログラム

Family Cites Families (122)

* Cited by examiner, † Cited by third party
Publication number Priority date Publication date Assignee Title
JP2758023B2 (ja) 1989-05-17 1998-05-25 日本放送協会 画像表示装置
JPH02301793A (ja) 1989-05-17 1990-12-13 Matsushita Electric Ind Co Ltd 大型映像表示装置
JPH09284620A (ja) 1996-04-09 1997-10-31 Canon Inc 撮像装置
BR9914105B1 (pt) * 1998-09-29 2012-02-07 processo e disposição para o processamento de uma imagem digitalizada com pontos de imagem.
US6574043B2 (en) 2001-11-07 2003-06-03 Eastman Kodak Company Method for enhanced bit depth in an imaging apparatus using a spatial light modulator
FR2840495B1 (fr) * 2002-05-29 2004-07-30 Canon Kk Procede et dispositif de selection d'une methode de transcodage parmi un ensemble de methodes de transcodage
JP2004056335A (ja) 2002-07-18 2004-02-19 Sony Corp 情報処理装置および方法、表示装置および方法、並びにプログラム
KR100486713B1 (ko) 2002-09-17 2005-05-03 삼성전자주식회사 멀티미디어 스트리밍 장치 및 방법
US20090118019A1 (en) * 2002-12-10 2009-05-07 Onlive, Inc. System for streaming databases serving real-time applications used through streaming interactive video
US7162095B2 (en) 2003-06-13 2007-01-09 National Chung Cheng University Method of automatically determining the region of interest from an image
JP2005229352A (ja) 2004-02-13 2005-08-25 Canon Inc 画質調整装置およびディスプレイシステム
KR100604480B1 (ko) * 2004-03-22 2006-07-24 엘지전자 주식회사 이동 영상 전화에서 양방향 지연 시간 검증 방법 및 시스템
US20050278642A1 (en) * 2004-06-10 2005-12-15 Chang Nelson L A Method and system for controlling a collaborative computing environment
JP4189358B2 (ja) 2004-06-17 2008-12-03 株式会社東芝 画像符号化装置及び方法
JP2006030379A (ja) 2004-07-13 2006-02-02 Toshiba Corp マルチディスプレイシステム及びコンピュータ
JP2006054830A (ja) 2004-08-16 2006-02-23 Sony Corp 画像圧縮通信方法及び装置
JP2007074512A (ja) 2005-09-08 2007-03-22 Sony Corp 信号出力装置および信号出力方法
TWI343020B (en) 2006-05-12 2011-06-01 Nvidia Corp Antialiasing using multiple display heads of a graphics processor
MX2009003968A (es) 2006-10-16 2009-06-01 Nokia Corp Sistema y método para usar segmentos decodificables paralelamente para codificación de video de vistas múltiples.
JP2009049528A (ja) 2007-08-14 2009-03-05 Canon Inc 画像配信システム、画像配信方法、及びコンピュータプログラム
JP2009246539A (ja) 2008-03-28 2009-10-22 Ibex Technology Co Ltd 符号化装置、符号化方法、符号化プログラム、復号化装置、復号化方法および復号化プログラム
TWI364220B (en) 2008-08-15 2012-05-11 Acer Inc A video processing method and a video system
US20100128797A1 (en) 2008-11-24 2010-05-27 Nvidia Corporation Encoding Of An Image Frame As Independent Regions
EP2425625A2 (en) 2009-05-01 2012-03-07 Thomson Licensing Reference picture lists for 3dv
US20110216827A1 (en) 2010-02-23 2011-09-08 Jiancong Luo Method and apparatus for efficient encoding of multi-view coded video data
GB201003962D0 (en) * 2010-03-10 2010-04-21 Tangentix Ltd Multimedia content delivery system
JP5811641B2 (ja) 2010-09-07 2015-11-11 株式会社リコー Tv会議システム、映像送信方法、及び映像送信装置
US9007362B2 (en) * 2011-01-14 2015-04-14 Brian Mark Shuster Adaptable generation of virtual environment frames
CA2825117A1 (en) 2011-02-17 2012-08-23 Panasonic Corporation Video encoding device, video encoding method, video encoding program, video playback device, video playback method, and video playback program
JP5874176B2 (ja) 2011-03-06 2016-03-02 ソニー株式会社 表示装置、並びに中継装置
US8836771B2 (en) 2011-04-26 2014-09-16 Echostar Technologies L.L.C. Apparatus, systems and methods for shared viewing experience using head mounted displays
US9897805B2 (en) 2013-06-07 2018-02-20 Sony Interactive Entertainment Inc. Image rendering responsive to user actions in head mounted display
US20130304934A1 (en) * 2011-09-29 2013-11-14 Avvasi Inc. Methods and systems for controlling quality of a media session
US10349077B2 (en) 2011-11-21 2019-07-09 Canon Kabushiki Kaisha Image coding apparatus, image coding method, image decoding apparatus, image decoding method, and storage medium
US20130138829A1 (en) * 2011-11-30 2013-05-30 Rovi Technologies Corporation Scalable video coding over real-time transport protocol
JP5880773B2 (ja) 2011-12-27 2016-03-09 株式会社リコー 通信管理システム、通信システム、通信管理方法、及びプログラム
EP2672452B1 (en) * 2012-02-23 2017-12-27 Square Enix Holdings Co., Ltd. Moving image distribution server, moving image playback device, control method, program, and recording medium
WO2013140485A1 (ja) 2012-03-17 2013-09-26 富士通株式会社 符号化装置、復号化装置、符号化方法および復号化方法
JP5819754B2 (ja) 2012-03-23 2015-11-24 株式会社メガチップス 画像符号化装置
US9596450B2 (en) 2012-05-24 2017-03-14 Panasonic Corporation Video transmission device, video transmission method, and video playback device
JP2014021570A (ja) 2012-07-12 2014-02-03 Sony Computer Entertainment Inc 動画像生成装置
KR20180026803A (ko) 2012-09-18 2018-03-13 브이아이디 스케일, 인크. 타일 및 타일 그룹을 이용한 관심 영역 비디오 코딩
RU2673100C1 (ru) 2012-09-28 2018-11-22 Сони Корпорейшн Устройство обработки изображений и способ
US20150234457A1 (en) 2012-10-15 2015-08-20 Umoove Services Ltd. System and method for content provision using gaze analysis
JP5998862B2 (ja) 2012-11-09 2016-09-28 株式会社ソシオネクスト 動画像処理装置
WO2014075236A1 (en) 2012-11-14 2014-05-22 Mediatek Singapore Pte. Ltd. Methods for residual prediction with pseudo residues in 3d video coding
US9571726B2 (en) 2012-12-20 2017-02-14 Google Inc. Generating attention information from photos
US20140198838A1 (en) * 2013-01-15 2014-07-17 Nathan R. Andrysco Techniques for managing video streaming
JP6244642B2 (ja) * 2013-04-10 2017-12-13 富士通株式会社 符号化装置、復号化装置、符号化方法、復号化方法およびプログラム
US10057014B2 (en) * 2013-05-22 2018-08-21 Google Llc System and method for streaming data
JP6268066B2 (ja) 2013-09-20 2018-01-24 パナソニック インテレクチュアル プロパティ コーポレーション オブ アメリカPanasonic Intellectual Property Corporation of America 送信方法、受信方法、送信装置及び受信装置
US20150117516A1 (en) * 2013-10-30 2015-04-30 Vered Bar Bracha Dynamic video encoding based on channel quality
JP6353214B2 (ja) 2013-11-11 2018-07-04 株式会社ソニー・インタラクティブエンタテインメント 画像生成装置および画像生成方法
JP6528765B2 (ja) 2014-03-28 2019-06-12 ソニー株式会社 画像復号装置および方法
US9489739B2 (en) 2014-08-13 2016-11-08 Empire Technology Development Llc Scene analysis for improved eye tracking
EP3029940B1 (en) 2014-12-04 2017-03-15 Axis AB Method and device for post processing of a video stream
WO2016099556A1 (en) 2014-12-19 2016-06-23 Hewlett-Packard Development Company, Lp 3d visualization
KR20160111175A (ko) 2015-03-16 2016-09-26 한국전자통신연구원 광고 효과 분석 장치 및 광고 효과 분석 방법
GB201508074D0 (en) 2015-05-12 2015-06-24 Apical Ltd People detection
WO2017044795A1 (en) 2015-09-10 2017-03-16 Google Inc. Playing spherical video on a limited bandwidth connection
US10076711B2 (en) * 2015-09-15 2018-09-18 Square Enix Holdings Co., Ltd. Remote rendering server with broadcaster
US9978183B2 (en) 2015-09-18 2018-05-22 Fove, Inc. Video system, video generating method, video distribution method, video generating program, and video distribution program
EP3341098B1 (en) * 2015-09-30 2024-03-13 Sony Interactive Entertainment America LLC Multi-user demo streaming service for cloud gaming
JP6511386B2 (ja) 2015-11-20 2019-05-15 株式会社ソニー・インタラクティブエンタテインメント 情報処理装置および画像生成方法
US10313745B2 (en) * 2016-01-17 2019-06-04 Bitmovin Gmbh Adaptive streaming of an immersive video scene
KR101797845B1 (ko) 2016-02-16 2017-11-14 가천대학교 산학협력단 멀티코어 컴퓨팅 시스템에서 병렬 비디오 처리 장치 및 방법
US10499056B2 (en) 2016-03-09 2019-12-03 Sony Corporation System and method for video processing based on quantization parameter
US10171866B2 (en) 2016-03-29 2019-01-01 Seiko Epson Corporation Display system, display device, head-mounted display device, display control method, control method for display device, and computer program
US10088898B2 (en) * 2016-03-31 2018-10-02 Verizon Patent And Licensing Inc. Methods and systems for determining an effectiveness of content in an immersive virtual reality world
US10048751B2 (en) * 2016-03-31 2018-08-14 Verizon Patent And Licensing Inc. Methods and systems for gaze-based control of virtual reality media content
US9965899B2 (en) * 2016-04-28 2018-05-08 Verizon Patent And Licensing Inc. Methods and systems for minimizing pixel data transmission in a network-based virtual reality media delivery configuration
US10238965B2 (en) * 2016-04-28 2019-03-26 Sony Interactive Entertainment America Llc Cloud gaming device handover
US10539797B2 (en) 2016-05-06 2020-01-21 Colopl, Inc. Method of providing virtual space, program therefor, and recording medium
WO2017205794A1 (en) 2016-05-26 2017-11-30 Vid Scale, Inc. Methods and apparatus of viewport adaptive 360 degree video delivery
JP2017215875A (ja) 2016-06-01 2017-12-07 株式会社ソニー・インタラクティブエンタテインメント 画像生成装置、画像生成システム、および画像生成方法
JP2017228044A (ja) 2016-06-21 2017-12-28 株式会社ソニー・インタラクティブエンタテインメント 画像生成装置、画像生成システム、および画像生成方法
WO2018048078A1 (ko) 2016-09-08 2018-03-15 가온미디어 주식회사 공간적 구조 정보를 이용한 동기화된 다시점 영상의 부호화/복호화 방법 및 그 장치
US10565916B2 (en) * 2016-09-09 2020-02-18 Kt Corporation Providing streaming of virtual reality contents
GB2558193B (en) 2016-09-23 2022-07-20 Displaylink Uk Ltd Compositing an image for display
EP3793205B1 (en) * 2016-09-26 2023-09-13 Dolby Laboratories Licensing Corporation Content based stream splitting of video data
US10448012B2 (en) 2016-11-22 2019-10-15 Pixvana, Inc. System and method for data reduction based on scene content
US10204264B1 (en) 2016-12-05 2019-02-12 Google Llc Systems and methods for dynamically scoring implicit user interaction
CN110121885B (zh) 2016-12-29 2023-07-25 索尼互动娱乐股份有限公司 用于利用注视跟踪的vr、低等待时间无线hmd视频流传输的有凹视频链接
US10110802B2 (en) 2016-12-30 2018-10-23 Axis Ab Historical gaze heat map for a video stream
CN110520903B (zh) * 2017-03-28 2023-11-28 三星电子株式会社 基于用户移动信息显示图像的方法和装置
US10848837B2 (en) 2017-04-03 2020-11-24 Electronics And Telecommunications Research Institute Device and method for processing high-definition 360-degree VR image
JP6971624B2 (ja) 2017-05-11 2021-11-24 キヤノン株式会社 情報処理装置、制御方法、およびプログラム
US10497090B2 (en) 2017-05-16 2019-12-03 Qualcomm Incorporated Systems and methods for reducing memory bandwidth via multiview compression/decompression
CN110999287A (zh) 2017-06-05 2020-04-10 因默希弗机器人私人有限公司 数字内容流压缩
US10853918B2 (en) * 2017-06-09 2020-12-01 Sony Interactive Entertainment Inc. Foveal adaptation of temporal anti-aliasing
JP7030427B2 (ja) 2017-06-09 2022-03-07 キヤノン株式会社 視線検出機能を備える撮像装置
JP2019028368A (ja) 2017-08-02 2019-02-21 株式会社ソニー・インタラクティブエンタテインメント レンダリング装置、ヘッドマウントディスプレイ、画像伝送方法、および画像補正方法
WO2019031308A1 (ja) 2017-08-09 2019-02-14 シャープ株式会社 表示装置、テレビジョン受像機、映像処理方法、制御プログラム、および記録媒体
KR102336997B1 (ko) 2017-08-16 2021-12-08 삼성전자 주식회사 서버, 디스플레이장치 및 그 제어방법
US10062414B1 (en) * 2017-08-22 2018-08-28 Futurewei Technologies, Inc. Determining a future field of view (FOV) for a particular user viewing a 360 degree video stream in a network
JP2019047234A (ja) 2017-08-31 2019-03-22 ソニーセミコンダクタソリューションズ株式会社 情報処理装置、情報処理方法、およびプログラム
GB2567624B (en) * 2017-10-12 2021-05-26 Canon Kk Method, device and computer program for transmitting media content
US10880353B2 (en) * 2017-10-12 2020-12-29 Streaming Global, Inc. Systems and methods for cloud storage direct streaming
JP6711803B2 (ja) 2017-10-13 2020-06-17 株式会社ソニー・インタラクティブエンタテインメント 画像生成装置および画像生成方法
GB201717011D0 (en) * 2017-10-17 2017-11-29 Nokia Technologies Oy An apparatus a method and a computer program for volumetric video
US10741143B2 (en) * 2017-11-28 2020-08-11 Nvidia Corporation Dynamic jitter and latency-tolerant rendering
JP6944863B2 (ja) 2017-12-12 2021-10-06 株式会社ソニー・インタラクティブエンタテインメント 画像補正装置、画像補正方法およびプログラム
JP7051457B2 (ja) * 2018-01-17 2022-04-11 キヤノン株式会社 画像処理装置、画像処理方法、及びプログラム
US10589171B1 (en) * 2018-03-23 2020-03-17 Electronic Arts Inc. User interface rendering and post processing during video game streaming
US10839590B2 (en) * 2018-07-16 2020-11-17 Microsoft Technology Licensing, Llc Gutter space padding for texture atlases
US10349059B1 (en) 2018-07-17 2019-07-09 Wowza Media Systems, LLC Adjusting encoding frame size based on available network bandwidth
GB2578769B (en) 2018-11-07 2022-07-20 Advanced Risc Mach Ltd Data processing systems
US20200195944A1 (en) 2018-12-14 2020-06-18 Advanced Micro Devices, Inc. Slice size map control of foveated coding
EP3906701A4 (en) * 2019-01-04 2022-09-07 Nokia Technologies Oy METHOD AND APPARATUS FOR STORING AND SIGNALING MEDIA SEGMENT SIZES AND PRIORITY ORDERS
JP7326774B2 (ja) 2019-03-06 2023-08-16 株式会社リコー 画像処理システム、撮像装置、情報処理装置、画像処理方法及びプログラム
EP3777152A4 (en) 2019-06-04 2021-02-17 SZ DJI Technology Co., Ltd. STORAGE PROCESS, DEVICE AND MEDIA FOR ENCODING A VIDEO DATABASE ON REGIONS OF INTEREST
US11170576B2 (en) * 2019-09-20 2021-11-09 Facebook Technologies, Llc Progressive display of virtual objects
GB2587230B (en) * 2019-09-20 2022-09-28 Sony Interactive Entertainment Inc Graphical rendering method and apparatus
US11595646B2 (en) 2019-09-25 2023-02-28 Meta Platforms Technologies, Llc Sliced encoding and decoding for remote rendering
US11127107B2 (en) * 2019-09-30 2021-09-21 Intel Corporation Apparatus and method for real time graphics processing using local and cloud-based graphics processing resources
JP7491676B2 (ja) * 2019-09-30 2024-05-28 株式会社ソニー・インタラクティブエンタテインメント 画像データ転送装置および画像圧縮方法
US11217208B2 (en) * 2020-03-30 2022-01-04 Adobe Inc. Low-latency adaptive streaming for augmented reality scenes
US20220129295A1 (en) * 2020-10-25 2022-04-28 Meta Platforms, Inc. Server-side hosted environment for a cloud gaming system
US12217368B2 (en) * 2020-12-01 2025-02-04 Samsung Electronics Co., Ltd. Extended field of view generation for split-rendering for virtual reality streaming
CN116567242A (zh) * 2022-01-27 2023-08-08 腾讯科技(深圳)有限公司 图像处理方法、装置及设备
US20230328329A1 (en) * 2022-04-04 2023-10-12 Ittiam Systems (P) Ltd. User-chosen, object guided region of interest (roi) enabled digital video
WO2024073078A2 (en) * 2022-09-30 2024-04-04 Sonos, Inc. Playback system architectures and area zone configurations

Patent Citations (11)

* Cited by examiner, † Cited by third party
Publication number Priority date Publication date Assignee Title
JPH05344495A (ja) * 1992-06-10 1993-12-24 Ricoh Co Ltd 動画像符号化方式
JPH10200900A (ja) * 1997-01-10 1998-07-31 Nippon Telegr & Teleph Corp <Ntt> 符号化映像の高画質メディア同期再生方法及び装置
JP2004005452A (ja) * 2002-04-16 2004-01-08 Sony Computer Entertainment Inc 画像処理装置、画像処理方法、半導体デバイス、コンピュータプログラム、記録媒体
JP2006324767A (ja) * 2005-05-17 2006-11-30 Sony Corp 画像処理装置、および画像処理方法、並びにコンピュータ・プログラム
JP2009049976A (ja) * 2007-07-20 2009-03-05 Fujifilm Corp 画像処理装置、画像処理方法、及びプログラム
JP2016533659A (ja) * 2013-06-07 2016-10-27 ソニー インタラクティブ エンタテインメント アメリカ リミテッド ライアビリテイ カンパニー ヘッドマウントシステムに関連するホップ数を削減するためのシステム及び方法
JP2018141816A (ja) * 2015-09-18 2018-09-13 フォーブ インコーポレーテッド 映像システム、映像生成方法、映像配信方法、映像生成プログラム及び映像配信プログラム
WO2017138458A1 (ja) * 2016-02-09 2017-08-17 株式会社ソニー・インタラクティブエンタテインメント 映像表示システム
WO2018026730A1 (en) * 2016-08-01 2018-02-08 Facebook, Inc. Adaptive parameters in image regions based on eye tracking information
JP2018026677A (ja) * 2016-08-09 2018-02-15 日本電信電話株式会社 符号化装置、符号化方法及び符号化プログラム
JP2019083492A (ja) * 2017-10-31 2019-05-30 日本電信電話株式会社 量子化パラメータ補正装置、量子化パラメータ補正方法及び量子化パラメータ補正プログラム

Cited By (3)

* Cited by examiner, † Cited by third party
Publication number Priority date Publication date Assignee Title
CN113660488A (zh) * 2021-10-18 2021-11-16 腾讯科技(深圳)有限公司 对多媒体数据进行流控及流控模型训练方法、以及装置
CN113660488B (zh) * 2021-10-18 2022-02-11 腾讯科技(深圳)有限公司 对多媒体数据进行流控及流控模型训练方法、以及装置
CN119342219A (zh) * 2024-12-19 2025-01-21 长沙超创电子科技有限公司 一种端到端低延时的图像传输方法

Also Published As

Publication number Publication date
JP7491676B2 (ja) 2024-05-28
US12464146B2 (en) 2025-11-04
US20220337851A1 (en) 2022-10-20
JP2021057768A (ja) 2021-04-08

Similar Documents

Publication Publication Date Title
JP7429512B2 (ja) 画像処理装置、画像データ転送装置、画像処理方法、および画像データ転送方法
JP7389602B2 (ja) 画像表示システム、画像処理装置、および動画配信方法
WO2021065633A1 (ja) 画像データ転送装置および画像圧縮方法
JP7498553B2 (ja) 画像処理装置、画像表示システム、画像データ転送装置、および画像処理方法
JP7491676B2 (ja) 画像データ転送装置および画像圧縮方法
JP7555698B2 (ja) 画像データ転送装置および画像データ転送方法
JP7496677B2 (ja) 画像データ転送装置、画像表示システム、および画像圧縮方法
JP7362903B2 (ja) 画像データ転送装置、画像表示システム、および画像データ転送方法
JP7496412B2 (ja) 画像表示システム、画像処理装置、画像表示方法、およびコンピュータプログラム
US12088932B2 (en) Methods and apparatus for encoding, communicating and/or using images
WO2022259632A1 (ja) 情報処理装置及び情報処理方法
WO2021199128A1 (ja) 画像データ転送装置、画像生成方法およびコンピュータプログラム
CN119031110B (zh) 内容分发方法、图像捕获和处理系统、回放系统、操作回放系统的方法及计算机可读介质

Legal Events

Date Code Title Description
121 Ep: the epo has been informed by wipo that ep was designated in this application

Ref document number: 20870705

Country of ref document: EP

Kind code of ref document: A1

NENP Non-entry into the national phase

Ref country code: DE

122 Ep: pct application non-entry in european phase

Ref document number: 20870705

Country of ref document: EP

Kind code of ref document: A1

WWG Wipo information: grant in national office

Ref document number: 17638655

Country of ref document: US