WO2020217776A1 - 排ガス浄化フィルタ - Google Patents

排ガス浄化フィルタ Download PDF

Info

Publication number
WO2020217776A1
WO2020217776A1 PCT/JP2020/011409 JP2020011409W WO2020217776A1 WO 2020217776 A1 WO2020217776 A1 WO 2020217776A1 JP 2020011409 W JP2020011409 W JP 2020011409W WO 2020217776 A1 WO2020217776 A1 WO 2020217776A1
Authority
WO
WIPO (PCT)
Prior art keywords
exhaust gas
catalyst
purification filter
gas purification
pore
Prior art date
Legal status (The legal status is an assumption and is not a legal conclusion. Google has not performed a legal analysis and makes no representation as to the accuracy of the status listed.)
Ceased
Application number
PCT/JP2020/011409
Other languages
English (en)
French (fr)
Japanese (ja)
Inventor
浩章 嘉山
Current Assignee (The listed assignees may be inaccurate. Google has not performed a legal analysis and makes no representation or warranty as to the accuracy of the list.)
Denso Corp
Original Assignee
Denso Corp
Priority date (The priority date is an assumption and is not a legal conclusion. Google has not performed a legal analysis and makes no representation as to the accuracy of the date listed.)
Filing date
Publication date
Application filed by Denso Corp filed Critical Denso Corp
Priority to CN202080031519.XA priority Critical patent/CN113766974B/zh
Priority to EP20794914.0A priority patent/EP3960289B8/en
Publication of WO2020217776A1 publication Critical patent/WO2020217776A1/ja
Priority to US17/451,826 priority patent/US12251691B2/en
Anticipated expiration legal-status Critical
Ceased legal-status Critical Current

Links

Images

Classifications

    • BPERFORMING OPERATIONS; TRANSPORTING
    • B01PHYSICAL OR CHEMICAL PROCESSES OR APPARATUS IN GENERAL
    • B01JCHEMICAL OR PHYSICAL PROCESSES, e.g. CATALYSIS OR COLLOID CHEMISTRY; THEIR RELEVANT APPARATUS
    • B01J35/00Catalysts, in general, characterised by their form or physical properties
    • B01J35/60Catalysts, in general, characterised by their form or physical properties characterised by their surface properties or porosity
    • B01J35/63Pore volume
    • FMECHANICAL ENGINEERING; LIGHTING; HEATING; WEAPONS; BLASTING
    • F01MACHINES OR ENGINES IN GENERAL; ENGINE PLANTS IN GENERAL; STEAM ENGINES
    • F01NGAS-FLOW SILENCERS OR EXHAUST APPARATUS FOR MACHINES OR ENGINES IN GENERAL; GAS-FLOW SILENCERS OR EXHAUST APPARATUS FOR INTERNAL-COMBUSTION ENGINES
    • F01N3/00Exhaust or silencing apparatus having means for purifying, rendering innocuous, or otherwise treating exhaust
    • F01N3/02Exhaust or silencing apparatus having means for purifying, rendering innocuous, or otherwise treating exhaust for cooling, or for removing solid constituents of, exhaust
    • F01N3/021Exhaust or silencing apparatus having means for purifying, rendering innocuous, or otherwise treating exhaust for cooling, or for removing solid constituents of, exhaust by means of filters
    • F01N3/033Exhaust or silencing apparatus having means for purifying, rendering innocuous, or otherwise treating exhaust for cooling, or for removing solid constituents of, exhaust by means of filters in combination with other devices
    • F01N3/035Exhaust or silencing apparatus having means for purifying, rendering innocuous, or otherwise treating exhaust for cooling, or for removing solid constituents of, exhaust by means of filters in combination with other devices with catalytic reactors
    • BPERFORMING OPERATIONS; TRANSPORTING
    • B01PHYSICAL OR CHEMICAL PROCESSES OR APPARATUS IN GENERAL
    • B01DSEPARATION
    • B01D46/00Filters or filtering processes specially modified for separating dispersed particles from gases or vapours
    • B01D46/24Particle separators, e.g. dust precipitators, using rigid hollow filter bodies
    • B01D46/2403Particle separators, e.g. dust precipitators, using rigid hollow filter bodies characterised by the physical shape or structure of the filtering element
    • B01D46/2418Honeycomb filters
    • B01D46/2425Honeycomb filters characterized by parameters related to the physical properties of the honeycomb structure material
    • BPERFORMING OPERATIONS; TRANSPORTING
    • B01PHYSICAL OR CHEMICAL PROCESSES OR APPARATUS IN GENERAL
    • B01DSEPARATION
    • B01D46/00Filters or filtering processes specially modified for separating dispersed particles from gases or vapours
    • B01D46/24Particle separators, e.g. dust precipitators, using rigid hollow filter bodies
    • B01D46/2403Particle separators, e.g. dust precipitators, using rigid hollow filter bodies characterised by the physical shape or structure of the filtering element
    • B01D46/2418Honeycomb filters
    • B01D46/2425Honeycomb filters characterized by parameters related to the physical properties of the honeycomb structure material
    • B01D46/2429Honeycomb filters characterized by parameters related to the physical properties of the honeycomb structure material of the honeycomb walls or cells
    • BPERFORMING OPERATIONS; TRANSPORTING
    • B01PHYSICAL OR CHEMICAL PROCESSES OR APPARATUS IN GENERAL
    • B01DSEPARATION
    • B01D46/00Filters or filtering processes specially modified for separating dispersed particles from gases or vapours
    • B01D46/24Particle separators, e.g. dust precipitators, using rigid hollow filter bodies
    • B01D46/2403Particle separators, e.g. dust precipitators, using rigid hollow filter bodies characterised by the physical shape or structure of the filtering element
    • B01D46/2418Honeycomb filters
    • B01D46/2425Honeycomb filters characterized by parameters related to the physical properties of the honeycomb structure material
    • B01D46/24492Pore diameter
    • BPERFORMING OPERATIONS; TRANSPORTING
    • B01PHYSICAL OR CHEMICAL PROCESSES OR APPARATUS IN GENERAL
    • B01DSEPARATION
    • B01D53/00Separation of gases or vapours; Recovering vapours of volatile solvents from gases; Chemical or biological purification of waste gases, e.g. engine exhaust gases, smoke, fumes, flue gases, aerosols
    • B01D53/34Chemical or biological purification of waste gases
    • B01D53/92Chemical or biological purification of waste gases of engine exhaust gases
    • B01D53/94Chemical or biological purification of waste gases of engine exhaust gases by catalytic processes
    • B01D53/9445Simultaneously removing carbon monoxide, hydrocarbons or nitrogen oxides making use of three-way catalysts [TWC] or four-way-catalysts [FWC]
    • B01D53/9454Simultaneously removing carbon monoxide, hydrocarbons or nitrogen oxides making use of three-way catalysts [TWC] or four-way-catalysts [FWC] characterised by a specific device
    • BPERFORMING OPERATIONS; TRANSPORTING
    • B01PHYSICAL OR CHEMICAL PROCESSES OR APPARATUS IN GENERAL
    • B01JCHEMICAL OR PHYSICAL PROCESSES, e.g. CATALYSIS OR COLLOID CHEMISTRY; THEIR RELEVANT APPARATUS
    • B01J23/00Catalysts comprising metals or metal oxides or hydroxides, not provided for in group B01J21/00
    • B01J23/38Catalysts comprising metals or metal oxides or hydroxides, not provided for in group B01J21/00 of noble metals
    • B01J23/40Catalysts comprising metals or metal oxides or hydroxides, not provided for in group B01J21/00 of noble metals of the platinum group metals
    • BPERFORMING OPERATIONS; TRANSPORTING
    • B01PHYSICAL OR CHEMICAL PROCESSES OR APPARATUS IN GENERAL
    • B01JCHEMICAL OR PHYSICAL PROCESSES, e.g. CATALYSIS OR COLLOID CHEMISTRY; THEIR RELEVANT APPARATUS
    • B01J23/00Catalysts comprising metals or metal oxides or hydroxides, not provided for in group B01J21/00
    • B01J23/38Catalysts comprising metals or metal oxides or hydroxides, not provided for in group B01J21/00 of noble metals
    • B01J23/40Catalysts comprising metals or metal oxides or hydroxides, not provided for in group B01J21/00 of noble metals of the platinum group metals
    • B01J23/42Platinum
    • BPERFORMING OPERATIONS; TRANSPORTING
    • B01PHYSICAL OR CHEMICAL PROCESSES OR APPARATUS IN GENERAL
    • B01JCHEMICAL OR PHYSICAL PROCESSES, e.g. CATALYSIS OR COLLOID CHEMISTRY; THEIR RELEVANT APPARATUS
    • B01J23/00Catalysts comprising metals or metal oxides or hydroxides, not provided for in group B01J21/00
    • B01J23/38Catalysts comprising metals or metal oxides or hydroxides, not provided for in group B01J21/00 of noble metals
    • B01J23/40Catalysts comprising metals or metal oxides or hydroxides, not provided for in group B01J21/00 of noble metals of the platinum group metals
    • B01J23/44Palladium
    • BPERFORMING OPERATIONS; TRANSPORTING
    • B01PHYSICAL OR CHEMICAL PROCESSES OR APPARATUS IN GENERAL
    • B01JCHEMICAL OR PHYSICAL PROCESSES, e.g. CATALYSIS OR COLLOID CHEMISTRY; THEIR RELEVANT APPARATUS
    • B01J23/00Catalysts comprising metals or metal oxides or hydroxides, not provided for in group B01J21/00
    • B01J23/38Catalysts comprising metals or metal oxides or hydroxides, not provided for in group B01J21/00 of noble metals
    • B01J23/40Catalysts comprising metals or metal oxides or hydroxides, not provided for in group B01J21/00 of noble metals of the platinum group metals
    • B01J23/46Ruthenium, rhodium, osmium or iridium
    • B01J23/464Rhodium
    • BPERFORMING OPERATIONS; TRANSPORTING
    • B01PHYSICAL OR CHEMICAL PROCESSES OR APPARATUS IN GENERAL
    • B01JCHEMICAL OR PHYSICAL PROCESSES, e.g. CATALYSIS OR COLLOID CHEMISTRY; THEIR RELEVANT APPARATUS
    • B01J23/00Catalysts comprising metals or metal oxides or hydroxides, not provided for in group B01J21/00
    • B01J23/38Catalysts comprising metals or metal oxides or hydroxides, not provided for in group B01J21/00 of noble metals
    • B01J23/54Catalysts comprising metals or metal oxides or hydroxides, not provided for in group B01J21/00 of noble metals combined with metals, oxides or hydroxides provided for in groups B01J23/02 - B01J23/36
    • B01J23/56Platinum group metals
    • B01J23/63Platinum group metals with rare earths or actinides
    • BPERFORMING OPERATIONS; TRANSPORTING
    • B01PHYSICAL OR CHEMICAL PROCESSES OR APPARATUS IN GENERAL
    • B01JCHEMICAL OR PHYSICAL PROCESSES, e.g. CATALYSIS OR COLLOID CHEMISTRY; THEIR RELEVANT APPARATUS
    • B01J35/00Catalysts, in general, characterised by their form or physical properties
    • B01J35/50Catalysts, in general, characterised by their form or physical properties characterised by their shape or configuration
    • B01J35/56Foraminous structures having flow-through passages or channels, e.g. grids or three-dimensional [3D] monoliths
    • B01J35/57Honeycombs
    • BPERFORMING OPERATIONS; TRANSPORTING
    • B01PHYSICAL OR CHEMICAL PROCESSES OR APPARATUS IN GENERAL
    • B01JCHEMICAL OR PHYSICAL PROCESSES, e.g. CATALYSIS OR COLLOID CHEMISTRY; THEIR RELEVANT APPARATUS
    • B01J35/00Catalysts, in general, characterised by their form or physical properties
    • B01J35/60Catalysts, in general, characterised by their form or physical properties characterised by their surface properties or porosity
    • B01J35/64Pore diameter
    • B01J35/657Pore diameter larger than 1000 nm
    • BPERFORMING OPERATIONS; TRANSPORTING
    • B01PHYSICAL OR CHEMICAL PROCESSES OR APPARATUS IN GENERAL
    • B01JCHEMICAL OR PHYSICAL PROCESSES, e.g. CATALYSIS OR COLLOID CHEMISTRY; THEIR RELEVANT APPARATUS
    • B01J35/00Catalysts, in general, characterised by their form or physical properties
    • B01J35/60Catalysts, in general, characterised by their form or physical properties characterised by their surface properties or porosity
    • B01J35/66Pore distribution
    • BPERFORMING OPERATIONS; TRANSPORTING
    • B01PHYSICAL OR CHEMICAL PROCESSES OR APPARATUS IN GENERAL
    • B01JCHEMICAL OR PHYSICAL PROCESSES, e.g. CATALYSIS OR COLLOID CHEMISTRY; THEIR RELEVANT APPARATUS
    • B01J37/00Processes, in general, for preparing catalysts; Processes, in general, for activation of catalysts
    • B01J37/02Impregnation, coating or precipitation
    • B01J37/0215Coating
    • CCHEMISTRY; METALLURGY
    • C04CEMENTS; CONCRETE; ARTIFICIAL STONE; CERAMICS; REFRACTORIES
    • C04BLIME, MAGNESIA; SLAG; CEMENTS; COMPOSITIONS THEREOF, e.g. MORTARS, CONCRETE OR LIKE BUILDING MATERIALS; ARTIFICIAL STONE; CERAMICS; REFRACTORIES; TREATMENT OF NATURAL STONE
    • C04B35/00Shaped ceramic products characterised by their composition; Ceramics compositions; Processing powders of inorganic compounds preparatory to the manufacturing of ceramic products
    • C04B35/01Shaped ceramic products characterised by their composition; Ceramics compositions; Processing powders of inorganic compounds preparatory to the manufacturing of ceramic products based on oxide ceramics
    • C04B35/16Shaped ceramic products characterised by their composition; Ceramics compositions; Processing powders of inorganic compounds preparatory to the manufacturing of ceramic products based on oxide ceramics based on silicates other than clay
    • C04B35/18Shaped ceramic products characterised by their composition; Ceramics compositions; Processing powders of inorganic compounds preparatory to the manufacturing of ceramic products based on oxide ceramics based on silicates other than clay rich in aluminium oxide
    • C04B35/195Alkaline earth aluminosilicates, e.g. cordierite or anorthite
    • CCHEMISTRY; METALLURGY
    • C04CEMENTS; CONCRETE; ARTIFICIAL STONE; CERAMICS; REFRACTORIES
    • C04BLIME, MAGNESIA; SLAG; CEMENTS; COMPOSITIONS THEREOF, e.g. MORTARS, CONCRETE OR LIKE BUILDING MATERIALS; ARTIFICIAL STONE; CERAMICS; REFRACTORIES; TREATMENT OF NATURAL STONE
    • C04B35/00Shaped ceramic products characterised by their composition; Ceramics compositions; Processing powders of inorganic compounds preparatory to the manufacturing of ceramic products
    • C04B35/622Forming processes; Processing powders of inorganic compounds preparatory to the manufacturing of ceramic products
    • C04B35/626Preparing or treating the powders individually or as batches ; preparing or treating macroscopic reinforcing agents for ceramic products, e.g. fibres; mechanical aspects section B
    • C04B35/63Preparing or treating the powders individually or as batches ; preparing or treating macroscopic reinforcing agents for ceramic products, e.g. fibres; mechanical aspects section B using additives specially adapted for forming the products, e.g.. binder binders
    • C04B35/632Organic additives
    • CCHEMISTRY; METALLURGY
    • C04CEMENTS; CONCRETE; ARTIFICIAL STONE; CERAMICS; REFRACTORIES
    • C04BLIME, MAGNESIA; SLAG; CEMENTS; COMPOSITIONS THEREOF, e.g. MORTARS, CONCRETE OR LIKE BUILDING MATERIALS; ARTIFICIAL STONE; CERAMICS; REFRACTORIES; TREATMENT OF NATURAL STONE
    • C04B35/00Shaped ceramic products characterised by their composition; Ceramics compositions; Processing powders of inorganic compounds preparatory to the manufacturing of ceramic products
    • C04B35/622Forming processes; Processing powders of inorganic compounds preparatory to the manufacturing of ceramic products
    • C04B35/626Preparing or treating the powders individually or as batches ; preparing or treating macroscopic reinforcing agents for ceramic products, e.g. fibres; mechanical aspects section B
    • C04B35/63Preparing or treating the powders individually or as batches ; preparing or treating macroscopic reinforcing agents for ceramic products, e.g. fibres; mechanical aspects section B using additives specially adapted for forming the products, e.g.. binder binders
    • C04B35/632Organic additives
    • C04B35/634Polymers
    • C04B35/63448Polymers obtained otherwise than by reactions only involving carbon-to-carbon unsaturated bonds
    • C04B35/63488Polyethers, e.g. alkylphenol polyglycolether, polyethylene glycol [PEG], polyethylene oxide [PEO]
    • CCHEMISTRY; METALLURGY
    • C04CEMENTS; CONCRETE; ARTIFICIAL STONE; CERAMICS; REFRACTORIES
    • C04BLIME, MAGNESIA; SLAG; CEMENTS; COMPOSITIONS THEREOF, e.g. MORTARS, CONCRETE OR LIKE BUILDING MATERIALS; ARTIFICIAL STONE; CERAMICS; REFRACTORIES; TREATMENT OF NATURAL STONE
    • C04B35/00Shaped ceramic products characterised by their composition; Ceramics compositions; Processing powders of inorganic compounds preparatory to the manufacturing of ceramic products
    • C04B35/622Forming processes; Processing powders of inorganic compounds preparatory to the manufacturing of ceramic products
    • C04B35/64Burning or sintering processes
    • FMECHANICAL ENGINEERING; LIGHTING; HEATING; WEAPONS; BLASTING
    • F01MACHINES OR ENGINES IN GENERAL; ENGINE PLANTS IN GENERAL; STEAM ENGINES
    • F01NGAS-FLOW SILENCERS OR EXHAUST APPARATUS FOR MACHINES OR ENGINES IN GENERAL; GAS-FLOW SILENCERS OR EXHAUST APPARATUS FOR INTERNAL-COMBUSTION ENGINES
    • F01N3/00Exhaust or silencing apparatus having means for purifying, rendering innocuous, or otherwise treating exhaust
    • F01N3/02Exhaust or silencing apparatus having means for purifying, rendering innocuous, or otherwise treating exhaust for cooling, or for removing solid constituents of, exhaust
    • F01N3/021Exhaust or silencing apparatus having means for purifying, rendering innocuous, or otherwise treating exhaust for cooling, or for removing solid constituents of, exhaust by means of filters
    • F01N3/022Exhaust or silencing apparatus having means for purifying, rendering innocuous, or otherwise treating exhaust for cooling, or for removing solid constituents of, exhaust by means of filters characterised by specially adapted filtering structure, e.g. honeycomb, mesh or fibrous
    • FMECHANICAL ENGINEERING; LIGHTING; HEATING; WEAPONS; BLASTING
    • F01MACHINES OR ENGINES IN GENERAL; ENGINE PLANTS IN GENERAL; STEAM ENGINES
    • F01NGAS-FLOW SILENCERS OR EXHAUST APPARATUS FOR MACHINES OR ENGINES IN GENERAL; GAS-FLOW SILENCERS OR EXHAUST APPARATUS FOR INTERNAL-COMBUSTION ENGINES
    • F01N3/00Exhaust or silencing apparatus having means for purifying, rendering innocuous, or otherwise treating exhaust
    • F01N3/08Exhaust or silencing apparatus having means for purifying, rendering innocuous, or otherwise treating exhaust for rendering innocuous
    • F01N3/10Exhaust or silencing apparatus having means for purifying, rendering innocuous, or otherwise treating exhaust for rendering innocuous by thermal or catalytic conversion of noxious components of exhaust
    • F01N3/101Three-way catalysts
    • BPERFORMING OPERATIONS; TRANSPORTING
    • B01PHYSICAL OR CHEMICAL PROCESSES OR APPARATUS IN GENERAL
    • B01DSEPARATION
    • B01D2255/00Catalysts
    • B01D2255/10Noble metals or compounds thereof
    • B01D2255/102Platinum group metals
    • B01D2255/1021Platinum
    • BPERFORMING OPERATIONS; TRANSPORTING
    • B01PHYSICAL OR CHEMICAL PROCESSES OR APPARATUS IN GENERAL
    • B01DSEPARATION
    • B01D2255/00Catalysts
    • B01D2255/10Noble metals or compounds thereof
    • B01D2255/102Platinum group metals
    • B01D2255/1023Palladium
    • BPERFORMING OPERATIONS; TRANSPORTING
    • B01PHYSICAL OR CHEMICAL PROCESSES OR APPARATUS IN GENERAL
    • B01DSEPARATION
    • B01D2255/00Catalysts
    • B01D2255/10Noble metals or compounds thereof
    • B01D2255/102Platinum group metals
    • B01D2255/1025Rhodium
    • BPERFORMING OPERATIONS; TRANSPORTING
    • B01PHYSICAL OR CHEMICAL PROCESSES OR APPARATUS IN GENERAL
    • B01DSEPARATION
    • B01D2255/00Catalysts
    • B01D2255/20Metals or compounds thereof
    • B01D2255/206Rare earth metals
    • B01D2255/2065Cerium
    • BPERFORMING OPERATIONS; TRANSPORTING
    • B01PHYSICAL OR CHEMICAL PROCESSES OR APPARATUS IN GENERAL
    • B01DSEPARATION
    • B01D2255/00Catalysts
    • B01D2255/20Metals or compounds thereof
    • B01D2255/207Transition metals
    • B01D2255/20715Zirconium
    • BPERFORMING OPERATIONS; TRANSPORTING
    • B01PHYSICAL OR CHEMICAL PROCESSES OR APPARATUS IN GENERAL
    • B01DSEPARATION
    • B01D2255/00Catalysts
    • B01D2255/40Mixed oxides
    • B01D2255/407Zr-Ce mixed oxides
    • BPERFORMING OPERATIONS; TRANSPORTING
    • B01PHYSICAL OR CHEMICAL PROCESSES OR APPARATUS IN GENERAL
    • B01DSEPARATION
    • B01D2255/00Catalysts
    • B01D2255/90Physical characteristics of catalysts
    • B01D2255/92Dimensions
    • B01D2255/9205Porosity
    • BPERFORMING OPERATIONS; TRANSPORTING
    • B01PHYSICAL OR CHEMICAL PROCESSES OR APPARATUS IN GENERAL
    • B01DSEPARATION
    • B01D2258/00Sources of waste gases
    • B01D2258/01Engine exhaust gases
    • B01D2258/012Diesel engines and lean burn gasoline engines
    • CCHEMISTRY; METALLURGY
    • C04CEMENTS; CONCRETE; ARTIFICIAL STONE; CERAMICS; REFRACTORIES
    • C04BLIME, MAGNESIA; SLAG; CEMENTS; COMPOSITIONS THEREOF, e.g. MORTARS, CONCRETE OR LIKE BUILDING MATERIALS; ARTIFICIAL STONE; CERAMICS; REFRACTORIES; TREATMENT OF NATURAL STONE
    • C04B2235/00Aspects relating to ceramic starting mixtures or sintered ceramic products
    • C04B2235/02Composition of constituents of the starting material or of secondary phases of the final product
    • C04B2235/30Constituents and secondary phases not being of a fibrous nature
    • C04B2235/32Metal oxides, mixed metal oxides, or oxide-forming salts thereof, e.g. carbonates, nitrates, (oxy)hydroxides, chlorides
    • C04B2235/3217Aluminum oxide or oxide forming salts thereof, e.g. bauxite, alpha-alumina
    • C04B2235/3218Aluminium (oxy)hydroxides, e.g. boehmite, gibbsite, alumina sol
    • CCHEMISTRY; METALLURGY
    • C04CEMENTS; CONCRETE; ARTIFICIAL STONE; CERAMICS; REFRACTORIES
    • C04BLIME, MAGNESIA; SLAG; CEMENTS; COMPOSITIONS THEREOF, e.g. MORTARS, CONCRETE OR LIKE BUILDING MATERIALS; ARTIFICIAL STONE; CERAMICS; REFRACTORIES; TREATMENT OF NATURAL STONE
    • C04B2235/00Aspects relating to ceramic starting mixtures or sintered ceramic products
    • C04B2235/02Composition of constituents of the starting material or of secondary phases of the final product
    • C04B2235/30Constituents and secondary phases not being of a fibrous nature
    • C04B2235/34Non-metal oxides, non-metal mixed oxides, or salts thereof that form the non-metal oxides upon heating, e.g. carbonates, nitrates, (oxy)hydroxides, chlorides
    • C04B2235/3427Silicates other than clay, e.g. water glass
    • C04B2235/3436Alkaline earth metal silicates, e.g. barium silicate
    • C04B2235/3445Magnesium silicates, e.g. forsterite
    • CCHEMISTRY; METALLURGY
    • C04CEMENTS; CONCRETE; ARTIFICIAL STONE; CERAMICS; REFRACTORIES
    • C04BLIME, MAGNESIA; SLAG; CEMENTS; COMPOSITIONS THEREOF, e.g. MORTARS, CONCRETE OR LIKE BUILDING MATERIALS; ARTIFICIAL STONE; CERAMICS; REFRACTORIES; TREATMENT OF NATURAL STONE
    • C04B2235/00Aspects relating to ceramic starting mixtures or sintered ceramic products
    • C04B2235/60Aspects relating to the preparation, properties or mechanical treatment of green bodies or pre-forms
    • C04B2235/602Making the green bodies or pre-forms by moulding
    • C04B2235/6021Extrusion moulding
    • FMECHANICAL ENGINEERING; LIGHTING; HEATING; WEAPONS; BLASTING
    • F01MACHINES OR ENGINES IN GENERAL; ENGINE PLANTS IN GENERAL; STEAM ENGINES
    • F01NGAS-FLOW SILENCERS OR EXHAUST APPARATUS FOR MACHINES OR ENGINES IN GENERAL; GAS-FLOW SILENCERS OR EXHAUST APPARATUS FOR INTERNAL-COMBUSTION ENGINES
    • F01N2330/00Structure of catalyst support or particle filter
    • F01N2330/06Ceramic, e.g. monoliths
    • FMECHANICAL ENGINEERING; LIGHTING; HEATING; WEAPONS; BLASTING
    • F01MACHINES OR ENGINES IN GENERAL; ENGINE PLANTS IN GENERAL; STEAM ENGINES
    • F01NGAS-FLOW SILENCERS OR EXHAUST APPARATUS FOR MACHINES OR ENGINES IN GENERAL; GAS-FLOW SILENCERS OR EXHAUST APPARATUS FOR INTERNAL-COMBUSTION ENGINES
    • F01N2570/00Exhaust treating apparatus eliminating, absorbing or adsorbing specific elements or compounds
    • F01N2570/14Nitrogen oxides
    • YGENERAL TAGGING OF NEW TECHNOLOGICAL DEVELOPMENTS; GENERAL TAGGING OF CROSS-SECTIONAL TECHNOLOGIES SPANNING OVER SEVERAL SECTIONS OF THE IPC; TECHNICAL SUBJECTS COVERED BY FORMER USPC CROSS-REFERENCE ART COLLECTIONS [XRACs] AND DIGESTS
    • Y02TECHNOLOGIES OR APPLICATIONS FOR MITIGATION OR ADAPTATION AGAINST CLIMATE CHANGE
    • Y02TCLIMATE CHANGE MITIGATION TECHNOLOGIES RELATED TO TRANSPORTATION
    • Y02T10/00Road transport of goods or passengers
    • Y02T10/10Internal combustion engine [ICE] based vehicles
    • Y02T10/12Improving ICE efficiencies

Definitions

  • the present disclosure relates to an exhaust gas purification filter used by supporting a NOx purification catalyst.
  • Exhaust gas emitted from internal combustion engines such as diesel engines and gasoline engines, and heat engines such as boilers contains particulate matter called particulate matter. Particulate is hereinafter appropriately referred to as "PM".
  • An exhaust gas purification filter is used to collect PM in the exhaust gas.
  • the exhaust gas purification filter generally has a plurality of cells formed by being partitioned by a porous partition wall, and also has a mesh sealing portion for sealing one of both ends of the cell.
  • the exhaust gas purification filter is required to collect PM contained in the exhaust gas into the pores of the partition wall while reducing the pressure loss.
  • the pressure loss is hereinafter appropriately referred to as "pressure loss”.
  • the porosity is 45 to 70%
  • the predetermined average pore diameter difference ratio is 35% or less
  • the average pore diameter is 15 to 30 ⁇ m
  • the measurement is performed by the bubble point method.
  • a filter having a maximum pore diameter of 150 ⁇ m or less is disclosed. According to Patent Document 1, by adopting the above configuration, the pressure loss at the time of PM deposition can be reduced.
  • the present disclosure is intended to provide an exhaust gas purification filter capable of exhibiting excellent NOx purification performance by supporting a catalyst.
  • One aspect of the present disclosure is an exhaust gas purification filter used by supporting a NOx purification catalyst.
  • a honeycomb structure having a partition wall in which a large number of pores are formed, and a plurality of cells partitioned by the partition wall and forming an exhaust gas flow path.
  • a mesh sealing portion for alternately closing the inflow end face or the outflow end face of the exhaust gas in the cell is provided.
  • the partition wall is used as an exhaust gas purification filter having a gas permeability coefficient of 0.35 ⁇ 10 -12 m 2 or more, a pore floor area ratio of 9 ⁇ m or less of 25% or less, and an average pore diameter of 12 ⁇ m or more. is there.
  • the gas permeability coefficient of the partition wall, the floor area ratio of pores having a pore diameter of 9 ⁇ m or less in the partition wall, and the average pore diameter of the partition wall are adjusted as described above.
  • the catalyst layer is formed thin and wide by supporting the NOx purification catalyst. As a result, NOx having a slow diffusion rate is efficiently purified. Therefore, the exhaust gas purification filter exhibits a high NOx purification rate due to the support of the NOx purification catalyst.
  • FIG. 1 is a perspective view of the exhaust gas purification filter according to the first embodiment.
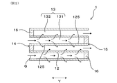
  • FIG. 2 is an enlarged cross-sectional view of the exhaust gas purification filter in the axial direction according to the first embodiment.
  • FIG. 3 is an enlarged schematic cross-sectional view of the partition wall in the first embodiment.
  • FIG. 4 is an enlarged schematic cross-sectional view of the pore wall on which the NOx purification catalyst is supported according to the first embodiment.
  • FIG. 5A is a schematic view showing a simplified cross section of the partition wall in the first embodiment
  • FIG. 5B is a simplified view of the cross section of the partition wall carrying the NOx purification catalyst in the first embodiment.
  • FIG. 6 is a schematic view showing the arrangement pattern of the raw material particles in the first embodiment.
  • FIG. 7A is a schematic diagram showing a simplified cross section of the partition wall on which a small amount of HC purification catalyst is supported in Comparative Form 1
  • FIG. 7B is a schematic view showing a large amount of HC purification catalyst in Comparative Form 1.
  • FIG. 8 (a) is a schematic view showing the outer shape of the exhaust gas purification filter in Experimental Example 1
  • FIG. 8 (b) shows the sampling position of the measurement sample in the radial direction of the exhaust gas purification filter in Experimental Example 1. It is the schematic diagram shown (specifically, the sectional view taken along the line VIIIb-VIIIb of FIG. 8C), and FIG.
  • FIG. 8C is the measurement in the axial direction and the radial direction of the exhaust gas purification filter in Experimental Example 1. It is a schematic diagram which showed the sampling position of a sample.
  • FIG. 9 is a graph showing an example of the relationship between the gas flow velocity and the pressure loss ⁇ P in Experimental Example 1.
  • FIG. 10 is a diagram showing the threshold value of the binarization process in the 3D modeling in Experimental Example 1.
  • FIG. 11 is a schematic view showing the configuration of the NOx purification rate measuring device in Experimental Example 1.
  • FIG. 12 is a schematic view showing the configuration of the PM collection rate measuring device in Experimental Example 1.
  • FIG. 13 is a graph showing the relationship between the gas permeability coefficient and the NOx purification rate in Experimental Example 1.
  • FIG. 14 is a graph showing the relationship between the floor area ratio of pores having a pore diameter of 9 ⁇ m or less and the NOx purification rate in Experimental Example 1.
  • FIG. 15 is a graph showing the relationship between the average pore size and the NOx purification rate in Experimental Example 1.
  • FIG. 16A is a schematic view showing an example of the arrangement configuration of the exhaust gas purification filter in the second embodiment
  • FIG. 16B is another example of the arrangement configuration of the exhaust gas purification filter in the second embodiment. It is a schematic diagram which shows.
  • the exhaust gas purification filter 1 has a honeycomb structure portion 10 and a sealing portion 16.
  • the honeycomb structure portion 10 is made of ceramics such as cordierite, and has an outer skin 11, a partition wall 12, and a cell 13.
  • the exodermis 11 is, for example, a tubular body.
  • the specific shape of the outer skin 11 is, for example, a cylindrical shape having a circular cross-sectional shape in a direction orthogonal to the axial direction Y of the outer skin 11, but a polygonal tubular shape having a polygonal cross-sectional shape such as a quadrangle. May be good.
  • the axial direction Y of the tubular outer skin 11 will be described as the axial direction Y of the exhaust gas purification filter 1.
  • the axial direction Y of the exhaust gas purification filter is appropriately referred to as the filter axial direction Y.
  • the arrow in FIG. 2 indicates the flow of the exhaust gas G when the exhaust gas purification filter 1 is arranged in the path of the exhaust gas G such as an exhaust pipe.
  • the partition wall 12 divides the inside of the outer skin 11 into a large number of cells 13.
  • the partition wall 12 is also generally referred to as a cell wall.
  • the partition walls 12 are provided, for example, in a grid pattern.
  • the exhaust gas purification filter 1 is a porous body, and as shown in FIG. 3, a large number of pores 121 are formed in the partition wall 12. Therefore, the exhaust gas purification filter 1 can accumulate and collect PM contained in the exhaust gas G on the surface of the partition wall 12 or in the pores 121.
  • the pores 121 are also commonly referred to as pores.
  • PM is a fine particle called a particulate matter, a particulate matter, a particulate, or the like.
  • the outer skin 11 and the partition wall 12 are integrally formed.
  • the exhaust gas purification filter 1 has a large number of cells 13.
  • the cell 13 is surrounded by the partition wall 12 and forms a flow path for the exhaust gas G.
  • the extension direction of the cell 13 usually coincides with the filter axial direction Y.
  • the cell shape in the filter cross section in the direction orthogonal to the filter axial direction Y is, for example, a quadrangular shape, but the cell shape is not limited to this.
  • the cell shape may be a polygon such as a triangle, a quadrangle, a hexagon, or a circle. Further, the cell shape may be a combination of two or more different shapes.
  • the exhaust gas purification filter 1 is used by supporting a NOx purification catalyst. That is, the exhaust gas purification filter 1 before supporting the catalyst can be a base material for supporting the NOx purification catalyst.
  • the NOx purification catalyst is supported on at least the partition wall 12. It can be said that the exhaust gas purification filter 1 has a supporting surface for supporting the NOx purification catalyst on the partition wall 12.
  • the supporting surface is, for example, the flow path surface 125 and the pore wall surface 124a shown in FIGS. 2 to 5.
  • the flow path surface 125 is a portion where the partition wall 12 faces the cell 13.
  • the pore wall surface 124a is a portion where the pore wall 124 faces the pore 121.
  • the NOx purification catalyst is supported on the partition wall 12 as a catalyst layer 17.
  • the exhaust gas purification filter 1 is, for example, a columnar body such as a columnar body, and its dimensions can be changed as appropriate.
  • the exhaust gas purification filter 1 has an inflow end face 14 and an outflow end face 15 at both ends in the filter axial direction Y.
  • the inflow end face 14 is an end face on the side where the exhaust gas G flows in with the exhaust gas purification filter 1 arranged in the flow of the exhaust gas G
  • the outflow end face 15 is an end face on the side where the exhaust gas G flows out.
  • the inflow end surface 14 and the outflow end surface 15 mean relative surfaces in the filter axial direction Y.
  • the inflow end face 14 when one of the end faces is the inflow end face 14, the other is the outflow end face 15.
  • the inflow end face 14 can be referred to as a first end face
  • the outflow end face 15 can be referred to as a second end face.
  • the exhaust gas purification filter 1 has a mesh sealing portion 16.
  • the sealing portion 16 closes the inflow end face 14 or the outflow end face 15 of the cell 13 in a staggered manner, for example.
  • the mesh sealing portion 16 is made of, for example, ceramics such as cordierite, but may be made of other materials.
  • the plug-shaped eye-sealing portion 16 is formed, but the shape of the eye-sealing portion 16 is not particularly limited as long as the inflow end face 14 or the outflow end face 15 can be sealed.
  • the cell 13 has, for example, a first cell 131 and a second cell 132.
  • the first cell 131 is opened to, for example, the inflow end surface 14 on the inflow side of the exhaust gas G, and the outflow end surface 15 is closed by the sealing portion 16.
  • the second cell 132 is opened to, for example, the outflow end surface 15 on the outflow side of the exhaust gas G, and the inflow end surface 14 is closed by the sealing portion 16.
  • the first cell 131 and the second cell 132 are adjacent to each other, for example, in the horizontal direction X orthogonal to the filter axial direction Y and in the vertical direction Z orthogonal to both the filter axial direction Y and the horizontal direction X. , Formed alternately side by side. That is, when the inflow end surface 14 or the outflow end surface 15 of the exhaust gas purification filter 1 is viewed from the filter axial direction Y, the first cell 131 and the second cell 132 are arranged in a check pattern, for example.
  • the partition wall 12 separates the first cell 131 and the second cell 132 adjacent to each other.
  • the pores 121 include communication holes 121c that communicate between the first cell 131 and the second cell 132, and non-communication holes that do not communicate with each other and are not shown.
  • the communication hole 121c can be confirmed by observation with an electron microscope such as a scanning electron microscope having a cross section of the partition wall.
  • the pores 121 are simplified in two dimensions, but it is considered that most of the pores 121 intersect in three dimensions.
  • the pore 121 serves as a path for the exhaust gas G in the partition wall 12.
  • the cell 13 also serves as a path for the exhaust gas G like the pores 121, PM is also collected on the flow path surface 125 of the partition wall 12, and NOx is purified on the flow path surface 125 by supporting the NOx purification catalyst on the flow path surface 125.
  • the catalyst layer 17 is formed on, for example, the pore wall surface 124a of the partition wall 12.
  • the catalyst layer 17 may be formed continuously or discontinuously.
  • the catalyst layer 17 is also formed on the flow path surface 125 of the partition wall 12, for example.
  • the pressure loss is hereinafter appropriately referred to as "pressure loss”.
  • the number and shape of the communication holes can be adjusted by using the porosity, the average pore diameter, and the like as indexes. From the viewpoint of appropriately increasing the number of communication holes and maintaining the strength of the exhaust gas purification filter 1, the porosity is preferably 50 to 70%, more preferably 55 to 65%, and 60 to 65. It is more preferably%. The porosity is measured based on the principle of the mercury intrusion method as shown in the experimental example.
  • the catalyst layer 17 contains a NOx purification catalyst.
  • a NOx purification catalyst a three-way catalyst made of a precious metal such as Pt, Rh, or Pd can be used.
  • the NOx purification catalyst can further purify harmful gas components such as CO and HC in addition to NOx.
  • the catalyst layer 17 may further contain alumina, a co-catalyst, and the like. Examples of the co-catalyst include ceria, zirconia, and ceria-zirconia solid solution.
  • the method for forming the catalyst layer 17 is not particularly limited, but for example, a method of impregnating the partition wall 12 with a fluid containing a catalyst such as a precious metal and baking the catalyst layer 17 is common.
  • the fluid is, for example, a liquid such as a catalytic slurry.
  • the NOx purification rate is improved by forming the catalyst layer 17 thinly and widely on the pore wall surface 124a or the like. This is for the following reasons.
  • a predetermined amount of the catalyst layer 17 is formed on the exhaust gas purification filter 1
  • the catalyst layer 17 is formed thinly so that the catalyst layer 17 is formed in a wide range of the pore wall 124. Therefore, in the exhaust gas purification filter 1, the frequency of contact between the catalyst layer 17 and NOx increases, and NOx is easily purified.
  • the pores 121 form a flow path of the fluid such as the catalyst slurry, and by reducing the flow path resistance thereof, the fluid can easily flow and the catalyst layer 17 is formed thin and wide.
  • it is effective to increase the pore diameter in the narrow portion 127 of the pore 121, increase the average pore diameter, or increase the pore 121 having a large pore diameter. ..
  • the narrow portion 127 is a portion where the pore diameter is smaller than the periphery, and is, for example, a constricted portion of the pore 121 in the partition wall cross section in the wall thickness direction.
  • the gas permeability coefficient of the partition wall 12 can be increased.
  • the pores 121 having a small pore diameter can be increased.
  • the gas permeability coefficient of the partition wall 12 is increased to a predetermined value or more, the average pore diameter is increased to a predetermined value or more, and the pore diameter is increased. It is effective to reduce the small pores 121 to a predetermined value or less.
  • the NOx purification rate should be sufficiently increased by setting the gas permeability coefficient to 0.35 ⁇ 10 -12 m 2 or more, the average pore diameter of 12 ⁇ m or more, and the pore volume ratio of 9 ⁇ m or less to 25% or less. Can be done.
  • the catalyst layer 17 can be formed thin over a wide range even with the same coating amount, so that the NOx purification rate is improved without increasing the coating amount of the catalyst layer 17. Therefore, the NOx purification rate can be increased while suppressing the increase in pressure loss. Further, by controlling the pores of the exhaust gas purification filter 1 serving as a carrier of the NOx purification catalyst, the NOx purification performance after the catalyst is supported can be improved.
  • the catalyst layer 17 is formed thinly and widely on the pore wall surface 124a or the like by the above-mentioned general forming method using the catalyst slurry, and the exhaust gas purification filter 1 after the catalyst is supported exhibits excellent NOx purification performance.
  • the methods for measuring and calculating the gas permeability coefficient, average pore diameter, and pore floor area ratio are shown in Experimental Examples.
  • the pore volume ratio means the ratio of the volume of pores 121 having a predetermined pore diameter to the total pore volume, and is calculated from the pore diameter distribution measured based on the principle of the mercury intrusion method as shown in the experimental example. Will be done.
  • the gas permeability coefficient is preferably 3.0 ⁇ 10 -12 m 2 or less, and preferably 2.5 ⁇ 10 -12 m 2 or less. More preferably, it is 2.0 ⁇ 10 -12 m 2 or less. If the gas permeability coefficient becomes too high, the exhaust gas easily slips through the partition wall 12, and the PM contained in the exhaust gas G also slips through, so that the collection rate is considered to deteriorate.
  • the average pore diameter is preferably 25 ⁇ m or less, more preferably 23 ⁇ m or less, and even more preferably 20 ⁇ m or less. Even if the average pore diameter becomes too large, PM slips through easily, and it is considered that the collection rate deteriorates.
  • the pore wall area per unit volume of the partition wall 12 is preferably 70,000 ⁇ m 2 / ⁇ m 3 or more.
  • the area of the pore wall surface 124a which is the supporting surface on which the catalyst layer is formed, becomes sufficiently large. Therefore, for example, when the same amount of catalyst is supported, the catalyst layer is formed thinner and wider. Therefore, NOx having a slow diffusion rate is efficiently purified in the catalyst layer, and the purification rate is improved.
  • the pore wall area per unit volume of the partition wall 12 is more preferably at 85000 ⁇ m 2 / ⁇ m 3 or more, more preferably 90000 ⁇ m 2 / ⁇ m 3 or more.
  • the pore wall area per unit volume of the partition wall 12 is 200000 ⁇ m 2 / ⁇ m 3 or less, more preferably 190000 ⁇ m 2 / ⁇ m 3 or less , 180,000 ⁇ m 2 / ⁇ m 3 or less, more preferably.
  • the catalyst layer thin and wide as described above in order to improve the NOx purification rate, but from the viewpoint of sufficiently maintaining the NOx diffusion distance (specifically, the reaction time), to some extent. It is considered that this is because it is advantageous to have the thickness of.
  • the pore wall area is the area of the pore wall surface 124a, and is the area of the portion where the pore wall 124 forming the pore 121 faces the pore 121.
  • the pore wall area can also be, for example, the geometric surface area within the partition wall 12.
  • the pore wall area is appropriately referred to as "GSA" below. The measurement method of GSA is shown in an experimental example.
  • a catalyst layer 17 is formed on the exhaust gas purification filter 1.
  • the supported amount of the catalyst layer 17 is preferably 30 to 150 g / L. In this case, clogging of the pores 121 by the catalyst layer 17 is suppressed while ensuring the required purification performance.
  • the average thickness of the catalyst layer 17 is preferably 6 ⁇ m or less.
  • NOx purification is performed more efficiently in the catalyst layer 17. This is because, for example, when a predetermined amount of the catalyst layer 17 is formed, the pore wall surface 124a is formed with a small thickness of, for example, 6 ⁇ m or less, as compared with the case where the catalyst layer 17 is formed with a large thickness. This is because the catalyst layer 17 is formed in a wider range of the above.
  • it is advantageous that the catalyst layer 17 is formed thin and wide rather than thick and narrow.
  • the average thickness of the catalyst layer 17 is 6 ⁇ m or less, NOx purification is sufficiently efficiently performed, so that the NOx purification performance is further improved.
  • the average thickness of the catalyst layer 17 is more preferably 5.5 ⁇ m or less. Further, if the thickness of the catalyst layer 17 is too thin, the average thickness of the catalyst layer 17 is preferably 2 ⁇ m or more from the viewpoint that the NOx purification performance may be deteriorated.
  • the average thickness of the catalyst layer 7 can be adjusted, for example, by adjusting the amount of the catalyst slurry used when forming the catalyst layer 17.
  • the exhaust gas purification filter 1 of this embodiment is manufactured as follows, for example. First, a clay containing a raw material for forming cordierite is prepared.
  • the clay is prepared by adjusting silica, talc, aluminum hydroxide, etc. so as to have a cordierite composition, and further adding a binder such as methyl cellulose, a pore-forming material such as graphite, a lubricating oil, water, etc. as appropriate and mixing them. Will be done.
  • Alumina and kaolin may be blended so as to have a cordierite composition.
  • Porous silica can be used as the silica.
  • silica and talc can be the pore forming raw material 101.
  • the pore-forming raw material 101 is a material that forms pores 121.
  • the pore-forming raw material 101 produces a liquid phase component at the time of firing, whereby pores 121 are formed.
  • aluminum hydroxide, alumina, and kaolin can be the aggregate raw material 102.
  • the aggregate raw material 102 is a material for forming a ceramic portion other than the pores 121.
  • the honeycomb structure portion 10 is a portion composed of an outer skin 11, a partition wall 12, and a cell 13.
  • the mesh sealing portion 16 is formed after firing the honeycomb structure portion 10 or before firing. Specifically, for example, using a slurry for forming a sealing portion, the end faces of the honeycomb structure portion 10 after firing or the cell 13 of the molded body having a honeycomb structure before firing are alternately sealed and fired.
  • the mesh sealing portion 16 is formed by the above.
  • the catalyst layer 17 is formed on the honeycomb structure portion 10 before the formation of the eye seal portion 16 or the honeycomb structure portion 10 after the formation of the eye seal portion 16.
  • the catalyst layer 17 is formed by impregnating the partition wall 12 with a catalyst slurry containing a noble metal, alumina, a co-catalyst, etc., and baking the solid component of the slurry onto the partition wall 12. At the time of impregnation, for example, suction can be performed.
  • the gas permeability coefficient of the partition wall 12, the average pore diameter, and the pore floor area ratio of 9 ⁇ m or less are adjusted within a predetermined range, so that the flow path resistance of the catalyst slurry becomes small. Therefore, the catalyst layer 17 is formed thin and wide without changing the amount of catalyst. As a result, NOx having a slow diffusion rate is efficiently purified.
  • the narrow portion 127 may be increased as follows.
  • Pattern A and pattern C are cases where a plurality of pore-forming raw materials 101a having a large particle size are close to each other.
  • Pattern B is a case where the pore-forming raw material 101a having a large particle size and the pore-forming raw material 101b having a small particle size are in contact with each other.
  • Patterns D and E are cases where the pore-forming raw materials 101 are not in contact with each other and the aggregate raw material 102 is arranged between the pore-forming raw materials 101.
  • pattern D an aggregate raw material 102a having a large particle size is arranged between the pore-forming raw materials 101.
  • the aggregate raw material 102b having a small particle size is arranged between the pore-forming raw materials 101.
  • the size of the narrow portion 127 is as follows. By bringing the pore-forming raw materials 101 into contact with each other as in patterns A to C, the narrow portion 127 can be expanded and a large narrow portion 127 can be formed. On the other hand, when the pore-forming raw material 101 and the aggregate raw material 102 come into contact with each other as in the patterns D and E, the narrow portion 127 becomes smaller. For example, pattern D forms a medium-sized narrow portion 127, and pattern E forms a small-sized narrow portion 127. Therefore, the size of the narrow portion 127 can be adjusted by controlling the contact pattern between the pore-forming raw material 101 and the aggregate raw material 102.
  • the pore-forming raw materials 101 are likely to come into contact with each other as in patterns A to C. Therefore, the narrow portion 127 can be enlarged.
  • examples of the pore-forming raw material 101 include silica and talc, which may be given a positive charge to silica and a negative charge to talc. Plus and minus may be interchanged. Alternatively, a positive charge may be applied to a part of the mixture of silica and talc, and a negative charge may be applied to the remaining part or all. All the pore-forming raw materials 101 used in the production of the exhaust gas purification filter 1 may be charged, or some pore-forming raw materials 101 may be charged.
  • an anionic dispersant and a cationic dispersant can be used to impart the electric charge.
  • the pore-forming raw material 101 and the dispersant are mixed in advance. Mixing the pore-forming raw material 101 and the dispersant is called pre-kneading.
  • pre-kneading a dispersant is attached to the pore-forming raw material 101 and charged to obtain a positively charged pore-forming raw material 101 and a negatively charged pore-forming raw material 101.
  • the pore-forming raw material 101 to which the dispersant is attached, the aggregate raw material 102, and other raw materials are further mixed.
  • the pre-kneading time is too long, the communication of the pores 121 may be impaired, so it is preferable to adjust the pre-kneading time appropriately. Further, if the particle size of the aggregate raw material 102 around the pore-forming raw material 101 becomes large, the communication of the pores 121 may be impaired. Therefore, the particle size ratio between the pore-forming raw material 101 and the aggregate raw material 102 It is also preferable to adjust it appropriately.
  • the gas permeability coefficient, average pore diameter, and pore volume ratio of pore diameter of 9 ⁇ m or less are the particle size ratio between the pore-forming raw material 101 and the aggregate raw material 102, the type of dispersant, the amount of dispersant added, the pre-kneading time, and the like.
  • the above-mentioned desired range can be controlled by adjusting the number of rotations at the time of extrusion, the drying time of clay, and the like.
  • FIG. 7 shows a partition wall 92 of the exhaust gas purification filter of this embodiment.
  • 7 (a) to 7 (c) simplify the shape of the communication holes (that is, the pores 911, 912, 913) of the partition wall 92, and schematically show the communication holes.
  • various pores 911, 912, and 913 having different pore diameters are formed on the partition wall 92 of the exhaust gas purification filter.
  • the pores have a constricted pore 911 having a narrow portion 917 having a large pore diameter and a small pore diameter, a pore 912 having a medium pore diameter, and a pore diameter of 912. It will be described by classifying it into three small-sized pores 913.
  • the catalyst layer in the narrow portion 917 having high flow path resistance is partially thicker than the surroundings. 97 is formed.
  • the flow path resistance is high, so that the catalyst slurry does not easily enter the pores 913 and the catalyst layer 97 is difficult to form. Since pores 913 having a small pore diameter are advantageous for collecting PM, the PM collection rate is improved by increasing the number of small pores 913, but the NOx purification performance after the catalyst layer 97 is supported is lowered. To do.
  • the catalyst layer 97 in the pores 913 having a small pore diameter by increasing the amount of the catalyst supported.
  • the manufacturing cost increases by the amount of the catalyst increase.
  • the narrow portion 917 and the medium-sized pores 912 are at least partially blocked by the catalyst layer 97, so that the pressure loss increases.
  • Example 1 In this example, as shown in Table 1, a plurality of exhaust gas purification filters 1 having different average pore diameters, gas permeability coefficients, pore floor area ratios with pore diameters of 9 ⁇ m or less, and the like are manufactured. Then, a catalyst layer 17 containing a NOx purification catalyst is formed on the partition wall 12 of the exhaust gas purification filter 1, and the NOx purification rate, PM collection rate, and the like are comparatively evaluated.
  • the same codes as those used in the above-mentioned embodiments represent the same components and the like as those in the above-mentioned embodiments, unless otherwise specified.
  • the exhaust gas purification filter 1 is a cylinder having a diameter of 118 mm and a length of 120 mm in the filter axial direction Y, and contains cordierite as a main component.
  • the exhaust gas purification filter 1 of this example has a thickness of 300 cpsi, and the thickness of the partition wall 12 is 0.216 mm.
  • the supported amount of the catalyst layer 17 is 65 g / L.
  • silica, talc, and aluminum hydroxide were prepared as raw materials for forming cordierite.
  • Silica and talc are the pore-forming raw materials 101
  • aluminum hydroxide is the aggregate raw material 102.
  • the mixed powder of silica and talc was divided into two parts, one of which was mixed with an anionic dispersant and water, and the other of which was mixed with a cationic dispersant and water. In this way, a slurry-like first mixture containing the-charged pore-forming raw material 101 and a slurry-like second mixture containing the positively-charged pore-forming raw material 101 were obtained. ..
  • the amount of the anionic dispersant added in the first mixture is 2 to 15 wt% with respect to the total amount of silica and talc of 100 wt%, and the amount of water added is the amount required to prepare the clay. It is half the amount.
  • the anionic dispersant "Nopcos Perth 44-C” manufactured by Sanyo Chemical Industries, Ltd. was used.
  • the amount of the cationic dispersant added to the second mixture is 2 to 15 wt% with respect to 100 wt% of the total amount of silica and talc.
  • the amount of water added is half the amount required to make clay.
  • As the cationic dispersant "Nopcos Perth 092" manufactured by Sanyo Chemical Industries, Ltd. was used.
  • the clay was prepared.
  • the dispersant polyoxyethylene polyoxypropylene glycerel ether having an average molecular weight of 4550 was used.
  • porous silica is used as the silica of the cordierite forming raw material, and this porous silica functions as a pore-forming material.
  • graphite may be added as a pore-forming material at the time of preparing the clay.
  • the pore-forming material has a function of improving the porosity of the exhaust gas purification filter 1.
  • the exhaust gas purification filter 1 was obtained by extruding the clay and firing it at 1410 ° C. to form the sealing portion 16. Further, the catalyst layer 17 was formed on the exhaust gas purification filter 1 by the same method as in the first embodiment. Mixtures of silica and talc (i.e., pore forming material) by changing the D 50 particle size in the range of 5 [mu] m ⁇ 35 [mu] m, is possible to adjust the average pore diameter of the exhaust gas purifying filter 1 in the desired range of, for example, 12 ⁇ m or more it can.
  • silica and talc i.e., pore forming material
  • the gas permeability coefficient of the exhaust gas purification filter 1 is in a desired range of, for example, 0.35 ⁇ 10 -12 m 2 or more. Can be adjusted to.
  • the stirring time of the first mixture and the second mixture and the kneading time of the clay in the range of 5 minutes to 150 minutes, the pore volume ratio of the exhaust gas purification filter having a pore diameter of 9 ⁇ m or less can be reduced to 25% or less, for example. It can be adjusted to the desired range.
  • 10 types of exhaust gas purification filters 1 were obtained as shown in Table 1.
  • each measured value shown in Table 1 was examined by the method shown below.
  • Each measured value is a value for a measurement sample collected from the exhaust gas purification filter 1. The measurement sample was taken from the following sampling position of the exhaust gas purification filter 1.
  • FIGS. 8A to 8C The sampling positions are shown in FIGS. 8A to 8C.
  • the sampling position is the sealing portion 16 on the inflow end surface 14 side of the central portion 1a in the filter axial direction Y passing through the central portion of the diameter of the exhaust gas purification filter 1.
  • a measurement sample is taken from the center of the exhaust gas purification filter 1 in the direction orthogonal to the filter axial direction (specifically, the radial direction). This is because the gas flow velocity is high at the center and NOx blow-through is likely to occur.
  • the gas permeability coefficient, the average pore diameter, the pore volume ratio of the pore diameter of 9 ⁇ m or less, etc. are adjusted to the above-mentioned predetermined ranges. This is because the effect of improving the NOx purification rate is sufficiently exhibited.
  • Each measured value shown in Table 1 is an arithmetic mean value of the measured values at the above-mentioned three places.
  • the state in which the catalyst layer 17 was not formed, specifically, the exhaust gas purification filter 1 before the catalyst layer was formed was measured.
  • a measurement sample was taken from the partition wall 12 of the exhaust gas purification filter 1, and the porosity and the average pore diameter of the measurement sample were measured by a mercury porosimeter using the principle of the mercury intrusion method.
  • the measurement sample is a substantially cube having a length of 1 cm in the filter axial direction Y, a length of 1 cm in the wall thickness direction, and a length of 1 cm orthogonal to the filter axial direction and the wall thickness direction.
  • the average pore size is also called the average pore size.
  • As the mercury porosimeter Autopore IV9500 manufactured by Shimadzu Corporation was used.
  • the measurement sample was stored in the measurement cell of the mercury porosimeter, and the inside of the measurement cell was depressurized. Then, mercury was introduced into the measurement cell and pressurized, and the pore diameter and the pore volume were measured from the pressure at the time of pressurization and the volume of mercury introduced into the pores of the measurement sample.
  • the measurement was performed in the pressure range of 0.5 to 20000 psia.
  • 0.5 psia corresponds to 0.35 ⁇ 10 -3 kg / mm 2
  • 20000 psia corresponds to 14 kg / mm 2 .
  • the range of the pore diameter corresponding to this pressure range is 0.01 to 420 ⁇ m.
  • a contact angle of 140 ° and a surface tension of 480 dyn / cm were used as constants when calculating the pore diameter from the pressure.
  • the average pore diameter is the pore diameter at an integrated value of 50% of the pore volume.
  • the porosity was calculated from the following relational expression.
  • the true specific gravity of cordierite is 2.52.
  • Porosity (%) total pore volume / (total pore volume + 1 / true specific gravity of cordierite) x 100
  • the gas permeability coefficient is obtained from the relationship between the gas flow velocity and the pressure loss.
  • the relationship between the gas flow velocity and the pressure loss is measured, for example, by preparing a measurement sample from the exhaust gas purification filter 1 and measuring based on the measurement sample.
  • a measurement sample having a diameter of 30 mm, a length of 25 mm in the filter axial direction Y, and a partition wall 12 having a thickness of 200 ⁇ m was used.
  • the measurement sample is, for example, an exhaust gas purification filter 1 having an outer size smaller than that of an actual vehicle-mounted product, and is obtained by hollowing out a filter having a desired size from the actual product.
  • the measurement sample collection positions are the above-mentioned three locations.
  • the hollowed out filter skin can be formed, for example, by cementing.
  • polyester tapes are attached to both end faces of the measurement sample in the filter axial direction Y, and the polyester tapes form, for example, a soldering iron so as to form the eye-sealing portions 16 that alternately close the end faces as described above.
  • the polyester tape can be partially removed by soldering iron. That is, here, the eye-sealing portion 16 simulated by the polyester tape is formed.
  • FIG. 9 shows an example of a relationship diagram between the gas flow velocity (X-axis) and the pressure loss ⁇ P (Y-axis) in the cell 13.
  • This relationship diagram shows the measured values (plot points) by the palm poromometer and the calculated values (for example, broken lines) obtained by the following equations (i) to (viii). The equations (i) to (viii) will be described below.
  • ⁇ P inlet / exit the opening area A open (unit: m 2 ) of the cell 13
  • the opening area A in (unit: m 2 ) of the cell 13 at the inflow end surface 14 of the exhaust gas and the gas flow velocity V channel in the cell 13.
  • (Unit: m / s) and air density ⁇ (unit: kg / m 3 ) satisfy the relationship of the following equation (ii).
  • ⁇ P channel + ⁇ P wall a gas permeation coefficient k (unit: m 2 ), a length L (unit: m) of the exhaust gas purification filter 1 in the filter axial direction Y, and a hydraulic diameter a 1 (unit: m) of the cell 13. m), the thickness w (unit: m) of the partition wall 12, the friction coefficient F (unit: dimensionless) in the cell 13, the Reynolds number (unit: dimensionless), and the gas viscosity ⁇ (unit: Pa ⁇ s). ) And the gas flow velocity V channel (unit: m / s) in the cell 13 satisfy the relationship of the following equations (iii) to (viii). In equation (iii), e is an exponential function exp.
  • the pressure drop value is calculated based on the above formulas (i) to (viii).
  • the broken line of the calculated value shown in the relationship diagram between the gas flow velocity (X-axis) and the pressure loss (Y-axis) illustrated in FIG. 9 is the pressure loss value obtained by calculation.
  • the pressure drop value is the filter length L, the opening area A open of the cell 13, the hydraulic diameter a 1 , and the thickness w of the partition wall 12, excluding the gas permeability coefficient k. It is calculated by measurement, and these values do not change even if the gas flow velocity is changed. Therefore, by inputting an arbitrary value to the gas permeability coefficient, the calculated value in the relationship diagram between the gas flow velocity (X-axis) and the pressure loss (Y-axis) can be derived.
  • the gas permeability coefficient k is a value obtained by back-calculating the gas permeability coefficient from the measured values of the pressure loss measured by the palm polo meter from the equations (i) to (viii).
  • the state in which the catalyst layer 17 was not formed, specifically, the exhaust gas purification filter 1 before the catalyst layer was formed was measured.
  • a continuous tomographic image of the partition wall 12 of the measurement sample collected from the exhaust gas purification filter 1 was acquired.
  • the measurement sample collection positions are the above-mentioned three locations.
  • An X-ray CT apparatus "Versa XRM-500" manufactured by Xradia was used for taking continuous tomographic images.
  • the imaging conditions are voltage: 80 kV, step: 0.1 °, resolution: 0.684787 ⁇ m / pixel.
  • the continuous tomographic image is, for example, in TIF format.
  • the continuous tomographic image cross section was read under the condition of 0.6874787 ⁇ m / voxel using the importGeo-Vol function, which is one of the interfaces of the microstructure simulation software “GeoDict” manufactured by Math2Market. Then, in order to separate the bone part (specifically, the ceramic part) and the space part of the read image, the gray value (the intersection when separated into two peaks in the gray value diagram as illustrated in FIG. 10 is used as the threshold value. , The partition wall 12 was modeled in 3D. After that, noise was removed, and unnecessary parts were removed so as to have a desired size (actually, 900 voxel x 600 voxel x partition wall thickness voxel).
  • the geometric surface area in the partition wall 12 was Among the Podic functions, which is one of the modules of GrayDic, Estitimate Surface Area is used, and the analysis details are described in J. Ohser and F. Mucklic, Static Analysis Microstraits in Series, Series, and Steel. Introduced from the "Esitimate of real space area", the above-mentioned “F. Mucklic” should be correctly written with the umlaut symbol on the "u”. In the book, it is shown without the umlaut symbol. Table 1 shows the average value of the measured values at the above three locations as GSA.
  • the average value of 10 exhaust gas purification filters is adopted for each average pore diameter, and the measurement sample collection positions from each exhaust gas purification filter are three as shown in FIG. The results are shown in Table 1.
  • the state in which the catalyst layer 17 was formed, specifically, the exhaust gas purification filter 1 after the catalyst layer was formed was measured.
  • the exhaust gas purification filter 1 was installed in the exhaust pipe P of the gasoline direct injection engine E having a displacement of 2.0 L, naturally aspirated, and four cylinders.
  • a ceramic mat (not shown) was wound around the exhaust gas purification filter 1 and inserted into the filter case C.
  • the filter case C was connected to the exhaust pipe P of the engine E via the fitting cone F, and the exhaust gas G from the engine E was passed through the exhaust gas purification filter 1.
  • the gas concentration meter 7 includes a first gas concentration meter 71 for measuring the NOx concentration on the entry side before flowing into the exhaust gas purification filter 1, and a NOx concentration on the exit side for measuring the NOx concentration on the exit side from the exhaust gas purification filter 1. No. 2 gas densitometer 72 was used.
  • the first gas concentration meter 71 and the second gas concentration meter 72 are both "MEXA-7500" manufactured by HORIBA, Ltd.
  • the A / F sensor 8 includes a first A / F sensor 81 for measuring the A / F concentration on the entry side before flowing into the exhaust gas purification filter 1, and an exit side flowing out from the exhaust gas purification filter 1.
  • a second A / F sensor 82 was used to measure the A / F concentration of.
  • a / F: 14.4 is an A / F value that appears most frequently in WLTC (World-harmonized Light Vehicles Test Cycle) mode driving.
  • the conditions of the intake air amount of 50 g / s and the engine speed of 3500 rpm simulate the operating conditions during high-load driving, and the exhaust gas temperature is in a high temperature region of, for example, 750 ° C. or higher.
  • the state in which the catalyst layer 17 was formed, specifically, the exhaust gas purification filter 1 after the catalyst layer was formed was measured.
  • the exhaust gas purification filter 1 was installed in the exhaust pipe P of the gasoline direct injection engine E having a displacement of 2.0 L, naturally aspirated, and four cylinders, as in the measurement of the NOx purification rate.
  • the exhaust gas G from the engine E was passed through the exhaust gas purification filter 1.
  • the PM sensor 6 measured the PM concentration on the entry side before flowing into the exhaust gas purification filter 1 and the PM concentration on the exit side flowing out from the exhaust gas purification filter 1.
  • the measurement conditions were a temperature of 720 ° C. and an exhaust gas flow rate of 11.0 m 3 / min.
  • PM concentration on the entry side is measured by the first PM sensor 61
  • PM concentration on the exit side is measured by the second PM sensor 62.
  • the collection rate of PM is calculated from the PM concentration on the entry side and the PM concentration on the exit side based on the following formula.
  • PM collection rate 100 x (PM concentration on the entry side-PM concentration on the exit side) / PM concentration on the entry side
  • the exhaust gas purification filter 1 of the embodiment has a gas permeability coefficient of 0.35 ⁇ 10 -12 m 2 or more and a pore floor area ratio of 9 ⁇ m or less. It is 25% or less and has an average pore diameter of 12 ⁇ m or more. Therefore, the NOx purification rate is high in the examples. From the viewpoint of satisfying the purification rate required for a U / F catalytic converter in a general direct injection engine, the NOx purification rate is preferably 80% or more.
  • the U / F catalyst converter is also called an underfloor catalyst, and the U / F catalyst converter will be described in the second embodiment.
  • the gas permeability coefficient is 0.35 ⁇ 10 -12 m 2 or more from the viewpoint of improving the NOx purification rate, but from the viewpoint of further improving the NOx purification rate.
  • the gas permeability coefficient is preferably 0.40 ⁇ 10 -12 m 2 or more, and more preferably 0.80 ⁇ 10 -12 m 2 or more.
  • the average pore diameter is 12 ⁇ m or more from the viewpoint of improving the NOx purification rate, but the average pore diameter is 14 ⁇ m or more from the viewpoint of further improving the NOx purification rate. Is more preferable.
  • the pore floor area ratio of the pore diameter of 9 ⁇ m or less is 25% or less, but from the viewpoint of further improving the NOx purification rate. Therefore, the floor area ratio of pores having a pore diameter of 9 ⁇ m or less is more preferably 20% or less, and even more preferably 15% or less. It is considered that this is because when the floor area ratio of pores having a pore diameter of 9 ⁇ m or less is reduced, the number of pores 121 having a pore diameter exceeding 9 ⁇ m increases, and the catalyst layer 17 is formed thin and wide by supporting the catalyst.
  • the pore floor area ratio of the pore diameter of 9 ⁇ m or less is preferably 3% or more, and is preferably 10% or more. Is more preferable, and 15% or more is further preferable.
  • the pores 121 having a pore diameter of 9 ⁇ m or less greatly contribute to the improvement of the PM collection rate. Therefore, if the number of pores 121 having a pore diameter of 9 ⁇ m or less is too small, the PM collection performance may deteriorate.
  • GSA pore wall area per unit volume of the partition wall 12
  • the NOx purification rate is further improved.
  • GSA is more preferably 85000 ⁇ m 2 / ⁇ m 3 or more, further preferably 90000 ⁇ m 2 / ⁇ m 3 or more.
  • any one of the conditions of a gas transmittance of 0.35 ⁇ 10 -12 m 2 or more, a pore floor area ratio of 25% or less with a pore diameter of 9 ⁇ m or less, and an average pore diameter of 12 ⁇ m or more was satisfied. Not. Therefore, in the comparative example, the NOx purification rate is low.
  • the S / C catalyst 1A is, for example, a honeycomb structure formed of cordierite. Although the configuration of the S / C catalyst 1A is not shown, the S / C catalyst 1A has the same shape as the honeycomb structure portion 10 in the first embodiment. Specifically, the S / C catalyst 1A has an outer skin 11, a partition wall 12, and a cell 13, and does not have a sealing portion.
  • the honeycomb structure used for the S / C catalyst 1A is also called a monolith carrier, and a three-way catalyst is supported on the partition wall 12. It is also possible to use the exhaust gas purification filter 1 having the honeycomb structure portion 10 and the sealing portion 16 as the S / C catalyst.
  • the U / F catalyst converter 1B (that is, the under floor catalyst) is located at the U / F position (that is, the under floor position) that is under the floor of the vehicle downstream of the S / C catalyst 1A. Converter) is placed.
  • the U / F catalytic converter 1B for example, the exhaust gas purification filter 1 of the first embodiment can be used.
  • the U / F catalytic converter 1B is also generally referred to as a second converter.
  • the S / C catalyst 1A and the U / F catalyst converter 1B are inserted into different cases C1 and C2, and the cases C1 and C2 are connected to the exhaust pipe P. In the path of the exhaust pipe P, the S / C catalyst 1A and the U / F catalyst converter 1B are arranged at a predetermined distance.
  • the exhaust gas purification filter 1 may be used to form a tandem type catalyst unit. Specifically, as shown in FIG. 15B, the S / C catalyst 1A and the rear catalyst 1C are inserted into the same case C3, and this case C3 is connected to the exhaust pipe P. As the rear catalyst 1C, for example, the exhaust gas purification filter 1 of the first embodiment can be used.
  • the exhaust gas purification filter 1 is used as a U / F catalyst converter 1B, a rear catalyst 1C of a tandem type catalyst unit, etc., and is used on the downstream side of an S / C catalyst 1A on which a three-way catalyst is supported.
  • an S / C catalyst 1A arranged on the upstream side, harmful gas components such as CO, HC, and NOx are purified by the three-way catalyst.
  • harmful gas components such as CO, HC, and NOx are purified by the three-way catalyst.
  • CO and HC are sufficiently purified.
  • the exhaust gas purification filter 1 is used for purifying the exhaust gas G of an internal combustion engine such as a diesel engine or a gasoline engine, and is suitable for applications discharged from a gasoline engine. That is, the exhaust gas purification filter 1 is preferably a gasoline particulate filter.
  • the gasoline particulate filter is called a GPF. In GPF, not only the purification performance of PM but also the purification catalyst for harmful gas components such as NOx is coated, and the purification of harmful gas components is also required.

Landscapes

  • Chemical & Material Sciences (AREA)
  • Engineering & Computer Science (AREA)
  • Chemical Kinetics & Catalysis (AREA)
  • Materials Engineering (AREA)
  • Organic Chemistry (AREA)
  • Ceramic Engineering (AREA)
  • Manufacturing & Machinery (AREA)
  • Combustion & Propulsion (AREA)
  • Structural Engineering (AREA)
  • Mechanical Engineering (AREA)
  • General Engineering & Computer Science (AREA)
  • Geometry (AREA)
  • Inorganic Chemistry (AREA)
  • Physics & Mathematics (AREA)
  • Health & Medical Sciences (AREA)
  • Toxicology (AREA)
  • Analytical Chemistry (AREA)
  • Environmental & Geological Engineering (AREA)
  • Biomedical Technology (AREA)
  • General Chemical & Material Sciences (AREA)
  • Oil, Petroleum & Natural Gas (AREA)
  • Catalysts (AREA)
  • Exhaust Gas Treatment By Means Of Catalyst (AREA)
  • Processes For Solid Components From Exhaust (AREA)
  • Exhaust Gas After Treatment (AREA)
  • Nanotechnology (AREA)
PCT/JP2020/011409 2019-04-26 2020-03-16 排ガス浄化フィルタ Ceased WO2020217776A1 (ja)

Priority Applications (3)

Application Number Priority Date Filing Date Title
CN202080031519.XA CN113766974B (zh) 2019-04-26 2020-03-16 废气净化过滤器
EP20794914.0A EP3960289B8 (en) 2019-04-26 2020-03-16 Exhaust gas purification filter
US17/451,826 US12251691B2 (en) 2019-04-26 2021-10-22 Exhaust gas purification filter

Applications Claiming Priority (2)

Application Number Priority Date Filing Date Title
JP2019-086489 2019-04-26
JP2019086489A JP7230671B2 (ja) 2019-04-26 2019-04-26 排ガス浄化フィルタ

Related Child Applications (1)

Application Number Title Priority Date Filing Date
US17/451,826 Continuation US12251691B2 (en) 2019-04-26 2021-10-22 Exhaust gas purification filter

Publications (1)

Publication Number Publication Date
WO2020217776A1 true WO2020217776A1 (ja) 2020-10-29

Family

ID=72942583

Family Applications (1)

Application Number Title Priority Date Filing Date
PCT/JP2020/011409 Ceased WO2020217776A1 (ja) 2019-04-26 2020-03-16 排ガス浄化フィルタ

Country Status (5)

Country Link
US (1) US12251691B2 (enExample)
EP (1) EP3960289B8 (enExample)
JP (1) JP7230671B2 (enExample)
CN (1) CN113766974B (enExample)
WO (1) WO2020217776A1 (enExample)

Families Citing this family (2)

* Cited by examiner, † Cited by third party
Publication number Priority date Publication date Assignee Title
JP2022111085A (ja) * 2021-01-19 2022-07-29 本田技研工業株式会社 排気浄化フィルタ
CN118807354A (zh) * 2023-04-21 2024-10-22 日本碍子株式会社 蜂窝过滤器

Citations (8)

* Cited by examiner, † Cited by third party
Publication number Priority date Publication date Assignee Title
JP2002219319A (ja) * 2000-11-24 2002-08-06 Ngk Insulators Ltd 多孔質ハニカムフィルター及びその製造方法
WO2007097056A1 (ja) * 2006-02-23 2007-08-30 Ibiden Co., Ltd. ハニカム構造体および排ガス浄化装置
JP4473693B2 (ja) 2004-09-28 2010-06-02 日本碍子株式会社 ハニカムフィルタ
JP2010221154A (ja) * 2009-03-24 2010-10-07 Ngk Insulators Ltd ハニカム触媒体
JP5673665B2 (ja) * 2010-02-22 2015-02-18 日立金属株式会社 セラミックハニカム構造体及びその製造方法
JP2018149510A (ja) * 2017-03-14 2018-09-27 日本碍子株式会社 目封止ハニカム構造体
JP2019002298A (ja) * 2017-06-13 2019-01-10 株式会社デンソー 排ガス浄化フィルタ
JP2019086489A (ja) 2017-11-10 2019-06-06 横河電機株式会社 分光分析装置

Family Cites Families (9)

* Cited by examiner, † Cited by third party
Publication number Priority date Publication date Assignee Title
JPH08150340A (ja) * 1994-11-30 1996-06-11 Hino Motors Ltd 排ガス浄化用触媒コンバータ
WO2007026844A1 (ja) * 2005-08-31 2007-03-08 Ngk Insulators, Ltd. ハニカム触媒体、ハニカム触媒体製造用のプレコート担体及びハニカム触媒体の製造方法
US8119075B2 (en) * 2005-11-10 2012-02-21 Basf Corporation Diesel particulate filters having ultra-thin catalyzed oxidation coatings
WO2010110011A1 (ja) * 2009-03-26 2010-09-30 日本碍子株式会社 ハニカムフィルタ及びハニカムフィルタの製造方法
JP6219796B2 (ja) * 2014-09-04 2017-10-25 日本碍子株式会社 ハニカムフィルタ
WO2017051459A1 (ja) * 2015-09-24 2017-03-30 本田技研工業株式会社 排気浄化フィルタ
DE102017106374A1 (de) * 2016-04-01 2017-10-05 Johnson Matthey Public Limited Company Abgasreinigungsfilter
JP6787715B2 (ja) * 2016-07-25 2020-11-18 株式会社ナノメンブレン ガス透過膜
EP3505244B1 (en) * 2016-08-26 2021-09-22 N.E. Chemcat Corporation Honeycomb structure, honeycomb structure type catalyst, and production methods therefor

Patent Citations (8)

* Cited by examiner, † Cited by third party
Publication number Priority date Publication date Assignee Title
JP2002219319A (ja) * 2000-11-24 2002-08-06 Ngk Insulators Ltd 多孔質ハニカムフィルター及びその製造方法
JP4473693B2 (ja) 2004-09-28 2010-06-02 日本碍子株式会社 ハニカムフィルタ
WO2007097056A1 (ja) * 2006-02-23 2007-08-30 Ibiden Co., Ltd. ハニカム構造体および排ガス浄化装置
JP2010221154A (ja) * 2009-03-24 2010-10-07 Ngk Insulators Ltd ハニカム触媒体
JP5673665B2 (ja) * 2010-02-22 2015-02-18 日立金属株式会社 セラミックハニカム構造体及びその製造方法
JP2018149510A (ja) * 2017-03-14 2018-09-27 日本碍子株式会社 目封止ハニカム構造体
JP2019002298A (ja) * 2017-06-13 2019-01-10 株式会社デンソー 排ガス浄化フィルタ
JP2019086489A (ja) 2017-11-10 2019-06-06 横河電機株式会社 分光分析装置

Non-Patent Citations (1)

* Cited by examiner, † Cited by third party
Title
J. OHSERF. MUCKLICH: "Statistical Analysis Microstructures in Materials Science", 2000, WILEY AND SONS, article "Esitimate of real surface area", pages: 115

Also Published As

Publication number Publication date
EP3960289A1 (en) 2022-03-02
JP2020182887A (ja) 2020-11-12
CN113766974B (zh) 2023-05-09
EP3960289B1 (en) 2023-09-13
US12251691B2 (en) 2025-03-18
EP3960289B8 (en) 2023-11-15
US20220042436A1 (en) 2022-02-10
CN113766974A (zh) 2021-12-07
JP7230671B2 (ja) 2023-03-01
EP3960289A4 (en) 2022-07-20

Similar Documents

Publication Publication Date Title
JP6564637B2 (ja) 排ガス浄化装置
US7867598B2 (en) Honeycomb structure and honeycomb catalytic body
JP5964564B2 (ja) ウォールフロー型排ガス浄化フィルタ
CN109973176B (zh) 排气净化过滤器
WO2016056573A1 (ja) 排ガス浄化装置
JPWO2007026805A1 (ja) ハニカム構造体、及びハニカム触媒体
EP3919169A1 (en) Exhaust gas purification filter
US11850541B2 (en) Exhaust gas purification filter
US12251691B2 (en) Exhaust gas purification filter
US11767779B2 (en) Exhaust gas purifying filter
JP7097327B2 (ja) 排ガス浄化フィルタ
CN116892435A (zh) 蜂窝过滤器
JP6091282B2 (ja) 触媒コートフィルタ及び触媒コートフィルタ用担体
US20250303334A1 (en) Honeycomb filter
CN113557352A (zh) 废气净化过滤器

Legal Events

Date Code Title Description
121 Ep: the epo has been informed by wipo that ep was designated in this application

Ref document number: 20794914

Country of ref document: EP

Kind code of ref document: A1

NENP Non-entry into the national phase

Ref country code: DE

ENP Entry into the national phase

Ref document number: 2020794914

Country of ref document: EP

Effective date: 20211126