WO2020195127A1 - 回転電機、その固定子、およびその製造方法 - Google Patents

回転電機、その固定子、およびその製造方法 Download PDF

Info

Publication number
WO2020195127A1
WO2020195127A1 PCT/JP2020/003136 JP2020003136W WO2020195127A1 WO 2020195127 A1 WO2020195127 A1 WO 2020195127A1 JP 2020003136 W JP2020003136 W JP 2020003136W WO 2020195127 A1 WO2020195127 A1 WO 2020195127A1
Authority
WO
WIPO (PCT)
Prior art keywords
leader
stator
connecting member
electric machine
wire
Prior art date
Legal status (The legal status is an assumption and is not a legal conclusion. Google has not performed a legal analysis and makes no representation as to the accuracy of the status listed.)
Ceased
Application number
PCT/JP2020/003136
Other languages
English (en)
French (fr)
Japanese (ja)
Inventor
麻衣 後藤
将由 山本
繁則 米田
Current Assignee (The listed assignees may be inaccurate. Google has not performed a legal analysis and makes no representation or warranty as to the accuracy of the list.)
Denso Corp
Original Assignee
Denso Corp
Priority date (The priority date is an assumption and is not a legal conclusion. Google has not performed a legal analysis and makes no representation as to the accuracy of the date listed.)
Filing date
Publication date
Application filed by Denso Corp filed Critical Denso Corp
Priority to DE112020001563.7T priority Critical patent/DE112020001563T5/de
Priority to CN202080023550.9A priority patent/CN113678344B/zh
Publication of WO2020195127A1 publication Critical patent/WO2020195127A1/ja
Priority to US17/391,541 priority patent/US12009708B2/en
Anticipated expiration legal-status Critical
Ceased legal-status Critical Current

Links

Images

Classifications

    • HELECTRICITY
    • H02GENERATION; CONVERSION OR DISTRIBUTION OF ELECTRIC POWER
    • H02KDYNAMO-ELECTRIC MACHINES
    • H02K15/00Processes or apparatus specially adapted for manufacturing, assembling, maintaining or repairing of dynamo-electric machines
    • H02K15/30Manufacture of winding connections
    • H02K15/33Connecting winding sections; Forming leads; Connecting leads to terminals
    • H02K15/35Form-wound windings
    • HELECTRICITY
    • H02GENERATION; CONVERSION OR DISTRIBUTION OF ELECTRIC POWER
    • H02KDYNAMO-ELECTRIC MACHINES
    • H02K1/00Details of the magnetic circuit
    • H02K1/06Details of the magnetic circuit characterised by the shape, form or construction
    • H02K1/12Stationary parts of the magnetic circuit
    • H02K1/16Stator cores with slots for windings
    • HELECTRICITY
    • H02GENERATION; CONVERSION OR DISTRIBUTION OF ELECTRIC POWER
    • H02KDYNAMO-ELECTRIC MACHINES
    • H02K15/00Processes or apparatus specially adapted for manufacturing, assembling, maintaining or repairing of dynamo-electric machines
    • H02K15/12Impregnating, moulding insulation, heating or drying of windings, stators, rotors or machines
    • HELECTRICITY
    • H02GENERATION; CONVERSION OR DISTRIBUTION OF ELECTRIC POWER
    • H02KDYNAMO-ELECTRIC MACHINES
    • H02K3/00Details of windings
    • H02K3/04Windings characterised by the conductor shape, form or construction, e.g. with bar conductors
    • H02K3/12Windings characterised by the conductor shape, form or construction, e.g. with bar conductors arranged in slots
    • HELECTRICITY
    • H02GENERATION; CONVERSION OR DISTRIBUTION OF ELECTRIC POWER
    • H02KDYNAMO-ELECTRIC MACHINES
    • H02K3/00Details of windings
    • H02K3/04Windings characterised by the conductor shape, form or construction, e.g. with bar conductors
    • H02K3/28Layout of windings or of connections between windings
    • HELECTRICITY
    • H02GENERATION; CONVERSION OR DISTRIBUTION OF ELECTRIC POWER
    • H02KDYNAMO-ELECTRIC MACHINES
    • H02K3/00Details of windings
    • H02K3/46Fastening of windings on the stator or rotor structure
    • H02K3/50Fastening of winding heads, equalising connectors, or connections thereto
    • HELECTRICITY
    • H02GENERATION; CONVERSION OR DISTRIBUTION OF ELECTRIC POWER
    • H02KDYNAMO-ELECTRIC MACHINES
    • H02K2213/00Specific aspects, not otherwise provided for and not covered by codes H02K2201/00 - H02K2211/00
    • H02K2213/03Machines characterised by numerical values, ranges, mathematical expressions or similar information

Definitions

  • the disclosure in this specification relates to a rotary electric machine, its stator, and its manufacturing method.
  • Patent Document 1 discloses a stator of a rotary electric machine having a plurality of segments accommodated in a slot.
  • the contents of the prior art documents listed as prior art are incorporated by reference as an explanation of the technical elements in this specification.
  • the stator of the rotary electric machine is required to have a structure that can withstand strong vibration. From another point of view, the stator of the rotary electric machine is required to be improved to promote the release of heat. Further improvements are required in the rotary electric machine and its stator in the above-mentioned viewpoint or in other viewpoints not mentioned.
  • One purpose disclosed is to provide a rotary electric machine that can withstand strong vibrations, a stator thereof, and a method for manufacturing the same.
  • the stator of the rotary electric machine disclosed herein includes a stator core (6) and a stator coil (7) which is attached to the stator core and has a coil end (12) protruding from the end of the stator core.
  • the leader wire (30) drawn from the coil end is provided with a connecting member (40) that is electrically and mechanically connected, and the leader wire is drawn out from a predetermined position in the radial direction at the coil end.
  • the inner leader wire (31) has M bends, and the outer leader has N more bends than M, which is drawn from the outer position in the radial direction from the inner leader at the coil end. It comprises a wire (38).
  • the connecting member is stably supported by the inner leader wire and the outer leader wire. Moreover, the inner leader has M bends and the outer leader has N bends. Therefore, the inner leader line and the outer leader line exhibit different vibration characteristics. As a result, the resonance between the inner leader line and the outer leader line is suppressed.
  • the rotary electric machine disclosed here includes a stator (3) of the rotary electric machine and a housing (5) for accommodating the stator.
  • a stator coil (7) is attached to the stator core so as to form a coil end (12) protruding from the end of the stator core (6).
  • the inner leader wire and the outer leader wire are bent different times. Due to the number of times of this bending process, the inner leader line and the outer leader line exhibit different vibration characteristics. As a result, the resonance between the inner leader line and the outer leader line is suppressed.
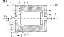
  • the rotary electric machine 1 is a motor generator.
  • the rotary electric machine 1 is operatively connected to the power system 10 (PWT) of the device.
  • the rotary electric machine 1 can function as a generator that generates electricity by the power supplied from the power system 10.
  • the rotary electric machine 1 can function as an electric motor that supplies power to the power system 10.
  • the rotary electric machine 1 may be a generator or an electric motor.
  • the power system 10 may include an internal combustion engine.
  • the power system 10 provides the main power of the equipment.
  • equipment includes vehicles, air conditioners, pumping devices, and the like.
  • vehicle includes vehicles, ships, aircraft, simulation equipment, amusement equipment.
  • the rotary electric machine 1 has a rotor 2 and a stator 3.
  • the rotor 2 has a shaft 4.
  • the shaft 4 defines the rotation shaft AX.
  • the rotor 2 is rotatable.
  • the stator 3 is a tubular member.
  • the rotor 2 and the stator 3 are housed in the housing 5.
  • the housing 5 partitions a substantially closed chamber for accommodating the rotor 2 and the stator 3.
  • the closed chamber can contain a heat medium (gas or liquid) for temperature control.
  • the housing 5 fixes the stator 3 and rotatably supports the rotor 2.
  • the housing 5 may provide components for the power system 10.
  • the housing 5 may provide a portion of the crankcase or a portion of the transmission case.
  • the rotor 2 is magnetically coupled to the stator 3.
  • the rotor 2 is rotatably supported by the shaft 4 with respect to the housing 5.
  • the shaft 4 is connected to the power system 10.
  • the rotor 2 is arranged inside the stator 3 in the radial direction.
  • the rotor 2 has a plurality of magnetic poles arranged along the circumferential direction.
  • the plurality of magnetic poles are formed by a plurality of permanent magnets embedded in the rotor 2.
  • the rotor 2 can be provided by various structures.
  • the stator 3 has a stator core 6.
  • the stator core 6 has a tubular shape.
  • the stator core 6 is also annular.
  • the stator core 6 has a plurality of steel plates laminated along the axial direction.
  • the stator core 6 has a plurality of slots arranged in the circumferential direction.
  • the plurality of slots are arranged at the same pitch in the circumferential direction.
  • the plurality of slots may be arranged at several different pitches.
  • the plurality of slots extend axially so as to penetrate the plurality of steel plates.
  • the plurality of slots extend radially.
  • a typical stator core 6 has an annular back core.
  • the stator core 6 has a plurality of teeth extending radially inward from the back core.
  • a plurality of teeth form a plurality of slots between them.
  • the stator 3 has a stator coil 7.
  • the stator coil 7 is mounted on the stator core 6.
  • the rotary electric machine 1 has a power terminal 8.
  • the rotary electric machine 1 has a plurality of power terminals 8.
  • the power terminal 8 is connected to a power line located outside the housing 5.
  • the power terminal 8 may be exposed to the outside of the housing 5.
  • the power terminal 8 may be positioned in the terminal box and may be connected to the power line in the terminal box.
  • the power terminal 8 may be positioned in the housing 5 and may be connected to a power line in the housing 5. In either configuration, a direct thermal path is provided through the housing 5 via the power terminal 8.
  • the power terminal 8 is a terminal for electrically connecting the rotary electric machine 1 and the control device (CNT) 9.
  • the power terminal 8 is used as an output terminal when outputting electric power, and as an input terminal when receiving electric power.
  • the power terminal 8 can also be called an external connection terminal of the rotary electric machine 1.
  • the rotary electric machine 1 is electrically connected to the control device 9.
  • the control device 9 includes an inverter circuit. When the rotary electric machine 1 functions as a generator, it is driven by the power system 10 and outputs electric power.
  • the control device 9 functions as a rectifier circuit that rectifies the electric power output from the rotary electric machine 1 when the rotary electric machine 1 is used as a generator.
  • the rotary electric machine 1 When the rotary electric machine 1 functions as an electric motor, the rotary electric machine 1 supplies power to the power system 10.
  • the control device 9 supplies multi-phase AC power to the rotary electric machine 1 when the rotary electric machine 1 is used as an electric motor. In this embodiment, the polyphase AC power is three-phase power.
  • the control device 9 is an electronic control unit (Electronic Control Unit).
  • the control device 9 provides a control system.
  • the control system has at least one arithmetic processing unit (CPU) and at least one memory device as a storage medium for storing programs and data.
  • the control system is provided by a microcomputer with a computer-readable storage medium.
  • a storage medium is a non-transitional substantive storage medium that stores a computer-readable program non-temporarily.
  • the storage medium may be provided by a semiconductor memory, a magnetic disk, or the like.
  • the control system may be provided by a single computer, or a set of computer resources linked by a data communication device.
  • control system can be provided by the software recorded in the substantive memory device and the computer, software only, hardware only, or a combination thereof that executes the software.
  • control system can be provided by a logic called if-the-else form, or a neural network tuned by machine learning.
  • control system can be provided by electronic circuits that are hardware, it can be provided by digital or analog circuits that include multiple logic circuits.
  • the stator coil 7 has coil ends 11 and 12 and an in-slot conductor 13.
  • the coil ends 11 and 12 and the in-slot conductor 13 are provided by a plurality of segment conductors.
  • the coil end 11 is also called a first coil end.
  • the coil end 12 is also called a second coil end.
  • the coil ends 11 and 12 are positioned at the ends of the stator core 6.
  • the coil ends 11 and 12 project axially from the stator core 6.
  • the coil ends 11 and 12 are an aggregate of a plurality of segment conductors included in the stator coil 7.
  • one segment conductor connects the in-slot conductor 13 located in one slot to the in-slot conductor 13 located in another different slot.
  • the coil ends 11 and 12 may be provided by the turn portion 15 of the continuous segment conductor.
  • the coil ends 11 and 12 may be provided by a joint 16 in which different segment conductors are joined.
  • the rotary electric machine 1 has one end SD1 and one end SD2 on the opposite side of SD1.
  • One end, the coil end 11 in SD1 is formed by arranging only the turn portion 15 of the segment conductor.
  • the coil end 12 at the other end SD2 includes a plurality of joints 16.
  • the joint portion 16 is formed by joining the end portion of one segment conductor and the end portion of another segment conductor.
  • the plurality of joints 16 can be provided by various joining methods. As the joining method, for example, TIG welding, laser welding, electric resistance welding, solder joining and the like can be used.
  • the coil end 12 is formed by arranging only a plurality of joints 16. All of the plurality of joints 16 for forming the stator coil 7 are arranged at the coil end 12.
  • stator coil 7 a plurality of in-slot conductors 13 are connected by a plurality of turn portions 15 at one end of the coil end 11 of the SD1.
  • a plurality of conductors in the slot 13 are connected by a plurality of joints 16 at the coil end 12 of the other end SD2.
  • the conductor 13 in the slot extends straight along the axial direction AD.
  • the conductor 13 in the slot is housed in the slot.
  • eight in-slot conductors 13 are housed in one slot.
  • the stator coil 7 is electrically connected so as to form a multi-phase connection.
  • the stator coil 7 is connected to provide star or delta connections. In this embodiment, the stator coil 7 provides star connection.
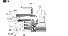
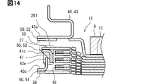
  • the stator coil 7 has a leader wire 30 extending from the coil end 12.
  • the stator coil 7 includes a plurality of leader wires 30.
  • the leader line 30 is arranged at the coil end 12.
  • the leader line 30 provides both ends of a plurality of coils as multiphase windings. In this embodiment, since the three-phase winding is provided, at least six leaders 30 are provided. Further, in this embodiment, one phase is provided by the parallel connection of n coils. Therefore, the stator coil 7 has a 6 ⁇ n leader wire 30. In this embodiment, one phase is provided by the parallel connection of four coils. Therefore, the stator coil 7 includes 24 leader wires 30.
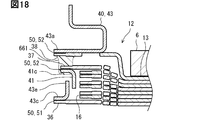
  • the plurality of leader lines 30 include a plurality of inner leader lines 31 and a plurality of outer leader lines 32 that are separated from each other in the radial direction at the coil end 12.
  • the inner leader line 31 is drawn from a predetermined position in the radial direction at the annular coil end 12.
  • the inner leader line 31 has M bends.
  • the outer leader line 32 is drawn from a position outside the radial RD of the inner leader line 31 at the coil end 12.
  • the outer leader line 32 has N more bends than M.
  • the inner leader wire 31 is located in the innermost layer (innermost layer) of the coil end 12.
  • the inner leader line 31 is classified into two inner leader lines with respect to the height of the axial AD.
  • the outer leader line 32 is located in the outermost layer (outermost layer) of the coil end 12.
  • the outer leader line 32 is classified into two outer leader lines with respect to the height of the axial AD and the position of the radial RD.
  • the rotary electric machine 1 includes a plurality of connecting members 40.
  • the connecting member 40 provides a part of the stator coil 7 without being housed in the slot.
  • the connecting member 40 is also called a bus bar.
  • the connecting member 40 is connected to the leader wire 30.
  • the connecting member 40 is a plate-shaped member positioned so as to face the end surface of the coil end 12 in the axial direction AD.
  • the connecting member 40 is thermally coupled to the power terminal 8 extending outward.
  • the connecting member 40 is electrically and mechanically connected to both the inner leader wire 31 and the outer leader wire 32.
  • the connecting member 40 includes a member that provides a neutral point connection by being connected to a plurality of leader wires 30.
  • the connecting member 40 includes a member that provides a power end by being connected to a plurality of leader wires 30.
  • the member that provides the power end provides the power terminal 8.
  • the rotary electric machine 1 includes a joint portion 50.
  • the joint portion 50 electrically and mechanically joins the leader wire 30 and the connecting member 40.
  • the plurality of joints 16 can be provided by various joining methods. As the joining method, for example, TIG welding, laser welding, electric resistance welding, solder joining and the like can be used.
  • the joint portion 50 includes an inner joint portion 51 that joins the inner leader wire 31 and the connecting member 40.
  • the joint portion 50 includes an outer joint portion 52 that joins the outer leader wire 32 and the connecting member 40.
  • the joint 16 may have melting marks.
  • the coil end 12 includes a plurality of conductors protruding from the stator core 6 by a height of HG12.
  • the height HG12 may be defined by melting marks.
  • the leader line 30 includes a plurality of low leader lines 33 protruding from the stator core 6 by the height HG 33.
  • the leader line 30 includes a plurality of high leader lines 34 protruding from the stator core 6 by a height HG 34.
  • the height HG33 is lower than the height HG34 (HG33 ⁇ HG35).
  • the inner leader line 31 includes a low leader line 33 and a high leader line 34.
  • the outer leader line 32 includes a low leader line 33 and a high leader line 34.
  • the connecting member 40 has a first connecting member 41 that provides a neutral point.
  • the first connecting member 41 is electrically and mechanically joined to a plurality of low leader wires 33.
  • the connecting member 40 has a second connecting member 44 that provides the power terminal 8.
  • the connecting member 40 has a plurality of second connecting members 42, 43, 44. In the figure, only the second connecting member 44 is shown.
  • the second connecting members 42, 43, 44 are electrically and mechanically joined to the plurality of high leader wires 34.
  • the first connecting member 41 is installed at a height HG 41 away from the stator core 6.
  • the second connecting members 42, 43, 44 are installed apart from the stator core 6 by a height of HG44.
  • the height HG41 is lower than the height HG44 (HG41 ⁇ HG44).
  • FIG. 3 shows a plan view of arrow III in FIG.
  • the stator core 6 has an outer surface having a radius R6e.
  • the stator core 6 has an inner surface having a radius R6i.
  • the plurality of connecting members 40 are arranged in the arc range RG40 in the circumferential direction CD.
  • the arc range RG40 is set to be equal to or smaller than the half circumference of the stator core 6. As a result, the vibration of the connecting member 40 is suppressed.
  • the coil end 12 is formed by a plurality of segment conductors and a plurality of joint portions 16.
  • the plurality of segment conductors and the plurality of joints 16 are arranged so as to form a plurality of layers in the radial RD of the coil end 12.
  • the plurality of segment conductors form eight layers.
  • the plurality of joints 16 form four layers along the radial RD.
  • the first connecting member 41 is arranged so as to be laminated on the end face of the coil end 12 in the axial direction AD. In other words, the first connecting member 41 is arranged so as to face the plurality of joints 16.
  • the first connecting member 41 is arranged in an arc shape along the coil end 12.
  • the first connecting member 41 is positioned within the annular basic width W12 in the radial RD of the coil end 12.
  • the annular basic width W12 is located radially outside the radius R6i.
  • the annular basic width W12 is located radially inward from the radius R6e.
  • the basic width W12 is the width required to join the plurality of segment conductors providing the stator coil 7 at the coil end 12.
  • the second connecting member is a plurality of second connecting members 42, 43, 44 corresponding to a plurality of phase windings.
  • the plurality of second connecting members 42, 43, 44 provide three power terminals 8a, 8b, 8c for three-phase power.
  • Each of the second connecting members 42, 43, 44 is dispersedly arranged apart from each other with respect to the circumferential CD.
  • Each of the plurality of second connecting members 42, 43, 44 extends radially outward of the stator 3 from the annular basic width W12.
  • the first connecting member 41 and the second connecting members 42, 43, 44 are arranged so as to face each other in the axial direction AD so as to be thermally coupled to each other.
  • the plurality of second connecting members 42, 43, 44 are arranged in a stacked manner so as to overlap the first connecting member 41 with respect to the axial AD.
  • the first connecting member 41 and the plurality of second connecting members 42, 43, 44 are arranged so that the main planes provided by them spread out in parallel with each other.
  • the first connecting member 41 is a plate-shaped member.
  • the first connecting member 41 provides a main plane extending parallel to the annular end face of the coil end 12.
  • Each of the plurality of second connecting members 42, 43, 44 has a plate-shaped portion at least partially.
  • Each of the plurality of second connecting members 42, 43, 44 has a plate-shaped portion extending parallel to the main plane.
  • the stacked arrangement of the first connecting member 41 and the plurality of second connecting members 42, 43, 44 provides thermal coupling. Therefore, heat transfer between the first connecting member 41 and the plurality of second connecting members 42, 43, 44 is provided.
  • the transfer of heat includes, for example, the transfer of heat from the first connecting member 41 to a plurality of second connecting members 42, 43, 44.
  • the plurality of second connecting members 42, 43, 44 provide heat transfer radially outward from the stator 3.
  • the plurality of inner leader lines 31 have a plurality of first leader lines 35 which are low leader lines 33.
  • the plurality of first leader lines 35 are electrically and mechanically connected to the first connecting member 41.
  • the stator coil 7 includes six first leaders 35. All first leader lines 35 are connected to the first connecting member 41.
  • the first leader line 35 is located in the innermost layer of the annular basic width W12.
  • the first leader line 35 is positioned at a radius R35.
  • the radius R35 is larger than the radius R6i (R6i ⁇ R35).
  • the plurality of inner leader lines 31 have a plurality of second leader lines 36, which are high leader lines 34.
  • the second leader line 36 is electrically and mechanically connected to the second connecting members 42, 43, 44.
  • the stator coil 7 includes six second leaders 36.
  • the two second leader lines 36 are connected to the second connecting member 42.
  • the two second leader lines 36 are connected to the second connecting member 43.
  • the two second leader lines 36 are connected to the second connecting member 44.
  • the second leader line 36 is located in the innermost layer of the annular basic width W12.
  • the second leader line 36 is positioned at a radius R36.
  • the second leader line 36 which is both the inner leader line 31 and the high leader line 34, is arranged from the stator core 6 to the predetermined height HG 34 via the first path having a predetermined length. There is.
  • the first path is slightly longer than the path taken by the segment conductors connected by the joint 16. The length of the first path is the shortest among the plurality of leader lines 30.
  • the plurality of outer leader lines 32 have a plurality of third leader lines 37, which are low leader lines 33.
  • the plurality of third leader lines 37 are electrically and mechanically connected to the first connecting member 41.
  • the stator coil 7 includes six third leaders 37. All third leaders 37 are connected to the first connecting member 41.
  • the third leader line 37 is located in the outermost layer of the annular basic width W12.
  • the third leader line 37 is positioned at a radius R37.
  • the radius R37 is larger than the radius R35 (R35 ⁇ R37).
  • the plurality of outer leader lines 32 have a plurality of fourth leader lines 38 which are high leader lines 34.
  • the fourth leader line 38 is electrically and mechanically connected to the second connecting members 42, 43, 44.
  • the stator coil 7 includes six fourth leaders 38.
  • the two fourth leader lines 38 are connected to the second connecting member 42.
  • the two fourth leader lines 38 are connected to the second connecting member 43.
  • the two fourth leader lines 38 are connected to the second connecting member 44.
  • the fourth leader line 38 is positioned further outside from the annular basic width W12.
  • the fourth leader line 38 is positioned at a radius R38.
  • the radius R38 is larger than the radius R37 (R37 ⁇ R38).
  • the radius R38 is smaller than the radius R6e (R38 ⁇ R6e).
  • the fourth leader line 38 which is both the outer leader line 32 and the high leader line 34, is arranged from the stator core 6 to a predetermined height HG 34 via a second path having a predetermined length. There is.
  • the second path is longer than the path taken by the segment conductors connected by the joint 16.
  • the length of the second path is the longest among the plurality of leader lines 30.
  • the fourth leader line 38 is located on the outermost radial direction among the plurality of leader lines 30. Moreover, the fourth leader line 38 is located outside the annular basic width W12. The fourth leader line 38 has a bent portion for extending outward from the annular basic width W12. The fourth leader line 38 is the longest of the plurality of leader lines 30.
  • the annular basic width W12 is the width required to form the plurality of joints 16 at the coil end 12. Therefore, the fourth leader wire 38 is a special leader wire formed by executing an additional manufacturing method to the manufacturing method for forming the coil end 12. From this point of view, the fourth leader wire 38 is also called a special leader wire extending outward from the coil end 12.
  • the first connecting member 41 is connected to six first leader lines 35 and six third leader lines 37.
  • the first connecting member 41 is connected to the six inner leader lines 31 and the six outer leader lines 32.
  • the first connecting member 41 is supported by a plurality of leader lines 30 separated in the radial direction. In other words, the first connecting member 41 is supported by a leader wire 30 in the innermost layer of the coil end 12 and a leader wire 30 in the outermost layer.
  • Each of the second connecting members 42, 43, 44 is connected to two second leader lines 36 and two fourth leader lines 38.
  • Each of the second connecting members 42, 43, 44 is connected to two inner leaders 31 and two outer leaders 32.
  • Each of the second connecting members 42, 43, 44 is supported by a plurality of leader lines 30 separated in the radial direction.
  • each of the second connecting members 42, 43, 44 is supported by a leader wire 30 in the innermost layer of the coil end 12 and a leader wire 30 in the outermost layer.
  • each of the second connecting members 42, 43, 44 is supported by a leader wire 30 in the innermost layer of the coil end 12 and a special leader wire 30 located further outside the annular basic width W12.
  • the outer leader wire 32 is arranged on the radial outer side of the inner leader wire 31 to be connected to each of the second connecting members 42, 43, 44.
  • the inner leader wire 31 and the outer leader wire 32 to be connected to each of the second connecting members 42, 43, 44 are arranged on the same diameter line of the stator core 6.
  • the second leader line 36 and the fourth leader line 38 are arranged on the same diameter line. Therefore, the second leader wire 36 and the fourth leader wire 38 connected to one of the second connecting members 42, 43, 44 are arranged at the same angular position of the circumferential CD on the coil end 12.
  • the plurality of second leader lines 36 are arranged adjacent to the circumferential CD.
  • the plurality of fourth leader lines 38 are arranged adjacent to the circumferential CD.
  • the second leader line 36 and the fourth leader line 38 are compactly arranged.
  • the second connecting members 42, 43, 44 can be efficiently connected to the plurality of leader lines 30 without extending long along the circumferential direction CD.
  • the second leader wire 36 and the fourth leader wire 38 connected to one of the second connecting members 42, 43, 44 are leader wires of the same phase winding.
  • the two second leader wires 36 and the two fourth leader wires 38 connected to the second connecting member 42 are connected in parallel as any one of U, V, and W phase windings.
  • FIG. 4 shows a cross section taken along line IV-IV of FIG.
  • the annular base width W12 is greater than the slot depth in the radial RD.
  • the fourth leader line 38 extends radially outward by a width W38 more than the annular basic width W12.
  • the width W38 is larger than the gap AG40 between the first connecting member 41 and the second connecting members 42, 43, 44.
  • the gap AG40 is smaller than the width W38 and provides a path that facilitates heat transfer.
  • FIG. 5 is a plan view of the connecting member 40.
  • Each of the plurality of connecting members 40 is formed by forming a plate material of a conductor metal into a predetermined shape and further bending it into the shape shown in the drawing. Therefore, the connecting member 40 basically has a shape as a plate-shaped member.
  • the connecting member 60 has a plurality of bent portions.
  • the first connection member 41 includes a plurality of terminals 41t.
  • the plurality of terminals 41t include a plurality of terminals 41a, 41b, 41c, 41d, 41e, 41f connected to the third leader wire 37.
  • the plurality of terminals 41t include a plurality of terminals 41g, 41h, 41i, 41k, 41m, 41n connected to the first leader wire 35.
  • the second connecting member 42 includes a plurality of terminals 42t.
  • the plurality of terminals 42t include a plurality of terminals 42c and 42d connected to the second leader line 36.
  • the plurality of terminals 42t include a plurality of terminals 42a and 42b connected to the fourth leader wire 38.
  • the second connecting member 43 includes a plurality of terminals 43t.
  • the plurality of terminals 43t include a plurality of terminals 43c and 43d connected to the second leader line 36.
  • the plurality of terminals 43t include a plurality of terminals 43a and 43b connected to the fourth leader wire 38.
  • the second connecting member 44 includes a plurality of terminals 44t.
  • the plurality of terminals 44t include a plurality of terminals 44c and 44d connected to the second leader line 36.
  • the plurality of terminals 44t include a plurality of terminals 44a and 44b connected to the fourth leader line 38.
  • the first connecting member 41 extends in an arc shape.
  • the first connecting member 41 has a width W41 in the radial direction RD.
  • the width of the first connecting member 41 is partially wider than the width W41.
  • the width W41 is larger than the width of the segment conductor forming the stator coil 7.
  • the first connecting member 41 extends in a plane.
  • the first connecting member 41 and the plurality of second connecting members 42, 43, 44 face each other in the axial direction AD.
  • the plurality of second connecting members 42, 43, 44 have plate-shaped portions 42e, 43e, 44e that are vertically arranged with the first connecting member 41 in the axial direction.
  • the second connecting member 42 has a plate-shaped portion 42e extending in parallel with the first connecting member 41.
  • the plate-shaped portion 42e is indicated by a dot pattern.
  • the plate-shaped portion 42e extends in an arc shape along the first connecting member 41.
  • the cross-sectional area of the plate-shaped portion 42e is larger than the total cross-sectional area of the terminals 42c and 42d electrically connected via the plate-shaped portion 42e.
  • the cross section of the plate-shaped portion 42e in the radial direction is larger than the total cross section of the terminals 42c and 42d.
  • the second connecting member 42 is arranged along the coil end 12 from the power terminal 8a toward the plurality of terminals 42t.
  • the second connecting member 42 has a plate-shaped portion 42 g extending along the radial outer side of the coil end 12.
  • the power terminal 8a and the plate-shaped portion 42e are connected to each other by a connecting portion.
  • the connecting portion is provided by a plate-shaped portion 42 g.
  • the second connecting member 43 has a plate-shaped portion 43e extending in parallel with the first connecting member 41.
  • the plate-shaped portion 43e is indicated by a dot pattern.
  • the plate-shaped portion 43e extends along the first connecting member 41.
  • the cross-sectional area of the plate-shaped portion 43e is larger than the total cross-sectional area of the terminals 43c and 43d electrically connected via the plate-shaped portion 43e.
  • the cross section of the plate-shaped portion 43e in the radial direction is larger than the total cross section of the terminals 43c and 43d.
  • the second connecting member 43 is arranged along the coil end 12 from the power terminal 8a toward the plurality of terminals 43t.
  • the second connecting member 43 has a plate-shaped portion 43 g extending along the radial outer side of the coil end 12.
  • the power terminal 8b and the plate-shaped portion 43e are connected to each other by two connecting portions provided at both ends of the plate-shaped portion 43e.
  • the connecting portion is provided by a plate-shaped portion 43 g.
  • the two connections facilitate the conduction of heat. As a result, the transfer of heat from the inner leader wire 31 to the power terminal 8b via the plate-shaped portion 43e is promoted.
  • the second connecting member 44 has a plate-shaped portion 44e extending in parallel with the first connecting member 41.
  • the plate-shaped portion 44e is indicated by a dot pattern.
  • the plate-shaped portion 44e extends along the first connecting member 41.
  • the cross-sectional area of the plate-shaped portion 44e is larger than the total cross-sectional area of the terminals 44c and 44d electrically connected via the plate-shaped portion 44e.
  • the cross section of the plate-shaped portion 44e in the radial direction is larger than the total cross section of the terminals 44c and 44d.
  • the second connecting member 44 is arranged along the coil end 12 from the power terminal 8a toward the plurality of terminals 44t.
  • the second connecting member 44 has a plate-shaped portion 44g extending along the radial outer side of the coil end 12.
  • the power terminal 8c and the plate-shaped portion 44e are connected to each other by a connecting portion.
  • the connecting portion is provided by a plate-shaped portion 44 g.
  • the third leader line 37 which is the outer leader line 32, has a diagonal portion 37c.
  • the skew portion 37c is inclined in the circumferential direction CD while extending from the stator core 6 in the axial direction AD.
  • the fourth leader line 38 which is the outer leader line 32, also has a skew portion 38c.
  • the skew portion 38c is inclined in the circumferential direction CD while extending from the stator core 6 in the axial direction AD.
  • the inclination direction of the oblique portion 37c and the inclination direction of the oblique portion 38c are opposite to each other. As a result, different vibration characteristics can be obtained in the third leader line 37 and the fourth leader line 38 included in the outer leader line 32.
  • the cross section 41s shows a cross section in a plane parallel to the axial direction AD and the radial direction RD.
  • the cross section 41s is also a cross section perpendicular to the circumferential CD.
  • the first connecting member 41 also has a cross-sectional portion larger than the cross-section 41s.
  • the cross section 41s defines the minimum cross section.
  • the first connecting member 41 provides a cross section larger than one terminal 41t with respect to the circumferential CD.
  • the cross section 41s of the first connecting member 41 is larger than the cross section perpendicular to the longitudinal direction of the segment conductor that provides the stator coil 7.
  • the first connecting member 41 provides a large thermal cross section along the circumferential CD.
  • FIGS. 7 and 8 the cross-sectional shapes of the plate-shaped portions 42e, 43e, and 44e are shown.
  • the cross sections 42s, 43s, and 44s show cross sections in a plane parallel to the axial AD and the radial RD.
  • the cross sections 42s, 43s, and 44s are also cross sections perpendicular to the circumferential CD.
  • the cross sections 42s, 43s, 44s are also cross sections perpendicular to the current direction in the plate-shaped portions 42e, 43e, 44e.
  • the cross sections 42s, 43s, 44s of the second connecting members 42, 43, 44 are larger than the cross section perpendicular to the longitudinal direction of the segment conductor providing the stator coil 7.
  • the cross sections 42s, 43s, 44s provide a large heat conduction cross section for heat from the second leader line 36, which is the inner leader line 31. Further, the cross sections 42s, 43s, 44s provide a large heat conduction cross section with respect to the heat indirectly transferred from the first connecting member 41.
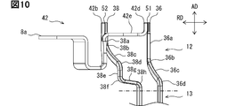
  • FIGS. 9, 10 and 11 the second connecting member 42, the second leader line 36, and the fourth leader line 38 are illustrated.
  • FIG. 10 shows a side view taken along the arrow X of FIGS. 3 and 9.
  • FIG. 11 shows a side view taken along the arrow XI of FIGS. 3 and 9.
  • the second leader line 36 extends from the in-slot conductor 13 in the slot.
  • the second leader line 36 has a tip portion 36a and a skew portion 36c.
  • the tip portion 36a extends straight toward the joint portion 16.
  • the diagonal portion 36c extends along the axial direction AD and also extends in the circumferential direction CD.
  • the bent portions 36b and 36d are bent portions between the axial direction AD and the circumferential direction CD.
  • the second leader line 36 includes two bent portions 36b and 36d.
  • the fourth leader line 38 extends from the in-slot conductor 13 in the slot.
  • the fourth leader line 38 has a tip portion 38a and a skew portion 38c. Further, the fourth leader line 38 has an intermediate straight line portion 38e and a radiation portion 38g.
  • the tip 38a extends straight toward the joint 16.
  • the oblique portion 38c extends along the axial direction AD and also extends in the circumferential direction CD.
  • the intermediate straight line portion 38e extends in the axial direction AD.
  • the radiating portion 38g extends along the radial RD while intersecting the axial AD.
  • the bent portions 38b and 38d are bent portions between the axial direction AD and the circumferential direction CD. There is a bent portion 38f between the intermediate straight portion 38e and the radiating portion 38g. Further, there is a bent portion 38h between the radiating portion 38g and the conductor 13 in the slot. The bent portions 38f and 38h are bent portions between the axial AD and the radial RD.
  • the fourth leader line 38 includes four bent portions 38b, 38d, 38f, and 38h.
  • the fourth leader line 38 includes two types of bent portions having different bending directions. One type of bend is a circumferential bend between the axial AD and the circumferential CD. Another type of bend is a radial bend between the axial AD and the radial RD.
  • the plurality of second leader lines 36 reach the second connecting members 42, 43, 44 via the inside of the coil end 12.
  • the route through which the second leader line 36 passes is called the first route.
  • the plurality of fourth leader wires 38 reach the second connecting members 42, 43, 44 via the radial outer side of the coil end 12.
  • the route through which the fourth leader line 38 passes is called the second route.
  • the second leader line 36 and the fourth leader line 38 exhibit different vibration characteristics with respect to the vibration applied to the stator 3.
  • the different vibration characteristics may be due to the number of bends.
  • the different vibration characteristics may be due to the number of bending operations.
  • the different vibration characteristics may be due to the difference in length between the first path and the second path. Further, the different vibration characteristics may be due to the distance from the central axis AX.
  • One of the vibration characteristics is grasped as a resonance characteristic.
  • the second leader line 36 and the fourth leader line 38 exhibit different resonance characteristics with respect to the vibration frequency.
  • the resonance frequency of the second leader line 36 is different from f2 and the resonance frequency of the fourth leader line 38 is f4.
  • the resonance frequency f4 may be lower than the resonance frequency f2 (f4 ⁇ f2). Since the number of bent portions 38b, 38d, 38f, 38h in the fourth leader line 38 is larger than the number of bent portions 36b, 36d in the second leader line 36, the resonance frequency f4 may be higher than the resonance frequency f2. (F4> f2). In either case, the resonance frequency f2 and the resonance frequency f4 have different numerical values (f2 ⁇ f4). As a result, it is possible to avoid a situation in which strong vibrations simultaneously act on both the inner joint portion 51 and the outer joint portion 52 of the second connecting member 42.
  • the shapes of the second leader line 36 and the fourth leader line 38 shown in FIGS. 9, 10 and 11 are also realized in the second connecting member 43 and the second connecting member 44. As a result, also in the second connecting member 43 and the second connecting member 44, a situation in which strong vibrations act simultaneously on both the inner joint portion 51 and the outer joint portion 52 is avoided. Further, also in the first connecting member 41, the first leader wire 35 and the third leader wire 37 exhibit different resonance characteristics. As a result, also in the first connecting member 41, a situation in which strong vibration acts simultaneously on both the inner joint portion 51 and the outer joint portion 52 is avoided.
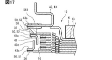
  • the coil end 12 includes a bridge member 61.
  • the coil end 12 is provided with a bridge member 61.
  • the bridge member 61 thermally bridges between the first connecting member 41 and the second connecting members 42, 43, 44. That is, the bridge member 61 provides a heat transfer path between the first connecting member 41 and the second connecting members 42, 43, 44.
  • the bridge member 61 also mechanically bridges between the first connecting member 41 and the second connecting members 42, 43, 44. As a result, the first connecting member 41 and the second connecting members 42, 43, 44 behave as integrally connected members with respect to vibration.
  • the bridge member 61 is an electrically insulating resin.
  • the bridge member 61 may be electrically insulating glass, ceramics, or the like.
  • the bridge member 61 is also called a protective resin. It is desirable that the bridge member 61 has a high thermal conductivity. It is desirable that the bridge member 61 has flexibility for suppressing the transmission of vibration.
  • the bridge member 61 is provided by powder coating.
  • the bridge member 61 covers a plurality of joints 16 at the coil end 12.
  • the bridge member 61 connects a plurality of joints 16 to each other.
  • the bridge member 61 protects the plurality of joints 16 in an electrically insulated state.
  • the bridge member 61 also mechanically protects the plurality of joints 16. Note that FIG. 12 shows the plurality of joints 16 as a state before joining.
  • the bridge member 61 covers at least a part of each of the plurality of connecting members 40.
  • the bridge member 61 connects a plurality of connecting members 40 to each other.
  • the bridge member 61 connects the first connecting member 41 and the second connecting members 42, 43, 44.
  • the bridge member 61 forms a bridge between the first connecting member 41 and the second connecting members 42, 43, 44.
  • the bridge member 61 protects the plurality of connecting members 40 in an electrically insulated state.
  • the bridge member 61 mechanically protects the plurality of connecting members 40.
  • the bridge member 61 promotes heat transfer between the plurality of connecting members 40.
  • the bridge member 61 promotes, for example, heat transfer from the first connecting member 41 to the second connecting members 42, 43, 44.
  • the bridge member 61 covers a plurality of joints 50. As a result, the bridge member 61 protects the plurality of joints 50 in an electrically insulated state. Further, the bridge member 61 also mechanically protects the plurality of joints 50.
  • the bridge member 61 connects the third leader line 37 and the fourth leader line 38. As a result, the deformation of the fourth leader line 38 is suppressed.
  • the rotary electric machine manufacturing method 190 includes step 191 of preparing a plurality of parts.
  • step 191 the rotor 2 and the housing 5 are prepared respectively.
  • the step of preparing the stator 3 will be described in detail. Each step is also called a process.
  • step 192 the plurality of segment conductors are attached to the stator core 6.
  • Step 192 provides a mounting step of mounting the stator coil 7 on the stator core 6 so as to form a coil end 12 projecting from the end of the stator core 6.
  • step 193 the plurality of segment conductors are machined at the coil end 12. In step 193, the plurality of segment conductors are positioned at positions forming the plurality of joints 16. In step 193, the plurality of leader lines 30 are also processed. In step 193, the plurality of first leaders 35, the plurality of second leaders 36, and the plurality of third leaders 37 are machined into a shape similar to the segment conductor for the coil end 12. The heights of the plurality of first leaders 35, the plurality of second leaders 36, the plurality of third leaders 37, and the segment conductors for the coil end 12 are different. In step 194, a plurality of joints 16 are formed. In step 194, the plurality of segment conductors are connected to provide a plurality of phase windings.
  • Step 193 provides an inner lead-out step for forming the inner leader line 31.
  • the inner leader wire 31 is pulled out by being bent M times from a predetermined position in the radial direction at the coil end 12.
  • the inner lead-out step is a step of bending the inner lead-out wire 31 at the innermost side of the basic width W12.
  • the inner lead-out step is a step of arranging the inner leader line 31 from the stator core 6 to a predetermined height HG 34 via a first path having a predetermined length.
  • step 195 the fourth leader wire 38 located on the radial outer side of the coil end 12 is additionally processed.
  • step 195 the fourth leader line 38 is additionally machined to obtain the shapes illustrated in FIGS. 9, 10, and 11.
  • Step 195 includes more bending steps than the other leaders.
  • step 195 includes a bending step of bending the leader line with respect to the radial RD. Step 195 may be performed before step 194.
  • Step 195 provides an outer lead-out step for forming a fourth leader line 38, which is one of the outer leader lines.
  • the fourth leader line 38 is pulled out from a position outside the inner leader line 31 in the coil end 12 in the radial direction by N times more than M.
  • the outer drawing step includes a radial bending step of bending the fourth leader line 38, which is an outer leader line, toward the outside in the radial direction from the basic width W12.
  • the outer lead-out step is a step of arranging the fourth leader line 38 from the stator core 6 to the height HG 34 via a second path longer than a predetermined length.
  • step 196 the first connecting member 41 for the neutral point is arranged.
  • the first connecting member 41 is positioned at the axial AD of the coil end 12. Further, in step 196, the first connecting member 41 and the plurality of first leader lines 35, and the first connecting member 41 and the plurality of third leader lines 37 are joined by the plurality of joining portions 50.
  • Step 196 is also a step of connecting the first connecting member 41 and the plurality of low leader wires 33.
  • Step 196 is also a step of connecting the first connecting member 41 and the plurality of inner leader wires 31 and the first connecting member 41 and the plurality of outer leader wires 32.
  • step 197 the second connecting members 42, 43, 44 for the power end are arranged.
  • the second connecting members 42, 43, 44 are superposed on the first connecting member 41.
  • the second connecting members 42, 43, 44 are positioned from the radial outer side to the axial outer side of the coil end 12.
  • the second connecting members 42, 43, 44 and the plurality of second leader lines 36, and the second connecting members 42, 43, 44 and the plurality of fourth leader lines 38 form a plurality of joints 50. Joined by.
  • step 197 the second connecting members 42, 43, 44 and the plurality of high leader lines 34 are connected.
  • Step 197 is also a step of connecting the second connecting members 42, 43, 44 to the plurality of inner leader wires 31, and the second connecting members 42, 43, 44 to the plurality of outer leader wires 32.
  • Step 196 and / or step 197 provide a connecting step of connecting the inner leader wire 31 and the outer leader wire 32 to the connecting member 40.
  • Step 197 may be executed at the same time as step 196.
  • step 198 the bridge member 61 is attached to the coil end 12.
  • step 199 the rotary electric machine 1 is assembled by assembling the rotor 2, the stator 3, and the housing 5.
  • each of the plurality of connecting members 40 is stably supported by the inner leader wire 31 and the outer leader wire 32. Further, a rotary electric machine having excellent heat release and a stator thereof are provided.
  • the plurality of connecting members 40 provide a heat path that provides good heat conduction between the inner leader 31 and the power terminal 8.
  • the heat path includes heat transfer by the plurality of second connecting members 42, 43, 44.
  • the heat path may go through indirect heat transfer between the first connecting member 41 and the plurality of second connecting members 42, 43, 44.
  • the plurality of connecting members 40 are supported by the inner leader wire 31 and the outer leader wire 32 that exhibit different vibration characteristics. As a result, vibration at the plurality of joints 50 is suppressed. Further, the plurality of connecting members 40 are supported by the innermost inner leader line 31 in the radial RD and the outermost outer leader line 32 in the radial RD. As a result, vibration at the plurality of joints 50 is remarkably suppressed.
  • the fourth leader wire 38 which is one of the outer leader wires 32, is arranged radially outside the basic width W12 of the coil end 12. As a result, vibration at the plurality of joints 50 related to the second connecting members 42, 43, 44 connected to the fourth leader line 38 is suppressed.
  • This embodiment is a modification based on the preceding embodiment as a basic embodiment.
  • the bridge member 61 is applied to a wide range of the coil end 12.
  • the bridge member 61 may be attached to a part of the coil end 12.
  • the range covered by the bridge member 61 can be adjusted by adjusting the range to which the bridge member 61 is applied.
  • the bridge member 61 is applied to a portion preheated in the powder coating process.
  • the bridge member 261 is attached to the outer joint 52 related to the third leader line 37. Further, the bridge member 261 is provided so as to cover a part of the first connecting member 41 and the second connecting members 42, 43, 44. The bridge member 261 forms a bridge between the first connecting member 41 and the second connecting members 42, 43, 44. The bridge member 261 promotes indirect heat transfer between the first connecting member 41 and the second connecting members 42, 43, 44.
  • the resin materials applied to the plurality of joints 16 are not shown. The plurality of joints 16 may or may not be covered with the resin material.
  • the bridge member 361 is provided only between the first connecting member 41 and the second connecting members 42, 43, 44.
  • the bridge member 361 forms a bridge between the first connecting member 41 and the second connecting members 42, 43, 44.
  • the bridge member 361 promotes indirect heat transfer between the first connecting member 41 and the second connecting members 42, 43, 44.
  • the bridge member 361 is provided only between the first connecting member 41 and the second connecting members 42, 43, 44.
  • the bridge member 361 forms a bridge between the first connecting member 41 and the second connecting members 42, 43, 44.
  • the bridge member 361 may have voids 462 such as air bubbles.
  • the bridge member 561 is attached only to the outer joint portion 52.
  • the bridge member 561 forms a bridge extending in the radial direction between the first connecting member 41 and the second connecting members 42, 43, 44.
  • the bridge member 561 promotes indirect heat transfer between the first connecting member 41 and the second connecting members 42, 43, 44.
  • the bridge member 661 is attached to the outer joint 52 associated with the third leader line 37. Further, the bridge member 661 is provided only between the outer joint 52 associated with the third leader line 37 and the fourth leader line 38. The bridge member 661 forms a bridge extending in the radial direction between the first connecting member 41 and the fourth leader wire 38. The bridge member 561 promotes indirect heat transfer between the first connecting member 41 and the fourth leader line 38.
  • the bridge member 761 is provided only between the third leader line 37 and the fourth leader line 38.
  • the bridge member 761 forms a bridge extending in the radial direction between the third leader line 37 and the fourth leader line 38.
  • the bridge member 761 promotes indirect heat transfer between the third leader line 37 and the fourth leader line 38.
  • the plurality of connecting members 40 are arranged in the arc range RG40.
  • the plurality of connecting members 40 may be arranged in the arc range RG840.
  • the arc range RG840 is wider than the arc range RG40.
  • the arc range RG840 is set to be equal to or smaller than the half circumference of the stator core 6. Such an arrangement is possible by adjusting the position of the leader wire 30 in the stator coil 7.
  • a plurality of connecting members 40 are arranged in the arc range RG840.
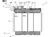
  • the plurality of second connecting members 842, 43, 844 are distributedly arranged in the arc range RG840.
  • a plurality of first leader lines 835, a plurality of second leader lines 836, a plurality of third leader lines 837, and a plurality of fourth leader lines 838 are also distributed in the arc range RG840.
  • the first connecting member 841 extends over the arc range RG840.
  • the second connecting member 842 and the second connecting member 844 extend longer along the first connecting member 841.
  • the second connecting member 842 has a plate-shaped portion 842e represented by a dot pattern.
  • the second connecting member 844 has a plate-shaped portion 844e represented by a halftone dot pattern.
  • FIGS. 21 and 22 the diagonal portion 837c of the third leader line 837 and the oblique portion 838c of the fourth leader line 838 are shown. Also in this embodiment, the oblique portion 838c is inclined in the opposite direction to the oblique portion 837c. The oblique portion 838c and the oblique portion 837c are inclined in opposite directions.
  • the first connecting member 841, the second connecting member 842, and the second connecting member 844 are in the circumferential direction from the first connecting member 41, the second connecting member 42, and the second connecting member 44 of the preceding embodiment. It extends long to the CD.
  • the plurality of connecting members 40 provide a heat transfer path between the inner leader wire 31 and the power terminal 8. .. Further, each of the plurality of connecting members 40 is stably supported by the inner leader wire 31 and the outer leader wire 32.

Landscapes

  • Engineering & Computer Science (AREA)
  • Power Engineering (AREA)
  • Manufacturing & Machinery (AREA)
  • Windings For Motors And Generators (AREA)
  • Manufacture Of Motors, Generators (AREA)
  • Insulation, Fastening Of Motor, Generator Windings (AREA)
PCT/JP2020/003136 2019-03-28 2020-01-29 回転電機、その固定子、およびその製造方法 Ceased WO2020195127A1 (ja)

Priority Applications (3)

Application Number Priority Date Filing Date Title
DE112020001563.7T DE112020001563T5 (de) 2019-03-28 2020-01-29 Drehende elektrische Maschine, deren Stator und deren Herstellungsverfahren
CN202080023550.9A CN113678344B (zh) 2019-03-28 2020-01-29 旋转电机、旋转电机的定子以及旋转电机的制造方法
US17/391,541 US12009708B2 (en) 2019-03-28 2021-08-02 Rotary electric machine, stator thereof and manufacturing method thereof

Applications Claiming Priority (2)

Application Number Priority Date Filing Date Title
JP2019064484A JP7218654B2 (ja) 2019-03-28 2019-03-28 回転電機、その固定子、およびその製造方法
JP2019-064484 2019-03-28

Related Child Applications (1)

Application Number Title Priority Date Filing Date
US17/391,541 Continuation US12009708B2 (en) 2019-03-28 2021-08-02 Rotary electric machine, stator thereof and manufacturing method thereof

Publications (1)

Publication Number Publication Date
WO2020195127A1 true WO2020195127A1 (ja) 2020-10-01

Family

ID=72609767

Family Applications (1)

Application Number Title Priority Date Filing Date
PCT/JP2020/003136 Ceased WO2020195127A1 (ja) 2019-03-28 2020-01-29 回転電機、その固定子、およびその製造方法

Country Status (5)

Country Link
US (1) US12009708B2 (enExample)
JP (1) JP7218654B2 (enExample)
CN (1) CN113678344B (enExample)
DE (1) DE112020001563T5 (enExample)
WO (1) WO2020195127A1 (enExample)

Cited By (4)

* Cited by examiner, † Cited by third party
Publication number Priority date Publication date Assignee Title
CN112421814A (zh) * 2020-11-20 2021-02-26 智新科技股份有限公司 扁线发卡定子结构及电机
JP2022061067A (ja) * 2020-10-06 2022-04-18 三菱電機株式会社 回転電機
CN114977599A (zh) * 2021-02-19 2022-08-30 三菱电机株式会社 旋转电机的定子及其线圈连接装置
EP4262057A4 (en) * 2021-03-24 2024-06-26 Aisin Corporation Stator

Families Citing this family (6)

* Cited by examiner, † Cited by third party
Publication number Priority date Publication date Assignee Title
JP7052767B2 (ja) * 2019-03-28 2022-04-12 株式会社デンソー 回転電機、およびその固定子
JP7688505B2 (ja) * 2021-03-31 2025-06-04 株式会社Subaru 回転電機
JP7691374B2 (ja) * 2022-01-17 2025-06-11 株式会社ミツバ バスバーユニット
JP2023127497A (ja) * 2022-03-01 2023-09-13 株式会社デンソー 回転電機の固定子
EP4290741A1 (de) * 2022-06-08 2023-12-13 Valeo eAutomotive Germany GmbH Stator, statorvorrichtung, elektrische maschine und fahrzeug
DE102023113817A1 (de) 2023-05-25 2024-11-28 Valeo Eautomotive Germany Gmbh Statoranordnung für eine ölgekühlte elektrische Maschine

Citations (4)

* Cited by examiner, † Cited by third party
Publication number Priority date Publication date Assignee Title
JP2005130667A (ja) * 2003-10-27 2005-05-19 Toyota Motor Corp 回転電機用固定子
JP2009219343A (ja) * 2008-02-13 2009-09-24 Hitachi Ltd 回転電機、および回転電機の固定子コイル接続方法
WO2017022288A1 (ja) * 2015-08-05 2017-02-09 三菱電機株式会社 回転電機および回転電機の製造方法
US20180097416A1 (en) * 2016-09-30 2018-04-05 Faraday&Future Inc. Nested three phase bus bar unit

Family Cites Families (8)

* Cited by examiner, † Cited by third party
Publication number Priority date Publication date Assignee Title
JP2000219343A (ja) * 1999-02-01 2000-08-08 Canon Inc シート材給送装置及びシート材処理装置
JP4452953B2 (ja) * 2007-08-09 2010-04-21 日立オートモティブシステムズ株式会社 電力変換装置
JP5002568B2 (ja) * 2008-10-29 2012-08-15 日立オートモティブシステムズ株式会社 電力変換装置
CN104115379B (zh) * 2012-02-06 2016-12-14 三菱电机株式会社 机电一体组件
CN104412383B (zh) * 2012-06-29 2017-09-26 株式会社电装 半导体装置以及半导体装置的连接构造
US9941762B2 (en) 2014-07-18 2018-04-10 Denso Corporation Stator of rotating electric machine
JP6237518B2 (ja) 2014-07-18 2017-11-29 株式会社デンソー 回転電機の固定子
JP6996205B2 (ja) 2017-10-02 2022-01-17 株式会社デンソー 車両ワイパ装置

Patent Citations (4)

* Cited by examiner, † Cited by third party
Publication number Priority date Publication date Assignee Title
JP2005130667A (ja) * 2003-10-27 2005-05-19 Toyota Motor Corp 回転電機用固定子
JP2009219343A (ja) * 2008-02-13 2009-09-24 Hitachi Ltd 回転電機、および回転電機の固定子コイル接続方法
WO2017022288A1 (ja) * 2015-08-05 2017-02-09 三菱電機株式会社 回転電機および回転電機の製造方法
US20180097416A1 (en) * 2016-09-30 2018-04-05 Faraday&Future Inc. Nested three phase bus bar unit

Cited By (7)

* Cited by examiner, † Cited by third party
Publication number Priority date Publication date Assignee Title
JP2022061067A (ja) * 2020-10-06 2022-04-18 三菱電機株式会社 回転電機
JP7065924B2 (ja) 2020-10-06 2022-05-12 三菱電機株式会社 回転電機
CN112421814A (zh) * 2020-11-20 2021-02-26 智新科技股份有限公司 扁线发卡定子结构及电机
CN112421814B (zh) * 2020-11-20 2025-07-29 智新科技股份有限公司 扁线发卡定子结构及电机
CN114977599A (zh) * 2021-02-19 2022-08-30 三菱电机株式会社 旋转电机的定子及其线圈连接装置
CN114977599B (zh) * 2021-02-19 2025-01-07 三菱电机株式会社 旋转电机的定子及其线圈连接装置
EP4262057A4 (en) * 2021-03-24 2024-06-26 Aisin Corporation Stator

Also Published As

Publication number Publication date
US20210367489A1 (en) 2021-11-25
CN113678344B (zh) 2023-09-12
US12009708B2 (en) 2024-06-11
CN113678344A (zh) 2021-11-19
JP2020167789A (ja) 2020-10-08
JP7218654B2 (ja) 2023-02-07
DE112020001563T5 (de) 2021-12-16

Similar Documents

Publication Publication Date Title
JP7218653B2 (ja) 回転電機、およびその固定子
JP7218654B2 (ja) 回転電機、その固定子、およびその製造方法
JP5471867B2 (ja) 回転電機の固定子
JP5140389B2 (ja) 回転電機用の固定子、及びこれを用いた回転電機
JP6008989B2 (ja) 回転電機の固定子及びこの固定子を用いた回転電機
US12046972B2 (en) Motor and stator bus bar
US12212200B2 (en) Motor
JP5516989B2 (ja) 回転電機用電機子
US12040673B2 (en) Motor
JP2010239740A (ja) 回転電機用電機子
JP2020141431A (ja) 回転電機、その固定子、および回転電機の製造方法
US20220385130A1 (en) Rotary electric machine stator with asymmetric winding
US8659201B2 (en) Stator for electric rotating machine
WO2020195129A1 (ja) 回転電機、およびその固定子
US20220311299A1 (en) Stator and motor
JP2005312182A (ja) 回転電機の集中巻き型ステータコイル
WO2014157621A1 (ja) ステータの構造
US20220311302A1 (en) Stator and motor
JP2012090511A (ja) 回転電機構成部材
JP7184215B2 (ja) 電機子
JP7222293B2 (ja) ステータ
JP6394542B2 (ja) 回転電機ステータ
JP2019140710A (ja) 回転電機の固定子
WO2023228734A1 (ja) ステータ、およびモータ
JP2023073146A (ja) ステータ

Legal Events

Date Code Title Description
121 Ep: the epo has been informed by wipo that ep was designated in this application

Ref document number: 20777925

Country of ref document: EP

Kind code of ref document: A1

122 Ep: pct application non-entry in european phase

Ref document number: 20777925

Country of ref document: EP

Kind code of ref document: A1