WO2020183850A1 - 回路装置 - Google Patents

回路装置 Download PDF

Info

Publication number
WO2020183850A1
WO2020183850A1 PCT/JP2019/049862 JP2019049862W WO2020183850A1 WO 2020183850 A1 WO2020183850 A1 WO 2020183850A1 JP 2019049862 W JP2019049862 W JP 2019049862W WO 2020183850 A1 WO2020183850 A1 WO 2020183850A1
Authority
WO
WIPO (PCT)
Prior art keywords
layer
terminal
layers
circuit device
voltage
Prior art date
Legal status (The legal status is an assumption and is not a legal conclusion. Google has not performed a legal analysis and makes no representation as to the accuracy of the status listed.)
Ceased
Application number
PCT/JP2019/049862
Other languages
English (en)
French (fr)
Japanese (ja)
Inventor
高宗 菊田
Current Assignee (The listed assignees may be inaccurate. Google has not performed a legal analysis and makes no representation or warranty as to the accuracy of the list.)
Sumitomo Wiring Systems Ltd
AutoNetworks Technologies Ltd
Sumitomo Electric Industries Ltd
Original Assignee
Sumitomo Wiring Systems Ltd
AutoNetworks Technologies Ltd
Sumitomo Electric Industries Ltd
Priority date (The priority date is an assumption and is not a legal conclusion. Google has not performed a legal analysis and makes no representation as to the accuracy of the date listed.)
Filing date
Publication date
Application filed by Sumitomo Wiring Systems Ltd, AutoNetworks Technologies Ltd, Sumitomo Electric Industries Ltd filed Critical Sumitomo Wiring Systems Ltd
Priority to US17/438,074 priority Critical patent/US11894626B2/en
Priority to CN201980093423.3A priority patent/CN113519096B/zh
Publication of WO2020183850A1 publication Critical patent/WO2020183850A1/ja
Anticipated expiration legal-status Critical
Ceased legal-status Critical Current

Links

Images

Classifications

    • HELECTRICITY
    • H01ELECTRIC ELEMENTS
    • H01RELECTRICALLY-CONDUCTIVE CONNECTIONS; STRUCTURAL ASSOCIATIONS OF A PLURALITY OF MUTUALLY-INSULATED ELECTRICAL CONNECTING ELEMENTS; COUPLING DEVICES; CURRENT COLLECTORS
    • H01R12/00Structural associations of a plurality of mutually-insulated electrical connecting elements, specially adapted for printed circuits, e.g. printed circuit boards [PCB], flat or ribbon cables, or like generally planar structures, e.g. terminal strips, terminal blocks; Coupling devices specially adapted for printed circuits, flat or ribbon cables, or like generally planar structures; Terminals specially adapted for contact with, or insertion into, printed circuits, flat or ribbon cables, or like generally planar structures
    • H01R12/50Fixed connections
    • H01R12/51Fixed connections for rigid printed circuits or like structures
    • H01R12/55Fixed connections for rigid printed circuits or like structures characterised by the terminals
    • H01R12/58Fixed connections for rigid printed circuits or like structures characterised by the terminals terminals for insertion into holes
    • HELECTRICITY
    • H01ELECTRIC ELEMENTS
    • H01RELECTRICALLY-CONDUCTIVE CONNECTIONS; STRUCTURAL ASSOCIATIONS OF A PLURALITY OF MUTUALLY-INSULATED ELECTRICAL CONNECTING ELEMENTS; COUPLING DEVICES; CURRENT COLLECTORS
    • H01R12/00Structural associations of a plurality of mutually-insulated electrical connecting elements, specially adapted for printed circuits, e.g. printed circuit boards [PCB], flat or ribbon cables, or like generally planar structures, e.g. terminal strips, terminal blocks; Coupling devices specially adapted for printed circuits, flat or ribbon cables, or like generally planar structures; Terminals specially adapted for contact with, or insertion into, printed circuits, flat or ribbon cables, or like generally planar structures
    • H01R12/50Fixed connections
    • H01R12/51Fixed connections for rigid printed circuits or like structures
    • H01R12/52Fixed connections for rigid printed circuits or like structures connecting to other rigid printed circuits or like structures
    • H01R12/523Fixed connections for rigid printed circuits or like structures connecting to other rigid printed circuits or like structures by an interconnection through aligned holes in the boards or multilayer board
    • HELECTRICITY
    • H01ELECTRIC ELEMENTS
    • H01RELECTRICALLY-CONDUCTIVE CONNECTIONS; STRUCTURAL ASSOCIATIONS OF A PLURALITY OF MUTUALLY-INSULATED ELECTRICAL CONNECTING ELEMENTS; COUPLING DEVICES; CURRENT COLLECTORS
    • H01R11/00Individual connecting elements providing two or more spaced connecting locations for conductive members which are, or may be, thereby interconnected, e.g. end pieces for wires or cables supported by the wire or cable and having means for facilitating electrical connection to some other wire, terminal, or conductive member, blocks of binding posts
    • H01R11/01Individual connecting elements providing two or more spaced connecting locations for conductive members which are, or may be, thereby interconnected, e.g. end pieces for wires or cables supported by the wire or cable and having means for facilitating electrical connection to some other wire, terminal, or conductive member, blocks of binding posts characterised by the form or arrangement of the conductive interconnection between the connecting locations
    • HELECTRICITY
    • H01ELECTRIC ELEMENTS
    • H01RELECTRICALLY-CONDUCTIVE CONNECTIONS; STRUCTURAL ASSOCIATIONS OF A PLURALITY OF MUTUALLY-INSULATED ELECTRICAL CONNECTING ELEMENTS; COUPLING DEVICES; CURRENT COLLECTORS
    • H01R12/00Structural associations of a plurality of mutually-insulated electrical connecting elements, specially adapted for printed circuits, e.g. printed circuit boards [PCB], flat or ribbon cables, or like generally planar structures, e.g. terminal strips, terminal blocks; Coupling devices specially adapted for printed circuits, flat or ribbon cables, or like generally planar structures; Terminals specially adapted for contact with, or insertion into, printed circuits, flat or ribbon cables, or like generally planar structures
    • H01R12/70Coupling devices
    • H01R12/71Coupling devices for rigid printing circuits or like structures
    • H01R12/72Coupling devices for rigid printing circuits or like structures coupling with the edge of the rigid printed circuits or like structures
    • H01R12/73Coupling devices for rigid printing circuits or like structures coupling with the edge of the rigid printed circuits or like structures connecting to other rigid printed circuits or like structures
    • HELECTRICITY
    • H01ELECTRIC ELEMENTS
    • H01RELECTRICALLY-CONDUCTIVE CONNECTIONS; STRUCTURAL ASSOCIATIONS OF A PLURALITY OF MUTUALLY-INSULATED ELECTRICAL CONNECTING ELEMENTS; COUPLING DEVICES; CURRENT COLLECTORS
    • H01R13/00Details of coupling devices of the kinds covered by groups H01R12/70 or H01R24/00 - H01R33/00
    • H01R13/02Contact members
    • H01R13/22Contacts for co-operating by abutting
    • H01R13/24Contacts for co-operating by abutting resilient; resiliently-mounted
    • H01R13/2464Contacts for co-operating by abutting resilient; resiliently-mounted characterized by the contact point
    • HELECTRICITY
    • H01ELECTRIC ELEMENTS
    • H01RELECTRICALLY-CONDUCTIVE CONNECTIONS; STRUCTURAL ASSOCIATIONS OF A PLURALITY OF MUTUALLY-INSULATED ELECTRICAL CONNECTING ELEMENTS; COUPLING DEVICES; CURRENT COLLECTORS
    • H01R13/00Details of coupling devices of the kinds covered by groups H01R12/70 or H01R24/00 - H01R33/00
    • H01R13/46Bases; Cases
    • H01R13/514Bases; Cases composed as a modular blocks or assembly, i.e. composed of co-operating parts provided with contact members or holding contact members between them
    • HELECTRICITY
    • H01ELECTRIC ELEMENTS
    • H01RELECTRICALLY-CONDUCTIVE CONNECTIONS; STRUCTURAL ASSOCIATIONS OF A PLURALITY OF MUTUALLY-INSULATED ELECTRICAL CONNECTING ELEMENTS; COUPLING DEVICES; CURRENT COLLECTORS
    • H01R13/00Details of coupling devices of the kinds covered by groups H01R12/70 or H01R24/00 - H01R33/00
    • H01R13/46Bases; Cases
    • H01R13/516Means for holding or embracing insulating body, e.g. casing, hoods
    • HELECTRICITY
    • H01ELECTRIC ELEMENTS
    • H01RELECTRICALLY-CONDUCTIVE CONNECTIONS; STRUCTURAL ASSOCIATIONS OF A PLURALITY OF MUTUALLY-INSULATED ELECTRICAL CONNECTING ELEMENTS; COUPLING DEVICES; CURRENT COLLECTORS
    • H01R24/00Two-part coupling devices, or either of their cooperating parts, characterised by their overall structure
    • H01R24/58Contacts spaced along longitudinal axis of engagement
    • HELECTRICITY
    • H05ELECTRIC TECHNIQUES NOT OTHERWISE PROVIDED FOR
    • H05KPRINTED CIRCUITS; CASINGS OR CONSTRUCTIONAL DETAILS OF ELECTRIC APPARATUS; MANUFACTURE OF ASSEMBLAGES OF ELECTRICAL COMPONENTS
    • H05K1/00Printed circuits
    • H05K1/02Details
    • H05K1/11Printed elements for providing electric connections to or between printed circuits
    • H05K1/119Details of rigid insulating substrates therefor, e.g. three-dimensional details
    • HELECTRICITY
    • H05ELECTRIC TECHNIQUES NOT OTHERWISE PROVIDED FOR
    • H05KPRINTED CIRCUITS; CASINGS OR CONSTRUCTIONAL DETAILS OF ELECTRIC APPARATUS; MANUFACTURE OF ASSEMBLAGES OF ELECTRICAL COMPONENTS
    • H05K3/00Apparatus or processes for manufacturing printed circuits
    • H05K3/30Assembling printed circuits with electric components, e.g. with resistor
    • H05K3/32Assembling printed circuits with electric components, e.g. with resistor electrically connecting electric components or wires to printed circuits
    • H05K3/325Assembling printed circuits with electric components, e.g. with resistor electrically connecting electric components or wires to printed circuits by abutting or pinching, i.e. without alloying process; mechanical auxiliary parts therefor
    • H05K3/326Assembling printed circuits with electric components, e.g. with resistor electrically connecting electric components or wires to printed circuits by abutting or pinching, i.e. without alloying process; mechanical auxiliary parts therefor the printed circuit having integral resilient or deformable parts, e.g. tabs or parts of flexible circuits
    • HELECTRICITY
    • H05ELECTRIC TECHNIQUES NOT OTHERWISE PROVIDED FOR
    • H05KPRINTED CIRCUITS; CASINGS OR CONSTRUCTIONAL DETAILS OF ELECTRIC APPARATUS; MANUFACTURE OF ASSEMBLAGES OF ELECTRICAL COMPONENTS
    • H05K3/00Apparatus or processes for manufacturing printed circuits
    • H05K3/40Forming printed elements for providing electric connections to or between printed circuits
    • H05K3/4038Through-connections; Vertical interconnect access [VIA] connections
    • H05K3/4046Through-connections; Vertical interconnect access [VIA] connections using auxiliary conductive elements, e.g. metallic spheres, eyelets, pieces of wire
    • HELECTRICITY
    • H05ELECTRIC TECHNIQUES NOT OTHERWISE PROVIDED FOR
    • H05KPRINTED CIRCUITS; CASINGS OR CONSTRUCTIONAL DETAILS OF ELECTRIC APPARATUS; MANUFACTURE OF ASSEMBLAGES OF ELECTRICAL COMPONENTS
    • H05K2201/00Indexing scheme relating to printed circuits covered by H05K1/00
    • H05K2201/10Details of components or other objects attached to or integrated in a printed circuit board
    • H05K2201/10227Other objects, e.g. metallic pieces
    • H05K2201/10363Jumpers, i.e. non-printed cross-over connections

Definitions

  • This disclosure relates to a circuit device.
  • the laminated joint connector described in Patent Document 1 is a laminated body formed by stacking a plurality of single-layer units in which a plurality of laminated terminals are arranged in a plane in a single-layer housing, and the laminated body. It is provided with a plurality of male terminals that penetrate in the direction and selectively connect the laminated terminals, and the laminated terminals between different layers are connected by the male terminals.
  • the electrical junction box described in Patent Document 2 constitutes a laminated body of module plates by connecting electric wires to connecting members arranged on the module plates and laminating a plurality of the module plates, and laminating the module plates.
  • a desired circuit is formed as a whole by penetrating a connecting bar that penetrates between layers and electrically connecting the connecting members between the layers by the connecting bar.
  • the purpose is to provide a technology that makes it easy to respond to design changes at the connection part of the circuit.
  • the circuit device of the present disclosure includes a laminated body and a plurality of terminals, the laminated body includes a plurality of layers, and the laminated body is formed with a plurality of holes penetrating the plurality of layers.
  • Each of the layers has a connecting member formed of a conductor, and the connecting member is a connecting portion connecting a plurality of connecting portions provided at positions corresponding to the plurality of holes and the plurality of connecting portions.
  • the plurality of terminals include a plurality of types of terminals corresponding to the plurality of layers, and the plurality of types of terminals are each inserted into an arbitrary hole among the plurality of the holes.
  • a circuit device that can be selectively connected to the connection portion of the corresponding layer of any one of the layers.
  • FIG. 1 is a plan view showing a circuit device according to the first embodiment.
  • FIG. 2 is a schematic cross-sectional view taken along the line II-II in FIG.
  • FIG. 3 is an exploded perspective view showing one layer in the laminated body.
  • FIG. 4 is a block diagram showing a connection example when the circuit device is applied to a vehicle.
  • FIG. 5 is a block diagram showing a wiring example when the circuit device is applied to a vehicle.
  • FIG. 6 is a side view showing the circuit device according to the second embodiment.
  • FIG. 7 is a side view showing the circuit device according to the third embodiment.
  • FIG. 8 is an exploded perspective view showing the circuit device according to the fourth embodiment.
  • FIG. 9 is an exploded perspective view showing a modified example of the laminated body.
  • FIG. 10 is an exploded perspective view showing another modified example of the laminated body.
  • the circuit device of the present disclosure is as follows. (1) A laminated body and a plurality of terminals are provided, the laminated body includes a plurality of layers, and the laminated body is formed with a plurality of holes penetrating the plurality of layers, and the plurality of layers are each formed.
  • the connecting member has a connecting member formed of a conductor, and the connecting member has a plurality of connecting portions provided at positions corresponding to the plurality of holes, and a connecting portion for connecting the plurality of connecting portions.
  • the plurality of terminals include a plurality of types of terminals corresponding to the plurality of layers, and the plurality of types of terminals are each inserted into any hole among the plurality of the holes and among the plurality of layers.
  • a circuit device that can be selectively connected to the connection portion of any one of the corresponding layers.
  • a plurality of terminals a plurality of types of terminals corresponding to a plurality of layers are provided, and each of the plurality of types of terminals is inserted into any one of a plurality of insertion ports and any one of the plurality of layers.
  • the plurality of types of terminals include a coated terminal, the coated terminal has a terminal body and an insulating coating, and the terminal body has a first portion corresponding to a layer to be connected. It is also conceivable that the insulating coating is formed around the second portion, having a second portion corresponding to a layer that is not a connection partner. In this case, the insulation coating can prevent the terminal body from being connected to a layer that is not a connection partner.
  • the plurality of layers have a first layer and a second layer
  • the plurality of types of terminals include a terminal for the first layer and a terminal for the second layer
  • the second layer is the first layer.
  • the terminal is located on the side where the terminal is inserted from the layer
  • the terminal for the first layer is a terminal connected to the first layer
  • the terminal for the second layer is a terminal connected to the second layer. Yes, it may be shorter than the first layer terminal. In this case, since the second layer terminal is shorter than the first layer terminal, it is difficult to connect to the first layer.
  • the hole formed in the first layer is smaller than the hole formed in the second layer, and the terminal for the first layer is the hole formed in the first layer and the second.
  • the terminal for the second layer is connected to the second layer while penetrating the hole formed in the second layer.
  • the holes are formed larger than the holes formed in the first layer.
  • the second layer terminal since it is difficult for the second layer terminal to penetrate the hole formed in the first layer, it is difficult for the second layer terminal to be connected to the first layer.
  • the thickness of each layer in the plurality of layers is different. In this case, since the intervals between the terminals connected to the layers are different, it is possible to prevent the terminals from being used in a state of insufficient insertion.
  • the plurality of layers include a plurality of voltage layers having different voltage values in the connecting member.
  • the terminals can be selectively connected to different power supply voltages.
  • the plurality of voltage layers are stacked so that the voltage values increase in order from the side where the terminals are inserted. In this case, it is easy to prevent the terminals for the low voltage layer from being erroneously connected to the high voltage layer.
  • the plurality of voltage layers are a first voltage layer connected to a first battery having a first voltage value and a second voltage layer having a second voltage value lower than the first voltage value. It may also include a second voltage layer connected to the battery. In this case, different power supply voltages can be easily supplied.
  • the plurality of layers may include a communication layer.
  • a communication line can be connected to the communication layer.
  • the electronic control unit is further provided, and the electronic control unit is connected to the communication layer, and among the signals sent from the external device, the signal to the device connected to the communication layer is selectively selected. It is also possible to send it to the communication layer. In this case, it is possible to select whether the signal is for the device connected to the communication layer.
  • FIG. 1 is a plan view showing a circuit device 10 according to the first embodiment.
  • FIG. 2 is a schematic cross-sectional view taken along the line II-II in FIG. Note that the terminal 40 is not shown as a cross-sectional view in FIG.
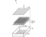
  • FIG. 3 is an exploded perspective view showing one layer 22 in the laminated body 20.
  • the circuit device 10 includes a laminate 20 and a plurality of terminals 40.
  • the laminate 20 includes a plurality of (six in this case) layers 22.
  • a plurality of holes 24 penetrating the plurality of layers 22 are formed in the laminated body 20.
  • a terminal 40 can be inserted into each hole 24.
  • the opening of the hole 24 in the laminated body 20 is used as an insertion port for inserting the terminal 40.
  • the terminal 40 inserted into the hole 24 is electrically connected to any one of the plurality of layers 22.
  • the different layers 22 in the laminated body 20 are not electrically connected to each other.
  • each layer 22 has a common structure. However, each layer may have a different structure. In the following, when it is necessary to distinguish between the six layers 22, they may be referred to as layers 22a, 22b, 22c, 22d, 22e, 22f.
  • Each layer 22 has a connecting member 26 formed of a conductor.
  • the connecting member 26 has a plurality of connecting portions 27 and a connecting portion 28 that connects the plurality of connecting portions 27 to each other.
  • the plurality of connecting portions 27 are provided at positions corresponding to each of the plurality of holes 24. Since the plurality of connecting portions 27 are connected by the connecting portion 28 in one layer 22, the plurality of connecting portions 27 have the same potential.
  • a plurality of holes 29 are formed in the flat plate-shaped member to form a connecting portion 28.
  • the connecting portion 27 has a pair of plate-shaped portions formed so as to project from the peripheral edge portion of the hole 29 in the axial direction of the hole 29.
  • the plate-shaped portion is formed like a leaf spring.
  • the portion of the pair of plate-shaped portions from the base end portion to the intermediate portion is formed so as to gradually approach and close the hole 29.
  • the portions of the pair of plate-shaped portions from the intermediate portion to the tip portion are formed so as to gradually separate and open holes 29.
  • the distance between the closest contact portions where the pair of plate-shaped portions are closest to each other is smaller than the thickness dimension of the terminal 40.
  • the tip portion rather than the closest contact portion is regarded as an induction portion that invites the terminal 40 to the closest contact portion. Therefore, when the terminal 40 is inserted into the hole 24, the tip of the terminal 40 is guided from the guide portion to the closest contact portion, and the closest contact portion expands and contacts the terminal 40.
  • connection portion 27 can be electrically connected to the terminal 40.
  • the connecting portion 27 and the connecting portion 28 may be separately molded and welded.
  • the connecting portion 27 may be formed by cutting up a part of the flat plate-shaped member constituting the connecting portion 28.
  • each layer 22 has a housing 30.
  • the housing 30 can accommodate the connecting member 26.
  • the connecting member 26 housed in the housing 30 is supported at a fixed position in the housing 30.
  • the housings 30 are positioned and overlapped with each other, so that the connecting member 26 of each layer 22 is supported at a fixed position in the laminated body 20. Therefore, the housing 30 functions as a support member that supports the connecting member 26 at a fixed position.
  • the housing 30 has a box 32 and a lid 36.
  • the box 32 is formed in the shape of a rectangular parallelepiped box with one side open. It is possible to accommodate the connecting member 26 inside the box 32.
  • the lid 36 is formed in the shape of a square flat plate. With the connecting member 26 housed inside the box 32, the lid 36 can close the opening of the box 32. Here, the surface of the box 32 facing the stacking direction is open. Therefore, a plurality of holes 33 are formed in the bottom plate of the box 32 located on the opposite side of the opening. Further, a plurality of holes 37 are also formed in the lid 36. The holes 33 in the bottom plate of the box 32 and the holes 37 in the lid 36 are formed at positions corresponding to the holes 29 in the connecting member 26.
  • the holes 33 in the bottom plate of the box 32 and the holes 37 in the lid 36 have the same arrangement, and form a part of the holes 24 in the laminated body 20 together with the holes 29 in the connecting member 26. Further, the arrangement of the holes 33 and 37 is the same among the plurality of housings 30.
  • the lid 36 in the housing 30 other than the housing 30 located at one end in the stacking direction may be omitted.
  • the housing 30 that overlaps the opening side with respect to the housing 30 in which the lid 36 is omitted can be a lid that closes the opening of the housing 30 in which the lid 36 is omitted.
  • a fixing portion for fixing the laminated housings 30 is provided.
  • a screw hole may be formed as a fixing portion in a corner of the box 32, and a plurality of housings 30 may be screwed.
  • a convex portion and a concave portion for uniting the boxes 32 may be formed.
  • the plurality of terminals 40 include a plurality of types of terminals 40a, 40b, 40c, 40d, 40e, and 40f corresponding to the plurality of layers 22, respectively.
  • the plurality of types of terminals 40a, 40b, 40c, 40d, 40e, 40f are each inserted into any hole 24 of the plurality of holes 24, and any one of the plurality of layers 22 corresponding layers 22a, 22b, It can be selectively connected to the connection portion 27 of 22c, 22d, 22e, and 22f.
  • the terminal 40a is connected to the layer 22a
  • the terminal 40b is connected to the layer 22b
  • the terminal 40c is connected to the layer 22c
  • the terminal 40d is connected to the layer 22d
  • the terminal 40e is connected to the layer 22e
  • the terminal 40f is connected. It will be described as being connected to the layer 22f.
  • a plurality of types of terminals 40a, 40b, 40c, 40d, 40e, and 40f are coated terminals.
  • the coated terminal has a terminal body 42 and an insulating coating 46.
  • the terminal body 42 is formed of a conductor.
  • the terminal body 42 has a first portion corresponding to the layer 22 which is a connection partner and a second portion corresponding to a layer 22 which is not a connection partner.
  • An insulating coating 46 is formed around the second portion.
  • the terminal body 42 is formed in a common shape in the plurality of types of terminals 40a, 40b, 40c, 40d, 40e, and 40f.
  • the plurality of types of terminals 40a, 40b, 40c, 40d, 40e, and 40f can be connected to the predetermined layer 22 by being inserted into the laminate 20. Further, the plurality of types of terminals 40a, 40b, 40c, 40d, 40e, and 40f can be removed from the laminated body 20 to eliminate the connection state with the predetermined layer 22. Therefore, by attaching and detaching the plurality of types of terminals 40a, 40b, 40c, 40d, 40e, and 40f to the laminated body 20, it becomes possible to cope with the design change in the circuit device 10.
  • the plurality of terminals 40 are held by the holding member 50.
  • the plurality of terminals 40 are grouped into equipment units, system units, and the like, and are held by different holding members 50 for each group.
  • the plurality of terminals 40 held by the holding member 50 can be collectively attached to and detached from the laminated body 20.
  • the terminal 40 protrudes from the holding member 50 by a predetermined length.
  • the holding member 50 may be in contact with the surface of the laminated body 20 in a state where the terminals 40 are inserted into the laminated body 20 by a predetermined length. In this case, the holding member 50 suppresses the insertion amount of the terminal 40 from the laminated body 20 from becoming excessive.
  • the holding member 50 may be a part of the device, or may be a connector housing provided at the end of an electric wire extending from the device.
  • FIG. 4 is a block diagram showing a connection example when the circuit device 10 is applied to a vehicle.
  • the vehicle to which the circuit device 10 is applied is a vehicle having a plurality of batteries 60 and 61, such as a hybrid vehicle and an electric vehicle, will be described.
  • layers 22a, 22b, 22c, and 22d are voltage layers
  • layer 22e is a ground layer
  • layer 22f is a communication layer.
  • the plurality of layers 22 include the plurality of voltage layers 22a, 22b, 22c, 22d, the ground layer 22e, and the communication layer 22f.
  • the terminal 40 is inserted into the circuit device 10 from the communication layer 22f side.
  • the communication layer 22f, the ground layer 22e, and the plurality of voltage layers 22d, 22c, 22b, and 22a are laminated in this order from the insertion port side of the terminal 40.
  • the plurality of voltage layers 22a, 22b, 22c, and 22d are stacked so that the voltage values increase in order from the insertion port side of the terminal 40 (the side of the communication layer 22f in the example shown in FIG. 4). Therefore, here, the voltage values are higher in the order of the voltage layer 22d, the voltage layer 22c, the voltage layer 22b, and the voltage layer 22a.
  • the voltage values in the plurality of voltage layers 22d, 22c, 22b, and 22a are 3.3 volts, 5 volts, 12 volts, and 24 volts, respectively.
  • the plurality of layers 22 include a plurality of voltage layers having different voltage values in the connecting member 26.
  • the 3.3 volt and 5 volt voltage layers may be used as a power source for communication
  • the 12 volt and 24 volt voltage layers may be used as a power source other than for communication.
  • the plurality of voltage layers include a first voltage layer and a second voltage layer.
  • the first voltage layer is a voltage layer connected to the first battery 60 having the first voltage value.
  • the second voltage layer is connected to a second battery 61 having a second voltage value lower than the first voltage value.
  • the first battery 60 is a drive battery
  • the second battery 61 is an auxiliary battery.
  • the first voltage value in the first battery 60 is, for example, several hundred volts.
  • the second voltage value in the second battery 61 is, for example, 12 volts.
  • the voltage layer 22a is connected to the drive battery 60, and the voltage layers 22b, 22c, 22d are connected to the auxiliary battery 61. Therefore, here, the voltage layer 22a is the first voltage layer, and the voltage layers 22b, 22c, and 22d are the second voltage layers. It is conceivable that the voltage layer 22a is connected to the drive battery 60 via a transformer (DC-DC converter) 64. As a result, the voltage value of the drive battery 60 can be converted into a predetermined voltage value in the voltage layer 22a.
  • DC-DC converter transformer
  • the voltage layers 22c and 22d set to voltage values different from the voltage value of the auxiliary battery 61 are also connected to the auxiliary battery 61 via the DC-DC converters 65 and 66, respectively.
  • the voltage value of the auxiliary battery 61 can be converted into a predetermined voltage value in the respective voltage layers 22c and 22d.
  • each voltage layer 22a, 22b, 22c, 22d may have a separate battery connection port to which a terminal provided at an end of an electric wire for supplying power from the batteries 60, 61 is connected.
  • An electronic control unit (ECU: Electronic Control Unit) 70 is connected to the communication layer 22f.
  • the circuit device 10 further includes the ECU 70.
  • the ECU 70 selectively sends a signal to the device connected to the communication layer 22f among the signals sent from the external device to the communication layer 22f. This makes it difficult for the device connected to the communication layer 22f to receive unnecessary signals.
  • the terminal 40 in the ECU 70 is inserted into the insertion port of the terminal 40 in the laminated body 20 and connected to the communication layer 22f.
  • the communication layer 22f may have a separate ECU connection port for connecting to the terminal in the ECU 70.
  • the ground layer 22e is connected to the minus side wiring of the device connected to each of the voltage layers 22a, 22b, 22c, 22d in the circuit device 10.
  • the circuit device 10 is provided with only one ground layer 22e.
  • the ground layer 22e is connected to, for example, the vehicle body ground.
  • the terminal at the end of the wiring used for connecting the ground layer 22e and the vehicle body ground is connected to a ground terminal connection port provided separately from the insertion port of the terminal 40 in the laminated body 20.
  • the terminal at the end of the wiring used for connecting the ground layer 22e and the vehicle body ground may be inserted into the insertion port of the terminal 40 in the laminated body 20 and connected to the ground layer 22e.
  • the ground layer 22e may be connected to the negative side of the battery via an electric wire.
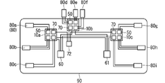
  • FIG. 5 is a block diagram showing a wiring example when the circuit device 10 is applied to the vehicle 90.
  • a plurality of (three in this case) circuit devices 10 are mounted on the vehicle 90.
  • circuit devices 10a, 10b, and 10c When it is necessary to distinguish between the three circuit devices, they are referred to as circuit devices 10a, 10b, and 10c.
  • the plurality of circuit devices 10 are connected to the drive battery 60 and the auxiliary battery 61, respectively.
  • power is supplied to the voltage layers 22a, 22b, 22c, and 22d in each circuit device 10.
  • the ECU 70s in the plurality of circuit devices 10 are each connected to the central ECU 72.
  • a plurality of devices 80 are connected to each of the plurality of circuit devices 10 in the vehicle.
  • a plurality of devices 80 are connected to a circuit device 10 located near the device 80. Further, for example, it is conceivable that the plurality of devices 80 are connected to the circuit device 10 located in the same space as itself (for example, in the engine room, in the instrument panel, door, vehicle room, trunk room, etc.).
  • the devices 80a, 80b, 80c (for example, headlamps, sensors, etc.) mounted on the front portion of the vehicle 90 are connected to the circuit device 10a mounted on the front portion of the vehicle 90. ..
  • the devices 80d, 80e, 80f (for example, door lock, power window, side mirror, etc.) mounted on the door are connected to the circuit device 10b mounted on the door.
  • the devices 80g, 80h, 80i (for example, tail lamps, sensors, etc.) mounted on the rear portion of the vehicle 90 are connected to the circuit device 10c mounted on the rear portion of the vehicle 90.
  • a plurality of types of terminals 40a, 40b, 40c, 40d, 40e, and 40f corresponding to the plurality of layers 22 are provided as the plurality of terminals 40, and a plurality of types of terminals are provided.
  • the terminals 40a, 40b, 40c, 40d, 40e, and 40f are each inserted into any of the plurality of insertion ports and selectively with the connection portion 27 of the corresponding layer 22 of any one of the plurality of layers 22. Since it is possible to connect to a predetermined layer 22 by inserting and removing the terminal 40, it is possible to easily respond to a design change at the connection portion of the circuit. Since the coated terminal having the terminal body 42 and the insulating coating 46 is adopted, it is possible to prevent the terminal main body 42 from being connected to the layer 22 which is not a connection partner by the insulating coating 46.
  • the terminals 40 can be selectively connected to different power supply voltages. Since the plurality of voltage layers 22a, 22b, 22c, and 22d are laminated so that the voltage values increase in order from the side where the terminals 40 are inserted, the terminals 40d for the low voltage layer 22d are erroneously placed on the high voltage layer 22a. It is easy to suppress the connection.
  • the plurality of voltage layers 22a, 22b, 22c, and 22d have a first voltage layer 22a connected to a first battery 60 having a first voltage value, and a second voltage value lower than the first voltage value. Since the second voltage layers 22b, 22c, and 22d connected to the second battery 61 are included, different power supply voltages can be easily supplied.
  • a communication line can be connected to the communication layer 22f.
  • the electronic control unit 70 is connected to the communication layer 22f, and among the signals sent from the external device, the signal to the device 80 connected to the communication layer 22f is selectively sent to the communication layer 22f, so that the communication layer 22f It is possible to select whether it is a signal for the device 80 connected to the device 80.
  • FIG. 6 is a side view showing the circuit device 110 according to the second embodiment.
  • the same reference numerals will be given to the components as described above, and the description thereof will be omitted. The same applies to the following description of each embodiment.
  • the connecting member 26 is formed in a leaf spring shape, but in this example, the terminal 140 is formed in a leaf spring shape. More specifically, in this example, a plurality of holes 29 are formed in the conductor plate to form the connecting member 126.
  • a plurality of connecting members 126 are insulated from each other by an insulating portion 138.
  • an insulating plate is arranged between a plurality of connecting members 126, or an insulating film is formed on the surface of the connecting member 126 to form an insulating portion 138.
  • the insulating portion 138 is provided so as not to block the hole 29 in the connecting member 126. In other words, a hole corresponding to the hole 29 is also formed in the insulating portion 138.
  • the terminal 140 includes a terminal body 142 and an insulating coating 46.
  • the terminal body 142 has a plurality of contact portions 143 and a connecting plate portion 144.
  • the contact portion 143 is a portion that is inserted into the hole 29 of the connecting member 126 and is electrically connected to the connecting member 126.
  • the contact portion 143 is formed in a leaf spring shape.
  • the plurality of contact portions 143 are arranged in one direction.
  • the connecting plate portion 144 connects a plurality of contact portions 143 to each other.
  • the terminal body 142 is formed by bending a conductor plate.
  • the insulating coating 46 is formed on a portion of the terminal body 142 excluding the contact portion 43 corresponding to the layer 122 to be connected.
  • FIG. 7 is a side view showing the circuit device 210 according to the third embodiment.
  • each layer 222 in the plurality of layers 222 is different.
  • the terminal 240 is formed in a leaf spring shape will be described as in the example shown in FIG.
  • the connecting member 26 may be formed in a leaf spring shape.
  • the thickness of the connecting member 126 is the same.
  • the thickness of each layer 222 in the plurality of layers 222 is different due to the difference in the thickness of the insulating portion 238.
  • the thickness of each layer 222 in the plurality of layers 222 may be different due to the difference in the thickness of the connecting member 126.
  • the distance between the contact portions 243 in the terminal body 242 is different.
  • the lengths of the connecting plate portions 244 connecting the contact portions 243 are different.
  • the plurality of layers 222 are arranged in ascending order of thickness, but this is not an essential configuration.
  • the order of the plurality of layers can be set as appropriate.
  • FIG. 8 is an exploded perspective view showing the circuit device 310 according to the fourth embodiment.
  • the plurality of layers in the circuit device 310 include a first layer 322a and a second layer 322b.
  • the second layer 322b is a layer located on the side where the terminal is inserted from the first layer 322a.
  • the holes 324a formed in the first layer 322a are smaller than the holes 324b formed in the second layer 322b.
  • the plurality of types of terminals in the circuit device 310 include a first layer terminal 340a and a second layer terminal 340b.
  • the first layer terminal 340a is a terminal connected to the first layer 322a.
  • the terminal for the first layer 340a is connected to the first layer 322a while penetrating the hole 324b formed in the second layer 322b and the hole 324a formed in the first layer 322a.
  • the second layer terminal 340b is a terminal connected to the second layer 322b.
  • the second layer terminal 340b is connected to the second layer 322b while penetrating the hole 324b formed in the second layer 322b.
  • the second layer terminal 340b is shorter than the first layer terminal 340a. Further, the second layer terminal 340b is formed larger than the hole 324a formed in the first layer 322a.
  • the second layer terminal 340b is shorter than the first layer terminal 340a in this way, it is difficult for the second layer terminal 340b to be connected to the first layer 322a. Further, if the terminal 340b for the second layer is larger than the hole 324a formed in the first layer 322a, it is difficult for the terminal 340b for the second layer to penetrate the hole 324a formed in the first layer 322a, so that it is used for the second layer. It is difficult for the terminal 340b to be connected to the first layer 322a.
  • the holes 324a and 324b are formed in a T shape when viewed from the axial direction.
  • the shapes of the terminals 340a and 340b are also formed in a T shape when viewed from the axial direction.
  • the shapes of the holes 324a and 324b and the terminals 340a and 340b seen from the axial direction do not have to be T-shaped, and may be, for example, square or circular.
  • the first layer terminal 340a is formed so that the size corresponding to the hole 324a formed in the first layer 322a is continuous in the axial direction, but this is not an essential configuration.
  • one connecting member 26 is housed in one housing 30, this is not essential.
  • a plurality of connecting members 26 may be housed in one housing 430 in a laminated state.
  • the laminate may have only one housing 430 or may have a plurality of housings.
  • the plurality of housings may include housings having a different number of connecting members 26 to be accommodated.
  • a surface facing a direction orthogonal to the stacking direction of the connecting members 26 may be open.
  • holes 33 and 37 are formed in the pair of side walls, respectively.
  • the side wall in the box 432 is a surface orthogonal to the bottom plate located opposite to the opening.
  • an edge supporting portion 34 capable of supporting the edge portion of the connecting portion 28 in the connecting member 26 may be formed in the box 432.
  • the edge support portion 34 is formed on the side wall where the holes 33 and 37 are not formed, for example, in the box 432.
  • the edge support portion 34 is formed in a groove shape extending from the opening side toward the bottom plate side on the side wall.
  • a partition may be provided instead of the edge support portion 34.
  • the partition is formed in a plate shape parallel to, for example, the side wall in which the holes 33 and 37 are formed, and divides the internal space of one box 432 in the stacking direction.
  • the connecting member 26 is housed in each space partitioned by the partition. Holes corresponding to the holes 33 and 37 are formed in the partition.
  • the laminated body 20 is configured to include six layers 22, but this is not an essential configuration.
  • the laminate 20 may be configured to include two layers, three layers, four layers or five layers, or may be configured to include seven or more layers.
  • the laminated body 20 includes the voltage layers 22a, 22b, 22c, 22d, the communication layer 22f, and the ground layer 22e, but this is not an essential configuration.
  • the voltage layers 22a, 22b, 22c, 22d, the communication layer 22f, and the ground layer 22e the voltage layers 22a, 22b, 22c, 22d may be omitted, or the communication layer 22f may be omitted. It is possible, and the ground layer 22e may be omitted.
  • the voltage layers 22a, 22b, 22c, 22d, the communication layer 22f, and the ground layer 22e two of the communication layer 22f and the ground layer 22e may be omitted.
  • the laminate 20 may include at least one voltage layer.
  • the circuit device 10 has been described as being applied to the vehicle 90 having a plurality of batteries 60 and 61 in the first embodiment, this is not essential.
  • the circuit device 510 may be applied to an automobile having only one battery 62 (for example, an engine automobile).
  • the plurality of layers 522 include the plurality of voltage layers 522a and 522b
  • at least one of the plurality of voltage layers 522a and 522b is connected to the one battery 62 via the DC-DC converters 67 and 68. It is good to have it.
  • the voltage layers 522a and 522b are connected to the alternator.
  • ground layer 22e there is one ground layer 22e, this is not an essential configuration.
  • a ground layer may be provided separately for each voltage layer.
  • ground layers 522c, 522d, and 522e may be provided at positions sandwiching the plurality of voltage layers 522a and 522b, respectively.
  • connection member 26 has been described as a conductor plate in the first embodiment, this is not an essential configuration.
  • the connecting member may be a conductor film or the like.
  • the connecting member such as a conductor film may be formed on the surface of the substrate having an insulating property.
  • a conductor film is formed on the entire surface of the substrate on which a plurality of holes are formed.
  • a connecting portion is formed on the peripheral edge of the hole on the surface of the substrate on which a plurality of holes are formed, and a connecting portion is formed so as to connect the peripheral edges of the hole.
  • connection example in which the circuit device 10 is applied to the vehicle shown in the first embodiment can also be regarded as a wiring system in the vehicle.

Landscapes

  • Engineering & Computer Science (AREA)
  • Microelectronics & Electronic Packaging (AREA)
  • Manufacturing & Machinery (AREA)
  • Metallurgy (AREA)
  • Connector Housings Or Holding Contact Members (AREA)
  • Coupling Device And Connection With Printed Circuit (AREA)
PCT/JP2019/049862 2019-03-14 2019-12-19 回路装置 Ceased WO2020183850A1 (ja)

Priority Applications (2)

Application Number Priority Date Filing Date Title
US17/438,074 US11894626B2 (en) 2019-03-14 2019-12-19 Circuit apparatus
CN201980093423.3A CN113519096B (zh) 2019-03-14 2019-12-19 电路装置

Applications Claiming Priority (2)

Application Number Priority Date Filing Date Title
JP2019-047232 2019-03-14
JP2019047232A JP7151567B2 (ja) 2019-03-14 2019-03-14 回路装置及び電子制御ユニットと回路装置との接続構造

Publications (1)

Publication Number Publication Date
WO2020183850A1 true WO2020183850A1 (ja) 2020-09-17

Family

ID=72427241

Family Applications (1)

Application Number Title Priority Date Filing Date
PCT/JP2019/049862 Ceased WO2020183850A1 (ja) 2019-03-14 2019-12-19 回路装置

Country Status (4)

Country Link
US (1) US11894626B2 (enExample)
JP (1) JP7151567B2 (enExample)
CN (1) CN113519096B (enExample)
WO (1) WO2020183850A1 (enExample)

Families Citing this family (4)

* Cited by examiner, † Cited by third party
Publication number Priority date Publication date Assignee Title
US10497635B2 (en) 2018-03-27 2019-12-03 Linear Technology Holding Llc Stacked circuit package with molded base having laser drilled openings for upper package
US11844178B2 (en) * 2020-06-02 2023-12-12 Analog Devices International Unlimited Company Electronic component
JP7740932B2 (ja) * 2021-08-25 2025-09-17 古河電気工業株式会社 コネクタおよび接続コネクタ構造体
US11744021B2 (en) 2022-01-21 2023-08-29 Analog Devices, Inc. Electronic assembly

Citations (6)

* Cited by examiner, † Cited by third party
Publication number Priority date Publication date Assignee Title
JPS5177594U (enExample) * 1974-12-17 1976-06-18
US4054939A (en) * 1975-06-06 1977-10-18 Elfab Corporation Multi-layer backpanel including metal plate ground and voltage planes
JPH04134075U (ja) * 1991-06-03 1992-12-14 株式会社アドバンテスト プローブカード
JP2004030993A (ja) * 2002-06-24 2004-01-29 Furukawa Electric Co Ltd:The 積層型ジョイントコネクタ
US7963776B1 (en) * 2010-03-23 2011-06-21 Tyco Electronics Corporation Electrical connector assembly having direct connection terminals
JP2018116767A (ja) * 2017-01-16 2018-07-26 株式会社オートネットワーク技術研究所 配線モジュール

Family Cites Families (25)

* Cited by examiner, † Cited by third party
Publication number Priority date Publication date Assignee Title
US3022480A (en) * 1957-02-07 1962-02-20 Tiffany Frank Emery Sandwich circuit strips
US3212049A (en) * 1963-04-30 1965-10-12 Ind Electronic Hardware Corp Multilayer circuitry with placed bushings
US3400358A (en) * 1965-10-21 1968-09-03 Ibm Electrical connector
US3853377A (en) * 1971-12-27 1974-12-10 B Shlesinger Tight fitting plug connection and method for making same
US4446505A (en) * 1982-03-22 1984-05-01 Amp Incorporated Electrical connector for interconnecting printed circuit boards
US4859188A (en) * 1987-10-05 1989-08-22 Cray Research, Inc. Wire/disk board-to-board interconnect device
US4889496A (en) * 1988-04-12 1989-12-26 Intercon Systems, Inc. Compressible core electrical connector
US5152696A (en) * 1990-04-26 1992-10-06 Cray Research, Inc. Z-axis connectors for stacked printed circuit board assemblies
US5544004A (en) * 1993-10-14 1996-08-06 Nippon Telegraph And Telephone Corporation Pin-board matrix switch
US6354868B1 (en) * 1994-08-08 2002-03-12 Cooper Technologies Vehicle power distribution box
US5857858A (en) * 1996-12-23 1999-01-12 General Electric Company Demountable and repairable low pitch interconnect for stacked multichip modules
JP2002010444A (ja) 2000-06-23 2002-01-11 Yazaki Corp 電気接続箱
US7108546B2 (en) * 2001-06-20 2006-09-19 Formfactor, Inc. High density planar electrical interface
EP1416219B1 (en) * 2001-08-09 2016-06-22 Everlight Electronics Co., Ltd Led illuminator and card type led illuminating light source
US7278855B2 (en) * 2004-02-09 2007-10-09 Silicon Pipe, Inc High speed, direct path, stair-step, electronic connectors with improved signal integrity characteristics and methods for their manufacture
KR100757907B1 (ko) * 2006-07-06 2007-09-11 삼성전기주식회사 인쇄회로기판 및 그 제조방법
EP2209172A1 (en) * 2009-01-15 2010-07-21 3M Innovative Properties Company Telecommunications Jack with a Multilayer PCB
US8911242B2 (en) * 2012-03-05 2014-12-16 Tyco Electronics Corporation Electrical component having an array of electrical contacts
JP6520179B2 (ja) * 2015-02-13 2019-05-29 日本電産リード株式会社 中継コネクタ、及び基板検査装置
JP2017130421A (ja) * 2016-01-22 2017-07-27 山一電機株式会社 コンタクト端子、コンタクト支持体、および、それを備える接続装置
EP3435490B1 (en) * 2017-07-24 2019-11-20 Japan Aviation Electronics Industry, Ltd. Connection assisting member and circuit board assembly
JP6894352B2 (ja) * 2017-11-21 2021-06-30 日本ルメンタム株式会社 プリント回路基板及び当該プリント回路基板を備える光送受信器
US10547128B1 (en) * 2018-08-20 2020-01-28 Cisco Technology, Inc. Eye of needle press-fit pin with stress relief
CN114257052B (zh) * 2020-09-23 2023-09-15 丰田自动车株式会社 旋转电机用转子的制造方法以及制造装置
US11957070B2 (en) * 2021-08-06 2024-04-09 Taiwan Semiconductor Manufacturing Company, Ltd. Semiconductor device, memory cell and method of forming the same

Patent Citations (6)

* Cited by examiner, † Cited by third party
Publication number Priority date Publication date Assignee Title
JPS5177594U (enExample) * 1974-12-17 1976-06-18
US4054939A (en) * 1975-06-06 1977-10-18 Elfab Corporation Multi-layer backpanel including metal plate ground and voltage planes
JPH04134075U (ja) * 1991-06-03 1992-12-14 株式会社アドバンテスト プローブカード
JP2004030993A (ja) * 2002-06-24 2004-01-29 Furukawa Electric Co Ltd:The 積層型ジョイントコネクタ
US7963776B1 (en) * 2010-03-23 2011-06-21 Tyco Electronics Corporation Electrical connector assembly having direct connection terminals
JP2018116767A (ja) * 2017-01-16 2018-07-26 株式会社オートネットワーク技術研究所 配線モジュール

Also Published As

Publication number Publication date
CN113519096A (zh) 2021-10-19
JP7151567B2 (ja) 2022-10-12
JP2020149892A (ja) 2020-09-17
US20220255249A1 (en) 2022-08-11
CN113519096B (zh) 2023-08-15
US11894626B2 (en) 2024-02-06

Similar Documents

Publication Publication Date Title
WO2020183850A1 (ja) 回路装置
US10381815B2 (en) Busbar module
JP6720354B2 (ja) 車両用バッテリーパック及びそれを含む自動車
US9343725B2 (en) Bus bar module and power supply unit
US10816608B2 (en) Monitoring device
RU2508577C2 (ru) Блоки аккумуляторных батарей
CN106471647B (zh) 可电压保护地制造的机动车电池
JPS63931A (ja) 自動車のヒュ−ズ・配電器箱
JP2013197090A (ja) バッテリーモジュール
WO2012053581A1 (ja) バスバモジュール及び該バスバモジュールを備えた電源装置
JP6434471B2 (ja) 電子部品ユニット、電気接続箱、及び、ワイヤハーネス
JP6923013B2 (ja) 配線モジュール
WO2014192858A1 (ja) バスバモジュール及び電源装置
JP2013246941A (ja) 電源装置
KR100372371B1 (ko) 와이어하니스 회로형성방법 및 와이어하니스
JPWO2009119702A1 (ja) 車両用電線ハーネス部構造
WO2020137613A1 (ja) 蓄電装置の車両搭載構造
US6562512B2 (en) Side terminal electric storage battery
JP7268789B2 (ja) 回路装置及び電子制御ユニットと回路装置との接続構造
US20190013657A1 (en) Electrical connection box and wire harness
JP2020058182A (ja) ワイヤハーネス
JP2016226249A (ja) 電気接続箱、及び、ワイヤハーネス
US20140220419A1 (en) Power supply device
CN112789693B (zh) 布线构件及布线构件的配设结构
CN111032495B (zh) 加强件及加强件模块

Legal Events

Date Code Title Description
121 Ep: the epo has been informed by wipo that ep was designated in this application

Ref document number: 19918687

Country of ref document: EP

Kind code of ref document: A1

NENP Non-entry into the national phase

Ref country code: DE

122 Ep: pct application non-entry in european phase

Ref document number: 19918687

Country of ref document: EP

Kind code of ref document: A1